VICTOR - Maisonnette pour enfant TRIGANO - Notice d'utilisation et mode d'emploi gratuit
Retrouvez gratuitement la notice de l'appareil VICTOR TRIGANO au format PDF.
| Type d'appareil | Maisonnette en bois |
| Matériau | Bois naturel |
| Âge recommandé | 3 à 12 ans |
| Usage | Extérieur et intérieur |
| Assemblage | À assembler par un adulte |
| Durée d'assemblage estimée | Environ 120 minutes |
| Poids maximum supporté | 35 kg |
| Nombre maximum d'enfants | 3 |
| Normes de sécurité | Conforme CE |
| Entretien | Utiliser des produits d'origine |
| Garantie | Non précisé |
| Dimensions | Non précisées |
| Type de montage | Montage manuel avec outils fournis |
| Recommandations | Réservé à un usage familial et extérieur |
| Certifications | FSC (gestion forestière responsable) |
FOIRE AUX QUESTIONS - VICTOR TRIGANO
Questions des utilisateurs sur VICTOR TRIGANO
0 question sur cet appareil. Repondez a celles que vous connaissez ou posez la votre.
Poser une nouvelle question sur cet appareil
Téléchargez la notice de votre Maisonnette pour enfant au format PDF gratuitement ! Retrouvez votre notice VICTOR - TRIGANO et reprennez votre appareil électronique en main. Sur cette page sont publiés tous les documents nécessaires à l'utilisation de votre appareil VICTOR de la marque TRIGANO.
MODE D'EMPLOI VICTOR TRIGANO

La marque de la gestion forestière responsable
| FR | Lire ces instructions avant utilisation, s'y conformer et les garder comme références. Produit devant être assemblé par un adulte. Attention! Réservé à un usage familial en extérieur. Ne convient pas aux enfants de moins de 36 mois. Age: de 3 à 12 ans. Aucune modification ne doit être apportée sur le produit. Pour l'entretien du produit, n'utilise que des pièces d'origine. |
| EN | Read these instructions before use, ensure you comply with them, and keep them as a reference. Product to be assembled by an adult. Caution! This product is for family and outdoor use only. Not suitable for children under 36 months. Age: between 3 and 12 years old. Not to bring modifications to the product, and any change must be made with parts of origine. |
| DE | Bitte vor Gebrauch sorgfältiglesen, die darin enthaltenen Anweisungen befolgen und zum späteren Nachschlagen sicheren aufbewahren. Produkt von einem Erwachsenen zusammengebaut werden. Nicht für Kinder unter 36 Monaten geeignet. Alter von 3 bis 12 Jahren. Achtung! Nur für den privathäuslichen Gebrauch im Freien vorgesehen. |
| NL | leesudeau instructies voír gebruik, volg ze na en hou ze bij ter informatatie. Product dat moét worden samengesteld door een volwassene. Niet geschikt voor kinderenjonger dan 36 maanden. Tussen 3 en 12JAar. Let op! Voorbehonden aan outdoor gebruik in gezinsverband. |
| IT | leggere queste instruzioni prima dell'utilizzo, rispettarle e conservare comme promemoria. Prodotto da assemblare da unadulto. Attenzione! Riservato a un uso familiare in ambienti esterni. Non adatto a bambini di età inferiore a 36 messi. i 3 e i 12 anni. |
| ES | lea y siga las instrucciones antes de utiliser el producto. Consévelas para futuras consultas. Produito a ser ensamblado por unadulto.iRecuerde! Se tratate de un produit disnéado para uso familiar y en el exterior. No conveniente para niños menosiores de 36MESesa.entre 3 - 12 años. |
| PO | É favor ler attentamente as Presents instruções antes de utiliser o produit, respeita-las e guardá-las como referencia. Produto para ser montado por umadulto. Contra-indico paracrianças com menos de 36MESesa. entre 3 e 12anos. Atença! Produito reservado exclusivement ao uso exterior e familiar. |

3-8 ans

3 MAX

3x50KG MAX


120 MIN



ATTENTION! Réservé à un usage familial, sous la responsabilité et la surveillance des parents. Jouet destiné à un usage en extérieur.
Il n'est pas permitted de luer de produit ou de l'utiliser en collectivités (crèches, aires de produits, ...)
Ne pas utiliser par temps hivernal ou vent fort.
INFORMATION : Le bois est un produit naturel qui réagit aux variations de température et d'humidité. Des fissures et des fentes peuvent apparaître. Certaines pieces peuvent être légarement voilées. C'est tout à fait normal et cela n'affecte en rien la solidité, la durée de vie ou la garantie de ce produit.
INSTRUCTIONS D'INSTALLATION ET DE MONTAGE :
1) Vérifier la présence et l'etat de tous les éléments à l'aide de la liste des pieces avant de commencer le montage.
2) Protégez les pieces du soleil, de la pluie et de l'humidité pendant toute la période de montage. Ne pas monter le produit par forte intempérie (vent, pluie, etc.). Àpès ouverture du colis, montez le produit rapidement.
3) Le montage doit être effectué par un adulte. Respectez précisé toutes les consignes et l'ordre dans lequel elles sont données. N'apportez aucune modification au produit et ne réparez celui-ci qu'avac des pieces d'origine.
4) Cet article doit être assemblé sur un terrain plat et horizontal, non ferme, sous peine de déséquilibre. Respectez l'espace de 2.00m de sécurité autour du produit : Aucun obstacle d'aucune sorte ne doit se situer dans cette zone (branches, fils à linge, barrières, batiments, etc.) Evitez d'orienter le produit face au soleil.
5) Le produit ne doit pas etre installe sur une surface dure (beton, asphalte etc.) Les produits sur pilotis devront etre installés sur une surface amortissante (herbe, copeaux de bois, sable ou dalle amortissante) d'une largeur de 2.00m tout autour du jeu.
CONSEILS D'UTILISATION ET D'ENTRETIEN
Les enfants ne doivent pas jouer sans la surveillance d'un adulte responsable. Ils ne doivent pas manger pendant l'utilisation du jeu, cela peut être dangereux. Ils doivent porter des vêtements adaptés au jeu (sans cordon, cordelette ou mailles pendantes). Ne pas monter ou jouer sur le toit.
Au début de chaque saison, ainsi qu'à intervalles réguliers au cours d'une saison :
Vérifiez les parties principales du produit et le bon serrage des tous les écrous et vis afin de prévenir les risques de chute.
Appliquer une couche de lasure sur les parties en bois au montage du produit et au moins une fois par an suivant les prescriptions du fabriquant du traitement.
A défaut de procéder à toutes ces vérifications et remises en états évientuelles, le jeu peut se renverser ou constituer un danger
Service après-vente :
sav.triganojardin.com
La garantie ne couvre pas les fissures ou noeuds dans le bois des lors qu'ils ne portent pas préjudice à l'intégralité du produit et qu'ils n'empêchent pas le montage de celui-ci, ainsi que tout dommage résultat du non respect des recommendations pour le montage, l'entretien du produit et le traitement du bois.
Produit garantit 2 ans.
La garantie couvre le produit seul et chaque dommage direct ou indirect induit par une évientuelle défaillance.
Pour toute réclamation, présente la ↔équence du produit et de la piece concernée ainsi que la preuve d'achat. Accompagnez votre besoin de photos d'ensemble et de détails pour faciliter le traitement de votre dossier. Toute besoin incomplète ne pourrait être traitée.
2.00M
F-Zone de sécurité:2.00m (aucun objet en appui sur le produit)
UK - Safety area: 2.00m (not objecta round the product)
D-Sicherheitsbereich:2.00m (Kein gegenüber in der Nane der Rutsche belassen)
NL - Veiligheidszone : 2.00m (Geen enkel voorwerp rondon het toestel)
I - Zona di sicurezza : 2.00m (Nessun oggettto intorno al prodatto)
SP - Area de seguridad : 2.00m (Ningún objecto alrededor del product)
P-Zona de segurarca:2.00m (Nenhum objecto em redor do product)
2.00M
Woo2
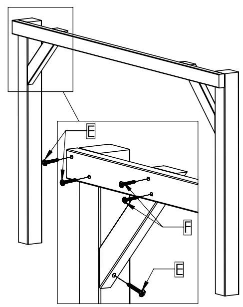
Pour éviter que les vis à bois ne fassent des fissures, il est conseilé de faire des avant trous de diamètre 2 ou 3 mm.
Warning!
| Désignation | Qte | Dim | ||
| A | vis Pozi bichromatée | 20 | 3,5X30 | |
| B | vis Pozi bichromatée | 140 | 3,5X40 | |
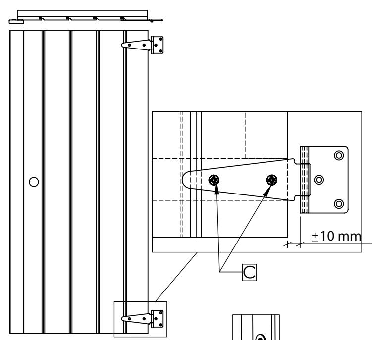
| C | vis Pozi bichromatée | 70 | 3,5X25 | |
| D | vis Pozi bichromatée | 8 | 3X12 | |
| E | vis Pozi bichromatée | 42 | 4X70 |


| 1 | demi panneau facade porte | 785x1623 | 1 |
| 2 | demi façade latérale AV | 785x1603 | 1 |
| 3 | demi façade latérale ARG | 785x1623 | 1 |
| 4 | demi panneau facade ARD | 785x1623 | 1 |
| 5 | panneau de jonction | 500x1580 | 1 |
| 8 | panneau de toit | 956x1596 | 2 |
| 9 | panneau latéral Droit | 1430x1170 | 1 |
| 10 | panneau latéral Gauche | 930x1170 | 1 |
| 12 | cornière | 20x35x1594 | 2 |
| 11 | jambe de force | 26x54xL.330 | 1 |
| 13 | planche de rive | 12x47x1000 | 4 |
| 14 | porte pleine | 457x1000 | 1 |
| 15 | fenetre assemblée | 350x350 int | 1 |
| 16 | liteau de finition | 12x47x1600 | 1 |
| 17 | liteau de finition | 12x47x1150 | 4 |
| 18 | aimant | 1 | |
| 19 | charnière | 2 | |
| 20 | pour cadre de fenêtre | L.574 | 2 |
| 21 | pour cadre de fenêtre | L.470 | 2 |
| PLATEFORME | |||
| 22 | marche echelle | 28x140x450 | 3 |
| 23 | llmon G h.900 | 28x115 | 1 |
| 24 | llmon D h.900 | 28x115 | 1 |
| 25 | tasseau Plateforme | 26x54x1000 | 4 |
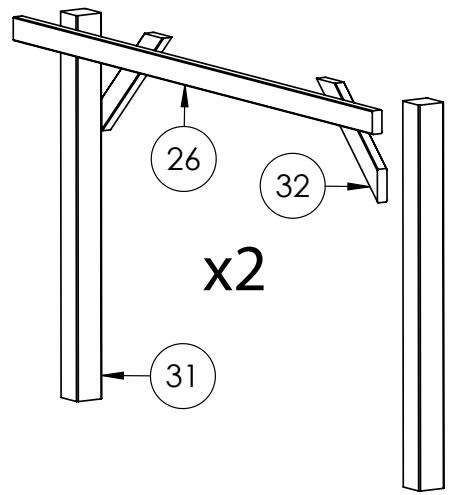
| 26 | tasseau Plateforme | L.1448 | 6 |
| 27 | tasseau Plateforme | L.1570 | 3 |
| 28 | tasseau Plateforme | L.785 | 2 |
| 29 | tasseau Plateforme | L.500 | 2 |
| 30 | poteau | L.1510 | 2 |
| 31 | poteau | L.880 | 5 |
| 32 | jambre de force Plateforme | 26x54 L.350 | 10 |
| 33 | lame terrasse | L.785 | 5 |
| 34 | lame terrasse | L.1570 | 21 |
| 35 | barrière | 610xL.946 | 2 |
| 36 | barrière | 610x L.691 | 2 |
| 37 | tasseau Plateforme | 26x54x600 | 1 |
















































Avec Glissière
With a slide
Und Wellenrutsche
Met glijbaan
Con scivolo
Con tobogán
Com correção




Notice Facile