DOUBLE FLUX CASSIO 100 MM - Aérateurs AUTOGYRE - Notice d'utilisation et mode d'emploi gratuit
Retrouvez gratuitement la notice de l'appareil DOUBLE FLUX CASSIO 100 MM AUTOGYRE au format PDF.
| Type de produit | Autogyre double flux |
| Modèle | Cassio 100 mm |
| Débit d'air | 100 m³/h |
| Dimensions | 100 mm (diamètre) |
| Poids | 1,5 kg |
| Alimentation électrique | 230 V |
| Puissance | 30 W |
| Fonctions principales | Ventilation, récupération de chaleur |
| Utilisation | Pour la ventilation de locaux résidentiels et commerciaux |
| Entretien et nettoyage | Filtres à nettoyer tous les 6 mois |
| Pièces détachées et réparabilité | Disponibilité de pièces de rechange sur demande |
| Sécurité | Conforme aux normes CE, protection contre les surcharges |
| Informations générales | Idéal pour améliorer la qualité de l'air intérieur |
FOIRE AUX QUESTIONS - DOUBLE FLUX CASSIO 100 MM AUTOGYRE
Questions des utilisateurs sur DOUBLE FLUX CASSIO 100 MM AUTOGYRE
0 question sur cet appareil. Repondez a celles que vous connaissez ou posez la votre.
Poser une nouvelle question sur cet appareil
Téléchargez la notice de votre Aérateurs au format PDF gratuitement ! Retrouvez votre notice DOUBLE FLUX CASSIO 100 MM - AUTOGYRE et reprennez votre appareil électronique en main. Sur cette page sont publiés tous les documents nécessaires à l'utilisation de votre appareil DOUBLE FLUX CASSIO 100 MM de la marque AUTOGYRE.
MODE D'EMPLOI DOUBLE FLUX CASSIO 100 MM AUTOGYRE
Avant toute opération d'installation, d'entretien ou dépose, veuillez dire très attentivement cette notice. En cas de non-respect des indications portées dans cette notice, le fabricant ne pourra être tenu responsable des dommages corporels et/ou matériels survenus.
1. PRECAUTIONS GENERALES
- Cét apparéil peut être utilisé par des enfants âgés d'au moins 8 ans et par des personnes ayant des capacités physiques, sensorielles ou mentales réduites ou dénuées d'expérience ou de connaissance, s'illes (si elles) sont correctement surveillé(e)s ou si des instructions relatives à l'utilisation de l' apparéil en toute sécurité leur ont été données et si les risques encourus ont été appréhendés.
- Les enfants ne doivent pas jouer avec l'appareil.
- Le nettoyage et l'entretien par l'usage ne doit pas etre effectués par des enfants sans surveillance.
- L'appareil doit être alimenté par une ligne indépendante conforme à la norme NF C 15-100. Un moyen de déconnexion doit notamment être prévu dans les canalisations fixes conformément aux règles d'installation.
- Ne pas employerer l'appareil à un usage différent de celui pour lequel il est créé.
- S'assurer que l'appareil n'a subi�除 un dommage.
- Avant toute intervention sur l'appareil, couper l'alimentation électrique.
- Des précautions doivent être prises pour éviter un refoulement, à l'intérieur de la piece, de gaz provenant du tuyau d'évacuation d'appareils à gaz ou d'autres appareils à feu ouvert. Les appareils à combustion doivent être installés en respectant rigoureusement leurs règles de mise en œuvre, notamment en termes d'évacuation des gaz brûlés et d'amnéée d'air neuf.
- L'appareil doit être impératifement installé hors des volumes de sécurité 0 et 1.
- Ne pas utiliser l'appareil en dessous de -20^ et au-delà de 40^ .
2. INSTALLATION
MONO DOUBLE FLUX CASSIO est un aérateur double flux permettant alternatively d'extraire l'air vicié d'une piece et d'y insuffler de l'air neuf. Il est doté d'un échangeur captant la chaleur de l'air extrait pour la restituer partiellement à l'air neuf.
Montage
- Percer le mur (Ø110 mm) afin d'accueiller le conduit de traversée (7), prévoir une pente de 2 à 3^ vers l'extérieur. Prévoir l'alimentation électrique.
- Placer le conduit de traversée (7) avec un joint non fourni en adaptant sa longueur si besoin.
- Fixer la grille extérieure (11) au mur et poser les cachetevis (12).
- Depuis l'intérieur, placer le filtré (8) et le recupérateur de chaleur (9).
- Fixer le corps de l'auteur (1) au mur et poser les cache-vis (5).
- Àprous avoir réalisé le raccordement électrique, monter la façade (2) par emboitement.





Disposition
MONO DOUBLE FLUX CASSIO peut être installé seul dans une piece ou par 2 dans une grande piece.

Cycle 1:souflage
... Cycle 2 : extraction
Les cycles 1 et 2 fonctionnement
alternativement et
automatifiquement

1 grande piece

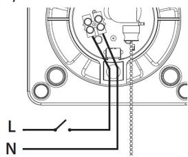
Raccordement électrique
- Démonter la façade (2) et le capot (4).
- Réaliser le raccordement électrique, puis remonter les éléments (4) et (2).

L'appareil estirquépéd'une protection thermique à réarmement manuel,elle arrêté le ventilateur en cas d'échauffement anormal. Le réarmement s'opère en coupant l'alimentation électrique de l'appareil puis en l'enclenchant de nouveau. Le réarmement ne doit avoir lieu qu'après le contrôle d'un professionnel.
3. UTILISATION
L'appareil dispose de 2 vitesses commutables grâce à un sélection à cordon (6). Il est possible de couper le sélection à cordon (6) afin que celui-ci ne soit plus visible une fois l'installation réalisée mais dans ce cas il faut préalablementCHOISIR une vitesse de fonctionnement car la manoeuvrabilité du选拔eur sera limitee voire rendue impossible.
4. ENTRETIEN
S'assurerpendantI'entretienque I'alimentation soit coupée et qu'elle ne puisseetre rétablie accidentellement.L'entretien consisteà:
- Un nettoyage des surfaces extérieures (chiffon doux, eau savonneuse).
- Un nettoyage de l'échangeur et du filtré :
Démonter la façade (2) puis le capot (4).
- Déconnecter électriquement l'appareil au niveau des bornes.
Déposer le corps de l'érateur (1).
Retirer l'échangeur (9) et le filtré (8).
Nettoyer le filtré (8), tous les 3 mois environ, à l'eau claire ou à l'aide d'un aspirateur. Il doit être séché avant sa remise en place.
- Dépoussiérer l'échangeur (9) à l'aide d'unerosse souse, d'un aspirateur ou à l'air comprimé, ne jamais utiliser de produits détergent, de solvant ou d'objet abrasif, coupant.
- Remonter l'ensemble des éléments en procédant de façon inverse.
5. CHARACTERISTIQUES ET COMPOSANTS
Cet apparéil est conçu pour assurer l'aération permanente d'une piece de vie (chambre, salon, salle à manger) par extraction et/ou insufflation. Il dispose d'un échangeur thermique permettant de récapérer en insufflation d'air neuf jusqu'à 90% de la chaleur perdue en extraction d'air.
Caracteristiques techniques
| Monophasé 230 V - 50 Hz. | Classe II - IPX4 |
| 2 vitesses | Débits : 34 - 44 m³/h |
| Consommation : 1.5 / 2 W | Niveau sonore : 32 / 36 dB(A) |

Composants
| 1 | Corps d'airateur |
| 2 | Façade |
| 3 | Vis du capo† |
| 4 | Capo† |
| 5 | Cache-vis |
| 6 | Cordon |
| 7 | Conduit de traversée |
| 8 | Filtre |
| 9 | Echangeur |
| 10 | Percement |
| 11 | Grille extérieure |
| 12 | Cache-vis |
6. PROTECTION DE L'ENVIRONNEMENT

Points de collecte sur www.quefiedreamedesches.fr
Privilégiée la réparation ou le don de cette apparcel!
La directive relative aux DEEE (Déchets d'Equipements Electriqueset Electroniques) impose de les collecter et les valoriser. Il est de votre responsabilité en tant que détenuteur final du produit d'en assurer l'élimination suivant les loi en vigueur.
Pour le recyclage de votre(APpeareil,veuillez contacter voitre magasin distributeur ou vousadresser aprres de suaive commune. Your geste contribue a preserver l'environnementet la santhe humaine en evitant de contaminer le milieu naturel avec des substances dangereuses prsentes dans les DEEE.
7. GARANTIE
La garantie se limite au seul remplacementdes pièces reconnues défectueuses par notre SAV.
En cas de mauvais fonctionnement, rapporter l'appareil accompagné de sanotice et de son justificatif d'achat au revendeur. La garantie ne couvre pas :
- Tout dysfonctionnement survenu après un raccordement électrique non conforme à la présente notice.
- L'utilisation anormale de l'appareil.
- Les cas où est menée une tentative de réparation hors de notre SAV.
D'une manière générale, tout dysfonctionnement reconnu comme la conséquence du non-respect des consignés de la présente notice.
Les pièces détachées concernant ce produit seront disponibles auprès de votre distributeur pour une durée de 4 années àcompter de la date d'achat. Pour le service après-venture (SAV) adressez-vous à votre installerateur, distributeur ou prenez contact avec notre SAV :
EOLIANCE RESIDENTIEL - Sce SAV
Chez Pôle Position
ZAC de l'Orchidée – Avenue de l'Europe
18570 LA CHAPELLE ST URSIN
Email: sav-ere@eoliance.com

Notice Facile