SPEKTRA K - Poêle à bois BRANDY BEST - Notice d'utilisation et mode d'emploi gratuit
Retrouvez gratuitement la notice de l'appareil SPEKTRA K BRANDY BEST au format PDF.
| Type d'appareil | Poêle à combustible solide |
| Usage | Domestique |
| Combustible | Bois, charbon, autres solides |
| Installation | Montage fixe |
| Matériau principal | Non précisé |
| Puissance thermique | Non précisé |
| Rendement | Non précisé |
| Dimensions | Non précisées |
| Poids | Non précisé |
| Système de ventilation | Non précisé |
| Type de porte | Non précisé |
| Normes de sécurité | Non précisées |
| Accessoires inclus | Non précisés |
| Entretien | Non précisé |
| Garantie | Non précisée |
FOIRE AUX QUESTIONS - SPEKTRA K BRANDY BEST
Questions des utilisateurs sur SPEKTRA K BRANDY BEST
0 question sur cet appareil. Repondez a celles que vous connaissez ou posez la votre.
Poser une nouvelle question sur cet appareil
Téléchargez la notice de votre Poêle à bois au format PDF gratuitement ! Retrouvez votre notice SPEKTRA K - BRANDY BEST et reprennez votre appareil électronique en main. Sur cette page sont publiés tous les documents nécessaires à l'utilisation de votre appareil SPEKTRA K de la marque BRANDY BEST.
MODE D'EMPLOI SPEKTRA K BRANDY BEST
Sommaire
- Préface 3
- Montage du poêle 6
- Utilisation du poêle 8
- Indications importantes pour la sécurité contre incendies et générale 17 5. Nettoyage 17
- Anomalies possibles et causes 18
1. Préface
Votre poèle est produit et testé en accord avec les exigences de la norme EN13240 et correspond à une documentation technique sanctionnée. Le foyer est produit et testé en accord avec les exigences de la norme EN13229 et correspond à une documentation technique sanctionnée.
Le montage correct, la bonne utilisation et les soins apportés au poèle sont particulièrement importants pour la sécurité et pour sa longévité.
- Une bonne cheminée doit être construite en matériel peu conducteur de la chaleur et ne pas se refroidir facilement.
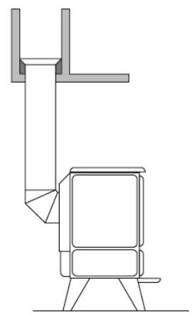
- Le diamètre minimal du conduit pour le fonctionnement en porte fermée peut être de 150 mm sous réserve que le dimensionnement du conduit de fumée suivant la norme EN 13384.1 autorise cette dimension. Dès que possible, nous conseillons l'utilisation d'un conduit ayant un diamètre intérieur de 180 mm. Toute diminution de cette section, même en sortie, ne peut être tolérée, sous peine de réduire le débit de fumée, ce qui entraînerait des refoulements dans la pièce au moment de l'ouverture de la porte. La cheminée doit avoir son origine dans la pièce où est installé l'appareil.
- Les clapets de tirage sont interdits. Le conduit doit être parfaitement étanche. Le conduit de raccordement et le conduit de cheminée ou tubage utilisés doivent être désignés G, c'est-à-dire résistant au feu de cheminée. Les apparêils doivent être raccordés à des conduits désignés de 50°C de plus que la température déclarée pour l'appareil, quel que soit le mode de raccordement. La hauteur de la cheminée ne doit pas etre inferieure a 5 metres et doit deboucher convenablement a l'air libre a 0,40m au moins au-dessus du faitage ou de tout autre obstacle situé a moins de 8 metres du conduit.
- Les déviements éventuels doivent être très couverts. Le tirage doit être compris entre 12 et 15 pascals en allure normale et doit chuter à 5 pascals environ au ralenti. En aucun cas il ne doit descendre en dessous de 12 pascals en allure normale sous peine de fonctionnement médiocre.
Si la dépression est trop importante, prévoir la pose d'un modérateur de tirage. Si la dépression est insuffisante, respecter les caractéristiques du conduit prescrites dans ce paragraphe.
Si la section du conduit est surdimensionnée, le volume à réchauffer est trop grand et le tirage ne s'établit pas normalement. Dans ce cas, il y a lieu de prévoir le tubage du conduit avec un produit agréé bois/charbon.
Tout tubage doit être conforme au DTU 24.1. Son dimensionnement répond à des règles de calcul précises (norme EN 13384.1) que seul un professionnel est apte à définir.
- Supprimer les poteries qui ne présentent pas une section de sortie d'au moins 2,5 dm².
- Il est recommandé qu'une trappe de ramonage bien étanche soit placée 50 cm environ au-dessous de l'axe du tuyau de fumée.
- Avant d'envisager le raccordement, il convient de s'assurer de la parfaite propreté du conduit. Si nécessaire, effectuer un ramonage.
- Les appareils doivent être installés conformément aux specifications des D. T. U. en vigueur, l'installation par un professionnel qualifié est recommandée. Toutes les règlementations nationales et locales doivent être respectées.
- Les extracteurs utilisés dans la même pièce ou dans le même espace que l'appareil peuvent perturber dangereusement le fonctionnement de celui-ci. Le fonctionnement simultané d'autres appareils dans le même espace que l'appareil peut générer des perturbations de tirage.
- Ne jamais obstruer les entrées d'air prévues dans la pièce. Les placer de telle façon que leurs obstructions soient difficilement réalisées, en effet l'appareil utilise de l'air qu'il préleve dans la pièce et il convient d'assurer son alimentation par un apport extérieur suffisant.
- Ces appareils ne sont pas prévus pour être raccordés à un conduit multiple.
- ermédiaire d'un tuyau horizontal. Vous pouvez également raccorder par le dessus et dans ce cas, permuter la buse et le tampon.
- Avant d'utiliser l'appareil, lisez la notice et les recommandations avec attention.
- L'appareil doit être installé dans le respect des réglementations nationales en vigueur dans le pays où est réalisée l'installation.
- L'installation par un professionnel est vivement recommandée.
- Ne jamais obstruer les entrées d'air prévues.
- L'appareil doit être raccordé à un conduit de cheminée ne desservant pas d'autres appareils. Il est inadapté pour le fonctionnement sur conduit multiple.
- Ne jamais apporter de modifications non autorisées sur l'appareil.
- L'appareil n'est pas prévu pour fonctionner porte ouverte.
- Toutes les surfaces de l'appareil sont des surfaces actives (chaudes), il est impératif de prendre toutes les précautions pour éviter les brûlures.
- Prendre toutes les précautions pour tenir les enfants et les personnes âgées suffisamment à l'écart pour éviter les accidents.
Alimentation en air
L'appareil préleve l'air dont il a besoin dans la pièce où il se trouve. Aussi faut-il toujours s'assurer que celui-ci peut être prélevé en quantité suffisante. - Une partie de cet air est utilisée en « air primaire » tandis qu'une autre partie est canalisée sur l'avant pour être utilisée en « air secondaire », parachever la combustion et limiter l'encrassement de la vitre. - La quantité d'air utilisée pour la combustion doit être compensée par un apport d'air extérieur (prévoir une grille d'aération).
2. Montage du poêle.
Pour assurer un travail de sécurité et correct du poèle, on doit observer les conditions suivantes:
- On doit faire le montage du poèle dans une pièce dans laquelle il y a autant d'apport d'air que nécessaire à la combustion.
- Avant le montage du poèle, il faut vérifier si la pression statique et la dimension du conduit de fumée correspondent aux paramètres techniques exigibles du poèle. Si le poèle et le conduit de fumée ne se correspondent pas, cela conduira à une combustion plus faible et à une pollution de la vitre avec suies. Le conduit de fumée doit être suffisamment haut (pas plus de 5 mètres). Le sol sur lequel on place le poèle doit être lisse et horizontal, exécuté de matériaux ignifuges (mosaïque, marbre, terre cuite et autres). Si le sol est en matériel inflammable (tapis, moquette, linoléum et autres revêtements pareils), il faut utiliser une plaque porteuse solide ignifuge exécutée de dalles en acier, en verre ou de pierre.
- Utiliser des tuyaux du diamètre prévu de préférence émaillés, car leur résistance à la corrosion est remarquable. Leur longueur devra être aussi courte que possible afin que la chaleur que conservent les fumées soit, comme il se doit, utilisée pour établir le tirage.
- Le mur adjacent ne doit pas comporter d'éléments combustibles. Dans le cas contraire, il convient de le protéger efficacement (utilisation de matériaux classés Mo ou A2-s1, d0). Une distance de sécurité aux matériaux combustibles adjacents de 30 cm au moins doit être respectée.
- Les murs situés à gauche ou à droite de l'appareil doivent être écartés de l'appareil de 30 cm au moins, s'ils sont constitués de matériaux combustibles.
- Dans le cas d'un poêle traditionnel, le plafond doit être situé au moins à 80 cm du dessus de l'appareil. L'appareil rayonne naturellement et nous vous conseillons d'éloigner tout matériel combustible (chaises en bois, canapés,...) se trouvant face à l'avant de l'appareil au minimum de 150 cm.
Il convient de raccorder l'appareil en accord avec le DTU 24.1. Les distances de sécurité entre les parois extérieures du conduit de raccordement et du conduit de cheminée de tout matériel combustible (A) doivent être conformes aux exigences de cette norme. Elles dépendent notamment du type de conduit, de sa résistance thermique, de sa classe de température. Aucune jonction ne doit se situer dans l'épaisseur du plancher (prévoir le déport B).






3.1. Combustibles
Les combustibles les plus convenables sont le bois de chauffage sec débité (rondins de bois) et les briquettes de charbon. Les rondins de bois, conservés sous des auvents à la belle étoile, obtiennent après deux ans une humidité de 10% à 15%, à laquelle ils sont plus convenables pour combustion. Nous recommandons de faire brûler des bois possiblement les plus secs. On atteint la puissance maximale du poêle lors de la combustion de bois qui a été séché au moins pendant deux ans.
Le bois frais débité a une humidité haute, brûle mal, émet beaucoup de gaz de combustion et pollue en supplément l'ambiance. Cela réduit considérablement la longévité d'utilisation du poêle et du conduit de fumée. Le contenu élevé de condensat et de goudron dans les gaz de combustion mène à un engagement plus rapide des tuyaux d'évacuation des fumées et du conduit de cheminée. Quand on utilise ce type de bois, la puissance de la cuisinière baisse jusqu'à 50% et la consommation de combustible double.
Types et quantités conseillées de combustible: bois sec -2,9 kg/h
Il n'est pas recommandé d'utiliser pour le poêle les combustibles suivants : bois humide ou résiné, copeaux, charbon tamisé (fin), charbons à valeur calorifique élevée, morceaux de papier et de carton (sauf pour l'allumage), des matières synthétiques.
Quel bois désir?
Les différentes essences de bois ont des pouvoirs calorifiques différents et elles ne brûlent pas toutes de la même façon.
Qualité et pouvoir calorifique selon le type de bois :
Bois dur: Charme Hêtre Chêne Frêne
Pouvoir calorifique élevé, combustion très lente
Bois de chauffage par excellence.
- Bois moyen : Châtaignier Merisier Fruitiers
Pouvoir calorifique moyen, combustion lente
Alimente la combustion des bois durs
Sec, le châtaignier perd de sa forte densité ; à ne pas utiliser dans une cheminée : risque d'étincelles.
- Bois tendre: Bouleau Aulne Peuplier
Pouvoir calorifique faible, combustion rapide
Répond à une élévation rapide de la température. N'importe quel rondin de bois tendre ou moyen accompagnera l'allumage du foyer. Le pouvoir calorifique du bouleau est l'un des plus importants de sa catégorie.
- Bois tendre: résineux
Pouvoir calorifique faible, combustion rapide
Répond à une élévation rapide de la température.
À la réputation d'encrasser les conduits. À éviter.
Quel que soit le bois choisi, il doit être bien sec ; le bois humide chauffe infiniment moins : une grande partie de l’énergie n’est utilisée que pour évaporer l’eau qu’il contient. De plus, le bois mouillé dégage beaucoup de fumée et peu de flammes et il provoque l’encrassement du foyer, de sa vitre et de la cheminée. Pour favoriser le séchage, il est important que les gros rondins soient fendus ; le bois sera couvert ou abrité de la pluie, mais bien ventilé. En général, il faut compter deux années de séchage. Avec l’expérience, vous apprécierez le séchage en soupesant les buches : plus elles sont sèches, plus elles sont légères et plus elles produisent un son clair quand on les cogne l’une contre l’autre.
Les bois qui ont subi des traitements chimiques, traverses de chemin de fer, agglomérés qui encrassent rapidement les appareils et les cheminées et peuvent produire des émanations toxiques.
Combustion primaire :
Porté à haute température, le bois brûle en produisant des fumées composées d'eau, de gaz carbonique, de composés organiques volatils (en majorité du méthane), et de nombreux autres composants en quantité plus faible. Plus la teneur en eau du bois est élevée, plus la quantité de fumées par unité d'énergie produite est élevée, et plus les composés organiques produits sont lourds. En l'absence de combustion secondaire, les fumées se condensent dans la cheminée, provoquant des dépôts de suie et de créosote qui peuvent l'obstruer et/ou provoquer des yeux de cheminée. La fraction des fumées qui ne condense pas est rejetée dans l'atmosphère, pouvant conduire à une pollution importante avec des conséquences sanitaires.
Combustion secondaire :
Les gaz émis par le bois chauffé brûlent à très haute température avec un rendement qui est potentiellement très proche de 100%. Dans les poêles modernes, une fois passée la phase d'allumage, l'arrivée d'air primaire est coupée, et le chauffage du bois n'est produit que par la combustion secondaire.
Ne pas utiliser de combustibles liquides.
Ne pas utiliser le poêle comme four à déchets.
Ne pas utiliser le poèle avec des combustibles non prévus : la garantie de l'appareil serait compromise.
3.2. Parties composantes
Vitre
La vitre montée est en verre céramique, elle est conçue pour résister à des températures jusqu'à 850°C.
La vitre fait partie des pièces d'usure et n'est pas incluse dans les conditions de garantie.
Pollution de la vitre par les suies
La cuisine a été conçue afin d'éviter la pollution de la vitre par les suies lors de l'utilisation. En effet, les suies se déposent uniquement en cas d'une mauvaise combustion, ce qui peut arriver pour différentes raisons : la pression statique et la dimension du conduit de fumée ne correspondant pas aux paramètres techniques de la cuisine, l'entrée d'air nécessaire pour la combustion est fermée trop tout ou bien on utilise des combustibles non autorisés. Pour garder la vitre la plus propre possible de suies, poser le bois de telle façon que la section des rondins de bois ne soit pas orientée vers la vitre.
Comme nous ne pouvons pas influencer sur ces facteurs, nous ne pouvons pas garantir que les vitres ne seront pas salies par les suies.
Réfractaires / briques chamottes, vermiculite /
Le foyer de combustion de la cuisine est muni de réfractaires. Ces réfractaires conservent la chaleur et la rendent au foyer, pour augmenter la température lors de la combustion. Plus la température lors de la combustion est haute, plus l'efficacité du processus de combustion est grande. Par suite de températures trop hautes ou d'actions mécaniques, les réfractaires peuvent être endommagées. Les températures trop hautes peuvent être obtenues quand, en cas d'un tirage trop important du conduit de fumée, les régulateurs d'air primaire et secondaire sont ouverts : il en résulte une combustion non contrôlée. Par « actions mécaniques » on comprend par exemple le jet de bois dans le foyer ou l'utilisation de rondins de bois trop grands.
Les réfractaires peuvent être facilement remplacées. Si les réfractaires sont seulement fissurées, il n'est pas nécessaire de les changer. Cela est nécessaire seulement dans le cas, quand on peut voir des parties métalliques entre elles ou sous elles. Si les réfractaires endommagées laissent apparaître les pièces métalliques, il faut les changer.
Les réfractaires font partie des pièces d'usure et ne sont pas incluses dans les conditions de garantie.
Garnitures d'étanchéité
Les garnitures d'étanchéité de la cuisinière sont fabriquées en fibre de verre et ne contiennent pas d'amianthe. Ce matériel s'use facilement lors de l'utilisation et les garnitures d'étanchéité doivent être更换为:重置为:被替换为:被重置为:被更新为:被修正为:被调整为:被修改为:被设定为:被指定为:被确定为:被识别为:被确认为:被判定为:被决定为:被选择为:被挑选为:被挑选出来为:被选中为:被选出来为:Les garnitures d'étanchéité doivent être remplacées périodiquement. Notre commerçant peut commander chez nous les nouvelles garnitures d'étanchéité.
Les garnitures d'étanchéité font partie des pièces d'usure et ne sont pas inclues dans les conditions de garantie.
Grille
La partie inférieure du foyer comporte une grille en fonte. Cette grille peut se boucher par des clous dans le bois, des petites particules de bois, des restes de combustion et autres. Nettoyez régulièrement la grille pour qu'elle garde son fonctionnement.
En cas d'utilisation de combustible non autorisé ou des températures excessivement hautes dues à un service incorrect, la grille peut brûler.
La grille fait partie des pièces d'usure et n'est pas incluse dans les conditions de garantie.
Revêtement
La cuisinière est peinte d'une peinture résistante à des températures élevées mais pas résistante à la rouille. Ne posez aucun objet sur la peinture. En cas d'entassement éventuel de poussière, époussetez avec une brosse ou avec un torchon sec, en aucun cas avec un torchon humide ou avec de l'eau.
À la première utilisation de la cuisineire, un chauffage de la peinture est nécessaire pour quelques heures, pour qu'elle soit cuite et qu'elle atteigne sa résistance définitive. Durant cette période, ne posez rien sur la cuisineire et ne touchez pas la surface extérieure, pour ne pas endommager le revêtement. Une odeur se dégage suite à la cuisson de la peinture. Aérez bien la pièce. Cette odeur disparaît après quelques heures.
Si par suite d'un surchauffage ou d'un usage incorrect, la couleur change en gris-blanc, si une tache apparait ou si une partie du revêtement est endommagée, vous pouvez commander chez votre commerçant un spray de la couleur ajustée.
Poignées
Les poignées de la cuisinière sont en laiton ou nickelées. C'est un avantage car elles ne s'usent pas. Elles atteignent la même température que la partie avant de la cuisinière. Utilisez donc des gants ignifugés pour les manipuler.
Risque de brûlures!
Niche / tiroir pour le bois
Dans la niche pour le bois on peut mettre des rondins de bois. En cas d'une conservation assez longue du bois dans la niche il s'écaille trop vite et après brûle trop vite. Si le bois ne correspond pas aux critères d'humidité donnés dans le p. 3.1, il peut être séché en supplément dans la niche.
La niche pour le bois ne doit pas être remplie totalement.
3.3. Allumage-réglage.
Avant le premier allumage du poêle, vous devez vous informer des différentes pièces de la cuisine.
L'air primaire passe par le cendrier, par la grille et entre dans le foyer. Quand le combustible utilisé est le bois, l'air primaire n'est pas nécessaire. L'air primaire est nécessaire pour l'allumage rapide et pour une meilleure combustion des charbons. Le réglage de la quantité de l'air primaire se fait en tirant légèrement le cendrier en avant ou par le régulateur, qui est monté sur la porte du cendrier. Dans le cas d'un conduit de fumée à fort tirage, il est recommandé que le cendrier et le régulateur soient bien fermés. On doit éviter que le cendrier soit entièrement plein afin que l'apport d'air primaire ne soit pas entravé. Le cendrier doit être vidé régulièrement.
L'air secondaire assure le feu avec l'oxygène nécessaire pour la combustion et aide à la meilleure combustion du combustible. Le réglage de la quantité de l'air secondaire se fait par un régulateur, qui est monté au-dessus de la porte du foyer. La construction de la cheminée permet le préchauffage de l'air secondaire, ce qui mène à une augmentation de la température de combustion, à une augmentation du rendement du poèle et gêne le dépôt de suies sur la vitre. Durant la combustion du poèle, le régulateur de l'air secondaire assure le contrôle du processus de combustion comme par indice quantitatif, ainsi par indice qualitatif. Le régulateur de l'air secondaire ne doit pas être fermé lors du processus de combustion. Souvent, pour économiser le combustible on ferme le régulateur de l'air secondaire peu après l'allumage, malgré nos instructions. Cela mène à une réduction de l'apport d'oxygène, qui gêne la combustion et la vitre est polluée de suies. Aussi il y a des émissions nuisibles qui peuvent provoquer une combustion dans le conduit de fumée.
Comme la puissance de votre poêle dépend de la hauteur du conduit de fumée, on établit par expérience le réglage exact de l'apport d'air nécessaire pour le processus de combustion.
3.4. Premier allumage du poêle.
Avant le premier allumage du poèle, assurez-vous que :
Le cendrier soit bien nettoyé
- Les régulateurs d'air primaire et secondaire soient ouverts. Lors du premier allumage il est nécessaire que la porte du foyer soit légèrement ouverte, pour éviter un collage de la garniture de la porte vers la peinture. Le premier allumage doit se passer lentement et calmement, avec une petite quantité de brindilles sèches et du papier. Après leur combustion on peut mettre deux ou trois rondins de bois.
3.5. Allumage lors de l'exploitation.
Votre poêle est construite et conçue pour un régime périodique de combustion. À chaque allumage du poêle, suivez la démarche ci-dessous:
Ouvrir le régulateur de l'air secondaire. - Placer les combustibles de base et les brindilles sèches et le papier, on les allume et on ferme la porte. Après qu'ils sont bien allumés, vous pouvez régler la puissance en réglant le régulateur d'air. Pour un chauffage prolongé, ajouter périodiquement du combustible après la combustion des substances volatiles et la formation de braise.
REMARQUE : Pendant le fonctionnement, éloigner de l'appareil toute matière pouvant être altérée par la chaleur : mobilier, papier, vêtements...
ATTENTION : En fonctionnement en allure normale, la poignée ne doit pas être manoeuvrée à la main. Utiliser le gant pour effectuer l'opération.
De plus, la chambre de combustion et le compartiment du cendrier doivent rester fermés pour éviter le refoulement des fumées, sauf lors de l'allumage, du rechargement ou de l'enlèvement des résidus.
Pendant le fonctionnement, tenir la porte toujours fermée.
On doit faire sortir le cendrier seulement lorsqu'il est bien refroidi.
Conduite de l'appareil :
- Toujours suivre les instructions. Lors des premiers allumages, n'effectuer que des chargements limités pour vérifier la bonne marche de l'ensemble. Augmenter graduellement les charges de bois et ce, sur plusieurs jours.
- Ne pas utiliser l'appareil comme incinérateur. N'utiliser que le combustible recommandé.
- Ne pas faire fonctionner si la vitre est cassée ou fêlée. Faire procéder à son remplacement avant toute réutilisation. Nous vous recommandons de contacter votre revendeur pour le remplacement de la vitre contre facturation. Nous insistons sur la nécessité de remplacer en même temps les joints de porte et de vitre et de ne pas serrer trop fort au remontage afin de permettre sa dilatation.
- Après une longue période d'arrêt, s'assurer que le conduit n'est pas obstrué, ainsi que le tuyau de raccordement et les passages des fumées dans l'appareil.
Chargement : recommandation tres importante
Pour effectuer un chargement, il convient que le feu soit suffisamment bas. Ne pas ouvrir la porte si des flames hautes sont visibles car lors de l'ouverture de la porte elles risqueraient d'être appelées.
Toujours ouvrir la porte très doucement pour laisser le tirage s'établir et éviter ainsi le refoulement de fumée.
Entretien
Faire vérifier l'appareil par une personne compétente au moins une fois par an.
Attention
LORS DES PREMIERS ALLUMAGES, IL EST NECESSAIRE DE FAIRE FONCTIONNER L'APPAREIL A ALLURE MODEREE, AFIN DE PERMETTRE AUX PIECES DE SE DILATER NORMALEMENT.
LES POIGNEES SONT CHAUDES PENDANT LE FONCTIONNEMENT. UTILISER UN GANT PREVU A CET EFFET.
LE GANT NE DOIT ETRE UTILISE QUE POUR MANEUVRER LA POIGNEE. IL N'EST PAS ADAPTE POUR LA MANIPULATION D'OBJETS EN IGNITION. IL N'EST PAS ETANCHE AUX LIQUIDES. NE PAS UTILISER CONTRE LES RISQUES CHIMIQUES.
VEILLER A DEPOSER VOTRE GANT APRES CHAQUE UTILISATION A UN ENDROIT DEPOURVU DE RESIDUS DE COMBUSTION (Cendres) ET NON CHAUD.
Ne pas s'inquiéter si des émissions de fumée et une odeur un peu âcre se manifestent aux premiers allumages, ici étant dus à la peinture des différentes pièces. Ces phénomènes peuvent persister plusieurs jours.
Il faut cependant prendre garde à ne jamais opérer le nettoyage lorsque l'appareil est chaud.
Il convient de contrôler au moins une fois par saison l'objet des briques de foyer. Toutefois, nous insistons sur le fait qu'une fente très fine ne perturbe en rien le bon fonctionnement de l'appareil. Le changement s'impose dès que la brique se détériore. Les couvercles écrous, ainsi que les joints de foyer sont des pièces d'usure.
La vérification de leur bon état doit être effectuée après chaque saison de chauffe.
L'émail craquelé ou fendillé n'est pas reconnu comme étant une cause de dépréciation de l'appareil. Il est en effet impossible dans certains cas d'éviter ces craquelures (trèsuelles en terme de métier) qui sont dues à une différence de dilatation entre le métal et l'émail.
Ces prescriptions vous aideront à obtenir de votre appareil le rendement maximal dans les conditions d'emploi habituelles
4. Indications importantes pour la sécurité.
La porte du foyer doit être tout à fait fermée, même quand le poêle n'est pas en fonctionnement. Le montage du poêle se fait seulement sur un sol ignifuge. Le poêle et les tuyaux d'évacuation des fumées doivent être situés à une distance pas moins de 80cm des objets et des constructions en matériaux inflammables. - Lors de l'allumage, n'utilisez pas de liquides facilement inflammables. - La présence de substances facilement inflammables et explosives dans la pièce chauffée du poêle est interdite. - Le nettoyage du poêle et l'enlèvement des cendres doivent se faire lorsqu'ils sont bien refroidis. Il est interdit de mettre des matériaux et objets inflammables sur le poêle ou tout près d'elle.
Faites attention qu'il n'y ait pas d'enfants jouant près de la cuisinière ou du poêle lors de son chauffage car la surface est très chaude. Danger de brûlures!
En cas d'incendie dans le conduit de fumée:
Fermez les régulateurs d'air. - Téléphonez au corps des pompiers de votre région. - Ne tentez pas d'éteindre l'incendie tout seul avec de l'eau. Éloignez tous les matériaux inflammables du conduit de cheminée. - Faites vérifier le conduit de cheminée par une personne autorisée avant tout nouvel allumage de votre cuisine.
5. Nettoyage
L'entretien et le nettoyage du poêle garantissant son fonctionnement sans pannes et la conservation de son bon état extérieur.
Le nettoyage des tuyaux d'évacuation des fumées et de l'intérieur du poêle doit se faire au moins une fois par an.
On nettoie les surfaces peintes avec une brosse douce ou avec un torchon mou sec.
On nettoie la vitre en cas de besoin en état froid, en la lavant avec une solution savonneuse et en la séchant après.
Decendrage
Vider le cendrier au moins tous les 2 à 3 jours suivant l'utilisation. Cette opération doit se faire avec précaution, en s'assurant bien d'utiliser le gant pour transporter le cendrier et la clé à crochet pour manœuvrer le tiroir. - Ne jamais laisser les cendres s'amonceler dans le cendrier jusqu'au contact de la grille. Celle-ci ne serait plus refroidie et se déteriorerait rapidement.
Ramonage
- Faire ramoner votre cheminée par un professionnel par un moyen mécanique au moins deux fois par an, dont un pendant la période de chauffe. Un certificat doit vous être remis par l'entrepreneur. Il est également possible d'entretien les conduits avec un produit adapté. Toutefois, cela n'exclut en rien le ramonage mécanique obligatoire. Vérifier l'appareil et s'assurer que les joints de porte sont en bon état, les replacer si nécessaire. Nettoyer complètement l'intérieur de l'appareil sans oublier les canaux de passage des fumées.
- En cas de feu de cheminée, fermer le registre d'air et appeler les pompiers.
Lors de l'allumage, le poêle fume (tirage insuffisant)
le conduit de fumée ou les tuyaux d'évacuation des fumées ne sont pas bien serrés; - un conduit de fumée dimensionné incorrectement;
La pièce ne se chauffe pas:
On a besoin d'une chaleur plus grande; le combustible est mauvais; - il y a trop de cendres sur la grille; l'apport d'air est insuffisant;
Le poêle chauffe trop:
l'apport d'air est trop grand; - le tirage du conduit de fumée est trop grand; le combustible est trop calorifique;
Il y a des défauts sur la grille ou une couche de saleté se forme:
le poèle est trop surcharge ; on a utilise un combustible hors forme ; l'apport d'air primaire est trop grand ; le tirage du conduit de fumée est trop grand ;
Le poêle ne brûle pas bien:
ouvre entièrement le régulateur d'air primaire. Le régulateur d'air secondaire doit être entièrement ouvert; - mettez moins de combustible; - nettoyez plus souvent le cendrier;
Les briquettes de charbon doivent être bien allumées avant de rompre l'air primaire; vérifiez si le conduit de fumée n'est pas bouché; vérifiez si le tuyau d'évacuation ne pénètre pas dans le conduit de fumée; - vérifie si la puissance exigée pour le flux des gaz de fumées de votre conduit de fumée correspondant à votre cuisinière; vérifiez si le passage du conduit de fumée près de votre cuisinière n'est pas fermé;
L'usine de fabrication se réserve le droit de faire des changements dans la construction sans que les qualités techniques et d'exploitation de la cuisinière ne changent.
L'usine de fabrication ne porte aucune responsabilité pour des changements faits par l'utilisateur sur la cuisinière.
Responsabilite
Nous vous rappelons que la responsabilité du constructeur se limite au produit tel qu'il est commercialisé et que l'installation et la mise en service sont sous la responsabilité entière de l'installateur qui devra intervenir dans les règles et suivant la prescription de la notice.
HORUS SARL 8 Chemin de Monbus 62120 MAMETZ France www.brandybest.com
Notice Facile