BORA L - Poêle à bois BRANDY BEST - Notice d'utilisation et mode d'emploi gratuit
Retrouvez gratuitement la notice de l'appareil BORA L BRANDY BEST au format PDF.
| Type d'appareil | Poêle à bois |
| Usage | Domestique |
| Combustible | Combustibles solides |
| Installation | Montage manuel |
| Matériau principal | Non précisé |
| Puissance thermique | Non précisé |
| Rendement | Non précisé |
| Dimensions | Non précisé |
| Poids | Non précisé |
| Type de ventilation | Naturelle ou forcée |
| Système de sécurité | Non précisé |
| Normes | Non précisé |
| Garantie | Non précisé |
| Accessoires fournis | Non précisé |
| Entretien | Nettoyage régulier recommandé |
FOIRE AUX QUESTIONS - BORA L BRANDY BEST
Questions des utilisateurs sur BORA L BRANDY BEST
0 question sur cet appareil. Repondez a celles que vous connaissez ou posez la votre.
Poser une nouvelle question sur cet appareil
Téléchargez la notice de votre Poêle à bois au format PDF gratuitement ! Retrouvez votre notice BORA L - BRANDY BEST et reprennez votre appareil électronique en main. Sur cette page sont publiés tous les documents nécessaires à l'utilisation de votre appareil BORA L de la marque BRANDY BEST.
MODE D'EMPLOI BORA L BRANDY BEST
de montage et d'utilisation de poêle domestique
à combustibles solides
SOMMAIRE
- Préface 3
- Montage du poèle 6
- Utilisation du poèle 8
- Indications importantes pour la sécurité contre incendies et générale 17
5.Nettoyage 17 - Anomalies possibles et causes 18
1. Préface.
Votre poèle est produit et testé en accord avec les exigences de la norme EN13240 et correspond à une documentation technique sanctionnée. Le foyer est produit et testé en accord avec les exigences de la norme EN13229 et correspond à une documentation technique sanctionnée.
Le montage correct, la bonne utilisation et les soins apportés au poèle sont particulièrement importants pour la sécurité et pour sa longévité.
- Une bonne cheminée doit être construite en matériel au peu conducteur de la chaleur et ne pas se refroidir facilement.
- Le diamètre minimal du conduit pour le fonctionnement en porte fermée peut être de 150 mm sous réserve que le dimensionnement du conduit de fumée suivant la norme EN 13384.1 autorise cette dimension. Dès que possible, nous conseillons l'utilisation d'un conduit ayant un diamètre interieur de 180 mm.
Toute diminution de cette section, meme en sortie, ne peut etre tolere, sous peine de reduire le debit de fumee, ce qui entrainerait des refoulements dans la piece au moment de l'ouverture de la porte.
La cheminée doit avoir son origine dans la pierce où est installé l'appareil. - Les clapets de tirage sont interdits.
Le conduit doit être parfaitement étanche.
Le conduit de raccordement et le conduit de cheminée ou tubage utilisés doivent être désignés G, c'est-à-dire résistant au feu de cheminée. Les apparêils doivent être raccordés à des conduits désignés de 50^ de plus que la température déclarée pour l'appareil,quel que soit le mode de raccordement.
La hauteur de la cheminée ne doit pas etre inferieure a 5 metres et doit deboucher convenablement a l'air libre a 0,40 m au moins au-dessus du faitage ou de tout autre obstacle situé a moins de 8 metres du conduit. - Les dévoiments éventuels doivent être très couverts.
Le tirage doit etre compris entre 12 et 15 pascals en allure normale et doit chuter a 5 pascals environ au ralenti. En aucun cas il ne doit descendre en dessous de 12 pascals en allure normale sous peine de fonctionnement medicoere.
Si la dépression est trop importante, prévoir la pose d'un moderationur de tirage. Si la dépression est insuffisante, respecter les caractéristiques du conduit prescrites dans ce paragraphe.
Si la section du conduit est surdimensionnée, le volume à rechauffer est trop grand et le tirage ne s'établit pas normalement. Dans ce cas, il y a lieu de prévoir le tubage du conduit avec un produit agréé bois/charbon.
Tout tubage doit être conforme au DTU 24.1. Son dimensionnement répond à des règles de calcul précises (norme EN 13384.1) que celui un professionnel est apte à définir.
- Supprimer les poteries qui neprésentent pas une section de sortie d'au moins 2,5 dm2.
- Il est recommendé qu'une trappe de ramonage bien étanche soit placée 50 cm environ au dessous de l'axe du tuyau de fumée.
- Avant d'envisager le raccordement, il convient de s'assurer de la parfaite propre du conduit. Si nécessaire, effectuer un ramonage.
- Les apparêls doivent être installés conformément aux specifications des D.T.U. en vigueur, l'installation par un professionnelnel qualifié est recommendée. Toutes les règlementations nationales et locales doivent être respectées.
- Les extracteurs utilisés dans la même piece ou dans le même espace que l'appareil peuvent perturber dangereusement le fonctionnement de celui-ci.
Le fonctionnement simultané d'autres apparèils dans le même espace que l'appareil peut générer des perturbations de tirage. - Ne jamais obstruer les entrées d'air prévues dans la piece. Les placer de telle façon que leurs obstructions soient difficilement réalisées, en effet l'appareil utilise de l'air qu'il préleve dans la piece et il convient d'assurer son alimentation par un apport extérieur suffisant.
- Ces appeareils ne sont pas prévus pour être raccordés à un conduit multiple.
-
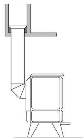
La buse est montée en usine, fixée à l'arrière (si raccordement arrêté possible). Vous pouvez raccorder directement au conduit par l'intérémiaire d'un tuyau horizontal. Vous pouvez également raccorder par le dessus et dans ce cas, permuter la buse et le tampon.
-
Avant d'utiliser l'appareil, lore la notice et les recommendations avec attention.
- L'appareil doit être installé dans le respect des réglementations nationales en vigueur dans le pays où est réalisée l'installation.
- L'installation par un professionnel est vivement recommandée.
- Ne jamais obstruer les entrées d'air prévues.
- L'appareil doit être raccordé à un conduit de cheminée ne desservant pas d'autres apparèils. Il est inadapté pour le fonctionnement sur conduit multiple.
- Ne jamais appofter de modification non autorisé sur l'appareil.
- L'appareil n'est pas prévu pour fonctionner porte ouverte.
- Toutes les surfaces de l'appareil sont des surfaces actives (chaudes), il est impératif de prendre toutes précautions pour éviter les brûlures.
- Prendre toutes les précautions pour tener les enfants et les personnes âgées suffisamment à l'écart pour éviter les accidents.
ALIMENTATION EN AIR
L'appareil préleve l'air dont il a besoin dans la piece où il se trouve. Aussi faut-il toujours s'assurer que celui-ci peut être prélevé en quantité suffisante.
- Une partie de cet air est utilisé en « air primaire » tandis qu'une autre partie est canalisée sur l'avant pour être utilisée en « air secondaire », parachever la combustion et limiter l'encrassement de la vitre.
- La quantité d'air utilisée pour la combustion doit être compensée par un apport d'air extérieur (prévoir une grille d'aération).
2. Montage du poèle.
Pour assurer un travail de sécurité et correct du poèle, on doit observer les conditions suivantes:
- On doit faire le montage du poèle dans une piece dans laquelle il y en a autant d'apport d'air que nécessaire à la combustion.
- Avant le montage du poèle, il faut vérifier si la pression statique et la dimension du conduit de fumée correspondant aux paramètres techniques exigibles du poèle. Si le poèle et le conduit de fumée ne se correspondent pas, cela conduira à une combustion plus faible et à une pollution de la vitre avec suies.
Le conduit de fumée doit être suffisamment haut (pas plus moins de 5 metres).
Le sol sur lequel on place le poèle doit être lisse et horizontal exécuté de matérieliaux ignifuges (mosaïque, marbre, terra cotte et autres) Si le sol est en matérieliau inflammable (tapis, moquette, linoléum et autres revêtements pareils) il faut utiliser une plaque porteuse solide ignifuge exécutée de dalles en acier, en verre ou de pierre. - Utiliser des tuyaux du diamètre prévu de préférence émailés, car leur résistance à la corrosion est remarquable. Leur longueur devra être aussi courte que possible afin que la chaleur que conservent les fumées soit, comme il se doit, utilise pour étabir le tirage.
- Le mur arrêté ne doit pas composer d'éléments combustibles. Dans le cas contraire, il convient de le protégger efficacement (utilisation de matériaux classés Mo ou A2-s1, do). Une distance de sécurité aux matériaux combustibles arrêté de 30 cm au moins doit être respectée.
- Les murs situés à gauche ou à droite de l'appareil doivent être écartsés de l'appareil de 30 cm au moins, s'il sont constitués de matérielux combustibles.
- Dans le cas d'un poèle traditionnel, le plafond doit être situé au moins à 80 cm du dessus de l'appareil.
L'appareil rayonne naturellement et nous vous conseillons d'eligner tout materiaiu combustible (chaises en bois, canapes,...) se trouvant face à l'avant de l'appareil au minimum de 150 cm.
Il convient de raccorder l'appareil en accord avec le DTU 24.1. Les distances de sécurité entre les parois extérieures du conduit de raccordement et du conduit de cheminée de tout matériel combustible (A) doivent être conformes aux exigences de cette norme. Elles dépendent notamment du type de conduit, de sa résistance thermique, de sa classe de température. Aucune jonction ne doit se situe dans l'épaisseur du plancher (prévoir le déport B).






3. Utilisation du poège.
3.1. Combustibles.
Les combustibles les plus convenables sont le bois de chauffage sec débité (rondins de bois) et les briquettes de charbon. Les rondins de bois, conservés sous des auvents à la belle étoile obtiennent après deux ans une humidité de 10% à 15% à laquelle ils sont plus convenables pour combustion. Nous recommendons de faire brûler des bois possiblement les plus secs. On atteint la puissance maximale du poèle lors la combustion de bois qui a été séché au moins pendant deux ans.
Le bois frais débité a une humidité haute, brûle mal, émet beaucoup de gaz de combustion et pollue en supplément l'ambiance. Cela réduit considérablement la longévité d'utilisation du poèle et du conduit de fumée. Le contenu élevé de condensat et de goudron dans les gaz de combustion mène à un engagement plus rapide des tuyaux d'évacuation des fumées et du conduit de cheminée. Quand on utilise ce type de bois la puissance de la cuisineira baisse jusqu'à 50% et la consommation de combustible double.
Types et quantités conseillés de combustible: bois sec -2,9 kg/h
Il n'est pas recommandé d'utiliser pour le poèle les combustibles suivants: bois humide ou résiné, copeaux, charbon tamisé (fin) charbons à valeur calorifique élevée, morceaux de papier et de carton (sauf pour l'allumage), des matières synthétiques.
Quel bois désir ?
Les différentes essences de bois ont des pouvoirs calorifiques différents et elles ne brûlent pas toutes de la même façon.
Qualité et pouvoir calorifique selon le type de bois :
Bois dur: Charme Hêtre Chêne Frêne
Pouvoir calorifique élevé, combustion très lente
bois de chauffage par excellence.
- Bois moyen: Châteigner Merisier Fruitiers
Pouvoir calorifique moyen, combustion lente
Alimente la combustion des bois durs
Sec, le Chataigner perd de sa forte densité; à ne pas utiliser dans une cheminée: risque d'étincelles.
- Bois tendre: Bouleau Aulne Peuplier
Pouvoir calorifique faible, combustione rapide
Répond à une éLEVation rapide de la température. N'importe quel rondin de bois tendre ou moyen accompagnera l'allumage du foyer. Le pouvoir calorifique du bouleau est l'un des plus importante de sa catégorie.
- Bois tendre: résineux
Pouvoir calorifique faible, combustione rapide
Répond à une éliquation rapide de la température.
A la réputation d'encrasser les conduits. A éviter
Quel que soit le bois choisi, il doit être bien sec; le bois humide chauffe infiniment moins : une grande partie de l'énergie n'est utilisée que pour évaporer l'eau qu'il contient. De plus, le bois mouillé dégage beaucoup de fumée et peu de flammes et il provoque l'encrassement du foyer, de sa vitre et de la cheminée. Pour favoriser le séchage, il est important que les gros rondins soient fendus ; le bois sera couvert ou abrité de la pluie, mais bien ventilé. En général, il faut compter deux années de séchage. Avec l'expérience, vous apprécierez le séchage en soupesant les bùches : plus elles sont sèches, plus elles sont légères et plus elles produit un son clair quand on les cogne l'une contre l'autre.
A proscire
Les bois qui ont subi des traitements chimiques, traverses de chemin de fer, agglomerés qui encrassent rapidement les apparciels et les cheminées et peuvent produit des émanations toxiques.
Combustion primaire :
Porté à haute température le bois brûle en produit des fumées composées d'eau, de gaz carbonique, de composés organiques volatils (en majorité du methane), et de nombreux autres composants en quantité plus faible. Plus la teneur en eau du bois est élevée, plus la quantité de fumées par unité d'énergie produit est élevée, et plus les composés organiques produits sont lourds. En l'absence de combustion secondaire les fumées se condensent dans la cheminée provoquant des dépôts de suie et de créosote qui peuvent l'obstruer et/ou provoquer des yeux de cheminée. La fraction des fumées qui ne condense pas est rejetée dans l'atmosphère pouvant conduire à une pollution importante avec des conséquences sanitaires.
Combustion secondaire :
Les gaz émis par le bois chauffé brûlent à très haute température avec un rendement qui est potentiellement très proche de 100% . Dans les poèles modernes, une fois passée la phase d'allumage, l'arrivée d'air primaire est coupée, et le chauffage du bois n'est produit que par la combustion secondaire.
Ne pas utiliser de combustibles liquides.
Ne pas utiliser le poèle comme four à déchets.
Ne pas utiliser le poèle avec des combustibles non prévus: la garantie de l'appareil serait compromise.
3.2. Parties composantes.
Vitre
La vitre montée est en verre céramique, elle est conçue pour résister à des températures jusqu'à 850^ .
La vitre fait partie des pieces d'usure et n'est pas inclue dans les conditions de garantie.
Pollution de la vitre par les suies
La cuisine a ete conue afin d'eviter la pollution de la vitre par les suies lors de l'utilisation. En effet, les suies se deposent uniquely en cas d'une mauvaise combustion, ce qui peut arrivier pour differentes raisons : la pression statique et la dimension du conduit de fumee ne correspondant pas aux parametes techniques de la cuisine, I'entrée d'air nécessaire pour la combustion est fermée trop tout ou bien on utilise des combustibles non autorises. Pour garder la vitre la plus propre possible de suies, poser le bois de telle façon que la section des rondins de bois ne soit pas orientee vers la vitre.
Comme nous ne pouvons pas influencer sur ces facteurs, nous ne pouvons pas garantir que les vitres ne seront pas salies par les suies.
Réfractaires /briques chamottes, vermiculite/
Le foyer de combustion de la cuisine est muni de refractaires. Ces refractions conservent la chaleur et la rendent au foyer, pour augmenter la température lors de la combustion. Plus la température lors de la combustion est haute, plus l'efficacité du processus de combustion est grande. Par suite de températures trop hautes ou d'actions mécaniques, les refractions peuvent être endommagées. Les températures trop hautes peuvent être obtenues quand, en cas d'un tirage trop important du conduit de fumée, les régulateurs d'air primaire et seconde sont ouverts : il en résultat une combustion non contrôleé. Par « actions mécaniques » on comprend par exemple le jet de bois dans le foyer ou l'utilisation de rondins de bois trop grands.
Les réfractaires peuvent être facilement replacées. Si les réfactaires sont seulement féliées il n'est pas nécessaire de les changer. Cela est nécessaire seulement dans le cas, quand on peut voir des parties métalliques entre elles ou sous elles. Si les réfactaires endommagées laissent apparaitre les pieces métalliques, il faut les changer.
Les réfractaires font partie des pieces d'usure et ne sont pas inclues dans les conditions de garantie.
Garnitures d'étanchéité
Les garnitures d'étanchéité de la cusinière sont fabriquées en fibre de verre et ne contiennent pas d'asbeste. Ce matériel s'use facilement lors de l'utilisation et les garnitures d'étanchéité doivent être rechangées périodiquement. Notre commercant peut commander chez nous les nouvelles garnitures d'étanchéité.
Les garnitures d'étanchéité font partie des pieces d'usure et ne sont pas inclues dans les conditions de garantie.
Grille
La partie inférieure du foyer comporte une grille en fonte. Cette grille peut se boucher par des clous dans le bois, des petites particules de bois, des restes de combustion et autres. Nettoyez régulièrement la grille pour qu'elle garde son fonctionnalisme.
En cas d'utilisation de combustible non autorisé ou des températures exagérément hautees dues à un service incorrect, la grille peut brûler.
La grille fait partie des pieces d'usure et n'est pas inclue dans les conditions de garantie.
Revêtement
La cusinière est peinte d'une peinture résistante à des températures élevées mais pas résistante à la rouille. Ne posez aucun objet sur la peinture. En cas d'entassement évientuel de poussière, époussetez avec une Brosse ou avec un torchon sec, en aucun cas avec un torchon humide ou avec de l'eau.
A la première utilisation de la cuisineire, un chauffage de la peinture est nécessaire pour quelques heures, pour qu'elle soit cuite et qu'elle atteigne sa résistance définitive. Durant cette période ne posez rien sur la cuisineire et ne touche pas la surface extérieure, pour ne pas endommager le revêtement. Une odeur se dégage suite à la cuisson de la peinture. Aérez bien la piece. Cette odeur disparait après quelques heures.
Si par suite d'un surchauffage ou d'un usage incorrect, la couleur change en gris-blanc, si une tache apparait ou si une partie du revêtement est endommagée, vous pouvez commander chez votre commercant un spray de la couleur ajusté.
Poignées
Les poignées de la cusinière sont en laiton ou nickelées. C'est un avantage car elles ne s'usent pas. Elles atteignent la même température que la partie avant de la cusinière. Utilisez donc des gants ignifugés pour les manipuler.
Risque de brûlures!
Niche / tiroir pour le bois
Dans la niche pour le bois on peutmettre des rondins de bois. En cas d'une conservation assez longue du bois dans la niche il s'echetrop vite et apres brule trop vite. Si le bois ne correspond pas aux criteres d'humidite donnés dans le p. 3.1, il peut etre seché en supplément dans la niche.
La niche pour le bois ne doit pas etre remplie totalement.
3.3. Allumage-réglage.
Avant le premier allumage du poèle vous devez vous informer des différentes pieces de la cuisine.
L'air primaire passe par le cendrier, par la grille et entre dans le foyer. Quand le combustible utilisé est le bois, l'air primaire n'est pas nécessaire. L'air primaire est nécessaire pour l'allumage rapide et pour une meilleure combustion des charbons. Le réglage de la quantité de l'air primaire se fait en tirant légèrement le cendrier en avant ou par le régulateur, qui est monté sur la porte du cendrier. Dans le cas d'un conduit de fumée à fort tirage, il est recommandé que le cendrier et le régulateur soient bien fermés. On doit éviter que le cendrier soit entièrement plein afin que l'apport d'air primaire ne soit pas entravé. Le cendrier doit être vidé régulièrement.
L'air seconde assure le feu avec l'oxygène nécessaire pour la combustion et aide la meilleure combustion du combustible. Le réglage de la quantité de l'air seconde se fait par un régulateur, qui est monté au-dessus de la porte du foyer. La construction de la cheminée permet le préchauffage de l'air seconde, ce qui mène à une augmentation de la température de combustion, à une augmentation du rendement du poèle et gène le dépôt de suies sur la vitre. Durant la combustion du poèle, le régulateur de l'air seconde assures le contrôle du processus de combustion comme par indice quantitatif, ainsi par indice qualitatif. Le régulateur de l'air seconde ne doit pas être fermé lors du processus de combustion. Souvent, pour économiser le combustible on ferme le régulateur de l'air seconde peu après l'allumage, malgré nos instructions. Cela mène à une réduction de l'apport d'oxygène, qui gène la combustion et la vitre est polluée de suies. Aussi il y en a des émissions nuisibles qui peuvent provoquer une combustion dans le conduit de fumée.
Comme la puissance de votre poèle dépend de l'hauteur du conduit de fumée, on établit par expérience le réglage exact de l'apport d'air nécessaire pour le processus de combustion.
3.4. Premier allumage du poèle.
Avant le premier allumage du poèle, assurez-vous que :
Le cendrier soit bien nettoyé
- Les régulateurs d'air primaire et secondaire soient ouverts.
Lors du premier allumage il est nécessaire que la porte du foyer soit légèrement ouverte, pour éviter un collage de la garniture de la porte vers la peinture.
Le premier allumage doit se passer lentement et calmement, avec une petite quantite de brindilles sèches et du papier. Àpres leur combustion on peutmettre deux ou trois rondins de bois.
3.5. Allumage lors de l'exploitation.
Votre poèle est construite et conçue pour un régime périodique de combustion. A chaque allumage du poèle, suivez la démarche ci-dessous:
Ouvrir le régulateur de l'air secondaire.
- Placer les combustibles de base et les brindilles sèches et le papier, on les allume et on ferme la porte.
Après qu'ils sont bien allumés, vous pouvez régler la puissance en réglient le régulateur d'aire.
Pour un chauffage prolongé, ajouter périodiquement du combustible après la combustion des substances volatiles et la formation de braise.
REMARQUE : Pendant le fonctionnement, éloigner de l'appareil toute matière pouvant être alterée par la chaleur : mobilier, papier, vêtement ...
ATTENTION : En fonctionnement en allure normale, la poignée ne doit pas être manoeuvrée à la main. Utiliser le gant pour effectuer l'opération.
De plus, la chambre de combustion et le compartment du cendrier doivent rester fermés pour éviter le refoulement des fumées, sauf lors de l'allumage, du rechargement ou de l'enlèvement des résidus.
Pendant le fonctionnement tener la porte toujours fermée.
On doit faire sorting le cendrier seulement lorsqu'il est bien refroidi.
CONDUITE DE L'APPAREIL :
- Toujours suivre les instructions.
Lors des premiers allumages, n'effectuer que des chargements limités pour vérifier la bonne marche de l'ensemble. Augmenter graduellément les charges de bois et ce, sur plusieurs jours. - Ne pas utiliser l'appareil comme incinérateur.
N'utiliser que le combustible recommandé. - Ne pas faire fonctionner si la vitre est cassée ou fêlée. Faire procéder à son remplacement avant toute réutilisation. Nous vous recommandons de contacter votre revendeur pour le remplacement de la vitre contre facturation. Nous insistons sur la nécessité de replacer en même temps les joints de porte et de vitre etURTout de ne pas serrer trop fort au remontage afin de permettre sa dilatation.
- Àpres une longue période d'arrêt, s'assurer que le conduit n'est pas obstrué, ainsi que le tuyau de raccordement et les passages des fumées dans l'appareil.
Chargement : RECOMMANDATION TRES IMPORTANTE
Pour effectuer un chargement, il convient que le feu soit suffisamment bas. Ne pas ouvrir la porte si des flames haute sont visibles car lors de l'ouverture de la porte elles risqueraient d'être appelées.
Toujours ouvr la porte tres doucement pour laisser le tirage s'étabir et éviter ainsi le refoulement de fumée.
ENTRETIEN
Faire vérifier l'appareil par une personne compétente au moins une fois par an.
ATTENTION
LORS DES PREMIERS ALLUMAGES IL EST NECESSAIRE DE FAIRE FONCTIONNER L'APPAREIL A ALLURE MODEREE, AFIN DE PERMETTRE AUX PIECES DE SE DILATER NORMALEMENT.
LES POIGNEES SONT CHAUDES PENDANT LE FONCTIONNEMENT. UTILISER UN GANT PREVU A CET EFFET.
LE GANT NE DOIT ETRE UTILISE QUE POUR MANEUVRER LA POIGNEE. IL N'EST PAS ADAPTE POUR LA MANIPULATION D'OBJETS EN IGNITION. IL N'EST PAS ETANCHE AUX LIQUIDES. NE PAS UTILISER CONTRE LES RISQUES CHIMIQUES.
VEILLER A DEPOSER VOTRE GANT APRES CHAQUE UTILISATION A UN ENDROIT DEPOURVU DE RESIDUS DE COMBUSTION (Cendres) ET NON CHAUD.
Ne pas s'inquieter si des émissions de fumée et une odeur un peu âcre se manifestent aux premiers allumages, ici étant dû à la peinture des différentes pieces. Ces phénomènes peuvent persister plusieurs jours.
Il faut cependant prendre garde à ne jamais opérer le nettoyage lorsque l'appareil est chaud.
Il convient de contrôler au moins une fois par saisson l'objet des briques de foyer. Toutefois, nous insistons sur le fait qu'une fente très fine, ne perturbe en rien le bon fonctionnement de l'appareil. Le changement s'impose des que la brique se détiériore. Les couvres écrous, ainsi que les joints de foyer sont des pieces d'usure.
La vérification de leur bon état doit être effectue après chaque saison de chauffe.
L'émail craquelé ou fendillé n'est pas reconnu comme étant une cause de dépréciation de l'appareil. Il est en effet impossible dans certains cas, d'éviter ces craquelures (trésaillures en terme de métier) qui sont dues à une différence de dilatation entre le métal et l'émail.
Ces prescriptions vous aideront à obtenir de votre apparéil le rendement maximal dans les conditions d'emploi habituelles
4. Indications importantes pour la sécurité.
La port du foyer doit etre tous bien fermée, meme quand le poel n'est pas en fonctionnement.
Le montage du poèle se fait seulement sur un sol ignifuge.
Le poèle et les tuyaux d'évacuation des fumées doivent être situés à une distance pas moins de 80cm des objets et des constructions en matériaux inflammbables.
- Lors de l'allumage, n'utilise pas de liquides facilement inflammables.
- La présence de substances facilement inflammbles et explosifs dans la piece chauffee du poele est interdit.
- le nettoyage du poèle et l'enlèvement des cendres doivent se faire lorsqu'ils sont bien refroidis.
Il est interdit de mettre des matériaux et objets inflammables sur le poèle ou tout pres d'elle.
Faites attention qu'il n'y ait pas d'enfants jouant pres de la cuisineire ou du poèle lors de son chauffage car la surface est très chaude. Danger de brûlures!
En cas d'incendie dans le conduit de fumée:
Fermez les régulateurs d'air.
- Téléphonez au corps des pompiers de votre région.
- Ne tentez pas d'éteindre l'incendie tout seul avec de l'eau.
Eloignez tous les matériaux inflammables du conduit de cheminée.
- Faites revérifier le conduit de cheminée par une personne autorisée avant tout nouvel allumage de votre cuisine.
5.Nettoyage.
L'entretien et le nettoyage du poèle garantissant son fonctionnement sans pannes et la conservation de son bon état extérieur.
Le nettoyage des tuyaux d'évacuation des fumées et de l'intérieur du poèle doit se faire au moins une fois par an.
On nettoie les surfaces peintes avec une brosse douce ou avec un torchon mou sec.
On nettoie la vitre en cas de besoin en etat froid, en la lavant avec une solution savonneuse et en la sechant apres.
Lors du nettoyage n'utilisez pas de matérieliaux abrasifs!
DECENDRAGE
Vider le cendrier au moins tous les 2 à 3 jours suivant l'utilisation. Cette opération doit se faire avec précaution, ennant biensoon d'utiliser le gant pour transporter le cendrier et la clé à crochet pour manœuvrer le tiroir.
- Ne jamais laisser les cendres s'amonceler dans le Kendrier jusqu'au contact de la grille. Celle-ci ne serait plus refroidie et se déteriorerait rapidement.
RAMONAGE
- Faire ramonerYOUR cheminee par un professionnel par un moyen mecanique au moins deux fois par an, dont un pendant la salle de chaffe. Un certificat doit vous etre remis par l'entrepreneur. Il est également possible d'entrenir les conduits avec un produit adapté. Toutefois, cela n'exclut en rien le ramonage mecanique obligatoire.
Vérifier l'appareil et s'assurer que les joints de porte sont en bon état, les replacer si nécessaire.
Nettoyer complètement l'intérieur de l'appareil sans oublier les canaux de passage des fumées. - En cas de feu de cheminée fermer le registre d'air et appeler les pompiers.
6. Anomalies.
Lors de l'allumage, le poèle fume (tirage insuffisant):
le conduit de fumée ou les tuyaux d'évacuation des fumées ne sont pas bien serrés;
- un conduit de fumée dimensionné incorrectement;
La pièce ne se chauffe pas:
on a besoin d'une chaleur plus grande;
le combustible est mauvais;
- il y a trop de cendres sur la grille;
l'apport d'air est insuffisant;
Le poêle chauffe trop:
l'apport d'air est trop grand;
- le tirage du conduit de fumée est trop grand;
le combustible est trop calorifique;
Il y a des défauts sur la grille ou une couche de saleté se forme:
le poèle est trop surcharge;
on a utilise un combustible hors norme;
l'apport d'air primaire est trop grand;
le tirage du conduit de fumée est trop grand;
Le poèle ne brûle pas bien:
ouvre entierement le regulateur d'air primaire. Le regulateur d'air secondaire doit etre entierement ouvert;
- mettez moins de combustible;
- nettoyez plus souvent le cendrier;
les briquettes de charbon doivent etre bien allumées avant de rompre l'air primaire;
verifiez si le conduit de fumée n'est pas bouché;
- vérifie si le tuyau d'évacuation ne pénétre pas dans le conduit de fumée;
verifiez si la puissance exigée pour le flux des gaz de fumées de votre conduit de fumée correspondent à votre cuisinière;
verifiez si le passage du conduit de fumee pres de votre cuisiniere n'est pas fermé;
L'usine de fabrication se reserve le droit de faire des changements dans la construction sans que les qualités techniques et d'exploitation de la cuisine ne changent.
L'usine de fabrication neporte aucune responsabilité pour des changements faits par l'utilisateur sur la cuisineire.
RESPONSABILITE
Nous vous rappelons que la responsabilité du constructeur se limite au produit tel qu'il est commercialisé et que l'installation et la mise en service sont sous la responsabilité entière de l'installateur qui devra intervenir dans les règles et suivant la prescription de la notice.
HORUS sarl
8 Chemin de Monbus
62120 MAMETZ
France
www.brandybest.com
Notice Facile