RB38A7CGTS9 - Réfrigérateur-congélateur SAMSUNG - Notice d'utilisation et mode d'emploi gratuit
Retrouvez gratuitement la notice de l'appareil RB38A7CGTS9 SAMSUNG au format PDF.
| Type de produit | Réfrigérateur combiné |
| Capacité totale nette | 384 litres |
| Capacité du réfrigérateur | 269 litres |
| Capacité du congélateur | 115 litres |
| Dimensions (L x P x H) | 595 x 658 x 2030 mm |
| Poids | 70 kg |
| Classe énergétique | A++ |
| Niveau sonore | 35 dB |
| Type de froid | Froid ventilé |
| Fonctions principales | Mode vacances, Super congélation, Réglage de la température |
| Entretien et nettoyage | Nettoyage régulier des surfaces, Dégivrage automatique du réfrigérateur |
| Pièces détachées et réparabilité | Disponibilité de pièces détachées, Réparabilité modérée |
| Sécurité | Verrouillage de sécurité, Système anti-fuite |
| Informations générales | Garantie de 2 ans, Service après-vente disponible |
FOIRE AUX QUESTIONS - RB38A7CGTS9 SAMSUNG
Téléchargez la notice de votre Réfrigérateur-congélateur au format PDF gratuitement ! Retrouvez votre notice RB38A7CGTS9 - SAMSUNG et reprennez votre appareil électronique en main. Sur cette page sont publiés tous les documents nécessaires à l'utilisation de votre appareil RB38A7CGTS9 de la marque SAMSUNG.
MODE D'EMPLOI RB38A7CGTS9 SAMSUNG
Consignes de sécurité 4
Ce que vous devez regarder : les consignes de sécurité 4
Consignes et symboles de sécurité importants : 7
Mesures importantes de sécurité 8
Symboles d'avertissement importants concernant le transport et le lieu d'installation de l'appareil 12
Avertissements importants concernant l'installation 13
Consignes d'installation 17
Avertissements importants concernant l'utilisation 18
Consignes d'utilisation 24
Consignes de nettoyage 28
Conseils complémentaires pour une utilisation appropriée 31
Instructions concernant la réglementation DEEE 33
Installation 34
Présentation rapide du réfrigérateur 34
Installation étape par étape 35
Opérations 41
Panneau de commandes (modèles applicables uniquement) 41
Fonctions spéciales 50
Maintenance 54
Inversion de la position de la poignée de la porte (pour les modèles équipés de poignées barres) 54
Inversion de la porte (modèles applicables uniquement) 55
Utilisation et entretien 69
Nettoyage 71
Remplacement 72
Installation en duo (modèles applicables uniquement) 73
Dépannage 80
Généralités 80
Entendez-vous des sons anormaux provenant du réfrigérateur? 82
Consignes de sécurité 85
Instructions d'installation 85
Consignes relatives à la température 86
Informations du modèle et commande de pièces de rechange 89
Consignes de sécurité
Avant d'utiliser votre nouveau réfrigérateur Samsung, veuillez lire attentivement ce manuel afin de vous assurer que vous savez comment utiliser de manière sûre et efficace ses différentes fonctions et fonctionnalités.
Ce que vous devez savoir concernant les consignes de sécurité
- Les avertissements et les consignes importantes de sécurité contenus dans ce manuel ne prétendent pas couvrir toutes les situations susceptibles de se produire. Il est de votre responsabilité de faire preuve de bon sens et de prudence lors de l'installation, de l'entretien et du fonctionnement de l'appareil.
- Les consignes d'utilisation suivantes concernent plusieurs modèles ; il est donc possible que les caractéristiques de votre réfrigérateur soient légèrement différentes de celles spécifiées dans ce manuel et que certains symboles d'avertissement ne s'appliquent pas. Pour toute question ou doute, contactez votre centre de service le plus proche ou recherchez de l'aide et des informations en ligne sur www.samsung.com.
- Le gaz réfrigérant utilisé est le R-600a ou R-134a. Vérifiez le gaz réfrigérant utilisé dans votre appareil sur l'étiquette du compresseur située à l'arrière de l'appareil ou sur l'étiquette signalétique située à l'intérieur du réfrigerateur. Lorsque ce produit contient du gaz inflammable (gaz réfrigérant R-600a), veuillez contacter les autorités locales pour obtenir des renseignements sur la mise au rebut en toute sécurité de votre appareil.
- Afin d'éviter la création d'un mélange gaz-air inflammable lorsqu'une fuite se produit dans le circuit frigorifique, la taille de la pièce dans laquelle l'appareil peut être installé dépend de la quantité de gaz réfrigerant utilisée.
- Ne démarrez jamais un appareil qui présente des signes d'endommagement. En cas de doutes, contactez votre revendeur. La pièce doit avoir un volume de 1m³ pour chaque 8 g de gaz réfrigérant R-600a à l'intérieur de l'appareil.
La quantité de gaz réfrigérant que votre appareil peut contenir est indiquée sur la plaque signalétique située à l'intérieur de l'appareil.
- Le gaz réfrigérant qui pourrait s'échapper des tuyaux risquerait z pas de flamme nue, éloignez tout objet inflammable de l'appareil et aérez immédiatement la pièce.
- Le non-respect de cette consigne risquerait de provoquer un incendie ou une explosion.
- Pour éviter de contaminer les aliments, veuillez respecter les instructions suivantes :
- Ouvrir la porte pendant de longues périodes peut entraîner une hausse considérable de la température dans les compartments de l'appareil.
- Nettoyez régulièrement les surfaces pouvant entrer en contact avec des aliments et les systèmes de vidange accessibles.
Consignes de sécurité
- Nettoyez les réservoirs d'eau s'ils n'ont pas été utilisés depuis 48 h ; rincez le système d'eau relié à une source d'alimentation en eau si vous n'avez pas tiré d'eau depuis 5 jours.
- Placez la viande crue et le poisson dans des récipients adaptés à l'intérieur du réfrigérateur afin qu'ils n'entrent pas en contact avec d'autres aliments ou qu'ils ne gouttent pas dessus.
- Les compartiments à deux étoiles pour alimentés surgelés sont adaptés pour stocker des alimentés pré-congelés, pour ranger ou faire de la glace et pour créer des glaçons.
- Les compartiments à une, deux et trois étoiles ne sont pas adaptés pour congeler des aliments frais.
- Si l'appareil de réfrigération est laissé vide pendant de longues périodes, mettez-le hors tension, faites-le dégeler, nettoyez-le, laissez-le sécher et maintenez la porte ouverte afin d'éviter que des moisissures ne se développent à l'intérieur de l'appareil.
Consignes et symboles de sécurité importants :
Veuillez suivre toutes les consignes de sécurité indiquées dans ce manuel. Ce manuel utilise les symboles de sécurité suivants.
Avertissement
Pratiques inadaptées ou dangereuses susceptibles de causer des blessures graves, voire mortelles, et des dommages matériels.
Attention
Pratiques inadaptées ou dangereuses susceptibles de causer des blessures graves et/ou des dommages matériels.
Remarque
Informations utiles qui aident l'utilisateur à comprendre ou à utiliser au moins son réfrigérateur.
Ces symboles d'avertissement ont pour but d'éviter tout risque de blessure pour vous ou d'autres personnes.
Respectez-les en toutes circonstances.
Lisez attentivement la présente section et conservez le manuel en lieu sûr afin de pouvoir vous y reporter ultérieurement.
Mesures importantes de sécurité

Avertissement : risque d'incendie / matières inflammables

Avertissement
- Lorsque vous positionnez l'appareil, assurez-vous que le cordon d'alimentation n'est ni endommagé, ni coincé.
- Ne placez pas plusieurs prises portables ou alimentations électriques portables à l'arrière de l'appareil.
- Remplissez l'appareil d'eau potable uniquement. Raccordez-le à une source d'eau potable uniquement.
- N'obstruez pas les ouvertures de ventilation à l'intérieur du réfrigérateur ou de la structure encastrée.
- N'utilisez pas d'appareil mécanique ni de dispositif susceptible d'accélérer le processus de décongélation, autres que ceux recommandés par le fabricant.
- N'endommagez pas le circuit frigorifique.
- N'utilisez pas d'appareils électriques à l'intérieur des compartiments de stockage des aliments de l'appareil, sauf si cela est recommandé par le fabricant.
- Cet appareil n'est pas conçu pour être utilisé par des personnes (y compris des enfants) ayant des capacités eil de la part d'une personne responsable de leur sécurité.
- Cet appareil n'est pas destiné à être utilisé par des enfants de moins de 8 ans ou des personnes ayant des capacités physiques, sensorielles ou mentales réduites, ou en toute sécurité de cet appareil et qu'elles comprennent les risques impliqués. Les enfants ne doivent pas jouer avec l'appareil. Le nettoyage et la maintenance de l'appareil ne doivent pas être effectué eils de réfrigération.
- Si le cordon d'alimentation est endommagé, il doit être remplacé par le fabricant, son fournisseur de service ou toute autre personne aux qualifications similaires afin d'éviter tout risque.
- La prise de courant doit être facilement accessible de sorte que vous puissiez rapidement débrancher l'appareil de l'alimentation en cas d'urgence.
- Elle doit se situer en dehors de la zone arrêtée de l'appareil.
- Dans cet apparéil, ne stockez pas de substances explosives telles que des aérosols avec un propulseur inflammable.
- Si l'appareil est équipé d'ampoules DEL, ne démontez pas vous-même les caches d'ampoules et les ampoules.
- Contactez un centre de service Samsung.
- Utilisez uniquement les ampoules DEL fournies par le fabricant ou son réparateur agréé.
Consignes de sécurité
- Pour une utilisation optimale de l'énergie, veuillez laisser tous les accessoires internes tels que les paniers, les tiroirs, les clayettes sur leur position indiquée par le fabricant.
- Pour optimiser la consommation d'énergie de cet appareil, laissez l'ensemble des clayettes, tiroirs et bacs dans leur position d'origine.
Mesures pour réduire la consommation d'énergie
- Installez l'appareil dans une pièce sèche et fraîche, correctement ventilée.
- Vérifiez qu'il n'est pas exposé à la lumière directe du soleil et ne le placez jamais à proximité d'une source de chaleur (un radiateur par exemple).
- Pour obtenir une meilleure efficacité énergétique, il est conseillé de ne pas bloquer les orifices de ventilation ou les grilles de l'appareil.
- Laissez refroidir les aliments chauds avant de les placer à l'intérieur de l'appareil.
- Placez les aliments surgelés dans le réfrigérateur pour les laisser décongeler. Les aliments surgelés peuvent ainsi servir à refroidir les aliments stockés dans le réfrigérateur.
- Veillez à refermer la porte rapidement lorsque vous mettez des aliments dans le réfrigérateur ou lorsque vous les en sortez.
- Ceci permet de réduire la formation de glace à l'intérieur du congélateur.
- Nettoyez régulièrement l'arête de votre réfrigérateur. La poussière augmente sa consommation d'énergie.
- Ne baissez pas inutillement la température intérieure.
- Vérifiez que le système d'évacuation de l'air à la base et à l'arrière du réfrigérateur n'est pas obstrué. Ne recouvre pas les ouvertures de ventilation.
- Laissez un espace suffisant tout autour de l'appareil (à droite, à gauche, à l'arrière et au-dessus) au moment de l'installation. Ceci vous permettra de réduire sa consommation d'énergie et ainsi vos factures.
- Nous recommandons le dégagement suivant :
- Au-dessus : plus de 100 mm
Cet appareil est destiné à être utilisé dans les applications domestiques et similaires telles que :
- les zones de cuisine pour le personnel de magasins, de bureaux et d'autres environnements de travail;
- les fermes et clients d'hôts, moteliers et autres environnements de type résidentiel;
- les environnements de type « chambres d'hôtes »;
- les applications de restauration et similaires sans vente au détail.

Avertissement
- Veillez à ce qu'aucune pièce du circuit frigorifique ne soit endommagée pendant le transport ou l'équilibre de l'appareil.
- z pas de flamme nue ou de matière potentiellement inflammable et aérez la pièce pendant plusieurs minutes.
- Cet appareil contient une faible quantité de réfrigérant isobutane (R-600a), un gaz naturel représentant une compatibilité écologique élevée, mais qui est aussi un combustible. Veillez à ce qu'aucune pièce du circuit frigorifique ne soit endommagée pendant le transport ou l'installation de l'appareil.
Avertissement
- N'installez pas le réfrigérateur dans un lieu humide ou dans un lieu où il est susceptible d'être en contact avec de l'eau.
- Une dépréciation de l'isolation sur des composants électriques est susceptible de provoquer une électrocution ou un incendie.
- N'installez pas le réfrigérateur dans un endroit exposé à la lumière directe du soleil ou à proximité d'une cuisinière, d'un appareil de chauffage ou d'autres appareils.
- Ne branchez pas plusieurs appare lle figurant sur la plaque signalétique du réfrigérateur.
- Vous obtiendrez de plusieurs résultats et évitezroidement une surcharge des circuits électriques du domicile (risque d'incendie dû à une surchauffe des câbles).
- Ne branche pas la fiche d'alimentation dans une prise murale mal fixée.
- Cela risquerait d'entraîner une électrocution ou un incendie.
- N'utilisez pas de cordon d'alimentation craquelé ou endommagé sur sa longueur ou à l'une de ses extrémités.
- Ne pliez pas le cordon d'alimentation à l'excès et ne posez pas d'objets lourds dessus.
- Ne tirez pas ou ne pliez pas excessivement le cordon d'alimentation.
Consignes de sécurité
- Ne tordez pas ou ne ouvrez pas le cordon d'alimentation.
- N'accrochez pas le cordon d'alimentation sur un objet métallique, ne placez pas un objet lourd sur le cordon d'alimentation, n'insérez pas le cordon d'alimentation entre des objets, ou n'enfoncez pas le cordon d'alimentation dans l'espace situé derrière l'appareil.
- Lorsque vous déplacez le réfrigérateur, assurez-vous de ne pas endommager ou rouler sur le cordon d'alimentation.
- Risque d'électrocution ou d'incendie.
- Ne débranchez jamais le réfrigérateur en tirant sur le cordon d'alimentation. Maintenez toujours fermement la fiche pour la débrancher de la prise de courant.
- Tout dommage causé au cordon est susceptible d'entraîner un court-circuit, un incendie et/ou une électrocution.
- N'utilisez pas d'aerosols à proximité du réfrigérateur.
- L'utilisation d'aérosols à proximité du réfrigérateur peut provoquer une explosion ou un incendie.
- N'installez pas cet appareil près d'une source de chaleur ou d'un matériel inflammable.
- N'installez pas cet appareil dans un endroit où des fuites de gaz sont susceptibles de se produire.
- Risque d'électrocution ou d'incendie.
- Ce réfrigérateur doit être correctement situé et installé conformément aux instructions fournies dans le présent manuel, avant d'être utilisé.
- Branchez la fiche d'alimentation dans la bonne position, de façon à ce que le cordon pende vers le bas.
- Si vous branchez la fiche d'alimentation à l'envers, le cable est susceptible de se rompre et de provoquer un incendie ou une électrocution. Assurez-vous que la fiche d'alimentation n'est pas écrasée ou endommagée par l'arrête du réfrigérateur.
- Gardez les matériaux d'emballage hors de portée des enfants.
- Il y a un risque d'asphyxie si un enfant place les matériaux d'emballage sur sa tête.
- N'installez pas cet appareil dans un lieu humide, huileux ou poussiéreux
- Une dépréciation de l'isolement des composants électriques est susceptible de provoquer une électrocution ou un incendie.
- Si vous constatiez des traces de poussière ou d'eau dans le réfrigérateur, débranchez la fiche d'alimentation et contactez votre centre de service Samsung Electronics.
- Sinon, il existe un risque d'incendie.
- Ne montez pas sur l'appareil et ne placez pas d'objets (tel que du linge, des bougies allumées, des cigarettes allumées, de la vaisselle, des produits chimiques, des objets métalliques, etc.) sur celui-ci.
- Le non-respect de cette consigne risque d'entraî
Consignes de sécurité
- Vous devez retirer toutes les pellicules protectrices en plastique avant de brancher l'appareil pour la première fois.
- Les enfants ne doivent pas jouer ni avec les circlips utilisés pour le réglage de la porte ni avec les clips pour le tuyau d'eau.
- Il y a un risque d'asphyxie si un enfant avale un circlip ou un clip pour le tuyau d'eau. Tenez les circlips et les clips pour le tuyau d'eau hors de portée des enfants.
Le réfrigérateur doit être correctement mis à la terre.
- quelle partie de l'appareil. Les fuites électriques peuvent provoquer des électrocutions graves.
- N'utilisez jamais de conduits de gaz, de fils téléphoniques ou d'autres éléments susceptibles d'attirer la foudre pour relier l'appareil à la terre.
- Vous devez brancher le réfrigerateur à la terre afin d’ ’appareil.
- Le non-respect de cette consigne risque d'entraî
- Branchez fermement la fiche dans la prise murale. N'utilisez pas de fiche d'alimentation endommagée, de cordon d'alimentation endommagé ou de prise murale mal fixée.
- Risque d'électrocution ou d'incendie.
- Le fusible du réfrigérateur doit être changé par un technicien qualifié ou une société de services.
- Le non-respect de cette consigne est susceptible de provoquer une électrocution ou des blessures corporelles.
Attention
- Laissez un espace suffisant autour du réfrigérateur et installez celui-ci sur une surface plane.
- Si le réfrigérateur n'est pas de niveau, l'efficacité et la durabilité du refroidissement peuvent en être affectées.
- Après l'installation et la mise sous tension, laissez l'appareil tourner à vide pendant 2 à 3 heures avant de placer des aliments à l'intérieur.
- Nous vous recommendons fortement de faire appel à un technicien qualifié ou à une société de services pour installer votre réfrigérateur.
- Le non-respect de cette consigne risque d’entraîner une électrocution, un incendie, une explosion, des problèmes avec l’appareil ou des blessures.

Avertissement
- Ne branchez pas la fiche d'alimentation si vous avez les mains mouillées.
- Cela pourrait causer une électrocution.
- N'entreposez pas d'objets sur le dessus de l'appareil.
- Lors de l'ouverture ou de la fermeture de la porte, les objets pourraient tomber et provoquer des blessures corporelles et/ou des dommages matériels.
- Ne placez pas vos mains, vos pieds ou des objets métalliques (baguettes, etc.) sous ou derrière le réfrigérateur.
- Risque d'électrocution ou de blessures.
- Les bords coupants sont susceptibles de provoquer des blessures corporelles.
- Ne touchez pas les parois interieures du congélateur ni les produits qui y sont rangés si vous avez les mains mouillées.
- Risque de gelures.
- Ne placez pas de récipient rempli d'eau sur le réfrigérateur.
- En cas de renversement, cela pourrait entraîner un incendie ou une électrocution.
- Ne stockez pas d'objets ou de substances volatiles ou inflammables (benzène, diluant, propane, alcool, éther, GPL et toute autre substance similaire) dans le réfrigérateur.
- Le réfrigérateur a été créé exclusivement pour le rangement de produits alimentaires.
- Cela pourrait entraîner un incendie ou une explosion.
- Il est nécessaire de surveiller les enfants pour s'assurer qu'ils ne jouent pas avec l'appareil.
- Maintenez les doigts éloignés des zones contenant des « points de pincement ». Le jeu entre les portes et l'armoire doit nécessairement être faible. Soyez attentif lorsque vous ouvre les portes si des enfants se trouvent dans la zone.
- Ne mettez pas vos doigts et veillez à ce que les enfants ne mettent pas leurs doigts entre les portes.
- Tenez vos doigts éloignés des intervalles situés à gauche et à droite des portes. Veillez à ne pas avoir les doigts entre les portes avant de les ouvrir.
- Ne laissez pas les enfants se suspendre à la porte de l'appareil ou aux bacs des portes. Ils risqueraient de se blesser.
- Ne laissez pas les enfants entrer dans le réfrigérateur. Ils risqueraient de rester emprisonnés.
- Ne placez pas vos mains sous l'appareil.
- Les bords coupants sont susceptibles de provoquer des blessures corporelles.
- Ne rangez pas de produits pharmaceutiques, chimiques ou sensibles aux températures dans le réfrigérateur.
- Les produits nécessitant un contrôle strict de la température ne doivent pas être entreprises dans le réfrigérateur.
- Si l'appareil dégage une odeur chimique ou de la fumée, débranchez immédiatement la fiche d'alimentation et contactez votre centre de service Samsung Electronics.
Consignes de sécurité
- En cas de traces de poussière ou d'eau dans le réfrigérateur, débranchez la fiche d'alimentation et contactez votre centre de service Samsung Electronics.
- Sinon, il existe un risque d'incendie.
- Ne laissez pas les enfants monter sur un tiroir.
- Le tiroir risquerait de se casser et de provoquer leur chute.
- Ne laissez pas les portes du réfrigérateur ouvertes lorsque l'appareil n'est pas sous surveillance afin d'éviter qu'un enfant ne se glisse à l'intérieur de l'appareil.
- Ne laissez pas les bébés ou les enfants aller à l'intérieur d'un tiroir.
- Risque d'étouffement ou de blessures corporelles.
- Ne replissez pas trop le réfrigérateur en alimentés.
- Lors de l'ouverture de la porte, un article pourrait tomber et provoquer des blessures corporelles ou des dommages matériels.
- Ne vaporisez pas de substance volatile telle qu'un insecticide sur la surface de l'appareil.
- Ces produits peuvent se révélé dangereux pour la santé et risquent en outre de provoquer une électrocution, un incendie ou des problèmes avec l'appareil.
- Ne mettez jamais les doigts ni d'autres objets dans l'orifice du distributeur d'eau, le conduit d'écoulement et le bac à glaçons.
- Cela pourrait provoquer des blessures corporelles ou des dommages matériels.
- N'utilisez pas ni ne placez pas de substances thermosensibles (ex.: pulvérizé
- N'utilisez pas de sèche-cheveux pour secher l'intérieur du réfrigérateur. Ne placez pas de bougie allumée à l'intérieur du réfrigérateur pour éliminer les mauvaises odeurs.
- Risque d'électrocution ou d'incendie.
- Remplissez le réservoir d'eau et le bac à glaçons avec de l'eau potable uniquement (eau minérale ou eau purifiée).
- Ne replissez pas le réservoir avec du thé, du jus de fruits ou des boissons énergisantes car cela risquérait d'endommager le réfrigérateur.
- Ne montez pas sur l'objet et ne placez pas d'objets (tels que du linge, des bougies allumées, des cigarettes allumées, de la vais îner une électrocution, un incendie, des problèmes avec l'objet ou des blessures. Ne placez pas de récipient rempli d'eau sur l'objet.
- En cas de renversement, cela pourrait entraîner un incendie ou une électrocution.
- Ne fixez jamais directement l'ampoule DEL UV pendant une période prolongée.
- Cela risquerait d’entraîner une fatigue oculaire due aux rayons ultraviolets.
- Ne placez pas la clayette à l'envers. La butée des clayettes ne fonctionnerait pas.
- Cela pourrait provoquer des blessures corporelles dues à la chute de la clayette en verre.
Consignes de sécurité
- Maintenez les doigts éloignés des zones contenant des « points de pincement ». Le jeu entre les portes et l'armoire doit nécessairement être faible. Soyez attentif lorsque vous ouvrez les portes si des enfants se trouvent dans la zone.
- ez pendant plusieurs minutes la pièce dans laquelle se trouve l'appareil.
- Ne touchez pas l'appareil ou le cordon d'alimentation.
- N'utilisez pas de ventilateur.
- Une étincelle pourrait provoquer une explosion ou un incendie.
- Serrez les bouteilles les unes contre les autres pour éviter qu'elles ne tombent.
- Cet appareil est destiné au rangement des aliments dans un environnement domestique uniquement.
- Ne mettez jamais les doigts ni d'autres objets dans l'orifice du distributeur d'eau, le conduit d'écoulement et le bac à glaçons.
- Cela pourrait provoquer des blessures corporelles ou des dommages matériels.
- Ne tentez pas de réparer, démonter ou modifier le réfrigérateur vous-même.
- N'utilisez aucun fusible (tel que du cuivre, un câble d'acier, etc.) autre qu'un fusible standard.
- Si le réfrigérateur doit être réparé ou réinstallé, contactez le centre de service le plus proche.
- Le non-respect de cette consigne risque d’entraîner une électrocution, un incendie, des problèmes avec l’appareil ou des blessures.
- Si le réfrigérateur dégage une odeur de brûlé ou de la fumée, débranchez-le immédiatement et contactez votre centre de service Samsung Electronics.
- Le non-respect de cette consigne pourrait provoquer un incendie ou une électrocution.
- Débranchez le réfrigérateur avant de remplacer les lampes intérieures.
- Sinon, il pourrait y avoir un risque d'électrocution.
- Contactez notre centre de service Samsung si vous éprouvez des difficultés à remplacer une ampoule (qui n'est pas une DEL).
- Branchez fermement la fiche dans la prise murale.
- N'utilisez pas de fiche d'alimentation endommagée, de cordon d'alimentation endommagé ou de prise murale mal fixée.
- Risque d'électrocution ou d'incendie.

Attention
- Ne recongelez pas des aliments décongelés.
- Les aliments surgelés et décongelés développent des bactéries nocives plus rapidement que les aliments frais.
- Une deuxieme décongélation détruit davantage de cellules, extrayant ainsi l'humidité des aliments et modifier leur intégrité.
- Ne décongelez pas de la viande à température ambiante.
- L'opération est sans risque pour la santé si le produit cru a été manipulé correctement.
- Ne placez pas de bouteilles en verre ni de boissons gazeuses dans le congélateur.
- Le récipient peut geler et se briser, ce qui peut entraîner des blessures.
Utilisez uniquement la machine à glaçons fournie avec le réfrigérateur.
- Si vous vous absentez durant une longue période (pour des vacances par exemple) et savez que vous n'utiliserez pas le distributeur d'eau ou de glaçons, fermez le robinet d'adduction d'eau,
- afin d'éviter tout risque de fuite.
- limentation d'eau, essuyez l'excédent d'humidité à l'intérieur et laissez les portes ouvertes afin d'éviter la formation d'odeurs et de moisssures.
Pour un fonctionnement optimal de l'appareil :
- Ne placez pas d'aliments trop près des orifices de ventilation à l'arrière de l'appareil car ils pourraient empêcher la libre circulation de l'air dans la partie réfrigérateur.
- Emballez bien les aliments ou mettez-les dans des récipients hermétiques avant de les placer dans le réfrigérateur.
- Respectez les durées de stockage maximales et les dates de péremption associées aux aliments surgelés.
- té d'eau, essuyez l'excedent d'humidité à l'intérieur et laissez les portes ouvertes afin d'éviter la formation d'odeurs et de moisissures.
- Garantie de réparation et modification
- Les changements et modifications apportés à cet appare nt des modifications apportées par un tiers.
Consignes de sécurité
- N'obstruez pas les orifices de ventilation à l'intérieur du réfrigérateur.
- Si les orifices de ventilation sont obstrués, notamment par un sac en plastique, le réfrigérateur risque de trop refroidir. Une période de refroidissement trop longue risque d'endommager le filtré à eau et de provoquer des fuites.
Utilisez uniquement la machine à glacons fournie avec le réfrigérateur. - Essuyez l'excédent d'humidité à l'intérieur et laissez les portes ouvertes.
- Le non-respect de cette consigne pourrait engendrer le développement d'odeurs et de moisissure.
- Si le réfrigérateur est débranché de la prise d'alimentation, patientez au moins cinq minutes avant de le rebrancher.
- Si le réfrigérateur est mouillé par de l'eau, débranchez la fiche d'alimentation et contactez votre centre de service SAMSUNG ELECTRONICS.
- Ne frappez pas et n'exercez pas de force excessive sur une surface en verre.
- Du verre brisé pourrait entraîner des blessures corporelles et/ou des dégâts matériels.
- Remplissez le réservoir et le bac à glaçons d'eau potable uniquement (eau du robinet, eau minérale ou eau purifiée).
- Ne replissez pas le réservoir avec du thé ou une boisson énergisante. Cela pourrait endommager le réfrigérateur.
Veillez à ne pas vous pincer les doigts.
- En cas d'inondation, si votre appareil est entré en contact avec de l'eau, contactez le centre de service le plus proche. - Risque d'électrocution ou d'incendie.
- récipient ouvert risque de fuir et la fuite d'huile peut créer une fissure dans le bac de la porte. Après avoir ouvert un récipient d'huile, le mélange est de le conserver dans un endroit frais et à l'abri du soleil, par exemple dans un placard ou un cellier.
- Exemples d'huile végétale : huile d'olive, huile de maïs, huile de pépins de raisin, etc.

Attention
- Ne vaporisez pas directement de l'eau à l'intérieur ou à l'extérieur du réfrigérateur.
- Risque d'incendie ou d'électrocution.
- N'utilisez pas de sèche-cheveux pour sécher l'intérieur du réfrigérateur.
- Ne placez pas de bougie allumée à l'intérieur du réfrigérateur pour en éliminer les mauvaises odeurs.
- Risque d'électrocution ou d'incendie.
- Ne vaporisez pas de produit de nettoyage directement sur l'écran.
- Les caractères imprimés risqueraient de s'effacer.
- Lorsqu'un corps étranger tel que de l'eau a péné
- Le non-respect de cette consigne est susceptible de provoquer un incendie ou une électrocution.
Utilisez un chiffon propre et sec pour éliminer toute poussière ou corps étranger des lames de la fiche d'alimentation. N'utilisez pas de chiffon mouillé ou humide lors du nettoyage de la fiche.
- Sinon, il pourrait y avoir un risque d'incendie ou d'électrocution.
- Ne nettoyez pas l'appareil en vaporisant de l'eau directement dessus.
- N'utilisez pas de benzène, de diluant, de Clorox ou de chlorure pour le nettoyage.
- Ces produits risquent d'endommager la surface de l'appareil et de provoquer un incendie.
- Ne mettez jamais les doigts ni d'autres objets dans l'orifice du distributeur.
- Cela pourrait provoquer des blessures corporelles ou des dommages matériels.
- Débranchez l'appareil de la prise murale avant de le nettoyer et d'en faire la maintenance.
- Le non-respect de cette consigne est susceptible de provoquer un incendie ou une électrocution.
Utilisez une éponge propre ou un chiffon doux et un produit de nettoyage doux avec de l'eau tiède pour nettoyer le réfrigérateur.
- N'utilisez pas de produits de nettoyage abrasifs ou concentré étroliers, sur les surfaces extérieures (portes et meuble), les pièces en plastique, les revêtements de la porte et de l'intérieur, ainsi que les joints.
- Vous risqueriez de rayer ou d'endommager le matériel.
- Ne nettoyez pas les caches ou les clayettes en verre avec de l'eau tiède lorsqu'ils sont froids. Les caches et les clayettes en verre risquent de se casser s'ils sont exposés à des variations soudaines de température ou à des impacts (chocs ou chutes).
Avertissement
- Veuillez jeter le matériel d'emballage de cet appareil dans le respect de l'environnement. Assurez-vous qu'aucun des tuyaux situés à l'arrière du réfrigérateur n'est endommagé avant sa mise au rebut.
- Le gaz réfrigérant utilisé est le R-600a ou R-134a. Vérifiez le gaz réfrigérant utilisé dans votre réfrigérateur sur l'étiquette du compresseur située à l'arrière de l'appareil ou sur l'étiquette signalétique située à l'intérieur du réfrigerateur. Si ce produit contient du gaz inflammable (gaz réfrigérant R-600a), veuillez contacter les autorités locales pour obtenir des renseignements sur la mise au rebut en toute sécurité de cet appareil.
- Lors de la mise au rebut de ce réfrigérateur, retirez la porte/les joints de porte ainsi que le loquet de la porte afin que des petits enfants ou des animaux ne puisse
- Les enfants risqueraient de se retrouver emprisonnés à l'intérieur, de se blesser et de s'asphyxier.
- mettre cet appareil au rebut dans le respect de l'environnement, veuillez contacter les autorités locales.
- Conservez tous les matériaux d'emballage hors de portée des enfants, car ils présentent un danger pour ces derniers.
- Un enfant pourrait s'asphyxier s'il met sa tête dans un sac.
Conseils complémentaires pour une utilisation appropriée
- En cas de coupure de courant, appelez le bureau local de votre fournisseur d'électricité afin de connaître la durée prévue de la coupure.
- La plupart des coupures de courant qui sont corrigées dans l'heure ou dans les deux heures qui suivent n'affectent pas les températures du réfrigérateur.
Cependant, il est recommandé de limiter le nombre d'ouvertures de la porte pendant l'absence de courant.
- Si la coupure de courant dure plus de 24 heures, retirez et jetez tous les aliments surgelés.
- s surgelés ou de hausse trop importante de la température à l'intérieur du compartiment d'aliments surgelés) s'il est placé pendant une période prolongée dans des pièces dont la température ambience est constamment en dessous des températures pour lesquelles il a été conçu.
- En cas de présence d'aliments particuliers, les conserver réfrigé
Consignes de sécurité
- Voiture appareil est équipé de la fonction de dégivrage automatique, ce qui peut dire que vous n'avez pas besoin de le dégivrer manuellement. Le dégivrage se fera automatiquement.
- L'augmentation de la température pendant le dégivrage reste conforme aux normes ISO. Si vous souhaitez éviter toute augmentation excessive de la température des aliments surgelés pendant le dégivrage de l'appareil, emballez-les dans plusieurs couches de papier (un journal par exemple).
- Ne recongelez pas un aliment qui a complètement décongelé.


Les bons gestes de mise au rebut de ce produit (Déchets d'équipements électriques et électroniques)
(Applicable aux pays disposant de systèmes de collecte séparés)
Ce symbole sur le produit, ses accessoires ou sa documentation indique que ni le produit, ni ses accessoires électroniques usagés (chargeur, casque audio, câble USB, etc.) ne peuvent être jetés avec les autres déchets ménagers. La mise au rebut incontrôlée des déchets représentant des risques environnementaux et de santé publique, veuillez séparer vos produits et accessoires usagés des autres déchets. Vous favoriserez ainsi le recyclage de la matière qui les compose dans le cadre d'un développement durable.
Les particuliers sont invités à contacter le magasin leur ayant vendu le produit ou à se renseigner auprès des autorités locales pour connaître les procédures et les points de collecte de ces produits en vue de leur recyclage.
Les entreprises et particuliers sont invités à contacter leurs fournisseurs et à consulter les conditions de leur contrat de vente. Ce produit et ses accessoires ne peuvent être jetés avec les autres déchets.
Pour plus d'informations sur les engagements de Samsung en matière d'environnement et les obligations légales relatives à l'appareil (par exemple, la directive REACH ou celles portant sur les DEEE et les batteries), consultez notre page relative au développement durable accessible via www.samsung.com.
(Uniquement pour les appareils commercialisés dans les pays européens et au Royaume-Uni)


Cet appareil se recycle
REPRISE A DEPOSER A DEPOSER A LA LIVRAISON EN MAGASIN EN DÉCHÉTERIE OU OU
Points de collecte sur www. quefairedemosdeschets.fr Privilégiez la réparation ou le don de cette appareil!

ELEMENTS D'EMBALLAGE + LIVRET + EQUILLE

Séparez les éléments avant de trier
Installation
Avant toute utilisation, respectez scrupuleusement ces consignes pour assurer une installation adéquate du réfrigérateur et éviter les accidents.
Avertissement
N'utilisez ce réfrigérateur que conformément à l'utilisation auquel il est destiné, tel que décrit dans ce manuel. - Toute opération d'entretien doit être effectuée par un technicien qualifié. - Mettez au rebut les matériaux d'emballage de l'appareil conformément aux réglementations locales. - Pour éviter tout risque d'électrocution, débranchez le cordon d'alimentation avant tout entretien ou remplacement.
Présentation rapide du réfrigérateur
L'apparence réelle et les pièces fournies avec le réfrigérateur peuvent varier en fonction du modèle et du pays.


01Grille et clayette *
02 Clayette du réfrigerateur / clayette plane
03 Fraîcheur optimale+
04 Fraîcheur humide*/ Fraîcheur humide+
05 Bac du congélateur
06 Clayette du congélateur *
07 Bac de la porte du réfrigérateur
08 Réservoir d'eau
- modèles applicables uniquement **modèles avec distributeur uniquement**
Remarque
Pour une efficacité énergétique optimale, veillez à ce que l'ensemble des clayettes, des tiroirs et des paniers soient placés dans leur position d'origine. Pour obtenir plus de place, vous pouvez retirer tous les tiroirs et placer la « Clayette du congélateur » (modèles applicables uniquement) sur le tiroir inférieur du congélateur, car cela n'affecte pas les caractéristiques thermiques et mécaniques de l'appareil. Le volume de stockage nominal du compartiment d'aliments surgelés est calculé sans ces tiroirs. - Une alarme retentit si la porte du congélateur est ouverte de plus de 4 degrés pendant plus de 2 minutes. Fermez la porte du congélateur lorsque vous entendez une alarme. (modèles RB38A B A, RB38A B*B, RB38A B 3 ** uniquement)
Exigences relatives au site :
surface solide et plane sans moquette et sans revêtement de sol pouvant obstruer la ventilation; - emplacement éloigné de la lumière directe du soleil; - espace adéquat pour ouvrir et fermer la porte; - emplacement éloigné d'une source de chaleur; - espace suffisant pour effectuer des travaux de maintenance et d'entretien; - plaque de températures : entre 10°C et 43°C.

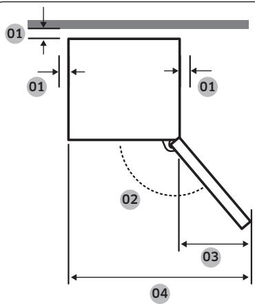
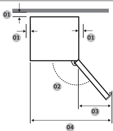
Dégagement
Pour connaître les exigences en matière d'espace d'installation, reportez-vous aux illustrations et tableaux suivants.

| Modèle | Avec poignée encastrée | Avec poignée barre | Sur mesure | |||||
| RB34T*RB3CT*RL34T*RB33B*RB34C*RL34C* | RB36T*RB3DT*RL36T*RB36C*RL36C* | RB38T*RB3ET*RL38T*RB38C*RL38C* | RB34T*RB3CT*RL34T* | RB36T*RB3DT*RL36T* | RB38T*RB3ET*RL38T* | RB34A*RL34A*RB34C*RL34C* | RB38A*RL38A*RB38C*RL38C* | |
| Profondeur « A » | 658 | 720 | 658 | |||||
| Largeur « B » | 595 | 595 | 595 | |||||
| Hauteur totale « C » | 1 853 | 1 935 | 2 030 | 1 853 | 1 935 | 2 030 | 1 853 | 2 030 |
(unit : mm)




| Modèle | Avec poignée encastrée | Avec poignée barre | Sur mesure |
| 01 | Recommendation : supérieur à 50 mm | Recommendation : supérieur à 50 mm | Recommendation : supérieur à 50 mm |
| 02 | 135° | 135° | 105° |
| 03 | 404 | 433 | 191 |
| 04 | 999 | 1 028 | 786 |
| 05 | 595 | 595 | 595 |
| 06 | 6 | 6 | 0 |
| 07 | 1 210 | 1 217,5 | 1 207 |
(unité : mm)
Remarque
Les mesures fournies dans le tableau peuvent varier en fonction de la méthode de mesure.
Remarque
Le nombre d’entretoises fournies varie en fonction du modèle. Installez toutes les entretoises fournies.


- Ouvrez la porte et repérez l'entretoise fournie (bloc gris).
- Deballez l'entretoise et fixez-la à l'arrière du réfrigerateur comme indiqué. Elle permet d'aérer la paroi arrêté et d'économiser l'énergie.
- Installez l'entretoise (A, éponge) et l'entretoise (B, éponge) comme illustré pour garantir une efficacité énergétique optimale.
Attention
- Si le réfrigerateur n'est pas aligné avec le meuble, vous pouvez couper les entreprises pour que le réfrigerateur soit aligné avec le meuble, mais il ne sera pas possible de garantir une efficacité énergétique optimale.
- Lors de l'installation du réfrigérateur, assurez-vous que les entreprises installées sont en contact avec le mur.
Étape 3 sol

- La surface d'installation doit supporter le poids d'un réfrigerateur plein. Pour protéger le sol, placez un grand morceau de carton sur chaque pied du réfrigerateur. Lorsque le réfrigerateur se trouve dans sa position finale, ne le déplacez plus sauf si cela est nécessaire pour protéger le sol. Si nécessaire, utilisez du papier ou du tissu épais (par exemple un morceau de vieille moquette) le long du chemin de transport.
Attention
- Le réfrigerateur doit être mis de niveau sur un sol plat et solide. Le non-respect de cette consigne peut entraîner l'endommagement du réfrigerateur ou des blessures corporelles. Pour mettre le frigigerateur de niveau, ce dernier doit être vide. Assurez-vous qu'il ne reste aucun aliment à l'intérieur du frigigerateur. Pour des raisons de sécurité, le côté avant doit être légèrement plus relevé que le côté arrière.
Le réfrigerateur peut être mis de niveau à l'aide des pieds avant qui disposent d'une vis spéciale (vis de mise à niveau) permettant de mettre le réfrigerateur de niveau. Utilisez un tournevis à tête plate pour mettre le réfrigerateur de niveau.

Pour ajuster la hauteur côté gauche :
Insérez un tournevis à tête plate dans la vis de mise à niveau du pied avant gauche. Faites-la tourner dans le sens horaire pour le remonter ou dans le sens antihoraire pour l'abaisser.

Pour ajuster la hauteur côté droit :
Insérez un tournevis à tête plate dans la vis de mise à niveau du pied avant droit. Faites-la tourner dans le sens horaire pour le remonter ou dans le sens antihoraire pour l'abaisser.
Étape 5 réglages initiaux
En effectuant les étapes suivantes, le réfrigerateur doit fonctionner entièrement.
- Retirez la feuille de mousse PE à chaque coin de la clayette, qui est attachée pour protégerr le réfrigerateur pendant le transport.
- Branchez le cordon d'alimentation dans la prise murale pour allumer le réfrigérateur.
- Ouvrez la porte et vérifiez si l'éclairage à l'intérieur s'allume.
- Réglez la température sur la valeur la plus BASSE et patientez une heure. Le réfrigerateur est légèrement réfrigéré et le moteur tourne doucement.
- Attendez jusqu'à ce que le réfrigerateur atteigne la température régée. Le réfrigerateur est désormais prêt à l'emploi.
Remarque
Une fois le réfrigérateur mis sous tension, une alarme retentit. Pour arrêter l'alarme, appuyez sur <, ou >.
Étape 6 alarme de température (modèles applicables uniquement)

- Si la température du congélateur est trop élevée suite à une coupure de courant, l'écran clignote comme illustré.
Si vous appuyez sur l'un des boutons (<, O ou >), la « température la plus élevée » atteinte dans le compartiment du congélateur et du réfrigerateur clignote à l'écran pendant 5 secondes.
- Cette alarme peut se déclencher :
- lorsque l'appareil est allumé pour la première fois après son installation;
- lorsque le congélateur se recharge suite à une panne de courant.
Lorsque l'installation est terminée, vérifie les points suivants :
Le réfrigerateur est branché sur une prise électrique et correctement mis à la terre. - Le réfrigerateur est installé sur une surface plane et de niveau, à une distance suffisante du mur ou du meuble. - Le réfrigérateur est de niveau et positionné fermement au sol. - La porte s'ouvre et se ferme sans problèmes et l'éclairage intérieur s'allume automatiquement dès que vous ouvrez la porte.
Type bouton
Type A
Type B
| 01 Voyant Rérigréateur | • Affiche la température actuelle ou souhaitée du réfrigérateur. • (*) indique que la fonction Refroidissement rapide est activée. • ® indique que la fonction Absence est activée. • L'odore / apparait si vous activez l'Al Energy Mode sur l'application SmartThings. (modèles applicables uniquement) |
| 02 Voyant Congélateur | • Affiche la température actuelle ou souhaitée du congélateur. • ® indique que la fonction Congélation rapide est activée. |
| 03 Indicateur d'ouverture de la porte | Cet indicateur clignote accomplé d'une alarme si la porte est laissée ouverte pendant plus de 2 minutes. |
| 04 Boutons | • Lorsque l'écran est étéint, appuyez sur n'importequel bouton pour le rallumer. • Utilise le bouton ⊙ pour sélectionner le réfrigérateur ou le congélateur et le bouton < ou > pour sélectionner la température ou la fonction souhaitée pour le compartment mentionné. |
| 05 Témoin de connexion au réseau | • Cette icône indique que le réfrigérateur est connecté à un réseau. Si l'icône de connexion Wi-Fi clignote, nous vous recommendons de connecter votre réfrigérateur à l'application SmartThings. Vous pouvez commander et surveiller votre réfrigérateur sur l'application SmartThings. Pour en savoir plus, reportez-vous à la section SmartThings (modèles applicables uniquement). |

Remarque
- Le panneau de commande est conçu pour rester éteint lorsque le réfrigérateur n'est pas utilisé. Il s'active et s'allume uniquement lorsque vous ouvrez la porte ou appuyez sur les boutons.
Opérations
- Si la porte est laissée ouverte pendant 5 minutes, l'éclairage intérieur clignote pendant 5 minutes puis s'éteint. Le but est d'indiquer aux utilisateurs malentendants qu'une porte est ouverte. Veuillez noter que ce comportement de l'appareil est tout à fait normal.
Réglage de la température ou fonction souhaitée
- Appuyez sur l'un des boutons (<, ou >) pour rallumer l'écran. Il est possible que cette étape ne s'applique pas à certains modèles.
- Appuyez sur pour sélectionner le réfrigérateur ou le congélateur. L'indicateur du compartiment sélectionné clignote. Le symbole des degrés Celsius (°C) ne clignote pas.
- Appuyez sur < ou sur > pour sélectionner la température ou la fonction souhaitée.
- Reportez-vous au tableau pour connaître la sélection disponible pour chaque département.
| Fridge (Réfrigérateur) | • Sélection disponible : (Refroidissement rapide) ↔ 1 °C ↔ 2 °C ↔ 3 °C ↔ 4 °C ↔ 5 °C ↔ 6 °C ↔ 7 °C ↔ (Absence) • La fonction Refroidissement rapide accélère le processus de refroidissement avec le ventilateur à vitesse maximale. Le réfrigerateur continue de fonctionner à vitesse maximale pendant deux heures et demie, avant de revenir à la température précédente. • Utilisez la fonction Absence si vous partez en vacances ou en voyage d'affaires ou si vous n'avez pas besoin d'utiliser votre réfrigerateur pour une période prolongée. La température du réfrigerateur peut être maintainue en dessous de 17 °C, mais le conGPLateur reste actif selon le réglage précédent. |
Freezer (congélateur)
- Sélection disponible : [Type A, C] : (Congélation rapide) -23^ -22^ -21^ -20^ -19^ -18^ -17^ -16^ -15^ [Type B, D] : (Congélation rapide) -23^ -22^ -21^ -20^ -19^ -18^ -17^ C -16^ -15^ Soft Freeze (Congélation douce) (-5 °C) Chill (Réfrigération) (-1 °C) Fridge (Réfrigerateur) (2 °C)
- La fonction Congélation rapide accélère le processus de congélation avec le ventilateur à vitesse maximale. Le congélateur fonctionne à vitesse maximale durant 50 heures avant de revenir à la température précédente. Pour congeler une grande quantité d'aliments, activez la fonction Congélation rapide au moins 20 heures avant de placer les alimentés dans le congélateur. Description des modes du congelateur (pour le type B, D uniquement)
- Congélation douce (-5 °C): pour stocker de la viande ou du poisson frais avant une décongélation appropriée.
- Réfrigération (-1 °C) : idéal pour stocker de la viande et des produits de la mer frais. Réfrigérateur (2 °C) : pour conserver des fruits et légumes.
Attention (pour le type b, d uniquement)
- Si vous régalez le mode Freezer (Congélateur) sur Soft Freeze (Congélation douce), Chill (Réfrigération) ou Fridge (Réfrigerateur), la température de congélateur augmentera et les aliments stockés risquent de produire du jus lorsqu'ils commenceront à décongeler.
- Ne placez pas de viande ou de poisson pendant une période prolongée en mode Soft Freeze (Congélation douce) ou Chill (Réfrigération). Ils risqueraient de s'abimer car la température avec ces modes n'est pas appropriée pour conserver de la viande ou du poisson pendant une longue période.
Remarque
Lorsque vous utilisez cette fonction, la consommation d'énergie du réfrigerateur augmente. N'oubliez pas de la désactiver lorsque vous n'en avez plus besoin et de régler à nouveau la température d'origine.
- Attendez que le voyant du compartiment sélectionné cesse de clignoter, ou appuyez sur O pour confirmer voir selection.
Remarque
L'utilisation de la fonction Refroidissement rapide ou Congélation rapide augmente la consommation électrique.
Opérations
Activation ou déactivation de la connexion Wi-Fi (modèles applicables uniquement)
Pour activer ou désactiver la connexion Wi-Fi, maintenez le bouton > enfoncé pendant 10 secondes. L'écran affiche alors l'état de la connexion Wi-Fi pendant 5 secondes (comme indiqué sur l'illustration).
Connexion Wi-Fi activée
Connexion Wi-Fi désactivée
Remarque
- Lorsque vous configurez la connexion Wi-Fi pour pouvoir connecter le réfrigérateur à l'application SmartThings, la fonction Activation/Désactivation de la connexion Wi-Fi s'active. Pour en savoir plus, reportez-vous à la section SmartThings (modèles applicables uniquement).
Réfrigerateur / congélateur
Pour garantir des performances optimales, nous recommandons de régler la température sur « 3 ». À l'aide de la molette de commande Réfrigerateur / Congélateur, sélectionnez la température préréglée souhaitée pour le réfrigerateur et le congélateur. Reportez-vous au tableau en dessous de la molette pour connaître la température préréglée pour chaque niveau.

Pour baisser la température pour un refroidissement renforcé, réglez la molette de contrôle de la température sur le niveau 4 ou 5. Pour augmenter la température pour un faible refroidissement, réglez la molette de contrôle de la température sur le niveau 1 ou 2.
Attention
- En hiver, ne reglez pas la molette de contrôle de la température sur le niveau 4 ou 5. Cela risquerait d'affecter les performances de refroidissement.
- En été, ne reglez pas la molette de contrôle de la température sur le niveau 1 ou 2. Cela risquerait également d'affecter les performances de refroidissement.
Absence
Si vous partez en vacances ou en voyage d'affaires ou si vous n'avez pas besoin d'utiliser votre réfrigerateur pour une période prolongée, utilisez le mode Absence.

Pour activer le mode Absence, tournez la molette de commande Réfrigerateur / Congélateur sur 2. La température du réfrigerateur sera régulée pour rester en-dessous de 15°C et celle du congélateur sera régulée pour rester en dessous de -19°C.
Remarque
Il est fortement conseillé de vider le compartiment du réfrigérateur et de s'assurer que la porte est fermée.
Installation
Rendez-vous sur Google Play Store, Galaxy Apps ou Apple App Store et recherchez « SmartThings ». Téléchargez et installez l'application SmartThings fournie par Samsung Electronics sur votre appareil intelligent.
Remarque
- La version du logiciel de soutien de l'application SmartThings est soumise à modifications en fonction de la politique de prise en charge du système d'exploitation fournie par le fabricant. En outre, comme pour l'application SmartThiogs ou les fonctions prises en charge par l'application, la nouvelle politique de mise à jour de l'application sur la version existante du système d'exploitation est susceptible d'être suspendue pour des raisons d'utilité ou de sécurité.
- L'application SmartThings est soumise à modification sans préavis pour en améliorer l'utilisation ou les performances. Étant donné que la version du système d'exploitation du téléphone portable est mise à jour chaque année, l'application SmartThings est également mise à jour en permanence en fonction du dernier système d'exploitation. Pour toute question concernant les éléments mentionnés ci-dessus, veuillez nous contacter à l'adresse st.service@samsung.com.
- Les systèmes de codage recommandés incluent WPA/TKIP et WPA2/AES. Tous les protocoles d'authentification par connexion Wi-Fi plus récents ou non standard ne sont pas pris en charge.
- Les réseaux sans fil peuvent être affectés par l'environnement de communication sans fil autour.
- Si votre fournisseur de services Internet a enregistré l'adresse MAC de votre ordinateur ou de leur modem à des fins d'identification, il est possible que votre réfrigérateur intelligent Samsung ne parvienne pas à se connecter à Internet. Si c'est le cas, p
- Les paramètres de pare-feu de votre système réseau peuvent empêcher votre réfrigérateur intelligent Samsung d'accéder à Internet. P Si ce symptôme persiste, prenez contact avec un centre de service Samsung local ou un revendeur.
- Pour configurer les paramètres du point d'accès sans fil, reportez-vous au manuel d'utilisation du point d'accès (routeur).
- Les réfrigerateurs intelligents Samsung prennent en charge la connexion Wi-Fi 2,4 GHz avec les protocoles IEEE 802.11 b/g/n et Soft-AP. (Le protocole IEEE 802.11 n est recommandé.)
- Les routeurs Wi-Fi sans fil non autorisés peuvent ne pas parvenir à se connecter aux réfrigérateurs intelligents Samsung applicables.
Compte samsung
Vous devez créer votre compte Samsung pour pouvoir utiliser l'application. Si vous n'avez pas de compte Samsung, suivez les instructions affichées sur l'écran de l'application pour créer un compte Samsung gratuit.
Pour commencer
Allumez l'appareil que vous souhaitez connecter, ouvrez l'application SmartThings sur votre téléphone, puis suivez les instructions ci-dessous.
Si une fenêtre contextuelle apparait en indiquant qu'un nouvel appareil a été détecté, appuyez sur ADD NOW (AJOUTER MAINTENANT).
En l'absence de fenêtre contextuelle, appuyez sur le bouton +, puis sélectionnez l'appareil que vous souhaitez connecter dans la liste des appareils disponibles.
Si votre appareil ne figure pas dans la liste des appareils disponibles, appuyez sur Supported Devices (Appareils pris en charge), sélectionnez le type d'appareil, à savoir Refrigerator (Réfrigérateur) et sélectionnez le modèle d'appareil spécifique.
Pour configurer votre appareil, suivez les instructions affichées dans l'application. Une fois la configuration terminée, votre réfrigérateur apparait sous forme de « carte » sur l'écran de vos Devices (Appareils).
Commande intégrée
Vous pouvez surveiller et contrôler votre réfrigerateur chez vous et lorsque vous êtes en déplacement.
- Appuyez sur l'icône du réfrigérateur sur le Tableau de bord SmartThings, ou appuyez sur l'icône Devices (Appareils) en bas du Tableau de bord, puis appuyez sur la « carte » du réfrigérateur pour ouvrir la page Refrigerator (Réfrigerateur).
- Vérifiez l'état de fonctionnement ou l'absence de notifications relatives à votre réfrigérateur, puis modifiez des options ou réglages si nécessaire.
Remarque
Certaines options ou certains réglages du réfrigerateur peuvent ne pas être disponibles pour la commande à distance.
| Catégorie | Élément | Description |
| Contrôle | Température du réfrigérateur | Affiche le réglage de température actuel du réfrigérateur. |
| Température du congélateur | Affiche le réglage de température actuel du congélateur. | |
| Contrôle de la consommation d'énergie | Vérifie la consommation d'énergie cumulée du réfrigérateur sur les 180 derniers jours. | |
| Fonctions | Refroidissement rapide | You pouvez activer ou désactiver la fonction Refroidissement rapide et vérifier les régages actuels. |
| Congélation rapide | You pouvez activer ou désactiver la fonction Congélation rapide et vérifier les régages actuels. | |
| Alarmes | Température anormalement élevé | Cette alarme se déclenché lorsque le réfrigérateur ou le congélateur présente une température anormalement élevé. |
| Ouverture de la porte | Cette alarme se déclenché lorsque la porte du réfrigérateur ou du congélateur reste ouverte pendant plus de 2 minutes. | |
| AI Energy Mode (modèles applicables uniquement) | You pouvez activer ou désactiver l'AI Energy Mode dans le menu Energy de l'application SmartThings. You pouvez vérifier le statut de l'AI Energy Mode sur l'application SmartThings. Sur certains modèles, l'odorepaparait sur le panneau de commande pour indiquer que l'AI Energy Mode est activé. (modèles applicables uniquement) La désactivation de l'AI Energy Mode permet de réduire la consommation d'énergie, mais elle peut également déterminer les performances de refroidissement. | |
Fonctions spéciales
L'apparence réelle et les fonctions spéciales de votre réfrigérateur peuvent varier en fonction du modèle et du pays.
Distributeur d'eau (modèles applicables uniquement)
Grâce au distributeur d'eau, vous pouvez vous servir de l'eau sans ouvrir la porte du réfrigerateur. Le réservoir d'eau doit être rempli d'eau potable avant toute utilisation.
Pour remplir d'eau potable le réservoir d'eau
Ouvrez la porte et localisez le réservoir d'eau situé dans la zone à clayettes de la porte.

- Tenez les poignées sur les deux côtés du réservoir d'eau et soullevez pour le retirer.

- Remplissez le réservoir d'eau de 3,5 litres d'eau potable (MAXIMUM). Vous pouvez retirer soit le bouchon supérieur, soit le cache pour verser de l'eau.

Attention
Le distributeur d'eau est conçu pour délivrer de l'eau potable. Remplissez d'eau potable le réservoir d'eau. Ne le remplissez pas d'un autre liquide. - Ne remplissez pas le réservoir d'eau de manière excessive, sinon il risque de déborder.
Remarque
Lors de la première utilisation, nettoyez l'intérieur du réservoir d'eau.


- Réinsérez le réservoir d'eau et fermez la porte. Assurez-vous que la sortie d'eau du réservoir d'eau soit orientée vers l'avant.
- Posez un verre d'eau sous la sortie d'eau du distributeur, et poussez légèrement le levier du distributeur pour faire s'écouler l'eau. Assurez-vous que le distributeur d'eau est déverrouillé.
Attention
- N'entreposez pas d'objets sur le cache du réservoir d'eau. N'essayez pas de remplir le réservoir d'eau sans le retirer de la porte. Assurez-vous que le réservoir d'eau est correctement installé.
- N'utilisez pas le réfrigerateur sans le réservoir d'eau. Cela peut réduire l'efficacité et la performance. Pour éviter toute éclaboussure, assurez-vous que le verre est aligné avec le levier du distributeur.
Remarque
Pour un gain de place, vous pouvez utiliser le réservoir d'eau pour stocker des alimentés. Dans ce cas, retirez le couvercle du réservoir.
Fraîcheur optimale+ (modèles applicables uniquement)

Le tiroir Fraîcheur optimale+ vous permet de diviser la zone en deux zones distinctes à l'aide de la séparation flexible.
Rangez la viande et le poisson du côté gauche du tiroir Fraîcheur optimale+ et mettez les fruits et légumes du côté droit.

Retrait de la séparation flexible
Tout en pressant la partie arrière, tirez l'avant vers le haut pour la retirer.
Tiroir fraîcheur humide+ (modèles applicables uniquement)

Le tiroir Fraîcheur humide+ vous permet d'ajuster le taux d'humidité. Tournez la molette vers la gauche ou la droite pour ajuster le taux d'humidité à votre guise.
Utilisation de la clayette du congélateur (modèles applicables uniquement)



Pour obtenir plus de place, vous pouvez retirer tous les tiroirs et placer la clayette du congélateur sur le tiroir inférieur du congélateur, car cela n'affecte pas les caractéristiques thermiques et mécaniques de l'appareil. Le volume de stockage nominal du compartiment d'aliments surgelés est calculé sans ces tiroirs. (Dans le cas du modèle pour Singapour, le volume déclaré est calculé avec le retrait du tiroir supérieur et du tiroir du milieu uniquement.) 1. Retirez la bande fixée sur la clayette. 2. Sortez tous les tiroirs pour monter la clayette. 3. Insérez la clayette. Insérez en premier la partie saillante de la clayette, comme illustré.
Attention
N'insérez pas la clayette à l'envers (retournée) ni dans la direction inverse. Lorsque vous n'utilisez pas la clayette du congélateur, gardez-la en lieu sûr pour une utilisation ultérieure.
Remarque
En cas de stockage d'un conteneur en verre sur la clayette en verre trempe, ces deux éléments peuvent être rayés par frottement.

Remarque
Cette procédure s'applique à la fois aux compartiments du réfrigérateur et du congélateur.

- Utilisez un tournevis à tête plate pour retirer les cache-vis. Après avoir détaché la poignée, remettez en place les cache-vis sur les trous de vis.

- Utilisez un tournevis cruciforme pour détacher les vis et détourner la poignée.

Utilisez ces vis pour fixer la poignée sur le côté opposé.

- De l'autre côté de la porte, utilisez un tournevis à tête plate pour fixer les cache-vis.

- Placez la poignée de l'autre côté de la porte et utilisez un tournevis cruciforme pour fixer la poignée à l'aide des vis.

- Installez les cache-vis.
Averagement
- L'inclinaison/installation du réfrigerateur nécessite l'intervention de 2 personnes minimum.
- Débranchez le cordon d'alimentation avant d'inverser les portes.
Outils requis (non fournis)

Tournevis cruciforme Clé à douille de 10 mm

Tournevis à tête plate Clé à douille de 8 mm

Clé de 11 mm Clé de 10 mm
Accessoires
Cache de charnière supérieure gauche
Cache de porte supérieure droite (modèles applicables uniquement)
Attention
Veillez à ne pas endommager les câbles et connecteurs pendant ce processus. - Tout au long de la procédure d'inversion, tenez toutes les petites pièces (vis, obturateurs, etc.) du réfrigérateur hors de portée des enfants ou des bébés, pour des raisons de sécurité. - Veillez à conserver les vis et les autres pièces retirées dans un lieu sûr durant la procédure d'inversion des portes.
Remarque
Samsung recommande de faire inverser les sens d'ouverture des portes uniquement par des fournisseurs de service agréés par Samsung. Cela sera facturé aux frais du client. - Avant d'inverser les portes, placez un matériel de protection (comme un carton par exemple) au sol pour y poser les pièces retirées afin d'éviter de les endommager durant toute la procédure.
Remarque
Pour les modèles à poignées, commencez par inverser les poignées. (Pour en savoir plus, reportez-vous à la section « Inversion de la position de la poignée de la porte (pour les modèles équipés de poignées barres) ».)

- Avec avoir fermé la porte du réfrigérateur, utilisez un tournevis cruciforme pour retirer les vis fixant le cache supérieur (A).




- Soulevez doucement le cache supérieur (A) et posez-le sur le réfrigérateur.
- Soyez prudent lorsque vous soulevez le cache supérieur (A). Un câble connecté se trouve juste en dessous.
- Retirez le câble et le connecteur de câble sur le support situé en dessous du cache supérieur.
Il est possible que cette étape ne s'applique pas à certains modèles.
ATTENTION
Ne tirez pas trop fort sur les connecteurs.
- Débranchez le connecteur de câble (A).
- Il est possible que cette étape ne s'applique pas à certains modèles.
- Utilisez une clé à douille (8 mm) pour retirer les vis permettant de fixer la charnière supérieure (A).
ATTENTION
Afin d'éviter que la porte du réfrigérateur ne tombe, assurez-vous de la tenir fermement lors du retrait des vis.
REMARQUE
Vous pouvez également utiliser un tournevis cruciforme pour desserrer les vis.
Maintenance



- Ouvrez la porte du réfrigérateur et soulvez-la pour la retirer de la charnière centrale. Conservez la porte en lieu sûr.
Attention
La porte est lourde. Afin d'éviter tout dommage ou blessures, faites preuve de prudence lors du retrait de la porte.
- Ouvrez la porte du congélateur et utilisez un tournevis cruciforme pour desserrer les vis maintenant en place la charnière inférieure (A).
- ée du support, retirez-la de la porte du congelateur, puis tirez la porte du congelateur vers le bas pour la retirer de la charnière centrale (B).
Attention
Afin d’éviter que la porte du congélateur ne tombe, assurez-vous de la tenir fermement jusqu’à son retrait de la charnière centrale (B).




- Utilisez un tournevis cruciforme et une clé à douille (10 mm) pour retirer les vis permettant de fixer la charnière centrale (A).
- Retirez le cache-vis de la charnière centrale (A), puis utilisez le tournevis cruciforme pour retirer la vis (B).
- Du côté opposé, utilisez un tournevis cruciforme pour serrer la vis (B), puis placez le cache-vis de la charnière centrale (A).
- Retirez le cache-vis de la charnière inférieure (A) et placez-le du côté opposé.
- Dans la partie inférieure de la porte du congélateur, retirez la butée de porte (A) et placez-la du côté opposé à la porte.
Utilisez un tournevis cruciforme pour retirer et serrer la vis permettant de fixer la butée de porte (A). - Retournez la butée de porte (A) avant de la placer du côté opposé.
Maintenance



- Dans la partie supérieure de la porte du congélateur, inversez la position de l'électrode (A) et du cache-électrode (B).
- Serrez la charnière centrale (A) du côté opposé au retrait.
- Utilisez un tournevis cruciforme et une clé à douille (10 mm) pour serrer les vis.
- Démontez la charnière inférieure et inversez toutes les pièces.
a. Utilisez un tournevis cruciforme pour desserrer la vis (A) permettant de fixer le dispositif de fixation (B) à la charnière inférieure (C). b. Utilisez une clé (10 mm) pour retirer l'écrou (D) et la rondelle (E) permettant de fixer l'axe (F). c. Retournez la charnière inférieure (C), puis fixez à nouveau l'axe (F) à la rondelle (E) et à l'écrou (D). d. Serrez le dispositif de fixation (B) en place à l'aide de la vis (A).
Attention
Veillez à ne pas faire tomber l'axe (F) ou vous blesser aux doigts lors du retrait ou de l'installation de l'axe (F). - Vérifiez que la rondelle (E) est au bon emplacement. Si l'axe est fixé sans la rondelle (E), la porte du congélateur risque de tomber et de provoquer des blessures.



- Tournez le pied de mise à niveau sur le côté opposé à celui où la charnière inférieure (A) a été retirée. Ensuite, placez la charnière inférieure (A) sur le support.
- Fixez la porte du congélateur.
a. Placez la porte du congélateur sur la charnière inférieure (A). Positionnez la porte perpendiculaire au corps principal du réfrigérateur. b. Poussez la porte du congélateur vers le bas pour insérer la charnière centrale (B) dans l'œillet (C) situé en haut de la porte du congélateur.
Attention
Ne poussez pas la porte trop fort. Tout au long de cette étape, veillez à ce que la charnière inférieure (A) repose sur le support dans la partie inférieure du réfrigerateur.
Remarque
Après avoir fixé la porte du congélateur, ajustez les pieds de mise à niveau pour permettre au réfrigerateur d’être à niveau. (Pour consulter les instructions détaillées, reportez-vous à la section « ÉTAPE 4 Réglage des pieds de mise à niveau » en page 39.)
- Utilisez un tournevis cruciforme pour fixer la charnière inférieure (A) avec les vis. Puis, fermez la porte du congélateur.
Maintenance



- Dans la partie inférieure de la porte du réfrigérateur, retirez toutes les pièces des côtés droit et gauche.
a. Utilisez un tournevis cruciforme pour retirer les vis. b. Retirez le système de fermeture automatique (A), l'éclat (B) et la butée de porte (C) d'un côté, et le cache inférieur de la porte du réfrigérateur (D) de l'autre côté.
- Inversez les côtés de toutes les pièces retirées.
a. Placez la butée de porte (C), l'éclat (B) et le système de fermeture automatique (A) du côté opposé à leur retrait. b. À l'aide d'un tournevis cruciforme, serrez la butée de porte (C) et le système de fermeture automatique (A) en place à l'aide des vis. c. Placez le cache inférieur de la porte du réfrigérateur (D) du côté opposé à son retrait. d. À l'aide d'un tournevis cruciforme, serrez le cache inférieur de la porte du réfrigérateur (D) avec les vis.
Attention
Vous devez serrer correctement les vis de la butée de porte (C) et du système de fermeture automatique (A) comme indiqué sur la figure. Si les vis ne sont pas serrées correctement, cela entraîne des dommages sur la charnière de la porte.




- Retirez le cache du câble (A) de la partie supérieure de la porte du réfrigérateur.
- Soulevez doucement les deux côtés du cache du câble (A) et tirez pour le retirer de la porte.
- Il est possible que cette étape ne s'applique pas à certains modèles.
- Retirez le cache de la charnière supérieure droite (A) et le cache supérieur gauche de la porte (B).
- Il est possible que cette étape ne s'applique pas à certains modèles.
REMARQUE Conservez les pièces retirées en lieu sûr pour une utilisation ultérieure. 24. Retirez la charnière supérieure (A) de la porte du réfrigérateur. 25. Retirez l'œillet (A) et placez-le du côté opposé.
Maintenance



- Inversez la charnière supérieure.
a. Utilisez une clé (11 mm) pour démonter l'axe (A) de la rondelle (B). b. Retournez la charnière supérieure (C), puis fixez à nouveau la rondelle (B) et l'axe (A).
Attention
Veillez à ne pas faire tomber l'axe (A) ou vous blesser aux doigts lors du retrait ou de l'installation de l'axe (A). - Vérifiez que la rondelle (B) est au bon emplacement. Si l'axe est fixé sans la rondelle (B), la porte risque de tomber et de provoquer des blessures.
- Placez la porte du réfrigérateur sur la charnière centrale (A).
Attention
Afin d'éviter que la porte du réfrigerateur ne tombe, assurez-vous de la tenir fermement jusqu'au serrage de la charnière supérieure.
- Serrez la charnière supérieure (A) du côté opposé au retrait.




- À l'aide d'une clé à douille (8 mm), fixez la charnière supérieure (A) avec les vis.
- Retirez le cache d'interstice (A) au niveau du cache supérieur (B), puis placez-le sur le côté opposé.
- Sous le cache supérieur, tirez le connecteur de câble (A) des supports et déplacez-le vers les supports du côté opposé.
- Il est possible que cette étape ne s'applique pas à certains modèles.
- Déplacez le connecteur de câble (A) de la porte du réfrigerateur vers le côté opposé.
- Il est possible que cette étape ne s'applique pas à certains modèles.
Maintenance




- Rebranche le connecteur de câble (A).
- Il est possible que cette étape ne s'applique pas à certains modèles.
Attention
Assurez-vous que les connecteurs de câble sont correctement branchés. Sinon, l'écran ne fonctionnera pas.
- Placez le câble et le connecteur de câble (A) sur le support situé en dessous du cache supérieur.
- Il est possible que cette étape ne s'applique pas à certains modèles.
- Installez le cache de charnière supérieure gauche (A) (fourni) sur la charnière supérieure, puis montez le cache supérieur (B).
- Insérez les câbles et connecteurs dans le cache de charnière supérieure gauche (A) et le cache supérieur (B). (Certains modèles n'ont pas de câbles au niveau de la porte du réfrigerateur; cette instruction peut donc ne pas s'appliquer à ces modèles.)
- Avec la porte du réfrigerateur fermée, replacez le cache supérieur (A) et serrez-le avec les vis à l'aide d'un tournevis cruciforme.
Attention
Veillez à ne pas endommager les câbles lorsque vous serrez le cache supérieur (A).



- Placez le cache supérieur droit (A) de la porte (fourni) sur le côté opposé de la charnière de la porte. Il est possible que cette étape ne s'applique pas à certains modèles.
- Placez le câble de la porte du réfrigerateur dans l'espace situé sous le cache du câble (A). Il est possible que cette étape ne s'applique pas à certains modèles.
- Remplacez le cache du câble (A) sur la porte du réfrigerateur.
- Il est possible que cette étape ne s'applique pas à certains modèles.
- Ouvrez et fermez plusieurs fois la porte du réfrigérateur pour vérifier l'absence de problème.
Maintenance

- Défaites les joints des portes du réfrigérateur et du congélateur, puis fixez-les après une rotation de 180 degrés.
Attention
Assurez-vous que les joints des portes sont correctement installés. Dans le cas contraire, un bruit peut être émis ou de la condensation peut se former, ce qui affectera les performances de l'appareil.
Remarque
- Après avoir inversé la porte, ajustez les pieds de mise à niveau pour permettre au réfrigerateur d’être à niveau. (Pour consulter les instructions détaillées, reportez-vous à la section « ÉTAPE 4 Réglage des pieds de mise à niveau » en page 39.) Pour ramener la porte à sa position initiale, suivez à nouveau les étapes. Veuillez noter que la porte, les charnières et les autres pièces se trouveront alors dans le sens opposé à celui indiqué dans ces étapes.
Utilisation et entretien
Clayettes / Grille et clayette (modèles applicables uniquement)

- Sortez un peu la clayette (ou la grille et la clayette) en tirant. Ensuite, tout en soulevant l'arrière, procédez au retrait en tirant.

- Inclinez la clayette (ou la grille et la clayette) en diagonale pour la/les retirer.
Clayette pliante (modèles applicables uniquement)

- Faites glisser la première moitié de la clayette.

- Sortez un peu la clayette avant en tirant. Ensuite, tout en bouclant l'arrière, procédez au retrait en tirant.

- Inclinez la clayette en diagonale pour la retirer.

Attention
- Ne placez pas d'aliments ou d'objets à l'avant de la zone de Fraîcheur optimale+. Sinon, la porte risque de ne pas fermer correctement et les aliments de tomber. La clayette doit être correctement insérée. Ne l'insérez pas à l'envers. Lors de la réinsertion de la clayette, assurez-vous de la pousser jusqu'au bout jusqu'à ce qu'elle soit en place.
- Les récipients en verre peuvent rayer la surface des clayettes en verre.
Avertissement
- Ne nettoyez pas le réfrigerateur avec du benzène, du diluant ou du nettoyant domestique/pour voiture comme du Clorox™. Ces produits risquent d'endommager la surface du réfrigerateur et de provoquer un incendie.
- Évitez de vaporiser de l'eau directement sur le réfrigérateur. Risque d'électrocution.
À l'aide d'un chiffon sec, retirez régulièrement tous les corps étrangers, tels que la poussière ou l'eau, au niveau des broches de la fiche d'alimentation et des points de contact.
- Débranchez le cordon d'alimentation.
- Utilisez un chiffon doux non pelucheux humidifié ou une serviette en papier pour nettoyer l'intérieur et l'extérieur du réfrigerateur.
- Ensuite, utilisez un chiffon sec ou une serviette en papier pour bien sécher les surfaces.
- Branchez le cordon d'alimentation.
Panneau arrêté / Cache du compresseur (modèles applicables uniquement)

Pour maintenir la propreté des cordons et des pièces exposées du panneau arrêté, passez un coup d'aspirateur sur le panneau une ou deux fois par an.
Attention
Ne retirez pas le cache du panneau arrêté. Il existe un risque d'électrocution.
Ampoules DEL
Pour changer les ampoules du réfrigérateur, contactez votre centre de service Samsung local.
- Les ampoules ne peuvent pas être replacées par l'utilisateur. N'essayez pas de replacer une ampoule par vous-même. Risque d'électrocution.
Ampoule (source de lumière)
Ce produit contient une source lumineuse de classe d'efficacité énergétique.
La ou les ampoule(s) et/ou le ou les mécanisme(s) de commande ne sont pas remplacables par l'utilisateur. Pour remplacer la ou les ampoule(s) et/ou le ou les mécanisme(s) de commande de l'appareil, contactez un centre de service Samsung local.
Pour obtenir les instructions détaillées de remplacement pour la ou les ampoule(s) ou pour le ou les mécanisme(s) de commande de votre appareil, rendez-vous sur le site Internet de Samsung (http://www.samsung.com), allez dans Assistance > Assistance sur la page d'accueil, puis saisissez le nom du modèle.
Pour obtenir les instructions détaillées de démontage pour la ou les ampoule(s) et/ou pour le ou les mécanisme(s) de commande, suivez simplement les instructions de remplacement fournies, tel que décrit ci-dessus.
Panneau de porte (modèles applicables uniquement)
Vous devez sélectionner le panneau de porte que vous préférez pour votre frigidaire SUR MESURE. Achetez le panneau de porte chez un détailleur Samsung et un installateur agréé installera le panneau pour vous.
Attention
- Si vous démontez ou installez vous-même le panneau de porte, cela risque d'entraîner des dégâts matériels ou des blessures corporelles. Si vous rencontrez des problèmes avec le panneau de porte, contactez un centre de service Samsung.
- Il est possible que des frais d'intervention soient facturés pour le remplacement du panneau, même si l'opération est effectuée pendant la période de garantie.
Installation en duo (modèles applicables uniquement)


Si vous le souhaitez, vous pouvez installer ce réfrigerateur côte à côte avec un autre réfrigerateur Samsung. Toutefois, les réfrigerateurs doivent être des modèles SUR MESURE. Si vous souhaitez effectuer une installation en duo, vérifiez si les modèles désirés permettent une installation en duo avant de les acheter. Vous pouvez le vérifier auprès du détaillant ou sur le site Internet samsung.com.
Remarque
- Achetez le kit d'installation en duo chez un détaillant Samsung et vous pouvez demander à un installateur/agréé de procéder à l'installation en duo.
- Veiliez à acheter le kit d'installation en duo approprié pour votre modèle. Pour éviter tout problème d'installation, vous nevez utiliser le kit d'installation en duo dédié.
- Modèle RB34 : RA-C00K4BAA
- Modèle RB38 : RA-C00K3BAA
- L'installation en duo risque d'augmenter la consommation d'énergie.
| 01 | Recommendation : supérieur à 50 mm |
| 02 | 105° |
| 03 | 1 250 mm |
| 04 | 1 212 mm |
| 05 | Équerre supérieure |
| 06 | Garniture |
| 07 | Sens d'installation |
Outils requis (non fournis)
Tournevis cruciforme
Tournevis à tête plate
Clé à douille de 8 mm (pour les boulons)
Accessoires du kit d'installation en duo
A. Équerre supérieure (x1)
B. Équerre inférieure (x1)
C. Garniture (x1)
D. Gabarit A/S de référence (x4)
E. Patin de mise à niveau (x4)
F. Mousse T7 LEX (x8)
G. Mousse T5 PE (x1)
H. Équerre arrêté (x1)
J. Vis à tête hexagonale M5 x 16 (x4)
K. Vis M4 x 18 (x2)

Remarque
Le chiffre entre parenthèses indique la quantité de chaque accessoire. L’équerre inférieure (B) et la garniture (C) sont disponibles dans deux tailles (7 ou 15 mm). Vérifiez les tailles lorsque vous commandez le kit d'installation en duo.

Remarque
Les lettres alphabétiques figurant sur l'illustration et entre parenthèses sont les mêmes que celles indiquées dans la liste d'accessoires.



- Vérifiez que le sol est de niveau.
Utilisez un niveau pour vérifier que le sol est de niveau à l'endroit où les deux roulettes arrêtées du réfrigerateur seront positionnées.
- Placez les gabarits A/S de référence (D) et vérifiez le niveau.
- Placez sur le sol les deux gabarits A/S de référence (D) fournis, à l'endroit où les deux roulettes arrêtées du réfrigérateur seront positionnées, puis vérifiez le niveau.
- Si le sol n'est pas de niveau, placez les patins de mise à niveau (E) fournis sous les gabarits A/S de référence (D), de sorte que le réfrigérateur repose sur une surface plane.
- Une fois que vous avez identifié toutes les pièces requises pour la mise de niveau, enlevez le film de protection du ruban double face en dessous de chaque pièce, puis installez la pièce à son emplacement final.
Maintenance




- Installez les mousses à fin de laisser un écart entre les deux réfrigerateurs.
Remarque
Vous devez installer la mousse T5 PE (G) uniquement sur le modèle BMF (congelateur à montage par le bas). (Dans le cas où vous installez deux types différents de réfrigérateur en duo.)
A. Installation en duo du modèle RB38 :
- Installez la mousse T5 PE (G).
- Reportez-vous à l'illustration pour déterminer la position de la mousse.
B. Installation en duo du modèle RB34 :
- Installez la mousse T5 PE (G), puis installez quatre mousses T7 LEX (F) par-dessus la mousse T5 PE (G).
- Reportez-vous à l'illustration pour déterminer la position des mousses.




- Retirez les vis au niveau des deux trous où sera fixée l'équerre inférieure.
Ouvrez la porte des réfrigérateurs à installer en duo, puis retirez les vis situées à l'endroit où l'équerre inférieure sera fixée.
- Fixez l'équerre inférieure (B).
Fixez l'équerre inférieure (B) avec les deux vis M4 x 18 (K) (une sur chaque réfrigérateur) afin de fixer la partie inférieure des réfrigérateurs.
- Fixez l'équerre supérieure (A).
Fixez l'équerre supérieure (A) à l'aide des quatre vis à tête hexagonale M5 x 16 (J) afin de fixer la partie supérieure des réfrigérateurs.
Remarque
Alignez le haut des deux réfrigérateurs avant de fixer l’équerre supérieure.
- Retirez les vis situées à l'arrière des réfrigérateurs.
Maintenance

(^*):15mm (RB34)/7mm (RB38)


- Utilisez les vis retirées à l'objet 8 pour fixer l'équerre arrêtée (H).
- Vérifiez l'espace entre les réfrigerateurs.
- Àprous avoir fixé les équères supérieure et inférieure, vérifie que l'espace entre les réfrigerateurs est de 7 mm ou 15 mm en haut et en bas.
Remarque
Si l'espace entre les réfrigerateurs est supérieur à 7 mm ou 15 mm, il risque d'y avoir moins d'espace entre le réfrigerateur et les murs (ou meubles) et cela peut empêcher l'ouverture des portes.
- Poussez les réfrigerateurs à l'intérieur des murs (ou meubles).
- Deux personnes doivent simultanément pousser les réfrigérateurs, reliés à l'aide des équerres, à l'intérieur des murs (ou meubles).
Remarque
Si les deux personnes ne poussent pas les réfrigerateurs en même temps, la partie arrière des réfrigerateurs risque de s'éloigner ou de dévier de leur emplacement d'installation souhaité.
- Reglez la hauteur des réfrigerateurs.
- Faites tourner le pied de mise à niveau vers la droite ou la gauche pour régler la hauteur des réfrigérateurs, de manière à ce qu'ils arrivent à fleur des murs (ou meubles).


Remarque
- Insérez la garniture (C) entre les réfrigérateurs. Ouvrez les portes et insérez la garniture (C) entre les réfrigérateurs. Observez la partie plus large de la garniture sur l'illustration pour identifier le haut de la garniture.
- Effectuez une vérification finale. En l'absence de problèmes, enlevez le film de protection sur l'appareil.
Dépannage
Avant d'appeler pour obtenir de l'aide, parcourez les points de vérification ci-dessous. Tous les appels de dépannage concernant des situations normales (autres que des cas de défaut) seront facturés à l'utilisateur.
Généralités
Temperature
| Symptôme | Causes possibles | Solution |
| Le réfrigérateur/ congélateur ne fonctionne pas. La température du réfrigérateur/ congélateur est élevé. | • Le cordon d'alimentation n'est pas branché correctement. | • Branchez correctement le cordon d'alimentation. |
| • La molette de contrôle de la température n'est pas régée correctement. | • Baissez la température. | |
| • Le réfrigérateur se trouve à proximité d'une source de chaleur ou est exposé à la lumière directe du soleil. | • Assurez-vous que le réfrigérateur n'est pas exposé à la lumière directe du soleil et qu'il n'est pas à proximé d'une source de chaleur. | |
| • Le dégagement entre le réfrigérateur et les parois sur les côtés/à l'arrête n'est pas suffisant. | • Assurez-vous de laisser au moins 5 cm à l'arrière et sur les côts. | |
| • La fonction Absence est activée. | • Désactivez la fonction Absence. | |
| • Le réfrigérateur est en surcharge. Des alimententsBloquent les orifices de ventilation du réfrigérateur. | • Ne surchargez pas le réfrigérateur. Ne laisserpas des alimentents bloquer la ventilation. | |
| Le réfrigérateur/ congélateur refroidit trop. | • La molette de contrôle de la température n'est pas régée correctement. | • Augmentez la température. |
| La paroi interieure est chaude. | • Le réfrigérateur dispose de tuyaux résistants à la chaleur dans la paroi interieure. | • Pour prévenir la formation de condensation, le réfrigérateur est equipé de tuyaux résistants à la chaleur dans les coins à l'avant. Lorsque la température ambiente augmente, cet équipement peut ne pas fonctionner correctement. Il ne s'agit pas d'un dysfonctionnement du système. |
Odeurs
| Symptôme | Causes possibles | Solution |
| Le réfrigérateur dégage des odeurs. | • Aliments abîmés. | • Nettoyez le réfrigerateur et retirez les alimentés abîmés. |
| • Aliments très odorants. | • Assurez-vous que les alimentés à forté odeur sont emballés de manière hermétique. |
Givre
| Symptôme | Causes possibles | Solution |
| Présence de givreautour des orifices deventilation. | • Des alimentsbloquent les orificesde ventilation. | • Assurez-vous qu'aucun aliment nebloque les orifices de ventilationdu réfrigérateur. |
| Présence de givre surles parois intérieures. | • La porteste mal fermée. | • Assurez-vous que les alimentenebloquent pas la porte. Nettoyez lejoint de la porte. |
| Une quantité excessivede givre s'accumulédans le conGPLateur. | • La portene se ferme pasde manière complètementhermétique car le joint de laportere n'a pas été inversé après l'inversion des portes. | • Détachez le joint de la portepuis fixez-le après une rotation de180°. |
Condensation
| Symptôme | Causes possibles | Solution |
| De la condensation se forme sur les parois interieures. | • Si la porte est laissée ouverte, de l'humidité pénétre dans le réfrigérateur. | • Éliminez l'humidité et ne laissez pas la porte ouverte pendant une période prolongée. |
| • Aliments avec une forte teneur en humidité. | • Assurez-vous que les alimentés sont emballés de manière hermétique. |
Entendez-vous des sons anormaux provenant du réfrigérateur ?
Avant d'appeler pour obtenir de l'aide, parcourez les points de vérification ci-dessous. Tous les appels d'assistance concernant des bruits normaux seront facturés à l'utilisateur.
Cessons ont tout à fait normaux.
- Lorsque vous commencez ou terminez une opération, il se peut que le réfrigerateur émette des sons similaires à l'allumage du moteur d'une voiture. Lorsque l'opération se stabilise, les sons s'attenueront.

- Lorsque le ventilateur est en marche, des sons peuvent être émis. Lorsque le réfrigerateur atteint la température réglée, aucun son de ventilateur n'est émis.

- Pendant le cycle de déconnexion, il se peut que de l'eau goutte sur la résistance de déconnexion, générant alors des sons de grésillement.

- À mesure que le réfrigerateur refroidit ou congèle, du gaz réfrigérant circule dans les tuyaux hermétiques, provoquant alors des sons de bouillonnement.
Bouillonnement!

- À mesure que la température du réfrigerateur augmente ou baisse, les pièces en plastique se contractent ou se détendent, créant alors des bruits de cognement. Ces bruits sont produits pendant le cycle de décongélation ou lorsque les pièces électroniques fonctionnent.
Craquement!

- Pour les modèles avec machine à glaçons : Lorsque la vanne d'eau s'ouvre pour remplir la machine à glaçons, des sons de bourdonnement peuvent être émis.
- En raison de l'égalisation de la pression lors de l'ouverture et de la fermeture de la porte du réfrigerateur, des sons de souffle peuvent être émis.
Smartthings (modèles applicables uniquement)
| Symptôme | Action |
| L'application « SmartThings » est introuvable sur le marché des applications. | La version du logiciel de soutien de l'application SmartThings est soumise à modifications en fonction de la politique de prise en charge du système d'exploitation fournie par le fabricant. En outre, comme pour l'application SmartThings ou les fonctions prises en charge par l'application, la nouvelle politique de mise à jour de l'application sur la version existante du système d'exploitation est susceptible d'être suspendue pour des raisons d'utilité ou de sécurité. |
| L'application SmartThings ne fonctionne pas. | L'application SmartThings est disponible pour les modèles applicables uniquement.L'ancienne application Samsung Smart Refrigerator ne peut pas connecter à des modèles pour Samsung Smart Home. |
| L'application SmartThings est installée mais n'est pas connectée à mon réfrigérateur. | Vous devez vous connecter à votre compte Samsung pour pouvoir utiliser l'application.Assurez-vous que votre routeur fonctionne normalement.Si l'icône de connexion Wi-Fi est éteinte sur l'écran du réfrigérateur, cela indique qu'aucune connexion au réseau n'a encore été établie.Dans ce cas, utilisez l'application SmartThings pour connecter et enregistrer votre réfrigérateur au point d'accès (PA) de votre maison. |
| Impossible de se connecter à l'application. | Vous devez vous connecter à votre compte Samsung pour pouvoir utiliser l'application.Si vous n'avez pas de compte Samsung, suivez les instructions affichées sur l'écran de l'application pour en créé un. |
| Un message d'erreur apparait lorsque j'ssais déenregistrer mon réfrigérateur. | La fonction Easy Connection (Connexion facile) peut échoyer en raison de la distance par rapport au point d'accès ou d'interférences électriques provenant de l'environnement. Attendez un moment puis réessayez. |
| L'application SmartThings est bien connectée à mon réfrigérateur mais ne fonctionne pas. | Quitteux puis relancez l'application SmartThings, ou déconnectez et reconnectcez le routeur.Mettez le réfrigérateur hors tension, puis remettez-le sous tension après 1 minute. |
| L'icône de connexion Wi-Fi clignote. ( ≈ ) | Connectez vos re frigérateur à l'application SmartThings avant de l'utiliser. Une fois la connexion établie avec succès, le可观ant cette de clignoter.- Si vous ne parvenez pas à établier la connexion ou ne souhaitez pas utiliser l'application, maintenez le bouton > enfoncé pendant 10 secondes. Le可观ant cette de cligneter et le message « O FF » apparait sur l'affichage de la tempête. |
Consignes de sécurité
Pour garantir l'utilisation la plus optimale de l'énergie, veuillez laisser tous les accessoires internes tels que les paniers, les tiroirs, les clayettes et le bac à glaçons sur leur position indiquée par le fabricant. - Cet appareil de réfrigération n'est pas destiné à être utilisé comme appareil encastré.
Pour les appareils de réfrigération avec classe climatique
Selon la classe climatique, cet appareil de réfrigération est destiné à être utilisé dans une plage de températures ambiantes telle que spécifiée dans le tableau suivant.
La classe climatique figure sur la plaque signalétique. L'appareil peut ne pas fonctionner correctement s'il est utilisé à des températures situées en dehors de la plage spécifique.
La classe climatique figure sur l'étiquette apposée à l'intérieur de votre réfrigerateur.
Plage de température efficace
Le réfrigérateur a été créé pour un fonctionnement normal dans la plage de températures spécifiée par sa classe énergétique nominale.
| Classe | Symbole | Plage de températures ambiente (°C) | |
| IEC 62552 (ISO 15502) | ISO 8561 | ||
| Climat tempéré étendu | SN | +10 à +32 | +10 à +32 |
| Climat tempéré | N | +16 à +32 | +16 à +32 |
| Climat subtropical | ST | +16 à +38 | +18 à +38 |
| Climat tropical | T | +16 à +43 | +18 à +43 |
Remarque
Les performances de refroidissement et la consommation électrique du réfrigerateur peuvent être affectées par la température ambiante, la fréquence d'ouverture de la porte et l'emplacement du réfrigerateur. Nous vous recommandons de régler les réglages de température comme approprié.
Température recommandée
Réglage de température optimal pour le stockage d'aliments :
- Réfrigérateur: 3°C Congélateur: -19°C
Remarque
La température optimale de chaque compartiment dépend de la température ambiante. La température optimale ci-dessus a été déterminée pour une température ambiante de 25°C.
Refroidissement rapide
La fonction Refroidissement rapide accélère le processus de refroidissement avec le ventilateur à vitesse maximale. Le réfrigérateur continue de fonctionner à vitesse maximale pendant deux heures et demie, avant de revenir à la température précédente.
Congélation rapide
La fonction Congélation rapide accélère le processus de congélation avec le ventilateur à vitesse maximale. Le congélateur fonctionne à vitesse maximale durant 50 heures avant de revenir à la température précédente. Pour congeler une grande quantité d'aliments, activez la fonction Congélation rapide au moins 20 heures avant de placer les aliments dans le congélateur.
Remarque
Lorsque vous utilisez cette fonction, la consommation d'énergie du réfrigerateur augmente. N'oubliez pas de la désactiver lorsque vous n'en avez plus besoin et de régler à nouveau la température d'origine.
Conseils de stockage pour une préparation optimale (modèles applicables uniquement)
Recouvre les alimentés afin de conserver leur humidité et éviter qu’ils ne récapitulent les odeurs des autres alimentés. Pour une grande casserole contenant des alimentés tels que de la soupe ou un ragout, veuillez répartir son contenu en plusieurs portions plus petites que vous mettrez dans des éléments peu profonds avant de les mettre au réfrigérateur. Pour un gros morceau de viande ou un poulet entier, veuillez le couper en morceaux de plus petite taille ou le placer dans des éléments peu profonds avant de le mettre au réfrigérateur.
Positionnement des aliments
| Clayettes | Les clayettes sont régibles afin de pouvoir les adapter aux divers emballages. |
| Compartment spécialisé (modèles applicables uniquement) | Les tiroirs à légumes étanches offrent un environnement de stockage optimal pour les fruits et légumes. Les légumesrequireient un taux d'humidité élevé tandis que les fruits ont besoin d'un faible taux d'humidité. Les tiroirs à légumes sont équipés de dispositifs de contrôle permettant de réguler le taux d'humidité. (‘Selon le modele et les options disponibles) Un tiroir à viande à température régable optimise le temps de stockage des viandes et fromages. |
| Stockage dans la porte | Ne stockez pas les denrées périssables dans la porte. Les øeufs doivent être stockés dans leur emballage en carton sur une clayette. La tempête des bacs de stockage de la porte fluctue davantage que celle dans le compartment. Maintenez la porte fermée le plus possible. |
| Compartment du congélateur | Youss pouvez stocker des alimentés surgelés, faire des glacons et congeler des alimentés frais dans le compartment du congélateur. |

Remarque
Congelez uniquement des aliments frais et non abimés. Conservez les aliments devant être congelés loin des aliments déjà congelés. Pour prévenir la perte de saveur ou le séchage des aliments, placez-les dans des récipients hermétiques.
Tableau des périodes de stockage au réfrigérateur et au congélateur
La durabilité de la fraîcheur des aliments dépend de la température et de l'exposition à l'humidité. Étant donné que les dates des produits n'indiquent pas comment utiliser les produits en toute sécurité, reportez-vous à ce tableau et suivez les conseils qui y figurent.
Produits laitiers
| Produit | Réfrigérateur | Congélateur |
| Lait | 1 semaine | 1 mois |
| Beurre | 2 semaines | 12 mois |
| Crème glacée | - | 2 à 3 semaines |
| Fromage naturel | 1 mois | 4 à 6 mois |
| Fromage à la crème | 2 semaines | Non recommendé |
| Yaourt | 1 mois | - |
Vande
| Produit | Réfrigérateur | Congélateur |
| Rôtis frais, steaks frais, côtelettes fraîches | 3 à 4 jours | 2 à 3 mois |
| Viande crue fraîche, bœuf à braiser | 1 à 2 jours | 3 à 4 mois |
| Bacon | 7 jours | 1 mois |
| Saucisses, viande crue de porc, bœuf, dinde | 1 à 2 jours | 1 à 2 mois |
Annexe
Volaille / Œufs
| Produit | Réfrigérateur | Congélateur |
| Vande de volaille fraîche | 2 jours | 6 à 8 mois |
| Salade à la volaille | 1 jour | - |
| CEufs, frais dans leur coquille | 2 à 4 semaines | Non recommendé |
Poisson / Fruits de la mer
| Produit | Réfrigérateur | Congélateur |
| Poisson frais | 1 à 2 jours | 3 à 6 mois |
| Poisson cuit | 3 à 4 jours | 1 mois |
| Salade au poisson | 1 jour | Non recommendé |
| Poisson séché ou mariné | 3 à 4 semaines | - |
Fruits
| Produit | Réfrigérateur | Congélateur |
| Pommes | 1 mois | - |
| Pêches | 2 à 3 semaines | - |
| Ananas | 1 semaine | - |
| Autres fruits frais | 3 à 5 jours | 9 à 12 mois |
Légumes
| Produit | Réfrigérateur | Congélateur |
| Asperges | 2 à 3 jours | - |
| Broccoli, choux de Bruxelles, petits pois, championons | 3 à 5 jours | - |
| Chou, chou-fleur, céléri, concombre, laitue | 1 semaine | - |
| Carottes, betteraves, radis | 2 semaines | - |
Informations du modèle
Pour accéder aux informations relatives à l'étiquetage énergétique de ce produit sur le Registre européen des produits pour l'étiquetage énergétique (EPREL), scannez le code QR sur l'étiquette énergétique. Le code QR se trouve sur l'étiquette énergétique, sur la boîte du produit.
Informations sur les pièces
- Période minimale de disponibilité des pièces de rechange nécessaires à la réparation de l'appareil
- 7 ans pour les thermostats, capteurs de température, cartes de circuit imprimé et sources d'éclairage, poignées de porte, charnières de porte, bacs, paniers (boîtes ou tiroirs)
- 10 ans pour les joints de porte
- La période minimale de garantie fournie par le fabricant pour l'appareil de réfrigération est de 24 mois.
- Informations pertinentes pour commander des pièces de rechange, directement ou via d'autres intermédiaires proposés par le fabricant, l'importateur ou le représentant agréé
- Vous trouvez des informations pour une réparation par des professionnels sur le site Internet http://samsung.com/support.
Vous trouverez le guide de réparation pour l'utilisateur sur le site Internet http://samsung.com/support.
Modèle RB38 C, RB38 8 * et RB38 *9 ** uniquement
- Les astérisques désignent une variante du modèle et peuvent remplacer divers caractères : des chiffres (0 à 9) ou des lettres (A à Z).

Remarque
Par la présente, Samsung déclare que cet équipement radio est conforme à la Directive 2014/53/UE et aux exigences légales pertinentes en vigueur au Royaume-Uni.
L'intégralité du texte de la déclaration de conformité de l'UE et de la déclaration de conformité du Royaume-Uni est accessible via l'URL suivante : La déclaration de conformité officielle est accessible à l'adresse http://www.samsung.com, en cliquant sur Support (Assistance) > Search Product Support (Obtenir une assistance produits), puis en saisissant le nom du modèle.
| Plage de fréquences | Puisance de l'émetteur (maximale) | |
| Connexion Wi-Fi | 2 412 à 2 472 MHz | 20 dBm |
| Connexion Bluetooth | 2 402 à 2 480 MHz | 20 dBm |
Comment contacter samsung dans le monde
Si vous avez des suggestions ou des questions concernant les produits Samsung, veuillez contacter le Service Consommateurs Samsung.
| Pays | Centre d'appels | Site Internet |
| FRANCE | 01 48 63 00 00 | www.samsung.com/fr/support |


DA68-04111C-09
Notice Facile