rb34c602dsa - Réfrigérateur-congélateur SAMSUNG - Notice d'utilisation et mode d'emploi gratuit
Retrouvez gratuitement la notice de l'appareil rb34c602dsa SAMSUNG au format PDF.
| Type de produit | Réfrigérateur combiné |
|---|---|
| Capacité totale nette | 340 litres |
| Type de froid | Froid ventilé |
| Dimensions approximatives | 2030 x 595 x 668 mm |
| Poids | 70 kg |
| Classe énergétique | A+ |
| Niveau sonore | 39 dB |
| Fonctions principales | Mode vacances, Super réfrigération, Super congélation |
| Éclairage intérieur | LED |
| Entretien et nettoyage | Décongélation automatique, nettoyage des surfaces avec un chiffon humide |
| Pièces détachées et réparabilité | Disponibilité des pièces détachées selon le modèle |
| Sécurité | Système de verrouillage de porte, alarme de porte ouverte |
| Compatibilités | Compatible avec les accessoires Samsung |
| Alimentation électrique | 220-240 V, 50 Hz |
FOIRE AUX QUESTIONS - rb34c602dsa SAMSUNG
Questions des utilisateurs sur rb34c602dsa SAMSUNG
Pour régler la température de votre réfrigérateur-congélateur Samsung RB34C602DSA, suivez les étapes ci-dessous :
Accéder au panneau de contrôle
Le panneau de contrôle se trouve généralement à l'intérieur du réfrigérateur, souvent sur le mur supérieur ou sur la porte. Il peut être équipé de boutons ou d'un écran numérique.
Réglage de la température du réfrigérateur
- Appuyez sur le bouton dédié au réglage de la température du réfrigérateur.
- Utilisez les boutons + ou - pour augmenter ou diminuer la température.
- La température recommandée pour le réfrigérateur est d'environ 4 °C.
Réglage de la température du congélateur
- Appuyez sur le bouton correspondant au congélateur.
- Ajustez la température à l'aide des boutons + ou -.
- La température idéale pour le congélateur est généralement autour de -18 °C.
Validation et attente
- Vérifiez que les nouvelles températures sont bien affichées sur le panneau.
- Patientez quelques heures pour que les températures se stabilisent après le réglage.
Ces réglages vous permettront d'optimiser la conservation de vos aliments selon vos besoins.
Téléchargez la notice de votre Réfrigérateur-congélateur au format PDF gratuitement ! Retrouvez votre notice rb34c602dsa - SAMSUNG et reprennez votre appareil électronique en main. Sur cette page sont publiés tous les documents nécessaires à l'utilisation de votre appareil rb34c602dsa de la marque SAMSUNG.
MODE D'EMPLOI rb34c602dsa SAMSUNG
Manuel d'utilisation
Consignes de sécurité 4
Ce que vous doivent regardier les consignes de securite 4
Consignes et symboles de sécurité importants : 7
Mesures importantes de sécurité 8
Symboles d'ajretissement importants concernant le transport et le lieu d'installation de l'appareil 12
Avertissements importants concernant l'installation 13
Consignes d'installation 17
Avertissements importants concernant l'utilisation 18
Consignes d'utilisation 24
Consignes de nettoyage 28
30
Conseils complémentaires pour une utilisation appropriée 31
Instructions concerning la riglementation DEEE 33
Installation 34
Présentation rapide du réfrigérateur 34
Installation etape par etape 35
Opérations 41
Panneau principal (modèlees applicables uniquement) 41
Fonctions speciales 50
Maintenance 54
Inversion de la position de la poignée de la porte (pour les modèles équipés de poignées barres) 54
Inversion de la porte (modèlees applicables uniquement) 55
Utilisation et entretien 69
Nettoyage 71
Remplacement 72
Installation en duo (modèles applicables uniquement) 73
Dépannage 80
Généralités 80
Entendez-vous dessons anormaux provenant du réfrigérateur? 82
Consignes de sécurité 85
Instructions d'installation 85
Consignes relatives à la température 86
Informations du modele et commande de pieces de rechange 89
2 Français
Consignes de sécurité
Avant d'utiliser votre nouveau réfrigérateur Samsung, veuillez tire attentivement ce manuel afin de vous assurer que vous savez comment utiliser de manière sure et efficace ses différentes fonctions et fonctionnalités.
Ce que vous doivent avoir concernant les consignes de sécurité
- Les averissements et les consignes importantes de sécurité contenus dans ce manuel ne prétendent pas couvrir toutes les situations susceptibles de se produit. Il est de votre responsabilité de faire preuve de bon sens et de prudence lors de l'installation, de l'entretien et du fonctionnement de l'appareil.
- Les consignes d'utilisation suivantes concernent plusieurs modèles ; il est donc possible que les caractéristiques de votre réfrigérateur soient légèrement différentes de celles spécifiées dans ce manuel et que certains symboles d'advertissement ne s'appliquent pas. Pour toute question ou doute, contactez votre centre de service le plus proche ou recherche de l'aide et des informations en ligne sur www.samsung.com.
-
Le gaz réfrigérant utilisé est le R-600a ou R-134a. Vérifiez le gaz réfrigérant utilisé dans votre apparéil sur l'étiquette du compresseur située à l'arrière de l' apparéil ou sur l'étiquette signalétique située à l'intérieur du réfrigerateur. Lorsque ce produit contient du gaz inflammable (gaz réfrigérant R-600a), veuillez contacter les autorités locales pour obtenir des renseignements sur la mise au rebut en toute sécurité de votre apparéil.
-
Afin d'éviter la création d'un mélange gaz-air inflammable lorsqu'une fuite se produit dans le circuit frigorifique, la taille de la piece dans laquelle l'appareil peut être installé dépend de la quantité de gaz réfrigerant utilisée.
- Ne démarrez jamais un apparéil qui présente des signes d'endommagement. En cas de doutes, contactez votre revendeur. La piece doit avoir un volume de 1m^3 pour chaque 8 g de gaz réfrigérant R-600a à l'intérieur de l' apparéil.
La quantité de gaz réfrigérant que votre apparéil peut contenir est indiquée sur la plaque signalétique située à l'intérieur de l' apparéil.
-
Le gaz réfrigérant qui pourrait s'échapper des tuyaux risquérer de s'enflammer ou de provoquer des lésions oculaires. En cas de fuite de réfrigérant au niveau des tuyaux, n'approche pas de flamme neue, éloignez tout object inflammable de l'appareil et aéréz immédiatement lapiece.
-
Le non-respect de cette consigne risquérait de provoquer un incendie ou une explosion.
-
Pour éciter de contaminer les aliments, veuillez respecter les instructions suivantes :
-
Ouvrir la porte pendant de longues périodes peut entraîner une hausse considérable de la température dans les compartments de l'appareil.
- Nettoyez régulièrement les surfaces pouvant entraire en contact avec des alimentents et les systèmes de vidange accessibles.
Consignes de sécurité
- Nettoyez les réservoirs d'eau s'ils n'ont pas eté utilisés depuis 48 h ; rincez le système d'eau relié à une source d'alimentation en eau si vous n'avez pas tiré d'eau depuis 5 jours.
- Placez la viande crue et le poisson dans des écipients adaptés à l'intérieur du réfrigérateur afin qu'ils n'entrent pas en contact avec d'autres alimentés ou qu'ils ne gouttent pas dessus.
- Les compartments à deux étoiles pour alimentés surgelés sont adaptés pour stocker des-aliments pré-congelés, pour ranger ou faire de la glace et pour créé des glaçons.
- Les compartments à une, deux et trois étoiles ne sont pas adaptés pour congeler des alimentés frais.
- Si l'appareil de réfrigération est laissé vide pendant de longues périodes, mettez-le hors tension, faites-le dégeler, nettoyez-le, laissez-le sécher et maintenez la porte ouverte afin d'éviter que des moisissures ne se développement à l'intérieur de l'appareil.
Consignes et symboles de sécurité importants :
Veuillez suivre toutes les consignes de sécurité indiquées dans ce manuel. Ce manuel utilise les symboles de sécurité suivants.
AVERTISSEMENT
Pratiques inadaptées ou dangereuses susceptibles de cause des blessures graves, voire mortelles, et des dommages matériels.
ATTENTION
Pratiques inadaptées ou dangereuses susceptibles de cause des blessures graves et/ou des dommages matériels.
REMARQUE
Informations utiles qui aident l'utilisateur à comprendre ou à utiliser au moins son réfrigérateur.
Ces symboles d'avertissement ont pour but d'eviter tout risque de blessure pour vous ou d'autres personnes.
Respectez-les en toutes circonstances.
Lisez attentivement la presente section et conservez le manuel en lieu sur afin de pouvoir vous y reporter ultérieurement.
Consignes de sécurité
Mesures importantes de sécurité

Avertissement ; risque d'incendie / matières inflammables
! AVENTISSEMENT
- Lorsque vous positionnez l'appareil, assurez-vous que le cordon d'alimentation n'est ni endommagé, ni coince.
- Ne placez pas plusieurs prises portables ou alimentations électriques portables à l'arrière de l'appareil.
- Remplissez l'appareil d'eau potable uniquement.
Raccordez-le à une source d'eau potable uniquement. - N'obstruez pas les ouvertures de ventilation à l'intérieur du réfrigérateur ou de la structure encastrée.
- N'utilisez pas d'appareil mécanique ni de dispositif susceptible d'accélérer le processus de décongélation, autres que ceux recommendés par le fabricant.
N'endommagez pas le circuit frigorifique. - N'utilisez pas d'appareils électriques à l'intérieur des compartments de stockage des alimentés de l'appareil, sauf si cela est recommendé par le fabricant.
-
Cet apparéil n'est pas conscience pour être utilisé par des personnes (y compris des enfants) ayant des capacité physiques, sensorielles ou mentales réduites, ou ayant un manque d'expérience et de connaissances, à moins qu'elles soient surveillées ou qu'elles aient reçu les instructions nécessaires concernant l'utilisation de cet apparéil de la part d'une personne responsable de leur sécurité.
-
Cet apparéil n'est pas destiné à être utilisé par des enfants de moins de 8 ans ou des personnes ayant des capacité physiques, sensorielles ou mentales réduites, ou un manque d'expérience et de connaissances, à moins qu'elles soient surveillées ou qu'elles aient reçu les instructions nécessaires concernant l'utilisation en toute sécurité de cet apparéil et qu'elles comprendrent les risques impliqués. Les enfants ne doivent pas jouer avec l' apparéil. Le nettoyage et la maintenance de l' apparéil ne doit pas être effectuels par des enfants sans surveillance. Les enfants de 3 à 8 ans sont autorisés à charger et décharger les apparéils de réfrigération.
- Si le cordon d'alimentation est endommagé, il doit être remplace par le fabricant, son fournisseur de service ou toute autre personne aux qualifications similaires afin d'éviter tout risque.
-
La prise de courant doit être facilement accessible de sorte que vous puissiez rapidement débrancher l'appareil de l'alimentation en cas d'urgence.
-
Elle doit se situer en dehors de la zone arrêté de l'appareil.
-
Dans cet apparéil, ne stockez pas de substances explosives telles que des aérosols avec un propulseur inflammable.
-
Si l'appareil est équipé d'ampoules DEL, ne démontez pas vous-même les caches d'ampoules et les ampoules.
-
Contactez un centre de service Samsung.
- Utilisez uniquement les ampoules DEL fournies par le fabricant ou son réparateur agréé.
Consignes de sécurité
- Pour une utilisation optimale de l'énergie, veuillez laisser tous les accessoires internes tels que les paniers, les tiroirs, les clayettes sur leur position indiquée par le fabricant.
- Pour optimiser la consommation d'énergie de cet apparéil, laissez l'ensemble des clayettes, tiroirs et bacs dans leur position d'origine.
Mesures pour réduire la consommation d'énergie
- Installez l'appareil dans une piece sèche et fraîche, correctement ventilée.
-
Vérifiez qu'il n'est pas exposé à la lumière directe du soleil et ne le placez jamais à proximité d'une source de chaleur (un radiateur par exemple).
-
Pour obtenir une meilleure efficacité énergétique, il est conseillé de ne pas bloquer les orifices de ventilation ou les grilles de l'appareil.
- Laissez refroidir les aliments chauds avant de les placer à l'intérieur de l'appareil.
- Placez les aliments surgelés dans le réfrigérateur pour les laisser décongeler. Les aliments surgelés peuvent ainsi servir à refroidir les aliments stockés dans le réfrigérateur.
- Veiliez à refermer la porte rapidement lorsque vous mettez des alimentés dans le réfrigérateur ou lorsque vous les en sortez.
- Ceci permet de réduire la formation de glace à l'intérieur du congelateur.
- Nettoyez régulierement l'arrière de votre réfrigérateur. La poussière augmente sa consommation d'énergie.
-
Ne baissez pas inutillement la température interieure.
-
Vérifiez que le système d'évacuation de l'air à la base et à l'arrière du réfrigérateur n'est pas obstrué. Ne recouvre pas les ouvertures de ventilation.
-
Laissez un espace suffisant tout autour de l'appareil (à droite, à gauche, à l'arrière et au-dessus) au moment de l'installation. Ceci vous permettra de réduire sa consommation d'énergie et ainsi vos factures.
-
Nous recommendons le dégagement suivant :
-
À droite, à gauche et à l'arrière : plus de 50 mm
- Au-dessus : plus de 100 mm
Cet apparéil est destiné à être utilisé dans les applications domestiques et similaires telles que :
- les zones de cuisine pour le personnel de magasins, de bureaux et d'autres environnementés de travail ;
- les fermes et clients d'hôts, moteliers et autres environnementés de type résidentiel ;
- les environnements de type « chambres d'hôtes »;
- les applications de restauration et similaires sans vente au détail.
Consignes de sécurité
Symboles d'advertisement importants concernant le transport et le lieu d'installation de l'appareil

AVERTISSEMENT
-
Veillez à ce qu'aucune piece du circuit frigorifique ne soit endommagée pendant le transport ou l'st installation de l'appareil.
-
Risque d'incendie ou de lésions oculaires en cas de fuite de réfrigérant. En cas de fuite, n'approche pas de flamme neue ou de matière potentiellement inflammable et aéréz la piece pendant plusieurs minutes.
- Cét apparéil contient une faible quantité de réfrigérant isobutane (R-600a), un gaz naturel représentant une compatibilité ecologique élevée, mais qui est aussi un combustible. Veillez à ce qu'aucune piece du circuit frigorifique ne soit endommagée pendant le transport ou l'installation de l'appareil.
Avertissements importants concernant l'installation
AVERTISSEMENT
- N'installez pas le réfrigérateur dans un lieu humide ou dans un lieu où il est susceptible d'être en contact avec de l'eau.
- Une dépréciation de l'isolement sur des composants électriques est susceptible de provoquer une électrocution ou un incendie.
- N'installez pas le réfrigérateur dans un endroit exposé à la lumière directe du soleil ou à proximité d'une cuisinière, d'un apparéil de chauffage ou d'autres apparéils.
-
Ne branchez pas plusieurs apparéils sur la même multiprise. Le réfrigérateur doit toujours être branché sur une prise électrique indépendante dotée d'une tension nominale correspondant à cette figurant sur la plaque signalétique du réfrigérateur.
-
Vous obtiendrez de plusieurs résultats et évitezroidement une surcharge des circuits électriques du domicile (risque d'incendie dû à une surchauffe des câbles).
-
Ne branchez pas la fiche d'alimentation dans une prise murale mal fixée.
- Cela risquerait d'entrainer une électrocution ou un incendie.
- N'utilisez pas de cordon d'alimentation craquelé ou endommagé sur sa longueur ou à l'une de ses extrémités.
- Ne pliez pas le cordon d'alimentation à l'excess et ne posez pas d'objets lourds dessus.
- Ne tirez pas ou ne pliez pas excessivement le cordon d'alimentation.
Consignes de sécurité
- Ne tordez pas ou neouvez pas le cordon d'alimentation.
- N'accrochez pas le cordon d'alimentation sur un objet métallique, ne placez pas un objet lourd sur le cordon d'alimentation, n'insérez pas le cordon d'alimentation entre des objets, ou n'enforcez pas le cordon d'alimentation dans l'espace situé derrière l'appareil.
- Lorsque vous déplacez le réfrigérateur, assurez-vous de ne pas endommager ou rouler sur le cordon d'alimentation.
- Risque d'électrocution ou d'incendie.
- Ne débranchez jamais le réfrigérateur en tirant sur le cordon d'alimentation. Maintenez toujours fermement la fiche pour la débrancher de la prise de courant.
- Tout dommage cause au cordon est susceptible d'entrainer un court-circuit, un incendie et/ou une électrocution.
- N'utilisez pas d'aerosols à proximé du réfrigérateur.
- L'utilisation d'aerosols à proximé du réfrigérateur peut provoquer une explosion ou un incendie.
- N'installez pas cet apparéil pres d'une source de chaleur ou d'un matériel inflammable.
- N'installez pas cet apparéil dans un endroit où des fuites de gaz sont susceptibles de se produit.
- Risque d'électrocution ou d'accendie.
-
Ce réfrigérateur doit être correctement situé et installer conformément aux instructions fournies dans leprésent manuel, avant d'être utilisé.
-
Branchez la fiche d'alimentation dans la bonne position, de façon à ce que le cordon pende vers le bas.
-
Si vous branchez la fiche d'alimentation à l'envers, le cable est susceptible de se rompre et de provoquer un incendie ou une électrocution.
Assurez-vous que la fiche d'alimentation n'est pas écrasée ou endommagée par l'arrête du réfrigérateur. -
Gardez les matériaux d'emballage hors de portée des enfants.
-
Il y a un risque d'asphyxie si un enfant place les matériaux d'emballage sur sa tête.
-
N'installez pas cet apparéil dans un lieu humide, huileux ou poussières, ni dans un endroit exposé directement au soleil ou à l'eau (gouttes de pluie).
-
Une dépréciation de l'isolement des composants électriques est susceptible de provoquer une électrocution ou un incendie.
-
Si vous constatiez des traces de poussière ou d'eau dans le réfrigérateur, débranchez la fiche d'alimentation et contactez votre centre de service Samsung Electronics.
-
Sinon, il existe un risque d'incendie.
-
Ne montez pas sur l'appareil et ne placez pas d'objets (tehs que du linge, des bougies allumées, des cigarettestes allumées, de la vaisselle, des produits chimiques, des objets métalliques, etc.) sur celui-ci.
-
Le non-respect de cette consigne risque d'entrainer une électrocution, un incendie, des problèmes avec l'appareil ou des blessures.
Consignes de sécurité
- Vous devez-retirer toutes les pellicules protectrices en plastique avant de brancher l'appareil pour la première fois.
-
Les enfants ne doivent pas jouer ni avec les circlips utilisés pour le réglage de la porte ni avec les clips pour le tuyau d'eau.
-
Il y a un risque d'asphyxie si un enfant avale un circlip ou un clip pour le tuyau d'eau. Tenez les circlips et les clips pour le tuyau d'eau hors de portée des enfants.
Le réfrigérateur doit être correctement mis à la terre.
-
Veillez toujours à ce que le réfrigérateur soit branché à la terre avant de vérifier ou de réparer n'importe celle partie de l'appareil. Les fuites électriques peuvent provoquer des électrocutions graves.
-
N'utilisez jamais de conduits de gaz, de fils téléphoniques ou d'autres éléments susceptibles d'attirer la foudre pour relier l'appareil à la terre.
-
Vous doivent le réfrigerateur à la terre afin d'éviter les fuites électriques ou les électrocutions provoquées par les fuites de courant au niveau de l'appareil.
-
Le non-respect de cette consigne risque d'entrainer une électrocution, un incendie, une explosion ou des problèmes avec l'appareil.
-
Branchez fermement la fiche dans la prise murale. N'utilisez pas de fiche d'alimentation endommagée, de cordon d'alimentation endommagé ou de prise murale mal fixée.
-
Risque d'électrocution ou d'incendie.
-
Le fusible du réfrigérateur doit être changé par un technicien qualifié ou une société de services.
-
Le non-respect de cette consigne est susceptible de provoquer une électrocution ou des blessures corporelles.
Consignes d'installation
ATTENTION
- Laissez un espace suffisant autour du réfrigérateur et installez celui-ci sur une surface plane.
- Si le réfrigérateur n'est pas de niveau, l'efficacité et la durabilité du refroidissement peuvent en être affectées.
- Àprous l'installation et la mise sous tension, laissez l'appareil tourner à vide pendant 2 à 3 heures avant de placer des aliments à l'intérieur.
-
Nous vous recommendons fortement de faire appel à un technicien qualifié ou à une société de services pour installer votre réfrigérateur.
-
Le non-respect de cette consigne risque d'entrainer une électrocution, un incendie, une explosion, des problèmes avec l'appareil ou des blessures.
Consignes de sécurité
Avertissements importants concernant l'utilisation

AVERTISSEMENT
-
Ne branche pas la fiche d'alimentation si vous avez les mains mouillées.
-
Cela pourrait cause une électrocution.
-
N'entreposez pas d'objets sur le dessus de l'appareil.
-
Lors de l'ouverture ou de la fermeture de la porte, les objets pourraient tomber et provoquer des blessures corporelles et/ou des dommages matériels.
-
Ne placez pas vos mains, vos pieds ou des objets métalliques (baguettes, etc.) sous ou derrière le réfrigérateur.
-
Risque d'électrocution ou de blessures.
-
Les bords coupants sont susceptibles de provoquer des blessures corporelles.
-
Ne touchez pas les parois interieures du congélateur ni les produits qui y sont rangés si vous avez les mains mouillées.
-
Risque de gelures.
-
Ne placez pas de écipient rempli d'eau sur le réfrigérateur.
-
En cas de ren versement, cela pourrait entrainer un incendie ou une électrocution.
-
Ne stockez pas d'objets ou de substances volatiles ou inflammables (benzène, diluant, propane, alcohol, éther, GPL et toute autre substance similaire) dans le réfrigérateur.
-
Le réfrigérateur a été créé exclusivement pour le rangement de produits alimentaires.
-
Cela pourrait entraîner un incendie ou une explosion.
-
Il est nécessaire de surveiller les enfants pour s'assurer qu'ils ne jouent pas avec l'appareil.
-
Maintenez les doigts éloignés des zones contenant des « points de pincement ». Le jeu entre les portes et l'armoire doit nécessairement être faible. Soyez attentif lorsque vous ouvre les portes si des enfants se trouvent dans la zone.
-
Ne mettez pas vos doigts et voirlez à ce que les enfants ne mettent pas leurs doigts entre les portes.
- Tenez vos doigts éloignés des intervalles situés à gauche et à droite des portes. Veillez à ne pas avoir les doigts entre les portes avant de les ouvrir.
- Ne laissez pas les enfants se suspendre à la porte de l'appareil ou aux bacs des portes. Ils risqueraient de se blesser.
- Ne laissez pas les enfants entre dans le réfrigérateur. Ils risqueraient de rester emprisonnés.
-
Ne placez pas vos mains sous l'appareil.
-
Les bords coupants sont susceptibles de provoquer des blessures corporelles.
-
Ne rangez pas de produits pharmaceutiques, chimiques ou sensibles aux températures dans le réfrigérateur.
-
Les produits nécessitant un contrôle strict de la température ne doivent pas être entreprises dans le réfrigérateur.
-
Si l'appareil dégage une odeur chimique ou de la fumée, débranchez immédiatement la fiche d'alimentation et contactez votre centre de service Samsung Electronics.
Consignes de sécurité
-
En cas de traces de poussière ou d'eau dans le réfrigérateur, débranchez la fiche d'alimentation et contactez votre centre de service Samsung Electronics.
-
Sinon, il existe un risque d'incendie.
-
Ne laisses pas les enfants monter sur un tiroir.
-
Le tiroir risquérait de se casser et de provoquer leur chute.
-
Ne laissez pas les portes du réfrigérateur ouvertes lorsque l'appareil n'est pas sous surveillance afin d'éviter qu'un enfant ne se glisse à l'intérieur de l'appareil.
-
Ne laissez pas les bébés ou les enfants aller à l'intérieur d'un tiroir.
-
Risque d'étouffement ou de blessures corporelles.
-
Ne replissez pas trop le réfrigérateur en alimentés.
-
Lors de l'ouverture de la porte, un article pourrait tomber et provoquer des blessures corporelles ou des dommages matériels.
-
Ne vaporisez pas de substance volatile telle qu'un insecticide sur la surface de l'appareil.
-
Ces produits peuvent se révélé dangereux pour la santé et risquent en outre de provoquer une électrocution, un incendie ou des problèmes avec l'appareil.
-
Ne mettez jamais les doigts ni d'autres objets dans l'orifice du distributeur d'eau, le conduit d'écoulement et le bac à glaçons.
-
Cela pourrait provoquer des blessures corporelles ou des dommages matériels.
-
N'utilisez pas ni ne placez pas de substances thermosensibles (ex.: pulveriséates ou objets inflammables, glace sèche, médicaments ou produits chimiques) à proximité ou à l'intérieur du réfrigérateur.
-
N'utilisez pas de sèche-cheveux pour secher l'intérieur du réfrigérateur. Ne placez pas de bougie allumée à l'intérieur du réfrigérateur pour éliminer les mauvaises odeurs.
-
Risque d'électrocution ou d'incendie.
-
Remplissez le réservoir d'eau et le bac à glaçons avec de l'eau potable uniquement (eau minérale ou eau purifiée).
-
Ne replissez pas le réservoir avec du thé, du jus de fruits ou des boissons énergisantes car cela risquérait d'endommager le réfrigérateur.
-
Ne montez pas sur l'objet et ne placez pas d'objects (teils que du linge, des bougies allumées, des cigarettes allumées, de la vaiselle, des produits chimiques, des objets métalliques, etc.) sur celui-ci. Le non-respect de cette consigne risque d'entrainer une électrocution, un incendie, des problèmes avec l'objet ou des blessures. Ne placez pas de recipient rempli d'eau sur l'objet.
-
En cas de ren versement, cela pourrait entraîner un incendie ou une électrocution.
-
Ne fixez jamais directement l'ampoule DEL UV pendant une période prolongée.
-
Cela risquerait d'entrainer une fatigue oculaire due aux rayons ultraviolets.
-
Ne placez pas la clayette à l'envers. La butée des clayettes ne fonctionnerait pas.
-
Cela pourrait provoquer des blessures corporelles dues à la chute de la clayette en verre.
Consignes de sécurité
- Maintenez les doigts éloignés des zones contenant des « points de pincement ». Le jeu entre les portes et l'armoire doit nécessairement être faible. Soyez attentif lorsque vous ouvrez les portes si des enfants se trouvent dans la zone.
-
Si une fuite de gaz est détectée, évitez toute flamme nue ou source potentielle d'inflammation et aéréz pendant plusieurs minutes lapiece danslaquelle se trouve l'appareil.
-
Ne touchez pas l'appareil ou le cordon d'alimentation.
- N'utilisez pas de ventilateur.
-
Une étincelle risquérait de provoquer une explosion ou un incendie.
-
Serrez les bouteilles les unes contre les autres pour éviter qu'elles ne tombent.
- Cet apparéil est destiné au rangement des alimentés dans un environnement domestique uniquement.
-
Ne mettez jamais les doigts ni d'autres objets dans l'orifice du distributeur d'eau, le conduit d'écoulement et le bac à glaçons.
-
Cela pourrait provoquer des blessures corporelles ou des dommages matériels.
-
Ne tentez pas de réparer, démonter ou modifier le réfrigérateur vous-même.
- N'utilisezaucun fusible (tel que du cuivre, un cable d'acier, etc.)autre qu'un fusible standard.
-
Si le réfrigérateur doit être réparé ou réinstallé, contactez le centre de service le plus proche.
-
Le non-respect de cette consigne risque d'entrainer une électrocution, un incendie, des problèmes avec l'appareil ou des blessures.
-
Si le réfrigérateur dégage une odeur de brûlé ou de la fumée, débranchez-le immédiatement et contactez votre centre de service Samsung Electronics.
-
Le non-respect de cette consigne risquérait de provoquer un incendie ou une électrocution.
-
Débranchez le réfrigérateur avant de remplaçer les lampes interieures.
- Sinon, il pourrait y avoir un risque d'électrocution.
- Contactez notre centre de service Samsung si vous éprouvez des difficultés à remplacer une ampoule (qui n'est pas une DEL).
- Branchez fermement la fiche dans la prise murale.
-
N'utilisez pas de fiche d'alimentation endommagée, de cordon d'alimentation endommagé ou de prise murale mal fixée.
-
Risque d'électrocution ou d'incendie.
Consignes de sécurité
Consignes d'utilisation

ATTENTION
-
Ne recongelez pas des alimentés décongelés.
-
Les aliments surgelés et décongelés développement des bacteriées nocives plus rapidement que les aliments frais.
-
Une deuxieme décongélation détruit davantage de cellules, extrayant ainsi l'humidité des aliments et modifier leur intégrité.
-
Ne décongelez pas de la viande à température ambiente.
-
L'opération est sans risque pour la santé si le produit cru a été manipulé correctement.
-
Ne placez pas de bouteilles en verre ni de boissons gazeuses dans le congélateur.
-
Le écipient peut geler et se briser, ce qui peut entraîner des blessures.
Utilisez uniquement la machine à glaçons fournie avec le réfrigérateur.
-
Si vous vous absentez durant une longue période (pour des vacances par exemple) et savez que vous n'utiliserez pas le distributeur d'eau ou de glaçons, fermez le robinet d'adduction d'eau,
-
afin d'éviter tout risque de fuite.
-
Si vous savez que vous n'utiliserez pas le réfrigérateur durant une longue période (3 semaines ou plus), videez-le ainsi que le bac à glaçons et débranchez-le. Fermez la vanne d'acciviée d'eau, essuyez l'excedent d'humidité à l'intérieur et laissez les portes ouvertes afin d'éviter la formation d'odeurs et de moissures.
Pour un fonctionnement optimal de l'appareil :
- Ne placez pas d'aliments trop pres des orifices de ventilation à l'arrière de l'appareil car ils pouraient empêcher la libre circulation de l'air dans la partie réfrigérateur.
- Emballez bien les aliments ou mettez-les dans des recipients hermétiques avant de les placer dans le réfrigérateur.
- Respectez les durées de stockage maximales et les dates de péremption associées aux alimentés surgelés.
-
Il n'est pas nécessaire de débrancher le réfrigérateur lorsque vous vous absentez moins de trois semaines. Cependant, si vous vous absentez pendant plus de trois semaines, retirez les alimentés de l'appareil et la glace se trouvant dans le bac à gaçons et débranchez le réfrigérateur. Fermez la vanne d'acciviée d'eau, essuyez l'excedent d'humidité à l'intérieur et laissez les portes ouvertes afin d'éviter la formation d'odeurs et de moisissures.
-
Garantie de réparation et modification
-
Les changements et modifications apportés à cet apparéil fini par un tiers ne sont pas couverts par le service de garantie Samsung. Samsung ne peut être tenue responsable des problèmes de sécurité résultat des modifications apportées par un tiers.
Consignes de sécurité
-
N'obstruéz pas les orifices de ventilation à l'intérieur du réfrigérateur.
-
Si les orifices de ventilation sont obstrués, notamment par un sac en plastique, le réfrigérateur risque de trop refroidir. Une période de refroidissement trop longue risque d'endommager le filtré à eau et de provoquer des fuites.
Utilisez uniquement la machine à glacons fournie avec le réfrigérateur.
- Essuyez l'exçédent d'humidité à l'intérieur et laissez les portes ouvertes.
-
Le non-respect de cette consigne pourrait engendrer le développement d'odeurs et de moisissure.
-
Si le réfrigérateur est débranché de la prise d'alimentation, patientez au moins cinq minutes avant de le rebrancher.
- Si le réfrigérateur est mouillé par de l'eau, débranche la fiche d'alimentation et contactez votre centre de service Samsung Electronics.
-
Ne frappez pas et n'exercez pas de force excessive sur une surface en verre.
-
Du verre brisé pourrait entrainer des blessures corporelles et/ou des dégâts matériels.
-
Remplissez le réservoir et le bac à glaçons d'eau potable uniquement (eau du robinet, eau minérale ou eau purifiée).
-
Ne replissez pas le réservoir avec du thé ou une boisson énergisante. Cela pourrait endommager le réfrigérateur.
Veillez à ne pas vous pincer les doigts.
- En cas d'inondation, si votre apparéil est entré en contact avec de l'eau, contactez le centre de service le plus proche. - Risque d'électrocution ou d'incendie.
-
Ne conservez pas d'huile végétale dans les bacs de la porte de votre réfrigérateur. L'huile peut se solidifier, ce qui peut lui donner un mauvais goût et la rendre difficile à utiliser. De plus, le écipient ouvert risque de fuir et la fuite d'huile peut créé une fissure dans le bac de la porte. ÀpRES avoir ouvert un écipient d'huile, le mistrix est de le conserver dans un endroit frais et à l'abri du soleil, par exemple dans un placard ou un cellier.
-
Exemples d'huile végétale : huile d'olive, huile de mais, huile de pépins de raisin, etc.
Consignes de sécurité
Consignes de nettoyage

ATTENTION
-
Ne vaporisez pas directement de l'eau à l'intérieur ou à l'extérieur du réfrigérateur.
-
Risque d'incendie ou d'électrocution.
-
N'utilisez pas de sèche-cheveux pour secher l'intérieur du réfrigérateur.
-
Ne placez pas de bougie allumée à l'intérieur du réfrigérateur pour en éliminer les mauvaises odeurs.
-
Risque d'électrocution ou d'incendie.
-
Ne vaporisez pas de produit de nettoyage directement sur l'écran.
-
Les caractères imprimés risqueraient de s'effacer.
-
Lorsqu'un corps étranger tel que de l'eau a PENtré dans l'appareil, débranchez la fiche d'alimentation et contactez votre centre de service le plus proche.
-
Le non-respect de cette consigne est susceptible de provoquer un incendie ou une électrocution.
Utilisez un chiffon propre et sec pour éliminer toute poussière ou corps étranger des lames de la fiche d'alimentation. N'utilisez pas de chiffon mouillé ou humide lors du nettoyage de la fiche.
-
Sinon, il pourrait y avoir un risque d'incendie ou d'électrocution.
-
Ne nettoyez pas l'appareil en vaporisant de l'eau directement dessus.
-
N'utilisez pas de benzène, de diluant, de Clorox ou de chlorure pour le nettoyage.
-
Ces produits risquent d'endommager la surface de l'appareil et de provoquer un incendie.
-
Ne mettez jamais les doigts ni d'autres objets dans l'orifice du distributeur.
-
Cela pourrait provoquer des blessures corporelles ou des dommages matériels.
-
Débranche l'appareil de la prise murale avant de le nettoyer et d'en faire la maintenance.
-
Le non-respect de cette consigne est susceptible de provoquer un incendie ou une électrocution.
Utilisez une éponge propre ou un chiffon doux et un produit de nettoyage doux avec de l'eau tiège pour nettoyer le réfrigérateur.
-
N'utilisez pas de produits de nettoyage abrasifs ou concentrates, tels que des produits à vitre, des produits à recycler, des liquides inflammables, de l'acide chlorhydrique, des cires nettoyantes, des détergents concentrés, de la Javel ou des produits de nettoyage contenant des produits pétroliers, sur les surfaces extérieures (portes et meuble), les pieces en plastique, les revêtements de la porte et de l'intérieur, ainsi que les joints.
-
Vous risqueriez de rayer ou d'endommager le matériel.
-
Ne nettoyez pas les caches ou les clayettes en verre avec de l'eau tiède lorsqu'ils sont froids. Les caches et les clayettes en verre risquent de se casser s'ils sont exposés à des variations soudaines de température ou à des impacts (chocs ou chutes).
Avertissements importants concernant la mise au rebut
AVERTISSEMENT
- Veuillez jeter le matériel d'emballage de cet apparéil dans le respect de l'environnement.
Assurez-vous qu'aucun des tuyaux situés à l'arrête du réfrigerateur n'est endommagé avant sa mise au rebut. - Le gaz réfrigérant utilisé est le R-600a ou R-134a. Vérifiez le gaz réfrigérant utilisé dans votre réfrigérateur sur l'étiquette du compresseur située à l'arrière de l'appareil ou sur l'étiquette signalétique située à l'intérieur du réfrigerateur. Si ce produit contient du gaz inflammable (gaz réfrigérant R-600a), veuillez contacter les autorités locales pour obtenir des renseignements sur la mise au rebut en toute sécurité de cet apparéil.
-
Lors de la mise au rebut de ce réfrigérateur, retirez la porte/les joints de porte ainsi que le loquet de la porte afin que des petits enfants ou des animaux ne puissant pas se retrouver enfermés à l'intérieur. Il est nécessaire de surveiller les enfants pour s'assurer qu'ils ne jouent pas avec l'appareil. Un enfant risquerait de se retrouver emprisonné à l'intérieur, de se blesser ou de s'asphyxier.
-
Les enfants risqueraient de se retrouver emprisonnés à l'intérieur, de se blesser et de s'asphyxier.
-
Du cyclopentane est utilisé comme isolant. Les gaz utilisés pour l'isolement nécessitent une procédure d'élimination spéciale. Pour savoir commentmettre cet appeareil au rebut dans le respect de l'environnement, veuillez contacter les autorités locales.
-
Conservez tous les matériaux d'emballage hors de portée des enfants, car ilsprésent un danger pour ces derniers.
-
Un enfant pourrait s'asphyxier s'il met sa tête dans un sac.
Conseils complémentaires pour une utilisation appropriée
-
En cas de coupure de courant, appelez le bureau local de votre fournisseur d'électricité afin de connaître la durée prévue de la coupure.
-
La plupart des coupures de courant qui sont corrigées dans l'heure ou dans les deux heures qui suivent n'affectent pas les températures du réfrigérateur.
Cependant, il est recommandé de limiter le nombre d'ouvertures de la porte pendant l'absence de courant.
-
Si la coupure de courant dure plus de 24 heures, retirez et jetez tous les alimentés surgelés.
-
Le réfrigérateur pourrait ne pas fonctionner d'une manière constante (possibilité de décongélation des aliments surgelés ou de hausse trop importante de la température à l'intérieur du compartment d'aliments surgelés) s'il est placé pendant une période prolongée dans des pieces dont la température ambiante est constamment en dessous des températures pour lesquelles il a été consu.
-
En cas de présence d'aliments particuliers, les conserver réfrigerés peut avoir un effet négatif sur leur conservation en raison de leurs propriétés.
Consignes de sécurité
- Voiture apparéil est équipé de la fonction de dégivrage automatique, ce qui peut dire que vous n'avez pas besoin de le dégivrer manuellement. Le dégivrage se fera automatiquement.
- L'augmentation de la température pendant le dégivrage resté conforme aux normes ISO. Si vous souhaitez éviter toute augmentation excessive de la température des alimentés surgelés pendant le dégivrage de l'appareil, emballez-les dans plusieurs couches de papier (un journal par exemple).
- Ne recongelez pas un aliment qui a complètement décongelé.
Instructions concerning la règlementation DEEE


Les bons gestes de mise au rebut de ce produit (Déchets d'équipements électriques et électroniques)
(Applicable aux pays disposant de systèmes de collecte séparés)
Ce symbole sur le produit, ses accessoires ou sa documentation indique que ni le produit, ni ses accessoires électroniques usages (chargeur, casque audio, cable USB, etc.) ne peuvent être jetés avec les autres déchets menagers. La mise au rebut incontrolée des déchets représentant des risques environnementaux et de santé publique, veuillez séparer vos produits et accessoires usages des autres déchets. Vous favoriserez ainsi le recyclage de la matière qui les compose dans le cadre d'un développement durable.
Les particuliers sont invités à contacter le magasin leur ayant vendu le produit ou à se renseigner auprès des autorités locales pour connaître les procédures et les points de collecte de ces produits en vue de leur recyclage.
Les entreprises et particuliers sont invités à contacter leurs fournisseurs et à consulter les conditions de leur contrat de vente. Ce produit et ses accessoires ne peuvent être jetés avec les autres déchets.
Pour plus d'informations sur les engagements de Samsung en matière d'environnement et les obligations légales relatives à l'appareil (par exemple, la directive REACH ou celles portant sur les DEEE et les batteries), consultez notre page relative au développement durable accessible via www.samsung.com.
(Uniquement pour les apparèils commercialisés dans les pays européens et au Royaume-Uni)


Cet apparel se recycle


Points de collecte sur www.quefairedemesdechets.fr
Privilégiez la réparation ou le don de votre apparéil !

ELEMENTS
D'EMBALLAGE
+ LIVRET
+FEUILLE

Séparez les éléments avant de trier
Installation
Avant toute utilisation, respectez scrupuleusement ces consignes pour assurer une installation adequate du réfrigerateur et éviter les accidents.
AVERTISSEMENT
N'utilise ce réfrigérateur que conformément à l'utilisation auquel il est destiné, tel que décrit dans ce manuel.
- Toute opération d'entretien doit être effectuee par un technicien qualifie.
- Mettez au rebut les matériaux d'emballage de l'appareil conformément aux règlementations locales.
- Pour éviter tout risque d'électrocution, débranche le cordon d'alimentation avant tout entretien ou remplacement.
Présentation rapide du réfrigérateur
L'apparance réelle et les pièces fournies avec le réfrigérateur peuvent varier en fonction du modèle et du pays.


01Grille et clayette *
02 Clayette du réfrigerateur / clayette piante
03 Fraicheur optimale+
04 Fraîcheur humide*/ Fraîcheur humide+
05 Bac du congélateur
06 Clayette du congelateur
07 Bac de la porte du réfrigerateur
08 Reservoir d'eau
- modèles applicables uniquement
**modeles avec distributeur uniquement
REMARQUE
Pour une efficacité energetique optimale, veillez à ce que l'ensemble des clayettes, des tiroirs et des paniers soient placés dans leur position d'origine.
Pour oblir plus de place, you pouze retirer tous les tiroirs et placer la « Clayette du congelateur » (modles applicables uniquement) sur le tiroir inférieur du congelateur, car cela n'effecte pas les caractéristiques thermiques et mécaniques de l'appareil. Le volume de stockage nominal du compartment d'aliments surgelés est calculé sans ces tiroirs.
- Une alarme retentit si la porte du concélateur est ouverte de plus de 4 degrés pendant plus de 2 minutes. Fermez la porte du concélateur lorsque vous entendez une alarme. (modèles RB38ABA, RB38AB*B, RB38AB3** unquèment)
Installation étape par étape
ÉTAPE 1 Choisir un site d'installation
Exigences relatives au site :
surface solide et plane sans moquette et sans revetement de sol pouvant obstruer la ventilation ;
- emplacement éloigné de la lumière directe du soleil ;
espace adequat pour ouvrir et fermer la porte ;
- emplacement éloigné d'une source de chaleur ;
- espace suffisant pour effectuer des travaux de maintenance et d'entretien ;
- plaque de températures : entre 10^ et 43^ .

Installation
Dégagement
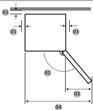
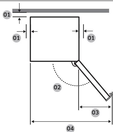
Pour connaître les exigences en matière d'espace d'installation, reportez-vous aux illustrations et tableaux suivants.


| Modèle | Avec poignée encastrée | Avec poignée barre | Sur mesure | |||||
| RB34T* | RB36T* | RB38T* | RB34T* | RB36T* | RB38T* | RB34A* | RB38A* | |
| RB3CT* | RB3DT* | RB3ET* | RB3DT* | RB3DT* | RB3ET* | RL34A* | RL38A* | |
| RL34T* | RL36T* | RL38T* | RL38C* | RL36T* | RL38T* | RB34C* | RB38C* | |
| RB33B* | RB36C* | RB38C* | RL34C* | RL38C* | ||||
| RB34C* | RL36C* | RL38C* | ||||||
| Profondeur « A » | 658 | 720 | 658 | |||||
| Largeur « B » | 595 | 595 | 595 | |||||
| Hauteur totale « C » | 1 853 | 1 935 | 2 030 | 1 853 | 1 935 | 2 030 | 1 853 | 2 030 |
(unit : mm)




| Modèle | Avec poignée encastrée | Avec poignée barre | Sur mesure |
| 01 | Recommendation : supérieur à 50 mm | Recommendation : supérieur à 50 mm | Recommendation : supérieur à 50 mm |
| 02 | 135° | 135° | 105° |
| 03 | 404 | 433 | 191 |
| 04 | 999 | 1 028 | 786 |
| 05 | 595 | 595 | 595 |
| 06 | 6 | 6 | 0 |
| 07 | 1 210 | 1 217,5 | 1 207 |
(unit : mm)
REMARQUE
Les mesures fournies dans le tableau peuvent varier en fonction de la méthode de mesure.
Installation
ÉTAPE 2 Espacement (modèles applicables uniquement)
REMARQUE
Le nombre d'entreprises fournies varie en fonction du modele. Installez toutes les entreprises fournies.


- Ouvrez la porte et repérez l'entretoise fournie (bloc gris).
-
Deballez l'entretoise et fixez-la à l'arrière du réfrigerateur comme indiqué. Elle permet d'aérer la paroi arrêté et d'économiser l'énergie.
-
Installez l'entretoise (A, éponge) et l'entretoise (B, éponge) comme illustré pour garantir une efficacité énergétique optimale.
ATTENTION
- Si le réfrigerateur n'est pas aligné avec le meuble, vous pouvez couper les entreprises pour que le réfrigerateur soit aligné avec le meuble, mais il ne sera pas possible de garantir une efficacité énergétique optimale.
- Lors de l'installation du réfrigerateur, assurez-vous que les entreprises installées sont en contact avec le mur.
ÉTAPE 3 Sol

- La surface d'installation doit supporter le poids d'un réfrigerateur plein.
Pour protegger le sol, placez un grand morceau de carton sur chaque pied du réfrigerateur. - Lorsque le réfrigerateur se trouve dans sa position finale, ne le déplacez plus sauf si cela est nécessaire pour protéger le sol. Si nécessaire, utilisez du papier ou du tissu épais (par exemple un morceau de vieille moquette) le long du chemin de transport.
ÉTAPE 4 Réglage des pieds de mise à niveau
ATTENTION
- Le réfrigerateur doit être mis de niveau sur un sol plat et solide. Le non-respect de cette consigne peut entrainer l'endommagement du réfrigerateur ou des blessures corporelles.
Pourmettrele frigigerateur de niveau,ce dernier doit etre vide.Assurez-vous qu'il ne restecaucun alimenta l'intérieur du frigigerateur.
Pour des raisons de sécurité, le cote avant doit être légrement plus relevant que le cote arrêté.
Le réfrigerateur peut être mis de niveau à l'aide des pieds avant qui disposent d'une vis spéciale (vis de mise à niveau) permettant demettre le réfrigerateur de niveau. Utilisez un tournevis à tete plate pourmettre le réfrigerateur de niveau.

Pour ajuster la hauteur cote gauche :
Insérez un tournevis à tête plate dans la vis de mise à niveau du pied avant gauche. Faites-la tourner dans le sens horsaire pour le remonter ou dans le sens antihoraire pour l'abaisser.

Pour ajuster la hauteur cote droit :
Insérez un tournevis à tête plate dans la vis de mise à niveau du pied avant droit. Faites-la tourner dans le sens horsaire pour le remonter ou dans le sens antihoraire pour l'abaisser.
Installation
ÉTAPE 5 Réglages initiaux
En effetuant les étapes suivantes, le réfrigerateur doit fonctionner entièrement.
- Retirez la feuille de mousse PE à chaque coin de la clayette, qui est attachée pour protégger le réfrigerateur pendant le transport.
- Branchez le cordon d'alimentation dans la prise murale pour allumer le réfrigérateur.
- Ouvrez la porte et vérifie si l'éclairage à l'intérieur s'allume.
- Reglez la température sur la valeur la plus BASSE et patientez une heures. Le réfrigerateur est légarement réfrigéré et le moteur tourne doucement.
- Attendez jusqu'à ce que le réfrigerateur atteigne la température régée. Le réfrigerateur est désormais prét à l'emploi.
REMARQUE
Une fois le réfrigerateur mis sous tension, une alarmé retentit. Pour arrêtier l'alarme, appuyez sur < , ou > .
ÉTAPE 6 Alarme de température (modèles applicables uniquement)

- Si la température du congélateur est trop élevé suite à une coupure de courant, l'écran clignote comme illustré.
Si vous appuyez sur l'un des boutons (<, O ou >), la « température la plus élevée » atteinte dans le compartment du congeilateur et du réfrigerateur clignote à l'écran pendant 5 secondes.
-
Cette alarme peut se déclencher :
-
lorsque l'appareil est allumé pour la première fois après son installation ;
lorsque le congélateur se réchauffe suite à une panne de courant.
Lorsque l'installation est terminée, vérifie les points suivants :
Le réfrigerateur est branché sur une prise électrique et correctement mis à la terre.
Le réfrigerateur est installé sur une surface plane et de niveau, à une distance suffisante du mur ou du meuble.
Le réfrigerateur est de niveau et positionné fermement au sol.
- La porte s'ouvre et se ferme sans problèmes et l'éclairage interieur s'allume automatiquement dés que vous ouvrez la porte.
Panneau principal (modèles applicables uniquement)
L'apparce réelle de votre panneau principal peut être différente de celle illustrée et la conception du panneau principal est soumise à modification sans préavis.
Type bouton

Type A

Type B

Type C

Type D
01 Voyant Refrigerateur
- Affiche la température actuelle ou souhaïée du réfrigérateur.
indique que la fonction Refroidissement rapide est activée.
indique que la fonction Absence est activée. - L'icone apparait si vous activez l'AI Energy Mode sur l'application SmartThings. (modèleles applicables uniquement)
02 Voyant Congélateur
- Affiche la température actuelle ou souhaitée du congélateur.
indique que la fonction Congélation rapide est activée.
03 Indicateur d'ouverture de la porte
Cet indicateur clignote accompagné d'une alarme si la porte est laissée ouverte pendant plus de 2 minutes.
04 Boutons
Lorsque l'écran est éteint, appuyez sur n'importe quel bouton pour le rallumer.
- Utilisez le bouton pour sélectionner le réfrigerateur ou le congélateur et le bouton < ou > pour sélectionner la température ou la fonction souhaïée pour le compartment选拔né.
05 Témoin de connexion au réseau
- Cette icône indique que le réfrigerateur est connecté à un réseau.
Si l'icone de connexion Wi-Fi clignote, nous vous recommendons de connecter votre réfrigerateur à l'application SmartThings. Vous pouvez commander et surveiller votre réfrigerateur sur l'application SmartThings. Pour en savoir plus, reportez-vous à la section SmartThings (modèles applicables uniquement).
REMARQUE
- Le panneau de commande est concu pour rester eteint lorsque le réfrigérateur n'est pas utilise. Il s'active et s'allume uniquement lorsque vous ouvre la porte ou appuyez sur les boutons.
Opérations
- Si la porte est laissée ouverte pendant 5 minutes, l'éclairage interieur clignote pendant 5 minutes puis s'éteint. Le but est d'indiquer aux utilisateurs malentendants qu'une porte est ouverte. Veuillez notes que ce comportement de l'appareil est tout à fait normal.
Réglage de la température ou fonction souhaitation
- Appuyez sur l'un des boutons ( <, ou > ) pour rallumer l'écran. Il est possible que cette étape ne s'applique pas à certains modèles.
- Appuyez sur pour selectionner le refrigerateur ou le congelateur. L'indicateur du compartmentement selectionné clignote. Le symbole des degrés Celsius (°C) ne clignote pas.
- Appuyez sur < ou sur > pour sélectionner la température ou la fonction souhaitée.
- Reportez-vous au tableau pour connaître la sélection disponible pour chaque département.
| Fridge (Réfrigérateur) | • Sélection disponible : (Refroidissement rapide) ↔ 1 °C ↔ 2 °C ↔ 3 °C ↔ 4 °C ↔ 5 °C ↔ 6 °C ↔ 7 °C ↔ (Absence) • La fonction Refroidissement rapide accélère le processus de refroidissement avec le ventilateur à vitesse maximale. Le réfrigerateur continue de fonctionner à vitesse maximale pendant deux heures et demie, avant de revenir à la température précédente. • Utilisez la fonction Absence si vous partez en vacances ou en voyage d'affaires ou si vous n'avez pas besoin d'utiliser votre réfrigerateur pour une période prolongée. La température du réfrigerateur peut être maintainue en dessous de 17 °C, mais le conGPLateur reste actif selon le réglage précédent. |
Freezer (Congélateur)
- Sélection disponible :
[Type A, C] : (Congélation rapide) -23^ -22^ -21^ -20^ 19^ -18^ -17^ -16^ -15^ [Type B, D] : (Congélation rapide) -23^ -22^ -21^ -20^ 19^ -18^ -17^ -16^ -15°C Soft Freeze (Congélation douce) (-5^) Chill (Réfrigération) (-1^) Fridge (Réfrigerateur) (2^) -
La fonction Congélation rapide accélère le processus de congélation avec le ventilateur à vitesse maximale. Le congélateur fonctionne à vitesse maximale durant 50 heures avant de revenir à la température précédente. Pour congeler une grande quantité d'aliments, activez la fonction Congélation rapide au moins 20 heures avant de placer les alimentés dans le congélateur.
Description des modes du congelateur (pour le type B, D uniquement) -
Congélation douce (-5 °C): pour stocker de la viande ou du poisson frais avant une décongélation appropriée.
- Réfrigération (-1 °C): idéal pour stocker de la vande et des produits de la mer frais.
Réfrigérateur (2^) : pour conserver des fruits et légumes.
ATTENTION (pour le type B, D uniquement)
- Si vous reglez le mode Freezer (Congélateur) sur Soft Freeze (Congélation douce), Chill (Réfrigération) ou Fridge (Réfrigerateur), la température de congélateur augmentera et les alimentés stockés risquent de produit du jus lorsqu'ils commenceront à décongerer.
- Ne placez pas de viande ou de poisson pendant une période prolongée en mode Soft Freeze (Congélation douce) ou Chill (Réfrigération). Ilis risqueraient de s'abimer car la température avec ces modes n'est pas appropriée pour conserver de la viande ou du poisson pendant une longue période.
REMARQUE
Lorsque vous utilisez cette fonction, la consommation d'énergie du réfrigerateur augmente. N'oublié pas de la désactiver lorsque vous n'en avez plus besoin et de régler à nouveau la température d'origine.
- Attendez que levoyant du compartmentéselectionné cesse de clignoter, ou appuyez sur O pour confirmer voire selection.
REMARQUE
L'utilisation de la fonction Refroidissement rapide ou Congélation rapide augmente la consommation électrique.
Opérations
Activation ou déactivation de la connexion Wi-Fi (modèles applicables uniquement)
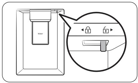
Pour activer ou désactiver la connexion Wi-Fi, maintenez le bouton > enforcé pendant 10 secondes. L'écran affiche alors l'état de la connexion Wi-Fi pendant 5 secondes ( comme indiqué sur l'illustration).

Connexion Wi-Fi activée

Connexion Wi-Fi désactivée
REMARQUE
- Lorsque vous configurez la connexion Wi-Fi pour pouvoir connecter le réfrigérateur à l'application SmartThings, la fonction Activation/Désactivation de la connexion Wi-Fi s'active.
Pour en savoir plus, reportez-vous à la section SmartThings (modèleles applicables uniquement).
Type molette
Réfrigerateur / Congélateur
Pour garantir des performances optimes, nous recommendons de régler la température sur « 3 ». À l'aide de la molette de commande Réfrigerateur / Congélateur, sélectionnez la température prérégée souhaïée pour le réfrigerateur et le congélateur. Reportez-vous au tableau en dessous de la molette pour connaître la température prérégée pour chaque niveau.

Pour baisser la température pour un refroidissement renforcé, réglez la molette de contrôle de la température sur le niveau 4 ou 5.
Pour augmenter la température pour un faisible refroidissement, réglez la molette de contrôle de la température sur le niveau 1 ou 2.
ATTENTION
- En hiver, ne reglez pas la molette de contrôle de la température sur le niveau 4 ou 5. Cela risquerait d'affector les performances de refroidissement.
- En été, ne reglez pas la molette de contrôle de la température sur le niveau 1 ou 2. Cela risquerait également d'affector les performances de refroidissement.
Opérations
Absence
Si vous partez en vacances ou en voyage d'affaires ou si vous n'avoz pas besoin d'utiliser votre réfrigerateur pour une période prolongée, utilisez le mode Absence.

Pour activer le mode Absence, tournez la molette de commande Refrigerateur / Congélateur sur 2. La température du réfrigerateur sera régulée pour rester en-dessous de 15^ et celle du congélateur sera régulée pour rester en dessous de -19^ .
REMARQUE
Il est fortement conseilé de vider le compartment du réfrigérateur et de s'assurer que la porte est fermée.
SmartThings (modèles applicables uniquement)
Installation
Rendez-vous sur Google Play Store, Galaxy Apps ou Apple App Store et recherche « SmartThings ». Téléchargez et installez l'application SmartThings fournie par Samsung Electronics sur votre apparéil intelligent.
REMARQUE
- La version du logiciel de soutien de l'application SmartThings est soumise à modifications en fonction de la politique de prise en charge du système d'exploitation fournie par le fabricant. En outre, comme pour l'application SmartThings ou les fonctions prises en charge par l'application, la nouvelle politique de mise à jour de l'application sur la version existante du système d'exploitation est susceptible d'être suspendue pour des raisons d'utilité ou de sécurité.
- L'application SmartThings est soumise à modification sans préavis pour en améliorer l'utilisation ou les performances. Étant donné que la version du système d'exploitation du téléphone portable est mise à jour chaque année, l'application SmartThings est également mise à jour en permanence en fonction du dernier système d'exploitation. Pour toute question concernant les éléments mentionnés ci-dessus, veuillez nous contacter à l'adresse st.service@samsung.com.
- Les systèmes de codage recommendés incluent WPA/TKIP et WPA2/AES. Tous les protocoles d'authentication par connexion Wi-Fi plus récents ou non standard ne sont pas pris en charge.
- Les reseaux sans fil peuvent être affectés par l'environnement de communication sans fil autour.
- Si vous fournisseur de services Internet a enregistré l'adresse MAC de votre ordinateur ou de leur modem à des fins d'identification, il est possible que votre réfrigérateur intelligent Samsung ne parvienne pas à se connecter à Internet. Si c'est le cas, prenez contact avec votre fournisseur de services Internet pour bénéficier d'une assistance technique.
- Les paramètres de pare-feu de votre système réseau peuvent empêcher vos réfrigérateur intelligent Samsung d'acceder à Internet. Prenez contact avec votre fournisseur de services Internet pour bénéficier d'une assistance technique. Si ce symptôme persiste, prenez contact avec un centre de service Samsung local ou un revendeur.
- Pour configurer les paramètres du point d'accès sans fil, reportez-vous au manuel d'utilisation du point d'accès (routeur).
- Les réfrigerateurs intelligents Samsung prennet en charge la connexion Wi-Fi 2,4 GHz avec les protocôtes IEEE 802.11 b/g/n et Soft-AP. (Le protocôcle IEEE 802.11 n est recommendé.)
- Les routeurs Wi-Fi sans fil non autorisés peuvent ne pas parvenir à se connecter aux réfrigérateurs intelligents Samsung applicables.
Opérations
Compte Samsung
Vou devez creer voire compte Samsung pour pouvoir utiliser l'application. Si vous n'avez pas de compte Samsung, suivez les instructions affichees sur I'ecran de I'application pour creer un compte Samsung gratuite.
Pour commencer
Allumez l'appareil que vous souhaitez connecter, ouvre l'application SmartThings sur votre téléphone, puis suivez les instructions ci-dessous.
Si une fenêtre contextuelle apparait en indiquant qu'un nouvel apparéil a été détecté, appuyez sur ADD NOW (AJOUTER MAINTENANT).
En l'absence de fenêtre contextuelle, appuyez sur le bouton +, puis sélectionnez l'appareil que vous souhaitez connecter dans la liste des appareils disponibles.
Si vous appareil ne figure pas dans la liste des apparéils disponibles, appuyez sur Supported Devices (Appareils pris en charge), Sélectionné le type d'appareil, à savoir Refrigerator (Réfrigérateur) et sélectionné le modèle d'appareil spécifique.
Pour configurer votre appareil, suivez les instructions affichées dans l'application. Une fois la configuration terminée, votre réfrigérateur apparait sous forme de « carte » sur l'écran de vos Devices (Appareils).
Application Refrigerateur
Commande intégrée
Vous pouze surveiller et contrcler voyage réfrigerateur chez vous et lorsque vous est en déplacement.
- Appuyez sur l'icone du réfrigerateur sur le Tableau de bord SmartThings, ou appuyez sur l'icone Devices (Appareils) en bas du Tableau de bord, puis appuyez sur la « carte » du réfrigerateur pour ourir la page Refrigerator (Réfrigerateur).
- Vérifiez l'état de fonctionnement ou l'absence de notifications relatives à votre réfrigérateur, puis modifiez des options ou réglages si nécessaire.
REMARQUE
Certaines options ou certains réglages du réfrigerateur peuvent ne pas être disponibles pour la commande à distance.
| Catégorie | Élément | Description |
| Contrôle | Température du réfrigérateur | Affiche le réglage de température actuel du réfrigérateur. |
| Température du congélateur | Affiche le réglage de température actuel du congélateur. | |
| Contrôle de la consommation d'énergie | Vérifie la consommation d'énergie cumulée du réfrigérateur sur les 180 derniers jours. | |
| Fonctions | Refroidissement rapide | You pouvez activer ou désactiver la fonction Refroidissement rapide et vérifier les régages actuels. |
| Congélation rapide | You pouvez activer ou désactiver la fonction Congélation rapide et vérifier les régages actuels. | |
| Alarmes | Température anormalement élevé | Cette alarme se déclenché lorsque le réfrigérateur ou le congélateur présente une température anormalement élevé. |
| Ouverture de la porte | Cette alarme se déclenché lorsque la porte du réfrigérateur ou du congélateur reste ouverte pendant plus de 2 minutes. | |
| AI Energy Mode (modèles applicables uniquement) | You pouvez activer ou désactiver l'AI Energy Mode dans le menu Energy de l'application SmartThings. You pouvez vérifier le statut de l'AI Energy Mode sur l'application SmartThings. Sur certains modèles, l'odore apparait sur le panneau principal pour indiquer que l'AI Energy Mode est activé. (modèles applicables uniquement) La désactivation de l'AI Energy Mode permet de réduire la consommation d'énergie, mais elle peut également déterminer les performances de refroidissement. | |
Opérations
Fonctions speciales
L'apparance réelle et les fonctions spéciales de votre réfrigérateur peuvent varier en fonction du modèle et du pays.
Distributeur d'eau (modèlees applicables uniquement)
Grâce au distributeur d'eau, vous pouvez vous servir de l'eau sans ouvrir la porte du réfrigerateur. Le réservoir d'eau doit être rempli d'eau potable avant toute utilisation.
Pour replir d'eau potable le réservoir d'eau
Ouvrez la porte et localisez le réservoir d'eau situé dans la zone à clayettes de la porte.

- Tenez les poignées sur les deux côtés du réservoir d'eau et souvevez pour le retarder.

- Remplissez le réservoir d'eau de 3,5 litres d'eau potable (MAXIMUM). Vous pouvez-retirer soit le bouchon supérieur, soit le cache pour verser de l'eau.

ATTENTION
Le distributeur d'eau est concu pour delivrer de l'eau potable. Remplissez d'eau potable le réservoir d'eau. Ne le remplissez pas d'un autre liquide.
- Ne replissez pas le réservoir d'eau de manière excessive, sinon il risque de déborder.
REMARQUE
Lors de la première utilisation, nettoyez l'intérieur du réservoir d'eau.


-
Réinsérez le réservoir d'eau et fermez la porte. Assurez-vous que la sortie d'eau du réservoir d'eau soit orientée vers l'avant.
-
Posez un verre d'eau sous la sortie d'eau du distributeur, et poussez légèrement le levier du distributeur pour faire s'écouler l'eau. Assurez-vous que le distributeur d'eau est déverrouillé.
ATTENTION
- N'entreposez pas d'objets sur le cache du réservoir d'eau.
N'essayez pas de replir le réservoir d'eau sans le retirer de la porte.
Assurez-vous que le réserve d'eau est correctement installé. - N'utilise pas le réfrigerateur sans le réserve d'eau. Cela peut réduire l'efficacité et la performance.
Pour éviter toute éclaboussure, assurez-vous que le verre est aligné avec le levier du distributeur.
REMARQUE
Pour un gain de place, vous pouvez utiliser le réservoir d'eau pour stocker des alimentés. Dans ce cas, retirez le couvercle du réservoir.
Opérations
Fraîcheur optimale+ (modèles applicables uniquement)

Le tiroir Fraîcheur optimale+ vous permet de diviser la zone en deux zones distinctes à l'aide de la séparation flexible.
Rangez la viande et le poisson du côte gauche du tiroir Fraîcheur optimale+ et mettez les fruits et légumes du côte droit.

Retrait de la séparation flexible
Tout en pressant la partie arrrière, tirez l'avant vers le haut pour la retirer.
Tiroir Fraîcheur humide+ (modèles applicables uniquement)

Le tiroir Fraîcheur humide+ vous permet d'ajuster le taux d'humidité. Tournez la molette vers la gauche ou la croite pour ajuster le taux d'humidité à votre guise.
Utilisation de la clayette du congelateur (modèles applicables uniquement)



Pour oblirer plus de place, vous pouvez
retirer tous les tiroirs et placer la clayette du
congelateur sur le tiroir inferieur du congelateur,
car cela n'effecte pas les caractéristiques
thermiques et mécaniques de l'appareil.
Le volume de stockage nominal du compartment
daliments surgelés est calculé sans ces tiroirs.
(Dans le cas du modele pour Singapour,le volume
déclaré est calculé avec le retrait du tiroir supérieur et du tiroir du milieu uniquement.)
1. Retirez la bande fixée sur la clayette.
2. Sortez tous les tiroirs pour monter la clayette.
3. Insérez la clayette. Insérez en premier la partie saillante de la clayette, comme illustré.
ATTENTION
N'insérez pas la clayette à l'envers (retournée) ni dans la direction inverse.
Lorsque vous n'utilisez pas la clayette du congelateur, gardez-la en lieu sur pour une utilisation ultérieure.
REMARQUE
En cas de stockage d'un conteneur en verre sur la clayette en verre trempe, ces deux éléments peuvent etre rayes par frottement.
Maintenance
Inversion de la position de la poignée de la porte (pour les modèles équipés de poignées barres)

REMARQUE
Cette procédure s'applique à la fois aux compartments du réfrigérateur et du conGPLateur.

- Utilisez un tournevis à tête plate pour retarder les cache-vis.
-Après avoir detached la poignee, remettez en place les cache-vis sur les troue de vis.

- Utilisez un tournevis cruciforme pour retarder les vis et detacher la poignée.


MARQUE
Utilisez ces vis pour fixer la poignée sur le côte opposé.
- De l'autre côte de la porte, utilisez un tournevis à tête plate pour retarder les cache-vis.
- Placez la poignée de l'autre côte de la porte et utilisez un tournevis cruciforme pour fixer la poignée à l'aide des vis.


- Installee les cache-vis.
Inversion de la porte (modèles applicables uniquement)
AVERAGEMENT
- L'inclinaison/installation du réfrigerateur nécessite l'intervention de 2 personnes minimum.
- Debranchez le cordon d'alimentation avant d'inverser les portes.
Outils requis (non fournis)


Tournevis cruciforme
Clé à douille de 10 mm


Tournevis à tête plate
Clé à douille de 8 mm


Clé de 11 mm
Clé de 10 mm
Maintenance
Accessoires

Cache de charnière supérieure gauche

Cache de porte supérieure droite (modèles applicables uniquement)
ATTENTION
Veillez a ne pas endommager les cables et connecteurs pendant ce processus.
- Tout au long de la procédure d'inversion, tenez toutes les petites pièces (vis, obturateurs, etc.) du réfrigerateur hors de portée des enfants ou des bébés, pour des raisons de sécurité.
- Veillez à conserver les vis et les autres pieces retirees dans un lieu sur durant la procEDURE d'inversion des portes.
REMARQUE
Samsung recommends the faire inverser les sens d'ouverture des portes uniquement par des fournisseurs de service agrésés par Samsung. Cela sera facturé aux frais du client.
- Avant d'inverser les portes, placez un matériel de protection ( comme un carton par exemple) au sol pour y poser les pieces retirees afin d'eviter de les endommager durant toute la procEDURE.
Inversion de la porte
REMARQUE
Pour les modèles à poignées, commencez par inverser les poignées. (Pour en savoir plus, reportez-vous à la section « Inversion de la position de la poignée de la porte (pour les modèles équipés de poignées barres) ».)

- Avec avoir fermé la porte du réfrigérateur, utilisez un tournevis cruciforme pour retarder les vis fixant le cache supérieur (A).




-
Soulevez doucement le cache supérieur (A) et posez-le sur le réfrigérateur.
-
Soyez prudent lorsque vous souveze le cache supérieur (A). Un cable connecté se trouve juste en dessous.
-
Retirez le cable et le connecteur de cable sur le support situé en dessous du cache supérieur.
Il est possible que cette étape ne s'applique pas à certains modèles.
ATTENTION
Ne tirez pas trop fort sur les connecteurs.
-
Debranchez le connecteur de cable (A).
-
Il est possible que cette étape ne s'applique pas à certains modèles.
-
Utilisez une clé à douille (8 mm) pour retarder les vis permettant de fixer la charnière supérieure (A).
ATTENTION
Afin d'éviter que la porte du réfrigérateur ne tombe, assurez-vous de la tener fermement lors du retrait des vis.
REMARQUE
Vou pouve égarlement utiliser un tournevis cruciforme pour retarder les vis.
Maintenance



- Ouvrez la portedu réfrigerateur et soulevezla pour la retirer de la charnière centrale.Conservez la porten lieu sur.
ATTENTION
La porte est lourde. Afin d'éviter tout dommage ou blessures, faites preuve de prudence lors du retrait de la porte.
-
Ouvrez la porte du congelateur et utilisez un tournweis cruciforme pour retarder les vis maintainant en place la charniere inférieure (A).
-
Alors que la porte du congelateur repose sur la charnière inférieure (A), tirez lentement la charnière inférieure (A) pour la retirer du support situé dans la partie inférieure du réfrigerateur. Une fois la charnière inférieure (A) retiree du support, retirez-la de la porte du congelateur, puis tirez la porte du congelateur vers le bas pour la retirer de la charnière centrale (B).
ATTENTION
Afin d'éviter que la porte du congelateur ne tombe, assurez-vous de la tenir fermement jusqu'à son retrait de la charnière centrale (B).




- Utilisez un tournevis cruciforme et une clé à douille (10 mm) pour retarder les vis permettant de fixer la charnière centrale (A).
- Retireze le cache-vis de la charnière centrale (A), puis utilisez le tournevis cruciforme pour retirer la vis (B).
- Du côté opposé, utilisez un tournevis cruciforme pour serrer la vis (B), puis placez le cache-vis de la charnière centrale (A).
- Retirez le cache-vis de la charnière inférieure (A) et place-le du côte opposé.
- Dans la partie inférieure de la porte du congelateur, retirez la butée de porte (A) et placez-la du côte opposé à la porte.
Utilisez un tournevis cruciforme pour retarder et serrer la vis permettant de fixer la butée de porte (A).
- Retournez la butée de porte (A) avant de la placer du côté opposé.
Maintenance



- Dans la partie supérieure de la porte du congelateur, inversez la position de I'eel (A) et du cache-eellet (B).
-
Serrez la charnière centrale (A) du côte opposé au retrait.
-
Utilisez un tournevis cruciforme et une clé à douille (10 mm) pour serrer les vis.
-
Demontez la charnière inférieure et inversez toutes les pieces.
a. Utilisez un tournevis cruciforme pour retarder la vis (A) permettant de fixer le dispositif de fixation (B) à la charnière inférieure (C).
b. Utilisez une clé (10 mm) pour-retirer l'écrou (D) et la rondelle (E) permettant de fixer l'axe (F).
c. Retournez la charnière inférieure (C), puis fixez à nouveau l'axe (F) à la rondelle (E) et à l'écrou (D).
d. Serrez le dispositif de fixation (B) en place à l'aide de la vis (A).
ATTENTION
Veillez à ne pas faire tomber l'axe (F) ou vous blesser aux doigts lors du retrait ou de l'installation de l'axe (F).
- Vérifiez que la rondelle (E) est au bon emplacement. Si l'axe est fixé sans la rondelle (E), la porte du congélateur risque de tomber et de provoquer des blessures.



-
Tournez le pied de mise à niveau sur le côte opposé à celui où la charnière inférieure (A) a été retiree. Ensuite, place la charniere inférieure (A) sur le support.
-
Fixez la porte du congélateur.
a. Placez la porte du congelateur sur la charniere inférieure (A). Positionnez la porte perpendicular au corps principal du réfrigerateur.
b. Poussez la porte du congealteur vers le bas pour insérer la charnière centrale (B) dans l'eellet (C) situé en haut de la porte du congealteur.
ATTENTION
Ne poussez pas la porte trop fort. Tout au long de cette etape, veiliez a ce que la charnière inférieure (A) repose sur le support dans la partie inférieure du réfrigerateur.
REMARQUE
Après avoir fixé la porte du congélateur, ajustez les pieds de mise à niveau pourmettre le réfrigerateur de niveau. (Pour consulter les instructions détaillées, reportez-vous à la section « ÉTAPE 4 Réglage des pieds de mise à niveau » en page 39.)
- Utilisez un tournevis cruciforme pour fixer la charnière inférieure (A) avec les vis. Puis, fermez la porte du congelateur.
Maintenance



- Dans la partie inférieure de la porte du réfrigerateur, retirez toutes les pieces des cots droit et.gauche.
a. Utilisez un tournevis cruciforme pour retarder les vis.
b. Retirez le système de fermeture automatique (A), I'eellet (B) et la butée de porte (C) d'un cote, et le cache inférieur de la portedu réfrigérateur (D) de l'autre cote.
- Inversez les côtés de toutes les pieces retirees.
a. Placez la bute de porte (C), I'eellet (B) et le système de fermeture automatique (A) du côte opposé à leur retrait.
b. à l'aide d'un tournevis cruciforme, serrez la butée de porte (C) et le système de fermeture automatique (A) en place à l'aide des vis.
c. Placez le cache inférieur de la porte du réfrigerateur (D) du côte opposé à son retrait.
d. À l'aide d'un tournevis cruciforme, serrez le cache inférieur de la porte du réfrigerateur (D) avec les vis.
ATTENTION
Vous ne serraient sur la charniere de la porte.




-
Retirez le cache du cable (A) de la partie supérieure de la porte du réfrigérateur.
-
Soulevez doucement les deux côtés du cache du cable (A) et tirez pour le retarder de la porte.
-
Il est possible que cette étape ne s'applique pas à certains modèles.
-
Retirez le cache de la charnière supérieure droite (A) et le cache supérieur gauche de la porte (B).
-
Il est possible que cette étape ne s'applique pas à certains modèles.
REMARQUE
Conserve les pieces retirees en lieu sur pour une utilisation ultérieure.
24. Retirez la charnière supérieure (A) de la portedu réfrigerateur.
25. Retirez l'oeillet (A) et place-le du côte opposé.
Maintenance



- Inversez la charnière supérieure.
a. Utilisez une clé (11 mm) pour démonter l'axe (A) de la rondelle (B).
b. Retournez la charnière supérieure (C), puis fixez à nouveau la rondelle (B) et l'axe (A).
ATTENTION
Veillez à ne pas faire tomber l'axe (A) ou vous blesser aux doigts lors du retrait ou de l'installation de l'axe (A).
- Vérifiez que la rondelle (B) est au bon emplacement. Si l'axe est fixé sans la rondelle (B), la porte risque de tomber et de provoquer des blessures.
- Placez la porte du réfrigérateur sur la charnière centrale (A).
ATTENTION
Afin d'éviter que la porte du réfrigerateur ne tombe, assurez-vous de la tenir fermement jusqu'au serrage de la charnière supérieure.
- Serrez la charnière supérieure (A) du côte opposé au retrait.




- À l'aide d'une clé à douille (8 mm), fixez la charnière supérieure (A) avec les vis.
- Retirez le cache d'interstice (A) au niveau du cache supérieur (B), puis placez-le sur le côte opposé.
-
Sous le cache supérieur, tirez le connecteur de cable (A) des supports et déplacez-le vers les supports du côté opposé.
-
Il est possible que cette étape ne s'aupplies pas à certains modèles.
-
Déplacez le connecteur de cable (A) de la port du réfrigerateur vers le côte opposé.
- Il est possible que cette étape ne s'aupplies pas à certains modèles.
Maintenance




-
Rebranchez le connecteur de cable (A).
-
Il est possible que cette étape ne s'applique pas à certains modèles.
ATTENTION
Assurez-vous que les connecteurs de cable sont correctement branchés. Sinon, l'écran ne fonctionnera pas.
-
Placez le cable et le connecteur de cable (A) sur le support situé en dessous du cache supérieur.
-
Il est possible que cette étape ne s'applique pas à certains modèles.
-
Installez le cache de charnière supérieure gauche (A) (fourni) sur la charnière supérieure, puis montez le cache supérieur (B).
-
Insérez les câbles et connecteurs dans le cache de charnière supérieure gauche (A) et le cache supérieur (B). (Certains modèles n'ont pas de câbles au niveau de la porte du réfrigerateur ; cette instruction peut donc ne pas s'appliquer à ces modèles.)
-
Avec la porte du réfrigerateur fermée, replacez le cache supérieur (A) et serrez-le avec les vis à l'aide d'un tournevis cruciforme.
ATTENTION
Veiliez à ne pas endommager les cables lorsque vous serrez le cache supérieur (A).



- Placez le cache supérieur droit (A) de la porte (fourni) sur le côte opposé de la charnière de la porte.
Il est possible que cette étape ne s'applique pas à certains modèles. - Placez le cable de la porte du réfrigerateur dans l'espace situé sous le cache du cable (A).
Il est possible que cette étape ne s'applique pas à certains modèles. - Replacez le cache du cable (A) sur la porte du réfrigerateur.
- Il est possible que cette étape ne s'applique pas à certains modèles.
- Ouvrez et fermez plusieurs fois la portedu réfrigerateur pour vérifier l'absence deproblème.
Maintenance

- Detachez les joints des portes du réfrigerateur et du congélateur, puis fixez-les après une rotation de 180 degrés.
ATTENTION
Assurez-vous que les joints des portes sont correctement installés. Dans le cas contraire, un bruit peut être émis ou de la condensation peut se former, ce qui affectera les performances de l'appareil.
REMARQUE
- Àprous avoir inversé la porte, ajustez les pieds de mise à niveau pourmettre le réfrigerateur de niveau. (Pour consulter les instructions détaillées, reportez-vous à la section « ÉTAPE 4 Réglage des pieds de mise à niveau » en page 39.)
Pour ramener la porte à sa position initiale, suivez à nouveau les étapes. Veuillez noter que la porte, les charnières et les autres pieces se trouveront alors dans le sens opposé à celui indiqué dans ces étapes.
Utilisation et entretien
Clayettes / Grille et clayette (modèles applicables uniquement)

- Sortez un peu la clayette (ou la grille et la clayette) en tirant. Ensuite, tout en soulevant l'arrière, procedez au retrait en tirant.

- Inclinez la clayette (ou la grille et la clayette) en diagonale pour la/les retirer.
Maintenance
Clayette pliante (modèles applicables uniquement)




- Faites glisser la première moitié de la clayette.
- Sortez un peu la clayette piante en tirant.
Ensuite, tout en boulevant l'arrière, procédez au retrait en tirant. - Incline the clayette en diagone pour la retarder.
ATTENTION
- Ne placez pas d'aliments ou d'objets à l'avant de la zone de Fraîcheur optimale+. Sinon, la porte risque de ne pas fermer correctement et les alimentés de tomber.
La clayette doit être correctement insérée. Ne l'insérez pas à l'envers.
Lors de la reinsertion de la clayette, assurez-vous de la pousser jusqu'au bout jusqu'à ce qu'elle soit en place. - Les récipients en verre peuvent rayer la surface des clayettes en verre.
Nettoyage
Intérieur et extérieur
AVERTISSEMENT
- Ne nettoyez pas l'appareil avec du benzène, du diluant, du vinaire, de l'eau de Javel, du bicarbonate de soude, de l'acide citrique, des melanges de sel ou du nettoyant domestique/pour voiture comme du Clorox™. Ces produits risquent d'endommager la surface du réfrigerateur et de provoquer un incendie.
- Évitez de vaporiser de l'eau directement sur le réfrigérateur. Risque d'électrocution.
À l'aide d'un chiffon sec, retirez régulierèment tous les corps étrangers, tels que la poussière ou l'eau, au niveau des broches de la fiche d'alimentation et des points de contact.
- Debranchez le cordon d'alimentation.
- Utilisez un chiffon doux non peluchexs humidifié ou une serviette en papier pour nettoyer l'intérieur et l'extérieur du réfrigerateur.
- Ensuite, utilisez un chiffon sec ou une serviette en papier pour bien secher les surfaces.
- Branchez le cordon d'alimentation.
Panneau arrêté / Cache du compresseur (modèles applicables uniquement)

Pour maintenir la propre de cordons et des pieces exposées du panneau arrêté, passez un coup d'aspirateur sur le panneau une ou deux fois par an.
ATTENTION
Ne retirez pas le cache du panneau arrêté. Il existe un risque d'électrocution.
Maintenance
Replacement
Ampoules DEL
Pour changer les ampoules du réfrigérateur, contactez votre centre de service Samsung local.
AVENTISSEMENT
- Les ampôules ne peuvent pas être replacées par l'utilisateur. N'essayez pas de replacer une ampôule par vous-même. Risque d'électrocution.
Ampoule (source de lumière)
Ce produit contient une source lumineuse de classe d'efficacité énergétique
La ou les ampoule(s) et/ou le ou les mécanisme(s) de commande ne sont pas replacables par l'utilisateur. Pour remplaçier la ou les ampoule(s) et/ou le ou les mécanisme(s) de commande de l'appareil, contactez un centre de service Samsung local.
Pour obtenir les instructions détaillées de remplacement pour la ou les ampoule(s) ou pour le ou les mécanisme(s) de commande de votre apparéil, rendez-vous sur le site Internet de Samsung (http://www.samsung.com), allez dans Assistance > Assistance sur la page d'accueil, puis saisissez le nom du modèle.
Pour obtenir les instructions détaillées de démontage pour la ou les ampoule(s) et/ou pour le ou les mécanisme(s) de commande, suivez simplement les instructions de remplacement fournies, tel que décrit ci-dessus.
Panneau de porte (modèles applicables uniquement)
Vouss拨ez selectionner le panneau de porte que you prfez pour youre frigérateur SUR MESURE. Achetez le panneau de porte chez un détaillant Samsung et un installeur agreé installerer la panneau pour vous.
ATTENTION
- Si vous démonze ou installez vous-même le panneau de porte, cela risque d'entrainer des dégats matériels ou des blessures corporelles. Si vous rencontres des problèmes avec le panneau de porte, contactez un centre de service Samsung.
- Il est possible que des frais d'intervention soient factures pour le remplacement du panneau, même si l'opération est effectuee pendant la periode de garantie.
Installation en duo (modèles applicables uniquement)


Si vous le souhaitez, vous pouvez installer ce réfrigerateur côte à cote avec un autre réfrigerateur Samsung. Toutefois, les réfrigerateurs doivent être des modèles SUR MESURE. Si vous souhaitez effectuer une installation en duo, vérifie si les modèles désirsés permettent une installation en duo avant de les acheter. Vous pouvez le vérifier auprès du détaillant ou sur le site Internet samsung.com.
REMARQUE
- Achetez le kit d'installation en duo chez un détaillant Samsung et vous pouvez demander à un installateur/agréé de proceder à l'installation en duo.
-
Veiliez à acheter le kit d'installation en duo approprié pour votre modèle. Pour éviter tout problème d'installation, vous nevez utiliser le kit d'installation en duo dédié.
-
Modèle RB34 : RA-C00K4BAA
-
Modèle RB38 : RA-C00K3BAA
-
L'installation en duo risque d'augmenter la consommation d'énergie.
| 01 | Recommendation : supérieur à 50 mm |
| 02 | 105° |
| 03 | 1 250 mm |
| 04 | 1 212 mm |
| 05 | Équerre supérieure |
| 06 | Garniture |
| 07 | Sens d'installation |
Maintenance
Outils requis (non fournis)

Tournevis cruciforme

Tournevis à tête plate

Clé à douille de 8 mm (pour les boulons)
Accessoires du kit d'installation en duo

A. Équerre supérieure (x1)

B. Équerre inférieure (x1)

C. Garniture (x1)

D. Gabarit A/S de
réference (x4)

E. Patin de mise à niveau (x4)

F. Mousse T7 LEX (x8)

G. Mousse T5 PE (x1)

H. Équerre arrêté (x1)

J. Vis à tête
hexagonale M5 x 16 (x4)

K. Vis M4 x 18 (x2)

REMARQUE
Le chiffre entre parentheses indique la quantité de chaque accessoire.
L'équerre inférieure (B) et la garniture (C) sont disponibles dans deux tailles (7 ou 15 mm). Vérifiez les tailles lorsque vous commandez le kit d'installation en duo.
Instructions étape par étape

REMARQUE
Les lettres alphabetiques figurant sur l'illustration et entre parentheses sont les mêmes que celles indiquées dans la liste d'accessoires.



- Vérifiez que le sol est de niveau.
Utilisez un niveau pour vérifier que le sol est de niveau à l'endetroit ou les deux roulettes arrêté du réfrigerateur seront positionnées.
-
Placez les gabarits A/S de reference (D) et vérifie le niveau.
-
Placez sur le sol les deux gabarits A/S de reférence (D) fournis, à l'endetroit où les deux roulettes arrêtè du réfrigérateur seront positionnées, puis vérifie le niveau.
- Si le sol n'est pas de niveau, placez les patins de mise à niveau (E) fournis sous les gabarits A/S de referencia (D), de sorte que le réfrigérateur repose sur une surface plane.
- Une fois que vous avez identifié toutes les pièces requises pour la mise de niveau, enlevez le film de protection du ruban double face en dessous de chaque pièce, puis installez la pièce à son emplacement final.
Maintenance




- Installez les mousse as fin de laisser un écart entre les deux réfrigerateurs.
REMARQUE
Vouvedeze installer la mousse T5 PE (G) uniquely sur le modele BMF (congelateur a montage par le bas). (Dans le cas ou vous installez deux types differents de réfrigérateur en duo.)
A. Installation en duo du modele RB38 :
- Installez la mousse T5 PE (G).
- Reportez-vous à l'illustration pour déterminer la position de la mousse.
B. Installation en duo du modele RB34 :
- Installez la mousse T5 PE (G), puis installez quatre mousses T7 LEX (F) par-dessus la mousse T5 PE (G).
- Reportez-vous à l'illustration pour déterminer la position des moussees.




- Retirez les vis au niveau des deux trou s ou sera fixée l'équerre inférieure.
Ouvrez la portedes réfrigérateurs à installer en duo, puis retirez les vis situées à l'endroit ou l'équerre inférieure sera fixée.
- Fixez l'équerre inférieure (B).
Fixez l'équre inférieure (B) avec les deux vis M4 x 18 (K) (une sur chaque réfrigerateur) afin de fixer la partie inférieure des réfrigerateurs.
- Fixez l'équerre supérieure (A).
Fixez l'équerre supérieure (A) à l'aide des quatre vis à tête hexagonale M5 x 16 (J) afin de fixer la partie supérieure des réfrigerateurs.
REMARQUE
Alignez le haut des deux réfrigérateurs avant de fixer l'équerre supérieure.
- Retirez les vis situées à l'arrière des réfrigerateurs.
Maintenance


(^*):15mm (RB34)/7mm (RB38)


- Utilisez les vis retirees à l'objet 8 pour fixer l'équerre arrêté (H).
-
Verifiez l'espace entre les réfrigerateurs.
-
Àprouvá avoir fixé les équères supérieure et inférieure, vérifie que l'espace entre les réfrigerateurs est de 7 mm ou 15 mm en haut et en bas.
REMARQUE
Si l'espace entre les réfrigerateurs est supérieur à 7 mm ou 15 mm, il risque d'y avoir moins d'espace entre le réfrigerateur et les murs (ou meubles) et cela peut empêcher l'ouverture des portes.
-
Poussez les réfrigerateurs à l'intérieur des murs (ou meubles).
-
Deux personnes doivent simultanément pousser les réfrigérateurs, reliés à l'aide des équerres, à l'intérieur des murs (ou meubles).
REMARQUE
Si les deux personnes ne poussent pas les réfrigerateurs en même temps, la partie arrrière des réfrigerateurs risque de s'éçarter ou de dévier de leur emplacement d'installation souhaïte.
-
Reglez la hauteur des réfrigerateurs.
-
Faites tourner le pied de mise à niveau vers la droite ou la gauche pour régler la hauteur des réfrigérateurs, de manière à ce qu'ils arrivent à fleur des murs (ou meubles).


REMARQUE
- Insérez la garniture (C) entre les réfrigerateurs. Ouvrez les portes et insérez la garniture (C) entre les réfrigerateurs.
Observe la partie plus large de la garniture sur l'illustration pour identifier le haut de la garniture. - Effectuez une verification finale. En l'absence de problèmes, enlevez le film de protection sur l'appareil.
Dépannage
Avant d'appeler pour obtenir de l'aide, parcourez les points de vérification ci-dessous. Tous les appeals de dépannage concernant des situations normales (autres que des cas de défaut) seront facturés à l'utilisateur.
Généralités
Temperature
| Symptôme | Causes possibles | Solution |
| Le réfrigérateur/ congélateur ne fonctionne pas. La température du réfrigérateur/ congélateur est élevé. | • Le cordon d'alimentation n'est pas branché correctement. | • Branchez correctement le cordon d'alimentation. |
| • La molette de contrôle de la température n'est pas régée correctement. | • Baissez la température. | |
| • Le réfrigerateur se trouve à proximité d'une source de chaleur ou est exposé à la lumière directe du soleil. | • Assurez-vous que le réfrigérateur n'est pas exposé à la lumière directe du soleil et qu'il n'est pas à proximé d'une source de chaleur. | |
| • Le dégagement entre le réfrigerateur et les parois sur les côtés/à l'arrière n'est pas suffisant. | • Assurez-vous de laisser au moins 5 cm à l'arrière et sur les côts. | |
| • La fonction Absence est activée. | • Désactivez la fonction Absence. | |
| • Le réfrigerateur est en surcharge. Des alimententsBloquent les orifices de ventilation du réfrigerateur. | • Ne surchargez pas le réfrigerateur. Ne laisserpas des alimentents bloquer la ventilation. | |
| Le réfrigérateur/ congélateur refroidit trop. | • La molette de contrôle de la température n'est pas régée correctement. | • Augmentez la température. |
| La paroi interieure est chaude. | • Le réfrigerateur dispose de tuyaux résistants à la chaleur dans la paroi interieure. | • Pour prévenir la formation de condensation, le réfrigerateur est equipé de tuyaux résistants à la chaleur dans les coins à l'avant. Lorsque la température ambiente augmente, cet équipement peut ne pas fonctionner correctement. Il ne s'agit pas d'un dysfonctionnement du système. |
Odeurs
| Symptôme | Causes possibles | Solution |
| Le réfrigérateur dégage des odeurs. | • Aliments abîmés. | • Nettoyez le réfrigerateur et retirez les alimentés abîmés. |
| • Aliments très odorants. | • Assurez-vous que les alimentés à forté odeur sont emballés de manière hermétique. |
Givre
| Symptôme | Causes possibles | Solution |
| Présence de givreautour des orifices deventilation. | • Des alimentsbloquent les orificesde ventilation. | • Assurez-vous qu'aucun aliment nebloque les orifices de ventilationdu réfrigérateur. |
| Présence de givre surles parois intérieures. | • La porteste mal fermée. | • Assurez-vous que les alimentenebloquent pas la porte. Nettoyez lejoint de la porte. |
| Une quantité excessivede givre s'accumulédans le conGPLateur. | • La portene se ferme pasde manière complètementhermétique car le joint de laportere n'a pas été inversé après l'inversion des portes. | • Détachez le joint de la portepuis fixez-le après une rotation de180°. |
Condensation
| Symptôme | Causes possibles | Solution |
| De la condensation se forme sur les parois interieures. | • Si la porte est laissée ouverte, de l'humidité pénétre dans le réfrigérateur. | • Éliminez l'humidité et ne laissez pas la porte ouverte pendant une période prolongée. |
| • Aliments avec une forte teneur en humidité. | • Assurez-vous que les alimentés sont emballés de manière hermétique. |
Dépannage
Entendez-vous dessons anormaux provenant du réfrigérateur ?
Avant d'appeler pour obtenir de l'aide, parcourez les points de vérification ci-dessous. Tous les appels d'assistance concernant des bruits normaux seront facteurs à l'utilisateur.
Cessonsont touta faitnormaux.
- Lorsque vous commencez ou terminez une opération, il se peut que le réfrigerateur émette dessons similaires à l'allumage du moteur d'une voiture. Lorsque l'opération se stabilise, lessons s'attenueront.

- Lorsque le ventilateur est en marche, cessons peuvent etre émis. Lorsque le réfrigerateur atteint la température réglée, aucun son de ventilateur n'est émis.

- Pendant le cycle de déconnélation, il se peut que de l'eau goutte sur la résistance de déconnélation, générant alors dessons de grésillement.

- À mesure que le réfrigerateur refroidit ou congèle, du gaz réfrigérant circule dans les tuyaux hermétiques, provoquant alors dessons de bouillonnement.

Bouillonnement!

- À mesure que la température du réfrigerateur augmenter ou baisse, les pièces en plastique se contractent ou se détendent, créé alors des bruits de cognement. Ces bruits sont produits pendant le cycle de décongélation ou lorsque les pièces électroniques fonctionnent.

Craquement!

- Pour les modèles avec machine à glaçons : Lorsque la vanne d'eau s'ouvre pour replir la machine à glaçons, dessons de bourdonnement peuvent être émis.
- En raison de l'égalisation de la pression lors de l'ouverture et de la fermeture de la portedu réfrigerateur, dessons de souffle peuvent être émis.
SmartThings (modèles applicables uniquement)
| Symptôme | Action |
| L'application « SmartThings » est introuvable sur le marché des applications. | La version du logiciel de soutien de l'application SmartThings est soumise à modifications en fonction de la politique de prise en charge du système d'exploitation fournie par le fabricant. En outre, comme pour l'application SmartThings ou les fonctions prises en charge par l'application, la nouvelle politique de mise à jour de l'application sur la version existante du système d'exploitation est susceptible d'être suspendue pour des raisons d'utilité ou de sécurité. |
| L'application SmartThings ne fonctionne pas. | L'application SmartThings est disponible pour les modèles applicables uniquement.L'ancienne application Samsung Smart Refrigerator ne peut pas se connecter à des modèles pour Samsung Smart Home. |
| L'application SmartThings est installée mais n'est pas connectée à mon réfrigérateur. | Youdevezvousconnecteràvotrecomptesamsung pour pouvoir utiliser l'application.Assurez-vous quevoitrouteur fonctionne normalement.Si l'icône de connexion Wi-Fi est éteinte sur l'écran du réfrigérateur, cela indique qu'aucune connexion au réseau n'a encore ététablie.Dans ce cas,utilisiezl'application SmartThings pour connecter et enregistrer voserefrigérateur au point d'accès (PA) de votre maison. |
| Impossible de se connecter à l'application. | Youdevezvousconnecteràvotrecomptes Samsung pour pouvoir utiliser l'application.Si vousn'avezpas de compte Samsung, suivez les instructions affichées sur l'écran de l'application pour en créé un. |
| Un message d'erreur apparait lorsqu'jessaie d'enregistrer mon réfrigérateur. | La fonction Easy Connection (Connexion facile) peut échouer en raison de la distance par rapport au point d'accès ou d'interférences électriques provenant de l'environnement. Attendez un moment puis réessayez. |
| L'application SmartThings est bien connectée à mon réfrigérateur mais ne fonctionne pas. | Quitteuzuisreliance l'application SmartThings, ou déconnectez et reconnectpezle routeur.Mettezle réfrigérateur hors tension,uis remettez-le sous tension après 1 minute. |
| L'icône de connexion Wi-Fi clignote.(®) | Connectezvoretrefrigérateuràl'applicationSmartThingsavant del'utilisationUne fois la connexion établie avec succès,lesvoyant cesse de clignoter.-Si vousne parvenezpasàétablir la connexion ou ne souhaitez pas utiliser l'application, maintenezlebouton >enforcépendant 10 secondes.Levoyant cesse de clignoter et le message « O FF » apparait sur l'affichage de la température. |
Annexe
Consignes de sécurité
Pour garantir l'utilisation la plus optimale de I'energie, veuillez laisser tous les accessoires internes tels que les paniers, les tiroirs, les clayettes et le bac à glaçons sur leur position indiquée par le fabricant.
- Cet apparéil de réfrigération n'est pas destiné à être utilisé comme apparéil encastré.
Instructions d'installation
Pour les apparèils de réfrigération avec classe climatique
Selon la classe climatique, cet appeareil de réfrigération est destiné à être utilisé dans une plage de températures ambantes telle que spécifiée dans le tableau suivant.
La classe climatique figure sur la plaque signalétique. L'appareil peut ne pas fonctionner correctement s'il est utilisé à des températures situées en dehors de la plage spécifique.
La classe climatique figure sur l'étiquette apposoed à l'intérieur de votre réfrigerateur.
Plage de tempéature efficace
Le réfrigerateur a été créé pour un fonctionnement normal dans la plage de températures spécifiée par sa classe énergétique nominale.
| Classe | Symbole | Plage de températures ambiente (°C) | |
| IEC 62552 (ISO 15502) | ISO 8561 | ||
| Climat tempéré étendu | SN | +10 à +32 | +10 à +32 |
| Climat tempéré | N | +16 à +32 | +16 à +32 |
| Climat subtropical | ST | +16 à +38 | +18 à +38 |
| Climat tropical | T | +16 à +43 | +18 à +43 |
REMARQUE
Les performances de refroidissement et la consommation électriche du réfrigerateur peuvent être affectées par la température ambiente, la fréquence d'ouverture de la porte et l'emplacement du réfrigerateur. Nous vous recommendons de régler les réglages de température comme approprié.
Consignes relatives à la température
Température recommende
Réglage de température optimal pour le stockage d'aliments :
- Refrigerateur: 3^ C
Congélateur: -19°C
REMARQUE
La température optimale de chaque compartment dépend de la température ambiente. La température optimale ci-dessus a été déterminée pour une température ambiente de 25^ .
Refroidissement rapide
La fonction Refroidissement rapide accélère le processus de refroidissement avec le ventilateur à vitesse maximale. Le réfrigérateur continue de fonctionner à vitesse maximale pendant deux heures et demie, avant de revenir à la température précédente.
Congélation rapide
La fonction Congélation rapide accélère le processus de congélation avec le ventilateur à vitesse maximale. Le congesteur fonctionne à vitesse maximale durant 50 heures avant de revenir à la température précédente. Pour congefer une grande quantité d'aliments, activez la fonction Congélation rapide au moins 20 heures avant de placer les alimentés dans le congesteur.
REMARQUE
Lorsque vous utilisez cette fonction, la consommation d'énergie du réfrigerateur augmente. N'oubliez pas de la désactiver lorsque vous n'en avez plus besoin et de régler à nouveau la température d'origine.
Conseils de stockage pour une préparation optimale (modèles applicables uniquement)
Recouvre les alimentés afin de conserver leur humidité et éviter qu'ils ne récapuérent les odeurs des autres alimentés. Pour une grande casserole contenant des alimentés tels que de la soupe ou un ragout, veuillez répartir son contenu en plusieurs portions plus petites que vous mettrez dans des éléments peu profonds avant de lesmettre au réfrigerateur. Pour un gros morceau de viande ou un poulet entier, veuillez le couper en morcaux de plus petite taille ou le placer dans des éléments peu profonds avant de lemettre au réfrigerateur.
Positionnement des alimentés
| Clayettes | Les clayettes sont régibles afin de pouvoir les adapter aux divers emballages. |
| Compartment spécialisé (modèles applicables uniquement) | Les tiroirs à légumes étanches offrent un environnement de stockage optimal pour les fruits et légumes. Les légumesrequireient un taux d'humidité élevé tandis que les fruits ont besoin d'un faible taux d'humidité. Les tiroirs à légumes sont équipés de dispositifs de contrôle permettant de réguler le taux d'humidité. (‘Selon le modele et les options disponibles) Un tiroir à viande à température régable optimise le temps de stockage des viandes et fromages. |
| Stockage dans la porte | Ne stockez pas les denrées périssables dans la porte. Les øeufs doivent être stockés dans leur emballage en carton sur une clayette. La tempête des bacs de stockage de la porte fluctue davantage que celle dans le compartment. Maintenez la porte fermée le plus possible. |
| Compartment du congélateur | Youss pouvez stocker des alimentés surgelés, faire des glacons et congeler des alimentés frais dans le compartment du congélateur. |

REMARQUE
Congelez uniquement des alimentes frais et non abimés. Conservez les alimentes devant être congelés loin des alimentes déjà congelés. Pour prévenir la perte de saveur ou le séchage des alimentes, placez-les dans des recipients hermétiques.
Tableau des périodes de stockage au réfrigérateur et au congélateur
La durabilité de la fraîcheur des alimentés dépend de la température et de l'exposition à l'humidité. Étant donné que les dates des produits n'indiquent pas comment utiliser les produits en toute sécurité, reportez-vous à ce tableau et suivez les conseils qui y figurent.
Produits laitiers
| Produit | Réfrigérateur | Congélateur |
| Lait | 1 semaine | 1 mois |
| Beurre | 2 semaines | 12 mois |
| Crème glacée | - | 2 à 3 semaines |
| Fromage naturel | 1 mois | 4 à 6 mois |
| Fromage à la crème | 2 semaines | Non recommendé |
| Yaourt | 1 mois | - |
Vande
| Produit | Réfrigérateur | Congélateur |
| Rôtis frais, steaks frais, côtelettes fraîches | 3 à 4 jours | 2 à 3 mois |
| Viande crue fraîche, bœuf à braiser | 1 à 2 jours | 3 à 4 mois |
| Bacon | 7 jours | 1 mois |
| Saucisses, viande crue de porc, bœuf, dinde | 1 à 2 jours | 1 à 2 mois |
Annexe
Volaille / CEufs
| Produit | Réfrigérateur | Congélateur |
| Vande de volaille fraîche | 2 jours | 6 à 8 mois |
| Salade à la volaille | 1 jour | - |
| CEufs, frais dans leur coquille | 2 à 4 semaines | Non recommendé |
Poisson / Fruits de la mer
| Produit | Réfrigérateur | Congélateur |
| Poisson frais | 1 à 2 jours | 3 à 6 mois |
| Poisson cuit | 3 à 4 jours | 1 mois |
| Salade au poisson | 1 jour | Non recommendé |
| Poisson séché ou mariné | 3 à 4 semaines | - |
Fruits
| Produit | Réfrigérateur | Congélateur |
| Pommes | 1 mois | - |
| Pêches | 2 à 3 semaines | - |
| Ananas | 1 semaine | - |
| Autres fruits frais | 3 à 5 jours | 9 à 12 mois |
Légumes
| Produit | Réfrigérateur | Congélateur |
| Asperges | 2 à 3 jours | - |
| Broccoli, choux de Bruxelles, petits pois, championons | 3 à 5 jours | - |
| Chou, chou-fleur, céléri, concombre, laitue | 1 semaine | - |
| Carottes, betteraves, radis | 2 semaines | - |
Informations du modele et commande de pieces de rechange
Informations du modele
Pour acceder aux informations relatives à l'étiquetage énergétique de ce produit sur le Registre européen des produits pour l'étiquetage énergétique (EPREL), scannez le code QR sur l'étiquette énergétique. Le code QR se trouve sur l'étiquette énergétique, sur la boite du produit.
Informations sur les pieces
- Période minimale de disponibilité des pieces de rechange nécessaires à la réparation de l'appareil
- 7 ans pour les thermostats, capteurs de température, cartes de circuit imprimé et sources d'éclairage, poignées de porte, charnières de porte, bacs, paniers (boîtes ou tiroirs)
- 10 ans pour les joints de porte
- La période minimale de garantie fournie par le fabricant pour l'appareil de réfrigération est de 24 mois.
- Informations pertinentes pour commander des pieces de rechange, directement ou via d'autres intermediaires proposés par le fabricant, l'importateur ou le représentant agréé
- Vous trouvez des informations pour une réparation par des professionnelles sur le site Internet http:// samsung.com/support.
Voutrouvrez le guide de réparation pour l'utilisateur sur le site Internet http://samsung.com/support.
Modèles RB38C, RB388* et RB38*9**️
- Les astérisques désignent une variante du modèle et peuvent remplacer divers caractères : des chiffres (0 à 9) ou des lettres (A à Z).

REMARQUE
Par la presente, Samsung déclare que cet équipement radio est conforme à la Directive 2014/53/UE et aux exigences légales pertinentes en vigueur au Royaume-Uni.
L'intégralité du texte de la déclaration de conformité de l'UE et de la déclaration de conformité du Royaume-Uni est accessible via l'URL suivant : La déclaration de conformité officielle est accessible à l'adresse http://www.samsung.com, en cliquant sur Support (Assistance) > Search Product Support (Obtenir une assistance produits), puis en saisissant le nom du modele.
| Plage de fréquences | Puisance de l'émetteur (maximale) | |
| Connexion Wi-Fi | 2 412 à 2 472 MHz | 20 dBm |
| Connexion Bluetooth | 2 402 à 2 480 MHz | 20 dBm |
Comment contacter Samsung dans le monde
Si vous avez des suggestions ou des questions concernant les produits Samsung, veuillez contacter le Service Consommateurs Samsung.
| Pays | Centre d'appels | Site Internet |
| FRANCE | 01 48 63 00 00 | www.samsung.com/fr/support |



DA68-04111C-10
Notice Facile