CTN364N006 - Plaque de cuisson SAMSUNG - Notice d'utilisation et mode d'emploi gratuit
Retrouvez gratuitement la notice de l'appareil CTN364N006 SAMSUNG au format PDF.
| Type de table | Induction |
| Nombre de foyers | 4 |
| Puissance maximale | Non précisé |
| Commandes | Touches tactiles |
| Affichage | LED |
| Fonctions spéciales | Minuterie, sécurité enfant |
| Dimensions (L x P) | Non précisé |
| Matériau de la surface | Verre céramique |
| Couleur | Noir |
| Type d'installation | Encastrable |
| Alimentation électrique | 220-240 V |
| Protection contre la surchauffe | Oui |
| Détection automatique des casseroles | Oui |
| Compatible avec | Ustensiles ferromagnétiques |
| Garantie | Non précisé |
FOIRE AUX QUESTIONS - CTN364N006 SAMSUNG
Téléchargez la notice de votre Plaque de cuisson au format PDF gratuitement ! Retrouvez votre notice CTN364N006 - SAMSUNG et reprennez votre appareil électronique en main. Sur cette page sont publiés tous les documents nécessaires à l'utilisation de votre appareil CTN364N006 de la marque SAMSUNG.
MODE D'EMPLOI CTN364N006 SAMSUNG
Un monde de possibilités
Merci d'avoir choisi ce produit Samsung.
Afin de bénéficier du meilleur du service après-vente,
enregistrez votre appareil sur le site suivant :
www.samsung.com/global/register
Utilisation de ce manuel
Avant d'utiliser l'appareil, veuillez lire attentivement toutes les instructions et notamment les consignes de sécurité figurant dans la section suivante. Conservez soigneusement ce manuel en vue d'une consultation ultérieure. Remettez-le au propriétaire suivant en cas de vente.
Les symboles suivants sont utilisés dans ce mode d'emploi
| ! | Ce symbole indique des remarques importantes concernant la sécurité. Avertissement signale des informations ayant trait à votre sécurité personnelle. Important signale des informations destinées à vous éviter d'endommager l'appareil. |
| Mesures à prendre pour contribuer à la protection de l'environnement. | |
| Informations utiles et conseils pratiques. |
Numérotable des instructions d'utilisation de l'appareil étape par étape.
Ce manuel propose des solutions pour les problèmes que l'utilisateur peut déterminer et résoudre lui-même. Reportez-vous pour cela à la section « Dépannage ».
Consignes de sécurité

Cet appareil est conforme aux normes techniques et de sécurité en vigueur. En tant que fabricant de ce produit, nous pensons toutifs qu'il est important que vous lisiez attentivement les consignes de sécurité suivantes.
Sécurité électrique
Assurez-vous que cet appareil est correctement installé et mis à la terre par un technicien qualifié. - L'entretien de cet appareil doit impératifement être effectué par une main-d'œuvre qualifiée. Des réparations effectuées par des personnes non qualifiées peuvent causer des blessures corporelles ou des dégâts matériels graves. Si votre appareil doit être réparé, veuillez contacter le service d'assistance technique le plus proche. Le non-respect de ces instructions peut provoquer des dommages et entraîner l'annulation de la garantie. - Les appareils encastrés ne doivent être mis en marche qu'après avoir été installés dans un meuble ou un lieu de travail conforme aux normes en vigueur. Cette mesure vise à éviter tout contact avec les composants électriques, conformément aux normes de sécurité en vigueur. - En cas de dysfonctionnement ou de déterioration (cassure, fêveur) de l'appareil :
- éteignez toutes les zones de cuisson;
- Débranche la table de cuisson de l'alimentation;
- Contactez le service d'assistance technique le plus proche.

Si la surface est fendue, éteignez l'appareil afin d'éviter tout risque d'électrocution. N'utilisez pas la table de cuisson tant que la surface vitrée n'a pas été replacée.
Sécurité enfants

Cet appareil n'est pas conçu pour être utilisé par des jeunes enfants ou des personnes invalides non assistées par un adulte responsable.
Les jeunes enfants ne doivent pas utiliser l'appareil sans la surveillance d'un adulte.
Les zones de cuisson chauffent lorsque vous cuisinez. Veillez à toujours tenir l'appareil hors de portée des enfants.
- Les objets métalliques, tels que les couteaux, les fourchettes, les cuillères et les couvercles, ne doivent pas être placés sur la table de cuisson car ils peuvent devenir chauds.
- Après utilisation, éteignez l'élement de la table de cuisson à l'aide du bouton de commande et ne vous fiez pas au détecteur de récipient.
- Cet appareil n'est pas conçu pour être utilisé par des personnes (y compris les enfants) inexpérimentées ou dont les capacités physiques, sensorielles ou mentales sont réduites, sauf si celles-ci sont sous la surveillance ou ont reçu les instructions d'utilisation appropriées de la personne responsable de leur sécurité.
- Cet appareil doit uniquement être utilisé pour la cuisson et la friture d'aliments dans le cadre d'un usage domestique normal. Il n'est pas conçu pour une utilisation commerciale ou industrielle. N'utilisez jamais la table de cuisson pour chauffer ou réchauffer la pièce.
- Soyez prudent lorsqu vous branchez des appareils électriques sur une prise murale située à proximité de la table de cuisson. Le câble de raccordement au secteur ne doit pas entrer en contact avec la surface de cuisson.
- Les huiles ou les graisses surchauffées peuvent facilement s'enflammer. Ne laissez jamais les éléments de cuisson sans surveillance pendant que vos aliments cuisent dans de l'huile ou de la graisse (si vous cuisinez des frites, par exemple).
- Eteignez les zones de cuisson après les avoir utilisées. Veillez à ce que les tableaux de commande restent toujours propres et secs.
- Ne posez jamais d'objets inflammables sur la table de cuisson. Un incendie pourrait en résulter.
- N'utilisez pas la table de cuisson pour réchauffer du papier aluminium, des produits enveloppés dans du papier aluminium ou des produits surgelés emballés dans des récipients en aluminium. Il existe un risque de brûlure si l'appareil est utilisé de manière imprudente.
- Les câbles des appareils électriques ne doivent pas entrer en contact avec la surface chaude de la table de cuisson ou avec des ustensiles chauds. N'utilisez pas la table de cuisson pour sécher des vêtements.
- Ne rangez jamais de matériaux inflammables tels que des aérosols et des détergents dans les tiroirs ou les placards situés sous la table de cuisson.

Avertissement: Les utilisateurs équipés de stimulateurs ou d'implants cardiaques actifs doivent maintenir une distance d'au moins 30 cm entre la partie supérieure de leur corps et la zone de cuisson à induction lorsqu'elle est allumée. En cas de doute, vous devez consulter le fabricant de votre appareil ou votre médecin.
Sécurité LORS du nettoyage
- Eteignez toujours votre appareil avant de le nettoyer.
- Pour des raisons de sécurité, ne nettoyez jamais la table à l'aide d'un jet de vapeur ou d'un appareil haute pression. Respectez les consignes de nettoyage et de sécurité fournies dans ce manuel.
Élimination du matériel d'emballage
L'ensemble du matériel utilisé pour emballer l'appareil est entièrement recyclable. Les éléments en papier et en mousse dure portent la mention appropriée. Veuillez jeter le matériel d'emballage et les accessoires usagés en respectant les normes de sécurité et d'environnement en vigueur dans votre pays.
Mise au rebut de l'appareil usagé

Avertissement: Avant de vous débarrasser de votre appareil usagé, veillez à le mettre totalement hors service afin d'éviter tout danger.
Pour cela, demandez à un technicien qualifié de débrancher l'appareil de l'alimentation secteur et de retirer la prise mâle.
L'appareil ne doit pas être jeté avec les ordures ménagères. - Renseignez-vous auprès du service de voirie de votre ville ou de votre mairie pour connaître les dates de ramassage et les sites de traitement des ordures ménagères.
Garantie et assistance 25

7 Réglementation et conformité 7 Consignes de sécurité pour l'installateur 8 Raccordement à la prise d'alimentation secteur 9 Installation de l'appareil sur le plan de travail
11 Zones de cuisson 11 Tableau de commande 12 Composants 12 Chauffage par induction 13 Principales caractéristiques de l'appareil Dispositif d'arrêt de sécurité 14 Témoin de chaleur résiduelle 15 Détection de la température 15 Premier nettoyage
16 Récipients pour les zones de cuisson à induction 16 Test d'aptitude à l'emploi 16 Taille des récipients 17 Utilisation d'ustensiles adaptés 17 Utilisation des touches sensibles 18 Mise sous tension de l'appareil 18 Sélectionnez la zone de cuisson et le réglage de la température. 18 Mise hors tension de l'appareil 19 Mise hors tension d'une zone de cuisson 19 Utilisation de la sécurité enfants 20 Minuterie 21 Commande d'augmentation de la puissance 21 Commande Bridge 22 Gestion de la puissance 22 Suggestion de réglages pour la cuisson d'aliments spécifiques 23 Table de cuisson 24 Cadre de la table de cuisson (selon modèle) 24 Pour éviter d'endommager votre appareil
25 Questions fréquentes et dépannage 26 Assistance
27 Caractéristiques techniques 27 Foyers
Important:
L'installation et le branchement de cet appareil doivent impérativement être effectués par un technicien qualifié.
Veuillez vous conformer à ces instructions. Tout dommage résultant d'une mauvaise installation ne sera pas couvert par la garantie.
Les caractéristiques techniques figurent à la fin de ce manuel.
Réglementation et conformité
Cet appareil est conforme aux normes suivantes :
- EN 60335 - 1 et EN 60335 - 2 - 6 relatives à la sécurité des appareils électriques à usages domestiques et similaires;
- EN 60350 ou DIN 44546 / 44547 / 44548 relatives aux caractéristiques de fonctionnement des cusinières, tables de cuisson, jours et grils électriques destinés à un usage domestique; EN55014-1 EN55014-2 EN61000-3-2; et
- EN 61000-3-3 relatives aux exigences générales propres à la compatibilité électromagnétique (CEM).
CE Cet apparéil est conforme aux directives européennes suivantes : 2006/95/EC, directive BASSE TENSION 2004/108/EEC, directive compatibilité électromagnétique
Consignes de sécurité pour l'installateur
- L'installation électrique nécessite un dispositif permettant de couper cet appareil du secteur sur tous les pôles avec une ouverture des contacts d'au moins 3 mm. Les dispositifs suivants peuvent être utilisés : disjoncteurs, fusibles (les fusibles à vis doivent être reliés de leur socle), disjoncteurs différentiels et contacteurs.
- Cet appareil est conforme à la directive EN 60335 - 2 - 6 relative à la protection contre les incendies. Ce type d'appareil peut être adossé à un placard haut ou à un mur.
- N'installez pas de tiroir sous la table de cuisson.
- L'installation doit assurer une protection contre les chocs.
- Les éléments de cuisine dans lesquels l'appareil est encastré doivent être conformes à la norme DIN 68930 en matière de stabilité.
- Afin d'éviter tout risque de moisissure, toutes les zones coupées doivent être enduites d'un mastic protecteur.
- Sur les surfaces carrelées, la zone sur laquelle repose la table doit être complètement jointoyée.
- Sur de la pierre naturelle ou artificielle ou des surfaces céramiques, les ressorts à action rapide doivent être fixés à l'aide d'une résine artificielle ou d'un adhésif à deux composants approprié. Assurez-vous que le mélange adhère parfaitement et uniformément au plan de travail. N'utilisez pas de mastic silicone. En cas de réparation, il serait très difficile de déplacer la table de cuisson. Pour démonter la table de cuisson, dégagez-la en la boulevant par dessous.
- Une planche doit être installée sous la table de cuisson.
- L'interstice de ventilation entre la surface de travail et l'avant de l'élément situé sous la table ne doit pas être couvert.
Raccordement à la PRESE d'alimentation secteur
Avant de brancher l'appareil, vérifie que la tension nominale de l'appareil (tension électrique indiquée sur la plaque signalétique) correspond à la tension d'alimentation du secteur. La plaque signalétique est située sur le revêtement inférieur de la table de cuisson.
La tension électrique de l'élément chauffant est de CA 230 V~. Cet appareil fonctionne également très bien sur des réseaux électriques de CA 220 V~ ou CA 240 V~.
Le raccordement au réseau de la table de cisaillage doit être effectué de manière à prévoir un coupe-circuit sur tous les pôles avec une ouverture des contacts d'au moins 3 mm.
(ex. : disjoncteur, disjoncteur différentiel ou fusible).
Pour le branchement à la prise d'alimentation secteur, il convient d'utiliser un câble de type H05RN-F ou d'une capacité supérieure.
| Courant nominal de l'appareil (A) | Section transversale nominale \( \left( {\mathrm{{mm}}}^{2}\right) \) | |
| 1N~ | \( > {25} \) et \( \leq {32} \) | \( \geq {2.5} \) |
| 2N~ | \( > {10} \) et \( \leq {16} \) | \( \geq {1.5} \) |
Le branchement doit être effectué conformément au schéma. Les raccordements doivent être effectués en fonction du schéma de branchement approprié.
Le câble de mise à la terre est branché à la borne. Le câble de mise à la terre doit être plus long que les câbles transportant le courant électrique.
Les branchements de câbles doivent être conformes aux normes en vigueur et les vis de borne correctement serrées.
Il convient de fixer le câble de branchement dans le serre-câble de la prise d'alimentation secteur et de fermer la protection en appuyant fermement dessus (pour la verrouiller).
Avant la première mise en marche, retirez les éventuels films protecteurs ou étiquettes de la surface vitrocéramique.
Une fois la plaque de cuisson raccordée à l'alimentation électrique, vérifie que toutes les zones de cuisson sont prêtes à être utilisées en les allumant une par une et en les réglant sur la puissance maximale à l'aide d'ustensiles de cuisine appropriés.
Lors de la première mise sous tension de la table de cuisson, tous les témoins lumineux s'allument et la sécurité enfants est activée.

L: Marron
N: Bleu
PE: Vert
Avertissement: pour éviter d'endommager les composants, vérifie bien (au niveau de la conformité) l'attribution phase et neutre des branchements de l'habitation et des appareils (cf. schémas de câblage).
Tout dommage résultant d'une mauvaise installation ne sera pas couvert par la garantie.

Recopiez le numéro de série inscrit sur la plaque signalétique de l'appareil avant de procéder à l'installation.
Ce numéro vous sera demandé si vous faites appel à un service de dépannage. Etant donné qu'il figure sur la plaque signalétique située sous l'appareil, vous ne pourrez plus y accéder après l'installation.
Veillez à respecter scrupuleusement les indications relatives aux espaces et distances de sécurité minimums exigées.
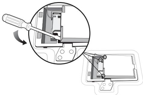
Mettez en place les fixations de chaque côté à l'aide des vis fournies avant de monter la table de cuisson sur les fixations.












ZONES de cuisson
- Zone de cuisson à induction Bridge avant de 1800 W avec augmentation de la puissance à 2600 W
- Zone de cuisson à induction Bridge arrière de 1800 W avec augmentation de la puissance à 2600 W
- Zone de cuisson à induction Bridge totale de 3600 W avec augmentation de la puissance à 5200 W
- Tableau de commande
Tableau de commande

- Touches de sélection de la zone de cuisson
- Touches de réglage de la température et touches de réglage de la minuterie
- Touche sensitive de verrouillage
- Touche sensitive Activer/Désactiver
- Touche de sélection de puissance Boost
- Présélection de puissance
- Témoins du réglage de la température et de la chaleur résiduelle
- Témoin de la minuterie et touche sensitive
- Touche de sélection de la zone Bridge totale
Table de cuisson à induction
Fixations
Vis
Câble d'alimentation
Chauffage par induction
- Principe du chauffage par induction : lorsque vous placez vos récipients sur une zone de cuisson et que vous l’allumez, les circuits électroniques de votre table de cuisson à induction produisent des « courants induits » dans le fond des récipients, ce qui augmente instantanément leur température.

- Vitesse de cuisson et friture plus grande: étant donné que la casserole est chauffée directement et non la plaque vitrée, l'efficacité est plus grande que dans d'autres systèmes car il n'y a presque pas de perte de chaleur. La plupart de l'énergie absorbée est transformée en chaleur.
- Surface de cuisson en vitrocéramique: l'appareil est équipé d'une surface de cuisson en vitrocéramique et de quatre zones de cuisson ultra rapides.
- Touches sensitives: l'appareil fonctionne à l'aide de touches sensitives.
- Nettoyage facile: l'avantage de la vitrocéramique et des touches sensitives est d'offrir une meilleure accessibilité pour le nettoyage. La surface plate et lisse est facile à nettoyer.
- Touche Activer/Désactiver: la touche sensitive « Activer/Désactiver » permet d'allumer/éteindre l'appareil. En effleurant cette touche, vous pouvez mettre en marche ou couper l'alimentation.
- Indicateurs de commande et de fonction: l'affichage numérique et les témoins lumineux indiquent l'état des réglages et des fonctions activées, ainsi que la présence de chaleur résiduelle sur les différentes zones de cuisson. Dispositif d'arrêt de sécurité: un dispositif d'arrêt de sécurité permet d'éteindre automatiquement les zones de cuisson après un intervalle de temps déterminé si aucun réglage n'est modifié.
- Témoin de chaleur résiduelle: une icône symbolisant la chaleur résiduelle s'affiche si la surface de cuisson est encore chaude afin d'éviter tout risque de brûlure.
- Présélection de puissance: vous pouvez sélectionner la puissance présélectionnée en toute simplicité.
| 3 | Réglage de la température 1 |
| 6 | Réglage de la température 2 |
| 11 | Réglage de la température 3 |
- Augmentation de la puissance (Boost) : utilisez cette fonction pour chauffer le contenu de la casserole plus vite qu'avec la puissance maximale 15'. (L'écran d'affichage indique 17').
- Touche de sélection de la zone Bridge totale : cette fonction permet d'étendre la zone de cuisson à toute la partie droite de la plaque.
- Détection automatique de récipient : chaque zone compte un système de détection automatique de récipient. Ce système est réglé de manière à détecter les casseroles dont le diamètre est légèrement inférieur à celui de la zone de cuisson. Les casseroles doivent toujours être placées au centre de la zone de cuisson. Utilisez toujours des ustensiles appropriés.
- Affichages numériques : les quatre champs d'affichage correspondent aux quatre zones de cuisson.
Ils affichent les informations suivantes :
- appareil allumé;
- à 15, F réglages de la température sélectionnés;
- présence de chaleur résiduelle; L sécurité enfants activée;
- Message d'erreur : la touche sensitive est actionnée depuis plus de 10 secondes;
- message d'erreur : la plaque de cuisson a surchauffé en raison d'un dysfonctionnement (exemple : utilisation avec un scripte vide);
- message d'erreur : le récipient est inadapté ou trop petit ou aucun récipient n'a été placé sur la zone de cuisson.
Si l'une des zones de cuisson n'a pas été éteinte et que la chaleur n'a pas été réglée après un long intervalle de temps, cette zone s'éteint automatiquement.
Toute présence de chaleur résiduelle est signalée par la lettre (pour « hot » (chaud)) dans le champ d'affichage correspondant à la zone de cuisson en question.
Les zones de cuisson s'éteignent automatiquement après les intervalles de temps suivants :
| Réglage de la température | Mise hors tension |
| 1-3 | au bout de 6 heures |
| 4-6 | au bout de 5 heures |
| 7-9 | au bout de 4 heures |
| 10-15 | au bout de 1h 30 |

Si la table de cuisson est surchauffée à cause d'un dysfonctionnement, s'affiche et la table de cuisson s'éteint.

Si récipient est inadapté ou trop petit ou si aucun récipient n'a été placé sur la zone de cuisson, s'affiche. Avec 1 minutes, la zone de cuisson correspondante s'éteint.

Si une ou plusieurs zones de cuisson venaient à s’eteindre avant la durée indiquée, reportez-vous à la section « Dépannage »
Autres motifs pour lesquels une zone peut s'éteindre
Toutes les zones de cuisson s'éteignent immédiatement si un liquide bouillant entre en contact avec le tableau de commande.
Le dispositif d'arrêt automatique est également activé si vous posez un tissu mouillé sur le tableau de commande. Dans les deux cas, l'appareil doit être rallumé à l'aide de la touche sensitive Activer/Désactiver (d'alimentation principale une fois le liquide essuyé ou le tissu retiré.
Témoin de chaleur résiduelle
Lorsqu'une des zones de cuisson ou toute la table est éteinte, la présence de chaleur résiduelle est signalée par la lettre (pour « hot » (chaud)) dans le champ d'affichage de la zone de cuisson en question. Même une fois la zone de cuisson éteinte, le témoin de chaleur résiduelle reste affiché jusqu'à ce que la zone ait complètement refroidi.
Vous pouvez utiliser cette chaleur résiduelle pour conserver au chaud.

Important: le risque de brûlure subsiste tant que le témoin de chaleur résiduelle reste allumé.

Important: si l'appareil est mis hors tension, le symbole disparaît et les informations relatives à la chaleur résiduelle ne sont plus visibles. Vous risquez néanmoins toujours de vous brûler. Afin d'éviter tout accident, soyez toujours prudent lorsque vous vous trouvez à proximité de la table de cuisson.
Detection de la temperature
Si pour une quelconque raison la température des zones de cuisson vient à dépasser les niveaux de sécurité, la température de la zone de cuisson se règle automatiquement sur un niveau de puissance inférieur.
Après l'utilisation de la table de cuisson, le ventilateur de refroidissement continue à fonctionner jusqu'à ce que les éléments électroniques de la table de cuisson aient refroidi. Le ventilateur de refroidissement s'allume et s'éteint automatiquement en fonction de la température des éléments électroniques.
Premier nettoyage
Nettoyez la surface en vitrocérâmique à l'aide d'un chiffon humide et d'un nettoyant spécialement conçu pour ce type de surface.

Important: n'utilise jamais de nettoyants corrosifs ou abrasifs. Vous risqueriez d'endommager la surface.
Recipients pour les ZONES de cuisson à induction
La table de cuisson à induction ne peut être allumée que lorsqu'un récipient à base magnétique est placé sur une zone de cuisson. Vous pouvez utiliser les récipients suivants.
Matériels des récipients
| Matière des recipients | Utilisable |
| Acier, acier émaillé | Oui |
| Fonte | Oui |
| Acier inoxydable | Si recommendé par le fabricant |
| Aluminium, cuivre, laiton | Non |
| Verre, céramique, porcelain | Non |

Les récipients adaptés à la cuisson par induction sont étiquetés comme tels par le fabricant.

Certains récipients peuvent produire du bruit lorsqu'ils sont utilisés sur les zones de cuisson par induction. Ces bruits ne sont pas un défaut de l'appareil et n'en affectent en aucun cas l'utilisation.
TESTE d'aptitude à l'emploi
Les récipients adaptés à la cuisson à induction possèdent un fond magnétique (faire le test de l'aimant) et sont étiquetés comme étant adaptés à ce type de cuisson par le fabricant.

Taille des récipients
Les zones de cuisson à induction s'adaptent automatiquement à la taille du fond du récipient jusqu'à une certaine limite. Cependant, la partie magnétique du fond du récipient doit avoir un diamètre minimal correspondant à la taille de la zone de cuisson.
| Diamètre des zones de cuisson | Diamètre minimal du fond du récipient |
| Bridge avant ou arrière | 145 mm |
| Bridge totale | 180 mm, zone de cuisson ovale, poissonnière |
Les métres casseroles donnent les meilleurs résultats.
- On reconnaît une belle casserole à son fond. Celui-ci doit être épais et plat.
- Vérifiez le diamètre du fond du récipient lors de l'achat de nouvelles casseroles ou poêles. Les fabricants ne mentionnent souvent que le diamètre du bord du récipient.
- N'utilisez pas de casseroles dont le fond est endommagé (ex. : rugueux, ébarbures). Des rayures peuvent apparaître si vous faites glisser ces casseroles sur la surface de la table.
- A froid, les fonds des casseroles sont en général légèrement bombés vers l'intérieur (concaves). Ils ne doivent en aucun cas être bombés vers l'extérieur (convexes).
- Si vous utilisez des récipients de cuisson spéciaux (ex. : autocuiseur, moulinet ou wok), veuillez suivre les instructions du fabricant.
Conseils pour économiser de l'énergie

Vous pouvez très facilement réaliser des économies d’énergie non négligeables en observant les points suivants :
- Placez toujours les casseroles et les poêles sur la zone de cuisson avant de l'allumer.
- Des zones de cuisson et des fonds de casseroles sales augmentent la consommation d'énergie. Recouvrez si possible les casseroles et poêles d'un couvercle.
- Eteignez la zone de cuisson avant la fin de la cuisson afin d'utiliser la chaleur résiduelle pour conserver au chaud.



Utilisation des touches sensitives
Si vous souhaitez utiliser les touches sensitives, appuyez du bout de votre doigt sur la touche souhaitée jusqu'à ce que le témoin correspondant s'allume/s'éteigne ou jusqu'à ce que la fonction souhaitée s'active.
Assurez-vous de n'appuyer que sur une seule touche du panneau lorsque vous utilisez l'appareil. Si vous appuyez du plat de votre doigt sur le panneau, vous risquez d'activer également la touche adjacente.
- Appuyez sur la touche de verrouillage pendant environ 3 secondes.
- L'appareil est allumé à l'aide de la touche sensitive Activer/Désactiver (1). Appuyez sur la touche sensitive Activer/Désactiver (1) pendant 1 seconde. L'affichage numérique indique (2).


Une fois l'appareil allumé à l'aide de la touche Activer/Désactiver (1), vous avez 10 secondes pour sélectionner une puissance ; sans quoi, pour des raisons de sécurité, l'appareil s'éteint automatiquement.
Selectionnez la ZONE de cuisson et le réglage de la temperature.
- Pour sélectionner la zone de cuisson, appuyez sur la touche correspondant à la zone de cuisson souhaitée.

- Pour régler la puissance (1 à 15) pour la cuisson, appuyez sur les Touches de sélection de la température () ou ().


Pour un réglage plus rapide, appuyez sur les Touches de sélection de la température (+) ou (−) jusqu'à ce que la valeur souhaitée soit atteinte. Si vous appuyez sur plusieurs touches pendant plus de 10 secondes, le message apparaît sur l'affichage du réglage de la puissance. Appuyez sur la touche Activ/Désactiver () pour réinitialiser.
Mise hors tension de l'appareil
Vous pouvez mettre l'appareil entièrement hors tension en appuyant sur la touche Activer/Desactiver () Appuyez sur la touche Activer/Desactiver ()


Après avoir mis l'une des zones de cuisson ou toute la surface hors tension, la présence de chaleur résiduelle au niveau de la/des zone(s) concernée(s) est signalée par un affichage numérique sous la forme d'un H (pour « hot » (chaud)).
Mise hors tension d'une ZONE de cuisson
Pour éteindre une zone de cuisson, ramenez la puissance à l'aide de la touche sensitive du tableau de commande.


Pour éteindre plus rapidement, appuyez deux fois sur la touche correspondant à la zone de cuisson.
Utilisation de la sécurité enfants
La sécurité enfants permet d'éviter une mise sous tension accidentelle de la table de cuisson et donc l'activation de la surface de cuisson.
Vous souspèce également verrouiller le tableau de commande (à l'exception de la touche sensitive Activer/Désactiver) afin d'éviter toute modification accidentelle des réglages, par exemple en essuyant le plan de cuisson.
Activation/désactivation de la sécurité enfants
- Appuyez pendant environ 3 secondes sur la touche sensitive de verrouillage. Un signal sonore de confirmation retentit.

- Appuyez sur n'importe quelle touche de commande. Le symbole s'affiche, indiquant que la sécurité enfants est activée.

- Pour désactiver la sécurité enfants, appuyez sur la touche de déverrouillage à nouveau pendant 3 secondes. Un signal sonore de confirmation retentit.
Il existe deux façons d'utiliser la minuterie :
Utiliser la minuterie comme dispositif d'arrêt de sécurité :
Si une durée spécifique est associée à une zone de cuisson, celle-ci s'éteint automatiquement une fois la durée écoulée. Cette fonction peut être utilisée simultanément pour plusieurs zones de cuisson.
Utilisation de la minuterie :
L'utilisation de la minuterie est impossible lorsqu'une zone de cuisson est allumée.
Réglage du dispositif d'arrêt de sécurité
La/Les zone(s) de cuisson pour lesquelles vous souhaitez activer le dispositif d'arrêt de sécurité doivent être allumées.
minuterie, sélectionnez la zone de cuisson pour laquelle vous souhaitez régler la durée d'arrêt de sécurité.
Une fois que vous avez sélectionné la première zone de cuisson active, appuyez sur la touche sensitive de la minuterie et le témoin correspondant se met à clignoter lentement.

Par exemple, le témoin avant gauche correspond à la zone de cuisson avant gauche. -- apparait sur l'affichage de la minuterie.
Appuyez à nouveau sur la touche sensitive de la minuterie pour sélectionner la zone de cuisson active suivante.
- Utilisez les touches de réglage de la
minuterie () ou () pour sélectionner
la durée souhaitée (ex. : 15 minutes).
La zone de cuisson s'éteindra
automatiquement une fois cette durée écoulée.
Le dispositif d'arrêt de sécurité est à présent activé.


Si vous souhaitez afficher la durée restante pour l'une des zones de cuisson, appuyez sur la touche sensitive de la minuterie
Le témoin de la touche correspondante commence alors à clignoter lentement.
Vous pouvez réinitialiser les réglages à l'aide des touches de réglage de la
minuterie (○) ou (○). Une fois la durée spécifiée écoulée, la zone de cuisson
s'éteint automatiquement; un signal sonore de confirmation retentit et le témoin de la minuterie s'affiche.
Pour effectuer vos réglages plus rapidement, appuyez sur les touches de réglage de la minuterie ⊙ ou ⊙ jusqu'à ce que vous ayez atteint la valeur souhaitée.
Si vous appuyez en premier sur la touche ⊙, le réglage de la minuterie démarre à 99 minutes. Si vous appuyez en premier sur la touche ⊙, la minuterie démarre à 1 minute.
Minuterie
Pour pouvoir utiliser la fonction, vous devez allumer l'appareil et éteindre toutes les zones de cuisson.
- Appuyez sur la touche sensitive de la minuterie
- apparaît sur l'affichage de la minuterie.
- Reglez la durée souhaïtée à l'aide des touches de réglage de la minuterie (+ ou (-)
La fonction de cuisson est alors activée et le temps restant s'affiche sur l'affichage de la minuterie.
Pour régler la durée restante, appuyez sur la touche de réglage de la minuterie ( + ou -) et
modifie les réglages à l'aide des touches de réglage de la minuterie ( + ou -)
Commande d'augmentation de la puissance
La fonction d'augmentation de la puissance (Root) permet d'augmenter la puissance de chaque des zones de cuisson. (exemple : porter à ébullition un grand volume d'eau)
La fonction d'augmentation de la puissance peut être activée pendant une durée maximale de 10 minutes pour chaque des zones de cuisson.
(pour une augmentation de la puissance sur la zone Bridge totale : 5 minutes maximum)
Une fois cette durée écoulée, les zones de cuisson reviennent automatiquement au niveau
de puissance 15.

Dans certaines circonstances, la fonction d'augmentation de la puissance peut être désactivée automatiquement afin de protéger les composants électroniques internes de la table de cuisson.
La fonction Bridge permet d'activer la partie droite de la table de cuisson afin que l'utilisateur puisse utiliser des plats de grande taille (exemple : plats ovaires, poissonnière)
- Appuyez sur la touche sensitive de la zone Bridge totale.

- Appuyez sur l'une des touches de sélection permettant de régler la puissance ( ou )
L'écran d'affichage de la puissance de la partie droite de la table (avant, arrêté) est automatiquement mis à jour.

Gestion de la puissance
Si le niveau de puissance est dépassé lors de l'activation de la fonction d'augmentation de la puissance, le dispositif de gestion de la puissance réduit automatiquement la température de la zone de cuisson.
Le témoin de cette zone de cuisson passe de la température régée à la température maximale possible.

Exemple:
| Dernier réglage de température de la zone de cuisson (N° 3) | Réglage de température de la zone de cuisson (N° 4) | |
| réglage de température d'origine | modification automatique réglage de température | |
| Augmentation de la puissance | niveau 15 | niveau 13 |
Suggestion de réglages pour la cuisson d'aliments specifiques
Les chiffres répertoriés dans le tableau ci-dessous sont disponibles à titre indicatif. Les suggestions de réglages pour les différents modes de cuisson représentés reposent sur plusieurs variables, parmi lesquelles la qualité des plats à cuire ainsi que la nature et la quantité des aliments.
| Puisance | Mode de cuisson | Exemple de plats |
| 14-15 | Réchauffer Faire sauter Faire frire | Faire bouillir de grandes quantités de liquide, faire cuire des pâtes, saisir la viande, (goulache, viande à braiser) |
| 10-13 | Cuisson haute température Faire frire | Bifteck, pommes de terre rissolées, crépes |
| 8-9 | Faire frire | Escalope, côtelettes, foie, poisson, rissole, oeufs sur le plat |
| 6-7 | Porter à ébullition | Faire bouillir des pommes de terre ou des légumes dans 1,5 l de liquide |
| 3-5 | Cuire à l'étuvette Mijotier Porter à ébullition | Cuire à l'étuvette ou faire mijoter de petites quantités de légumes, cuire du riz et des laitages |
| 1-2 | Faire fondre | Faire fondre du beurre ou du chocolat, dissoudre de la gelatine |
Remarque
- Les valeurs indiquées dans le tableau ci-dessus sont données à titre indicatif.
- Les réglages devront être adaptés en fonction de l'ustensile utilisé et du type d'aliment.
TABLE de cuisson

Important: n'appliquez aucun produit de nettoyage sur la surface en vitrocéramique lorsque celle-ci est chaude. Rincez la table à l'eau claire après le nettoyage car les produits peuvent avoir un effet corrosif s'ils sont chauffés. N'utilisez aucun produit de nettoyage agressif (ex.: décapants pour grils ou fours, éponges ou poudre à récurer).

Après chaque utilisation, attendez que la surface vitrocéramique refroidisse légèrement avant de la nettoyer afin que les éventuelles projections de produits nettoyants ne brûlent pas sur la table. S'il y a lieu, retirez les traces de saleté incrustée, d'eau, de graissé ainsi que celles laissées par les ustensiles métalliques à l'aide d'un produit de nettoyage spécifique conçu pour la vitrocéramique ou l'acier inoxydable (disponible dans le commerce).
Salissures légères
- Nettoyez la surface en vitrocéramique à l'aide d'un chiffon humide.
- Essuyez-la à l'aide d'un chiffon propre. Il ne doit rester aucune trace de détergent sur la surface.
- Nettoyez la table de cuisson dans son intégralité une fois par semaine à l'aide d'un produit spécifique conçu pour la vitrocéramique ou l'acide inoxydable (disponible dans le commerce).
- Rincez la surface en vitrocéramique à l'eau claire (attention aux quantités) et essuyez-la à l'aide d'un chiffon sec qui ne peluche pas.
Salissures tenaces
- Utilisez un grattoir pour surfaces en verre afin de retarder les traces laissées par les aliments en cours de cuisson ou les taches incrustées.
- Inclinez légèrement le grattoir au-dessus de la surface en vitrocéramique.
- Retirez les salissures en frottant la lame contre la surface de la plaque.

Les grattoirs pour surfaces en verre et les nettoyants pour vitrocéramique sont disponibles, auprès de détaillants spécialisés.

- Enlevez immédiatement les traces de sucre brûlé, de plastique fondu, d'aluminium ou de tout autre produit à l'aide du grattoir lorsqu'elles sont encore chaudes.

Important: faites attention à ne pas vous brûler lorsque vous utilisez le grattoir sur une surface de cuisson chaude.
- Nettoyez la table de cuisson comme à votre habitude une fois celle-ci refroidie. Si vous laissez refroidir une zone de cuisson sur laquelle un produit a fondu, faites-la chauffer à nouveau avant de la nettoyer.

Les rayures ou taches sombres causées, par exemple, par les bords rugueux d'une casserole ne peuvent pas être enlevées. Ces taches n’entravent cependant pas le fonctionnement normal de la table.

CADRE de la TABLE de cuisson (SELON modèle)

Important: n'utilise jamais de vinaigre, jus de citron ou détartrant pour nettoyer le cadre de la table de cuisson. Des taches risqueraient d'apparaître.
- Nettoyez le cadre à l'aide d'un chiffon humide.
- Humidifiez légèrement les taches ayant séché à l'aide d'un chiffon humide. Essuyez et séchez.
Pour éviter d'endommager votre appareil
- N'utilisez pas la table de cuisson comme plan de travail ou pour y entreposer des objets.
- N'allumez pas la table de cuisson si aucune casserole n'y est posée ou si la casserole est vide.
- La vitrocéramique est très solide et résistante aux écarts de température. Elle n'est cependant pas incassable.
Elle peut être endommagée lorsqu'un objet particulièrement pointu ou lourd tombe sur la surface de cuisson.
- Ne placez pas de casseroles sur le cadre de la table de cuisson. Vous risqueriez de rayer ou d'endommager la finition.
- Évitez de répandre des liquides acides (ex. : vinaigre, jus de citron ou produits détartrants) sur le cadre de la table de cuisson. Des taches sombres pourraient se former.
- Si du sucre ou une préparation à base de sucre entre en contact avec une zone de cuisson chaude, nettoyez immédiatement la table à l'aide d'un grattoir de cuisine tant que celle-ci est encore chaude. Si vous la laissez refroidir, vous risquez d'endommager la surface en la nettoyant.
- Ne laissez pas d'objets ou produits susceptibles de fondre (ex.: plastique, papier aluminium ou papier sulfurisé) entrer en contact avec la surface en vitrocéramique. Si un produit de cette nature fond sur la table de cuisson, retirez-le immédiatement à l'aide d'un grattoir.
Questions frequentes et dépannage
Une mauvaise utilisation peut entraîner de légers dysfonctionnements. Pour y remédier, suivez les instructions ci-dessous. Ne tentez pas de réparer vous-même la table si les instructions suivantes s'avèrent inopérantes.

Avertissement: les réparations doivent impérativement être effectuées uniquement par un technicien qualifié. Des réparations non conformes peuvent faire courir de graves dangers à l'utilisateur. Si votre appareil nécessite des réparations, prenez contact avec le service après-vente.
Que dois-je faire si les zones de cuisson ne fonctionnent pas?
Effectuez les vérifications suivantes :
- Les fusibles de l'installation électrique (boîte à fusibles) sont-ils intacts? Si les fusibles sautent de manière répétée, contactez un Electricien/agréé. L'appareil est-il mis sous tension?
- Les témoins du tableau de commande sont allumés. La zone de cuisson est allumée.
- Les zones de cuisson sont réglées sur la température souhaitée.
Que dois-je faire si les zones de cuisson ne s'allument pas?
Effectuez les vérifications suivantes :
- Un intervalle de temps supérieur à 10 secondes s'est-il écoulé entre le moment où vous avez appuyé sur le bouton « Activer/désactiver » et le moment où la zone de cuisson souhaitée s'est allumée (reportez-vous à la section « Mise sous tension de l'appareil ») ? Le tableau de commande est partiellement recouvert d'un chiffon humide ou de liquide.
Que dois-je faire si tous les témoins, hormis le témoin de chaleur résiduelle, s'éteignent soudainement?
Ce problème peut survenir si :
La touche sensitive « Activer/désactiver » a été actionnée accidentellement. Le tableau de commande est partiellement recouvert d'un chiffon humide ou de liquide.
Que dois-je faire si, une fois la zone de cuisson éteinte, le témoin indiquant la présence de chaleur résiduelle ne s'allume pas?
Effectuez la vérification suivante :
- La zone de cuisson n'a-t-elle pas eu le temps de chauffer car elle a été allumée pendant un intervalle de temps trop court ? Si la zone de cuisson est chaude, prenez contact avec le service après-vente.
Que dois-je faire si la zone de cuisson ne s'allume pas ou ne s'éteint pas?
Cela peut être la conséquence de l'une des situations suivantes :
Le tableau de commande est partiellement recouvert d'un chiffon humide ou de liquide. La sécurité enfants est activée.
Que dois-je faire si le témoin 5 est allumé ?
Ce problème peut survenir si :
Le tableau de commande est partiellement recouvert d'un chiffon humide ou de liquide.
Appuyez sur la touche sensitive « Activer/désactiver » pour réinitialiser les réglages.
Que dois-je faire si le témoin est allumé?
Ce problème peut survenir si :
La table de cuisson surchauffe à cause d'un dysfonctionnement. - Pour améliorer le refroidissement de la table de cuisson, appuyez sur la touche sensitive
« Activer/désactiver » pour réinitialiser les réglages.
Que dois-je faire si le témoin est allumé?
Ce problème peut survenir si :
- Le récipient utilisé est inadapté ou trop petit ou aucun récipient n'a été placé sur la zone de cuisson.
- Si vous utilisez des récipients adaptés, le message affiché disparaît automatiquement.
Si vous demandez l'assistance d'un technicien qualifié suite à une utilisation incorrecte de l'appareil, l'intervention pourra vous être facturée même si le problème survient pendant la période de garantie.
Avant de faire appel au service d'assistance ou au service après-vente, veuillez vous reporter à la section « Dépannage ».
Si le problème persiste, suivez les instructions figurant ci-dessous.
S'agit-il d'un défaut technique ?
Si tel est le cas, contactez votre service après-vente.
Regroupez toujours toutes les informations nécessaires avant de passer votre appel. Cela permettra de déterminer plus facilement la nature du problème et de décider si une visite du technicien qualifié est nécessaire.
Veuillez noter les informations suivantes :
- Quelle est la nature du problème?
Avant de passer votre appel, notez le modèle et le numéro de série de l'appareil.
Ces informations figurent sur la plaque signalétique sous la forme suivante :
Description du modèle Code S / N (10 chiffres)
Nous vous recommandons de noter ces informations à cet emplacement afin de les retrouver facilement.
Modèle :
Numéro de série :
Dans quels cas des frais d'assistance vous sont facturés, même pendant la période de garantie?
- Si vous auriez pu résoudre vous-même le problème en vous reportant à la section « Dépannage »
- Si le technicien qualifié est obligé de se déplacer plusieurs fois car vous ne lui avez pas fourni les informations nécessaires avant sa visite, par exemple pour rapporter des pièces. Préparez votre appel en suivant les instructions ci-dessus afin d'éviter de devoir supporter les frais de ces déplacements.
Caractéristiques techniques
| Dimensions de l'appareil | Largeur | 575 mm |
| Profondeur | 505 mm | |
| Hauteur | 62 mm | |
| Dimensions extérieures du plan de travail | Largeur | 560 mm |
| Profondeur | 490 mm | |
| Rayon d'angle | 3 mm | |
| Tension électrique | 220 - 240 V ~ 50/60 Hz | |
| Puisance de sortie maximale | 7,2 kW | |
| Poids | Net | 12 kg |
| Brut | 14,5 kg | |
FOYERS
| Emplacement | Puisance |
| Bridge avant | 1800 W / Augmentation à 2600 W |
| Bridge arrière | 1800 W / Augmentation à 2600 W |
| Bridge totale | 3600 W / Augmentation à 5200 W |

Les bons gestes de mise au rebut de ce produit (Déchets d'équipements électriques et électroniques)
(Applicable dans les pays de l'Union Européenne et dans d'autres pays européens pratiquant le tri sélectif)
Ce symbole sur le produit, ses accessoires ou sa documentation indique que le produit, les accessoires électroniques usagés (par exemple: casque audio, câble USB, etc.) ne peuvent mentionner quels les produits ne sont mentionnés dans la revue du jour de la vente, en particulier le représentant des risques environnementaux et de santé publique, visuellement séparer vos produits. Le rapport sur les produits ne mentionnés dans la revue ainsi que l' recyclage de la matière qui se compose dans le cadre d'un développement durable.
Les particuliers sont invitées à contacter le magasin leur ayant vendu le produit ou à se renseigner auprès des autorités locales pour connaître les procédures et les points de collecte.
Les entreprises et professionnels sont invités à contacter leurs fournisseurs et à consulter les clients. Les clients ne sont pas obligés de se couvrir, les clients ne sont pas accessibles ne peuvent être jetés avec les autres déchets professionnels et commerciaux.
Samsung service consommateurs
66 rue des Vanesses
BP 50116 - Villepinte
95950 ROISSY-CDX
Pour toute information ou tout renseignement complémentaire sur nos produits, notre service consommateurs est à votre disposition au :
01 48 63 00 00
coût d'un appel non surtaxé
Vous pouvez également vous connecter à notre site Internet :
www.samsung.com/fr
Notice Facile