42PC3RA - Téléviseur LG-GOLDSTAR - Notice d'utilisation et mode d'emploi gratuit
Retrouvez gratuitement la notice de l'appareil 42PC3RA LG-GOLDSTAR au format PDF.
| Intitulé | Description |
|---|---|
| Type de produit | Plasma TV |
| Taille de l'écran | 42 pouces |
| Résolution | 1920 x 1080 pixels (Full HD) |
| Technologie d'affichage | Plasma |
| Alimentation électrique | AC 100-240V, 50/60Hz |
| Dimensions approximatives | 1016 x 635 x 100 mm (sans pied) |
| Poids | 25 kg |
| Compatibilités | HDMI, USB, VGA, AV |
| Fonctions principales | Affichage haute définition, connectivité multiple |
| Entretien et nettoyage | Utiliser un chiffon doux, éviter les nettoyants abrasifs |
| Pièces détachées et réparabilité | Disponibilité variable, consulter un réparateur agréé |
| Sécurité | Ne pas exposer à l'humidité, utiliser sur une surface stable |
| Informations générales | Vérifier la compatibilité avec les accessoires avant achat |
FOIRE AUX QUESTIONS - 42PC3RA LG-GOLDSTAR
Questions des utilisateurs sur 42PC3RA LG-GOLDSTAR
0 question sur cet appareil. Repondez a celles que vous connaissez ou posez la votre.
Poser une nouvelle question sur cet appareil
Téléchargez la notice de votre Téléviseur au format PDF gratuitement ! Retrouvez votre notice 42PC3RA - LG-GOLDSTAR et reprennez votre appareil électronique en main. Sur cette page sont publiés tous les documents nécessaires à l'utilisation de votre appareil 42PC3RA de la marque LG-GOLDSTAR.
MODE D'EMPLOI 42PC3RA LG-GOLDSTAR
Avant de mettre en marche votre poste de télévision, lisez attentivement ce manuel.
You pourrez aussi vous y reférer pour tous les réglages futurs.
Notez le numéro de série et le número du modele, qui figurent sur la plaque signalétique fixée à l'arrête du poste. Vote
revendeur vous les demandera pour le service après vente.
Le mode d'emploi complet, qui contient la description des fonctions avances de ces téléviseurs LG, se trouve sur le CD-ROM en version électronique.
Pour le litre, vous doivent ouvrir les fichiers sélectionnés à l'aide d'un ordinateur muni d'un lecteur de CD-ROM.
Consignes de sécurité
- Veuillez lire attentivement les mesures de sécurité ci-après avant d'utiliser cet apparéil.
- Les illustrations de ce manuel sont données à titre d'exemple et peuvent donc ne pas correspondre à votre apparéil.

AVERTISSEMENT
Si vous ne tenez pas compte des messages d'advertisement, vous vous exposer à des blessures graves, à un accident, voire à un danger de mort.

PRECAUTION
Si vous ne tenez pas compte des messages de précaution, vous vous exposer à des blessures légères ou vous risquez d'endommager l'appareil.
Précautions lors de l'installation de l'appareil

AVERTISSEMENT

Evitez dinstaller l'appareil pres d'une source de chaleur (convecteurs etc.)
- Vours pourriez provoquer une décharge électrique, un incendie, le dysfonctionnement ou la déformation de l'appareil.

N'utilise pas cet apparéil dans un endroit humide ou susceptible d'être humide, comme une salle de bain.
-Vous risqueriez de provoquer un incendie ou de recevoir une décharge electrique.

Si vous constaze que vous appareil dégage une odeur ou de la fumée ou s'il produit des bruits étranges, éteignez-le, débranchez le cordon d'alimentation et contactez le service technique.
- Si vous continue d'utiliser l'apparil sans prendre les mesures nécessaires, vous pouvez provoquer une décharge électrique ou un incendie.

PRECAUTION

Veillez à installer l'appareil sur un endroit plat et stable afin qu'il ne puisse pas tomber.
- Si c'était le cas, vous risqueriez de vous blesser ou d'endommager l'appareil.

Évitez d'exposer l'appareil à la lumière directe du soleil.
- Vos risqueriez d'endommager l'appareil.

N'installez pas l'appareil dans un endroit clos, comme une étagère ou dans une bibliothèque.
- Notre apparéil doit être correctement ventilé.
Précautions concernant l'alimentation

AVERTISSEMENT

Assurez-vous de brancher l'appareil sur une prise reliée à la terre.
-Dans le cas contraire, vous risqueriez de vous électrocuter ou de vous blesser.

Ne touche jamais la prise d'alimentation avec les mains humides. De plus, si la broche est humide ou couverte de poussière, seché complètement la prise d'alimentation ou dépoussièrez-la.
- Dans le cas contraire, l'excess d'humidité pourrait provoquer une electrocution.

En cas d'orage, débranche le cordon d'alimentation ou le cable de signal.
- Vou resqueriez sinon de vous électrocuter ou de déclencher un incendie.

PRECAUTION
Ne malmenez pas le cordon d'alimentation et evitez de l'enroulier, de le tordre, de le coincer dans une porte ou de marcher dessus.
Maintenez en bon etat les prises et les prises secteur et veiliez a ce que le cable ne se torde pas a l'endroit où il se connecte a I'appareil.

Précautions à prendre si vous déplacer l'appareil

AVERTISSEMENT
Assurez-vous que l'appareil est hors tension.
Veillez à retirez tous les cables avant de déplacer l'appareil.
- Vous risqueriez sinon de vous électrocuter ou d'endomager l'appareil.


PRECAUTION
Veillez à ce que l'appareil ne subisseaucun chocolors du déplacement.
- Vous risqueriez sinon de vous électrocuter ou d'endom-mager l'appareil.
Pour déplacer l'appareil, placez-le à la verticale et tenez-le fermement avec les deux mains.
- Si vous laissez tomber l'appareil, le choc peut provoquer une décharge électrique ou un incendie. Faites appel au service technique pour la réparation.

Précautions à prendre pour utiliser l'appareil

AVERTISSEMENT
N'essayez pas de démonter, de réparer ou de modifier l'ap-pareil vous-même.
-
Vourisqueriez de provoquer une décharge électrique ou un incendie.
-
Faites appel au service technique pour toute révision, calibrage ou réparation.

Afin de réduire les risques d'incendie ou de décharge électric, n'exposez pas cet apparéil à l'humidité ou à la pluie.
Évitez d'exposer l'appareil aux projections ou aux fuites d'eau et ne placez aucun object rempli d'eau (vase) sur l'appareil.


PRECAUTION
Toute révision doit être effectuee par du personnel qualifié Une intervention est nécessaire lorsque l'appareil a été endommagé, c'est-à-dire si le cordon ou la prise d'alimentation ont été endommagés, si de l'eau ou des objets sont tombés dans l'appareil, si l'appareil a été exposé à la pluie ou à l'humidité, s'il ne fonctionne pas normalement ou s'il a reçu un choc.

COMMANDES
Le schéma ci-dessous est une représentation simplifiée du panneau avant. Le matériel représenté peut être quelques peu différent de votre téléviseur.
Commandes du panneau avant




OPTIONS DE ConnEXION
Le schéma ci-dessous est une représentation simplifiée du panneau arrière. Le matériel représenté peut être quelques peu différents de votre téléviseur.
Panneau de connexion arrière





Péritel euroconnecteur (AV1/AV2)
Raccordez l'entrée ou la sortie de la prise Péritel d'un périphérique externe à ces prises.
Entrée Component
Connectez votre télécommande cablee à ce port.
3 Port de la télécommande
Raccordez la prise de sortie du moniteur d'un ordinateur au port d'entrée approprié.
5 Entreé HDMI
Connectez le signal HDMI au port HDMI à l'aide du cable HDMI.
Prise du cordon d'alimentation
Ce téléviseur fonctionne en alimentation en alternatif (CA). La tension est indiquée à la section Spécifications. Ne jamais faire fonctionner le téléviseur en courant continu (CC).
7 Entre S-Video
Raccordez la sortie S-Video d'un périphérique SVIDEO.
Prises d'entrée Audio/Viséo
Raccordez la sortie audio/video d'un périhérique externe à ces prises.
9 Port d'entrée RS-232C (CONTRÔLE & SERVICE)
Raccordez le port de série des péripériques de contrôle à la prise RS-232C.
10 Sortie Variable Audio
Raccordez un amplificateur externe ou un caisson de graves à votre système son surround.
Entree antenne
Connectez des signaux numériques en liaison radio à cette prise.
12 Entre e AUDIO
Les connexions sont disponibles pour l'écoute d'un son stéreo à partir d'un dispositif externe.
Entree VIDEO
Permet de connecter le signal video d'un dispositif video.
FONCTIONS DES TOUCHES DE LA TÉLECOMMANDE
Lorsque you utilisez la telecommande, dirigez-la vers le capteur de la telecommande du téléviseur.


MISE EN PLACE DU SOCLE
- Cette fonction n'est pas disponible pour tous les modèles.

1

2

3

4
- Placez le téléviseur écran face au sol sur un tissus, comme indiqué dans le schéma 1.
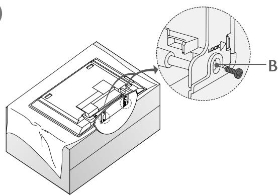
Avant de déplier le socle, assurez-vous que les deux systèmes de verrouillage (A) situés sous le socle sont positionnés vers l'extérieur.
Tirez le socle comme indiquedans les schémas 2 et 3.
Après avoir déplié le socle, insérez les vis dans les orifices (B) situés sous le socle, puis serrez-les.
Lors du raccordement des cables au téléviseur, veillez à ne pas désencclencher le verrou (C).
Le téléviseur pourrait tomber et vous risqueriez de vous blesser ou d'endommager le téléviseur.
1 REMARQUE
Le matériel représenté peut être quelque peu différent de votre téléviseur.
Pourretirerlesocle
Retirez d'abord les vis (B) situées sous le socle. Tirez ensuite sur les deux crochets (D) situés sous le socle et pliez le socle à l'intérieur du téléviseur.
Une fois le socle range dans le téléviseur, verrouillez les deux crochets (A) en les positionnant vers l'extérieur.

INSTALLATION DU SOCLE (32LC2R* uniquement)
1 Placez le téléviseur écran face au sol sur une surface protégée afin de ne pas endommager l'écran.
2 Placez le socle sur le téléviseur comme indiquedans le schema ci-dessous.
3 Insérez 4 boulons dans les orifices prévus à cet effet situés à l'arrête du télévisueur.

Pour visualiser le mode d'emploi sur le CD-ROM
Pour visualiser le mode d'emploi sur le CD-ROM, vous doivent installer Adobe Acrobat Reader sur votre ordina-teur. Le dossier "ACRORD" dans le CD-ROM contient les programmes d'installation nécesses-saires. Si vous souhaitez installer ces programmes, selectionnez "Poste de travail" , ouvre "LG" "ACRORD" , puis double-cliquez sur votre langue.
Pour visualiser le mode d'emploi.
Les fichiers du mode d'emploi se trouvent dans le CD-Rom fourni. Insérez le CD-ROM dans le lecteur de CD-ROM de votre ordinateur. Patientez quelques instants. La page Web du CD-ROM s'ouvre alors automatiquement. Si la page Web ne s'ouvre pas automatiquement, ouvre directement le fichier du mode d'emploi (pour Windows uniquement). Dans "Poste de travail", ouvre "LG", puis ouvre le fichier "index.htm".
- Vous pouvez installer ce téléviseur sur le mur, sur un bureau, etc.
Le télévisuer est donc pour etre installe a l'horizontal.
MISEÀ LA TERRE
Assurez-vous de raccorder ce télévisuer à la terre afin d'éviter les chocs ELECTriques. Si la mise à la terre n'est pas possible, demandez à un électricien qualifié d'installer un disjoncteur indépendant. N'essayez pas demettre cet apparéil à la terre en le raccordant à des cables téléphoniques, à un paratonnerre ou à des tuyaux de gaz.

Installation du socle
Afin de permettre une aération suffisante, l'espace minimum requis est de 10 cm de chaque cote et derriere le mur.


Montage au mur : Installation horizontal
Afin de permettre une aeration suffisante, l'espace minimum requis est de 10 cm de chaque cote et derriere le mur. Vous trouvez les instructions détaillées de l'installation chez votre revendeur ; reportez-vous également au Guide de configuration et d'installation de l'interface de montage au mur.



Retirez les vis situées à l'arrière du téléviseur avant d'installer le support de fixation murale.
COMMENT FIXER LE SYSTEME DE MONTAGE AU MUR POUR EVITER LA CHUTE DU TÉLÉVISEUR
Afin d'eviter les accidents et les dégats causés par la chute du téléviseur, installer celui-ci assez pres du mur pour qu'il ne tombe pas lorsqu'il est pousse vers l'arrière et suivre les instructions illustrées ci-dessous montrant comment le fixer au mur pour éviter les chutes en avant. Veiller à ce que les enfants ne se suspendent pas au téléviseur et ne tentent pas de monter dessus.

42PC1RV, 42PC3RV, 42PC3RA*

26LC2R, 27LC2R, 32LC2R, 32LC3R
Utilisez les boulons à œil ou les supports/boulons du téléviseur pour fixer l'appareil au mur, comme indiqué dans l'illustration ci-dessous. (Si avant d'insérer les boulons de l'appareil, ceux-ci sont déjà placés dans la position des boulons à œil, désrez-les.)
* Insérez les boulons à œil ou les supports/boulons du télévisueur, puis serrez-les solidement dans les orifices supérieur.
Fixez les supports muraux à l'aide des boulons (non fournis avec l'appareil, vendus séparément). Ajustez la hauteur du support fixé au mur.

3 Utiliser une corde solide (non fournie avec l'appareil, à acheter séparément) pour attacher l'appareil. Pour plus de sécurité, la corde doit être à l'horizontalité entre le mur et l'appareil.
REMARQUE
Retirer la corde avant de déplacer l'appareil.
Utiliser un support ou un meuble assez grand et solide pour la taille et le poids de l'appareil.
Pour utiliser l'appareil en toute sécurité, veiller à ce le support fixé au mur soit de la même hauteur que l'ap-pareil.
RACCORDEMENTS ET CONFIGURATION
- Ne jamais brancher le cordon d'alimentation avant d'avoir terminé de raccorder tous les équipements pour ne pas endommager l'appareil.
RACCORDEMENT À UNE ANTENNE
Afin d'obtenir la meilleure qualité d'image, réglez la direction de l'antenne.
Le cable et le convertisseur d'antenne ne sont pas fournis.
Logements collectifs/Appartements (Raccordement à la prise d'antenne murale)


Prise d'antenne murale
Antenne THF Antenne UHF

Antenne extérieure

Logements individuels/Villas (Raccordement à la prise murale pour l'antenne extérieure)
Tournez l'embout dans le sens des aiguilles d'une montre pour resserrer.

Connecteur coaxial pour fréquences radioélectriques (75 ohm)
Pour receivevoir une image de toute valeur qualite dans les zones ou les signaux se reçoivent mal, installez sur l'antenne un amplificateur de signaux comme indiqué sur le schema de droite.
Pour acheminer le signal dans deux branchements de télévision, veuillez utiliser un diviseur.

MISE SOUS TENSION DU TÉLÉVISEUR
Pour pouvoir utiliser toutes les fonctions du téléviseur, vous devezmettre celuici sous tension.
Mise sous tension du téléviseur
1 Vous doivent tout d'abord raccorder correctement le cordon d'alimentation. Le téléviseur se met alors en mode de veille.
Pour allumer le téléviseur lorsque celui-ci est en mode de veille, appuyez sur la touche /1 , INPUT ou PR / du téléviseur, ou appuyez sur POWER, TV, INPUT, PR + / - ou sur les touches numériques (0~9) de la télécommande.
Réglage du volume
1 Appuyez sur la touche VOL + / - pour regler le volume.
Si vous souhaitez couper le son, appuyez sur la touche MUTE.
Vous pouvez annuler cette fonction en appuyant sur les touches MUTE, VOL +/- ou I/II.
Sélection des programmes
1 Appuyez sur la touche PR + / - ou sur les touches NUMERIQUES pour selectionner un numero de programme.
REMARQUE
Si vous decide de partir en vacances, débranchez la prise de la prise murale.

Langue du menu à l'écran/ Sélection du pays
Le menu du guide d'installation s'affiche sur l'écran du téléviseur lorsque vous mettez celui-ci sous tension pour la première fois.
1 Appuyez sur la touche / / / , puis sur la touche OK pour selectionner la langue de votrechoix.
2 Appuyez sur la touche / / / , puis sur la touche OK pour selectionner votre pays.
- Si vous souhaitez modifier la langue ou le pays sélectionné
1 Appuyez plusieurs fois sur la touche MENU et la touche / pour selectionner le menu SPÉCIAL.
2 Appuyer sur le bouton et sur le bouton / pour selectionner la Langue (Language). Le menu peut ettre affiché à l'écran en mode de langue désirée.
Appuyer sur le bouton et sur le bouton / pour selectionner la Poy.
3 Appuyez sur la touche , puis utilisez la touche / pour selectionner la langue ou le pays de votrechoix.
4 Appuyez plusieurs fois sur la touche OK.
5 Appuyez sur la touche EXIT pour revenir sur l'image normale du téléviseur.
REMARQUE
Si vous ne terminez pas la configuration du Guide d'Installation en appuyant sur la touche EXIT ou bien avant que l'OSD (Affichage Écran) ne s'éteigne, le guide réapparaître lors du rallumage de l'appareil.
Si vous sélectionnez le mauvais pays, il se peut que le télétexte n'apparaissé pas correctement à l'écran ou que certains problèmes surgissent lors de l'utilisation du télétexte.
L'arabe et l'hébreu ont été ajoutés dans les Pays du Guide d'Installation pour les pays utilisant une de ces deux langues.
FONCTIONS SPECIALES
TELETEXTE
Cette fonction n'est pas disponible dans tous les pays.
La fonction Télatexte (ou Texte TOP) est disponible en option. Par conséquent, seuls les postes sur lesquels le système Télatexte a été installé peuvent receivevoir les émissions têlatexte en utilisant les touches correspondantes.
Le télétexte est un service gratuite diffusé par la plupart des chaines de télévision. Il propose des informations de dernières minute concernant les actualités, la météo, les programmes TV, les valeurs de la bourse, ainsi que de nombreux autres sujets. Le décodeur télétexte de ce téléviseur est compatible avec les systèmes SIMPLE, TOP et FASTEXT. Un télétexte SIMPLE (standard) contient un certain nombre de pages, que l'on peut selectionner en tapant directement le numéro correspondant. TOP (Table Of Page) et FASTEXT offrent des méthodes de selection de page plus modernes, vous permettant d'afficher une page sans connaître son numéro.
Pour activer/désactiver le télétexte
Pour activer le télétexte, appuyez sur la touche TEXT. La première page ou la的最后一 page seLECTIONnee s'affiche. Le décodeur de télétexte sélectionne le mode télétexte retransmis par la station. Deux nombres de page, le nom de la chaine, la date et l'heure sont maintainant affichés sur la première ligne de l'écran. Le premier nombre de page indique votre sélection, tandis que le second indique le numéro de la page actuellément affichée. Pour désactiver le télétexte, appuyez sur la touche TEXT. Le téléviseur réaffiche le mode précédent.
Texte SIMPLE
■ Sélection des pages
1 Tapez les trois chiffres correspondant au numero de la page avec les touches NUMEROTEES. Si vous tapez un mauvais chiffre, completez le numero errone et reconncez, afin de selectionner le numero correct.
Pour selectionner la page precedente ou la page suivante, vous pouvez utiliser la touche PR + / -
Texte TOP (en option)
- Le guide utilisateur situé en haut de l'écran affiche quatre zones colorées en rouge, vert, jaune et bleu. La zone jaune désigne le groupe suivant, la zone bleue le bloc suivant.
■ Sélection des groupes/blocs/pages
- La touche BLEU permet de passer d'un bloc au suivant.
- La touche JAUNE permet de passer au groupe suivant (avec fin de page automatique au bloc suivant).
- La touche VERTE permet d'afficher la page suivante (avec fin de page automatique au groupe suivant). Vous pouvez également utiliser la touche PR+.
- La touche ROUGE permet de revenir en arriere. Vous pouvez également utiliser la touche PR-.
■ Sélection directe des pages
En mode TOP, comme en mode SIMPLE, vous pouvez selectionner une page télétexte en tapant les trois chiffres correspondant à son nombre avec les touches NUMEROTEEES.
FASTEXT
- Les pages télétexte sont codées en fonction des cases colorées figurant en bas de l'écran. Pour sélectionner une page, il suffit d'appuyer sur la touche de couleur correspondante.
■ Sélection des pages
- Sélectionnez la page d'index en appuyant sur la touche i INDEX.
- Vous pouvez selectionner les pages codées en fonction des cases colorées en appuyant sur la touche de couleur correspondante.
- En mode FASTEXT, comme en mode SIMPLE, vous pouvez selectionner une page télétexte en tapant les trois chiffres correspondant à son numéro avec les touches NUMEROTES.
- Pour selectionner la page precedente ou la page suivante, utilisez la touche PR+/-.
MÉmorisation des chaînes TV
SELECTION ET RÉGLAGE DES MENUS À L'ÉCRAN
Il est possible que l'affichage à l'écran de votre téléviseur soit différent de celui indiqué dans les schémas de ce manuel.
Les exemples de l'affichage à l'écran sont deux des modèles 42PC1RV, 42PC3RV, 42PC3RA*.
1 Appuyez plusieurs fois sur la touche MENU et la touche / , pour Broker l'affichage de chaque menu.
2 Appuyer sur le bouton et sur le bouton / pour selectionner une option de menu.
3 Changer le paramétrage d'une option dans le sous-menu ou le menu dérouulant avec le bouton / .
Vous pouvez vous déplacer vers le menu supérieur en appuyant sur la touche OK ou sur la touche MENU.


NOTE
a. La fonction OSD (Menu à l'écran) vous permet de régler le menu de l'écran à votre convenance car cette fonction est pourvue d'une presentation graphique.
b. Il est possible que l'OSD (Menu à l'écran) de ce Mode d'emploi soit différent de celui de votre téléviseur; il est effectivement donné à titre d'exemple pour faciliter la configuration du téléviseur.
c. En mode Télexteste, les menus ne sont pas disponible.
MÉMORISATION DES CHÂINES
Votre téléviseur peut memoriser jusqu'a 100 chaînes, sous forme de numérios (de 0 à 99). Une fois les chaînes programmées, vous pouvez les visionner l'une après l'autre en utilisant la touche PR +/- ou les touches NUMEROTEES.
Vous avez la possibilité d'effectuer la programmation en mode automatique ou en mode manuel.
Cette méthode permet de memoriser tous les programmes qui peuvent être reçus. Nous vous recommendons d'utiliser la programmation automatique lors de l'installation du téléviseur.
1 Appuyez plusieurs fois sur la touche MENU et la touche / pour selectionner le menu EMETTEUR.
2 Appuyer sur la touche et la touche / pour selectionner la Prog. auto.
3 Appuyez sur la touche , puis utilisez les touches / pour selectionner Systeme.
4 Appuyez sur les touches / pour selectionner un menu du système TV;
L : SECAM L/L' (France)
BG : PAL B/G, SECAM B/G (Europe/Europe de l'Est/Asie/ Nouvelle-Zélande/Moyen-Orient/Afrique/Australie)
I : PAL I/II (Royaume-Uni/Irlande/Hong Kong/Afrique du Sud)
DK : PAL D/K, SÉCAM D/K (Europe de l'Est/Chine/Afrique/CEI)
5 Sélectionnez Mémoire avec la touche / .
6 Appuyez sur les touches / ou sur les touches NUMERIQUES pour selectionner le numero de chaine de départ. Si vous utilisez les touches NUMERIQUES, tout numero inférieur a 10 doit etre precede du chiffre "0"; par ex.: "05" pour 5.
7 Sélectionnez Début avec la touche ▲ / ▼.
Lancez la programmation automatique en appuyant sur la touche Toutes les chaînes qui peuvent être reçues sont mises en mémoire. Pour les chaînes qui recoivent les informations VPS (Video Programme Service), PDC (Programme Delivery Control), Télétexte, le nom de la chaîne est mémorisé. Si aucun nom de chaîne peut être associé à une chaîne, le numéro de canal est attribué et mémorisé sous la forme C (V/UHF 01-69) ou S (Cable 01-47), suivi d'un numéro.
Pour arrêter la programmation automatique, appuyez sur la touche MENU.
En fin de programmation automatique, le mode Edition programmes apparait à l'écran. Pour éoperator le programme méorisé, reportez-vous à la section 'Edition des programmes'.
9 Appuyez sur la touche EXIT pour revenir au visionnage du téléviseur.


1


2
3 4 5 6 7

8
CONSEILS DE DÉPANNAGE
L'opération ne fonctionne pas normalement.
Mauvais fonctionnement de la télécommande
Vérifiez qu'aucun obstacle n'empêche la transmission du signal de la télécommande vers le moniteur.
Vérifiez que la polarité des piles est correcte (+ sur +, - sur-)
Vérifiez que le mode de fonctionnement à distance est correct : TV, VCR etc.
- Remplacez les piles.
L'appareil s'éteint soudainement
Le mode veille est peut'être activé.
Vérifiez les réglages de mise sous/hors tension. L'alimentation a été interrompue.
Aucune station d'émission n'est syntonisée avec le mode de mise en veille activé.
Mauvais fonctionnement de la fonction video.
Absence d'image et de son
Vérifiez que l'appareil est allumé.
■ Essayez de passer sur une autre chaine. Il s'agit peut-être d'un problème d'émission.
Vérifiez que le cordon d'alimentation est correctement branché sur la prise secteur.
Vérifiez la direction et/ou l'emplacement de l'antenne.
Vérifiez la prise secteur en y branchant un autre apparéil.
L'image apparait lentement après avoir allumé l'appareil
Il est normal que l'image apparaisse lentement lorsque l'appareil s'allume. Si aucune image n' apparait au-delà de cinq minutes, contactez le service technique.
L'image et les couleurs sont mauvaises
Réglez la Couleur à l'aide des options du menu.
Assurez-vous que l'appareil et le magnétoscope sont suffisamment espacés l'un de l'autre.
■ Essayez de passer sur une autre chaine. Il s'agit peut-être d'un problème d'émission.
Assurez-vous que les cables du magnétoscope sont correctement installés.
Activez n'importe qu'elle fonction pour restaurer la luminosité de l'image.
Barres verticals/horizontales ou tremblement de l'image
Décelez une possible interférence avec un apparéil ou un outil électrique.
Mauvaise réception de certaines chaînes
Il se peut que la station d'émission ait des problèmes, symtonisez sur une autre chaîne.
Le signal émis par la station d'émission est faible; changez la direction de l'antenne pour receivevoir un signal.
Detectez les sources de possibles interférences.
L'imageparrait avec desraiesoudes lignes
Vérifiez l'antenne (changez la direction de l'antenne).
| Mauvais fonctionnement de la fonction audio. | |
| Image normale mais absence de son | ■ Appuyez sur la touche VOL +/-. ■ Le son est-il activé? Appuyez sur la touche MUTE. ■ Essayez de passer sur une autre châne. Il s'agit peut-être d'un problème d'émission. ■ Assurez-vous que les câbles audio sont correctement installés. |
| Absence de son sur un des hautparleurs | ■ Réglez la Balance à l'aide des options du menu. |
| Bruit particulier provenant de l'ap-pareil | ■ L'appareil émet un bruit particulier lorsque vous l'activez et le désactivez. Ce bruit est dû au changement de température ou du taux d'humidité et n'est enaucun cas le signe d'un dysfonctionnement de l'appareil. |
| Il existe un problème en mode PC. (S'applique seulement au mode PC) | |
| Le signal est hors de la gamme. | ■ Ajustez la résolution, la fréquence de lignes ou la fréquence du balayage vertical. ■ Vérifiez la source d'entrée. |
| Barres verticales ou raiés à l'arrière-plan, bruit horizontal, position incor-recte | ■ Activez la configuration automatique ou ajustez l'horloge, la phase, ou la position H/V. |
| La couleur de l'écran n'est pas stable ou devient monochrome | ■ Vérifiez le cable du signal. ■ Réinstalléla carte vidéo du PC. |
ENTRETIEN
Vous pouze éviter les dysfonctionnement prematurés. Un nettoyage régulier permet d'accroître la durée de vie utile de votre téléviseur. Assurez-vous demettre vos detéléviseur hors tension et de débrancher le cordon d'alimentation avant de procédéur au nettoyage.
Nettoyage de l'écran
Pour dépoussierer correctement votre écran, procédez comme suit. Humidifiez un chiffon doux avec un mélange d'eau tiède et d'adoucisseur (ou liquide vaisselle). Essorez le chiffon jusqu'à ce qu'il soit presque sec, puis frottez l'écran delicatement.
Assurez-vous de retarder l'excess d'eau sur l'écran et laissez secher à l'air libre avant de remettre votre téléviseur sous tension.
Nettoyage de la carasse
Pour retirer la poussiere ou les saletés, nettoyez la carasse avec un chiffon non pelucheux doux et sec.
N'utilisez pas de chiffon humide.
Absence prolongée
ATTENTION
En cas d'inutilisation prolongée de votre téléviseur (par exemple si vous partez en vacances),nous vous conseillons de débrancher le cordon d'alimentation afin de ne pas endommager votre téléviseur en cas d'orage ou de surcharges électriques.
Notice Facile