MODE D'EMPLOI AVC-X3800H DENON
Manuel de l'Utilisateur
Accessories 8
Insertion des piles 9
Portee de la telecommande 9
10 Caractéristiques
Audio haute qualite 10
Fonctionnementaisé 16
Nomenclature et fonctions 17
Panneau avant 17
Affichage 20
Panneau arriere 22
Télécommande 26
Connexions
Installation des enceintes 30
Branchement enceintes 37
Avant le branchement des enceintes 37
Configuration de l'enceinte et paramétrages de l"Affektation des Amphis" 41
Branchement d'enceintes 5.1 canaux 43
Branchement d'enceintes 7.1 canaux 44
Branchement d'enceintes 9.1 canaux 48
Branchement d'enceintes 11.1 canaux 55
Branchement d'enceintes 7.1 canaux : Connexion bi-amp des enceintes avant 59
Branchement d'enceintes 7.1 canaux : Deuxieme paire d'enceintes avant 60
Branchement d'enceintes multi-zones 61
Connexion d'un amplificateur de puissance exter 63
Connexion d'un téléviseur 64
Connexion 1 : Televiseur équipé d'uneorne HDMI et compatible avec la fonction ARC (Audio Return Channel) / eARC (Enhanced Audio Return Channel) 65
Connexion 2 : Televiseur équipé d'une borne HDMI et incompatible avec la fonction ARC (Audio Return Channel) / eARC (Enhanced Audio Return Channel) 66
Connexion 3: Televiseur non equipe d'une borne HDMI 67
Connexion d'un dispositif de lecture 68
Connexion d'un decodeur (Tuner satellite/TV par cable) 69
Connexion d'un lecteur DVD ou le lecteur Blu-ray Disc 70
Connexion d'un appeareil de lecture compatible avec le 8K 71
Connexion d'un caméscope video ou d'un console de yeux 72
Connexion d'une platine 73
Connector un dispositif mémoire USB au port USB 74
Connexion à un réseau domestique (LAN) 75
LAN filaire 75
LAN sans fil 76
Connexion d'un dispositif de commande externe 77
Prises REMOTE CONTROL 77
Borne TRIGGER OUT 78
79
Lecture
Utilisation basique 81
Mise sous tension 81
Sélection de la source d'entrée 81
Réglage du volume 82
Coupure temporaire du son (Sourdine) 82
Lecture avec les lecteurs DVD/Blu-ray Disc 82
Lecture du contenu d'un dispositif mémoire USB 83
Lecture des fichiers d'un dispositif mémoire USB 84
Écouter de la musique sur un périphérique Bluetooth 87
Lecture de musique à partir d'un périphérique Bluetooth 88
Appariement avec d'autres péripériques Bluetooth 89
Reconnexion à cet apparéil à partir d'un périphérique Bluetooth 90
Écoute de l'audio avec un casque Bluetooth 91
Écoute de l'audio avec un casque Bluetooth 92
Reconnexion à un casque Bluetooth 93
Déconnexion d'un casque Bluetooth 93
Écoute de Radio Internet 94
Écoute de Radio Internet 95
Lecture de fichiers stockés sur un ordinateur ou un stockage NAS 96
Lecture de fichiers stockés sur un ordinateur ou un stockage NAS 97
Obtenir HEOS App 100
Compte HEOS 101
Lecture depuis des services de diffusion de musique 102
Écouter la même musique dans plusieurs pieces 105
Fonction AirPlay 109
Lecture de titres de votre iPhone, iPod touch ou iPad 110
Lecture de la musique iTunes avec cet apparéil 110
Lisez un morceau depuis votre iPhone, vous iPodtouch ou yours
iPad sur plusieurs apparéils synchronisés (AirPlay 2) 111
Fonction Spotify Connect 112
Lecture de la musique Spotify avec cet apparéil 112
Fonctions pratiques 113
Ajout des Favoris HEOS 114
Lecture des Favoris HEOS 114
Suppression des Favoris HEOS 115
Ajuster le volume de chaque canal pour le faire correspondre à la source d'entrée (Réglage niv. Canal) 116
Réglage de la tonalité (Tonalité) 117
Affichage de la video voulue lors de la lecture audio (Select. Video) 118
Réglage de la qualité d'image pour votre environnement de visualisation (Mode photo) 119
Lecture de la même musique dans toutes les zones (Toutes zones stéreo) 120
Modification des paramètres d'enceinte pour les adapter à l'environnement d'écoute (Présélection des HP) 121
Sélection d'un mode d'écoute 122
Selection d'un mode d'écoute 123
Lecture directe 124
Mode son qui peut être seLECTIONné pour chaque signal d'entrée 131
Fonction de contrôle HDMI 137
Procédure de réglage 137
Fonction de minuterie sommeil 140
Utilisation de la minuterie sometime 141
Fonction de selection rapide plus 142
Solliciter le paramétrage 143
Modification des réglages 144
Fonction de verrouillage du panneau 145
Désactivation de toutes les opérations de touche 145
Désactivation de toutes les opérations de touche sauf VOLUME 145
Annulation de la fonction de verrouillage du panneau 146
Fonction de verrouillage à distance 147
Désactivation de la fonction de capteur de la télécommande 147
Activation de la fonction du capteur à distance 147
Fonction de contrôle Internet 148
Contrôle de l'appareil à partir d'un contrôle Web 148
Lecture dans la ZONE2 (differente piece) 150
Connexion de ZONE2 150
Lecture dans ZONE2 153
Réglages
Plan du menu de l'interface graphique 155
Fonctionnement du menu 159
Audio 160
Réglage niv Centrale 160
Réglageniv Subw 160
Paramètres surr. 161
Restorer 167
Délai audio 168
Volume 169
Audyssey® 170
EQ Graphic 173
Vidéo 175
Réglages image 175
Config.HDMI 177
Réglages sorties 182
Affichage à l'écran 186
Economiseur d'écran 187
Format signal 4K/8K 187
Configuration HDCP 189
Format TV 189
Entrées 190
Affectation des entrées 190
Renommer les sources 193
Masquer les sources 193
Niveau des sources 193
Enceintes 194
Conf. Audyssey 194
Procédure pour les réglages des enceintes (Conf. Audyssey®) 196
Message d'erreur 202
Retour aux réglages "Conf. Audyssey" 204
Config. manuelle 205
Affectation des Amphis 205
Config. enceintes 212
Distances 216
Niveaux 217
Crossover 218
Graves 219
Enceintes avant 220
Présélection des HP 220
Réseau 221
Informations 221
Connexion 221
Config.Wi-Fi 222
Réglages 224
Commande réseau 226
Nom convivial 226
Diagnostic 227
AirPlay 227
Compte HEOS 228
Vous ne vous etes pas connecté 228
Vous etes déjà connecté 228
Général 229
Langue 229
ECO 229
Émetteur Bluetooth 233
Config.de ZONE2 234
Renommer zone 236
Sélect.Rapid.Nom 236
Sortie Trigger 237
Afficheur façade 237
Micrologiciel 238
Informations 241
Données d'utilisation 243
Sauveg. & charger 243
Verroudeconfig. 244
Réinitialiser 244
Limiter la zone d'opération avec la télécommande 245
Conseils
| Conseils | 247 |
| Dépistage des pannes | 249 |
| L'alimentation ne se met pas sous/hors tension | 250 |
| Les opérations ne peuvent pas être effectuées via la télécommande | 251 |
| L'affichage sur cet apparéil n'affiche rien | 251 |
| Aucun son n'est émis | 252 |
| L'audio souhaité n'est pas émis | 253 |
| Le son est interrompu ou on entend des bruits | 256 |
| Aucune réserve ne s'affiche sur le téléviseur | 257 |
| L'écran du menu ne s'affiche pas sur le téléviseur | 259 |
| La couleur de l'écran du menu et le contenu des opérations affichées sur le téléviseur est différente de la normale | 259 |
| Impossible de sire AirPlay | 260 |
| Impossible de sire les dispositifs mémoire USB | 261 |
| Impossible de sire le Bluetooth | 262 |
| Impossible de sire la radio Internet | 264 |
| Impossible de sire les fichiers musiques sur le PC ou le NAS | 265 |
| Plusieurs services en ligne ne peuvent pas être lis | 266 |
| La fonction HDMI Contrôle ne fonctionne pas | 266 |
| Impossible de se connecter à un réseau local sans fil | 267 |
| Lors de l'utilisation de HDMI ZONE2, les dispositifs ne fonctionnent pas correctement | 268 |
| Messages d'erreur de mise à jour/mise à niveau | 269 |
| Réinitialisation des réglages d'usine | 270 |
| Réinitialisation des réglages du réseau | 271 |
| Restauration du micrologiciel aux valeurs par défaut de l'usine | 272 |
Annexe
| À propos de HDMI | 273 |
| Relation entre les signaux video et la sortie du moniteur | 277 |
| Lecture de dispositifs mémoire USB | 279 |
| Lecture d'un périphérique Bluetooth | 280 |
| Lire un fichier sauvégardé sur un ordinateur ou sur un NAS | 281 |
| Lecture de radio Internet | 282 |
| Fonction mémoire personnelle plus | 282 |
| Fonction的最后一ère mémoire | 282 |
| Explication des termes | 283 |
| Renseignements relatifs aux marques commerciales | 292 |
| Spécifications | 294 |
| Index | 300 |
Nous vous remercions d'avoir acquis cet apparéil Denon.
Afin d'assurer son bon fonctionnement, veuillez dire attentivement ce manuel de l'utiliseur avant d'utiliser l'appareil.
Après avoir lu le manuel, veuillez le conserver pour toute reférence future.
Accessories
Assurez-vous que les articles suivants sont fournis avec l'appareil.
| Guide de démarrage rapide | Instructions de sécurité | Précautions d'utilisation des piles | Remarque sur la radio | Étiquette du cable |
| Cordon d'alimentation | Microphone d'étalonnage du son | Support de microphone d'étalonnage du son | Télécommande (RC-1239) | Piles R03/AAA |
| Antennes externes pour une connexion Bluetooth/Sans fil | |
Insertion des piles
1 Déplacez le couvercle arrêté dans la direction de la flèche et retirez-le.

2 Insérez correctement deux piles dans le compartment à pile comme indiqué.

3 Remettez le couvercle en place.
REMARQUE
- Pour éviter un endommagement de la télécommande ou une fuite du liquide des piles:
- Ne pas mélanger piles neuves et anciennes.
- Ne pas utiliser deux types de piles différents.
- Otez les piles de la télécommande si vous ne l'utilise pas pendant longtemps.
- En cas de fuite du liquide de pile, essuyez soigneusement l'intérieur du compartment avant d'insérer de nouvelles piles.
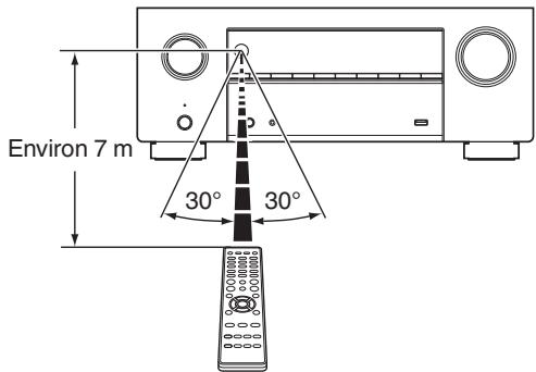
Portée de la télécommande
Pointez la télécommande vers le capteur de télécommande de l'unité.

Audio haute qualité
- Puissant amplificateur à 9 canaux avec les dernières specifications de Home Cinema
Dote d'amplificateurs discret à courant élevé sur tous les canaux, cet apparéil vous offre une puissance élevée de 105 watts par canal (8 Ω/ ohms, 20 Hz - 20 kHz, T.H.D.: 0,08 %, 2 canaux) pour fournir une expérience de divertissement à la fois dynamique et précise.
Dolby Atmos (p. 284)
Cet apparéil est équipé d'un décodeur qui prend en charge le format audio Dolby Atmos. La localisation ou l'acheminement du son est précisément produit par l'ajout d'enceintes au plafond, vous permettant d'expérimer un incroyable champ acoustique sonore naturel et réaliste.
- Virtualiseur de HP (p. 163)
Virtualisér de HP vous permet d'accéder à une expérience de divertissement plus immersive depuis les configurations d'enceintes traditionnelles basées sur des canaux, via le traitement du signal numérique, notamment la virtualisation en hauteur Dolby Atmos et la virtualisation surround.
- Virtualiseur de HP doit pas etre utiliser lorsque les enceintes hautes et les enceintes surround sont connectees.
- La virtualisation de hauteur peut être appliquée lorsque des enceintes surround sont connectées.
DTS:X (p. 287)
Cet apparéil est équiné de la technologie de décodeur DTS:X. Gráce à la technologie audio immersive du DTS:X, basée sur les objets et qui supprime les limites des canaux, l'expérience du Home Cinema atteint de nouveaux sommets. La flexibilité des objets permet d'élargir ou rétrécir le son et de le déplacer dans la piece avec une précision incomparable pour une expérience audio immersive plus riche.
- DTS Virtual:X (18 p. 287)
La technologie DTS Virtual: X intègue la fonctionnalité exclusive de DTS supérieure virtuelle et supérieure surround pour offrir une expérience sonore immersive depuis n'importe queelle source d'entrée (du signal stéreo au signal 7.1.4 canaux) et de configuration d'enceintes.
- Vous ne peuvent pas utiliser DTS Virtual:X lorsque les enceintes hautes sont connectées.
Ce produit IMAX Enhanced est conforme aux plus strictes normes de performance établies par IMAX et DTS pour créé une barre cohérente et supérieure de performances sonores. DTS a développé une méthode particulière pour reproductive l'expérience sonore de la signature IMAX dans le foyer du consommateur. Cette méthode combine un processus de conversion unique pour les mixages audio de cinema IMAX grâce à une technologie améliorée du codec DTS. Le format audio de cinema IMAX avec des enceintes surround à source ponctuelle correspond étroitement à la configuration d'enceinte dont disposent aujourd'hui la plupart des consommateurs chez eux. Couplés à la technologie audio DTS, les produits IMAX Enhanced permettent d'assurer la reproduction audio la meilleure et la plus précise en 5.1 canaux d'enceinte ou plus.
Audyssey LFC™ résout le problème des sons basses fréquences qui dérangent les personnes dans les pièces ou les appartements voisins. Audyssey LFC™ surveille le contenu audio de manière dynamique et supprime les basses fréquences qui traversent les murs, les sols et les plafonds. Il applique ensuite un traitement psychoacoustique afin de restaurer la perception des basses pour les auditeurs prênts dans la pièce. Il en résultat un son d'excellente qualité qui ne dérange plus les voisins.
- Subwoofoers et Audyssey Sub EQ HT™ discretics (p. 195)
L'appareil inclut une capacité de sortie de deux subwoofer et peut ajuster le niveau et le décalage pour chaque subwoofer individuellement.
Audyssey Sub EQ HT™ facilité l'intégration en compensant d'abord toute différence de niveau et de décalage entre les deux subwooferés puis en appliquant Audyssey MultEQ® XT32 aux deux subwooferés simultanément pour des détails et une réponse de basses profondes améliorés.
L'expérience ultime du Home Cinema - compatible 8K
Cet apparéil offre une expérience de Home Cinema ultime avec un pass-through 8K/60Hz, un pass-through 4K/120 Hz pour les yeux et la prise en charge des dernières specifications HDMI. Cette unité permet de construire le meilleur système de Home Cinema 4K et offre la commodité de savoir que le récepteur AV utilisé est prét pour le format 8K chaque fois que l'utilisateur decide de l'utiliser.
Bénéficiez de la qualité qualité audio et video 3D pour les besoin de divertissement les plus exigeants.
Cet apparéil est compatible avec la norme de protection des droits d'auteur HDCP 2.3.
- Le processeur video numérique met à l'échelle SD (résolution) ou HD (720p/1080p) / 4K à 8K

Cet apparéil est équipé d'une fonction de video ascendante 8K qui permet de reproductive une video SD (Standard Definition) ou HD (High Definition)/4K 60 Hz en résolution HDMI à 8K (7680 × 4320 pixels). Cette fonction permet à l' apparéil d'être connecté à un téléviseur à l'aide d'un simple cable HDMI, et de produit des images en haute définition pour n'importe qu'elle source video.
- Equipé de la sortie HDMI ZONE2 (p. 150)
La sortie multipièces ZONE2 comprend une sortie HDMI qui vous permet de profiter d'une autre source A/V dans cette pièce, avec un autre programme en cours de lecture dans la pièce principale.
- Les connexions HDMI permettent la connexion à divers apparéils AV numériques (7 entrées, 3 sorties)

Pour la connexion à un large évendant de sources numériques, cet apparéil offre 7 entrées HDMI qui vous permettent de connecterrapidement et facilement un caméscope, une console de produits ou tout autre apparéil équipé HDMI. Il y a deux sorties HDMI pour la pièce principale et une troisième sortie HDMI pour ZONE2.
- Compatibleité de la fonction eARC (Enhanced Audio Return Channel)
La fonction eARC est compatible avec les formats audio compatibles avec la fonction ARC traditionnelle en plus du PCM linéaire multicanaux, Dolby TrueHD, Dolby Atmos, DTS-HD Master Audio, DTS:X et d'autres formats audio qu'une fonction ARC traditionnelle ne peut pas transmettre.
En outre, le raccordement à un téléviseur compatible avec la fonction eARC permet de profiter d'une lecture sonore de toute quality du contenu audio lu sur votre téléviseur.
- Ce dispositif est équipé d'une fonction AirPlay® en plus des fonctions réseau telle que la radio internet, etc. (p. 109)

Vou puevez profiter d'un large éventail de contenus, notamment écouter la radio sur Internet et dire des fichiers audio enregistrés sur votre ordinateur.
Cet apparéil prend également en charge Apple AirPlay qui vous permet de diffuser en flux votre bibliothèque musicale depuis un iPhone®, iPad®, iPod touch® ou iTunes®.
- Prend en charge l'audio sans fil "AirPlay 2 ^ 很
Synchronise plusieurs appareils/enceintes compatibles avec AirPlay 2 pour une lecture simultanée.
Cet apparéil prend en charge AirPlay 2 et nécessite iOS 11.4 ou une version ultérieure.
- Lecture de fichiers DSD et FLAC par USB et par réseau
Cet apparéil prend en charge la lecture des formats audio de haute résolution tels que les fichiers DSD (5,6 MHz) et FLAC 192 kHz. Il offre une haute qualité de lecture des fichiers en haute résolution.
- Une connexion sans fil avec des périhériques Bluetooth peut être effectue facilement (p. 87)


Vou pouve appréciér de la musique simplement en vous connectant sans fil avec votre smartphone, tablette, ordinateur, etc.
- Connexion d'un casque Bluetooth
Cet apparéil peut émettre en connexion Bluetooth pour vous faire profiter du son sans fil avec votre casque Bluetooth.
La lecture est possible simultanément avec des enceintes connectés et le casque Bluetooth, ou uniquement avec un casque Bluetooth.


Vous pouvez selectionner et dire les entrées correspondantes dans la MAIN ZONE et la ZONE2.
De plus, lorsque la fonction Toutes zones stéreo est utilisé, la musique en cours de lecture dans MAIN ZONE peut être appréciée dans toutes les zones en même temps. Cette fonction est utile si vous pouze laisser la musique de fond dans toute la maison.
- Conception à économique d'énergie
Cet apparéil est équipé d'une fonction Mode ECO qui vous permet de profiter de la musique et des films tout en réduisant la consommation électrique lors de l'utilisation. De plus, une fonction de veille automatique étèint ainsi automatiquement l'alimentation lorsque l' apparéil n'est pas utilisé. Cela permet de réduire la consommation électrique inutil.
- Compatible avec l'application "Denon 2016 AVR Remote"* pour effectuer des opérations de base de l'appareil avec des apparciels iPad, Phone ou Android™ (Google, Amazon Kindle Fire)

En plus des toutes les nouvelles caractéristiques, les graphismes et l'interface utilisateur ont été entièrement révisés. La nouvelle application vous permet de contrôler entièrement cet apparéil, ainsi que d'acceder à son menu de configuration pour des réglages détaillés à partir de vos téléphones ou tablettes. L'application "Denon 2016 AVR Remote" vous permit également d'acceder à tout moment à l'affichage du statut du récepteur, aux menus d'options, au tableau de contrôle du lecteur Blu-ray Disc Denon et à un manuel de l'utilisateur en ligne.
-
Téléchargez la l'application "Denon 2016 AVR Remote" appropriée pour vos apparèels iOS ou Android. Cét apparèil doit être connecté au même réseau LAN ou Wi-Fi (réseau local sans fil) que celui auquel l'iPad, l'iPhone ou l'appareil Android™ est connecté.
-
Grâce à HEOS, vous pourrez écouter de la musique en streaming depuis vos lecteurs en ligne favoris


Le système audio surround multi-pieces sans fil HEOS vous permet de profiter de votre musique préféroyé où vous pouze, chez vous. Par l'utilisation de votre réseau domestique et de HEOS App (disponible sur iOS, Android et tout apparéil Amazon), vous pouvez explorer, parcourir et dire de la musique depuis votre propre bibliothèqueusicale ou depuis des services de diffusion de musique en ligne.
Quand plusieurs produits avec HEOS intégré sont connectés au même réseau, ils peuvent être regroupés pour生存 la même musique simultanément sur tous les produits, mais ils peuvent également生存 plusieurs morceaux différents sur chacun d'eux.
Fonctionnement aisé
- "Assistant de config.", fournissant des instructions de configuration facies à suivre
Selectionnez tout d'abord la langue lorsqu vous y'este invite. Ensuite, suivez simplement les instructions qui s'affichent sur I'ecran de votre téléviseur pour configurer les enceintes, le reseau, etc.
- Interface graphique simple d'emploi
Cet apparéil est doté d'une interface utilisateur graphique pour améliorer sa fonctionnalité.
Nomenclature et fonctions
Panneau avant

Pour plus de détails, voir la page suivante.

Touche d'alimentation (Φ)
Permet demettre l'alimentationde MAIN ZONE (la piece ou se trouve cet apparéil) en marche/arrêt (veille).(p.81)
Témoin d'alimentation
Il s'allume comme suit en fonction du statut d'alimentation :
- Vert : Mise sous tension
- Arrêt : Veille normale
- Rouge:
Lorsque "HDMI Pass Through" est régèle sur "Marche" (p. 177)
Lorsque "HDMI Contrôle" est régèle sur "Marche" (p. 179)
Lorsque "Commande reseau" est regle sur "Toujours actif" (p. 226)
3 Molette SOURCE SELECT
Elletpermet deselectionnerlasourced'entree.(p.81)
4 Capteur de télécommande
Il recoit les signaux provenant de la télécommande. (p. 9)
Affichage
Cet écran affiche divers types d'informations. (p. 20)
6 Molette MASTER VOLUME
Ellepermdet'ajusterle nivauudvolume.(p.82)
7 Touche PURE DIRECT
Ceci permet de commuter le mode son entre Direct, Pure Direct et Auto surround.
Passage au mode audio. (p. 122)

9 Touche ZONE2 ON/OFF
Il permet demettre sous/hors tension l'alimentation de la ZONE2 (differente piece). (p. 153)
10 Touche ZONE2 SOURCE
Elle permit de sélectionner la source d'entrée pour ZONE2. (p. 153)
1 Touche DIMMER
Chaque fais que vous appuyez sur cette touche, la luminosité de l'affichage change. (p. 237)
12 Touche STATUS
Chaque fais que vous appuyez sur cette touche, les informations relatives au statut affiché sur l'écran changent.
18 Touches QUICK SELECT
En appuyant une seule fois sur n'importe laquelle de ces touches, vous pouze faire apparaitre différents réglages enregistrés sur chaque touche, tels que les réglages de la source d'entrée, du niveau du volume et du mode audio. (p. 142)
Prise de casque audio (PHONES)
Ceci sert a connecter un casque audio.
Si un casque est branché sur cette prise, le signal audio n'est plus transmis par les enceintes connectées ni par les bornes PRE OUT.
REMARQUE
- Afin d'éviter toute perte auditive, ne pas augmenter excessivement le niveau du volume lors de l'utilisation du casque.
15 Prise SETUP MIC
Ceci sert à connecter le microphone d'étalonnage de son fourni. (p. 197)
16 Port USB()
Ceci sert à connecter des dispositifs de stockage USB (tehs que des dispositifs mémoire USB). (p. 74)
Affichage

Témoins de mode de signal d'entrée
Ceuxci s'allument en fonction des réglages du mode d'entrée audio de chaque source d'entrée. (p. 192)
Témoins du surround arrière
Ces tímoins s'allument lorsque les signaux audio sont transmis à partir des enceintes surround arrêté. (p. 213)
3 Témoins du décodeur
Ces tiemoins s'allument lorsque des signaux Dolby ou DTS sont émis ou lorsque le décodeur Dolby ou DTS est sous tension.
Témoin Audyssey®
Ces tímoins s'allument lorsque "MultEQ® XT32", "Dynamic EQ", "Dynamic Volume" ou "Audyssey LFC™" a été configuré. (p. 170)
5 Témoin de minuterie
Cés témoins s'allument lorsque la minuterie sommeil a été sélectionnée. (p. 140)

6 Témoin de volume
Témoin MUTE
Ce témoin clignote lorsque le son est coupé. (p. 82)
Affichage des informations
Le nom de la source d'entrée, le mode audio, les valeurs des réglages et autres informations sont affichés ici.
9 Témoins de signal d'entrée
Le témoin respectif s'allumera en fonction du signal d'entrée. (p. 192)
Témoin ZONE2
Ce témoin s'allume lorsque la ZONE2 (differente piece) est sous tension. (p. 153)
Panneau arrête

Pour plus de détails, voir la page suivante.

1 Connecteurs Bluetooth/d'antenne LAN
Utilisé pour connecter les antennes externes inclues pour une connexion Bluetooth/sans fil lors de la connexion à un réseau local sans fil, ou lors de la connexion à un appareil portable via Bluetooth. (p. 76)
① Placez les antennes externes pour une connexion Bluetooth/sans fil de façon uniforme sur la borne à vis de l'arrière.
② Tournez dans le sens des aiguilles d'une montre jusqu'à ce que les antennes soient bien connectées.
③ Faites tourner l'antenne vers le haut pour une meilleure réception.

2 Borne TRIGGER OUT
Utilisées pour connecter des dispositifs équipés de la fonction trigger. (p. 78)
Borne RS-232C
Permet de connecter des dispositifs de commande domotique équipés de bornes RS-232C. Consultez le manuel de l'Utilisateur du contrôleur domestique externe pour plus d'informations sur le contrôle en série de cet apparéil.
Veuillez executer la procEDURE ci-dessous aparavant.
① Mettez en marche cet apparéil.
② Eteignez cet appeareil à partir du contrôleur externe.
③ Vérifiez que l'appareil est en mode veille.
4 Bornes audio numériques (DIGITAL AUDIO)
Utilisées pour connecter des dispositifs équipés de bornes audio numérique.
"Connexion 2: Televiseur équipé d'une borne HDMI et incompatible avec la fonction ARC (Audio Return Channel) / eARC (Enhanced Audio Return Channel)" (p. 66)
"Connexion 3: Televiseur non équipé d'une borne HDMI" (p. 67)
"Connexion d'un decodeur (Tuner satellite/TV par cable)" (p. 69)
- "Connexion d'un lecteur DVD ou le lecteur Blu-ray Disc" (p. 70)

Prises REMOTE CONTROL
Utilisées pour connecter des récepteurs/transmetteurs infrarouges capables de commander cet apparéil et les apparéils externes depuis une autre piece. (p. 77)
Borne NETWORK
Sert à connecter un cable LAN lors de la connexion à un réseau LAN cable. (p. 75)
Borne SIGNAL GND
Sert a connecter un cable de mise à la terre à la platine. (p. 73)
3 Bornes video (VIDEO)
Utilisées pour connecter des dispositifs équipés de bornes video.
"Connexion 3: Televiseur non équipé d'une borne HDMI" (p. 67)
"Connexion d'un decodeur (Tuner satellite/TV par cable)" (p. 69)
- "Connexion d'un lecteur DVD ou le lecteur Blu-ray Disc" (p. 70)
9 Bornes HDMI
Utilisées pour connecter des dispositifs équipés de bornes HDMI.
- "Connexion 1: Televisueur equipoed'une borne HDMI et compatible avec la fonction ARC (Audio Return Channel) / eARC (Enhanced Audio Return Channel)" (p. 65)
- "Connexion 2: Televiseur équipé d'une borne HDMI et incompatible avec la fonction ARC (Audio Return Channel) / eARC (Enhanced Audio Return Channel)" (p. 66)
"Connexion d'un decodeur (Tuner satellite/TV par cable)" (p. 69)
- "Connexion d'un lecteur DVD ou le lecteur Blu-ray Disc" (p. 70)
- "Connexion d'un apparéil de lecture compatible avec le 8K" (197 p. 71)
"Connexion d'un caméscope video ou d'un console de produits" (p. 72)
10 Prise CA (AC IN)
Utilisée pour brancher le cordon d'alimentation. (p. 79)

11 Bornes audio analogiques (AUDIO)
Utilisées pour connecter des dispositifs équipés de bornes audio analogue.
"Connexion d'un decodeur (Tuner satellite/TV par cable)" (p. 69)
- "Connexion d'un lecteur DVD ou le lecteur Blu-ray Disc" (p. 70)
- "Connexion d'une platine" (197 p. 73)
12 Bornes d'enceintes (SPEAKERS)
Utilisées pour connecter des enceintes. (p. 37)
13 Bornes PRE OUT
Utilisées pour connecter un subwoofer avec un amplificateur intégré ou un amplificateur de puissance externe.
- "Connexion du subwoofer" (p. 38)
- "Connexion d'un amplificateur de puissance externe" (p. 63)
"Connexion 3: Connexion à l'aide d'un amplificateur externe (ZONE2)" (p. 151)
14 Bornes video composantes (COMPONENT VIDEO)
Utilisées pour connecter des dispositifs équipés de bornes gratuites composantes.
"Connexion 3: Televiseur non equipe d'une borne HDMI" (p. 67)
- "Connexion d'un lecteur DVD ou le lecteur Blu-ray Disc" (1970 p. 70)
REMARQUE
- Ne touche pas les broches internes des connecteurs sur le panneau arrière. Une éventuelle décharge électricque pourrait endommager de façon permanente votre apparèil.
Télécommande

1 Touches ZONE SELECT
Ces touches permettent de changer la zone (MAIN ZONE, ZONE2) pilotée par la télécommande.
"Lecture dans ZONE2" (p. 153)
-Fonctionnement du menu" (p. 159)
2 Touches selection de source d'entrée
Elles permettent de selectionner la source d'entrée.
- "Sélection de la source d'entrée" (p. 81)
"Lecture dans ZONE2" (p. 153)
Boutons de recherche de canal/page (CH/PAGE ▲V)
Elles permettent de changer les pages. (p. 95)
4 Touche MUTE (dX)
Cette touche met en sourdine la sortie audio.
"Coupure temporaire du son (Sourdine)" (p. 82)
"Coupure temporaire du son (Sourdine) (ZONE2)" (p. 154)
Elle permit d'afficher les informations de statut sur l'écran du téléviseur. (p. 242)
6 Touches curseurs ( < 1 >)
Elles permettent de sélectionner des éléments.

7 Touche BACK
Elle permet de revenir à l'écran précédent.
Touches du système
Elles permettent d'effectuer des opérations associées à la lecture.
9 Touches QUICK SELECT (1-4)
Ceuxciappeletle paramétrageenregistrepour chaque touche, comme la source d'entrée, le niveau du volume et le paramétragedu mode son. (p.142)
10 Touches SOUND MODE
Ellespermettendesélectionnerlemodeaudio.(p.122)
Émetteur infrarouge de télécommande
II transmet les signaux provenant de la télécommande. (p. 9)
12 Touche SLEEP
Ellepermet dereglerla minuterie sommeil.(p.140)

18 Touche POWER (Φ)
Elle permet demettre sous/hors tension l'alimentation.
"Mise sous tension" (p. 81)
"Lecture dans ZONE2" (p. 153)
1 Touche du mode ECO (f)
Elpermet depasser en mode ECO. (p.229)
15 Touches VOLUME (▲V)
Elles permettent d'ajuster le niveau du volume.
- Reglage du volume" (p. 82)
"Réglage du volume (ZONE2)" (p. 154)
16 Touche OPTION
Elle permet d'afficher le menu d'options sur l'écran du téléviseur.
1 Touche ENTER
Elle permet de déterminer la sélection.
18 Touche SETUP
Ellepermdet'afficherleremenu sur l'écran du téléviseur. (p.159)
Contenu
Installation des enceintes 30
Branchement enceintes 37
Connexion d'un téléviseur 64
Connexion d'un dispositif de lecture 68
Connector un dispositif mémoire USB au port USB 74
Connexion à un réseau domestique (LAN) 75
Connexion d'un dispositif de commande externe 77
Connexion du cordon d'alimentation 79
REMARQUE
- Ne pas brancher le cordon d'alimentation avant que tous les raccordements n'aiient ete effectués. Toutefois, lorsque "Assistant de config." est en cours d'execution, suivez les instructions de I'écran "Assistant de config." (page 9 du "Guide de démarriage rapide" à part) pour effectuer les raccordements. (Lorsque "Assistant de config." est en cours d'execution, les bornes d'entrée/sortie ne sont pas conductrices.)
- Ne pas mêler les cordons d'alimentation avec les câbles de connexion. Vous risquez de générer un bourdonnement ou du bruit.
Câbles utilisés pour les connexions
Fournit les cables nécessaires en fonction des dispositifs que vous souhaitez connecter.
| Câble d'enceinte | |
| Câble subwoofer | |
| Câble HDMI | |
| Câblevideso composante | |
| Câblevideso | |
| Câble numérique coaxial | |
| Câble optique | |
| Câble audio | |
| Câble LAN | |
Installation des enceintes
Déterminez le système d'enceintes selon le nombre d'enceintes utilisées et installez chaque enceinte et subwoofer dans la piece.
L'installation des enceintes est expliquée à l'aide de cet exemple d'une installation typique.

| FL/FR
(Enceinte avant gauche/droite) : | Placez les enceintes droite et gauche FRONT à une distance égale de la position d'écoute principale. La distance entre chaque enceinte et le téléviseur doit êtreidentique. |
| C
(Enceinte centrale) : | Placez l'enceinte CENTER entre les enceintes FRONT et au-dessus ou en dessous de votre téléviseur. |
| SL/SR
(Enceinte surround gauche/droite) : | Placez les enceintes droite et gauche SURROUND à une distance égale des côtés gauche et droite de la position d'écoute principale. Si vous ne disposez pas d'enceintes Surround arrêté, déplacez légersement les enceintes surround derrière votre position d'écoute. |
| SBL/SBR
(Enceinte surround arrêté gauche/droite) : | Placez les enceintes droite et gauche SURROUND BACK à une distance égale de la position d'écoute principale et directement derrière la position d'écoute principale. Lorsque vous utilisez une seule enceinte surround arrêté (SB), placez-la directement derrière la position d'écoute. |
| SW 1/2
(Subwoofer) : | Placez le SUBWOOFER dans un lieu approprié, après des enceintes avant. Si vous avez deux caissons de basses, placez-les de manière asymétrique à l'avant de votre piece. |

| FHL/FHR(Enceinte hauteavant gauche/droite) : | Placez les enceintes hautes avant gauche et droite directement au-dessus des enceintes avant.Installez-les aussi près que possible du plafond et réglez-les en position d'écoute principale. |
| TFL/TFR(Enceinte supérieureavant gauche/droite) : | Montez les enceintes supérieures avant gauche etdroite sur le plafond légèrement devant votreposition d'écoute principale et alignez-les avec lesenceintes avant gauche et droite. |
| TML/TMR(Enceinte supérieuredentre gauche/droite) : | Montez les enceintes supérieure centre gauche etdroite directement au-dessus de la positionprincipal d'écoute et alignez-les avec lesenceintes avant gauche et droite. |
| TRL/TRL(Enceinte supérieurarrière gauche/droite) : | Montez les enceintes supérieures arrêté gauche etdroite sur le plafond légèrement en arrêté de vourteposition d'écoute principale et alignez-les avec lesenceintes avant gauche et droite. |
| RHL/RHR(Enceinte hauteurarrrière gauche/droite) : | Placez les enceintes de hauteur arrêté gauche etdroite directement derrière la position d'écouteprincipal. Installer l'ensemble aussi près quepossible du plafond et aligner avec les enceintees avant gauche et droite. |

| FDL/FDR
(Enceinte Dolby avant gauche/ droite): | Placez l'enceinte Dolby Atmos Enabled avant sur la borne de l'enceinte avant. Pour une enceinte Dolby Atmos Enabled intégré avec une enceinte avant, placez l'enceinte Dolby Atmos Enabled au lieu de l'enceinte frontale. |
| SDL/SDR
(Enceinte Dolby surround gauche/ droite): | Placez l'enceinte Dolby Atmos Enabled surround sur l'enceinte d'ambiance. Pour une enceinte Dolby Atmos Enabled intégré avec une enceinte d'ambiance, placez l'enceinte Dolby Atmos Enabled à la place de l'enceinte d'ambiance. |
| BDL/BDR
(Enceinte Dolby arrêté gauche/ droite): | Placez l'enceinte Dolby Atmos Enabled arrêté sur l'enceinte arrêté d'ambiance. Pour une enceinte Dolby Atmos Enabled intégré avec une enceinte d'ambiance arrêté, placez l'enceinte Dolby Atmos Enabled au lieu de l'enceinte d'ambiance arrêté. |
À propos des enceintes Dolby Atmos Enabled
Les enceintes Dolby Atmos Enabled répercutent le son sur le plafond pour permettre au son de sortir au-dessus de votre tête en utilisant un haut-parleur dirigé vers le haut qui est placé sur le sol.
Vou puevez profiter du son Dolby Atmos 3D meme dans un environnement ou les enceintes ne peuvent pas etre installes au plafond.


- Cet apparéil est compatible avec les normes Dolby Atmos et DTS:X qui offrent une sensation surround bien plus large et plus profonde.
- Le "Virtualisateur de HP" doit être régle sur "Marche" pour la lecture Dolby Atmos avec des configurations d'enceintes 5.1 canaux ou moins. (p. 163)
- IMAX DTS:X / DTS:X peut être sélectionné indépendamment de la configuration des enceintes.
- L'illustration ci-dessous indique àquelle hauteur maximale chaque enceinte doit être installée. Vous n'êtes pas obligé de les installerer exactement à cette hauteur.

Enceinte centrale supérieure

Plan des enceintes hautes
[Vue de dessus]
En cas d'installation d'enceintes 7.1 canaux à l'aide d'enceintes surround arrête

Lorsque des enceintes 5.1 canaux sont installées


- Lorsque vous utilisez une seule enceinte surround arrêté, placez-la directement derrière la position d'écoute.
Plan complément les enceintes hautes et les enceintes supérieures
Exemple de plan des enceintes
Combinaison de plan 5.1 canaux et d'enceintes avant hautes/arrière hautes.

Exemple de plan d'enceintes supérieures
Combinaison de plan 5.1 canaux et d'enceintes avant hautes/supérieures arrêté.

Exemple de plan d'enceintes Dolby Atmos Enabled
Combinaison de plan 5.1 canaux et d'enceintes Dolby avant/ Dolby surround.

Branchement enceintes
Dans cette section, nous connectons les enceintes de la pièce à cet apparéil.
Avant le branchement des enceintes
REMARQUE
- Déconnectez la fiche d'alimentation de l'appareil de la prise murale avant de connecter les enceintes. Éteignez également le subwoofer.
- Connectez les cables d'enceinte de façon à ce qu'ils ne dépassent pas des bornes d'enceinte. Le circuit de protection risque d'être activé si les fils touchent le panneau arrirée ou si les côts + et - entrent en contact. ("Circuit de protection" (12 p. 291))
- Ne touchez jamais les bornes d'enceinte lorsque le cordon d'alimentation est connecté. Vous risqueriez de vous électrocuter. Lorsque l"Assistant de config." (page 9 du "Guide de démarriage rapide" à part) est en cours d'exercution, suivez les instructions de l'écran "Assistant de config." pour effectuer les raccordements. (Les enceintes ne sont pas sous tension lorsque "Assistant de config." est en cours d'exercution.)
- Utilisez des enceintes avec une impédance de 4 à 16 Ω/ohms.
REMARQUE
-
Effectuez le paramétrage suivant lors de l'utilisation d'une enceinte avec une impédance de 4 - 6 Ω/ohms.
-
Appuyez longuement sur le bouton de l'unité principale ZONE2 SOURCE et STATUS en même temps pendant au moins 3 secondes.
"V.Format:< PAL>" s'affiche sur l'écran.
- Appuyez trois fois sur DIMMER sur l'appareil principal.
"Sp.lmp.:<8ohms>" s'affiche sur I'ecran.
- Appuyez sur SOUND MODE ou PURE DIRECT sur l'appareil principal pour sélectionner l'impédance.
| 8ohms
(Défaut): | Sélectionnez-le lorsque l'impédance pour toutes les enceintes connectées est de 8 Ω/ohms ou plus. |
| 6ohms: | Sélectionnez lorsque l'impédance pour l'une des enceintes connectées est de 6 Ω/ohms. |
| 4ohms: | Sélectionnez lorsque l'impédance pour l'une des enceintes connectées est de 4 Ω/ohms. |
- Appuyez sur STATUS sur l'appareil principal pour terminer le réglage.
■ Connexion des câbles d'enceinte
Vérifiez attentivement les canaux gauche (G) et droit (D) et les polarités + (rouge) et - (noire) des enceintes connectées à cet apparéil, et voirlez à ce que les canaux et les polarités soient correctement connectés.
1 Dénudez environ 10 mm du revêtement de l'embout du cable d'enceinte, puis torsadez fermement le fil conducteur ou coupeze-le.

2 Tournez la borne de l'enceinte dans le sens inverse des aiguilles d'une montre pour la desserrer.

3 Insérez le fil conducteur du cable d'enceinte dans la garde de la borne de l'enceinte.

4 Tournez la borne de l'enceinte dans le sens des aiguilles d'une montre pour la desserrer.

■ Connexion du subwoofer
Utilissez un cable adapté pour connecter le subwoofer. Il est possible de raccorder deux subwooers à cet apparéil.
Pour utiliser deux caissons de basse, réglez "Subwoofer" à "2 enceintes" dans le réglage "Config. enceintes". (p. 212)
Vous pouvez régler séparément le niveau et la distance pour le subwoofer 1 et le subwoofer 2.

SW1
SW2
A propos des étiquettes du cable (fournis) pour l'identification du canal
La section d'affichage du canal pour les bornes d'enceintes sur le panneau arrêté ont des codes de couleur pour l'identification de chaque canal.
Fixez l'etiquette du cable correspondant à chaque enceinte sur chacun des cables d'enceinte. Cela facilitte le branchement du cable approprié sur les bornes d'enceintes du panneau arrière.
| Enceintes | Couleur |
| FRONT L | Blanc |
| FRONT R | Rouge |
| CENTER | Vert |
| SURROUND L | Bleu clair |
| SURROUND R | Bleu |
| SURROUND BACK L | Beige |
| SURROUND BACK R | Marron |
| FRONT HEIGHT L | Jaune clair |
| FRONT HEIGHT R | Jaune |
| TOP FRONT L | Jaune clair |
| TOP FRONT R | Jaune |
| TOP MIDDLE L | Violet clair |
| TOP MIDDLE R | Violet |
| Enceintes | Couleur |
| TOP REAR L | Violet clair |
| TOP REAR R | Violet |
| REAR HEIGHT L | Violet clair |
| REAR HEIGHT R | Violet |
| FRONT DOLBY L | Jaune clair |
| FRONT DOLBY R | Jaune |
| SURROUND DOLBY L | Violet clair |
| SURROUND DOLBY R | Violet |
| BACK DOLBY L | Violet clair |
| BACK DOLBY R | Violet |
| SUBWOOFER 1 | Noir |
| SUBWOOFER 2 | Noir |
Attachez l'étiquette du cable pour chaque canal à son cable d'enceinte comme indiquedans le diagramme.
Reportez-vous au tableau et attachez l'étiquette à chaque cable d'enceinte.
Puis, effectuez la connexion pour que la couleur de la borne d'enceinte corresponde à l'étiquette du cable.
[ Méthode de fixation de l'étiquettes du cable]
![DENON AVC-X3800H - [ Méthode de fixation de l'étiquettes du cable] - 1](/content/2024/12/321165/images/a23b35203e87d2e96a6e2cb9ea26d730d54c0d05c1f4faab68cfbf0ebd0679e2.jpg)
Enceintes
Configuration de l'enceinte et paramétrages de l"Affectation des Amplis"
Cet apporeil est equiped d'un amplificateur de puissance a 9 canaux. En plus du syste 5.1 canaux de base, une variete de systèmes d'enceintes peut ete configuer e changeant les parametrages de "Affectation des Amplis" en fonction de l'application, par exemple les systèmes du 7.1 canaux, les connexions bi-amplifieur et les systèmes a 2 canaux pour la lecture multizone. (p. 205)
Effectuez le paramétrage "Affectation des Amplis" en fonction du nombre de pièces et de la configuration des enceintes qui seront installées. (18 p. 205)
| Lire une enceinte dans chaque zone | “Affectation des Amplis” réglages | Page de connexion |
| MAIN ZONE | ZONE2 |
| Lecture sur 5.1 canaux | 2 canaux (pré-sortie) | Régable dans tous les modes “Affectation des Amplis”. | 43 |
| Lecture sur 7.1 canaux | 7.1p + ZONE2 | 44 |
| Lecture sur 9.1 canaux | 9.1p (Défaut) | 48 |
| Lecture sur 11.1 canaux | 11.1p | 55 |
| Lecture 7.1 canaux (connexion bi-amp des enceintes avant) | 7.1p (bi-amp) | 59 |
| Enceintes avant secondaires | 7.1p + Front B | 60 |
| Lecture sur 7.1 canaux | 2 canaux (sortie enceinte) | 7.1p + ZONE2 | 61 |
| Lecture 5.1 canaux (connexion bi-amp des enceintes avant) | 2 canaux (sortie enceinte) | 5.1p (bi-amp)+ ZONE2 | 62 |
| Lecture 9.1 canaux (en utilisant cet apparéil comme un préamplificateur) | Non utilisé | Préamplificateur | 63 |
Le mode son qui peut être sélectionné varie en fonction de la configuration de l'enceinte.
Les pages suivantes disposent d'examples basiques de connexion.

- En plus des connctions décrites dans p. 43 - 62, cet apparéil permet diverses connexions d'enceintes avec le réglage "Affectation des Amplis".
Reportez-vous également à l'écran de menu dans "Vue config. Bones" sur l'écran de réglage "Affectation des Amphis", qui indique comment effectuer des connexions dans votre environnement.

Branchement d'enceintes 5.1 canaux
Ceci est utilisé comme un système surround de canal 5.1 de base.


Branchement d'enceintes 7.1 canaux
Exemples de connexions avec utilisation d'enceintes surround arrête
Ce système surround de canal 7.1 est identique à un système de canal 5.1 basique mais avec des enceintes surround arrêté.


- Reglez "Sol" sur "5can. & SB" dans le menu en cas de connexion dans cette configuration. (p. 207)


- Lorsque vous utilisez une seule enceinte surround arrêté, connectez-la à la borne SURROUND BACK L.
Exemple de connexions avec utilisation d'enceintes au plafond
Ce système surround à 7.1 canaux est identique à un système à 5.1 canaux basique, mais avec des enceintes au plafond.



- Reglez "Sol" sur "5can" et "Hauteur Sp" sur "2can" dans le menu en cas de connexion dans cette configuration. (p. 207)
- Il est possible de connecter des enceintes supérieures avant ou supérieures arrêté au lieu des enceintes supérieures centrales. Dans ce cas, réglez les enceintes au plafond à connecter dans “Hauteur” - “Agencement” dans le menu. (p. 209)
Exemple de connexions avec utilisation d'enceintes haute
Ce système surround à 7.1 canaux est identique à un système à 5.1 canaux basique mais avec des enceintes avant-haut.



- Reglez "Sol" sur "5can" et "Hauteur Sp" sur "2can" dans le menu en cas de connexion dans cette configuration. (p. 207)
- Il est possible de connecter les enceintes arrêté hautes au lieu des enceintes avant hautes. Dans ce cas, réglez les enceintes hautes à connecter dans "Hauteur" - "Agencement" dans le menu. (p. 209)
Exemple de connexions avec utilisation d'enceintes Dolby Atmos Enabled
Ce système surround 7.1 canaux est identique à un système de 5.1 canaux basique mais avec des enceintes Dolby.



- Reglez "Sol" sur "5can" et "Dolby Sp" sur "2can" dans le menu en cas de connexion dans cette configuration. (p. 207)
- Il est possible de connecter les enceintes Dolby surround au lieu des enceintes Dolby. Dans ce cas, reglez les enceintes Dolby Atmos Enabled à connecter dans "Hauteur" - "Agencement" dans le menu. (12 p. 209)
Branchement d'enceintes 9.1 canaux
Ce système, qui est basé sur un système 5.1 canaux, lit jusqu'à 9.1 canaux en même temps.
Vou puez connecter des haut-parleurs jusqu'a 11 canaux pour la MAIN ZONE. Lorsque you connectez les enceintes pour 10 canaux ou plus, la sortie des enceintes change automatquement en fonction du signal d'entree et du mode audio.
Exemple de connexion avec utilisation d'un ensemble d'enceintes au plafond


- Reglez "Hauteur" - "Hauteur Sp" sur "2can" dans le menu en cas de connexion dans cette configuration. (p. 208)

- Il est possible de connecter des enceintes supérieures avant ou supérieures arrirée au lieu des enceintes supérieures centrales. Dans ce cas, reglez les enceintes au plafond à connecter dans "Hauteur" - "Agencement" dans le menu. (p. 209)
Exemple de connexion avec utilisation de deux ensembles d'enceintes au plafond


- Reglez "Hauteur" - "Hauteur Sp" sur "4can" dans le menu en cas de connexion dans cette configuration. (p. 207)

- Vous pouvez modifier la combinaison des canaux HEIGHT1 et HEIGHT2 dans les réglages. (p. 54)
Exemple de connexion avec utilise nation d'un ensemble d'enceintes haute


- Reglez "Hauteur" - "Hauteur Sp" sur "2can" dans le menu en cas de connexion dans cette configuration. (p. 208)

- Il est possible de connecter les enceintes arrirée hautes au lieu des enceintes avant hautes. Dans ce cas, réglez les enceintes hautes à connecter dans "Hauteur" - "Agencement" dans le menu. (© p. 209)
Exemple de connexion avec utilisation de deux ensembles d'enceintes hautees


- Reglez "Hauteur" - "Hauteur Sp" sur "4can" dans le menu en cas de connexion dans cette configuration. (p. 207)

- Vous pouvez modifier la combinaison des canaux HEIGHT1 et HEIGHT2 dans les réglages. (p. 54)
Exemple de connexion avec utilisation d'un ensemble d'enceintes Dolby Atmos Enabled


- Reglez "Hauteur" - "Dolby Sp" sur "2can" dans le menu en cas de connexion dans cette configuration. (p. 208)

- Il est possible de connecter les enceintes Dolby surround ou Dolby arrêté au lieu des enceintes Dolby avant. Dans ce cas, réglez les enceintes Dolby Atmos Enabled à connecter dans “Hauteur” - “Agencement” dans le menu. (p. 209)
Exemple de connexion avec utiliseation de deux ensembles d'enceintes Dolby Atmos Enabled


- Reglez "Hauteur" - "Dolby Sp" sur "4can" dans le menu en cas de connexion dans cette configuration. (p. 207)

- Vous pouvez modifier la combinaison des canaux HEIGHT1 et HEIGHT2 dans les réglages. (p. 54)
La sortie des canaux depuis les bornes d'enceinte HEIGHT1 et HEIGHT2 peut être modifiée selon les modèles suivants en fonction des systèmes d'enceintes utilisés.
Réglez cette option depuis "Affectation des Amplis" dans le menu. (p. 205)
| Il est possible d'utiliser une combinaison de huit enceintes | Bornes connectées |
| Nombre d'enceintes haute/nde plafond | Nombre d'enceintes Dolby | Modèle de combinaisons | HEIGHT1 SPEAKER | HEIGHT2 SPEAKER |
| 2 enceintes | Aucun | Avant haut | Avant haut | - |
| Avant plafond | Avant plafond | - |
| Centre plafond | Centre plafond | - |
| Arrière plafond | Arrière plafond | - |
| Hauteur arrêté | Hauteur arrêté | - |
| Aucun | 2 enceintes | Dolby avant | Dolby avant | - |
| Dolby surround | Dolby surround | - |
| Dolby arrêté | Dolby arrêté | - |
| 4 enceintes | Aucun | Avant haut et Centr. plaf | Avant haut | Centre plafond |
| Avant haut et Arr. plafond | Avant haut | Arrière plafond |
| Avant haut et Hauteur arrat | Avant haut | Hauteur arrêté |
| Avant plafond et Arr. plafond | Avant plafond | Arrière plafond |
| Avant plafond et Hauteur arrat | Avant plafond | Hauteur arrêté |
| Centre plafond et Hauteur arrat | Centre plafond | Hauteur arrêté |
| 2 enceintes | 2 enceintes | Dolby avant et Arr. plafond | Dolby avant | Arrière plafond |
| Dolby avant et Hauteur arrat | Dolby avant | Hauteur arrêté |
| Avant haut et Dolby surr. | Avant haut | Dolby surround |
| Avant plafond et Dolby surr. | Avant plafond | Dolby surround |
| Aucun | 4 enceintes | Dolby avant et Dolby Surr. | Dolby avant | Dolby surround |
Branchement d'enceintes 11.1 canaux
Ce système, qui est basé sur un système 5.1 canaux, lit jusqu'à 11.1 canaux en même temps.
Vou puez conneter des haut-parleurs jusqu'à 11 canaux pour la MAIN ZONE à l'aide d'un amplificateur de puissance externe.
Exemple de connexion avec utilisation de deux ensembles d'enceintes au plafond


- Reglez "Hauteur" - "Hauteur Sp" sur "4can" dans le menu en cas de connexion dans cette configuration. (p. 208)

- Vous pouvez modifier la combinaison des canaux HEIGHT1 et HEIGHT2 dans les réglages. (p. 58)

- Vous pouvez connecter l'amplificateur de puissance externe au canal Front au lieu du canal Height2. Utilisez le paramètre "Pré-sorties" du menu pour régler le canal connecté à l'amplificateur de puissance externe. (p. 211)
Exemple de connexion avec utilisation de deux ensembles d'enceintes haute


- Reglez "Hauteur" - "Hauteur Sp" sur "4can" dans le menu en cas de connexion dans cette configuration. (p. 208)

- Vous pouvez modifier la combinaison des canaux HEIGHT1 et HEIGHT2 dans les réglages. (p. 58)

- Vous pouvez connecter l'amplificateur de puissance exter au canal Front au lieu du canal Height2. Utilisez le paramètre "Pré-sorties" du menu pour régler le canal connecté à l'amplificateur de puissance exter. (p. 211)
Exemple de connexion avec utilisation de deux ensembles d'enceintes Dolby Atmos Enabled


- Reglez "Hauteur" - "Dolby Sp" sur "4can" dans le menu en cas de connexion dans cette configuration. (p. 208)

- Vous pouvez modifier la combinaison des canaux HEIGHT1 et HEIGHT2 dans les réglages. (p. 58)

- Vous pouvez connecter l'amplificateur de puissance externe au canal Front au lieu du canal Height2. Utilisez le paramètre "Pré-sorties" du menu pour régler le canal connecté à l'amplificateur de puissance externe. (p. 211)
La combinaison des canaux HEIGHT1 et HEIGHT2 peut être modifiée selon les modèles suivants en fonction du système d'enceintes utilisé.
Réglez cette option depuis "Affectation des Amphis" dans le menu. (p. 205)
| Il est possible d'utiliser une combinaison de huit enceintes | Bones connectées |
| Nombre d'enceintes haute de plafond | Nombre d'enceintes Dolby | Modèle de combinaisons | HEIGHT1 SPEAKER | HEIGHT2 PRE OUT |
| 2 enceintes | Aucun | Avant haut | Avant haut | - |
| Avant plafond | Avant plafond | - |
| Centre plafond | Centre plafond | - |
| Arrière plafond | Arrière plafond | - |
| Hauteur arrêté | Hauteur arrêté | - |
| 4 enceintes | Aucun | Avant haut et Centre plafond | Avant haut | Centre plafond |
| Avant haut et Arrière plafond | Avant haut | Arrière plafond |
| Avant haut et Hauteur arrêt | Avant haut | Hauteur arrêté |
| Avant plafond et Arr. plafond | Avant plafond | Arrière plafond |
| Avant plafond et Hauteur arrêt | Avant plafond | Hauteur arrêté |
| Centre plafond et Hauteur arrêt | Centre plafond | Hauteur arrêté |
| Aucun | 2 enceintes | Dolby avant | Dolby avant | - |
| Dolby surround | Dolby surround | - |
| Dolby arrêté | Dolby arrêté | - |
| 2 enceintes | 2 enceintes | Dolby avant et Arr. Plafond | Dolby avant | Arrière plafond |
| Dolby avant et Hauteur arrêt | Dolby avant | Hauteur arrêté |
| Avant haut et Dolby surr. | Avant haut | Dolby surround |
| Avant haut et Dolby arrêté | Avant haut | Dolby arrêté |
| Avant plafond et Dolby Surr. | Avant plafond | Dolby surround |
| Avant plafond et Dolby arrêté | Avant plafond | Dolby arrêté |
| Aucun | 4 enceintes | Dolby avant et Dolby Surr. | Dolby avant | Dolby surround |
| Dolby avant et Dolby arrêté | Dolby avant | Dolby arrêté |
Branchement d'enceintes 7.1 canaux : Connexion bi-amp des enceintes avant
Ce système permet de dire les canaux 7.1. Vous pouvez utiliser la connexion bi-amp pour les enceintes avant. La connexion bi-amp est une méthode pour connecter des amplificateurs séparés à la borne du haut-parleur et à la borne du haut-parleur de graves d'une enceinte qui prend en charge la bi-amplification. Cette connexion permet à l'EMF (puissance returnée sans être sortie) du woofer de s'écouler dans le tweeter sans affecter la qualité sonore, produitant une qualité sonore supérieure.
Vou puez connecter des haut-parleurs jusqu'a 9 canaux pour la MAIN ZONE. Lorsque you connectez les enceintes pour 8 canaux ou plus, la sortie des enceintes change automatiquement en fonction du signal d'entree et du mode audio.

REMARQUE
- Lors de la réalisation de connexions en mode double amplificateur, voiriez à retarder la tôle ou le cable de court-circuit des bornes des haut-parleurs des aigus et des graves.

- Les enceintes haute, les enceintes au plafond et les enceintes Dolby Atmos Enabled peuvent être connectées sur les bornes d'enceinte HEIGHT1. Réglez les enceintes à connecter depuis "Hauteur" - "Agencement" dans le menu.
(p. 209)
Branchement d'enceintes 7.1 canaux : Deuxieme paire d'enceintes avant
Ce système permet la commutation de la lecture entre les enceintes avant A et B, comme vous le souhaitez.
Vou puez connecter des haut-parleurs jusqu'a 9 canaux pour la MAIN ZONE. Lorsque you connectez les enceintes pour 8 canaux ou plus, la sortie des enceintes change automatquement en fonction du signal d'entree et du mode audio.


* Les enceintes haute, les enceintes au plafond et les enceintes Dolby Atmos Enabled peuvent être connectées sur les bornés d'enceinte HEIGHT1. Réglez les enceintes à connecter depuis “Hauteur” - “Agencement” dans le menu.

p.209
Branchement d'enceintes multi-zones
Lecture 7.1 canaux (MAIN ZONE) + lecture 2 canaux (ZONE2)
Ce type de configuration permet de dire les 7.1 canaux dans la MAIN ZONE et les 2 canaux dans la ZONE2.
Vou puez connecter des haut-parleurs jusqu'a 9 canaux pour la MAIN ZONE. Lorsque you connectez les enceintes pour 8 canaux ou plus, la sortie des enceintes change automatquement en fonction du signal d'entree et du mode audio.


ZONE2

* Les enceintes haute, les enceintes au plafond et les enceintes Dolby Atmos Enabled peuvent être connectées sur les bornes d'enceinte HEIGHT1. Réglez les enceintes à connecter depuis "Hauteur" - "Agencement" dans le menu.
(10 p. 209)
■ Lecture 5.1 canaux (connexion bi-amp des enceintes avant : MAIN ZONE) + lecture 2 canaux (ZONE2)
Ce type de configuration lit le format 5.1 canaux dans la MAIN ZONE et les 2 canaux dans la ZONE2. Vous pouvez utiliser la connexion bi-amp pour les enceintes avant dans la MAIN ZONE.


Connexion d'un amplificateur de puissance externe
Vou puez utiliser cet appareil comme un preamplificateur en connectant un amplificateur de puissance autonome aux PRE OUT. En ajoutant un amplificateur de puissance à chaque canal, la réalité du son peut être améliorée.
Selectionne la borne à utiliser et branche l'appareil.


- Réglez "Mode affectation" sur "Préamplificateur" si vous connectez tous les canaux aux bornes Pré-sorties à l'aide d'un amplificateur externe. (p. 207) Cela interrupt le fonctionnement de l'amplificateur de puissance interne de cet apparéil, en réduisant les interférences dans le préamplificateur créées par l'amplificateur de puissance.
- Lorsque vous utilisez une seule enceinte surround arrière, connectez-la à la borne du canal gauche (G).
Connexion d'un téléviseur
Connectez un téléviseur à cet apparéil pour que la video d'entrée soit transmise au téléviseur. Vous pouvez également profiter de l'audio de votre téléviseur sur cet apparéil.
La maniere de connecter un téléviseur depend des bornes et des fonctions dont dispose votre téléviseur.
La fonction ARC (Audio Return Channel) / eARC (Enhanced Audio Return Channel) permet de dire le son d'un téléviseur sur cet apparéil en envoyant le signal audio du téléviseur vers cet apparéil via le cable HDMI.

"Connexion 1 : Téleviseur équipé d'une borne HDMI et compatible avec la fonction ARC (Audio Return Channel) / eARC (Enhanced Audio Return Channel)" (p. 65)
"Connexion 2 : Televiseur équipé d'une borne HDMI et incompatible avec la fonction ARC (Audio Return Channel) / eARC (Enhanced Audio Return Channel)" (K5 p. 66)
"Connexion 3 : Televiseur non équipé d'une borne HDMI" (19 p. 67)
Connexion 1 : Téléviseur équipé d'une borne HDMI et compatible avec la fonction ARC (Audio Return Channel) / eARC (Enhanced Audio Return Channel)
Utilisez un cable HDMI pour connecter un téléviseur compatible avec la fonction ARC / eARC de cet apparéil.
Réglez "HDMI Contrôle" sur "Marche" ou "ARC" sur "Marche" lorsque vous utilisez un téléviseur prenatal en charge la fonction ARC. (p. 179)
L'utilisation d'un téléviseur compatible avec la fonction eARC permet la lecture audio à partir de l'enceinte connectée à cet apparéil, quels que soient les réglages "HDMI Contrôle" et "ARC" dans le menu.


LorsqueyouutilizestahiconfionARC/eARC,effectuelezraccordement surle connecteurHDMI MONITOR1.
- La configuration des paramètres de la fonction eARC peut être nécessaire en fonction du téléviseur compatible avec la fonction eARC que vous utilisez. Assurez-vous qu'eARC est configuré sur marche si ce réglage existe sur votre téléviseur. Pour plus d'informations, consultez le mode d'emploi de votre téléviseur.
- Lorsqu'un télévisueur compatible avec les fonctions ARC et eARC est connecté à l'appareil, la fonction eARC est prioritaire.
Utilisé un "High Speed HDMI Cable with Ethernet" lorsque vous utilisez un téléviseur compatible avec la fonction ARC / eARC.
Utilisez "Ultra High Speed 48 Gbps HDMI cable" pour profiter d'une videoe 8K.
- Reglez "Format signal 4K/8K" sur "8K Améliore" dans le menu pour profiter de la vente 8K. (p. 187)
Connexion 2 : Téléviseur équipé d'une borne HDMI et incompatible avec la fonction ARC (Audio Return Channel) / eARC (Enhanced Audio Return Channel)
Utilisez un cable HDMI pour connecter le télévisuer à cet apparéil.
Pour écouter l'audio du téléviseur sur cet apparéil, utilisez le cable optique pour connecter le téléviseur à cet apparéil.

Connexion 3 : Télèveur non équipé d'une borne HDMI
Utilisez un cable video composante ou un cable video pour connecter le téléviseur à cet apparéil.
Pour écouter l'audio du téléviseur sur cet apparéil, utilisez le cable optique pour connecter le téléviseur à cet apparéil.

Connexion d'un dispositif de lecture
Cet appareil est equipé de trois types de bornes d'entrée video (HDMI, video composante et video composite) et de trois types de connecteurs d'entrée audio (HDMI, audio numérique et audio).
Selectionne les bornes d'entrée sur cet apparéil en fonction des bornes sur le dispositif que vous souhaitez connecter.
Si le dispositif connecté à cet apparéil est équipé d'une borne HDMI, il est recommendé d'utiliser des connexions HDMI.
Lors d'une connexion HDMI, les signaux audio et video peuvent être transmis via un cable HDMI unique.
- "Connexion d'un décodeur (Tuner satellite/TV par cable)" (p. 69)
- "Connexion d'un lecteur DVD ou le lecteur Blu-ray Disc" (p. 70)
- "Connexion d'un apparéil de lecture compatible avec le 8K" (R p. 71)
- "Connexion d'un caméoscope video ou d'un console de yeux" (p. 72)
"Connexion d'une platine" (p. 73)

Connectez les dispositifs a cet apparéil comme indiqué par les sources d'entrée imprimées sur les bornes d'entrée audio/video de cet apparéil.
- La source qui est assignée aux connecteur HDMI IN, DIGITAL AUDIO IN, COMPONENT VIDEO IN, VIDEO IN et AUDIO IN peut être modifiée. Voir "Affectation des entrées" pour savoir comment changer la source d'entrée attribuée aux connecteurs d'entrée. (p. 190)
- Pour lire des signaux audio qui sont entrés dans cet appareil sur un téléviseur connectée en HDMI, dans le menu réglez "Sortie audio HDMI" sur "TV". (p. 177)
- Pour profiter d'un contenu dont le copyright est protégé par HDCP 2.2 ou HDCP 2.3, utilisez un appeairel de lecture et un téléviseur compatibles HDCP 2.2 ou HDCP 2.3.
Connexion d'un décodeur (Tuner satellite/TV par cable)
Cette explication utilise la connexion avec un tuner satellite/cable TV STB comme exemple.
Selectionne les bornes d'entree sur cet appareil en fonction des connecteurs sur le dispositif que you souhaitez connecter.

Connexion d'un lecteur DVD ou le lecteur Blu-ray Disc
Cette explication utilise la connexion avec un lecteur DVD ou un lecteur Blu-ray Disc comme exemple.
Selectionnez les bornes d'entrée sur cet apparéil en fonction des connecteurs sur le dispositif que vous souhaïez connecter.

(Matériel non compatible HDMI) (Matériel non compatible HDMI)
Connexion d'un apparéil de lecture compatible avec le 8K
Cet apparéil prend en charge les signaux video HDMI 8K.
Si vous lecteur supporte le 8K, branchez-le sur le connecteur HDMI 7 (8K) de votre apparéil.


- Pour profiter de la vente 8K, connectez un téléviseur compatible 8K à l'aide d'un "Ultra High Speed 48 Gbps HDMI cable".
- Reglez "Format signal 4K/8K" sur "8K Améliore" dans le menu pour profiter de la vente 8K. (p. 187)
Connexion d'un caméscope video ou d'un console de produits
Cette explication utilise la connexion avec un caméoscope video comme exemple.
Connectez un dispositif de lecture à cet apparéil, tel qu'un caméscope video ou une console de yeux.

Connexion d'une platine
Cet appeareil est compatible avec les platines equipées d'une cellule phono avec aimant tournant. Si vous le connectez à une platine dotée d'une cellule MC à faible sortie, utilisez un amplificateur de tete MC ou un transformateur survolteur du commerce.
Un bruit "retentissant" provenant des enceintes peut se produit lorsque vous selectionnez la source d'entrée "Phono" sur cet appariel et que vous augmentez accidentellement le volume sans connecter la platine.

REMARQUE
- La borne de terre (SIGNAL GND) de cet apparéil n'est pas dédiée à des fins de mise à la terre pour la sécurité. Si cette borne est connectée lorsqu'il y a beaucoup de bruit, le bruit peut être réduit. Veuillez notesque, selon la platine, connecter la ligne de terre peut avoir l'effet inverse en augmentant le bruit. Auquel cas, il n'est pas nécessaire de connecter la ligne de terre.
Connector un dispositif mémoire USB au port USB
Pour le mode d'emploi, voir "Lecture du contenu d'un dispositif mémoire USB" (p. 83).


Den ne garit pas que tous les dispositifs mmoe USB fonctionnent ou soient alimentes. Lorsque you utilise un disque dur USB portable livre avec un adaptateur secteur, utilisez l'adaptateur secteur fourni avec cet apparail.
REMARQUE
- Les dispositifs mémoire USB ne fonctionnent pas via un hub USB.
- Il n'est pas possible d'utiliser cet apparéil en connectant son port USB à un PC au moyen d'un cable USB.
N'utilise pas de cables d'extension pour connecter un dispositif de mémoire USB. Ceux-ci peuvent cause des interférences radio avec les autres apparueils.
Connexion à un réseau domestique (LAN)
Cet apparéil peut se connecter à un réseau en utilisant un LAN cable ou un réseau local sans fil.
Vous pouvez connecter cet apparéil à votre réseau domestique (LAN) pour réaliser différents types de lectures et d'opérations, comme suit.
- Lecture d'audio en réseau, tel qu'une radio Internet, et de serveurs média
- Lecture de services de diffusion de musique
- Utilisation de la fonction Apple AirPlay
- Fonctionnement de cet apparéil via le réseau
- Fonctionnement avec le système audio surround multi-pieces sans fil HEOS
- Mise à jour du micrologiciel
Contactez un ISP (Internet Service Provider) ou un magasin d'informatique pour la connexion à Internet.
LAN filaire
Pour effectuer des connexions via un LAN cable, utilisez un cable LAN pour connecter le routeur à cet apparéil, comme illustré dans la figure ci-dessous.

LAN sans fil
Lors de la connexion au réseau local sans fil, connectez les antennes externes pour une connexion Bluetooth/sans fil au réseau local sans fil au panneau arrêté et maintenez-les en position verticale.
Voir "Config. Wi-Fi" pour savoir comment connecter à un routeur de réseau local sans fil. (p. 222)


Cette fonction attribue automatiquement une adresse IP au LAN.
- Commutateur 100BASE-TX intégré
Lorsque vous connectez plusieurs appareils, nous vous recommendons d'utiliser un hub de commutation ayant une vitesse d'au moins 100 Mbps.
- N'utilise qu'un cable STP blindo ou un cable LAN ScTP (faclement disponibles dans les magasins d'electronique). (CAT-5 ou supérieur recommendé).
- Il est recommandé d'utiliser un cable LAN normal de type bliné.
Si vous utilisez un cable de type plat ou non-blindé, le bruit peut perturber les autres apparèils.
- Lorsque cet apparéil est connecté à un réseau sans fonction DHCP, effectuez les réglages de l'adresse IP, etc., dans le "Réseau". (p. 221)
REMARQUE
- Les routeurs compatibles dépendent du FAI. Contactez votre fournisseur d'accès à Internet ou un magasin d'informatique pour plus de détails.
- Cet apparériel n'est pas compatible avec PPPoE. Un routeur compatible PPPoE est nécessaire si vous ligne contractée n'est pas configurée pour être utilisée avec PPPoE.
- Ne connectez pas une borne NETWORK directement au port LAN/à la borne Ethernet de votre ordinateur.
- Plusieurs services en ligne peuvent être interrompus sans préavis.
Connexion d'un dispositif de commande externe
Prises REMOTE CONTROL
Lorsque cet apparéil est installé dans un endroit où les signaux de la télécommande ne peuvent pas atteindre (installation dans un placard, etc.), il peut toujours être contrôle par la télécommande en connectant un récepteur de télécommande (vendu séparation).
Vous pourrez également l'utiliser pour commander à distance la ZONE2 (piece séparée).

Borne TRIGGER OUT
Lorsqu'un apparéil doté d'une prise TRIGGER IN est connecté via une mini-prise monaurale, il est possible de lemettre en marche/veille par l'intermédiaire du fonctionnement synchronisé avec cet apparéil.
La prise TRIGGER OUT produit un signal électrique de 12 V DC/150 mA maximum.

REMARQUE
- Utilisez un cable monaural avec fiche mini pour le branchement des prises TRIGGER OUT. N'utilisez pas un cable stéreo avec fiche mini.
- Si le niveau d'entrée de déclenchement admissible du dispositif connecté est supérieur à 12 V DC/150 mA ou en cas de court-circuit, la prise TRIGGER OUT ne peut pas être utilisée. Dans ce cas, mettez l'appareil hors tension, puis débranchez-le.
Connexion du cordon d'alimentation
Une fois toutes les connexions effectuees, inserez la fiche d'alimentation dans la prise murale.

Vers la prise murale
(230 V CA, 50/60 Hz)
Contenu
Utilisation basique
| Mise sous tension | 81 |
| Sélection de la source d'entrée | 81 |
| Réglage du volume | 82 |
| Coupure-temporaire du son (Sourdine) | 82 |
| Sélection d'un mode d'écoute | 122 |
Lecture d'un apparéil
| Lecture avec les lecteurs DVD/Blu-ray Disc | 82 |
| Lecture du contentu d'un dispositif mémoire USB | 83 |
| Écouter de la musique sur un pérophérique Bluetooth | 87 |
| Écoute de l'audio avec un casque Bluetooth | 91 |
Lecture audio/service en réseau
| Écoute de Radio Internet | 94 |
| Lecture de fichiers stockés sur un ordinateur ou un stockage NAS | 96 |
| Obtenir HEOS App | 100 |
| Fonction AirPlay | 109 |
| Fonction Spotify Connect | 112 |
Fonctions pratiques
| Fonctions pratiques | 113 |
| Fonction de contrôle HDMI | 137 |
| Fonction Menu intelligent | 138 |
| Fonction de minutesie sommeil | 140 |
| Fonction de sélection rapide plus | 142 |
| Fonction de verrouillage du panneau | 145 |
| Fonction de verrouillage à distance | 147 |
Autres fonctions
| Fonction de contrôle Internet | 148 |
| Lecture dans la ZONE2 (differente piece) | 150 |
Utilisation basique

Mise sous tension
1 Appuyez sur POWER pourmettre l'appareil sous tension.

- Vous pouvez appuyer sur la touche de selection de la source d'entrée lorsque l'appareil est en mode veille pour lemettre sous tension.
- Vous pouvez également passer en mode veille en appuyant sur sur l'appareil principal.
Sélection de la source d'entrée
1 Appuyez sur la touche de seLECTION de la source d'entrée pour la lecture.
La source d'entrée souhaitatione peut etre selectionnee directement.

- Vous pouvez également selectionner la source d'entrée en actionnant la touche SOURCE SELECT sur l'appareil principal.
Réglage du volume
1 Utilisez VOLUME pour régler le volume.

- La plage de réglage varie en fonction du signal d'entrée et du réglage de niveau du canal.
- Vous pouvez également régler le volume maître en tournant la molette MASTER VOLUME sur l'appareil principal.
Coupure temporaire du son (Sourdine)
1 Appuyez sur MUTE X
- Le témoin MUTE de l'écran clignote.
- s'affiche sur l'écran du téléviseur.

- Le son est diminué jusqu'àau niveau défini pour le paramètre "Niveau sourdine" dans le menu. (p. 169)
- Pour annuler la sourdine, vous pouvez ajuster le volume sonore ou appuyer sur MUTE à nouveau.
- Si est affché sur l'écran de télévision pendant plus de 5 minutes alors que "Economiseur d'écran" est reglé sur "Marche", le symbole se déplace de manière aléatoire sur l'écran du téléviseur. (p. 187) (Cette fonctionnalité sera prise en charge via la mise à jour du micrologiciel.)
Lecture avec les lecteurs DVD/Blu-ray Disc
Vous trouvrez ci-dessous la procEDURE pour la lecture avec les lecteurs DVD/Blu-ray Disc.
1 Préparez la lecture.
① Allumez le subwoofer, le lecteur et la TV.
② Sélectionnez l'entrée de cet apparéil en guise d'entrée TV.
2 Appuyez sur POWER pourmettre l'appareil sous tension.
3 Appuyez sur DVD ou Blu-ray pour commuter une source d'entrée pour un lecteur utilisé pour la lecture.
4 Lisez le lecteur DVD ou le lecteur Blu-ray Disc.
Lecture du content d'un dispositif mémoire USB

- Lecture de fichiers musicaux enregistrés sur un dispositif mémoire USB.
- Seuls les dispositifs mémoire USB conformes aux standards de classe de stockage de masse peuvent être lus sur cet apparéil.
- Cet apparéil est compatible avec les dispositifs mémoire USB au format "NTFS" ou "FAT32".
- Les types de format audio et les caractéristiques de lecture prises en charge par cet apparéil sont les suivants.
Voir "Lecture de dispositifs mémoire USB" (p. 279) pour plus de détails.
WMA
MP3
WAV
- MPEG-4 AAC
- FLAC
Apple Lossless
DSD
Lecture des fichiers d'un dispositif mémoire USB
1 Insérez une clé USB formatee en “FAT32” ou “NTFS” sur le port USB.
2 Appuyez sur USB pour passer à la source d'entrée "USB".
3 Sélectionnez le nom de cet apparéil.
4 Parcourez la musique sur votre dispositif mémoire USB et sélectionnez une musique à dire.

- Quand vous selectionnez une musique à生存, on vous demandera comment vous pouze écouter toute musique.
| Jouez maintainant : | Insère l'élement dans votre liste de lecture en cours après le morceau en cours pour qu'il soit lu immédiatement. |
| Jouer & Remplacer la file d'attente : | Vide la liste de lecture et lit immediatement l'élement sélectionné. |
| Jouer la prochaine : | Insère l'élement à la liste après le morceau en cours et le lit une fois la chanson en cours terminée. |
| Ajouter à la fin de la liste de lecture : | Ajoute l'élement directement à la fin de la liste. |

5 Utilisez pour selectionner "Jouez maintainant" ou "Jouer & Remplacer la file d'atte", puis appuyez sur ENTER.
La lecture débute.

| Touches de commande | Fonction |
| ►/■ | Lecture / Pause |
| ►►► | Passer à la plage précédente/Passer à la plage suivante |
| CH/PAGE▲▼ | Passez à la page précédent/page suivante dans l'affichage de la liste |

- Lorsqu'un fischié audio MP3 contient des images de l'album, celles-ci peuvent être affichées pendant la lecture du fischié.
REMARQUE
- Notez que Denon ne pourrait être tenu responsable de chaque manière que ce soit des problèmes survenant par rapport aux données enregistrées sur un dispositif mémoire USB lors de l'utilisation de cet apparéil avec le dispositif mémoire USB en question.
- Lorsqu'un dispositif mémoire USB est connecté à cet apparéil, l' apparéil charge tous les fichiers qui s'y trouvent. Le chargement peut prendre un certain temps si le dispositif mémoire USB contient un nombre important de dossiers ou de fichiers.
- "Ajuster le volume de chaque canal pour le faire correspondre à la source d'entrée (Réglage niv. Canal)" (p. 116)
"Réglage de la tonalité (Tonalité)" (p. 117)
"Affichage de la video voulue lors de la lecture audio (Sélect. Video)" (p. 118)
" Lecture de la même musique dans toutes les zones (Toutes zones stéréo)" (p. 120)
Écouter de la musique sur un périphérique Bluetooth

Les fichiers musicaux sur les périphériques Bluetooth tels que les smartphones, les lecteurs de musique numérique, etc. peuvent être lus sur cet apparéil via un apparition et en connectant cet apparéil à l'aide du périphérique Bluetooth.
La communication est possible jusqu'à une distance d'environ 30m
REMARQUE
- Pour dire de la musique à partir d'un périhérique Bluetooth, le périhérique Bluetooth doit prendre en charge le profil A2DP.
Lecture de musique à partir d'un périphérique Bluetooth
Afin d'écouter de la musique à partir d'un périphérique Bluetooth sur cet apparéil, le périphérique Bluetooth doit d'abord être apparéi avec cet apparéil.
Une fois le périphérique Bluetooth appariet, il n'a pas besoin d'être appariet à nouveau.
1 Préparez la lecture.
① Connectez les antennes externes fournies pour Bluetooth/Réseau local sans fil aux connecteurs de l'antenne Bluetooth/Réseau local sans fil situés sur le panneau arrêté. (p. 23)
② Appuyez sur POWER pourmettre l'appareil sous tension.
2 Appuyez sur Bluetooth.
Lors de la première utilisation, l'appareil ira en more d'appariumment automatiquement et "Pairing..." apparaitra sur I'écran de l'appareil.
3 Activez les réglages Bluetooth sur votre périphérique mobile.
4 Sélectionnez cet apparéil lorsqu'on nom s'affiche dans la liste des apparéils affichés sur l'écran du périphérique Bluetooth.
Connectez-vous au périphérique Bluetooth pendant que "Pairing" est affché sur l'écran de l'ordinateil.
Effectuez la connexion avec le péripérisque Bluetooth à proximité de l'appareil (environ 1 m).
5 Lecture de musique à l'aide de n'importe qu'elle application sur votre périphérique Bluetooth.
- Le périphérique Bluetooth peut également être commandé avec la télécommande de cet apparéil.
- La prochaine fais que le bouton Bluetooth sera pressé sur la télécommande, cet apparéil se connectera automatiquement au dernier péripérérique Bluetooth connecté.
| Touches de commande | Fonction |
| ►/II | Lecture / Pause |
| ►►► | Passer à la plage précédente/Passer à la plage suivante |

- Appuyez sur STATUS de cet appeareil pendant la lecture pour basculer l'affichage sur le nom du titre, nom de l'artiste, nom de l'album, etc.
Appariement avec d'autres périphériques Bluetooth
Jumeler un apparéil Bluetooth avec l'appareil.
1 Activez les réglages Bluetooth sur votre périphérique mobile.
2 Appuyez et maintenez enfoncée la touche Bluetooth sur la télécommande pendant au moins 3 secondes.
L'appareil passera en mode d'appariement.
3 Sélectionnez cet apparéil lorsqu'on nom s'affiche dans la liste des apparéils affichés sur l'écran du périphérique Bluetooth.

- Cet apparéil peut être apparié avec un maximum de 8 périḥériques Bluetooth. Lorsqu'un 9e périḥérique Bluetooth est apparié, il sera enregistré à la place du plus ancien périḥérique enregistré.
- Vous pouvez également passer en mode d'appariumen appuyant sur le bouton OPTION lorsque I'écran de lecture est affiché et en scélectionnant "Mode de couplage" dans le menu d'options affiché.
REMARQUE
- Pour faire fonctionner le périphérique Bluetooth avec la télécommande de cet apparéil, le périphérique Bluetooth doit prendre en charge le profil AVRCP.
- La télécommande de cet apparéil n'est pas garantie de fonctionner avec tous les périhériques Bluetooth.
- Selon le type de péripérisque Bluetooth, cet apparéil émet du son qui est couplé au réglage du volume sur le péripérisque Bluetooth.
- "Appariume avec d'autres péripériques Bluetooth" (p. 89)
- "Ajuster le volume de chaque canal pour le faire correspondre à la source d'entrée (Réglage niv. Canal)" (p. 116)
- "Réglage de la tonalité (Tonalité)" (p. 117)
"Affichage de la video voulue lors de la lecture audio (Select. Video)" (p. 118)
" Lecture de la même musique dans toutes les zones (Toutes zones stéréo)" (p. 120)
Reconnexion à cet apparéil à partir d'un périphérique Bluetooth
Une fois l'appariement terminé, vous pouvez connecter le périphérique Bluetooth sans effectuer d'opération sur cet apparéil.
Cette opération doit également être effectuee lorsque vous commutez le periphérique Bluetooth pour la lecture.
1 Si un périphérique Bluetooth est connecté, désactivez le réglage Bluetooth de ce périphérique pour le déconnecter.
2 Activez le réglage Bluetooth du périphérique Bluetooth à connecter.
3 Sélectionnez cet apparéil dans la liste des péripériques Bluetooth affichée sur votre péripérisque Bluetooth.
4 Écoutez de la musique à l'aide de n'importe qu'elle application sur votre périphérique Bluetooth.

- L'écran passé automatiquement sur l'écran de lecture "Bluetooth" si un apparéil Bluetooth est connecté et que l' apparéil est allumé.
Lorsque les paramètres "Commande réseau" de cet apparéil sont régés sur "Toujours actif" et un périphérique Bluetooth est connecté avec l'unité en état de voir, l'alimentation de l' apparéil se mettra sous tension automatiquement. (p. 226)
Écoute de l'audio avec un casque Bluetooth
Yououpuvez ecouter de la musique en jouant dans la MAIN ZONE de cet appeareil avec un casque Bluetooth.
Sortie audio provenant simultanement d'enceintes connectees et d'un casque Bluetooth ou uniquement avec d'un casque Bluetooth.

Mode de sortie: Bluetooth + HP

(Mode de sortie: Bluetooth uniquement)
Écoute de l'audio avec un casque Bluetooth
1 Réglez "Émetteurs" sur "Marche" depuis le réglage "Général" - "Émetteur Bluetooth" dans le menu. (p. 233)
2 Sélectionnez "Mode de sortie" et définièsez la méthode de sortie audio.
| Bluetooth + HP(Valeur par défaut): | Le son est transmis au casqueBluetooth et aux enceintes de la zone principale.Cette sortie simultanée convient aux soirées cinéma en famille et autres activités de groupe. |
| Bluetooth uniquement: | Le son est transmis uniquement au casque Bluetooth.Ceci est approprié pour écouter de la musique ou regarder des films la nuit, lorsque vous nevez rester silencieux. |
3 Passez en mode d'appariument sur le casque Bluetooth que vous souhaitez connecter à cet apparéil.
4 Sélectionnez "liste des péripériques", puis le nom du casque Bluetooth dans la liste des péripériques.
5 Réglez le volume du casque Bluetooth connecté une fois la connexion établie.

- "Mode de sortie" peut également être configuré à partir de "Émetteur Bluetooth" dans le menu d'options.
- Les enceintes Bluetooth compatibles avec le profil A2DP peuvent être connectées en suivant les mêmes étapes que pour connecter un casque Bluetooth.
REMARQUE
- Le volume du casque Bluetooth ne peut pas être régé à partir de cet apparéil. Ajustez le volume de votre casque Bluetooth.
- Le mode stéroye est défini comme mode audio lors de l'utilisation d'un casque Bluetooth. Les modes audio et autres réglages audio ne sont pas reflètés dans la sortie audio du casque Bluetooth.
Les réglages audio, les modes audio et le mode Toutes zones stéreo ne sont pas disponibles avec un casque Bluetooth et "Mode de sortie" est régle sur "Bluetooth uniquement".
- L'audio peut être retardé lorsqu'il est envoyé via Bluetooth.
- Il est impossible de connecter un casque Bluetooth lors de l'utilisation d'une source d'entrée Bluetooth dans une zone.
De plus, la sélection d'une source d'entrée Bluetooth dans une zone met fin à la connexion entre cet apparéil et le casque Bluetooth.
- Il est impossible de connecter un casque Bluetooth lorsque cet apparéil est regroupé dans l'application HEOS.
PRECAUTION :
Utilisation d'un casque Bluetooth sans fonction de réglage du volume
- Afin d'éviter toute perte auditive, ne connectez pas de casque Bluetooth dépourvu de fonctionnalités de réglage du volume.
- Le volume du casque Bluetooth peut se trouver élevé de manière inattendue lorsque cet apparéil se connecte à un casque Bluetooth.
- Le volume du casque Bluetooth ne peut pas etre regle a partir de cet apparéil.
Reconnexion à un casque Bluetooth
Suivez l'une des étapes ci-dessous pour reconnectcer le dernier casque Bluetooth utilisé:
- Reconnectez-vous à cet apparéil avec la fonction de reconnexion du casque Bluetooth.
- Accédez à "Émetteur Bluetooth", puis SéLECTIONnez "Reconnecter" dans le menu des options.
- Si "Mode de sortie" est régé sur "Bluetooth + HP", cet apparéil se connecte automatiquement au dernier casque Bluetooth utilisé lors de la mise sous tension.
- Sélectionnez l'appareil que vous souhaitez connecter dans la "Liste des péripériques" sous "Émetteur Bluetooth" dans le menu.
Déconnexion d'un casque Bluetooth
Effectuez l'une des étapes suivantes pour déconnecter votre casque Bluetooth:
- Éteignez votre casque Bluetooth.
- Accédez à “Émetteur Bluetooth”, puis SéLECTIONNZ “Déconnecter” dans le menu des options.
- Dans le menu de configuration, accedez à “Général” - “Émetteur Bluetooth”, et réglez “Émetteurs” sur Arrêt. (p. 233)
Écoute de Radio Internet

- La Radio Internet renvoie aux émissions radio diffusées via Internet. Vous pouvez recevoir des stations Radio Internet en provenance du monde entier.
- Les stations radio Internet sur cet apparéil lisent le service de base de données fourni par la station radio Tuneln.
- Les types de format audio et les caractéristiques de lecture prises en charge par cet apparueil sont les suivants. Voir "Lecture de radio Internet" (R e p. 282) pour plus de détails.
WMA
MP3
- MPEG-4 AAC
Écoute de Radio Internet
1 Appuyez sur INTERNET RADIO.
- Vous pouvez également appuyer sur ^H (HEOS Music). Utilisez pour sélectionner "Radios internet Tunein", puis appuyez sur ENTER.
2 Sélectionnez la station que vous souhaite écouter.
| Touches de commande | Fonction |
| ►/■* | Lecture / Pause |
| ►►►* | Passer à la plage précédente/Passer à la plage suivante |
| CH/PAGE ▲▼ | Passez à la page précédent/page suivante dans l'affichage de la liste |
- Autorisé lors de l'écoute de Podcasts.

- L'affichage passé du titre de la plage au nom de la station de radio etc. à chaque fois que vous appuyez sur STATUS sur l'appareil principal.
REMARQUE
- Le service de base de données des stations radio peut être interrompu ou indisponible sans averissement préalable.
"Ajout des Favoris HEOS" (p. 114)
- "Ajuster le volume de chaque canal pour le faire correspondre à la source d'entrée (Réglage niv. Canal)" (p. 116)
- "Réglage de la tonalité (Tonalité)" (p. 117)
"Affichage de la video voulue lors de la lecture audio (Select. Video)" (p. 118)
" Lecture de la même musique dans toutes les zones (Toutes zones stéréo)" (p. 120)
Lecture de fichiers stockés sur un ordinateur ou un stockage NAS

- Cet apparéil peut dire les fichiers musicaux et les pistes de lecture (m3u, wpl) depuis des serveurs DLNA compatibles, comme un ordinateur ou un dispositif NAS, connectés à votre réseau.
- Formats pris en charge : Pour plus de détails, reportez-vous à “Lire un fichier sauvégarde sur un ordinateur ou sur un NAS” (198 p. 281).
WMA
MP3
WAV
MPEG-4 AAC
- FLAC
Apple Lossless
DSD
Lecture de fichiers stockés sur un ordinateur ou un stockage NAS
Suivez cette procédure pour lire les fichiers audio ou les listes de lecture sur des serveurs de fichiers DLNA connectés à votre réseau.
1 Appuyez sur (HEOS Music).
2 Utilisez pour selectionner "Serveur de musique", puis appuyez sur ENTER.

3 Sélectionnez le nom de votre PC en réseau ou du serveur NAS (Network Attached Storage).
4 Parcourez la musique sur votre PC/NAS et selectionnez une musique à生存.

- Quand vous sclectionnez une musique à dire, on vous demandera comment vous voulez écouter votre musique.
| Jouez maintainant : | Insère l'élement dans votre liste de lecture en cours après le morceau en cours pour qu'il soit lu immédiatement. |
| Jouer & Remplacer la file d'attente : | Vide la liste de lecture et lit immediatement l'élement sélectionné. |
| Jouer la prochaine : | Insère l'élement à la liste après le morceau en cours et le lit une fois la chanson en cours terminée. |
| Ajouter à la fin de la liste de lecture : | Ajoute l'élement directement à la fin de la liste. |

5 Utilisez pour selectionner "Jouez maintainant" ou "Jouer & Remplacer la file d'atte", puis appuyez sur ENTER.
La lecture débute.

| Touches de commande | Fonction |
| ►/■ | Lecture / Pause |
| ►► | Précédent / Suivant |
| CH/PAGE ▲▼ | Passez à la page précédente/page suivante dans l'affichage de la liste |

- L'affichage passé du titre de la plage, au nom de l'artiste, puis au titre de l'album à chaque fois que vous appuyez sur STATUS sur l'appareil principal.
- Lorsqu'un fjichier WMA (Windows Media Audio), MP3 ou MPEG-4 AAC contient des images de l'album, celles-ci peuvent etre affichees pendant la lecture du fjichier.
- Si vous utilisez une version 11 ou ultérieure de Windows Media Player, il est possible d'afficher l'album pour les fichiers WMA.
REMARQUE
- Lors de la lecture de fichiers musicaux avec votre ordinateur ou stockage NAS connecté via le réseau LAN sans fil, l'audio peut être interrompu en fonction de cette environnement LAN sans fil. Dans ce cas, connectez à l'aide d'un LAN câblé.
- L'ordre dans lequel les plages/fichiers sont affichés dépend des paramètres du serveur. Si les plages/fichiers ne sont pas affichés dans l'ordre alphabetique à cause des specifications du serveur, il se peut que la recherche par la première lettre ne fonctionne pas correctement.
- "Ajuster le volume de chaque canal pour le faire correspondre à la source d'entrée (Réglage niv. Canal)" (p. 116)
"Réglage de la tonalité (Tonalité)" (p. 117)
"Affichage de la video voulue lors de la lecture audio (Sélect. Video)" (p. 118)
- "Lecture de la même musique dans toutes les zones (Toutes zones stéreo)" (p. 120)
- "Modification des paramètres d'enceinte pour les adapter à l'environnement d'écoute (Présélection des HP)" (p. 121)
Obtenir HEOS App
Depuis HEOS App, you pouze utiliser de nombreux services de diffusion de musique en ligne. Plusieurs options s'offrent à vous selon votre situation géographique.
Téléchargez HEOS App sur iOS ou Android en recherchant "HEOS" sur l'App Store, sur Google Play ou sur Amazon Appstore.


Download on the
App Store

GET IT ON
Google Play
Compte HEOS
Vous pouvez enregistrer un compte HEOS sur "Compte HEOS" (12 p. 228) dans le menu de cet apparéil ou en cliquant sur l'onglet "Musique", icône "Réglages" - dans le HEOS App.
Qu'est-ce qu'un Compte HEOS?
Un Compte HEOS est un compte principal ou "porte-clé" qui vous permet de contrôler tous les services de musique HEOS à l'aide un identifient et un mot de passer une.
Pourquoi se创建工作 un Compte HEOS?
Grçá à ce Compte HEOS, il vous suffit d'entrez votre identifient et leur mot de passer une seule fois pour tous les services de musique. Cela vous permet une'utilisation rapide et facile de l'application sur différents dispositifs.
Il vous suffit de vous identifier sur votre Compte HEOS depuis n'importe quel dispositif, et vous aurez accès à tous vos services de musique associés. Vous pourrez ainsi direvont historique de lecture et vos listedes de lecture, même chez des amis qui écoulent leur musique sur leur propre système HEOS.
Se creer un Compte HEOS
À votre première utilisation d'un service de musique depuis le menu "Musique" principal de HEOS App, il vous sera demandé de créé un Compte HEOS.
■ Modifier son Compte HEOS
1 Appuyez sur l'onglet "Musique".
2 Sélectionnez l'icone Réglages en haut à gauche de l'écran.
3 Sélectionnez "Compte HEOS".
4 Changez votre zone géographique, votre mot de passer, supprimez votre compte ou déconnectez-vous.
Lecture depuis des services de diffusion de musique
Un service de musique est une société de musique en ligne qui permet un accès à de vastes collections musicales par le biais d'une souscription gratuite et/ou payante. Plusieurs options s'offrent à vous selon notre situation géographique. Pour plus d'informations concernant les services disponibles dans votre zones géographique, rendez-vous sur http://www.HEOSbyDenon.com
REMARQUE
- L'application et la marque HEOS ne sont associées àaucun fabricant d'appareil mobile. La disponibilité des services de musique peut varier selon les régions. Il est possible que tous les services ne soient pas disponibles au moment de l'achat. Certains services peuvent être ajoutés ou supprimés de temps à autre en fonction de décisions des fournisseurs de services de musique ou d'autres personnes.
■ Sélectionner une piece/un dispositif
1 Appuyez sur l'onglet "Pièces" et sélectionnez "Denon AVC-X3700H" s'il existe plusieurs produits avec HEOS intégré.

- Appuyez sur l'icone en haut à droite de l'écran pour changer le mode éditeur.
Vous peuvent modifier le nom affché.

■ Sélectionner le morceau ou la station depuis les différentes sources musicales
1 Appuyez sur l'onglet "Musique" pour selectionner une source musicale.

- Tous les services musicaux affichés sont susceptibles de pas etre disponibles dans notre région.

2 Parcourir les musiques à生存.
Après avoir sélectionné un morceau ou une station de radio, l'application vous redirigera automatiquement sur l'écran "A l'écoute".

- Lorsque vous sélectionné un morceau à lire, on vous demandera comment vous voulez écouter votre musique.
| Jouez maintainant : | Insère l'élement dans votre liste de lecture en cours après le morceau en cours pour qu'il soit lu immédiatement. |
| Jouer & Remplacer la file d'attente : | Vide la liste de lecture et litimmédiatement l'élement sélectionné. |
| Jouer la prochaine : | Insère l'élement à la liste après le morceau en cours et le lit une fois la chanson en cours terminée. |
| Ajouter à la fin de la liste de lecture : | Ajoute l'élement directement à la fin de la liste. |

- Lorsque vous sélectionnez une station de radio, les éléments suivants s'afficht.
| Jouez maintainant : | Permet de dire immédiatement l'élement選érationné. |
| Ajouter aux+favorisHEOS: | Ajoute aux+favoris HEOS. |


Écouter la même musique dans plusieurs pieces
Ce système est un veritable système audio multi-pieces. Vous pouvezisser un ou plusieurs groupes HEOS pour synchroniser automatiquement la lecture audio entre plusieurs produits avec HEOS intégré afin que la musique jouée dans les différentes pieces soit parfaitement synchronisée et ait toujours un son étonnant! Vous pouvez facilement ajouter jusqu'à 32 produits à votre système au total. Vous pouvez regrouper jusqu'à 16 produits individuels pour qu'ils jouent le même morceau de manière totalement synchronisée.
Regrouper des pieces
1 Appuyer et maintenez votre doigt sur la piece qui ne diffuse pas de musique.
2 Faites-la glisser jusqu'à la piece qui diffuse de la musique (indiquée par un contour rouge) et relâchez.
3 Le deux pieces seront ainsi regroupées en un unique groupe de dispositifs et elles diffuseront la même musique parfaitement synchronisée.

Dégrouper des pieces
1 Appuyez et maintenez votre doigt sur une piece que vous poulez retarder d'un groupe.
2 Faites-la glisser hors du groupe et relâchez.
REMARQUE
- Vous ne pouvez pas-retirer la première piece qui diffusait de la musique avant la creation du groupe.

Regrouper toutes les pieces (mode soité)
Vous pouvez facilement regrouper 16 pieces en mode Soirée d'un simple "rapprochement" des doigts.
1 Placez deux doigs sur I'ecran, sur la liste des pièces.
2 Rapprochez rapidement vos doigts et relâchez.
3 Toutes les pieces seront regroupées et diffuseront la même musique parfaitement synchronisée.

Dégrouper toutes les pieces
Voussoupezaisementdégroupertoutespiècesetquitterle mode Soirée d'un simple“écartement”desdoigts.
1 Placez deux doigs serrés sur l'écran, sur la liste des pièces.
2 Séparez-les rapidement et relâchéz.
3 Toutes vos pieces seront dégroupées.

Fonction AirPlay
Les fichiers musiques stockés sur votre iPhone, iPod touch, iPad ou iTunes peuvent être lus sur cet apparéil via le réseau.

- La source d'entrée basculera sur "HEOS Music" au démarrage de la lecture AirPlay.
- Vous pouvez arrêté la lecture d'AirPlay en faisissant une autre source d'entée.
- Pour voir en même temps les noms du titre et de l'artiste, appuyez sur STATUS sur l'appareil principal.
- Pour savoir comment utiliser iTunes, consultez également l'aide d'iTunes.
- L'écran peut être différent selon le Systeme d'exploitation et les versions du logiciel.
Cet apparéil prend en charge AirPlay 2.
Synchronise plusieurs appareils/enceintes compatibles avec AirPlay 2 pour une lecture simultanée.

- Cet apparéil prend en charge AirPlay 2 et nécessite iOS 11.4 ou une version ultérieure.


Lecture de titres de votre iPhone, iPod touch ou iPad
Si vous mettez à jour leur "iPhone/iPod touch/iPad" avec iOS 4.2.1 ou une version plus récente, vous allez pouvoir diffuser en continu la musique enregistrée dans votre "iPhone/iPod touch/iPad" directement vers cet apparéil.
1 Connectez votre iPhone, iPod touch ou iPad Wi-Fi au même réseau que cet apparéil.
- Pour plus de détails, voir le manuel de votre apparéil.
2 Lisez les titres de votre iPhone, iPod touch ou iPad.
Icône AirPlay s'affiche sur l'écran de l'iPhone, iPod touch ou iPad.
3 Appuyez sur l'icone AirPlay pour selectionner cet apparéil.

[Example] iOS 12

[Example] iOS 10
Lecture de la musique iTunes avec cet apparéil
1 Installéz iTunes 10 ou une version plus réçente sur un Mac ou un PC sous Windows connecté au même réseau que cet apparéil.
2 Allumez cet apparéil.
Réglez "Commande réseau" sur "Toujours actif" pour cet apparéil. (p. 226)
REMARQUE
- Si "Commande réseau" est régé sur "Toujours actif", l'appareil consomme plus d'énergie en mode veille.
3 Lance iTunes et cliquez sur I'icone AirPlay pour selectionner I'appareil principal.

[Example]iTunes
4 Choisissez un morceau et cliquez pour lancer la lecture dans iTunes.
La musique va etre transmise en continu vers cet appeareil.
REMARQUE
- Pendant la lecture avec la fonction AirPlay, le son est restitué au niveau sonore régèle sur l'iPhone, l'iPod touch ou l'iPad ou dans iTunes.
Voue doivent baisser le volume de l'iPhone, de l'iPod touch, de l'iPad ou d'iTunes avant de lancer la lecture, puis le régler au niveau ajustat.
Lisez un morceau depuis votre iPhone, votre iPodtouch ou votre iPad sur plusieurs appareils synchronisés (AirPlay 2)
Vous pouvez synchroniser des morceaux d'un iPhone, d'un iPod touch ou d'un iPad sous iOS 11.4 ou une version ultérieure avec plusieurs apparueils qui prennet en charge AirPlay 2 pour une lecture simultanée.
1 Lisez les titres de votre iPhone, iPod touch ou iPad.
Icône AirPlay s'affiche sur l'écran de l'iPhone, iPod touch ou iPad.

2 Tapez sur I'icone AirPlay.
Année une liste des appareils/enceintes utilisables sur le même réseau.
- Un cercle s'affiche à droite des apparèils compatibles avec AirPlay 2.

3 Appuyez sur les apparèils/enceintes que vous souhaitez utiliser.
- Vous pouvez seLECTIONner plusieurs apparéils compatibles avec AirPlay 2.
- Vous pouvez régler le volume de chaque apparéil individuellement ou simultanément celui de tous les apparéils synchronisés.

Fonction Spotify Connect
Spotify, c'est toute la musique dont vous avez besoin. Des millions de morceaux disponibles instantanément. Cherez simplement la musique que vous aimez, ou laissez Spotify vous jouer quelque chose de génial. Spotify fonctionne sur votre téléphone, votre tablette, votre ordinateur et les enceintes de votre domicile. Ainsi, vous arez toujours la bande son parfait pour ce que vous faites. Vous pouvez désormais profiter de Spotify avec votre compte gratuite ainsi qu'avez votre compte Premium. Utilisez votre téléphone, tablette ou ordinateur comme une télécommande pour Spotify.
Accédez à www.spotify.com/connect pour découvert comment.
Le logiciel Spotify est soumis à des licences de tiers représentées ici :
Lecture de la musique Spotify avec cet apparéil
Téléchargez au préalable le "Spotify App" dans votre apparéil Android ou iOS.
1 Connectez les paramétrages Wi-Fi du périphérique iOS ou Android dans le même réseau que cet apparéil.
2 Lancez le Spotify App.
3 Lisez la piste Spotify que vous souhaitez dire avec cet apparéil.
4 Tapez sur l'icone Spotify pour selectionner I'appareil.
La musique va etre transmise en continu vers cet appeareil.
Fonctions pratiques

Cette section explique comment utiliser les fonctions pratiques qui peuvent etre utilisées pour chaque source d'entrée.
Ces fonctions ne peuvent configurer que dans la MAIN ZONE.
Ajout des Favoris HEOS
1 Pendant la diffusion du content, appuyez sur OPTION. L'écran de menu d'options s'affiche.
2 Utilisez pour selectionner "Ajouter aux favoris HEOS", puis appuyez sur ENTER.
Lecture des Favoris HEOS
1 Appuyez sur (HEOS Music).
2 Utilisez pour selectionner "Favoris HEOS", puis appuyez sur ENTER.

3 Parcourez le contenu et selectionnez une musique à dire.
Suppression des Favoris HEOS
1 Lorsque la liste des Favoris HEOS est affichée, utilisez pour selectionner l'objet que vous poulez supprimer des Favoris HEOS, puis appuyez sur OPTION.
2 Utilisez pour selectionner "Enlever de vos favoris HEOS", puis appuyez sur ENTER.
Ajuster le volume de chaque canal pour le faire correspondre à la source d'entrée (Réglage niv. Canal)
Le volume de chaque canal peut être modifié pendant que vous écoutez de la musique. Vous pouvez définir ceci pour chaque source d'entrée.
1 Appuyez sur OPTION.
Un écran de menu d'options s'affiche.
- Lorsque la source d'entrée est sur "HEOS Music", un menu Option est affiché pour la musique en ligne. Sélectionnez "Options AVR" et appuyez ensuite sur ENTER.
2 Utilisez pour selectionner "Réglage niv. Canal", puis appuyez sur ENTER.
L'écran "Réglage niv. Canal" s'affiche.
3 Utilisez pour selectionner le canal que vous souhaitez ajuster.
4 Utilisez pour régler le volume.
-12.0 dB - +12.0 dB (Défaut: 0.0 dB)
5 Utilisez pour selectionner "Quitter", puis appuyez sur ENTER.

- Sélectionnez “Réinitialisez” et appuyez sur ENTER si vous souhaitez restaurer les valeurs de réglage des différents canaux à “0.0 dB” (Défaut).
- Le volume du casque audio peut être régé lorsqu des écouteurs sont connectés.
- Les réglages "Réglage niv. Canal" sont mémorisés pour chaque source d'entrée.
- Vous ne pouvez définir ici que pour les enceintes qui produit l'audio. En outre, vous ne pouvez pas effectuer ces réglages lorsque dans le menu "Sortie audio HDMI" est régé sur "TV". (© ©) p. 177
Réglage de la tonalité (Tonalité)
Ajuste la qualite tonale du son.
1 Appuyez sur OPTION.
Un écran de menu d'options s'affiche.
- Lorsque la source d'entrée est sur "HEOS Music", un menu Option est affiché pour la musique en ligne. Sélectionnez "Options AVR" et appuyez ensuite sur ENTER.
2 Utilisez pour selectionner "Tonalité", puis appuyez sur ENTER.
L'écran "Tonalité" s'affiche.
3 Utilisez pour régler la fonction de commande de tonalités sur marche/arrêt.
| Marché : | Permettre les réglages de tonalité (graves, aigus). |
| Arrêt (Défaut) : | Lecture sans réglages de tonalité. |
4 Sélectionnez "Marche" à l' étape 3 et appuyez sur ∇ pour sélectionner la gamme de sons devant être ajustée.
| Graves : | Réglage des graves. |
| Aigüs : | Réglage des aiguus. |
5 Utilisez pour régler le tonalité, puis appuyez sur ENTER.
-6 dB ++6 dB (Default:0dB)

- Les réglages "Tonalité" sont mémorisés pour chaque source d'entrée.
- Le réglage en est impossible quand le mode audio est sur "Direct" ou "Pure Direct".
- Cet élément ne peut pas être définir lorsque "Dynamic EQ" est régle sur "Marche". (p. 171)
- Vous ne pouvez pas régler ceci si aucun signal audio n'est entre ou si dans le menu "Sortie audio HDMI" est régle sur "TV". (p. 177)
Affichage de la video voulue lors de la lecture audio (Sélect. Video)
Cet apparéil peut afficher desVIDEOS d'une source différente sur le télévisueur pendant la lecture audio. Vous pouvez définir ceci pour chaque source d'entrée.
Sources d'entrée prises en charge : CD* / Tuner / HEOS Music / Phono
- Ce réglage est impossible lorsque l'une des bornes video, HDMI ou video composante est attribuée.
1 Appuyez sur OPTION.
Un écran de menu d'options s'affiche.
- Lorsque la source d'entrée est sur "HEOS Music", un menu Option est affiché pour la musique en ligne. Sélectionnez "Options AVR" et appuyez ensuite sur ENTER.
2 Utilisez pour selectionner "Sélect. Video", puis appuyez sur ENTER.
L'écran "Select. Video" s'affiche.
3 Utilisez pour selectionner le mode "Sélect. Video".
Arrêt
(Defaut) :
Désactive le mode Sélect. Video.
Marche :
Active le mode Sélect. Video.
4 Si vous sélectionnez "Marche" à l' étape 3, appuyez sur et sélectionnez "Source".
5 Appuyez pour selectionner la source d'entrée pour la video que vous souhaitez dire, et appuyez sur ENTER.

- Les réglages " Sélect. Video" sont mémorisés pour chaque source d'entrée.
Réglage de la qualité d'image pour votre environnement de visualisation (Mode photo)
- Vous pouvez définir le mode photo lorsqu'une borne HDMI, video composante ou video est attribuée et que "Echelle(scaler) i/p" est configuré sur une autre option que "Arrêt". (p. 183)
1 Appuyez sur OPTION.
Un écran de menu d'options s'affiche.
2 Utilisez pour selectionner "Mode photo", puis appuyez sur ENTER.
L'écran "Mode photo" s'affiche.
3 Utilizez pour selectionner le mode photo.
| Arrêt
(Défaut) : | Aucun ajustement de la qualité d'image n'est effectué avec cet apparéil. |
| Standard : | Mode standard adapté à la plupart des environnementés de visualisation de salon. |
| Film : | Modeadapté à la visualisation de films dans une pièceASFOTTEtée telle qu'une salle de cinéma. |
| Vif : | Mode qui rend les images graphiques des jours, etc. plus lumineuses et plus éclatantes. |
| Streaming : | Modeadapté à des sources video à faible débit. |
| ISF Day : | Un mode qui convient pour regarder des films dans une pièce éclairée pendant la journée. |
| ISF Night : | Un mode qui convient pour regarder des films dans une pièceASFOTTEtée telle qu'une nuit. |
| Personnalisé : | Permet d'ajuster manuellement la qualité d'image. |
4 Appuyez sur ENTER.

- Les réglages "Mode photo" sont mémorisés pour chaque source d'entrée.
Lecture de la même musique dans toutes les zones (Toutes zones stéréo)
Voussupouvzirela musique en cours de lecture dans la MAIN ZONESimultanement en ZONE2 (differente piece).
Cette fonction est utile lorsque vous souhaitez profiter de la même musique en même temps dans plusieurs pieces lors d'une soit, ou si vous souhaitez écouter la même musique d'ambiance dans toute la maison.
1 Appuyez sur OPTION.
Un écran de menu d'options s'affiche.
- Lorsque la source d'entrée est sur "HEOS Music", un menu Option est affchéé pour la musique en ligne. Sélectionnez "Options AVR" et appuyez ensuite sur ENTER.
2 Utilisez pour selectionner "Toutes zones stéréo", puis appuyez sur ENTER.
L'écran "Toutes zones stéreo" s'affiche.
3 Sélectionnez "Démarrer" et appuyez ensuite sur ENTER.
La source d'entrée de ZONE2 est commutée sur la même source d'entrée que pour MAIN ZONE, et la lecture commence dans le mode Toutes zones stéreo.
■ Arrête le mode “Toutes zones stéreo”
1 Pendant la lecture en mode Toutes zones stéreo, appuyez sur OPTION.
Un écran de menu d'options s'affiche.
- Lorsque la source d'entrée est sur "HEOS Music", un menu Option est affchéé pour la musique en ligne. Sélectionnez "Options AVR" et appuyez ensuite sur ENTER.
2 Utilisez pour selectionner "Toutes zones stéréo", puis appuyez sur ENTER.
3 Sélectionnez "Arrêt" et appuyez ensuite sur ENTER.

- Le mode "Toutes zones stéreo" est annulé, même lorsque l'alimentation de MAIN ZONE est hors tension.
- En mode "Toutes zones stéreo", seuils les modes son "Multi Ch Stereo" et "Stereo" peuvent être sélectionnés.
- Lorsque "Sortie audio HDMI" est défini sur "TV", le mode Toutes zones stéroid n'est pas disponible. (p. 177)
- Enregistrez l'état de lecture du mode Toutes zones stéreo dans la fonction de sélection rapide plus pour activer la lecture simple en mode Toutes zones stéreo d'une simple pression.
Modification des paramètres d'enceinte pour les adapter à l'environnement d'écoute (Présélection des HP)
Vou pouve enregistrer deux réglages d'enceinte pour une adaptation aux environnements dans lesquels vous utilisez vos enceintes.
1 Appuyez sur OPTION.
Un écran de menu d'options s'affiche.
- Lorsque la source d'entrée est sur "HEOS Music", un menu Option est affiché pour la musique en ligne. Sélectionnez "Options AVR" et appuyez ensuite sur ENTER.
2 Utilisez pour selectionner "Présélection des HP", puis appuyez sur ENTER.
L'écran "Présélection des HP" s'affiche.
Présélection 1
(Defaut) :
Utilisez Présélection 1.
Présélection 2 :
Utilisez Présélection 2.

-
Vous pouvez utiliser cette fonction dans les cas suivants.
-
Àprouv avoir réglé “Présélection des HP” sur “Présélection 2”, réglez manuellement les paramètres des enceintes.
- Enregistrez le résultat dans "Présélection 2" après avoir exécuté Conf. Audyssey® pour la deuxième fois.
Sélection d'un mode d'écoute

Cet apparéil vous permet de profiter de différentes sortes de contenu surround et stéro.
Les formats audio multi-canaux sont fournis sur les formats de disque de musique ou films populaires, tels que Blu-ray et DVD. Ils sont également pris en charge par la diffusion numérique, et même les films et la musique en diffusion via Internet à partir de services d'abonnement Internet.
Cet appeareil prend en charge la lecture de la plupart de ces formats audio multi-canaux. Il prend également en charge la lecture surround des autres formats audio, tels que l'audio stéreo 2 canaux.

- Pour connaître les formats audio enregistrés sur un disque, voir la pochette ou l'étiquette de celui-ci.
Sélection d'un mode d'écoute
1 Appuyez sur MOVIE, MUSIC ou GAME pour selectionner un mode audio.
| MOVIE : | Bascule sur le mode audio qui convient pour profiter des films et des programmes TV. |
| MUSIC : | Bascule sur le mode audio qui convient pour profiter de la musique. |
| GAME : | Bascule sur le mode audio qui convient pour profiter de jours. |

- Le bouton MOVIE, MUSIC ou GAME mémORise le dernier mode audio sélectionné pour ce bouton. Le fait d'appuyer sur MOVIE, MUSIC ou GAME appelle le mode audio sélectionné lors de la lecture précédente.
- Si le contentu diffusé ne prend pas en charge le mode audio sélectionné précédément, le mode audio approprié correspondant au contente est sélectionné automatiquement.
- Vous pouvez également appuyer sur SOUND MODE sur l'appareil pour changer le mode audio.
Passage au mode audio
- Appuyez sur MOVIE, MUSIC ou GAME pour afficher une liste des modes audio qui peuvent être sélectionnés. Chaque fois que vous appuyez sur MOVIE, MUSIC ou GAME, le mode audio change.
- Lorsque la liste est affichée, vous pouvez également utiliser pour sélectionner un mode audio.
- Testez différents modes audio et profitez d'un mode audio par le biais du mode que vous préférez.

- Configurez le mode surround sur Dolby Atmos/Surround lorsque vous lisez du contentu encode en Dolby Atmos. Dolby Atmos/Surround offre l'expérience optimale de lecture a partir de sources Blu-ray et de diffusion codées avec Dolby Atmos ainsi que du contentu basé sur des chaînes. Le réglage par défaut de ce récepteur est Dolby Atmos/Surround.
[Exemple] Lorsque MOVIE est enforcé
![DENON AVC-X3800H - [Exemple] Lorsque MOVIE est enforcé - 1](/content/2024/12/321165/images/424c5159feb9f3e356b5cec4bf27723b75dbb3974b3e837b43a4652d1f7b34db.jpg)
Cet apparéil offre non seulement des modes audio conformes aux formats enregistrés sur les disques tels que Dolby et DTS, mais aussi des types de modes élargis qui sont compatibles avec la configuration de vos enceintes, ainsi que des "Mode d'écoute original" qui créé une atmôspère de Rock Arena, Jazz Club, etc.
Lecture directe
Le flux audio enregistré dans la source est lu telquel.
1 Utilisez PURE pour selectionner "Direct".
La lecture en direct commence.

- Lorsque les signaux DSD sont lus, "DSD Direct" s'affiche.
- Ceci peut également être régle en pressant PURE DIRECT sur l'appareil principal.
Lecture Pure Direct
Ce mode permet la lecture avec un son de toute qualité que dans le mode de lecture directe.
Ce mode met hors tension l'affichage de l'appareil principal et le circuit video analogue. Cela supprime les sources parasites qui peuvent affecter la qualite sonore.
1 Utilisez PURE pour selectionner "Pure Direct".
L'écran s'assombrit et la lecture Pure direct commence.

- En modes audio Direct et Pure Direct, les éléments suivants ne peuvent pas etre régles.
Tonalité (p. 117)
- Restorer (R) p. 167
- MultEQ® XT32 (p. 170)
Dynamic EQ (p. 171)
Dynamic Volume (p. 172)
EQ Graphic (p. 173)
- Ceci peut également être régle en pressant PURE DIRECT sur l'appareil principal.
REMARQUE
- Les signaux video sont émis uniquement si les signaux HDMI sont lus en mode Pure Direct.
- Lorsque le mode Pure Direct a été sélectionné, l'affichage s'eteint après environ 5 secondes.
Ce mode détecte le type de signal d'entrée numérique et sélectionne automatiquement le mode correspondant pour la lecture.
Lancez la lecture stéreo lorsque le signal d'entrée est PCM. Lorsque le signal d'entrée est Dolby Digital ou DTS, la musique est lue en fonction du numéro de canal correspondant.
1 Utilisez PURE pour selectionner "Auto".
La lecture surround auto démarre.

- Ceci peut également être régle en pressant PURE DIRECT sur l'appareil principal.
Description des types de mode audio
Mode audio Dolby
| Type de mode audio | Description |
| Dolby Atmos | Sélectionnez ce mode pour lire le contenu codé avec Dolby Atmos. Si vous aveç precedemment sélectionné un autre mode audio, sélectionnez de nouveau ce mode pour lire le contenu Dolby Atmos. Il décode le contenu Dolby Atmos et ses données de positionnement en temps réel et permet d'émettre le son par les haut-parleurs appropriés, créé des images audio naturelles indépendamment de la disposition de l'enceinte. Utilisez des enceintes de plafond et/ou des enceintes compatibles Dolby Atmos pour creator un champ acoustique tridimensionnel.
Vous pouvez bénéficier d'une expérience audio immersive à partir des configurations d'enceintes traditionnelles qui n'utilisent pas d'enceintes de plafond ou compatibles Dolby Atmos en sélectionnant la fonction Virtualiseur de HP. |
| Dolby TrueHD | Sélectionnez ce mode pour lire le contenu codé avec Dolby TrueHD en 192 kHz/96 kHz. |
| Dolby Digital Plus | Sélectionnez ce mode pour lire le contenu codé avec Dolby Digital Plus. |
| Dolby Digital | Sélectionnez ce mode pour lire le contenu codé avec Dolby Digital. |
| Dolby Surround | Ce mode utilise Dolby Surround Upmixer pour éndre diverses sources en canaux multiples naturels et réalistes pour la lecture.
Utilisez les enceintes de plafond telles des enceintes centrales supérieures pour creator un champ acoustique tridimensionnel. |
Mode audio DTS
| Type de mode audio | Description |
| DTS Surround | Vous pouvez sélectionner ce mode lorsque vous lisez des sources enregistrées en DTS. |
| DTS ES Dscrt6.1*1 | Ce mode convient à la lecture de disques enregistrés en DTS-ES.Le canal surround arrêté ajouté à l'aide de la méthode discrète est lu comme un canal indépendant.Comme tous les canaux sont indépendants, l'expressivité spatiale à 360 degrès et la localisation du son sont renforcées. |
| DTS ES Mtrx6.1*1 | Ce mode convient à la lecture de disques enregistrés en DTS-ES.Le canal surround arrêté ajouté aux canaux surround gauche et surround droit par un encodeur de matrice au moment de l'enregistrement logiciel est décidé par le décodeur de matrice de cet apparéil et lu sur chacun des canaux (surround gauche, surround droit, surround arrière). |
| DTS 96/24 | Vous pouvez sélectionner ce mode lorsque vous lisez des sources enregistrées en DTS 96/24. |
| DTS-HD | Vous pouvez sélectionner ce mode lorsque vous lisez des sources enregistrées en DTS-HD. |
| DTS Express | Vous pouvez sélectionner ce mode lorsque vous lisez des sources enregistrées en DTS Express. |
| DTS:X | Vous pouvez sélectionner ce mode lors de la lecture de contenu codé avec DTS:X.II décode le contenu DTS:X et ses données de positionnement en temps réel et permet d'émettre le son par les haut-parleurs appropriés, créé des images audio naturelles indépendamment de la disposition de l'enceinte. Utilisez les enceintes hautes pour creator un champ acoustique tridimensionnel. |
| IMAX DTS | Ce mode est automatiquement activé lors de la lecture de contenu IMAX Enhanced représentant un flux binaire DTS. (p. 163)
• Ce mode est également sélectionnable lorsque “Paramètres sur.” - “IMAX” est réglé sur “Marche” dans le menu et qu'un signal de canal DTS 5.1 à fréquence d'échantillonnage de 48 kHz est entré.
• Lorsque “Config. enceintes” - “Surr. arrêté” est réglé sur “2 enceintes”, “Config. enceintes” - “Centrale” est réglé sur “Grande” ou “Petite”, et le mode audio est réglé sur “IMAX DTS”, le son surround est émis par l'enceinte surround arrêté. L'audio n'est pas sorti à partir du haut-parleur surround.
• Les informations de basses des enceintes ne sont pas redirigées vers le subwoofer, mais un meilleur effet de basses des enceintes avant et centrale est obtenu grâce à un algorithme spécial IMAX lorsque “Avant” et “Centrale” sont régés sur “Pette”. |
| IMAX DTS:X | Ce mode est automatiquement activé lors de la lecture de contenu IMAX Enhanced important un flux binaire DTS:X. (p. 163)
• Les informations de basses des enceintes ne sont pas redirigées vers le subwoofer, mais un meilleur effet de basses des enceintes avant et centrale est obtenu grâce à un algorithme spécial IMAX lorsque “Avant” et “Centrale” sont régés sur “Pette”. |
| DTS Neural:X | Ce mode utilise DTS Neural:X Upmixer pour étendre diverses sources en canaux multiples naturels et réalistes pour la lecture. Utilisez les enceintes hautes comme des enceintes avant-haut pour créé un champ acoustique tridimensionnel. |
| DTS Virtual:X*2*3 | Ce mode utilise DTS Virtual:X avec la fonctionnalité supérieure virtuelle et supérieure surround pour délivrer un son tridimensionnel lorsque les enceintes supérieures ne sont pas utilisées. |
1 La sélection est possible quand "Config. enceintes" - "Surr. arrêté" n'est pas mis sur "Aucun". (p. 213)
2 Vous ne pouvez pas seLECTIONner ici lorsque le signal d'entrée est Dolby Digital, Dolby Digital Plus, Dolby TrueHD ou Dolby Atmos.
*3 Vous pouvez selectionner ceci lorsque les enceintes supérieures, plafond et Dolby Atmos Enabled ne sont pas utilisées.
Mode audio multicanaux PCM
| Type de mode audio | Description |
| Multi Ch In | Vous pouvez sélectionner ce mode lorsque vous lisez des sources multi-canaux PCM/DSD. |
Mode audio original
| Type de mode audio | Description |
| Multi Ch Stereo | Ce mode permet de profiter d'un son stéréo en provenance de toutes les enceintes. |
| Rock Arena | Ce mode reproduit l'atmosphère d'un concert dans un stade. |
| Jazz Club | Ce mode simule l'expérience d'être dans un club de jazz intimiste. |
| Mono Movie | Ce mode fonctionne avec les sources audio monaurales et fournit un effet sonore surround. Pour un équilibre des canaux et des effets sonores optimaux, connectez la source monaurale aux deux entrées audio (G/D) avant. |
| Video Game | Ce mode fournit un son surround dynamique excitant avec vos yeux video préférés. |
| Matrix | Ce mode ajoute un effet de sono surround spacieux avec des sources de musique stéréo. |
| Virtual | Ce mode vous permit de profiter d'un effet sonore évolutif lors de la lecture via les enceintes (G/D) avant uniquement, et lors de la lecture avec un casque stéréo. |
Mode audio auto
| Type de mode audio | Description |
| Auto | Dans ce mode, le type d'entrée de signal numérique, par exemple Dolby Digital, Dolby TrueHD, Dolby Digital Plus, Dolby Digital EX, Dolby Atmos, DTS, DTS-HD, DTS:X, DTS-ES, PCM (multi-canaux) est détecté, et le mode de lecture passa automatiquement au mode correspondant. Si le signal d'entrée est analogique ou PCM (2 canaux), la lecture stéréo est utilisé. Pour le Dolby Digital ou DTS, la musique est lue en fonction du numéro de canal correspondant. |
Mode audio stereo
| Type de mode audio | Description |
| Stereo | Ce mode lit l'audio stéreo 2 canaux sans traitement de son surround supplémentaire.
• Le son est émis par les enceintes avant gauche et croite et par le subwoofer, s'il est connecté.
• Lorsque les signaux multi-canaux sont utilisés, ils sont mélangés à l'audio 2 canaux etlus sans traitement de son surround supplémentaire. |
Mode audio Direct
| Type de mode audio | Description |
| Direct | Ce mode lit l'audio comme enregistré dans la source. |
| Pure Direct | Ce mode lit un son de qualité encore plus élevé que le mode “Direct”.
Les circuits suivants sont à l'accêt afin d'améliorer encore plus la qualité du son.
• Affichez le circuit du témoin du corps principal (l'affichage passera en position arrêt.)
• Le processeur et l'interrupteur de sortie/d'entrée video analogue sont désactivés. |
Mode son qui peut être sélectionné pour chaque signal d'entrée
- Vous pouvez selectionner les modes audio suivants à l'aide des touches MOVIE, MUSIC et GAME.
- Ajustez l'effet de champ sonore avec le menu "Paramétres surr." pour profiter du son surround comme vous aimez. (p. 161)
1 2 canaux compte également une entrée analogue.
2 Ce mode lit les sources 2 canaux en lecture 5.1, 7.1, 9.1 ou 11.1 canaux. Il ne peut pas etre selectionné lorsqu'un casque audio est utilisé ou lorsque la configuration des enceintes se situe uniquement sur les enceintes avant.
3 Vous ne pouvez pas sélectionner ici lorsque vous utilisez un casque audio ou lorsque vous utilisez une configuration d'enceintes à des hauteurs qualconques.
4 Vous ne pouvez pas sélectionner ici lorsque le signal d'entrée est Dolby Digital, Dolby Digital Plus, Dolby TrueHD ou Dolby Atmos.
| Signal d'entrée | Mode son | Touche MOVIE | Touche MUSIC | Touche GAME |
| Multicanaux *5 | Stereo | ○ | ○ | ○ |
| Dolby Digital | Dolby Digital | ○ | ○ | ○ |
| Dolby Digital + Dolby Surround *6 | ○ | ○ | ○ |
| Dolby Digital + Neural:X *6 | ○ | ○ | ○ |
| Dolby Digital Plus | Dolby Digital Plus | ○ | ○ | ○ |
| Dolby Digital Plus + Dolby Surround *6*7 | ○ | ○ | ○ |
| Dolby Digital Plus + Neural:X *6 | ○ | ○ | ○ |
| Dolby Atmos *6*8 | ○ | ○ | ○ |
| Dolby TrueHD | Dolby TrueHD | ○ | ○ | ○ |
| Dolby TrueHD + Dolby Surround *6*7 | ○ | ○ | ○ |
| Dolby TrueHD + Neural:X *6 | ○ | ○ | ○ |
| Dolby Atmos *6*8 | ○ | ○ | ○ |
| Dolby Atmos | Dolby Atmos | ○ | ○ | ○ |
5 Le mode sonore qui peut être sélectionné varie selon le format audio du signal d'entrée et le nombre de canaux.
6 Vous ne pouvez pas sélectionner ceci en konjection avec un casque audio.
7 Peut être sélectionné lorsque le signal d'entrée contient pas de Dolby Atmos.
8 Peut être seLECTIONné lorsque le signal d'entrée contient Dolby Atmos.
3 Vous ne pouvez pas sélectionner ici lorsque vous utilisez un casque audio ou lorsque vous utilisez une configuration d'enceintes à des hauteurs qualconques.
5 Le mode sonore qui peut être sélectionné varie selon le format audio du signal d'entrée et le nombre de canaux.
6 Vous ne pouvez pas seLECTIONner ceci en conjunction avec un casque audio.
9 Peut être sélectionné lorsque “Paramètres surr.” - “IMAX” est configuré sur “Marche” dans le menu et qu'un signal DTS 5.1 canaux à fréquence d'échantillonnage 48 kHz est entré. (© p. 163)
3 Vous ne pouvez pas sélectionner ici lorsque vous utilisez un casque audio ou lorsque vous utilisez une configuration d'enceintes à des hauteurs qualconques.
5 Le mode sonore qui peut être sélectionné varie selon le format audio du signal d'entrée et le nombre de canaux.
6 Vous ne pouvez pas seLECTIONner ceci en conjunction avec un casque audio.
10 Sélectionnable lorsque “Paramètres sur.” - “IMAX” est réglé sur “Automatique” dans le menu. Quand “IMAX” est configuré sur “Arrêt”, la lecture se fait en DTS ou DTS:X normal. (© p. 163)
| Signal d'entrée | Mode son | Touche MOVIE | Touche MUSIC | Touche GAME |
| Multicanaux *5 | Multi Ch Stereo | ○ | ○ | ○ |
| Mono Movie | ○ | | |
| Rock Arena | | ○ | |
| Jazz Club | | ○ | |
| Matrix | | ○ | |
| Video Game | | | ○ |
| Virtual | ○ | ○ | ○ |
*5 Le mode sonore qui peut être sélectionné varie selon le format audio du signal d'entrée et le nombre de canaux.
■ Affichages sur l'affichage

Indique un décodeur à utiliser.
- Dans le cas du décodeur Dolby Digital Plus, "D D+" s'affiche.
Indique un décodeur qui génére une sortie audio.
- "DSur" indique que le décodeur Dolby Surround est en cours d'utilisation.
Fonction de contrôle HDMI
Un ajust récent à la norme HDMI est CEC (Consumer Electronics Control), qui permet le contrôle des signaux d'un apparéil pour communiquer avec un autre apparéil via la connexion par le cable HDMI.
Procedure de réglage
1 Activez la fonction HDMI Contrôle de cet apparéil. Réglez "HDMI Contrôle" sur "Marche". (p. 179)
2 Allumez tous les apparèils connectés par le biais du cable HDMI.
3 Activez la fonction HDMI Contrôle pour tous les apparèils connectés avec le cable HDMI.
- Veuillez consulter les instructions d'utilisation du dispositif connecté pour vérifier les réglages.
- Si l'un des équipements vient à être débranché, exécutez les étapes 2 et 3.
4 Réglez l'entrée du télévisuer sur l'entrée HDMI connectée à cet apparéil.
5 Basculez la source d'entrée de cet apparéil pour vérifier que la vente du lecteur connecté par HDMI est lu correctement.
6 Quand vous mettez le télévisueur en veille, vérifie que cet apparéil passe aussi en veille.
REMARQUE
- Certaines fonctions peuvent ne pas jouer leur role du fait du téléviseur ou du lecteur connectés. Vérifiez préalablement pour chaque apparéil dans le manuel du propriétaire.
- La fonction HDMI ZONE2 est compatible avec la fonction HDMI Contrôle.
- Lorsqu'elle est utilisé alors que "HDMI Contrôle" dans le menu est réglé sur "Marche", la fonction contrôle HDMI ZONE2 peut ne pas fonctionner complètement.
Voussupportezutiliserceepourconfigurerlesparametesde cetappareil,selectionnerounesource d'entreeetregler lesstations de radio Internet àlaide de la telecommandedu téléviseur.
1 Activez la fonction HDMI Contrôle de cet apparéil et du télévisueur. (p. 179)
2 Réglez "Menu intelligent" sur "Marche" sur cet apparéil. (p. 181)
3 Sélectionnez "AV Receiver" dans un menu du télévisueur tel que "Entrée" ou "Utiliser un apparéil HDMI raccordé".
Le Menu intelligent de cet appeareil s'affiche sur le téléviseur.

Lecture en cours
Profitez du contenu de la source d'entrée actuellément sélectionnée sur cet apparéil.
Source
Commutez l'entrée de cet apparéil.
En seLECTIONnant "HEOS Music", vous pouvez continuer d'utiliser cet apparéil avec la télécommande TV.
Mode son
Changez le mode son de cet apparéil.
Vou puevez selectionner l'un des trois modes son suivants.
| Surround : | Lecture de son surround en fonction du signal d'entrée. |
| Stéréo : | Sélectionner la sortie stéréo. |
| Stéréo multicanal : | Lecture stéréo multi-canaux. |
Affiche le menu de configuration des paramètres de cet apparéil.
Quick Select
Rappelle les options "Quick Select" enregistrées sur cet apparéil.
REMARQUE
- Si le paramétrage de "HDMI Contrôle" ou "Menu intelligent" a été modifié, réinitialissez toujours l'alimentation au apparciels raccordés après la modification.
- Selon les specifications de votre téléviseur, il est possible que la fonction Menu intelligent ne fonctionne pas correctement. Dans ce cas, reglez "Menu intelligent" sur "Arrêt". (© p. 181)
Fonction de minutesie sommeil

Vouss pouvez faire en sorte que l'appareil se mette automatiquement en voirille à la fin d'un délai programme. Ceci est praticque pour la visualisation et l'écoute avant d'aller se coucher. La fonction de minuterie sommeil est régliable pour chaque zone.
Utilisation de la minuterie sommeil
1 Appuyez sur MAIN ou ZONE2 pour sélectionner la zone d'opération avec la télécommande.
Le bouton pour la zone selectionnée s'allume.
2 Appuyez sur SLEEP et affichez la durée que vous souhaitez.
- Le témoin SLEEP s'allume sur l'écran et la minuterie sommeil démarre.
- Vous pouvez régler la minuterie sommeil dans la plage de 10 à 120 minutes par paliers de 10 minutes.
Vérification du temps restant
Appuyez sur SLEEP lorsque la minuterie someday est en fonctionnement.
Le temps restant s'affiche sur l'écran.
Pour annuler la minuterie sommeil
Appuyez SLEEP pour sélectionner "Off".
Le témoin SLEEP de l'affichage s'étéint.

- Le réglage de la minuterie sommeil est annulé lorsque l'appareil commute en mode veille.
REMARQUE
- La fonction de miniterie someday ne peut pasmettre hors tension les matériels raccordés à cet apparéil. Pourmettre ces matériels hors tension, vousdezvez configurer directement les minuteries de mise en veille de chacun des apparéils.
Fonction de selection rapide plus

Voupeuz enregistrer les différentes réglages (seLECTION de la source d'entrée, volume, mode audio, etc.) à l'aide des boutons QUICK SELECT 1-4.
Vou puez appuyer sur l'un des boutons QUICK SELECT définis pour la lecture suivante pour passer aux divers réglages enregistrés en une seule opération.
En sauvégardant sur les touches QUICK SELECT 1 - 4 les réglages féquèment utilisés, vous pourrez toujours rétablir facilement un même environnement de lecture.
La fonction de selection rapide plus peut être mémorisée pour chaque zone.

- La touche QUICK SELECT de l'appareil principal ne peut être utilisée que pour faire fonctionner la MAIN ZONE.
Solliciter le paramétrage
1 Appuyez sur MAIN ou ZONE2 pour selectionner la zone d'opération avec la télécommande.
Le bouton pour la zone sélectionnée s'allume.
2 Appuyez sur QUICK SELECT.
Les réglages Sélect rapide du bouton sur lequel vous avez appuyé sont rétablis.
- Les réglages par défaut de la source d'entrée sont indiqués cïddessous.
【MAIN ZONE】/【ZONE2】
| Bouton | Source d'entrée |
| QUICK SELECT 1 | CBL/SAT |
| QUICK SELECT 2 | Blu-ray |
| QUICK SELECT 3 | Media Player |
| QUICK SELECT 4 | HEOS Music |

- Dans les réglages d'usine par défaut le volume n'est pas régé sur la Fonction de sélection rapide plus.
Reportez-vous à "Modification des réglages" pour enregistrer le volume dans la Fonction de sélection rapide plus. (p. 144)
Modification des réglages
1 Sélectionnez le réglage souhaité pour les éléments cïddssous.
Le paramétrage suivant depuis ① vers ⑪ peut être mémorisé pour MAIN ZONE, et le paramétrage ① et ② peut être mémorisé pour ZONE2.
① Source d'entrée (p. 81)
② Volume (p. 82)
③ Mode son (p. 122)
④ Audyssey (Audyssey MultEQ® XT32, Audyssey Dynamic EQ®, Audyssey Dynamic Volume®, Audyssey LFC™) (p. 170)
⑤“Restorer”(p.167)
⑥ “Ajuster le volume de chaque canal pour le faire correspondre à la source d'entrée (Réglage niv. Canal)” (p. 116)
⑦ "Affichage de la video voulue lors de la lecture audio (Sélect. Video)" (p. 118)
⑧ “Réglage de la qualité d'image pour votre environnement de visualisation (Mode photo)” (p. 119)
9 "Toutes zones stéreo" (p. 120)
10 "Présélection des HP" (p. 121)
⑪“Sortie video HDMI" (p. 182)

- Maintenez enforcé QUICK SELECT quand une station radio est en cours de réception et en cours de lecture à l'aide d'une des sources suivantes, la station radio actuelle est mémORISEe.
- Station radio Internet
2 Appuyez sur MAIN ou ZONE2 pour selectionner la zone d'opération avec la télécommande.
Le bouton pour la zone seLECTIONnée s'allume.
3 Maintenez enforcé le QUICK SELECT souhaité jusqu'à ce que "Quick* Memory" ou "Z2 Quick* Memory" s'affiche.
Les paramètres présents seront méorisés.
- a affché le numero de la touche QUICK SELECT enfoncée.
■ Modifier le nom des sélections rapides
Le nom de selection rapide de MAIN ZONE affiché sur l'écran du téléviseur ou de cet apparéil peut être modifié pour un nom différent. Pour savoir comment changer ce nom, voir "Select.Rapid.Nom". (p. 236)
Fonction de verrouillage du panneau
Pour éviter toute utilisation accidentelle de cet apparéil, vous pouvez désactiver le fonctionnement des touches sur le panneau avant.

Désactivation de toutes les opérations de touche
1 Appuyez sur tout en maintainant les touches SOUND MODE et ZONE2 SOURCE enfoncées pendant que l'appareil est en mode veille.
2 Utilisez SOUND MODE ou PURE DIRECT pour sélectionner "FP/VOL LOCK On".
3 Appuyez sur STATUS pour entrer le réglage. Toutes les opérations de touches à l'exception de sont désactivées.
Désactivation de toutes les opérations de touche sauf VOLUME
1 Appuyez sur tout en maintainant les touches SOUND MODE et ZONE2 SOURCE enfoncées pendant que l'appareil est en mode veille.
2 Utilisez SOUND MODE ou PURE DIRECT pour sélectionner "FP LOCK On".
3 Appuyez sur STATUS pour entrer le réglage. Toutes les opérations de touches à l'exception de et VOLUME sont désactivées.
Annulation de la fonction de verrouillage du panneau
1 Appuyez sur tout en maintainant les touches SOUND MODE et ZONE2 SOURCE enfoncées pendant que l'appareil est en mode veille.
2 Appuyez sur SOUND MODE ou PURE DIRECT pour sélectionner "FP LOCK *Off".
(*le mode actuellement activé.)
3 Appuyez sur STATUS pour entrer le réglage.
La fonction de verrouillage du panneau est annulée.

- Mème si la fonction de verrouillage du panneau est activée, vous pouvez utiliser l'apparéil à l'aide de la télécommande.
Fonction de verrouillage à distance
Si vous utilisez un récepteur infrarouge, activez la fonction de verrouillage à distance. Lorsque la fonction est activée, vous ne pouvez pas effectuer des opérations avec la télécommande.
Par défaut, cette fonction est désactivée.

SOUND MODE
ZONE2 SOURCE
Désactivation de la fonction de capteur de la télécommande
1 Appuyez sur tout en maintainant les touches SOUND MODE et ZONE2 SOURCE enfoncées pendant que l'appareil est en mode veille.
2 Utilisez SOUND MODE ou PURE DIRECT pour sélectionner "RC LOCK On".
3 Appuyez sur STATUS pour entrer le réglage. La fonction de réception du témoin infrarouge est désactivée.
Activation de la fonction du capteur à distance
1 Appuyez sur tout en maintainant les touches SOUND MODE et ZONE2 SOURCE enfoncées pendant que l'appareil est en mode veille.
2 Appuyez sur SOUND MODE ou PURE DIRECT pour sélectionner "RC LOCK Off". ( le mode actuellement activé.)
3 Appuyez sur STATUS pour entrer le réglage. La fonction de réception du témoin infrarouge sur l'unité principale est activée.
Fonction de contrôle Internet
Vous pouvez contrôler cet appeareil à partir d'un écran de contrôle Internet dans un navigateur Internet.


Tablette

- Cet apparéil et un PC ou une tablette doit être correctement connectés au réseau afin d'utiliser la fonction de contrôle Internet. (19 p. 75)
- En fonction des paramètres de votre logiciel de sécurité, il est possible que vous ne puissiez pas acceder à cet apparéil à partir de votre PC. Le cas échéant, modifiez les paramètres du logiciel.
Contrôle de l'appareil à partir d'un contrôle Web
1 Réglez le paramètre "Commande réseau" sur "Toujours actif". (p. 226)
2 Verifiez l'adresse IP de cet apparéil dans le menu "Informations". (p. 221)

3 Ouvrez le navigateur Internet.
4 Entre l'adresse IP de cet apparéil dans la ligne d'adresse de votre navigateur.
Par exemple, si l'adresse IP de cet apparéil est "192.168.100.19", entrez "http://192.168.100.19".

http://192.168.100.19
File
Lecture dans la ZONE2 (differente piece)
Vou puez faire fonctionner cet appareil pour profiter de contenu video et audio dans une piece (ZONE2) différente de la piece ou se trouve cet apparieil (MAIN ZONE).
Voue potz lire simultanement la mme source a la fois dans la MAIN ZONE et ZONE2. Voue pouez egalament dire des sources distinctes dans la MAIN ZONE et ZONE2.
Connexion de ZONE2
Voussouspoucezutiliserlestroisdéhodessuivantes pourlireuncontenu videoetaudio dansZONE2.
"Connexion via la borne HDMI ZONE2" (p. 150)
- "Connexion à l'aide d'une borne de sortie d'enceinte" (p. 151)
- "Connexion à l'aide d'un amplificateur externe" (p. 151)
■ Connexion 1 : Connexion via la borne HDMI ZONE2
Lorsqu'un télévisueur est connecté à la borne HDMI ZONE2 OUT, vous pouvez dire un contentu video ou audio à partir de l'appareil connecté à la borne HDMI 1-6 IN dans ZONE2 (fonction HDMI ZONE2).


- Lorsqu'une télévision est raccordée au connecteur HDMI ZONE2 OUT, et que la MAIN ZONE et la ZONE2 sont régées sur la même source d'entrée, l'audio de la MAIN ZONE peut être mélangié sur 2 canaux audio.
■ Connexion 2: Connexion à l'aide d'une borne de sortie d'enceinte
Si "Mode affection" est régèle sur "ZONE2" dans le menu, l'audio de la ZONE2 est produit sur la borne d'enceinte HEIGHT2. (p. 205)

■ Connexion 3 : Connexion à l'aide d'un amplificateur externe (ZONE2)
Les signaux audio des terminaux de sortie audio des ZONE2 de cet appeareil sont émis vers les amplificateurs des ZONE2 et sont lus sur ces mêmes amplificateurs.


- Si I'entree de ZONE2 est reglee sur "Source", tous les types de signaux d'entree peuvent etre ecoutes a partir de ZONE2. (p. 153)
Si e ZONE2 est definié sur une source spécifié (telle que CBL/SAT),seule l'entree de signal analogique ou de signal PCM à 2 canaux (provenant de connecteurs HDMI ou numériques (OPTICAL/COAXIAL)) peut etre ecoutee a partir de ZONE2. Pour dire nul signal HDMUI autre que PCM a 2 canaux dans ZONE2, definiesse "Audio HDMI" sur "PCM". (p. 235)
Les signaux PCM des 2 canaux sont émis à partir d'un apparéil connecté à la source d'entrée seLECTIONnée pour la ZONE2 et peuvent être lus dans la ZONE2.
Dans ce cas, l'audio de la MAIN ZONE est également converti en signaux de PCM 2 canaux si la MAIN ZONE et la ZONE2 sont reglées sur la même source d'entrée.
Toutefois, en fonction de l'appareil de lecture, le signal de lecture risque de ne pas etre converti en PCM, meme si ce parametre est configuré.
L'écran du menu n'est pas transmis dans la ZONE2.
Lecture dans ZONE2

1 Appuyez sur ZONE2 pourmettre ZONE2 sous tension. LeboutonZONE2s'allume.
2 Appuyez sur POWER pourmettre sous tension l'alimentation de la ZONE2.
Le témoin Z2 s'allume.
- Il est possible demettre sous tension et hors tension la ZONE2 en appuyant sur ZONE2 ON/OFF directement sur I'appareil.
3 Appuyez sur la touche de selection de la source d'entrée pour selectionner la source d'entrée à litre.
Le signal audio de la source seLECTIONnée est transmis à la ZONE2.
- Pour effectuer une opération avec l'appareil principal, appuyez sur ZONE2 SOURCE. Chaque fois que vous appuyez sur ZONE2 SOURCE, la source d'entrée change.

-
Le fait de définir la source d'entrée de ZONE2 comme "Source" vous permet de dire le même contentu dans MAIN ZONE et dans ZONE2,quel que soit le type de signal d'entrée.
-
Définissez la source d'entrée de ZONE2 comme "Source" en appuyant sur la touche ZONE2 SOURCE de l'unité principale.
- Si la source d'entrée MAIN ZONE est changée alors que ZONE2 est sélectionnée comme "Source", la source d'entrée de ZONE2 sera modifiée pour reflérer la source d'entrée de MAIN ZONE.
Réglage du volume (ZONE2)
Utilisez VOLUME▼ pour régler le volume.
- L'option "Liminé volume" est réglée sur "70 (-10 dB)" au moment de l'achat. (p. 235)

- Sélectionnez MASTER VOLUME après avoir appuyé sur ZONE2 SOURCE sur l'appareil principal pour régler le volume.
Coupure temporaire du son (Sourdine) (ZONE2)
Appuyez sur MUTE X.
Le son est diminué jusqu'au niveau défini pour le paramètre "Niveau sourdine" dans le menu. (p. 236)
- Pour annuler la sourdine, vous pouvez ajuster le volume sonore ou appuyer sur MUTE à nouveau.
Pour pouvoir utiliser le menu, connectez un téléviseur à l'appareil et affichez le menu sur l'écran de la TV.
Par default, des réglages recommendés sont définis pour cet apparéil. Vous pouvez personnaliser cet apparéil en fonction de votre système actuel et de vos préférences.
| Éléments de configuration | Éléments détaillés | Description | Page |
| Audio | Réglage niv Centrale | Règle le volume du canal central pour améliorer le dialogue de toutes les sources. | 160 |
| Réglage niv Subw | Règle le volume du canal du subwoofer pour toutes les sources d'entrée. | 160 |
| Paramètres surr. | Ajuste les réglages du son surround. | 161 |
| Restorer | Accroît les composants de fréquence faible et élevée de l'audio compressé, tel que des fichiers MP3 pour obtenir une lecture audio optimale. | 167 |
| Décai audio | Compense le décalage entre la video et l'audio. | 168 |
| Volume | Permet de régler le volume dans la MAIN ZONE (pièce dans laquelle se trouve l'appareil). | 169 |
| Audyssey | Permet d'effectuer l'installation d'Audyssey MultEQ® XT32, Audyssey Dynamic EQ®, Audyssey Dynamic Volume® et Audyssey LFC™. | 170 |
| EQ Graphic | Utilise l'égaliser graphique pour régler la tonality de chaque enceinte. | 173 |
| Vidéo | Réglages image | Ajuste la qualité d'image. | 175 |
| Config. HDMI | Réglage des paramètres de configurations de Sortie audio HDMI, HDMI Pass Through et HDMI Contrôle. | 177 |
| Réglages sorties | Paramètre le traitement vidéo. | 182 |
| Affichage à l'écran | Configure le paramétrage de l'affichage à l'écran. | 186 |
| Economiseur d'écran | Sélectionnez le réglage de l'économiseur d'écran. | 187 |
| Format signal 4K/8K | Configure les options de format de signal pour votre équipement vidéo 4K ou 8K. | 187 |
| Configuration HDCP | Configure la version HDCP pour chaque source d'entrée HDMI. | 189 |
| Format TV | Détermine le format du signal vidéo à la sortie de la télévision que vous utilisez. | 189 |
| Entrées | Affectation des entrées | Modifie l'attribution des connecteurs d'entrée et le mode d'entrée audio. | 190 |
| Renommer les sources | Permet de changer le nom d'affichage pour la source d'entrée. | 193 |
| Masquer les sources | Permet de supprimer de l'affichage les sources d'entrée qui ne sont pas utilisées. | 193 |
| Niveau des sources | Permet d'ajuster le niveau de lecture de l'entrée audio. | 193 |
| Enceintes | Conf. Audyssey® | Les caractéristiques acoustiques des enceintes connectées et du local d'écoute sont mesurées et les réglages les plus précis se font automatiquement. | 194 |
| Config. manuelle | Règle manuellement les enceintes ou modifier les paramètres “Conf. Audyssey®”. | 205 |
| Réseau | Informations | Affichage des informations sur le réseau. | 221 |
| Connexion | Sélectionne s'il faut se connecter au réseau domestique à un réseau local sans fil ou à un LAN câblé. | 221 |
| Réglages | Utilisé pour configurer manuellement l'adresse IP. | 224 |
| Commande réseau | Active la communication réseau en mode Veille. | 226 |
| Nom convivial | Le “Nom convivial” est le nom par lequel cet apparéil est désigné sur le réseau. Vous pouvez modifier le nom convivial selon vos préférences. | 226 |
| Diagnostic | Permet de vérifier la connexion réseau. | 227 |
| AirPlay | Réglages pour Apple AirPlay. | 227 |
| Compte HEOS | [Lorsque l'utilisateur estdéconnecté de Compte HEOS] |
| J'ai un compte HEOS | À sélectionner pour vous connecter. | 228 |
| Créer un compte | Créer un nouveau Compte HEOS. | 228 |
| Mot de passer oublé | En cas d'oubli de votre mot de passer, nous vous enverrons un courriel avec les instructions pour le réinitialiser. | 228 |
| [Lorsque l'utilisateur est connecté à Compte HEOS] |
| Identifiez-vous | Affiche votre Compte HEOS. | 228 |
| Changer l'emplacement | Sélectionne votre zone géographique. | 228 |
| Changer le mot de passer | Change votre mot de passer pour vous connecter au Compte HEOS. | 228 |
| Supprimer le compte | Supprime votre Compte HEOS. | 228 |
| Déconnexion | Vous déconnecté de votre Compte HEOS. | 228 |
| Général | Langue | Modifie la langue de l'affichage sur l'écran du téléviseur. | 229 |
| ECO | Configure les fonctions d'économie d'énergie du Mode ECO et veille Auto. | 229 |
| Émetteur Bluetooth | Règle les paramètres de l'émetteur Bluetooth. | 233 |
| Config. de ZONE2 | Permet de régler les paramètres de lecture audio avec un système ZONE2. | 234 |
| Renommer zone | Changez le titre d'affichage de chaque zone selon votrechoix. | 236 |
| Sélect.Rapid.Nom | Changez le titre d'affichage Sélect.Rapid.Nom selon votrechoix. | 236 |
| Sortie Trigger | Sélectionnez les conditions d'activation de la fonction de déclenchement. | 237 |
| Afficheur façade | Permet de régler les paramètres relatifs à l'afficheur. | 237 |
| Micrologiciel | Permet de vérifier les dernières informations micrologicielles relatives aux mises à jour et mises à niveau, de mettre à jour le micrologiciel et de régler l'affichage des messages de notification. | 238 |
| Informations | Affichage d'information sur les réglages cet appariel, les signaux d'entrée etc. | 241 |
| Données d'utilisation | Sélectionne si les données d'utilisation sont envoyées ou non à Denon. | 243 |
| Sauveg. & charger | Enregistrez et restaurez le paramétrage du périphérique à l'aide d'un dispositif mémoire USB. | 243 |
| Verrou de config. | Protection des réglages contre toute modifications involontaire. | 244 |
| Réinitialiser | Divers réglages sont réinitialisés aux valeurs d'usine par défaut. | 244 |
| Assistant de config. | Démarrez config. ... | Effectuez les réglages/connexions/l'installation de base en fonction des indications sur l'écran du téléviseur. | Page 9 du manuel séparé“Guide de démarragrapide” |
| Choix de la langue | Configure les éléments de réglage individuel en suivant les indications affichées sur l'écran du téléviseur. |
| Réglage enceintes |
| Étalandnage enceintes |
| Configuration reseau |
| Connexion audio TV |
| Config. des entrées |
| Applications mobiles |

1 Appuyez sur MAIN sur la télécommande pour régler la zone de fonctionnement sur MAIN ZONE.
La bouton MAIN s'allume.
2 Appuyez sur SETUP.
Le menu s'affiche à l'écran de la TV.
3 Utilisez pour selectionner le menu à régler ou à opérer, puis appuyez sur ENTER.
4 Utilisez pour passer au réglage désiré.
5 Appuyez sur ENTER pour entrer le réglage.
- Pour revenir à l'élement précédent, appuyez sur BACK.
- Pour quitter le menu, appuyez sur SETUP alors qu'il est à affiché à l'écran. Le menu disparaît de l'écran.
Audio
Réglage des paramètres audio.
Réglage niv Centrale
Règle le volume du canal central pour améliorer le dialogue de toutes les sources.
Centrale
Ajustelevolume de sortie depuis le canal central.
-12.0 dB +12.0 dB (Défaut: 0.0 dB)

- Ce réglage se traduit également au niveau du canal central dans le paramétrage du menu "Enceintes" - "Niveaux". (R. p. 217)
Réglageniv Subw
Règle le volume du canal du subwoofer pour toutes les sources d'entree.
Subwoofer 1 / Subwoofer 2
Permet de régler le niveau de Subwoofer 1 et de Subwoofer 2.
-12.0 dB +12.0 dB (Défaut: 0.0 dB)

- Ce réglage se traduit également au niveau du canal du subwoofer dans le paramétrage du menu "Enceintes" - "Niveaux". (附註 p. 217)
Paramètres surr.
Vou puevez régler les effets de champ sonore du format audio surround en fonction de vos préférences.
Les éléments (paramètres) qui peuvent être ajustés dépendant du signal entre et du mode audio actuellement sélectionné.

- Certains éléments de réglage ne peuvent être sélectionnés quand la lecture est interrompue. Effectuez les réglages pendant la lecture.
- Les réglages "Paramètres surr." sont mémorisés pour chaque mode son.

EQ céna
Attenuè doucement la plage des aigus supérieurs des bandes originales de films pour réduire la possible durée et améliorer la clarté.
| Marché : | “EQ cinéma” est activé. |
| Arrêt
(Défaut) : | “EQ cinéma” n'est pas activé. |

- Cet élément ne peut pas être définis lorsque le mode sonore est "Direct", "Pure Direct", "Stereo" ou "Mode audio original".

Gestion Loudness
Cela permet d'indiquer si la sortie doit être effectuee de la maniere decrite dans "Compress. Dyn." ou directement sans compresser la gamme dynamique du contenu audio enregistré sur le disque.
| Marche
(Défaut): | Les sorties sont données suivant qu'elles activent les paramètres effectuels dans “Compress. Dyn.” et Fonction de normalisation de dialogue. |
| Arrêt: | Les paramètres “Compress. Dyn.” et Normalisation de dialogue sont désactivés et les signaux sur le disque sont émis tels quels. |

- "Gestion Loudness" peut être régé lors de la réception d'un signal Dolby Digital, Dolby Digital Plus, Dolby TrueHD et Dolby Atmos.
Compress. Dyn.
Compression de la gamme dynamique (différence entre les sons forts et faibles).
| Automatique : | Active/désactive automatiquement la compression de la gamme dynamique selon la source. |
| Bas / Moyenne / Haut : | Réglage du niveau de compression. |
| Arrêt : | Compression de la gamme dynamique toujours désactivée. |

- "Compress. Dyn." peut être régé lors de l'entrée d'un signal Dolby Digital, Dolby Digital Plus, Dolby TrueHD, Dolby Atmos ou DTS.
- Le réglage par défaut est sur "Arrêt". Lorsque le signal d'entrée est la source Dolby TrueHD ou Dolby Atmos, le réglage par défaut est sur "Automatique".
- "Automatique" ne peut pas être définis lors de l'entrée d'un signal DTS.
Commandedialogue
Réglez le volume des dialogues de films, des chansons, etc., de manière à mieux les entendre.
0-6(Defaut:0)

- Vous pouvez configurer cet élément lors de l'émission d'un signal DTS:X compatible avec la fonction Commande dialogue.
Eff. basses fréq.
Ajusté le niveau des effets basses fréquences (LFE).
-10 dB - 0 dB (Default: 0 dB)

■ Virtualiseur de HP
Le Virtualisateur de HP améliore les canaux d'enceintes surround et hautes pour creer un effet surround virtuel enveloppant.
| Marche
(Défaut) : | Active “Virtualiseur de HP”. |
| Arrêt : | Désactive “Virtualiseur de HP”. |

- Vous pouvér définir cette option lorsque le mode sonore est défini sur "Dolby Atmos", "Dolby Surround" ou pour un mode sonore ayant "+"Dolby Surround" indiqué dans son nom.
- Utilisable lorsque vous n'utilise pas d'enceintes hautes, de plafond ou Dolby Atmos Enabled, ou lorsque vous n'utilise pas d'enceintes surround.
- Le son n'est pas émis par l'enceinte surround arrêté si "Virtualiseur de HP" est régèle sur "Marche" lorsque "Config. enceintes" - "Surr. arrêté" est régèle sur "1 enceinte" dans le menu.
DTS Neural:X
DTS Neural:X Accroir les signaux audio qui reposent sur d'autres éléments que les objets et les optimise pour la configuration de votre enceinte.
| Marche
(Défaut) : | Utiliser “DTS Neural:X”. |
| Arrêt : | Ne pas utiliser “DTS Neural:X”. |

- Vous pouvez définir ceci lorsque le mode audio est DTS:X ou DTS:X MSTR.
IMAX
Définit le mode audio pour la lecture IMAX.
| Automatique
(Défaut): | Active automatiquement le mode IMAX lorsque du contentu IMAX est détecté. |
| Marche: | Active les paramètres IMAX pour le contentu en streaming IMAX lorsque la détéction automatique n'est pas possible. |
| Arrêt: | Désactive le mode IMAX. |

- En cas de diffusion en continu du contentu IMAX à partir d'un service de diffusion en ligne utilisant des applications TV ou des applications de lecteur (telles que l'application du lecteur Blu-ray), cet appeareil peut ne pas détecter automatiquement le signal sous forme de contenu IMAX. Dans ce cas, vous pouvez activer le mode IMAX en réglant ce paramètre sur "Marche" manuelle.
- Ce réglage ne peut être configuré sur "Marche" que lorsque le contenu du canal DTS 5.1 enregistré comme IMAX DTS est entré.
- Vous ne pouvez pas régler ceci lorsque vous utilisez un casque audio.
Réglages audio IMAX
Voussouspoucez configurer des parametes audio IMAX spéciaux pour recreer les conditions d'un theatreet IMAX.
| Automatique
(Défaut): | Applique les paramètres optimisés des haut-parleurs pour réproduire une image similaire à celle de l'environnement IMAX Theater. |
| Manuel: | Ajuste manuellement le “Filtre salle-haut”, “Filtre passée-bas” et le “Mode subwoofer”. |

- Vous pouvez définir ceci lorsque le mode audio est "IMAX DTS" ou "IMAX DTS:X".
- "Enceintes" - "Crossover", "Graves" - "Mode subwoofer" et "LPF pour LFE" dans le menu ne peuvent pas etre appliqués pendant la lecture IMAX.
Filtre salle-haut
Définissez la fréquence de coupure du filtre passée-haut pour toutes les enceintes pendant la lecture IMAX.
40 Hz/60 Hz/80 Hz/90 Hz/100 Hz/110 Hz/120 Hz/150 Hz/ 180 Hz/200 Hz/250 Hz (Défaut:80 Hz)

- Vous pouvez définir ceci lorsque "Réglages audio IMAX" est régle sur "Manuel".
Filtre salle-bas
Définissez la fréquence de coupure du contrôle passée-bas du signal LFE pendant la lecture IMAX.
80 Hz/90 Hz/100 Hz/110 Hz/120 Hz/150 Hz/180 Hz/ 200 Hz/250 Hz (Défaut:120 Hz)

- Vous pouvez définir ceci lorsque "Réglages audio IMAX" est régle sur "Manuel".
Mode subwoofer
Réglez le signal de basse à reproductive par le subwoofer pendant la lecture IMAX.
| Marché : | Le signal de la gammeasse de toutes les enceintes est ajouté à la sortie du signal LFE du subwoofer. Le signal LFE et la composanteasse de chaque enceinte sont reproduits. |
| Arrêt (Défaut) : | Seul le signal LFE est joué. |

- Vous pouvez définir ceci lorsque "Réglages audio IMAX" est régle sur "Manuel".
Durée de délié
Réglez la durée de déliai audio en fonction du contentu video pour développer l'image du champ sonore.
0 ms - 300 ms (Défaut : 30 ms)

- Vous pouvez définir ceci lorsque le mode audio est "Matrix".
Niveau des effets
Ajusté le niveau des effets sonores du mode audio actuel.
1-15 (Defaut:10)

- Cet élément peut être définis lorsque le mode sonore est "Rock Arena", "Jazz Club", "Mono Movie" ou "Video Game".
- Choisissez un niveau de réglage inférieur si le positionnement et l'impression de phase des signaux surround ne parait pas naturel.
Taille de la pierce
Simuler l'acoustique d'une petite salle.
| Petite : | Simuler l'acoustique d'une petite salle. |
| Moyenne petite : | Simulation acoustique d'une piece petite à moyenne. |
| Moyenne (Défaut) : | Simulation acoustique d'une piece moyenne. |
| Moyenne grande : | Simulation acoustique d'une piece moyenne à grande. |
| Grande : | Simuler l'acoustique d'une grande salle. |

- Cet élément peut être définis lorsque le mode sonore est "Rock Arena", "Jazz Club", "Mono Movie" ou "Video Game".
- "Taille de la pièce" ne représentée pas la taille de la pièce dans laquelle les sources sont lues.
■ Select. H-P
Permet d'effectuer les réglages de sortie du son depuis les enceintes
| Sol : | Lit sans les enceintes en hauteur. |
| Sol et hauteur (Défaut) : | Lit avec les enceintes en hauteur. |

- Vous pouvez régler cette option lorsque le mode sonore est celui d'origine.
Subwoofer
Activation et désactivation de la sortie du subwoofer.
| Marche
(Défaut) : | Le subwoofer est activé. |
| Arrêt : | Le subwoofer n'est pas activé. |

- Vous pouvez régler ceci si le mode son est "Direct" ou "Stereo" et dans le menu "Mode subwoofer" est régé sur "LFE+Main". (p. 219)
Param. défaut
Les paramètres “Paramètres surr.” sont rétablis sur les paramètres par défaut.
Restorer
Les formats audio compressés, tels que MP3, WMA (Windows Media Audio) et MPEG-4 AAC réduisent la quantité de données en éliminant des composants du signal difficilement audibles pour l'oreille humaine. La fonction "Restorer" générale les signaux éliminés pendant la compression pour restaurer le son le plus proche de celui d'origine. Elle restaque également les caractéristiques des basses d'origine pour une plage tonale riche et étendue.
Mode
| Haut : | Mode optimisé pour les sources compressées avec de faibles aigus (en- dessous de 64 kbps). |
| Moyenne : | Appliquez un boost adapté aux aigus et graves des sources compressées (en- dessous de 96 kbps). |
| Bas : | Mode optimisé pour les sources compressées avec des aigus normaux (au-dessus de 96 kbps). |
| Arrêt : | Ne pas utiliser “Restorer”. |

- Cét élément peut être réglé avec les signaux analogiques ou quand un signal PCM (Fréq. échantillonage. = 44,1/48 kHz) est entré.
- Le réglage par défaut de cet élément pour les paramètres "HEOS Music" est sur "Bas". Tous les autres modes restent régliés sur "Arrêt".
- Le réglage en est impossible quand le mode audio est sur "Direct" ou "Pure Direct".
- Les réglages "Restorer" sont mémorisés pour chaque source d'entrée.
Délai audio
Compense le décalage entre la video et l'audio.

-Delai audio" pour le mode jeu peut etre regle quand "Mode video" est sur "Automatique" ou "Jeu". (p. 183)
- Les réglages "Délai audio" sont mémorisés pour chaque source d'entrée.
Sync. labiale auto
Ajuste automatiquement le temps de traitement audio pour compenser les retards de synchronisation audio/video d'un téléviseur compatible avec Sync. labiale auto.
| Marché
(Défaut) : | Corriger automatiquement. |
| Arrêt : | Ne pas corriger automatiquement. |

- Selon les specifications de votre téléviseur, il est possible que la correction automatique ne puisse pas ette effectuee, meme lorsque "Sync. labiale auto" est regle sur "Marche".
Ajuster
Le décalage temporel entre l'image et le son doit être corrigé manuellement.
0 ms - 500 ms (Défaut : 0 ms)

- Vous pouvez également ajuster finement la valeur de correction du retard définié par "Sync. labiale auto".
L'ajustement du mode jeu peut être régé quand "Mode video" est régé sur "Automatique" ou "Jeu". (p. 183)
Volume
Permet de régler le volume dans la MAIN ZONE (pièce dans laquelle se trouve l'appareil).
Échelle
Régler l'affichage du volume.
| 0 - 98
(Défaut) : | Afficher dans la gamme de 0 (Min) à 98. |
| -79.5 dB - 18.0 dB : | Afficher ---dB (Min), gamme de -79,5 dB à 18,0 dB. |

- Les paramètres "Échelle" sont pris en compte dans toutes les zones.
L imite
Réglages de volume maximum.
60-80(-20dB-0dB)
Arrêt (Défaut)

- La valeur en décibels (dB) s'affiche lorsque le paramétrage "Échelle" est défini sur "-79.5 dB - 18.0 dB". (p. 169)
Niveau de démarrage
Définir le volume à la mise en marche de l'appareil.
| Dernière(Défaut): | Utiliser les réglages mémorisés à partirde laforthème session. |
| Sourdine: | Toujours passer en sourdine audémarrage de l'appareil. |
| 1 - 98 (-79 dB - 18 dB): | Le volume est régé au niveau définit. |

- La valeur en décibels (dB) s'affiche lorsque le paramétrage "Échelle" est défini sur "-79.5 dB - 18.0 dB". (p. 169)
■ Niveau sourdine
Régler le niveau d'atténuation pendant la mise en sourdine.
| Complet
(Défaut): | Le son est complètement coupé. |
| -40 dB: | Le son est abaisné de 40 dB. |
| -20 dB: | Le son est abaisné de 20 dB. |
Audyssey®
Permet d'effectuer les réglages pour Audyssey MultEQ® XT32, Audyssey Dynamic EQ®, Audyssey Dynamic Volume® et Audyssey LFC™. Ces réglages sont accessibles après que la procédure "Conf. Audyssey" a été effectué.
Pour en savoir plus sur la technologie Audyssey, reportez-vous à la "Explication des termes" (p. 283).

- Les réglages "MultEQ® XT32", "Dynamic EQ", "Compens. niveau ref.", "Dynamic Volume", "Audyssey LFC™" et "Niveau de contrôle" sont mémorisés pour chaque source d'entrée.
- Lorsque le mode son est en mode "Direct" ou "Pure Direct", les réglages "MultEQ® XT32", "Dynamic EQ", "Dynamic Volume" et "Audyssey LFC™" ne peuvent pas être configurés.
- Lorsque le son est régle sur le mode "DTS Virtual:X" ou sur un mode qui contient le nom "+"Virtual:X", les paramétrages "Dynamic EQ", "Dynamic Volume" et "Audyssey LFCTM" ne peuvent pas être configurés.
- Cet élément ne peut pas être sélectionné lorsqu'un format DTS:X avec une fréquence d'échantillonnage excédant 48 kHz est entre.
MultEQ® XT32
MultEQ® XT32 compensate les caractéristiques de temps et de fréquence de la zone d'écoute en fonction des résultats de mesure obtenus avec "Conf. Audyssey®". La sélection s'effectue parmi trois types de courbes de compensation. Nous conseillons le réglage "Reference".
| Reference (Défaut) : | Sélectionne le réglage calibré par défaut avec une légère coupure à haute fréquences, qui est optimisé pour les films. |
| L/R Bypass : | Sélectionne le paramétrage de référence, mais contourne MultEQ® XT32 sur les enceintes avant gauche et croite. |
| Flat : | Sélectionne le réglage calibré qui est optimisé pour les petites pieces où votre position d'écoute est plus proche des enceintes. |
| Arrêt : | Éteignez l'égaliseur “MultEQ® XT32”. |

- Si vous utilisez un casque, "MultEQ® XT32"onne automatique sur "Arrêt".
Dynamic EQ
Permet de résoudre le problème de la dépréciation de la qualité du son alors que le volume est diminué ennant en compte la perception humaine et l'acoustique de lapiece.
Fonctionne avec MultEQXT32.
| Marche
(Défaut) : | Utiliser “Dynamic EQ”. |
| Arrêt : | Ne pas utiliser “Dynamic EQ”. |

- Quand le paramètre "Dynamic EQ" du menu est sur "Marche", il n'est pas possible d'effectuer un réglage "Tonalité". (p. 117)
- Cét élément ne peut pas être définir lorsque “MultEQ® XT32” est régé sur “Arrêt” dans le menu.
Compens. niveau ref.
Audyssey Dynamic EQ® fait ↔reference au niveau de mixage de film standard. Il fait les réglages pour maintainir la ↔response de ↔reference et l'enveloppement surround quand le volume est coupé à partir de 0 dB. Cependant, le niveau de ↔reference du film n'est pas toujours utilisé en musique ou pour d'autres contenus que des films. Le décalage de niveau de ↔reference Dynamic EQ offre trois décalages à partir de la ↔reference de niveau du film (5 dB, 10 dB et 15 dB) qui peuvent être ↑selectionnées quand le niveau de mixage du contenu n'est pas dans la norme. Les niveaux de ↔glage recommendés pour le contenu sont affichés ci-dessous.
| 0 dB (Réf. film) (Défaut): | Optimisé pour le contenu tel que des films. |
| 5 dB: | Sélectionnez ce réglage pour le contenu qui a une très large gamme dynamique, comme la musique classique. |
| 10 dB: | Sélectionnez ce réglage pour le jazz ou d'autres musiques qui ont une large gamme dynamique. Ce réglage doit aussi être sélectionné pour le contenu TV, vu qu'il est en général mixé à 10 dB en dessous de la référence du film. |
| 15 dB: | Sélectionnez ce réglage pour la musique pop/rock ou autre programme qui est mixé à de très hauts niveaux d'écoute et a une gamme dynamique comprimée. |

- Le réglage est activé quand "Dynamic EQ" est sur "Marche". (p. 171)
Dynamic Volume
Permet de résoudre le problème de grandes variations du niveau du volume entre la TV, les films et autre contenu (entre les passages doux et forts, etc.) en ajustant automatiquement conformément au réglage du volume préféREDe l'utilisateur.
Fonctionne avec MultEQXT32.
| Heavy : | Ajustement le plus important sur lessons les plus forts et les plus bas. |
| Medium : | Ajustement moyen sur lessons les plus bas et les plus forts. |
| Light : | Ajustement le moinsimportant sur lessons les plus bas et les plus forts. |
| Arrêt(Défaut) : | Ne pas utiliser“Dynamic Volume”. |

- Si "Dynamic Volume" est régle sur "Oui" dans "Conf. Audyssey", le réglage passée automatiquement à "Medium". (194)
- Cét élément ne peut pas être définir lorsque “MultEQ® XT32” est réglé sur “Arrêt” dans le menu.
Audyssey LFC™
Permet de régler la bande basses fréquences afin d'éviter la transmission de basses et de vibrations aux pièces voisines.
Fonctionne avec MultEQXT32.
| Marché : | Utiliser “Audyssey LFC™”. |
| Arrêt
(Défaut) : | Ne pas utiliser “Audyssey LFC™”. |

- Cét élément ne peut pas être définissonsque "MultEQ® XT32" est régé sur "Arrêt" dans le menu.
Niveau de contrôle
Règle l'endettement de la quantité de basse fréquence. Utilisez un réglage élevé si vous avez des voisins proches.
1-7(Defaut:4)

- Ce réglage peut être effectué lorsque "Audyssey LFC™" dans le menu est régle sur "Marche".
EQ Graphic
Utilise l'égaliser graphique pour régler la tonalité de chaque enceinte.

- Les enceintes pour lesquelles "EQ Graphic" peut être régle sont différentes en fonction du mode audio.
- Ceci peut être régle lorsque le paramètre "MultEQ® XT32" est "Arrêt". (p. 170)
- Le réglage en est impossible quand le mode audio est sur "Direct" ou "Pure Direct".
- Si vous utilisez un casque audio, vous pouvez régler l'égaliser pour celui-ci. (p. 173)
Configurez s'il faut utiliser l'égaliseur graphique ou non.
| Marche : | Utilisez l'égaliser graphique. |
| Arrêt
(Défaut) : | Ne pas utiliser l'égaliser graphique. |

- "Casque EQ" est régèle dans le menu si vous utilisez un casque audio.
Select. H-P
Ajustez ou non les tonalités pour chaque enceinte ou toutes les enceintes.
| Tous : | Réglez tous les tons des enceintes ensemble. |
| Gauche/droite (Défaut) : | Réglez les tons des enceintes gauche et droite ensemble. |
| Chaque : | Réglez la tonalité pour chaque enceinte. |
Ajust.EQ
Ajustez l'équilibre de tonalité pour chaque bande de fréquences.
- Sélectionnez l'enceinte.
- Sélectionnez le réglage de la bande de fréquences. 63 Hz / 125 Hz / 250 Hz / 500 Hz / 1 kHz / 2 kHz / 4 kHz / 8 kHz / 16 kHz
- Réglez le niveau. -20.0 dB - +6.0 dB (Défaut: 0.0 dB)

- Dolby avant, Dolby Surround et Dolby Fond enceintes peuvent uniquement être définies lors de 63 Hz/125 Hz/250 Hz/500 Hz/1 kHz.
Copie courbe
Copiez la courbe de correction plate créée dans "Conf. Audyssey".

- "Copie courbe" s'affiche après que la procédure de "Conf. Audyssey" a été effectué.
- "Copie courbe" n'est pas disponible lors de l'utilisation d'un casque audio.
Param. défaut
Les paramètres "EQ Graphic" sont rétablis sur les paramètres par défaut.
Vidéo
Effectuez les réglages video.
Réglages image
La qualité d'image peut être ajustée.

- Ceci peut être régle lorsque "HDMI" est attribué à chaque source d'entrée. (19 p. 191)
- "Contraste", "Luminance", "Saturation", "Réduction bruit" et "Amélioration" peuvent être régles lorsque "Mode photo" est réglé sur "Personnalise". (19 p. 175)
- Les réglages "Réglages image" sont mémorisés pour chaque source d'entrée.
- La fonction "Réglages image" ne peut pas être régée lorsque des signaux 4K ou 8K sont entrés.
- Vous ne pouvez pas définir ceci lorsque "Mode video" est régle sur "Bypasser" ou si "Echelle(Scaler) i/p" est régle sur "Arrêt". (p. 183)
- "Réglages image" ne peut pas être configuré lorsqu'le mode sonore est régle sur "IMAX DTS" ou "IMAX DTS:X".
Mode photo
Selectionnez le mode photo souhaité en fonction des contenus video et de votre environnement de visualisation.
| Standard : | Mode standard adapté à la plupart des environnements de visualisation de salon. |
| Film : | Mode adapté à la visualisation de films dans une catégorieASF comme une salle de cinéma. |
| Vif : | Mode qui rend les images graphiques des produits, etc. plus lumineuses et plus éclatantes. |
| Streaming : | Mode adapté à des sources video à faible débit. |
| ISF Day : | Un mode qui convient pour regarder des films dans une catégorie éclairée pendant la journée. |
| ISF Night : | Un mode qui convient pour regarder des films dans une catégorieASF comme une nuit. |
| Personnalisé : | Permet d'ajuster manuellement la qualité d'image. |
| Arrêt (Défaut) : | Aucun ajustement de la qualité d'image n'est effectué avec cet apparueil. |

- Les deux modes de réglages spéciaux, "ISF Day" et "ISF Night", doivent être utilisés par un technicien certifié pour ajuster l'étabonnage de la couleur et correspondre aux conditions d'installation.
Nous recommendons que les réglages et les ajustements soient réalisés par un technicien certifié ISF.
- Ces réglages peuvent aussi être configurés en utilisant "Mode photo" dans le menu option. (19 p. 175)
Contraste
Réglage du contraste de l'image.
-50 + 50 (Défaut: 0)
Luminance
Réglage de la luminosité de l'image.
-50 + 50 (Défaut: 0)
Saturation
Réglage du niveau chromatique de l'image (saturation des couleurs).
-50-+50(Defaut:0)
Réduction bruit
Réduction du bruit général video.
Bas/Moyenne/Haut/Arret(Defaut:Arret)
■ Amélioration
Amélioration de la nettede l'image.
0-+12(Defaut:0)
Config. HDMI
Règles paramètres de configurations de Sortie audio HDMI, HDMI Pass Through et HDMI Contrôle.
REMARQUE
- Quand "HDMI Pass Through" et "HDMI Contrôle" est sur "Marche", la consommation en mode Veille est plus élevé. ("HDMI Pass
Through" (p. 177), "HDMI Contrôle" (p. 179)
Si vous n'utilise pas cet apparéil pendant une période prolongée, il est conseillé de débrancher le cordon d'alimentation de la prise murale.
Sortie audio HDMI
Permet de sélectionner le matériel pour la sortie audio HDMI.
| AVR
(Défaut): | Lecture par les enceintes connectées au récepteur. |
| TV: | Lecture par une télévision connectée au récepteur. |

- Lorsque la fonction HDMI Contrôle est activée, la priorité est donné au réglage audio du téléviseur. (p. 137)
- Lorsque cet apparéil est sous tension et que "Sortie audio HDMI" est réglé sur "TV", l'audio est transmis en tant que 2 canaux à partir de la borne HDMI OUT.
HDMI Pass Through
Sélectionne la manière dont cet apparéil transmettra des signaux HDMI vers la sortie HDMI en mode veille.
| Marché : | Transmet l'entrée HDMI SéLECTIONNée via la sortie HDMI de cet apparéil lorsqu'il est en mode Veille. |
| Arrêt (Défaut) : | Aucun signal HDMI n'est transmis via la sortie HDMI de cet apparéil en modeVeille. |
Source Pass Through
Définit la borne HDMI qui introduit les signaux HDMI en mode veille.
| Dernière
(Défaut): | La source d'entrée la plus récente se mettra en mode veille. |
| CBL/SAT / DVD /
Blu-ray / Media Player /
Game / AUX / 8K /
TV Audio / CD*: | Traversez la source d'entrée sélectionnée. |
*“Source Pass Through” peut être régle lorsqu’aucune des bornes HDMI est attribuée à “CD” pour la source d’entrée dans le réglage “Affectation des entrées”. (© p. 190)

- "Source Pass Through" peut être régé quand "HDMI Contrôle" est régé sur "Marche" ou que "HDMI Pass Through" est régé sur "Marche". ("HDMI Pass Through" (p. 177), "HDMI Contrôle" (p. 179))
■ Select source Telec
Définissez s'il faut autoriser la mise sous tension de cet apparéil avec la touche de sélection de la source d'entrée de la télécommande lorsque l' apparéil est en voille.
| Allumer + Source
(Défaut): | Cet apparéil est mis sous tension et la source d'entrée change. |
| Sélection source seule: | La source d'entrée HDMI change pendant que l' apparéil est en veille. Le tímein de l'affichage d'alimentation de cet apparéil clignote lorsque vous appuyez sur la touche de sélection de la source d'entrée de la télécommande. |

- "Délect source Telec" peut être régle quand "HDMI Contrôle" est régle sur "Marche" ou que "HDMI Pass Through" est régle sur "Marche". ("HDMI Pass Through" (p. 177), "HDMI Contrôle" (p. 179))
HDMI Contrôle
Permet de lier l'utilisation de différents appareils connectés en HDMI et compatibles avec HDMI Contrôle.
| Marché : | Utiliser la fonction HDMI Contrôle. |
| Arrêt
(Défaut) : | Ne pas utiliser la fonction HDMI Contrôle. |

- Si vous utilise la fonction HDMI Contrôle, branchez un téléviseur compatible avec le contrôle HDMI sur le connecteur HDMI MONITOR 1.
- Consultez les instructions d'utilisation de chaque composant connecté pour vérifier les réglages.
- Se reporter à “Fonction HDMI Contrôle” pour en savoir plus sur la fonction HDMI Contrôle. (p. 137)
REMARQUE
- Si les réglages "HDMI Contrôle" ont été modifiées, pensez à tous jours êtrepisus remetre sous tension les appareils connectés après cette modification.
ARC
Sur le téléviseur raccordé au connecteur HDMI MONITOR 1, indiquez si vous souhaitez receivevoir le son provenant du téléviseur via HDMI.
| Marché : | Utiliser la fonction ARC. |
| Arrêt
(Défaut) : | Ne pas utiliser la fonction ARC. |

- Vous pouvez régler le volume de cet apparéil à l'aide de la télécommande du télévisueur.
- Si vous utilise cette fonction, utilisez un téléviseur compatible ARC (Audio Return Channel) et activez la fonction HDMI Contrôle du téléviseur.
- Si "HDMI Contrôle" est régèle sur "Marche", le paramétrage de "ARC" bascule automatiquement sur "Marche". (p. 179)
REMARQUE
- Si les réglages "ARC" ont été modifiés, pensez à tout昼夜 éteindre puis remettre sous tension les apparèils connectés après cette modification.
- L'utilisation d'un téléviseur compatible avec la fonction eARC permet la lecture audio à partir du haut-parleur connecté à cet apparéil, indépendamment des paramétres "ARC" dans le menu.
Commutation TV Audio
Définit le passage automatique sur l'entrée "TV Audio" lorsqu'un téléviseur connecté via HDMI envoie une commande CEC appropriée à cet apparéil.
| Marche
(Défaut): | Sélectionner l'entrée “TV Audio” automatiquement lors de la réception d'une commande à partir du téléviseur. |
| Arrêt: | Ne sélectionnez pas l'entrée “TV Audio” automatiquement lors de la réception d'une commande à partir du téléviseur. |

- "Commutation TV Audio" peut être régle lorsque "HDMI Contrôle" est régle sur "Marche". (p. 179)
Désactiver commande
Lie la mise en veille de cet appeareil aux équipements externes.
| Tous(Défaut): | Si la TV branchée est mise hors tensionindépendamment de la source d'entrée,l'appareil est automatiquement mis enveille. |
| Vidéo: | Avec une source d'entrée sélectionnéeattribuée à “HDMI”, “COMP” ou “VIDEO”, lorsque vous mettez le téléviseur hors tension, cet appar收集 se metautomatiquement en veille. (©p. 191) |
| Arrêt: | L' appar收集 n'est pas lié à la mise sous/hors tension de la TV. |

- "Désactiver commande" peut être régle lorsque "HDMI Contrôle" est régle sur "Marche". (p. 179)
Economie d'énergie
Si "Enceinte du téléviseur" est régle comme sortie audio de votre téléviseur, l'appareil passé automatiquement en mode veille afin de réduire la consommation électrique.
Cette fonction est activée dans les cas suivants.
- Si "TV Audio" est sélection comme source d'entrée de cet apparéil
- Lors de la lecture d'un contenu provenant d'un apparéil raccordé via HDMI
| Marché : | Utiliser la fonction Économie d'énergie. |
| Arrêt
(Défaut) : | Ne pas utiliser la fonction Économie d'énergie. |

- "Économie d'énergie" peut être régle lorsque "HDMI Contrôle" est régle sur "Marche". (p. 179)
Vous pouvez utiliser cette pour configurer les paramétres de cet apparéil, sélectionner une source d'entrée et régler les stations de radio Internet à l'aide de la télécommande du téléviseur.
| Marché : | Utiliser la fonction Menu intelligent. |
| Arrêt : | Ne pas utiliser la fonction Menu intelligent. |

- "Menu intelligent" peut être régé lorsque "HDMI Contrôle" est régé sur "Marche". (p. 179)
REMARQUE
- Si les réglages "Menu intelligent" ont été modifiés, pensez à toujours étéindre puis remettre sous tension les apparèils connectés après cette modification.
- Selon les specifications de votre téléviseur, il est possible que la fonction Menu intelligent ne fonctionne pas correctement. Dans ce cas, réglez "Menu intelligent" sur "Arrêt".
Réglages sorties
Paramètre le traitement video.

- Ceci peut être régle lorsque "HDMI" est attribué à chaque source d'entrée. (19 p. 191)
- "Résolution", "Netteté", "Mode progressif" et "Rapport d'aspect" peuvent être régliés lorsque "Échelle(scalar) i/p" est réglié sur "Marche". ("Résolution" (p. 184), "Netteté" (p. 184), "Mode progressif" (p. 185), "Rapport d'aspect" (p. 185))
- La fonction "Réglages sorties" ne peut pas être régée lorsque des signaux 4K ou 8K sont entrés.
- "Mode video", "Echelle(scaler) i/p", "Résolution", "Netteté", "Mode progressif" et "Rapport d'aspect" ne peut pas être configuré lorsqu'le mode sonore est régé sur "IMAX DTS" ou "IMAX DTS:X". ("Mode video" (p. 183), "Echelle(scaler) i/p" (p. 183), "Résolution" (p. 184), "Netteté" (p. 184), "Mode progressif" (p. 185), "Rapport d'aspect" (p. 185))
- Les réglages "Mode videoe", "Echelle(SCALER) i/p", "Résolution", "Netteté", "Mode progressif" et "Rapport d'aspect" sont méorisés pour chaque source d'entree. ("Mode videoe" (p. 183), "Echelle(SCALER) i/p", (p. 183), "Résolution" (p. 184), "Netteté" (p. 184), "Mode progressif" (p. 185), "Rapport d'aspect" (p. 185))
Sortie video HDMI
Permet de selectionner les sorties HDMI à utiliser.
| Auto(Dual)
(Défaut): | La présence d'un téléviseur branché à l'une des bornes HDMI MONITOR 1 ou HDMI MONITOR 2 est détectée automatiquement et ce branchement est utilisé. |
| Moniteur 1: | Un téléviseur branché à la borne HDMI MONITOR 1 est toujours utilisé. |
| Moniteur 2: | Un téléviseur branché à la borne HDMI MONITOR 2 est toujours utilisé. |

- Si les bornes HDMI MONITOR 1 et HDMI MONITOR 2 sont toutes les deux connectées et que "Résolution" est régé sur "Automatique", les signaux sont émis avec une résolution compatible avec les deux TV. (p. 184) Lorsque dans le menu, le paramétrage "Résolution" n'est pas régé sur "Automatique", réglez la résolution dans "Védo" - "Moniteur HDMI 1" et "Moniteur HDMI 2" sur celle compatible avec les deux téléviseurs. (p. 241)
- Vous pouvez vérifier les résolutions qui sont compatibles avec votre télévisuer en "Moniteur HDMI 1" et "Moniteur HDMI 2". (i p. 241)
- Lorsque vous connectez plusieurs TV Dolby Vision, le signal ne sera optimal que pour une TV. Une TV branchée au connecteur HDMI MONITOR 1 est prioritaire.
Mode video
Configuréz la méthode de traitement video pour qu'elle corresponde au contenu de ce type de video.
| Automatique
(Défaut): | Traiter la réserve automatiquement sur la base des informations disponibles sur le contenu HDMI. |
| Jeu: | Toujours traiter la réserve pour le jeu. Réduisez le délais video lorsque la réserve est décalée par rapport à des opérations de touches sur le contrôleur de la console de yeux. |
| Film: | Effectuez le traitement de l'image qui est adapté pour les contenus autres que des yeux. |
| Bypasser: | Supprimez tout le traitement video du trajet video HDMI. |

- Si "Mode video" est régé sur "Automatique", le mode est commuté en fonction du contenu à l'entrée.
- L'affichage des informations, tel que la barre de volume, ne peut pas être recouvert par le signal video du jour que "Mode video" est réglé sur "Bypasser".
- Cét élément peut être régle lorsque "HDMI" est affecté à chaque source d'entrée.
Echelle(scaler) i/p
Réglez le signal de l'entrée video pour qu'il soit soumis à un traitement Echelle(Scaler) i/p.
Echelle(scalar) i/p convertira la résolution du signal video d'entrée à la valeur définie dans "Résolution". (p. 184)
| Marché : | Utiliser la fonction Echelle(scaler) i/p. |
| Arrêt : | Ne pas utiliser la fonction Echelle(scaler) i/p. |

- Cét élément peut être régle lorsque "HDMI" est affecté à chaque source d'entrée.
- Cét élément peut être régle lorsque “Mode video” n'est pas régle sur “Bypasser”. (p. 183)
- Cette fonction n'est pas efficace lorsque le signal d'entrée est "x.v.Color", 3D, sYCC601 color, Adobe RGB color, Adobe YCC601 color ou résolutions de l'ordinateur.
Résolution
Réglez la résolution de sortie.
| Automatique
(Défaut): | Le nombre de pixels supporté par la TV connectée à la borne de HDMI
MONITOR OUT est automatiquement détecté et la résolution de sortie appropriée est réalisée. |
| 480p/576p / 1080i / 720p / 1080p / 4K / 8K: | Régliez la résolution de sortie. |

- Cét élément peut être régle lorsque "Echelle(scaler) i/p" est régle sur "Marche". (p. 183)
Netteté
Active la caractéristique de la nettedé qui permet d'améliorer les bords des images lorsque vous augmentez l'échelle de la video à 4K ou 8K.
| Marché : | Active la caractéristique d'amélioration de la nettoyé video qui propose un contour des bords de l'image optimisé pour convertir la video avec définition standard de baisse résolution en 4K ou 8K. |
| Arrêt (Défaut) : | Désactive la caractéristique d'amélioration de la nettoyé video. |

- Cet élément peut être régle lorsque "Echelle(scaler) i/p" est régle sur "Marche". (p. 183)
- Il est recommendé d'utiliser cette caractéristique uniquement lorsque la nettable de votre TV est définie sur 0.
Mode progressif
Sélectionnez le mode de conversion progressive approprié pour le signal video source.
| Automatique
(Défaut): | La détction du signal video et la sélection du mode approprié s'effectuant automatiquement. |
| Vidéo: | Sélectionner un mode adapté à la lecture video. |
| Vidéo et film: | Sélectionner un mode adapté à la lecture video et de films 30 trames. |

- Cét élément peut être régé lorsque "Echelle(scaler) i/p" est régé sur "Marche". (p. 183)
Rapport d'aspect
Configurer le rapport d'aspect pour la sortie des signaux video au HDMI.
| 16:9
(Défaut) : | Affichage au format d'aspect 16:9. |
| 4:3 : | Sortie au rapport d'aspect 4:3 avec des barres noires sur les parties latérales de l'écran du téléviseur 16:9. (sauf pour la sortie 480p/576p) |

- Cét élément peut être régle lorsque “Echelle(scaler) i/p” est régle sur “Marché”. (p. 183)
Affichage à l'écran
Sélectionnez les préférences d'interface utilisateur pour l'affichage à l'écran.
Volume
Définit l'emplacement de l'affichage du niveau de volume.
| Bas
(Défaut): | Affichage bas. |
| Haut: | Affichage haut. |
| Arrêt: | Désactiver l'affichage. |

- Si l'affichage du volume principal est difficile à dire lorsque du texte est superposé au sous-titrage d'un film, réglez-le sur "Haut".
Affiche temporairement le statut de fonctionnement lorsque la source d'entrée changée.
| Marché
(Défaut) : | Activer l'affichage. |
| Arrêt : | Déspectiver l'affichage. |
Lecture en cours
Paramétrz l'heure d'affichage de l'écran de lecture lorsque la source d'entrée est configurée sur "HEOS Music".
| Toujours actif
(Défaut) : | Affichage permanent. |
| Arrêt auto : | Conserver l'affichage pendant 30 secondes après l'activation. |
Economiseur d'écran
Selectionnez le réglage de l'économiseur d'écran.
Un economisér d'écran s'active si aucune opération n'est effectuée pendant plus de 5 minutes lorsqu'aucun signal video n'est entree ou lorsque le même écran (par exemple le menu de configuration) est affiché. Utilisez < > pour effacer l'économisér d'écran.
| Marche : | Active l'économiseur d'écran. |
| Arrêt
(Défaut) : | Désactive l'économiseur d'écran. |

L'économiseur d'écran est activé dans les cas suivants.
- Lorsque le menu de configuration est affché
Lorsqu'aucun signal video n'est entre
Lorsque l'écran de lecture réseau, USB ou Bluetooth est affché
- Cette fonctionnalité sera prise en charge via la mise à jour du micrologiciel.
Définissez le format des signaux 4K et 8K à dire par cet apparéil lorsque le télévisueur ou l'appareil de lecture connecté à cet apparéil est compatible avec les signaux HDMI 4K ou 8K.
Définissez le format des signaux 4K et 8K lors par cet apparéil.
| Standard : | Sélectionnez si vous télévisuer et vos périphériques de lecture prenant en charge des signaux video 4K 60p 4:2:0 8 bit. |
| Amélioré (Défaut) : | Sélectionnez si vous télévisuer, vos périphériques de lecture et cables prenant en charge les signaux video de hautes qualité 4K 60p 4:4:4 8 bit, 4:2:2 ou 4:2:0 10 bit. |
| 8K Amélioré : | Sélectionnez si vous télévisuer, vos périphériques de lecture et cables prenant en charge les signaux video de hautes qualité 8K 60p ou 4K 120p. |
【Relation entre le paramétrage "Format signal 4K/8K" et les résolutions prises en charge】
| Résolution supportée | Espace couleurs | Profondeur pixel | Format signal 4K/8K |
| Standard | Amélioré | 8K Amélioré |
| 4K 24p,4K 30p,4K 25p | RGB /YCbCr 4:4:4 | 8 bits | ✓ | ✓ | ✓ |
| 10,12 bits | - | ✓ | ✓ |
| YCbCr 4:2:2 | 12 bits | ✓ | ✓ | ✓ |
| 4K 60p,4K 50p | YCbCr 4:2:0 | 8 bits | ✓ | ✓ | ✓ |
| 10,12 bits | - | ✓ | ✓ |
| RGB /YCbCr 4:4:4 | 8 bits | - | ✓ | ✓ |
| 10,12 bits | - | - | ✓ |
| YCbCr 4:2:2 | 12 bits | - | ✓ | ✓ |
| 4K 120p,4K 100p | YCbCr 4:2:0 | 8,10,12bits | - | - | ✓ |
| RGB /YCbCr 4:4:4 | 8,10 bits | - | - | ✓ |
| YCbCr 4:2:2 | 12 bits | - | - | ✓ |
| 8K 24p,8K 30p,8K 25p | YCbCr 4:2:0 | 8,10,12bits | - | - | ✓ |
| RGB /YCbCr 4:4:4 | 8,10 bits | - | - | ✓ |
| YCbCr 4:2:2 | 12 bits | - | - | ✓ |
| 8K 60p,8K 50p | YCbCr 4:2:0 | 8,10 bits | - | - | ✓ |

- Lors du paramétrage sur "Amélioré", nous recommendons d'utiliser un "Premium High Speed HDMI Cable" ou un "Premium High Speed HDMI Cable with Ethernet" ayant une "HDMI Premium Certified Cable" étiquette figurant sur l'emballage du produit.
- Lorsque vous configurez ce paramétrage sur "8K Amélioré", nous recommendons d'utiliser un "Ultra High Speed 48 Gbps HDMI cable".
- Lorsque ce paramétrage est "Amélioré" ou "BK Amélioré", configurez le paramétrage du télévisuer ou du périphérique de lecture pour faire correspondre ce paramétrage.
- Lorsque le paramétrage est "Amélioré" ou "BK Amélioré", la video pourrait ne pas être lue correctement selon le périphérique de lecture connecté ou du cable HDMI. Dans ce cas, modifierze ce paramétrage sur "Standard".
- "Personalisé" est affché pour l'élément de configuration si nos installateurs personalisés ou nos ingénieurs services ont configuré le format de signal HDMI pour cet apparéil.
-
"Format signal 4K/8K" peut aussi être réglé avec la procédure suivante. Cependant, l'écran du menu ne s'affiche pas. Suivez les instructions affichées pour procéder aux réglages.
-
Appuyez longuement sur le bouton de l'unité principale ZONE2 SOURCE et STATUS en même temps pendant au moins 3 secondes. "V.Format:< PAL>" s'affiche sur l'écran.
- Appuyez sur DIMMER sur l'appareil principal. "4K/8K:" s'affiche sur I'écran.
- Utilisez SOUND MODE ou PURE DIRECT sur l'appareil principal et selectionner le Format signal 4K/8K.
- Appuyez sur STATUS sur l'appareil principal pour terminer le réglage.
Configuration HDCP
Configure la version HDCP pour chaque source d'entrée HDMI.
Selon la version HDCP de votre lecteur et de votre téléviseur, il est possible que la vente ne soit pas diffusée.
Si ce problème survient, utilisez ce paramètre pour définir une version de HDCP. Cela peut permettre de reproduce une video.
| Automatique
(Défaut): | Applique automatiquement la version HDCP de cet apparéil en fonction de la télévision. |
| 1.4: | Met à niveau la version HDCP de cet apparéil avec la version 1.4. |
| 2.3: | Met à niveau la version HDCP de cet apparéil avec la version 2.3. |

- "Personnalisé" est affiché pour l'objet de configuration si nos installateurs personalisés ou nos ingénieurs services ont configuré la version HDCP pour cet apparéil.
Déterminé le format du signal video à la sortie de la télévision que vous utilisez.
PAL
(Defaut) :
Selectionner la sortie PAL.
NTSC:
Selectionner la sortie NTSC.

-
"Format" peut aussi être régé avec la procédure suivante. Cependant, l'écran du menu ne s'affiche pas. Suivez les instructions affichées pour procéder aux réglages.
-
Appuyez longuement sur le bouton de l'unité principale ZONE2 SOURCE et STATUS en même temps pendant au moins 3 secondes. "V.Format:" s'affiche sur l'écran.
- Utilisez SOUND MODE ou PURE DIRECT sur l'appareil principal et définièsez le format du signal video.
- Appuyez sur STATUS sur l'appareil principal pour terminer le réglage.
REMARQUE
- Si un format différent du format video du moniteur connecté est défini, l'image ne s'affichera pas correctement.
Entrées
Réalisation des réglages concernant la lecture de la source d'entrée.
Vou n'avoz pas besoin de modifier les réglages pour utiliser l'appareil. Effectuez des réglages lorsque cela s'avéré nécessaire.
Affectation des entrées
En effectuant les connexions comme indiqué par les sources d'entrée imprimées sur les bornes d'entrée audio/vidéo de cet apparéil, il vous suffit d'appuyer une seule fois sur les touches de Sélection de la source d'entrée pour direaisément de l'audio ou de la video à partir d'un dispositif connecté.
Veuillez changer l'attribution de la borne d'entrée HDMI, de la borne d'entrée audio numérique, de la borne d'entrée audio analogique, de la borne d'entrée de la video composante, et de la borne d'entrée video lors de la connexion d'une source d'entrée qui diffère de ce qui est imprimé sur les borne d'entrée audio/video de cet appareel.
Définit le mode d'entrée audio pour chaque source "INPUT MODE". "AUTO" est normalement recommendé pour ce réglage. Ceci détecte et lit automatiquement le signal entrant dans cet apparéil selon la priorité suivante : HDMI > DIGITAL > ANALOG.


- Par défaut, chaque élément est régle comme suit.
| Source d'entrée | Connecteur d'entrée | INPUT MODE |
| HDMI | DIGITAL | ANALOG | VIDEO |
| CBL/SAT | 1 | COAX1 | 1 | VIDEO1 | AUTO |
| DVD | 2 | COAX2 | 2 | COMP1 | AUTO |
| Blu-ray | 3 | - | 3 | VIDEO2 | AUTO |
| Media Player | 4 | OPT2 | - | COMP2 | AUTO |
| Game | 5 | - | 4 | VIDEO3 | AUTO |
| AUX | 6 | - | - | - | HDMI |
| 8K | 7(8K) | - | - | - | HDMI |
| TV Audio | - | OPT1 | - | - | DIGITAL |
| CD | - | - | 5 | - | ANALOG |
Utilisateurs de TV/boîtier pour satellite, veuilles noter
Lors de l'utilisation de la sortie audio numérique sur un téléviseur/boîtier satellite :
Pour dire le signal video attribué à “HDMI” associé au signal audio attribué à “Affectation des entrées” - “DIGITAL”, vous devrez également sélectionner “DIGITAL” dans “INPUT MODE”.

- Le même connecteur d'entrée peut être affecté à plusieurs sources d'entrée. Par exemple, attribué le même connecteur d'entrée HDMI à plusieurs sources pour utiliser chaque source d'entrée en combinaison avec l'audio analogue ou numérique selon vos préférences. Dans ce cas, configUREZ le connecteur audio pour la lecture dans "INPUT MODE".
HDMI
Réglez ce paramètre pour changer l'attribution des prises d'entrée HDMI aux sources d'entrée.
| 1 / 2 / 3 / 4 / 5 / 6 / 7(8K): | Attribue une borne d'entrée HDMI à la source d'entrée Sélectionnée. |
| - : | N'attribuée pas de borne d'entrée HDMI à la source d'entrée Sélectionnée. |

Seul "HDMI7" peut être attribué à la source d'entrée "8K".
- Si "HDMI Contrôle" ou "ARC" est régé sur "Marche" dans le menu, "HDMI" ne peut pas être affecté à "TV Audio". ("HDMI Contrôle" (p. 179), "ARC" (p. 179))
- La fonction eARC ne fonctionne pas lorsque "HDMI" est régle comme source d'entrée "TV Audio".
DIGITAL
Réglez ce paramètre pour changer l'attribution des bornes d'entrée audio numérique aux sources d'entrée.
| COAX1 (Coaxial) / COAX2 / OPT1 (Optique) / OPT2 : | Attribue une borne d'entrée audio numérique à la source d'entrée sélectionnée. |
| - : | N'attribuée pas de borne d'entrée audio numérique à la source d'entrée sélectionnée. |
ANALOG
Réglez ce paramètre pour changer l'attribution des bornes d'entrée audio analogique aux sources d'entrée.
| 1/2/3/4/5: | Attribue une borne d'entrée audio analogique à la source d'entrée sélectionnée. |
| - : | N'attribuè pas de borne d'entrée audio analogique à la source d'entrée sélectionnée. |
VIDEO
Régléz ce paramètre pour changer l'attribution des bornes d'entrée video composantes et les bornes d'entrée video composites aux sources d'entrée.
| COMP1 (Vidéo de composant) / COMP2 /VIDEO1 /VIDEO2 /VIDEO3 : | Attribue une borne d'entrée video à la source d'entrée Sélectionnée. |
| - : | N'attribuée pas de borne d'entrée video à la source d'entrée Sélectionnée. |
Réglez les modes d'entrée audio de chaque source d'entrée.
Normalement, il est recommandé de régler le mode d'entrée audio sur "AUTO".
| AUTO
(Défaut) : | Déctector automatiquement le signal en entrée et lancer la lecture. |
| HDMI : | Lire uniquement les signaux en provenance de l'entrée HDMI. |
| DIGITAL : | Lire uniquement les signaux en provenance de l'entrée audio numérique. |
| ANALOG : | Lire uniquement les signaux en provenance de l'entrée audio analogique. |

- Lorsque des signaux numériques entrent correctement, le témoin Dig s'allume sur l'affichage. Si le témoin Dig ne s'allume pas, vérifie "Affectation des entrées" et les connexions. (p. 190)
- Si l'options "HDMI Contrôle" est régliée sur "Marche" et si un téléviseur compatible ARC est branchée via les bornés HDMI MONITOR 1, le mode d'entrée dont la source d'entrée est "TV Audio" est paramétré sur ARC.
Lorsqu'un téléviseur compatible avec la fonction eARC est raccordé à la borne HDMI MONITOR 1, le mode d'entrée dont la source d'entrée est "TV Audio" est verrouflé sur eARC.
Param. défaut
Les paramètres “Affectation des entrées” sont rétablis sur les paramètres par défaut.
Renommer les sources
- Permet de changer le nom d'affichage de la source d'entrée. Une fois modifié, le nom est affché sur l'écran et sur les écans de menu de cet apparéil.
- Si le nom de périphérique peut être acquis à partir d'un périphérique HDMI connecté, le nom d'affichage est modifié automatiquement. Utilisez cette fonction pour modifier les noms si nécessaire lorsque le périphérique que vous utilisez diffère de la source d'entrée sur cet apparéil.
Modifiez le nom de l'affichage de la source d'entrée selectionnée.
AUX / 8K / TV Audio /
CD / Phono / Tuner :
Param. défaut :
Les paramètres “Renommer les sources” sont rétablis sur les paramètres par défaut.

- Vous pouvez entre jusqu'à 16 caractères.
Masquer les sources
Permet de supprimer de l'affichage les sources d'entrée qui ne sont pas utilisées.
Affichez
(Defaut) :
Utiliser cette source.
Cachez :
Ne pas utiliser cette source.
Niveau des sources
Cette fonction permet de corriger le niveau de lecture de l'entrée audio de la source d'entrée seLECTIONnée.
Utilisez cette fonction s'il y a des différences de niveau du volume d'entrée entre les différentes sources.
-12 dB - +12 dB (Défaut: 0 dB)

- Les réglages "Niveau des sources" sont mémorisés pour chaque source d'entrée.
Enceintes
Les caractéristiques acoustiques des enceintes connectées et du local d'écoute sont mesurées et les réglages les plus précis se font automatiquement.
Cette procédure s'appelle "Conf. Audyssey".
Vou n'avoz pas à effectuer "Conf. Audyssey" lorsque vous avez déjà effectué "Étalonnage enceintes" dans "Assistant de config."
Pour configurer manuellement les enceintes, utilisez l'option "Config. manuelle" du menu. (p. 205)
Conf. Audyssey®
Pour effectuer les mesures, placez le microphone d'étalonnage du son en différents endroits dans toute la zone d'écoute. Pour un meilleur résultat, il est recommendé d'effectuer la mesure sur six points ou plus, comme illustré (jusqu'à huit points).
Lors de la mesure de la seconde position et des suivantes, installez le microphone de calibration du son sur une distance de 60 cm par rapport à la première position de mesure (position d'écoute principale).

- Si vous exécutez Conf. Audyssey®, les fonctions Audyssey MultEQ® XT32, Audyssey Dynamic EQ®, Audyssey Dynamic Volume® et Audyssey LFC™ sont activées. (p. 170)

FL Enceinte avant (G)
FR Enceinte avant (D)
C Enceinte centrale
SW Subwoofer
SL Enceinte surround (G)
SR Enceinte surround (D)
A propos de la position d'écoute principale
La position d'écoute principale est la position où plusieurs auditeurs ou une personne seule s'assoirient naturellement dans l'enceinte de l'environnement d'écoute. Avant de lancer la procédure "Conf.
Audyssey®, disposez le microphone de mesures et de configuration dans la position d'écoute principale.
Audyssey MultEQ® XT32 utilise les mesures à partir de ce point pour calculer la distance de l'enceinte, le niveau, la polarité et la valeur de croissement du subwoofer.
A propos d'Audyssey Sub EQ HTTM
Audyssey Sub EQ HT™ facilitite l'intégration en compensant d'abord toute différence de niveau et de décalage entre les deux subwooferés puis en appliquant Audyssey MultEQ® XT32 aux deux subwooferés simultanément.
Pour exécuter Audyssey Sub EQ HT™, vous devez Sélectionner "Mesure (2 enceintes)" dans "Sélection des canaux". (p. 197).
REMARQUE
- Le silence doit régner le plus possible dans la piece. Un bruit de fond peut interrometer les mesures. Fermez les fenêtes et éteignez les apparêils Electroniques (radios, climatiseurs, éclairages fluorescentes, etc.). Lessons émis par ces apparêls pourraient avoir une incidence sur les mesures.
- Pendant les mesures, placez les téléphones portables hors de la pierce d'écoute. Les signaux de téléphonie mobile pouraient perturber les mesures.
- Pendant les mesures, ne laissez aucun object sur le passage et ne restez pas debout entre les enceintes et le microphone. De plus, installez le microphone d'étaconnage du son à au moins 50 cm par rapport au mur. À défaut, cela peut se traduire par des lectures incorrectes.
- Pendant le processus de mesures, les tons de tests audibles proviendron des enceintes et des subwooferers, mais ici fait partie du fonctionnement normal. S'il y a un bruit de fond dans la piece, le volume de ces signaux d'essai augmente.
- Si vous utilise la touche VOLUME ▲▼ de la télécommande ou MASTER VOLUME de l'appareil au cours des mesures, celles-ci sont annulées.
- Il n'est pas possible d'effectuer ces mesures lorsqu'un casque est connecté. Débranche le casque audio avant de procéder à la configuration "Conf. Audyssey®".
Procedure pour les réglages des enceintes (Conf. Audyssey®)

Fixez le microphone d'étalandnage du son fourni pour le support de microphone ou son propre trépied et l'instructor dans la position d'écoute principale.
Lors de l'installation du microphone d'étabonnage du son, pointez l'extrémité du microphone vers le plafond et réglez la hauteur afin qu'elle corresponde à celle des oreilles d'un auditeur en position assise.
2 Si vous utilisez un subwoofer compatible avec les réglages suivants, configurez-le comme indiqué cidesous.
Subwoofer doté d'un mode direct
Placez le mode direct sur "Marche" et désactive le réglage du volume et le réglage de la fréquence croisée.
Subwoofer ne possedant pas de mode direct
Effectuez les réglages suivants:
Volume: position 12 heures
- Fréquence croisée: Fréquence maximale/la plus élevé
- Filtre salle-bas : Arrêt
Mode veille:Arret
3 Connectez le microphone de mesures et de configuration sur la prise SETUP MIC de cet apparéil.


Lorsque le microphone de configuration et de mesure est connecté, l'écran suivant s'affiche.

4 Sélectionnez "Démarrer" et appuyez ensuite sur ENTER.
"Conf. Audyssey®" peut également permettre les réglages suivants.
Il est possible de changer la sortie du signal à partir des bornes des enceintes HEIGHT1 et HEIGHT2 de cet appeareil pour qu'elle corresponde à l'environnement de vos enceintes. ("Affectation des Amphis" (p. 205))
Si les canaux qui ne sont pas utilisés sont définis à l'avance, la mesure des canaux définis est omise et la durée de la mesure peut être réduite. Vous pouvez aussi modifier le nombre de subwooferers et d'enceintes arrêté surround.
Réglez la distance entre l'enceinte Dolby Atmos Enabled et le plafond.
Ce réglage peut être effectué lors de l'utilisation ce l'enceinte Front Dolby Atmos Enabled, Surround Dolby Atmos Enabled ou Back Dolby Atmos Enabled.
5 Suivez les instructions affichées sur l'écran puis appuyez sur "Suivant" pour continuer.
6 Lorsque l'écran suivant est affché, Sélectionnez "Lancer Test" puis appuyez sur ENTER.
Démarrez les mesures de la première position.

- La mesure peut prendre plusieurs minutes.
REMARQUE
7 Lorsque l'enceinte détectée est affichée, Sélectionnez "Suivant" puis appuyez sur ENTER.

8 Dispossez le microphone de mesures et de configuration à la position 2, sélectionnez "Continuer", puis appuyez sur ENTER.
La mesure du deuxième point démarre.
Les mesures peuvent être effectuees jusqu'à huit points.

Arrêter "Conf. Audyssey"
① Appuyez sur BACK pour afficher l'écran contextuel.
② Appuyez sur 1 pour sélectionner "Oui", puis appuyez sur ENTER.
9 Repétez l'étépe 8 pour mesurer les positions 3 à 8.

- Pour passer la mesure de la quatrième position d'écoute et des suivantes, appuyez sur ↓ pour sélectionner "Compléter" et appuyez sur ENTER pour passer à l'étape 11.
10 Sélectionnez "Continuer" et appuyez ensuite sur ENTER.

Démarrez l'analyse et l'enregistrement des résultats de mesure.
L'analyse prend plusieurs minutes.
Plus il y a d'enceintes et de positions de mesure, plus l'analyse est longue.
REMARQUE
- Lorsque les résultats de mesure sont en train d'être enregistrés, veillez à ce que l'alimentation ne soit pas hors tension.
11 Effectuez le paramétrage de Audyssey Dynamic EQ® et Audyssey Dynamic Volume®.
L'écran suivant s'affiche lors de l'analyse. Configurez le paramétrage de votre choix.

- Dynamic EQ corrige la réponse de fréquence en tenant compte des caractéristiques audio de la pièce et de la capacité auditive humaine de manière à entendre le son, même à faible volume. Ce mode est recommendé lors de l'utilisation de l'appareil avec le volume baisse, comme par exemple lorsque vous regardez un film ou un programme TV au milieu de la nuit.
- Dynamic Volume ajuste le volume de sortie au niveau optimal tout en surveillant constamment le niveau d'entrée audio de l'appareil. Le contrôle du volume optimal s'effectue automatiquement sans aucune perte de dynamisme et de clarté du son lorsque, par exemple, le volume augmente soudainement dans les spots publicitaires pendant les programmes de télévision.
12 Lorsque l'analyse et la sauvegarde sont terminées, débranche le microphone d'étalonnage du son de la prise SETUP MIC de l'appareil principal puis appuyez sur "Suivant".


- Lorsque vous exécutez Conf. Audyssey® pour la première fois, les données de mesure sont automatiquement enregistrées dans "Présélection 1" de "Présélection des HP".
- Si Conf. Audyssey® a déjà été effectuee, l'écran de selection "Présélection des HP" suivant s'affiche.

- Voir "Présélection des HP" pour des informations détaillées sur la fonction Présélection des HP. (p. 220)
13 Sélectionnez "Détails" et appuyez sur ENTER pour vérifier les résultats de mesure.
- Les subwooferers peuvent mesurer une distance constatée plus grande que la distance réelle du fait du retard électricquecommun aux subwooferers.
REMARQUE
- N'activez pas de nouvelles enceintes dans le menu de configuration des enceintes après Conf. Audyssey®. Si ces dernières sont modifiées, exécutez à nouveau Conf. Audyssey® afin de configurer le paramétrage de l'égaliserur de manière optimale.
Message d'erreur
Un message d'erreur s'affiche si "Conf. Audyssey" n'a pas pu se terminer en raison de la position des enceintes, de l'environnement de mesure, et Si un message d'erreur s'affiche, vérifie les éléments concernés et effectuez les mesures nécessaires. Coupez l'alimentation avant de vérifier les connexions des enceintes.
| Exemples | Détails de l'erreur | Remèdes |
| Aucune enceinte trouvée. | • Le microphone de mesures et de configuration n’a pas été détecté.
• Toutes les enceintes n’ont pas été détectées. | • Connectez le microphone de mesures et de configuration fourni sur la prise SETUP MIC de cet apparéil.
• Vérifiez les connexions des enceintes. |
| Le bruit ambient est trop élevé ou Le niveau est trop bas | • Il y a trop de bruit dans la pièce.
• L’enceinte ou l’audio subwoofer est trop faible. | • Éteignez ou éloignez l’appareil à l’origine du bruit.
• Essayez à nouveau lorsque les environ sont silencieux.
• Vérifiez l’sinstallation et l’orientation des enceintes.
• Réglez le volume du subwoofer. |
| Avant D : Aucun | • L’enceinte affichée n’a pas pu être détectée. | • Vérifiez les connexions des enceintes affichées. |
| Avant D : Phase | • L’enceinte affichée est connectée avec des polarités inversées. | • Vérifiez les polarités des enceintes affichées.
• Ce message d’erreur peut s'afficher avec certains enceintes, même si elles sont connectées correctement. Si vous étés sur que le branchement est correct, utilisez > pour sélectionner “Ignorer”, puis appuyez sur ENTER. |
■ Message d'erreur concernant le niveau du subwoofer et modalités d'ajustement
Le niveau optimal de chaque canal de subwoofer pour la mesure "Conf. Audyssey" est de 75 dB.
Lors de la mesure du niveau du subwoofer, un message d'erreur s'affiche lorsque le niveau d'un subwoofer n'est pas compris dans la plage 72 - 78 dB.
Si vous utilisez un subwoofer avec amplificateur intégré (type actif), réglez le volume du subwoofer de manière à ce que le niveau du subwoofer soit compris dans la plage 72 à 78 dB.
【Message d'erreur】

1 Sélectionnez "Niv. correspondant SW" puis appuyez sur ENTER.
2 Réglez la commande de volume sur votre subwoofer de manière à ce que le niveau mesuré soit compris dans la plage 72 à 78 dB.
3 Si le niveau mesuré se situe dans la plage 72 à 78 dB, sclectionnez "Suivant" puis appuyez sur ENTER.
- Si vous utilise des subwoofer, l'ajustement du second subwoofer démarre. Répétez l'opération à partir de l'étape 2, 3 de la procédure.
Retour aux réglages “Conf. Audyssey®”
Si vous définissez "Réinitialisez" sur "Restaurez", vous pouze revenir au résultat de la mesure de "Conf. Audyssey®" (valeur calculée au départ par MultEQ XT32), même lorsque vous avez modifié chaque réglage manuellement.

Config. manuelle
Utilisez cette procédure pour régler manuellement les enceintes ou si vous souhaitez modifier les réglages effectuels avec la procédure de "Conf. Audyssey".
- Si vous activez de nouvelles enceintes dans le menu de configuration des enceintes après avoir effectué Conf. Audyssey®, vous ne pourrez plus selectionner Audyssey MultEQ® XT32, Audyssey Dynamic EQ® ni Audyssey Dynamic Volume®. (p. 170)
- Modification des paramètres suivants : Les réglages de taille des enceintes (Grande ou petite) / Distances / Niveau / Crossover ne désactivent pas Audyssey® et ne nécessitant pas d'effectuer à nouveau Conf. Audyssey®.
- La "Config. manuelle" peut être utilisé même s'il n'y a pas eu modification des réglages. Effectuez des réglages uniquement si cela s'avéré nécessaire.
Affectation des Amplis
Permet de sélectionner la méthode d'utilisation de l'amplificateur de puissance en fonction de votre système d'enceintes.
Mode affectation
Permet de selectionner la méthode d'utilisation de l'amplificateur de puissance.
Voudevez configurer les parametres détaillés pour la configuration de l'enceinte, en fonction du mode sélectionné. Sélectionner Mode affectation configurer les parametres détaillés correspondant.
| 11.1p : | Le réglage pour utiliser l'amplificateur de puissance à 9 canaux et l'amplificateur de puissance externe connecté à la PRE OUT pour生存 jusqu'à canaux 11.1. |
| Vous pouvez connecter des haut-parleurs jusqu'à 11.1 canaux pour la MAIN ZONE. |
| 9.1p(Défaut) : | • Les réglages affectent toute la puissance de l' amplificateur dans l'unité de la MAIN ZONE pour生存 jusqu'à 9.1 canaux.
• Vous pouvez connecter des haut-parleurs jusqu'à 11.1 canaux pour la MAIN ZONE.
Les enceintes audio sont automatiquement changées pendant la lecture jusqu'à 9.1 canaux en fonction du signal d'entrée et du mode audio. |
| 7.1p + ZONE2 : | • Réglage permettant d'affector les amplificateurs de puissance de cet apparéil pour la ZONE2 à 2 canaux.
• Vous pouvez connecter des haut-parleurs jusqu'à 9.1 canaux pour la MAIN ZONE.
Les enceintes audio sont automatiquement changées pendant la lecture jusqu'à 7.1 canaux en fonction du signal d'entrée et du mode audio. |
7.1p (bi-amp) :
- Réglage permettant d'affector les amplificateurs de puissance de cet apparéil pour la connexion en mode double amplificateur de l'enceinte avant à 2 canaux.
- Vous pouvez connecter des haut-parleurs jusqu'à 9.1 canaux pour la MAIN ZONE.
Les enceintes audio sont automatiquement changées pendant la lecture jusqu'à 7.1 canaux en fonction du signal d'entrée et du mode audio.
5.1p (bi-amp)+ ZONE2 :
- Réglage permettant d'affector les amplificateurs de puissance de cet apparéil pour la connexion en mode double amplificateur de l'enceinte avant à 2 canaux.
- Réglage permettant d'affector les amplificateurs de puissance de cet apparéil pour la ZONE2 à 2 canaux.
| 7.1p + Front B : | Réglage permettant d'affector les amplificateurs de puissance de cet apparéil pour connecter le second ensemble d'enceintes avant.
• Vous pouvez basculer entre la combinaison des enceintes avant A et des enceintes avant B.
Commutez l'enceinte avant à l'aide du réglage "Enceintes avant". (10 p. 220)
• Vous pouvez connecter des haut-parleurs jusqu'à 9.1 canaux pour la MAIN ZONE.
Les enceintes audio sont automatiquement changées pendant la lecture jusqu'à 7.1 canaux en fonction du signal d'entrée et du mode audio. |
| Préamplificateur : | Toutes les enceintes sont connectées à l'aide d'un amplificateur de puissance externe et cet apparéil est utilisé comme préamplificateur. |

- Si "Mode affectation" est réglé sur "7.1p + ZONE2", "7.1p (bi-amp)" ou "7.1p + Front B" dans le menu, les canaux affectés sont émis depuis les bornes d'enceinte HEIGHT2.
- Si Mode affectation est régé sur "5.1p (bi-amp)+ ZONE2" dans le menu, les canaux avant pour la connexion bi-amp sont émis depuis les bornes d'enceinte HEIGHT1 et les canaux ZONE2 sont émis depuis les bornes d'enceinte HEIGHT2.

Sélectionnez l'emplacement des enceintes au sol.
| 5can. & SB
(Défaut) : | Ce plan combine une enceinte surround arrêté avec un plan basique à 5 canaux. |
| 5can : | Il s'agit d'un plan basique à 5 canaux qui utilise des enceintes avant, centrales et arrêté. |
Hauteur
Hauteur Sp
Sélectionné le numéro des enceintes hautes et au plafond utilisées dans la MAIN ZONE.
| Aucun : | N'utilise pas d'enceintes hautes et de plafond. |
| 2can : | Utilise un ensemble de (deux) huit enceintes hautes ou de plafond. |
| 4can (Défaut) : | Utilise deux ensembles de ( quatre) huit enceintes hautes ou de plafond. |
Dolby Sp
Selectionnez le nombre d'enceintes Dolby Atmos Enabled utilisées dans la MAIN ZONE.
| Aucun
(Défaut) : | N'utilise pas d'enceintes Dolby Atmos Enabled. |
| 2can : | Utilise un ensemble (deux) d'enceintes Dolby Atmos Enabled. |
| 4can : | Utilise deux ensembles ( quatre) d'enceintes Dolby Atmos Enabled. |
Agencement
Sélectionnez l'emplacement des enceintes hautes, au plafond ou Dolby Atmos Enabled.
Les plans que vous pouvez seLECTIONner diffrent en fonction des combinaisons de "Mode affectation" et "Sol" dans le menu. ("Mode affectation" (1p. 205), "Sol" (1p. 207))
| Réglages | Connecteurs AUDIO OUT |
| Hauteur Sp | Dolby Sp | REMARQUE | Agencement | HEIGHT 1 | HEIGHT 2 |
| Aucun | Aucun | | - | - | - |
| 2can | Aucun | | Avant haut | Avant haut | - |
| Avant plafond | Avant plafond | - |
| Centre plafond | Centre plafond | - |
| Arrière plafond | Arrière plafond | - |
| Hauteur arrêté | Hauteur arrêté | - |
| 4can | Aucun | *1 | Avant haut et Centr. plaf | Avant haut | Centre plafond |
| Avant haut et Arr. plafond | Avant haut | Arrière plafond |
| Avant haut et Hauteur arr | Avant haut | Hauteur arrêté |
| Avant plafond et Arr. plafond (Défaut) | Avant plafond | Arrière plafond |
| Avant plafond et Hauteur arr | Avant plafond | Hauteur arrêté |
| Centre plafond et Hauteur arr | Centre plafond | Hauteur arrêté |
| Aucun | 2can | | Dolby avant | Dolby avant | - |
| Dolby surround | Dolby surround | - |
| Dolby arrêté *2 | Dolby arrêté | - |
1 Cette option peut être sélectionnée lorsque “Mode affectation” est régé sur “11.1p” ou “9.1p” dans le menu.
2 Cette option peut être sélectionnée lorsque “Mode affectation” est régé sur ou “11.1p” et que “Sol” est régé sur “5can. & SB” dans le menu.
| Réglages | Connecteurs AUDIO OUT |
| Hauteur Sp | Dolby Sp | REMARQUE | Agencement | HEIGHT 1 | HEIGHT 2 |
| 2can | 2can | *1 | Dolby avant et Arr. plafond | Dolby avant | Arrière plafond |
| Dolby avant et Hauteur arr | Dolby avant | Hauteur arrêté |
| Avant haut et Dolby surr. | Avant haut | Dolby surround |
| Avant haut et Dolby arrêté*3 | Avant haut | Dolby arrêté |
| Avant plafond et Dolby surr. | Avant plafond | Dolby surround |
| Avant plafond et Dolby arrêté*3 | Avant plafond | Dolby arrêté |
| Aucun | 4can | *1 | Dolby avant et Dolby surr. | Dolby avant | Dolby surround |
| Dolby avant et Dolby arrêté*3 | Dolby avant | Dolby arrêté |
1 Cette option peut être sélectionnée lorsque “Mode affectation” est régé sur “11.1p” ou “9.1p” dans le menu.
3 Cette option peut être sélectionnée lorsque “Mode affectation” est régle sur ou “11.1p” et que “Sol” est régle sur “5can. & SB” dans le menu.
Pre-sorties
Lorsque "Mode affection" est réglé sur "11.1p", il sélectionne le connecteur PRE OUT de l'amplificateur de puissance externe utilisé dans la MAIN ZONE.
Les bornes PRE OUT que vous pouvez selectionner différent en fonction de la combinaison des paramétres - "Sol" et "Hauteur" - "Agencement" configurés dans le menu.
Ce réglage peut être effectué lorsque "5can. & SB" est régé sur "Sol" dans le menu et que quatre enceintes hautes et Dolby sont utilisées au total.
| HEIGHT 2*
(Défaut): | Les sorties Height2 gauche et croite du préamplificateur sont connectées à un amplificateur externe. |
| Avant: | Les sorties Front gauche et croite du préamplificateur sont connectées à un amplificateur externe. |
- Le nom de l'enceinte qui est régé pour les bornes d'enceinte HEIGHT 2 par le réglage "Hauteur" - "Agencement" dans le menu est affché.
Vue config. Bornes
Ceci indique comment connecter les bornes d'enceintes et les connecteurs PRE OUT pour votre "Affectation des Amplis" réglage sur l'écran de menu.
Config. enceintes
Sélectionnez si ou qui non les enceintes sont générées, la capacité de lecture pour les fréquences de graves basses et la taille des enceintes.

- Lorsque les enceintes pour lesquelles vous avez affecté la fonction Height1 dans "Affectation des Amphis" sont régles sur "Aucun", "Aucun" est automatiquement régée sur Height2.
Avant
Définir le type d'enceinte avant.
| Grande (Défaut) : | Réglage à utiliser pour une grande enceinte en mesure de reproductive correctement les très basses fréquences. |
| Petite : | Réglage à utiliser pour une petite enceinte limitée dans les très basses fréquences. |

- Lorsque "Subwoofer" est régle sur "Non", "Avant" est automatiquement régle sur "Grande".
- Lorsque "Avant" est régé sur "Petite", vous ne pouvez pas régler d'enceintes autres que "Avant" à "Grande".
Centrale
Définir la présence et la taille de l'enceinte centrale.
| Grande : | Réglage à utiliser pour une grande enceinte en mesure de reproductive correctement les très basses fréquences. |
| Petite (Défaut) : | Réglage à utiliser pour une petite enceinte limitée dans les très basses fréquences. |
| Aucun : | Réglage à utiliser lorsqu'aucune enceinte centrale n'est connectée. |
Subwoofer
Définir la présence d'un subwoofer.
| 2 enceintes : | Utiliser deux subwoofer. |
| 1 enceinte
(Défaut) : | Utiliser un subwoofer. |
| Aucun : | Réglage à sélectionner lorsqu'aucun subwoofer n'est connecté. |

- Lorsque "Subwoofer" est régle sur "Aucun" et que vous configrez "Avant" à "Petite", "Subwoofer" est automatiquement régle sur "1 enceinte".
Surround
Définir la présence et la taille des enceintes surround.
| Grande : | Réglage à utiliser pour une grande enceinte en mesure de reproductive correctement les très basses fréquences. |
| Petite (Défaut) : | Réglage à utiliser pour une petite enceinte limitée dans les très basses fréquences. |
| Aucun : | Réglage à utiliser quand les enceintes surround ne sont pas connectées. |

- Si "Surround" est régle sur "Aucun", "Surr. arrête", "Dolby surr." et "Dolby arrêté" sont automatiquement régles sur "Aucun".
Surr. arrête
Définir la présence, la taille et le nombre d'enceintes arrêté surround.
| Grande : | Réglage à utiliser pour une grande enceinte en mesure de reproductive correctement les très basses fréquences. |
| Petite (Défaut) : | Réglage à utiliser pour une petite enceinte limitée dans les très basses fréquences. |
| Aucun : | Réglage à utiliser quand les enceintes arrêtè surround ne sont pas connectées. |
| 2 enceintes (Défaut) : | Réglage à utiliser lorsqu'il y a deux enceintes arrêtè surround. |
| 1 enceinte : | Réglage à utiliser lorsqu'il n'y a qu'une enceinte surround arrêtè. Connectez-vous à la borne L au SURROUND BACK lorsque ce paramétrage est sélectionné. |

- Lorsque "Surr. arrrière" est régle sur "Aucun" ou "1 enceinte", "Dolby arrrière" est automatiquement régle sur "Aucun".
Avant haut
Définir la présence et la taille des enceintes avant-haut.
| Grande : | Réglage à utiliser pour une grande enceinte en mesure de reproductive correctement les très basses fréquences. |
| Petite (Défaut) : | Réglage à utiliser pour une petite enceinte limitée dans les très basses fréquences. |
| Aucun : | Réglage à utiliser lorsque les enceintes avant-haut ne sont pas connectées. |
Avant plafond
Réglez la présence et la taille des enceintes supérieures avant.
| Grande : | Réglage à utiliser pour une grande enceinte en mesure de reproductive correctement les très basses fréquences. |
| Petite (Défaut) : | Réglage à utiliser pour une petite enceinte limitée dans les très basses fréquences. |
| Aucun : | Sélectionnez lorsque les enceintes supérieures avant ne sont pas connectées. |
Centre plafond
Réglez la présence et la taille des enceintes supérieures centrales.
| Grande : | Réglage à utiliser pour une grande enceinte en mesure de reproductive correctement les très basses fréquences. |
| Petite (Défaut) : | Réglage à utiliser pour une petite enceinte limitée dans les très basses fréquences. |
| Aucun : | Sélectionné lorsque les enceintes centrales supérieures ne sont pas connectées. |
Dolby avant
Réglez la présence et la taille des enceintes Dolby avant.
| Grande : | Réglage à utiliser pour une grande enceinte en mesure de reproductive correctement les très basses fréquences. |
| Petite (Défaut) : | Réglage à utiliser pour une petite enceinte limitée dans les très basses fréquences. |
| Aucun : | Sélectionnez lorsque les enceintes avant Dolby ne sont pas connectées. |
Dolby surr.
Réglez la présence et la taille des enceintes Dolby surround.
| Grande : | Réglage à utiliser pour une grande enceinte en mesure de reproductive correctement les très basses fréquences. |
| Petite (Défaut) : | Réglage à utiliser pour une petite enceinte limitée dans les très basses fréquences. |
| Aucun : | Sélectionnez lorsque les enceintes d'ambiance Dolby ne sont pas connectées. |
■ Arrière plafond
Réglez la présence et la taille des enceintes supérieures arrêté.
| Grande : | Réglage à utiliser pour une grande enceinte en mesure de reproductive correctement les très basses fréquences. |
| Petite (Défaut) : | Réglage à utiliser pour une petite enceinte limitée dans les très basses fréquences. |
| Aucun : | Sélectionné lorsque les enceintes supérieures arrêtè ne sont pas connectées. |
Hauteur arrête
Réglez la présence et la taille des enceintes hauteures arrrière.
| Grande : | Réglage à utiliser pour une grande enceinte en mesure de reproductive correctement les très basses fréquences. |
| Petite (Défaut) : | Réglage à utiliser pour une petite enceinte limitée dans les très basses fréquences. |
| Aucun : | Sélectionnez lorsque les enceintes de hauteur arrêtè ne sont pas connectées. |
Dolby arrirée
Réglez la présence et la taille des enceintes Dolby arrêté.
| Grande : | Réglage à utiliser pour une grande enceinte en mesure de reproductive correctement les très basses fréquences. |
| Petite (Défaut) : | Réglage à utiliser pour une petite enceinte limitée dans les très basses fréquences. |
| Aucun : | Sélectionnez lorsque les enceintes arrêtè Dolby ne sont pas connectées. |

- Lorsque les enceintes pour lesquelles vous avez affecté la fonction Height1 dans "Affectation des Amphis" sont régles sur "Aucun", "Aucun" est automatiquement régée sur Height2.
Distances
Permet de régler la distance entre la position d'écoute et les enceintes. Avant d'effectuer les réglages, mesurez la distance entre la position d'écoute et les différentes enceintes.
Unité
Permet de regler l'unité de distance.
Mêtres (Défaut)
Pieds
Étape
Permet de régler l'increment minimum de réglage de la distance.
0.1 m/0.01 m (Défaut: 0.1 m)
1 ft/0.1 ft
Réglez la distance
0.00 m - 18.00 m / 0.0 ft - 60.0 ft

- Les enceintes qui peuvent être seLECTIONnées sont différentes selon les réglages "Affectation des Amphis" et "Config. enceintes". ("Affectation des Amphis" (p. 205), "Config. enceintes" (p. 212))
- Réglages par défaut :
- Avant G / Avant D / Avant haut G / Avant haut D / Centrale / Dolby avant G / Dolby avant D / Subwoofer 1 / Subwoofer 2 : 3,60 m (12,0 ft)
- Enceintes différentes de celles mentionnées ci-dessus : 3,00 m (10,0 ft)
- Reglez la différence de distance entre enceintes à moins de 6,00 m (20,0 ft).
Para. Enc. Dolby
Réglez la distance entre l'enceinte Dolby Atmos Enabled et le plafond.
0.90 m - 3.30 m / 3.0 ft - 11.0 ft
(Defaut: 1.80m / 6.0 ft)

- Cette option peut être régée lorsque "Dolby avant", "Dolby surr." ou "Dolby arrêté" est régé sur "Grande" ou "Petite" dans "Config. enceintes".
Param. défaut
Les paramètres "Distances" sont rétablis sur les paramètres par défaut.
Niveaux
Réglez le volume de la tonalité de test à l'identique à la position d'écoute lorsqu'il est envoyé depuis chaque enceinte.
Démar. tonalite d'essay
Un son test est émis depuis l'enceinte sélectionnée.
Pendant l'écoute du son test, ajustez le volume de sortie sur l'enceinte sélectionnée.
-12.0 dB - +12.0 dB (Défaut: 0.0 dB)

- Le paramétrage "Niveau" est reflêté dans tous les modes son.
- Si vous souhaitez régler le niveau du canal pour chaque source d'entrée, effectuez les réglages dans "Réglage niv. Canal". (i p. 116)
- Lorsque le casque est connecté à la borne PHONES de cet apparéil, vous ne pouvez pas régler l'option "Niveau".
Param. défaut
Les paramètres "Niveau" sont rétablis sur les paramètres par défaut.
Crossover
Permet de régler en fonction de la fréquence de limite inférieure des fréquences de base qui peuvent être lues sur chaque enceinte. Voir le manuel des enceintes pour plus de renseignements concernant la fréquence croisée.
Select. H-P
Permet de selectionner le mode de definition de la fréquence croisée.
| Tous(Défaut): | Permet de régler la même fréquencecroisée pour toutes les enceintes. |
| Individuel: | Permet de sélectionner les points dcroisement pour chaque enceinte individuèlement. |
■ Sélection de la fréquence croisée
40 Hz/60 Hz/80 Hz/90 Hz/100 Hz/110 Hz/120 Hz/150 Hz/ 180 Hz/200 Hz/250 Hz (Défaut:80 Hz)

- Le paramètre "Crossover" peut être régèle lorsque le réglage du paramètre "Mode subwoofer" est "LFE+Main" ou lorsque l'une des enceintes est régée sur "Petite". (p. 219)
- La fréquence croisée par défaut est "80 Hz". Il s'agit du réglage idéal pour un fonctionnement optimal avec la plus grande gamme d'enceintes. Nous recommendons un réglage à une fréquence supérieure à la fréquence croisée lorsque de petites enceintes sont utilisées. Par exemple, effectuez le réglage sur "250 Hz" lorsque la plage de fréquence des enceintes est 250 Hz - 20 kHz.
- Le son endessous de la fréquence de croissement est coupé de la sortie des enceintes définis dans "Petite". Cette fréquence de coupure des graves est émise par le subwoofer ou par les enceintes avant.
-
Les enceintes qui peuvent être régles quand l'option "Individual" est sélectionnée sont différentes selon le réglage du paramètre "Mode subwoofer". (p. 219)
-
Quand "LFE" est sélectionné, les enceintes réglées sur "Petite" pour "Config. enceintes" peuvent être réglées. Si les enceintes sont réglées sur "Grande", "Total" s'affiche et le réglage ne peut pas être effectué. (12 p. 212)
- Lorsque "LFE+Main" est sélectionné, les enceintes peuvent être régées peu importe le réglage "Config. enceintes". (p. 212)
- Les paramètres audio dans “Réglages audio IMAX” sont appliqués pendant la lecture IMAX. (p. 164)
Graves
Permet de configurer la reproduction de la gamme de signaux subwoofer et LFE.
Mode subwoofer
Permet de sélectionner les signaux de la gamme des graves qui seront reproduits par le subwoofer.
| LFE(Défaut) : | Le signal de gamme des graves du canal régèle sur la taille d'enceinte “Petite” est ajouté à la sortie de signal LFE du subwoofer. |
| LFE+Main : | Le signal de gamme BASSE de tous les canaux est ajouté à la sortie de signal LFE du subwoofer. |

- "Mode subwoofer" peut être régé lorsque "Config. enceintes" - "Subwoofer" dans le menu est régé sur autre chose que "Aucun". (t p. 212)
- Écoutez de la musique ou un film puis selectionné le mode produitant les graves les plus puissants.
- Si "Config. enceintes" - "Avant" et "Centrale" sont régles sur "Grande", et que "Mode subwoofer" est régé sur "LFE", il se peut que les subwoofer n'émettent auc sein, selon le signal d'entrée ou le mode sonore sélectionné. (p. 212) Sélectionnez "LFE+Main" si vous voulez que les signaux des graves soient toujours reproduits par le subwoofer.
- Les paramètres audio dans “Réglages audio IMAX” sont appliqués pendant la lecture IMAX. (p. 164)
LPF pour LFE
Permet de régler la gamme d'émission du signal LFE. Réglez cela lorsque vous souhaitez changer la fréquence de lecture (point de filtre passe-bas) du subwoofer.
80 Hz/90 Hz/100 Hz/110 Hz/120 Hz/150 Hz/180 Hz/ 200 Hz/250 Hz (Défaut:120 Hz)

- Les paramètres audio dans “Réglages audio IMAX” sont appliqués pendant la lecture IMAX. (t p. 164)
Enceintes avant
Permet de définir l'enceinte avant A/B à utiliser pour chaque mode audio.
| A
(Défaut) : | L'enceinte avant A est utilisée. |
| B : | L'enceinte avant B est utilisée. |
| A+B : | Les deux enceintes avant A et B sont utilisées. |

- Cette option peut être sélectionnée lorsque "Mode affectation" est défini sur "7.1p + Front B". (207)
Présélection des HP
Vou pouve enregistrer deux réglages d'enceinte pour une adaptation aux environnements dans lesquels vous utilisez vos enceintes.
Par exemple, vous pouvez facilement configurer deux prérégages pour basculer entre les régages de l'égaliser ou des enceintes mesurés à l'aide de Conf. Audyssey® si les caractéristiques de votre piece différènt en fonction de facteurs tels que l'utilisation de l'écran ou non.
Si vous souhaitez utiliser un préréglage, Sélectionnez le préréglage que vous souhaitez utiliser, puis configurez des paramètres tels que Conf.
Audyssey® ou les paramètres des enceintes pour enregistrer ces paramètres dans le préréglage que vous avez sélectionné.
| Présélection 1
(Défaut) : | Enregistre les paramètres dans PréRéglage 1. |
| Présélection 2 : | Enregistre les paramètres dans PréRéglage 2. |

-
Les paramètres suivants sont enregistrés dans les prêrglages.
-
"Affectation des Amphis" réglages
"Config. enceintes" réglages
- "Distances" régles
- "Niveau" réglages
-Crossover" réglages
- "Graves" réglages
"Enceintes avant" réglages
Données "MultEQXT32
-
Données "EQ Graphic"
-
Ce réglage peut aussi être configuré à l'aide de “Présélection des HP” dans le menu d'options. (p. 121)
Réseau
Pour utiliser cet apparéil en le connectant à un réseau domestique, vous devez configurer les paramètres réseau.
Si vous effectuez cette opération via DHCP, définissez "DHCP" sur "Marche". (Réglage par défaut.) Cet apparéil pourra ainsi utiliser notre réseau domestique.
Lorsque you aectez une adresse IP a chace appareil manuellement, you deez affecter une adresse IP a cet appareil a l'aide des reglages "Adresse IP" et entrez des informations sur voire reseau domestique (LAN) telles que I'adresse de passerelle et le masque de sous-reseau, etc.
Affichage des informations sur le réseau.
Nom convivial / Connexion / SSID / DHCP / Adresse IP / Adresse MAC (Ethernet) / Adresse MAC (Wi-Fi) / Puissance du signal Wi-Fi
Connexion
Choisissez s'il faut connecter le réseau domestique à un réseau local sans fil ou à un LAN cable.
Lorsque you you connectez au réseau avec un LAN cable, selectionnez "Filaire (Ethernet)" après la connexion d'un cable LAN.
Lors de la connexion au réseau avec un réseau local sans fil, Sélectionnez "Sans fil (Wi-Fi)" et configurez le "Config. Wi-Fi". (p. 222)
Connector avec
Selectionnez la méthode de connexion au réseau domestique (LAN).
| Filaire (Ethernet) : | Utilisez un cable LAN pour se connecter à un réseau. |
| Sans fil (Wi-Fi) (Défaut) : | Utilisez la fonction de réseau local sans fil (Wi-Fi) pour se connecter à un réseau. |
Config. Wi-Fi
Connectezvous à un routeur de réseau local sans fil (Wi-Fi).
Le routeur peut être connecté par les moyens suivants. Sélectionnez la méthode de connexion en fonction de votre environnement domestique.
Recherche de réseaux
Selectionnez le réseau auquel vous souhaitez vous connecter à partir de la liste des réseaux possibles affichée sur l'écran du téléviseur.
- Sélectionnez le réseau auquel vous souhaitez vous connecter à partir de la liste des réseaux sans fil.
Selectionnez "Rescan" si le réseau est introuvable.
- Entrez votre mot de passer et seLECTIONnez "OK".
Utiliser le dispositif iOS
Utilisez votre périphérique iOS (iPhone/iPod/iPad) pour vous connecter au réseau. En connectant votre périphérique iOS à cet apparéil en Wi-Fi, l' apparéil peut être automatiquement connecté au même réseau que votre périphérique.
- Sélectionnez "Utiliser le dispositif iOS" sur l'écran du téléviseur.
- Vérifiez que votre apparéil iOS est connecté au réseau du réseau local sans fil (Wi-Fi) et Sélectionnez “Denon AVC-X3700H” depuis “CONFIGURER UN HAUT-PARLEUR AIRPLAY...” en bas de l'écran de configuration Wi-Fi de votre apparéil iOS.
- Tapez "Suivant" sur l'écran du pérophérique iOS.

- La version du micrologiciel du périhérique iOS doit prendre en charge iOS 7 une version ultérieure.
■ Routeur WPS
Utilisez un routeur compatible WPS pour vous connecter en appuyant sur le bouton.
- Sélectionnez "Bouton pouvoir" sur l'écran du téléviseur.
-
Commutez vers le mode WPS en appuyant sur la touche WPS du routeur auquel vous souhaitez vous connecter.
-
La durée pour appuyer sur la touche varie en fonction du routeur.
- Sélectionnez "Connector" sur l'écran du téléviseur dans les 2 minutes.
Manuel
Saisissez le nom (SSID) et le mot de passer du réseau auquel vous souhaitez vous connecter.
- Reglez les éléments suivants.
| SSID : | Entrez le nom du réseau sans fil (SSID). |
| Sécurité : | SéLECTIONnez la méthode de cryptage selon le paramètre de cryptage du point d'accès que vous utilisez. |
| Mot de passer : | Entrez le mot de passer. |
- Sélectionnez "Connector" à la fin du paramétrage.

- Le paramétrage du réseau local sans fil (Wi-Fi) de cet apparéil peut également être configuré à partir d'un ordinateur ou d'une tablette qui prend en charge la connexion au réseau local sans fil.
- Maintenez enfoncées les touches DIMMER et STATUS de l'appareil principal pendant au moins 3 secondes, lorsque l'alimentation est sous tension.
- Connectez le réseau local sans fil du PC ou de la tablette utilisé pour le "Denon AVC-X3700H" lorsque le message "Connectez vous disposifit Wi-Fi au réseau Wi-Fi appelé "Denon AVC-X3700H". apparaït à l'écran.
- Démarrez le navigateur et saisissez "192.168.1.16/settings/" dans l'URL.
- Utilisez le navigateur pour saisir le paramétrage, Sélectionnez "Connector" puis quitterze le paramétrage.
- La clé par défaut de cet apparéil est réglée sur "1". Définissez la clé par défaut du routeur sur "1" pour'utilisation.
Réglages
Configurez I'adresse IP.
- Si vous utilisez un routeur haut débit (fonction DHCP), les informations requises pour la connexion réseau telles que l'adresse IP seront automatiquement configurées puisque la fonction DHCP est réalisée sur "Marche" dans les paramètres par défaut de l'appareil.
- Paramétrz les informations de Adresse IP, Masq. sous-rés., Passerelle défaut et du serveur DNS seulement lors de l'attribution d'une adresse IP fixe ou en se connectant à un réseau sans la fonction DHCP.

DHCP
Permet de selectionner la maniere de se connecter au réseau.
| Marche
(Défaut) : | Permet de configurer les réglages réseau automatiquement à partir de votre routeur. |
| Arrêt : | Permet de configurer les réglages réseau manuellement. |
Adresse IP
Régler l'adresse IP dans les limites indiquées ci-dessous.
- La fonction Network Audio ne peut pas etre utiliser si d'autres adresses IP sont regliées.
CLASS A:10.0.0.1-10.255.255.254
Lorsque vous connectez directement un modem xDSL ou un adaptateur terminal à cet apparéil, entrez le masque de sous-résseau indiqué dans la documentation donnée par votre fournisseur. Entre en général "255.255.255.0".
Passerelle défaut
Lorsque vous étés connecté à une passerelle (routeur), entrez son adresse IP.
DNS
Entrez l'adresse du DNS indiquée dans la documentation donnée par voiture fournisseur.

- Si vous ne pouvez pas vous connecter à internet, vérifie à nouveau les connexions et la configuration. (p. 75)
- Si vous ne savez pas vérifier une connexion internet, contactez votre ISP (Internet Service Provider) ou le fournisseur de leur ordinateur.
Commande réseau
Active la communication réseau en mode Veille.
Arrêt en veille
Arrêt des fonctions réseau en veille.
(Defaut) :
Toujours actif :
Le reseau est activé en mode veille. L'unité principale peut être contrôle avec un contrôleur compatible reseau.

- En utilisant la fonction de contrôle Internet, Denon 2016 AVR Remote App ou HEOS App, réglez le paramétrage "Commande réseau" sur "Toujours actif".
REMARQUE
- Si "Commande réseau" est régle sur "Toujours actif", l'appareil consomme plus d'énergie en mode veille.
Nom convivial
Le nom convivial est le nom par lequel cet apparéil est désigné sur le réseau. Vous pouvez modifier le nom convivial selon vos préférences.
■ Nom convivial
Selectionnez un nom convivial à partir de la liste.
Quand vous sélectionnez "Autre", vous pouvez modifier le nom convivial selon vos préférences.
Home Theater / Living Room / Family Room / Guest Room / Kitchen / Dining Room / Master Bedroom / Bedroom / Den / Office / Autre

- Vous pouvez entrair jusqu'à 30 caractères.
- Lors de la première utilisation, le nom convivial par défaut est "Denon AVC-X3700H".
Param. défaut
Permet de restaurer à sa valeur par défaut le nom convivial, qui a été modifié.
Diagnostic
Permet de vérifier la connexion réseau.
■ Connexion physique
Permet de vérifier la connexion physique du port LAN.
OK
Erreur :
Le cable LAN n'est pas connecté.
Vérifiez la connexion.

- Lorsque connecté via un réseau local sans fil, "Connexion Sans fil (Wi-Fi)" s'affiche.
Accès routeur
Permet de vérifier la connexion entre l'appareil et le routeur.
OK
| Erreur : | Échec de la communication avec le routeur. Vérifiez les paramètres du routeur. |
Accès Internet
Permet de vérifier si cet apparéil a accès à Internet (WAN).
| OK |
| Erreur : | Échec de la connexion à Internet. Vérifiez l'environnement de connexion Internet ou les paramètres du routeur. |
AirPlay
Réglages pour Apple AirPlay.
Marche
(Defaut) :
Arrêt :
Effectuez les réglages Compte HEOS.
Un Compte HEOS est nécessaire pour utiliser Favoris HEOS.
Le menu affiché différé selon l'état du Compte HEOS.
Vous ne vous âtes pas connecté
J'ai un compte HEOS
Si vous avez déjà créé un Compte HEOS, entrez votre identifiant et leur mot de passer pour vous connecter.
Créer un compte
Si vous n'avez pas de Compte HEOS, créez un nouveau Compte HEOS.
Mot de passer oublie
En cas d'oubli du mot de passer, un courriel expliquant comment le réinitialiser vous sera envoyé.
Vous estes déjà connecté
■ Identifiez-vous
Le Compte HEOS en cours s'affiche.
Changer l'emplacement
Modifier les paramètres régionales pour le Compte HEOS en cours.
Changer le mot de passer
Modifier le mot de passer pour le Compte HEOS en cours.
Supprimer le compte
Supprimer le Compte HEOS en cours.
Déconnexion
Se déconnecter du Compte HEOS en cours.
Général
Effectuer d'autres réglages.
Langue
Permet de régler la langue d'affichage du menu sur l'écran du téléviseur.
English / Deutsch / Français / Italiano / Espanol / Nederlands / Svenska / Pþcsn/N Polski(Defaut:English)

-
"Langue" peut aussi être réglé avec la procédure suivante. Cependant, l'écran du menu ne s'affiche pas. Suivez les instructions affichées pour procéder aux réglages.
-
Appuyez longuemement sur le bouton de l'unité principale ZONE2 SOURCE et STATUS en même temps pendant au moins 3 secondes. "V. Format:" s'affiche sur l'écran.
- Appuyez deux fois sur DIMMER sur l'appareil principal. "Lang.:" s'affiche sur l'écran.
- Utilisez SOUND MODE ou PURE DIRECT sur l'appareil principal et définiSEEZ la langue.
- Appuyez sur STATUS sur l'appareil principal pour terminer le réglage.
ECO
Configures le paramétrage du ECO Mode et du mode veille automatique.
Mode ECO
Ce mode peut réduire la consommation d'énergie et la production de chaleur de cet apparéil lorsqu'il est sous tension.
Ceci est obtenu en réduisant la ligne d'alimentation de l' amplificateur de puissance, et par conséquent la puissance maximale de sortie.
| Marche : | Les économies d'énergie sont toujours activées,quel que soit le volume ou le signal d'entrée. |
| Automatique(Défaut) : | Ceci vous offre le meilleur équilibre entre les économies d'énergie et la puissance de sortie maximale :Aux faibles niveaux de volume,les économies d'énergie sont activées. Si vous augmentez le volume sonore,les économies d'énergie sont automatiquement désactivées, ce qui vous permet de bénéficier d'une puissance de sortie maximale sans distorsion.Si le volume est réglé à un niveau élevé mais qu'aucun signal d'entrée n'est détecté pendant plus de 2 minutes, cet apparil activera des économies d'énergie. Lorsqu'un signal d'entrée est détecté à nouveau ou que la source d'entrée est modifiée, cet apparil désactivera automatiquement à nouveaux les économies d'énergie aux niveaux de volume élevés. |
| Arrêt: | Aucune économie d'énergie. |

- Lorsque l'appareil bascule entre les différents états d'économie d'énergie en "Mode ECO : Automatique", vous pourriez entendre unCLS que provenant de l'intérieur de cet apparéil, ici est normal.
- Si le contentu est mis en pause pendant plus de 2 minutes et que la lecture reprend depuis la même source aux niveaux existants de volume élevés, il peut y avoir un court-delai avant que la puissance maximale ne soit rétable.
- "Mode ECO" peut également être modifié en appuyant sur ECO sur la télécommande.
Marche (par défaut)
Réglez le mode sur le mode ECO lorsqu'ell est sous tension.
| Dernière (Défaut) : | Le Mode ECO sera réglé sur les régles précédent avant la mise hors tension de l'alimentation. |
| Marche : | Lorsque l'appareil est sous tension, le mode sera toujours commuté vers Mode ECO dans “Marche”. |
| Automatique : | Lorsque l'appareil est sous tension, le mode sera toujours commuté vers Mode ECO dans “Automatique”. |
| Arrêt : | Lorsque l'appareil est sous tension, le mode sera toujours commuté vers Mode ECO dans “Arrêt”. |
■ Affichage à l'écran
Affichez la consommation électrique de cet apparéil à l'aide d'un compteur sur l'écran du téléviseur.
| Toujours actif : | Affichez toujours le compteur sur l'écran du téléviseur. |
| Automatique (Défaut) : | Affichez le compteur lors du changement de mode ou de volume. |
| Arrêt : | Ne pas afficher le compteur. |
Veille auto
Paramétrz de manière à ce que l'alimentation de l'appareil commute automatiquement en mode veille.
MAIN ZONE
Permet de régler la durée avant le basculement en mode veille auto lorsqu'aucun signal audio ou video n'est émis de cet apparéil. Avant que l' apparéil n'entre en mode veille, "Veille auto" s'affiche sur l'écran de l' apparéil, ainsi que sur l'écran du menu.
| 60 min : | L'appareil passe en mode veille au bout de 60 minutes. |
| 30 min : | L'appareil passe en mode veille au bout de 30 minutes. |
| 15 min (Défaut) : | L'appareil passe en mode veille au bout de 15 minutes. |
| Arrêt : | L'appareil ne passes pas automatiquement au mode veille. |
ZONE2
Lorsqu'il n'y a aucune opération pendant une certaine période de temps définie ici, l'appareil se met automatiquement hors tension même s'il y a une entrée audio ou video.
| 8 heures : | Met la ZONE2 en état de veille au bout d'environ 8 heures. |
| 4 heures : | Met la ZONE2 en état de veille au bout d'environ 4 heures. |
| 2 heures : | Met la ZONE2 en état de veille au bout d'environ 2 heures. |
| Arrêt
(Défaut) : | Ne met pas automatiquement la ZONE2 en état de veille. |
Émetteur Bluetooth
Configurez I'emetreur Bluetooth de cet apparéil.
Réglé pour utiliser un casque Bluetooth pour écouter le son produit dans la MAIN ZONE.
Émetteurs
Permet d'activer/de désactiver l'émetteur Bluetooth.
| Arrêt
(Défaut): | Permet de désactiver la fonction
d'émetteur Bluetooth. |
| Marche: | Permet d'activer la fonction d'émetteur
Bluetooth. |
Mode de sortie
Permet de selectionner la methode de sortie audio.
| Bluetooth + HP
(Valeur par défaut): | Le son est transmis au casque Bluetooth et aux enceintes de la zone principale. |
| Bluetooth uniquement: | Le son est transmis uniquement au casque Bluetooth. |
Appareil raccordé
Affiche le péripérisque Bluetooth connecté à cet apparéil.
■ Listedespheriques
Les appareils disponibles sont affichés dans la liste dés que vous démarrez le mode de jumelage sur les écouteurs Bluetooth que vous souhaitez connecter. Sélectionnez vos écouteurs Bluetooth dans la liste pour les jumeler.
Cet apparéil ne peut être juméle qu'avac un seul casque Bluetooth à la fois. Toutefois, il est possible d'enregistrer jusqu'à 8 casques Bluetooth. Commutez entre les apparéils enregistrés depuis Listede des périhériques dans le menu de configuration "Émetteur Bluetooth". Pour supprimer de la liste un apparéil Bluetooth enregistré, utilisez les boutons pour le sélectionner, puis appuyez sur le bouton OPTION et sélectionnez "Oubliez cet apparéil".

- "Mode de sortie" peut également être configuré à partir de "Émetteur Bluetooth" dans le menu d'options.
- Les enceintes Bluetooth compatibles avec le profil A2DP peuvent être connectées en suivant les mêmes étapes que pour connecter un casque Bluetooth.
REMARQUE
- Les fonctions d'emetteur et de recepteur Bluetooth ne peuvent pas ete utilisées simultanement. Les parametres de cette menu ne sont pas disponibles lorsque vous ecoutez de la musique sur un periphérique Bluetooth dans une zone.
- Mème lorsque “Émetteurs” est rédigé sur “Marche”, vous pouvez appuyer sur Bluetooth sur la télécommande pour sélectionner la source “Bluetooth” et activer la fonction de récepteur Bluetooth. Pour écouter de la musique stockée sur des péripériques Bluetooth, tels que les smartphones sur cet apparéil, appuyez sur Bluetooth sur la télécommande pour commuter la source d'entrée sur Bluetooth, puis reconnectçez le péripérique Bluetooth.
- Les paramètres du menu pour l'émetteur Bluetooth ne sont pas disponibles lorsque cet apparéil est regroupé dans l'application HEOS.
Config. de ZONE2
Permet de régler les paramètres de lecture audio avec un système ZONE2.

- Les valeurs régées pour “Liminé volume” et “Vol. allumage” s'affichent en fonction du réglage spécifique pour le volume “Échelle”. (19 p. 169)
Graves
Réglage des graves.
-10 dB - +10 dB (Défaut: 0 dB)
■Aigus
Réglage des aiguus.
-10 dB - +10 dB (Défaut : 0 dB)
Filtre salle-haut
Réglages de la coupure des basse pour réduire la distorsion des basses.
Marche : Les basses sont attenuées.
Arrêt
(Defaut) :
Les basses ne sont pas attenuées.
Niveau canal Gauche
Ajuster le niveau du canal gauche.
-12 dB - +12 dB (Défaut: 0 dB)
Niveau canal Droit
Ajuster le niveau du canal droit.
-12 dB - +12 dB (Défaut : 0 dB)
Canal
Régler si la lecture est en stéreo ou monaurale.
Stereo
(Defaut) :
Selectionner la sortie stéreo.
Mono :
Selectionner la sortie monaurale.
Audio HDMI
Sélectionne le format du signal audio pour la lecture d'une source HDMI dans ZONE2.
| Via
(Défaut): | Le signal audio HDMI passé par cette unité vers l'ordinateil dans la ZONE2. |
| PCM: | L'entrée du signal audio HDMI dans cetordinateil est convertie en un signal PCM qui peut être émis des bornes ZONE2 |
| PRE OUT ou des bornes des enceintes. |
Niveau volume
Réglez le niveau de sortie du volume.
| Variable
(Défaut): | Le volume peut être régé. |
| 1 - 98
(-79 dB - 18 dB): | Le volume est fixé au niveau souhaité.
Impossible de régler le volume avec la télécommande. |

- La valeur en décibels (dB) s'affiche lorsque le paramétrage "Échelle" est défini sur "-79.5 dB - 18.0 dB". (p. 169)
Limits volume
Réglages de volume maximum.
| 60 - 80 (-20 dB - 0 dB)
(Défaut : 70 (-10 dB)) |
| Arrêt : | Ne pas utiliser de volume maximum. |

- Cette option peut être sélectionnée lorsque "Niveau volume" est définir sur "Variable". (p. 235)
- La valeur en décibels (dB) s'affiche lorsque le paramétrage "Échelle" est défini sur "-79.5 dB - 18.0 dB". (p. 169)
Vol. allumage
Définir le volume à la mise en marche de l'appareil.
| Dernière
(Défaut): | Utiliser les réglages mémorisés à partir de la dernière session. |
| Sourdine: | Toujahours passer en sourdine au démarrage de l'appareil. |
| 1-98
(-79 dB - 18 dB): | Le volume est régé au niveau défini. |

- Cette option peut être sélectionnée lorsque "Niveau volume" est définir sur "Variable". (p. 235)
- La valeur en décibels (dB) s'affiche lorsque le paramétrage "Échelle" est défini sur "-79.5 dB - 18.0 dB". (p. 169)
■ Niveau sourdine
Régler le niveau d'atténuation pendant la mise en sourdine.
| Complet
(Défaut) : | Le son est complètement coupé. |
| -40 dB: | Le son est abaisse de 40 dB. |
| -20 dB: | Le son est abaisse de 20 dB. |
Renommer zone
Changez le titre d'affichage de chaque zone selon votreCHOIX.
MAIN ZONE / ZONE2
| Param. défaut : | Le réglage par défaut est restauré pour éditer le nom de zone. |

- Vous pouvez entre jusqu'à 10 caractères.
Sélect.Rapid.Nom
Changez le nom de sélection rapide qui s'affiche sur l'écran du téléviseur pour celui que vous préférez.
Selct. rapide 1 / Select. rapide 2 / Select. rapide 3 / Select. rapide 4
Param. défaut :
Le réglage par défaut est restauré pour éoperator le nom de seLECTION rapide.

- Vous pouvez entre jusqu'à 16 caractères.
Sortie Trigger
Sélectionnez les conditions d'activation du déclenchement.
Pour des détails sur la manière de connecter les prise TRIGGER OUT, voir "Borne TRIGGER OUT" (p. 78).
Lors du réglage de la zone (MAIN ZONE / ZONE2)
L'activation de la Sortie Trigger se fait par l'intérimédiaire d'un lien à l'alimentation de la zone régée sur "Marche".
Lors du réglage de la source d'entrée
Activez le déclenchement si la source d'entrée régée sur "Marche" est sélectionnée.
Lors du réglage pour le moniteur HDMI
Activez le trigger si le moniteur HDMI régle sur "Marche" est sélectionné.
| Marche : | Activez le Trigger dans ce mode. |
| - - - : | N'activez pas le Trigger dans ce mode. |
Afficheur façade
Permet de régler les paramètres relatifs à l'afficheur.
Attenuateur
Régler la luminosité d'affichage de cet apparéil.
| Clair
(Défaut) : | Luminosité d'affichage normale. |
| Attenuer : | Luminosité d'affichage réduite. |
| Sombre : | Luminosité très faible. |
| Arrêt : | Désactiver l'affichage. |

- Vous pouvez également ajuster l'affichage en tournant la molette DIMMER sur l'appareil principal.
Micrologiciel
Permet de vérifier les dernières informations micrologicielles relatives aux mises à jour et mises à niveau, demettre à jour le micrologiciel et de régler l'affichage des messages de notification pour les mises à niveau.
Vérifier mise à jour
Vérifier pour les mises à jour du micrologiciel.
Le micrologiciel peut être mis à jour si la mise à jour du micrologiciel a été publiée.
| MàjTTY: | Effectuez le processus de mise à jour. Lorsque la mise à jour démarre, l'écran de menu se ferme. Pendant la mise à jour, la progression s'affiche sur l'écran. |
Metre à jour plus tard : Mettre à jour plus tard.

- Cet apparéil relance automatiquement la mise à jour si la mise à jour échoue. S'il n'est pas possible d'effectuer encore une mise à jour, le message "Update Error" apparait sur l'affichage, suivi de l'un des messages suivants. Consultez "Dépistage des pannes" - "Messages d'erreur de mise à jour/mise à niveau" pour de l'information sur les messages d'erreur de mise à jour. (p. 269) Vérifiez les conditions en fonction du message et réessayez d'effectuer la mise à jour.
- Ce menu ne peut pas être sélectionné lorsque "Autorise mise à jour" est régé sur "Arrêt".
■ Mise à jour auto.
Active les Mises à Jour Automatiques pour que les futures mises à jour soient téléchargees et installées automatiquement lors de la mise en voirde l'appareil.
Mise à jour auto.
Cet apparéil fera automatiquement la mise à jour la plus réçente en micrologiciel lors de sa mise en voille.
| Marché : | Active les Mises à Jour Automatiques. |
| Arrêt
(Défaut) : | Désactive les Mises à Jour
Automatiques. |
Fuseau hora
Changer le fuseau hora.
Définir le fuseau horsaire qui correspond à votre zone géographique.

- Ce menu ne peut pas être sélectionné lorsque "Autorise mise à jour" est régé sur "Arrêt".
Autorise mise à jour
Activer ou désactiver les mises à jour et mises à niveau pour cet apparéil.
| Marche
(Défaut) : | Permet à cet apparéil de receivevoir des mises à jour et mises à niveau. |
| Arrêt : | Empêche cet apparéil de receivevoir des mises à jour et mises à niveau. |

- Ce paramètre cause des incompatibilités entre l'appareil et HEOS App.
■ Notifi. de mise à niv.
Lorsque la mise à niveau la plus récente est disponible, un message de notification s'affiche sur l'écran du téléviseur à la mise sous tension. Le message d'information s'affiche pendant environ 40 secondes lorsque l'appareil est mis sous tension.
| Marché
(Défaut) : | Affiche le message de mise à niveau. |
| Arrêt : | N'affiche pas le message de mise à niveau. |

- Ce menu ne peut pas être sélectionné lorsque "Autorise mise à jour" est régle sur "Arrêt".
Ajoutez nouvelle option
Permet d'afficher les nouvelles fonctions qui peuvent etre telerchéges sur cet appeareil et d'effectuer la mise a niveau.
| Ver. mise à jour : | Permet d'afficher les éléments àmettre àniveau. |
| Statut mise à niv. : | Permet d'afficher une liste des fonctionssupplémentaires disponibles grâce à lamise à niveau. |
| Mise à niveau : | Lancer le processus demettre à niveau.Lorsque la mise à niveau démarre,l'écran de menu se ferme. Pendant lamise à niveau, la durée éçoulée s'affiche. |

- Les informations concernant les fonctions "Mettre à jour" et "Ajoutez nouvelle option" seront publiées sur le site Internet Denon chaque fois que des plans les concernant seront arrêtés. Voir le site Web de Denon pour plus de détails concernant les mises à niveau.
- Quand la procédure est terminée, "Enregistré" s'affiche dans ce menu et les mises à niveau peuvent être exécutées. Si la procédure n'a pas été effectuee, "--------" s'affiche.
Le code ID indiqué sur cet écran est nécessaire pour effectuer cette procédure.
Le code ID peut également être affiché en appuyant sur les touches SOUND MODE et STATUS de l'appareil principal et en les maintainant enforcées pendant au moins 3 secondes.
- Si la mise à niveau a échoué, le message "Upgrade Error" apparait sur l'affichage. Consultez "Dépistage des pannes" - "Messages d'erreur de mise à jour/mise à niveau" pour de l'information sur les messages d'erreur de mise à niveau. (p. 269)
Vérifie les réglages et l'environnement réseau puis effectuez à nouveau la mise à niveau.
- Ce menu ne peut pas être sélectionné lorsque "Autorise mise à jour" est régé sur "Arrêt".
Remarques concernant l'utilisation de "Mettre à jour" et "Ajoutez nouvelle option"
- Pour utiliser ces fonctions, votre système doit avoir les spécifications et les réglages nécessaires à une connexion Internet. (p. 75)
- Ne coupez pas l'alimentation tant que l'actualisation ou mise à niveau n'est pas terminée.
- Environ 1 heures est nécessaire pour que la procédure de mise à jour/ mise à niveau soit terminée.
- Lorsque l'actualisation / mise à niveau démarre, les opérations normales de cet apparéil ne peuvent plus être effectuées jusqu'à la fin de laactualisation / mise à niveau. Dans certains, cas, l'opération peut réinitialiser les données sauvégardées notamment pour les paramètres de cet apparéil.
- En cas d'éché c de la mise à jour ou de la mise à niveau, appuyez sur la touche de l'appareil et maintenez-la enfoncée pendant plus de 5 secondes, ou bien débranchez le cordon d'alimentation et rebranchez-le. Àpres environ 1 minute, "Please wait" apparait à l'écran et la mise à jour redémarre. Si l'erreur se repête, vérifie l'environnement du réseau.
Affichage d'informations sur les réglages cet apparéil, les signaux d'entrée etc.
Audio
Affiche les informations audio pour MAIN ZONE.
| Mode son : | Le mode audio actif s'affiche. |
| Signal d'entrée : | Le type de signal d'entrée s'affiche. |
| Format : | Le nombre de canaux de signal d'entrée (présence de canaux avant, surround, LFE) s'affiche. |
| Fréq. échantillonage . : | La fréquence d'échantillonnage du signal d'entrée s'affiche. |
| Décalage : | La valeur de correction de la normalisation des dialogues s'affiche. |
| Drapeau : | Il s'affiche en entrant les signaux avec canal surround arrêtre. “MATRIX” s'affiche avec les signaux d'entrée DTS-ES Matrix, “DISCRETE” avec les signaux DTS-ES Discrete. |

Vidéo
Affiche les signaux d'entrée/de sortie HDMI et les informations du moniteur HDMI pour MAIN ZONE.
InfosignalHDMI
Résolutions / HDR / Espace couleurs / Profondeur pixel / ALLM / QMS / QFT
Moniteur HDMI 1 / Moniteur HDMI 2
Interface / HDR / Résoluti. support. / Fonctions améliorées

- A ou B peut être affiché à la fin de la résolution. A représentée la video non compressée et B représentée la video compressée.

ZONE
Permet d'afficher des infos sur les réglages actuels.
| MAIN ZONE : | Cet élément présente des_infos sur les régles de la MAIN ZONE. L'information affichée est différente en fonction de la source d'entrée. |
| ZONE2 : | Cet élément présente des informations sur les régles de la ZONE2. |
Micrologiciel
| Version : | Affiche les informations relatives au micrologiciel actuel. |
| DTS Version : | Affiche la version DTS en cours. |
■ Notification
Affiche et règle les notifications.
De même, permet d'afficher ou non la notification lorsque l'alimentation est sous tension.
Alertes de notification
| Marche
(Défaut) : | Des messages de notification sont affichés. |
| Arrêt : | Les messages de notification ne sont pas affichés. |

- Appuyez sur INFO sur la télécommande pour afficher le nom de la source actuelle, le volume, le nom du mode audio et d'autres informations dans la partie inférieure de l'écran.

Données d'utilisation
Pour nous aider à améliorer nos produits et le service client, Denon collecte des informations de manière anonyme sur la manière dont vous utilisez votre(APpeareil (telles que les sources d'entrée,les modes audio et les réglages des enceintes féquement utilisés).
Denon ne transmettra jamais les informations collectées à des parties hierces.
| Oui : | Ils fournissent des informations sur l'état du fonctionnement de cet apparéil. |
| Non : | Ne fournit pas d'informations sur l'état de fonctionnement de cet apparéil. |
Sauveg. & charger
Enregistrez et restaurez le paramétrage du périphérique à l'aide d'un dispositif mémoire USB.

- Utilisez un dispositif de mémoire USB qui dispose d'au moins 128 Mo d'espace libre et qui est formaté en FAT32. Il est possible que les données ne puissent s'Enregirter/se Charger correctement dans certains dispositifs de mémoire USB.
- L'Enregistrement/le Chargement des données peut prendre jusqu'à 10 minutes.
Ne coupez pas l'alimentation jusqu'à ce que le processus soit terminé.
Sauvegarden Configuration
Le paramétrage de l'appareil actuel est enregistré sur le dispositif mémoire USB.
Lorsque le paramétrage est enregistré correctement, "Saved" apparait sur l'écran et le fichier "config.avr" est créé sur le dispositif mémoire USB.

- Ne modifie pas le nom de fichier du fichier créé. Cela empêchera ainsi le fichier d'être reconnu comme un fichier de paramétrage lors de la restauration.
Le paramétrage enregistré sur le dispositif mémoire USB est restauré. Lorsque le paramétrage est correctement restauré, "Loaded" s'affiche sur l'écran et l'unité redémarre automatiquement.
Verrou de config.
Protection des régles contre toute modifications involontaire.
Verrouille
| Marché : | Activer la protection. |
| Arrêt
(Défaut) : | Désactiver la protection. |

Lorsque you annulez le réglage, mettez "Verrouillez" sur "Arrêt".
REMARQUE
- Lorsque "Verrouillez" est régèle sur "Marche", notamment de réglage ne s'affiche à l'exception de "Verrou de config".
Réinitialiser
Restaure le réglage aux valeurs d'usine par défaut.
Vous pouvez appliquer l'initialisation à l'ensemble des réglages de l'appareil ou aux réglages du réseau uniquement.
Tous les réglages
Tous les réglages sont réinitialisés aux valeurs d'usine par défaut.
Paramètres réseau
Les réglages du réseau sont réinitialisés aux valeurs d'usine par défaut.

- Avant de rétablit le paramétrage par défaut, utilisez la fonction "Sauveg. & charger" dans le menu pour enregistrer et restaurer les détails des divers paramétrages configurés de l'appareil. (p. 243)
- L'opération de "Réinitialiser" peut être également effectue par le biais de la touche sur l'appareil principal. Pour plus de détails sur la réinitialisation de tous les régles aux valeurs d'usine par défaut, voir "Réinitialisation des régles d'usine" (12 p. 270), et pour plus de détails sur la réinitialisation des réglage du réseau aux valeurs d'usine par défaut, voir "Réinitialisation des régles du réseau" (12 p. 271).
REMARQUE
- Ne débranchez pas l'alimentation, ni ne mettez l'appareil hors tension au cours de l'initialisation des réglages du réseau.
Limiter la zone d'opération avec la télécommande

Les opérations de ZONE2 peuvent être désactivées avec la télécommande.
1 Maintainenire enfoncé ZONE2 et SETUP.
Les touches MAIN et ZONE2 clignotent.
Annulation du paramétrage
1 Maintenez enfoncées ZONE2 et SETUP tout en configurant le paramétrage.
Les touches MAIN et ZONE2 clignotent et le paramétrage est annulé.
Contenu
Conseils
| Je souhaite que le volume ne soit pas trop fort par erreur | 247 |
| Je souhaite maintainir le volume au même niveau lorsque je mets l'appareil sous tension | 247 |
| Je souhaite avoir le subwoofer toujours en sortie audio | 247 |
| Je souhaite une meilleure clarté des voix dans les films | 247 |
| Je souhaite maintainir les basses et la clarté pendant la lecture à un niveau de volume faible | 247 |
| Je souhaite ajuster automatiquement la différence de niveau du volume dans le contenu, tel que la télévision et les films | 247 |
| Je souhaite régler l'environnement d'écoute optimisé après la modification de la configuration/position des enceintes ou la modification d'une enceinte pour une nouvelle | 248 |
| Je souhaite associier une réserve à la musique actuelle | 248 |
| Je souhaite Ignoreer les sources d'entrée inutilisées | 248 |
| Je souhaite profiter de la même musique dans toutes les zones de la maison, soit, etc. | 248 |
| Je souhaite minimiser le déliel des signaux videoo lorsque je joue à un jeu sur ma console deieux | 248 |
| Je souhaite utiliser cet apparéil à l'aide de la télécommande du télévisueur | 248 |
Dépistage des pannes
| L'alimentation ne se met pas sous/hors tension | 250 |
| Les opérations ne peuvent pas être effectuées via la télécommande | 251 |
| L'affichage sur cet apparéil n'affiche rien | 251 |
| Aucun son n'est émis | 252 |
| L'audio souhaité n'est pas émis | 253 |
| Le son est interrompu ou on entend des bruits | 256 |
| Aucune réserve ne s'affiche sur le téléviseur | 257 |
| L'écran du menu ne s'affiche pas sur le téléviseur | 259 |
| La couleur de l'écran du menu et le contenu des opérations affichées sur le téléviseur est différente de la normale | 259 |
| Impossible de dire AirPlay | 260 |
| Impossible de dire les dispositifs mémoire USB | 261 |
| Impossible de dire le Bluetooth | 262 |
| Impossible de dire la radio Internet | 264 |
| Impossible de dire les fichiers musiques sur le PC ou le NAS | 265 |
| Plusieurs services en ligne ne peuvent pas être lis | 266 |
| La fonction HDMI Contrôle ne fonctionne pas | 266 |
| Impossible de se connecter à un réseau local sans fil | 267 |
| Lors de l'utilisation de HDMI ZONE2, les dispositifs ne fonctionnent pas correctement | 268 |
| Messages d'erreur de mise à jour/mise à niveau | 269 |
Conseils
Je souhaite que le volume ne soit pas trop fort par erreur
- Reglez la limite supérieure du volume pour "Liminé volume" préalablement dans le menu. Ceci empêche des enfants ou d'autres personnes de trop augmenter le volume par erreur. Vous pouvez définir ceci pour chaque zone. ("Volume" (p. 169), "Liminé volume" (p. 235))
Je souhaite maintainir le volume au même niveau lorsque je mets l'appareil sous tension
- Par défaut, le réglage de volume lorsque l'alimentation a été préalablement réglée sur veille sur cet apparéil est appliquée à la prochaine mise sous tension sans aucune modification. Pour utiliser un niveau de volume fixe, réglez le niveau du volume à la mise sous tension pour "Vol. allumage" dans le menu. Vous pouvez définir ceci pour chaque zone. ("Volume" (R p. 169), "Vol. allumage" (R p. 235))
Je souhaite avoir le subwoofer toujours en sortie audio
- En fonction des signaux d'entrée et du mode audio, le subwoofer peut ne pas transmettre d'audio. Lorsque "Mode subwoofer" dans le menu est reglé sur "LFE+Main", vous pouze faire en sorte que le subwoofer transmette toujours de l'audio. (p. 219)
Je souhaite une meilleure clarté des voix dans les films
- Utilisez "Réglage niv Dialog" dans le menu pour ajuster le niveau ("Réglage niv Centrale"). (p. 160)
Je souhaite maintainir les basses et la clarté pendant la lecture à un niveau de volume faible
- Reglez "Dynamic EQ" dans le menu sur "Marche". Ce réglage corrige les caractéristiques de fréquence pour vous permettre de profiter d'un audio cristallin sans perte de basses même pendant la lecture à un faisible niveau de volume. (p. 171)
Je souhaite ajuster automatiquement la differenc de niveau du volume dans le contenu, tel que la television et les films
- Paramétrez l'options "Dynamic Volume" du menu. Les modifications du niveau du volume (entre les scènes calmes et les scènes bruyantes) dans les contenus lus sur le téléviseur ou dans les films sont automatiquement ajustés au niveau souhaité. (p. 172)
Je souhaite régler l'environnement d'écoute optimé après la modification de la configuration/position des enceintes ou la modification d'une enceinte pour une nouvelle
- Effectuez "Conf.Audyssey". Ceci optimise automatiquement les réglages des enceintes pour le nouvel environnement d'écoute. (p. 194)
Je souhaite associer une video à la musique actuelle
- Reglez "Selct. Video" dans le menu d'options sur Marche". Vou pouve associer la musie en cours avec la source video de voe choice a partir d'un decodeur ou d'un DVD, etc. tout en ecoutant de la musie depuis un CD, une cellule phono, HEOS Music, USB ou Bluetooth. (p. 118)
Je souhaite ignorer les sources d'entrée inutilisées
- Reglez les sources d'entrée sur "Masquer les sources" dans le menu. Ceci vous permet d'ignorer les sources d'entrée inutilisées lorsque vous faites pivoter la molette SOURCE SELECT de cet apparéil. (p. 193)
Je souhaite profiter de la même musique dans toutes les zones de la maison, soirée, etc.
- Reglez "Toutes zones stéreo" dans le menu d'options sur "Démarrer". Vous pouvez dire dans une autre piece (ZONE2) la musique qui est lue au même moment dans MAIN ZONE. (p. 120)
Je souhaite minimiser le délié des signaux video lorsque je joue à un jeu sur ma console de yeux
Lorsque la video est retardée par rapport aux fonctionsements des touches avec le contrôleur sur la console deieux,reglez "Mode video" dans le menu sur Jeu". (p. 183)
Je souhaite utiliser cet appareil à l'aide de la télécommande du téléviseur
-
Sélectionnez "AV Receiver" dans un menu du téléviseur tel que "Entrée" ou "Utiliser un apparéil HDMI raccordé". Le Menu intelligent de cet apparéil s'affiche sur le téléviseur. Vous pouvez utiliser ce Menu intelligent à l'aide de la télécommande de votre téléviseur.
-
La méthode de sélection diffère en fonction du téléviseur. Consultez le manuel de l'utilisateur de votre téléviseur pour plus de détails.
Je veux utiliser l'amplificateur de puissance externe sur le canal Front pour mon système d'enceintes à 11.1 canaux
- Reglez "Pré-sorties" sur "Avant" pour connecter votre amplificateur de puissance externe pour les canaux Front. (p. 211)
Dépistage des pannes
Si un problème se produit, vérifie d'abord les points suivants:
- Les connexions sont-elles correctes?
- L'appareil est-il utilisé conformément aux descriptions du manuel de l'utilisateur ?
- Les autres composants fonctionnent-ils correctement?

Si les etapes 1 a 3 ci-dessus n'améliorent pas le problème, redémarrer l'appareil peut améliorer le problème.
Continues d'appuyer sur la touche sur l'appareil jusqu'à ce que "Restart" s'affiche à l'écran, ou retirez et rebranche le cordon d'alimentation de l'appareil.
Si cet apparéil ne fonctionne pas correctement, vérifie les symptômes dans cette section.
Si les symptômes ne correspondent pas à l'un de ceux décrits ici, veuillez consulter votre revendeur, car cela pourrait être dû à un défaut dans cet apparéil. Dans ce cas, débranchez immédiatement l'alimentation et contactez le magasin où vous avez achété cet apparéil.
L'alimentation ne se met pas sous/hors tension
L'appareil ne s'allume pas.
- Vérifiez que la fiche d'alimentation est correctement introduite dans la prise murale. (p. 79)
L'appareil se met automatiquement hors tension.
- La minuterie sommeil est reglee. Mettez l'appareil sous tension. (p. 140)
- "Veille auto" est régle. "Veille auto" est déclenché lorsqu'aucune opération n'est effectué pendant un certain temps. Pour désactiver "Veille auto", définitisse l'options "Veille auto" du menu sur "Arrêt". (19 p. 232)
L'alimentation se met hors tension et l'indicateur d'alimentation clignote en rouge toutes les 2 secondes environ.
- En raison de la hausse de température dans cet apparéil, le circuit de protection fonctionne. Mettez l' apparéil hors tension, patientez une heures environ jusqu'à ce qu'il ait suffisamment refroidi. Puis, mettez l' apparéil à nouveau sous tension. (p. 291)
- Veuillez réinstaller cet apparéil dans un endroit bien ventilé.
L'appareil se met hors tension et l'indicateur d'alimentation clignote en rouge toutes les 0,5 secondes environ.
Vérifiez le branchement des enceintes. Le circuit de protection peut avoir été activé parce que les fil conducteurs du cable des enceintes ont été en contact les uns avec les autres ou un fil conducteur a été déconnecté de la borne et est entre en contact avec le panneau arrêté de cet apparéil. ÀpRES avoir débranché le cordon d'alimentation, réparez en retorsadant fermement le fil conducteur ou en remettant la borne en ordre, puis rebranchez le fil. (p. 37)
- Baissez le volume et mettez l'appareil à nouveau sous tension. (p. 81)
Le circuit de l'amplificateur de cet appeareil est defaillant. Debranchez le cordon d'alimentation et contactez notre centre de service client.
L'alimentation ne s'éteint pas même lorsque vous appuyez sur le bouton d'alimentation et que l'affichage indique “ZONE2 On”.
- L'alimentation de la ZONE2 est mise sur ON. Pourmettre hors tension l'alimentation de cet appeareil (veille),appuyez sur ZONE2 ON/OFF sur l'appareil, ou appuyez sur la touche POWER apres avoir appuyé sur la touche ZONE2 de la telecommande pourmettre hors tension I'alimentation de la ZONE2.
Les opérations ne peuvent pas etre effectuees via la telecommande
Les opérations ne peuvent pas etre effectuees via la telecommande.
- Les piles sont usées. Remplacez-les par des piles neuves. (p. 9)
- Faites fonctionner la télécommande à une distance d'environ 7 m de cet apparéil et à un angle de 30^ (p.9)
- Retirez tout obstacle se trouvant entre cet apparéil et la télécommande.
- Insérez les piles en respectant la polarité indiquée par les repères ⊕ et Θ. (19 p. 9)
- Le capteur de télécommande de l'appareil est exposé à une forte lumière (soleil, lampe fluorescente de type inverseur, etc.). Déplacez l'appareil afin que le capteur de télécommande ne soit plus exposé à une forte lumière.
- La zone cible de fonctionnement ne correspond pas au réglage de la zone spécifique sur la télécommande. Appuyez sur la touche MAIN ou ZONE2 pour sélectionner la zone de fonctionnement de la télécommande. (p. 159)
Lorsque you utilisez un dispositif video 3D, la telecommande de cet apparil peut ne pas fonctionner en raison des communications infrarouges entre les appareils (telles que des lunettes et un téléviseur pour l'affichage 3D). Dans ce cas, ajustez la direction des apparils avec la fonction de communications 3D et leur distance pour vous assurer qu'ils n'afectent pas le fonctionnement de la telecommande de cet apparil.
L'affichage sur cet apparéil n'affiche rien
L'écran est éteint.
- Paramétrez l'options "Attenuateur" du menu sur tout autre choix que "Arrêt". (p. 237)
- Lorsque le mode audio est reglé sur "Pure Direct", l'affichage est hors tension. (p. 125)
Aucun son n'estémis
Aucun son n'est transmis aux enceintes.
- Vérifiez les connexions de tous les appareils. (p. 37)
- Insérez complètement les cables de connexion.
Vérifiez que les bornes d'entrée et les bornes de sortie ne sont pas inversément reliées.
- Vérifiez l'etat des cables.
- Vérifiez que les cables d'enceintes sont correctement connectés. Vérifiez que les fils conducteurs des cables entrent en contact avec la partie métallique des bornes des enceints. (p. 37)
- Serrez fermement les bornes d'enceintes. Vérifiez les bornes des enceintes pour un éventuel relâchement. (p. 37)
- Verifiez qu'une source d'entrée correcte est selectionnée. (p. 81)
- Ajustez le volume. (p. 82)
Annulez le mode de sourdine. (p. 82)
- Verifiez le réglage de la borne d'entrée audio numérique. (p. 190)
- Vérifiez le réglage de sortie audio numérique sur le dispositif connecté. Sur certains dispositifs, la sortie audio numérique est réalisée pour être désactivée par défaut.
Lorsqu'un casque audio est branché dans la prise PHONES sur l'appareil principal, le son n'est pas emis par la borne d'enceintes et le connecteur PRE OUT.
- Le son est transmis à votre casque Bluetooth, mais pas aux enceintes ni aux pré-sorties lorsque “Mode de sortie” est régèle sur “Bluetooth uniquement”. Remplacez “Mode de sortie” par “Bluetooth + HP” pour sortir le son de votre casques Bluetooth ainsi que de vos enceintes ou pré-sorties. (p. 233)
Aucun son n'est transmis lors de l'utilisation de la connexion DVI-D.
Lorsque cet appareil est connecte a un dispositif equiped d'une borne DVI-D, aucun son n'est transmis. Effectuez une connexion audio séparée.
Aucun son ne sort lorsque l'entrée est définie sur Tuner.
- Cet apparéil n'est pas écipé d'un tuner FM/AM intégré. Connectez un tuner extérieur sur les entrées TUNER.
L'audio souhaité n'est pas émis
Le volume n'augmente pas.
Le volume maximal defini est trop faible. Reglez le volume maximal à l'aide de l'option "Limite" du menu. (p. 169)
Effectuez le traitement de la correction du volume approprié en fonction des réglages et du format de l'audio d'entrée, pour que le volume puisse ne pas atteindre la limite supérieure.
Le volume du casque Bluetooth ne diminue pas.
Le volume du casque Bluetooth ne peut etre regle a partir de cet apparieil. Utilisez un casque Bluetooth avec reglage du volume.
Aucun son n'est transmis lors de l'utilisation de la connexion HDMI.
- Vérifiez la connexion des connecteurs HDMI. (1 p. 65)
- Pour diffuser un flux audio HDMI par les enceintes, paramétrez l'option "Sortie audio HDMI" du menu sur "AVR". Pour transmettre du téléviseur, réglez "TV". (p. 177)
Lors de l'utilisation de la fonction HDMI Contrôle, vérifie que la sortie audio est reglee sur I'amplificateur AV sur le téléviseur. (p. 137)
Lorsqu'un téléviseur compatible avec la fonction eARC est connecté, le son du téléviseur n'est pas émis par le haut-parleur raccordé à cet apparéil.
- La configuration des paramètres de la fonction eARC peut être nécessaire en fonction du téléviseur compatible avec la fonction eARC que vous utilisez. Assurez-vous qu'eARC est configuré sur marche si ce réglage existe sur votre téléviseur. Pour plus d'informations, consultez le mode d'emploi de votre téléviseur.
- Assurez-vous que la source d'entrée de cet apparéil est "TV Audio".
- La fonction eARC n'est pas opérationnelle lorsque la borne d'entrée HDMI est régée sur la source d'entrée "TV Audio". Pour activer la fonction eARC, annulez le réglage de la borne d'entrée HDMI, puis redémarrez cet apparéil et le téléviseur. (p. 191)
Aucun son n'est transmis à une enceinte spécifique.
- Vérifiez que les câbles des enceintes sont correctement connectés.
- Vérifiez qu'une sélection autre que "Aucun" est réglée pour le réglage "Config. enceintes" dans le menu. (p. 212)
- Vérifiez le réglage "Mode affectation" dans le menu. (p. 205)
Lorsque le mode audio est "Stereo" et "Virtual", l'audio est uniquement transmis des enceintes avant et du subwoofer.
- Le son n'est pas émis par l'enceinte surround arrêté si "Virtualisateur de HP" est réglé sur "Marche" lorsque "Config. enceintes" - "Surr. arrêté" est réglé sur "1 enceinte" dans le menu. (p. 163)
Lorsque "Config. enceintes" - "Surr. arrriere" est reglé sur "2 enceintes", "Config. enceintes" - "Centrale" est reglé sur "Grande" ou "Petite", et le mode audio est reglé sur "IMAX DTS", le son surround est émis par l'enceinte surround arrrière. L'audio n'est pas sorti à partir du haut-parleur surround. (p. 213)
Aucun son n'est émis par le subwoofer.
Le son DTS n'est pas émis.
- Vérifiez que le réglage de sortie audio numérique sur le dispositif connecté est régle sur "DTS".
Pas de signal audio Dolby Atmos, Dolby TrueHD, DTS-HD, Dolby Digital Plus.
Effectuez les connexions HDMI. (p. 69)
- Vérifiez le réglage de sortie audio numérique sur le dispositif connecté. Sur certains dispositifs, "PCM" est régèle par défaut.
Il est impossible de selectionner le mode DTS Neural:X.
- Il est impossible de sélectionner DTS Neural:X lorsque vous utilisez le casque.
Le mode Dolby Surround ne peut pas etre selectionné.
- Le Dolby Surround ne peut pas etre selectionné lorsqu vous utilisez des écouteurs.
Impossible de selectionner IMAX DTS:X.
- IMAX DTS:X et IMAX DTS ne peuvent être sélectionnés, mais DTS:X et DTS peuvent être sélectionnés, lorsque le casque est utilisé.
Il n'est pas possible de selectionner d'autres modes audio que "Stereo" ou "Direct".
- Vous ne pouvez selectionner que "Stereo" ou "Direct" comme mode audio si vous entrez des signaux Headphone:X.
Audyssey MultEQ® XT32, Audyssey Dynamic EQ®, Audyssey Dynamic Volume® et Audyssey LFC™ ne peuvent pas être sélectionnés.
- Ces réglages ne peuvent pas être seLECTIONnés lorsque vous effectuez Conf. Audyssey®. (p. 194)
- Basculez sur un mode audio autre que "Direct" ou "Pure Direct". (p. 124)
Audysse Dm E, Aysdy Dynamic Vome et Aysdy LCTM ne pueent pas et re selectionnnes lssque le mode sonore est regle sur "DTS Virtual:X" ou socr que le mode sonore contient le nom " + Virtual:X".
- Ces régles ne peuvent pas être sélectionnés lors de l'utilisation d'écouteurs.
Impossible de selectionner "Restorer".
- Vérifiez que l'appareil recoit un signal analogique ou un signal PCM (Fréq. échantillonage=44,1/48 kHz). Pour la lecture des signaux multi-canaux tels que Dolby Digital ou les signaux surround DTS, la fonction "Restorer" est inopérante. (p. 167)
- Basculez sur un mode audio autre que "Direct" ou "Pure Direct". (p. 124)
Aucun son n'est émis de PRE OUT ou des enceintes pour ZONE2.
- Dans ZONE2, l'audio peut être lu lorsque l'entrée des signaux des bornes numériques (OPTICAL/COAXIAL) est au format PCM 2 canaux.
- Dans ZONE2, l'audio peut être lu lorsquè l'entrée des signaux de la borne HDMI est au format PCM 2 canaux. Pour lire l'audio dans ZONE2 sans tenir compte du format du signal d'entrée, réglez "Audio HDMI" dans le menu sur "PCM". En fonction du dispositif de lecture, l'audio peut ne pas être lu même avec ce réglage. Si tel est le cas, réglez le format audio sur "PCM (2ch)" sur le dispositif de lecture. (p. 235)
Lrs de l'ecoute de l'audio d'un periphérique Bluetooth en ZONE2, supprimez tout obstacle entre le periphérique Bluetooth et cet apparieil, et utilisez-le aune distance d'environ 30 m.
- Cet apparil ne peut pas modifier le mode sonore ou les parametes du menu audio pour la sortie audio vers le casque Bluetooth.
Le son est interrompu ou on entend des bruits
Pendant la lecture de la radio Internet ou d'un dispositif mémoire USB, l'audio est occasionnellement interrompu.
Lorsque la vitesse de transfert du dispositif mémoire USB est faible, l'audio peut être occasionnellement interrompu.
- La vitesse de communication réseau est lente ou la station radio est occupée.
Lorsque you passez un appel sur un iPhone, du bruit se produit dans la sortie audio de cet apparéil.
- Lorsque you passez un appel, restez à une distance de 20 cm minimum entre l'iPhone et cet apparéil.
Lessonssemblontdistordus.
Baissez le volume. (p. 82)
- Reglez "Arrêt" sur "Mode ECO". Lorsque "Marche" ou "Automatique" est en "Mode ECO", l'audio peut être distordu lorsque le volume de lecture est élevé. (p. 229)
Le son est coupé lors de l'utilisation d'une connexion Wi-Fi.
La bande de frquence utilisee par le reseau local sans fil est egalement utilisee par les four s micro-ondes, les telephones sans fil, les contrroleurs de yeux sans fil aisi que dautres appareils du reseau local sans fil. L'utilisation de ces appareils en meme temps que cet apparieil peut provoquer une coupure de la lecture en raison d'une interfeere electronique. Il est possible de remedier aux coupures de lecture en utilisant les methodes suivantes. (p. 75)
- Installez les apparèils qui provoquent des interférences à l'écart de cet apparèil.
- Mettez hors tension les appareils qui provoquent des interférences.
- Modifiez les paramètres du canal du routeur auquel cet appeareil est connecté. (Consultez le manuel d'instruction du routeur sans fil pour plus de détails sur la manière de changer le canal.)
- Passez à une connexion LAN cable.
- Notamment lors de la lecture de gros fichiers musicaux, en fonction de votre environnement de réseau local sans fil, le son pendant la lecture peut être interrompu. Dans ce cas, effectuez une connexion LAN cable. (p. 222)
Aucune video ne s'affiche sur le téléviseur
Aucune image ne s'affiche.
- Vérifiez les connexions de tous les apparciels. (p. 65)
- Insérez complètement les câbles de connexion.
- Vérifiez que les bornes d'entrée et les bornes de sortie ne sont pas inversément reliées.
- Vérifiez l'etat des cables.
- Faites correspondre les réglages d'entrée à la borne d'entrée du téléviseur connecté à cet apparéil. (p. 190)
- Vérifiez que la source d'entrée correcte est selectionnée. (p. 81)
- Verifiez le réglage de la borne d'entrée video. (p. 190)
- Vérifiez que la résolution du lecteur correspond à celle du téléviseur. (p. 241)
- Vérifiez que le téléviseur est compatible avec le système de protection des droits d'auteur (HDCP). Si l'appareil est connecté à un matériel non compatible avec le système HDCP, le signal video ne sera pas correctement transmis. (p. 276)
- Pour profiter d'un contenu dont le copyright est protégé par HDCP 2.2 ou HDCP 2.3, utilisez un appeareil de lecture et un téléviseur compatibles HDCP 2.2 ou HDCP 2.3.
- Pour dire une video 4K utilisez un "High Speed HDMI Cable" ou un "High Speed HDMI Cable with Ethernet". Pour obtenir une plus grande fidélité avec les videos 4K, il est recommendé d'utiliser un "Premium High Speed HDMI Cables" ou un "Premium High Speed HDMI Cables with Ethernet" possedant une étiquette de cable mentionnant HDMI Premium Certified Cable sur l'emballage du produit.
- Utilisez un "Ultra High Speed 48 Gbps HDMI cable" pour profiter d'une video 8K ou 4K 120 Hz.
Aucune video ne s'affiche sur le téléviseur avec la connexion DVI-D.
- Avec la connexion DVI-D, sur certaines associations de dispositifs, les dispositifs peuvent ne pas fonctionner correctement en raison de la protection de copyright (HDCP). (p. 276)
La video en cours de lecture ne s'affichera pas sur l'arriere-plan du menu lorsque le menu est utilisé pendant la lecture des signaux videou suivants.
- Certaines images de contenu video 3D
- Images de résolution d'ordinateur (exemple : VGA)
- Video ayant un format d'image autre que 16:9 ou 4:3
- Video 4K ou 8K
- Certains types de signaux HDR
- Certains types de contenu de yeux
- Video compressée
Lors de l'utilisation de HDMI ZONE2, la sortie video dans MAIN ZONE est interrompue.
Lorsque ZONE2 fonctionne avec la meme source d'entree selectionnee pour MAIN ZONE et ZONE2, la video dans MAIN ZONE peut etre interrompue.
L'ecran du menu s'affiche uniquement sur cet apparéil et un téléviseur connecté par cable HDMI. Si cet apparéil est connecté à un téléviseur au moyen d'une borne de sortie video différente, vous pouvez l'utiliser pendant que vous regardez l'écran sur cet apparéil.
- Les informations d'etat ne s'afficheront pas sur la TV lorsque les signaux video suivants sont en cours de lecture.
- Certaines images de contenu video 3D
- Images de résolution d'ordinateur (exemple : VGA)
- Video ayant un format d'image autre que 16:9 ou 4:3
- Certains types de signaux HDR
- Certains types de contenu de yeux
- Video compressée
Lorsqu'une video 2D est convertie en video 3D sur le téléviseur, l'ecran de menu ou l'ecran d'information de statut ne s'affiche pas correctement. (p. 242)
- En mode de lecture pure direct, l'écran de menu ou l'écran d'informations d'état ne s'affiche pas. Basculez sur un mode audio autre que le mode pure direct. (p. 123)
- Définissez le réglage "Format TV" dans le menu sur une seLECTION appropriée pour le téléviseur. (p. 189)
L'execution d'opérations sur cet appeareil pendant la lecture d'un signal Dolby Vision peut provoquer une variation de l'affichage de la couleur de I'écran du menu et du contenu des opérations. Il s'agit d'une caractéristique du signal Dolby Vision et non d'un dysfonctionnement.
Impossible de lire AirPlay
L'icône AirPlay n' apparait pas dans iTunes ou sur l'iPhone / iPod touch / iPad.
- Cet apparéil et l'ordinateur ou l'iPhone / iPod touch / iPad ne sont pas connectés au même réseau (LAN). Connectez-le au même réseau (LAN) que cet apparéil. (p. 75)
Le micrologiciel sur iTunes / iPhone / iPod touch / iPad n'est pas compatible avec AirPlay. Mettez a jour le micrologiciel à la version la plus récente.
Pas de signal audio.
- Le volume sur iTunes / iPhone / iPod touch / iPad est régé au niveau minimum. Le volume sur iTunes / iPhone / iPod touch / iPad est lié au volume sur cet apparéil. Définissez un niveau de volume approprié.
- La lecture AirPlay ne s'effectue pas ou cet apparéil n'est pas sélectionné. Cliquez sur l'icone AirPlay sur l'écran iTunes ou de l'iPhone / iPod touch / iPad et sélectionnéz cet apparéil. (p. 110)
L'audio est interrompu pendant la lecture AirPlay sur l'iPhone / iPod touch / iPad.
- Quittez l'application executée en arrêtre-plan de l'iPhone/iPod touch/iPad, puis utilisez AirPlay pour dire vos fichiers.
- Certains facteurs externes peuvent affecter la connexion sans fil. Modifiez l'environnement réseau en prénant des mesures, telles que raccourcir la distance du point d'accès LAN sans fil.
iTunes ne peut pas etre lu via la telecommande.
- Activez le réglage "Autoriser la commande audio d'iTunes à partir de haut-parleurs distants" sur iTunes. Ensuite, vous pouvez lancer les opérations de lecture, pause et de saut via la télécommande.
Impossible de dire les dispositifs mémoire USB
Le dispositif mémoire USB n'est pas reconnu.
- Déconnectez et reconnectpez le dispositif mémoire USB. (19 p. 74)
- Les dispositifs de mémoire USB compatibles avec une classe de stockage de masse sont pris en charge.
- Cet apparéil ne prend pas en charge une connexion via un hub USB. Connectez le dispositif mémoire USB directement au port USB.
- Le périphérique de stockage USB doit être formaté en "FAT32" ou "NTFS".
- Il n'est pas garanti que tous les dispositifs mémoire USB fonctionnent. Certains dispositifs mémoire USB ne sont pas reconnnus. Lors de l'utilisation d'un type de lecteur de disque dur portable compatible avec la connexion USB qui nécessite l'alimentation d'un adaptateur CA, utilisez l'adaptateur CA fourni avec le disque dur.
Les fichiers sur le dispositif mémoire USB ne s'affichent pas.
- Les fichiers d'un type non pris en charge par cet apparéil ne s'affichent pas. (R 83)
- Cet apparéil est capable d'afficher des fichiers dans un maximum de huit niveaux de dossiers. Un maximum de 5000 fichiers (dossiers) peut aussi être affchéé pour chaque niveau. Modifiez la structure de dossiers du dispositif mémoire USB.
Lorsque plusieurs partitions existent sur le dispositif mémoire USB, seuils les fichiers sur la première partition s'affichent.
Les péripériques iOS et Android ne sont pas reconnus.
Le port USB de cet apparéil ne prend pas en charge la lecture depuis des périhériques iOS et Android.
Impossible de dire les fichiers contenus sur un dispositif mémoire USB.
- Les fichiers sont créés à un format qui n'est pas pris en charge par cet apparéil. Vérifiez que les formats sont pris en charge par cet apparéil. (p. 279)
- Vous tentez de dire un fjichier protégé. Les fjichiers protégés ne peuvent pas être lus sur cet apparéil.
- La lecture risque de ne pas se faire si la taille du fichier de l'album dépasse 2 MB.
Impossible de lire le Bluetooth
Les péripériques Bluetooth ne peuvent pas être connectés à cet apparéil.
- La fonction Bluetooth du périhérique Bluetooth n'a pas eté activée. Voir le manuel de l'utilisateur du périhérique Bluetooth pour activer la fonction Bluetooth.
- Amenez le pérophérique Bluetooth à proximé de cet apparéil.
- Il est impossible de connecter le péripérisque Bluetooth avec cet apparéil s'il n'est pas compatible avec le profil A2DP.
- Mettez le périphérique Bluetooth hors tension puis sous tension, et ensuite essayez à nouveau.
Il est impossible de connecter des smartphones et autres appareils Bluetooth.
- Il est impossible de connecter des smartphones et autres appareils Bluetooth lorsque “Émetteurs” est configuré sur “Marche”. Appuyez sur la touche Bluetooth de la télécommande pour commuter la source d'entrée sur Bluetooth, puis connectez l'appareil. (p. 233)
Impossible de connecter des écouteurs Bluetooth.
- Rapprochez le casque Bluetooth de cet apparéil.
- Mettez le casque Bluetooth hors tension puis sous tension, et ensuite essayez à nouveau.
- Accédez à “Général” - “Émetteur Bluetooth”, et configurez “Émetteurs” sur “Marche” dans le menu. (p. 233)
- Assurez-vous que cet apparéil n'est pas déjà connecté à un autre casque Bluetooth. Vérifie le casque Bluetooth actuellément connecté en appuyant sur INFO sur la télécommande ou sur le bouton STATUS de l'appareil.
Déconnectez le casque Bluetooth connecté avant de connecter celui que vous pouze utiliser.
- Les écouteurs Bluetooth ne peuvent pas être connectés si Bluetooth est utilisé comme source d'entrée dans une zone.
Le casque Bluetooth ne peut pas etre connecté si cet apparil est regrouped dans l'application HEOS. Retirez cet apparil du groupe pour permettre la connexion du casque Bluetooth.
Le casque Bluetooth ne peut pas connecter à cet apparéil s'il n'est pas compatible avec le profil A2DP.
- La connexion et le fonctionnement ne sont pas garantis pour tous les appareils compatibles Bluetooth.
- Cet apparéil ne peut se connecter qu'à un seul casque Bluetooth à la fois. Toutefois, il est possible d'enregistrer jusqu'à 8 casques Bluetooth. Vous pouvez commuter entre des apparéils enregistrés depuis “Liste des périhériques” dans le menu “Émetteur Bluetooth”. (p. 233)
Le son est coupé.
- Amenez le périphérique Bluetooth à proximé de cet appareil.
- Supprimez tout obstacle entre le périphérique Bluetooth et cet apparéil.
- Pour éviter les interférences electromagnétiques, placez cet apparéil à l'écart des jours à micro-ondes, des péripériques connectés via réseau local sans fil et d'autres péripériques Bluetooth.
- Reconnectez le périhérique Bluetooth.
Le son est coupé ou un bruit se produit lors de l'utilisation d'un casque Bluetooth.
- Rapprochez le casque Bluetooth de cet apparéil.
- Supprimez tout obstacle entre le casque Bluetooth et cet apparéil.
- Reconnectez le casque Bluetooth.
- Pour éviter les interférences electromagnétiques, placez cet apparéil à l'écart des jours à micro-ondes, des péripériques connectés via réseau local sans fil et d'autres péripériques Bluetooth.
- Nous vous recommendons d'utiliser un LAN cable pour connecter cet apparéil et d'autres apparéils.
- Le Bluetooth transmet sur la bande de 2,4 GHz, ce qui peut interférer avec le Wi-Fi transmis sur cette bande. Connectez cet apparéil et d'autres apparéils au réseau Wi-Fi sur une bande de 5 GHz si vous routeur Wi-Fi le permet.
Le son est en retard sur mon casque Bluetooth.
- Cet apparéil ne peut pas régler le retard audio sur le casque Bluetooth.
Impossible de dire la radio Internet
Aucune liste des stations ne s'affiche.
Le cable LAN n'est pas correctement connecté ou le réseau est déconnecté. Vérifiez l'etat de la connexion. (p. 75)
- Effectuez le mode de diagnostic réseau.
Impossible de lore la Radio Internet.
- La station de radio sélectionnée est à un format qui n'est pas pris en charge par cet apparéil. Les formats qui peuvent être lus sur cet apparéil sont les formats MP3, WMA et AAC. (p. 282)
- La fonction de pare-feu est activée sur le routeur. Vérifiez le réglage du pare-feu.
L'adresse IP n'est pas correctement reglee. (p. 224)
- Vérifiez si le routeur est sous tension.
- Pour obtenir l'adresse IP automatiquement, activez la fonction du serveur DHCP sur le routeur. De même, réglez le réglage sur "Marche" sur cet appeareil. (p. 224)
- Pour obtenir l'adresse IP manuellement, reglez l'adresse IP sur cet appeareil. (p. 224)
- Certaines stations radio émettent en silence pendant certaines périodes. Dans ce cas, aucun son n'est transmis. Patientez un peu et sélectionné la même station radio ou Sélectionnéz une autre station radio. (p. 95)
- La station radio selectionnée n'est pas en service. Sélectionnez une station radio en service.
Impossible de se connecter aux stations radio favorites.
- La station radio n'est pas en service en ce moment. Enregistrez les stations radio en service.
Impossible de dire les fichiers musiques sur le PC ou le NAS
Impossible de litre les fichiers contenus sur un ordinateur.
- Les fichiers sont enregistrés dans un format incompatible. Enregistrez les fichiers dans un format compatible. (p. 281)
- Les fichiers protégés ne peuvent pas être lus sur cet apparéil.
- Le port USB de cet appareil ne peut pas etre utiliser pour le branchement d'un ordinateur.
- Les paramètres de partage média sur le serveur ou NAS ne prennant pas en charge cet apparéil. Changez les paramètres pour la prise en charge de cet apparéil. Pour plus de détails, voir le manuel de l'utilisateur fourni avec le serveur ou NAS.
Impossible de trouver le serveur ou de s'y connecter.
Le pare-feu de l'ordinateur ou du routeur est activé. Vérifiez les réglages du pare-feu de l'ordinateur ou du routeur.
L'ordinateur n'est pas activé. Mettez l'ordinateur en marche.
- Le serveur n'est pas actif. Activez le serveur.
L'adresse IP de cet appeareil est incorrecte. Verifiez l'adresse IP de cet appeareil. (p. 221)
Impossible de dire les fichiers musiques sur le PC.
- Meme si le PC est connecté à la port USB de cet apparéil, les fichiers musicaux ne peuvent pas etre lus. Connectez le PC de cet apparéil via le réseau. (p. 75)
Les fichiers sur le PC ou le NAS s'afficht.
- Les fichiers d'un type non pris en charge par cet appeareil ne s'affichent pas. (p. 281)
Impossible de dire la musique continue sur un stockage NAS.
Si you utilisez un stockage NAS conforme à la norme DLNA, activez la fonction du serveur DLNA dans les parametes du stockage NAS.
- Sinon, lisez la musique via un ordinateur. Définissez la fonction de partage de fichiers multimédias de Windows Media Player et ajoutez le stockage NAS au dossier de lecture sélectionné.
- Si la connexion est limitée, définissez l'équipment audio comme cible de la connexion.
Plusieurs services en ligne ne peuvent pas etre lus
Plusieurs services en ligne ne peuvent pas etre lus.
- Le service en ligne peut avoir eté interrompu.
La fonction HDMI Contrôle ne fonctionne pas
La fonction HDMI Contrôle ne fonctionne pas.
- Vérifiez que "HDMI Contrôle" dans le menu est régle sur "Marche". (p. 179)
- Vous ne pouvez pas faire fonctionner les dispositifs qui ne sont pas compatibles avec la fonction HDMI Contrôle. De plus, en fonction du dispositif connecté ou des réglages, la fonction HDMI Contrôle peut ne pas fonctionner. Dans ce cas, faites fonctionner le dispositif externe directement. (p. 137)
- Vérifiez que le réglage de la fonction HDMI Contrôle est activé sur tous les dispositifs connectés à cet apparéil. (p. 137)
Lorsque you effectez des modifications associées à une connexion, telles que la connexion d'un dispositif HDMI supplémentaire, les reglages de fonctionnement du lien peuvent etre initiaisés. Mettez l'appareil et les dispositifs connectés via HDMI hors, puis a nouveau sous tension. (p. 137)
La borne HDMI MONITOR 2 n'est pas compatible avec la fonction HDMI Contrôle. Utilisez la borne HDMI MONITOR 1 pour la connexion au téléviseur. (p.65)
Impossible de se connecter à un réseau local sans fil
Accès au réseau impossibly.
- Le paramétrage du nom du réseau (SSID), le mot de passer et le chiffrement n'ont pas été correctement configurés. Configurez les paramètres réseau en fonction des détails du réglage de cet apparéil. (p. 223)
- Réduisez la distance entre le point d'accès LAN sans fil et cet apparéil, retirez tout obstacle et assurez-vous que la vue au point d'accès n'est pas obstruée avant d'essayer à nouveau la connexion. De même, installez des jours à micro-ondes et d'autres points d'accès réseau aussi loin que possible.
- Configurez le paramétrage du canal du point d'accès à l'écart des canaux qui sont en cours d'utilisation par d'autres réseaux.
- Cet apparéil n'est pas compatible EP (TSN).
Connexion à Routeur WPS impossible.
- Vérifiez que le mode WPS du routeur fonctionne.
Appuyez sur le bouton WPS du routeur, puis appuyez sur la touche " Connecter" affiché sur l'écran TV, dans les 2 minutes.
- Un routeur/paramétrage compatibles avec les normes WPS 2.0 sont nécessaires. Réglez le temps de cryptage sur "Aucun", "WPA-PSK (AES)" ou WPA2-PSK (AES). (p. 223)
- Si la méthode de cryptage du réseau est WEP/WPA-TKIP/WPA2-TKIP, vous ne pouvez pas effectuer la connexion à l'aide de la touche WPS sur le réseau. Auquel cas, utilisez la méthode "Recherche de réseaux" ou "Manuel" pour effectuer la connexion.
Connexion au réseau à l'aide de l'iPhone/iPod touch/iPad impossible.
- Effectuez une mise à niveau vers la première version du micrologiciel de l'iPhone/iPod touch/iPad.
Lorsque you configurz le parametrage via une connexion sans fil, iOS 7 ou une version ulterieure doit etre pris en charge.
Lors de l'utilisation de HDMI ZONE2, les dispositifs ne fonctionnent pas correctement
Lors de l'utilisation de MAIN ZONE, la sortie video est interrompue dans HDMI ZONE2.
- Avec la même source d'entrée sélectionnée pour MAIN ZONE et ZONE2, lorsque vous utilisez MAIN ZONE, la video peut être interrompue dans HDMI ZONE2.
Lors de l'utilisation de HDMI ZONE2,�除(e) video ou audio n'est émis(e) du téléviseur dans ZONE2.
Assurez-vous que ZONE2 est sous tension. (p. 153)
Vérifiez la source d'entrée pour ZONE2. (1 p. 153)
- Les bornes AUX-HDMI et HDMI 7 ne prennant pas en charge la fonction HDMI ZONE2.
- Dans ZONE2, la lecture est uniquement possible lorsque les signaux d'entrée sont des signaux HDMI.
- Lorsque le téléviseur ne prend pas en charge le format audio d'entrée, aucun son n'est émis. Réglez le format audio sur "PCM" sur le dispositif de lecture. Vous pouvez également régler "Config. de ZONE2" - "Audio HDMI" dans le menu sur "PCM". (p. 235)
Lorsque le taveliseur n'est pas compatible avec la resolution de la sortie d'entree, aucune video n'est emise. Reglez la resolution de sortie sur le dispositif de lecture sur une resolution compatible avec le taveliseur.
Lors de l'utilisation de HDMI ZONE2, l'audio MAIN ZONE est lu en tant que PCM.
Lorsque la meme source d'entree est selectionne pour MAIN ZONE et ZONE2, le format audio est limite en fonction des specifications du taveliseur dans ZONE2.
Messages d'erreur de mise à jour/mise à niveau
Si une mise à jour/mise à niveau est interrompue ou échoue, un message d'erreur s'affiche.
| Affichage | Description |
| Connection failed. Please check your network, then try again. | La connexion réseau est instable.La connexion au serveur a échoué.Vérifier votre environnement réseau et réessayer d'effectuer la mise à jour. |
| Update failed. Please check your network, then try again. | Le téléchargement du micrologiciel a échoué.Vérifier votre environnement réseau et réessayer d'effectuer la mise à jour. |
| Upgrade failed. Please check your network, then try again. | Le téléchargement du micrologiciel a échoué.Vérifier votre environnement réseau et réessayer d'effectuer la mise à jour. |
| Please check your network, unplug and reconnect the power cord, and try again. | La mise à jour a échoué.Maintenez enforcée la touche ♂ de l'appareil principal pendant plus de 5 secondes, ou bien débranchez le cordon d'alimentation et rebranchez-le.La mise à jour redémarre automatiquement. |
| Please contact customer service in your area. | Cet apparéil est peut-être endommagé.Contactdez le centre de service client de votre région. |
Réinitialisation des réglages d'usine
Si les témoins du mode d'entrée sont incorrects ou si l'appareil ne peut pas être utilisé, redémarrer l'appareil peut améliorer le problème. Nous vous recommendons de redémarrer l'appareil avant de revenir au paramétrage par défaut. (p. 249)
Si les opérations ne se sont pas améliorées en redémarrant l'unité, suivez les étapes ci-dessous.
Divers réglages sont réinitialisés aux valeurs d'usine par défaut. Refaire les réglages.

SOUND MODE
1 Eteignez l'appareil à l'aide de
2 Appuyez sur tout en appuyant simultanément sur SOUND MODE et PURE DIRECT.
3 Retirez vos doigts des deux touches lorsque "initialized" apparait sur l'écran.

- Avant de rétablit le paramétrage par défaut, utilisez la fonction "Sauveg. & charger" dans le menu pour enregistrer et restaurer les détails des divers paramétrages configurés de l'appareil. (p. 243)
- Vous pouvez également réinitialiser l'ensemble des réglages aux valeurs d'utilité par défaut par le biais de “Réinitialiser” - “Tous les réglages” dans le menu. (L'At p. 244)
Réinitialisation des réglages du réseau
Si le contenu du réseau est incorrect ou si l'appareil ne peut pas connecter au réseau, redémarrer l'appareil peut améliorer le problème. Nous vous recommendons de redémarrer l'appareil avant de revenir au paramétrage par défaut. (R p. 249)
Si les opérations ne se sont pas améliorées en redémarrant l'unité, suivez les étapes ci-dessous.
Les réglages du réseau sont réinitialisés aux valeurs d'usine par défaut. Refaire les réglages.
Toutefois, les paramètres "Affectation des Amplis", "Config. enceintes" et "Védo" ne sont pas réinitialisés.

1 Appuyez sur pourmettre l'appareil sous tension.
2 Tournez SOURCE SELECT pour sélectionner "HEOS Music".
3 Appuyez longuement sur le bouton de l'unité principale SOUND MODE et ZONE2 ON/OFF en même temps pendant au moins 3 secondes.
4 Retirez vos doigs des deux touches lorsque "Network Reset..." apparait sur l'écran.
5 "Completed" s'affiche sur l'écran lorsque la réinitialisation est terminée.

- Avant de rétablit le paramétrage par défaut, utilisez la fonction "Sauveg. & charger" dans le menu pour enregistrer et restaurer les détails des divers paramétrages configurés de l'appareil. (p. 243)
- Vous pouze également réinitialiser les réglages du réseau aux valeurs d'usine par défaut par le biais de "Réinitialiser" - "Paramètres réseau" dans le menu. («P» p. 244)
REMARQUE
- Ne coupez pas l'alimentation avant la fin de la réinitialisation.
Restauration du micrologiciel aux valeurs par défaut de l'usine
Lorsque l'appareil ou les fonctions réseau ne fonctionnent pas correctement, le fonctionnement peut être amélioré en rétablissant le micrologiciel aux valeurs par défaut.
Faites-le lorsque l'appareil ne fonctionne toujours pas correctement, même après avoir essayé les démarches pour "Réinitialisation des réglages d'usine" ou "Réinitialisation des réglages du réseau". (p. 270, 271)
Aprés la restauration du micrologiciel, divers paramètres sont réinitialisés à leur valeur par défaut. Configurez à nouveau les paramètres et mettez à jour le micrologiciel.

1 Appuyez sur tout en maintainant simultanément enfoncés DIMMER et PURE DIRECT.
2 Lorsque "Restoring FW..." apparait sur l'écran, relâchéz les boutons.
Lorsque la restauration du micrologiciel est terminée, "Completed" apparait sur l'écran pendant environ 5 secondes, et l'appareil redémarre automatiquement.

- Cette opération prend du temps car elle nécessite de se reconnectcer au réseau, de restaurer et de mettre à jour le micrologiciel.
- Si cette opération ne permet pas d'améliorer le problème, contactez notre centre de service clientèle.
REMARQUE
- Ne coupez pas le courant avant que la restauration du micrologiciel ne soit terminée.
À propos de HDMI
HDMI est l'abréviation de High-Definition Multimedia Interface, une interface numérique audio-video pouvant être connectée à une télévision ou à un amplificateur.
Avec la connexion HDMI, les formats audio haute qualité et video haute définition adoptés par les lecteurs Blu-ray (Dolby Digital Plus, Dolby TrueHD, dts-HD, dts-HD Master Audio) peuvent être transmis, ce qui n'est pas possible avec la transmission video analogue.
De plus, dans une connexion HDMI, les signaux audio et video peuvent être transmis via un cable unique HDMI, tout en ayant des connexions conventionnelles, il est nécessaire de fournie des cables audio et video séparément pour une connexion entre les dispositifs. Ceci vous permet de simplifier la configuration du câblage qui peut être très complexe dans un système Home Cinema.
Cet apparéil prend en charge les fonctions HDMI suivantes.
- Deep Color
Technologie d'imagerie prise en charge par la norme HDMI.
Contrairement à RGB ou YCbCr, qui utilise 8 bits (256 teintes) par couleur, celle-ci utilise 10 bits (1 024 teintes), 12 bits (4 096 teintes) ou 16 bits (65 536 teintes) pour produit des couleurs dont la définition est supérieure.
Les deux apparèels liés via un cable HDMI doivent prendre en charge Deep Color.
x.v.Color
Cette fonction permet aux téléviseurs haute définition d'afficher les couleurs avec une plus grande précision. Elle permet l'affichage de couleurs vives et naturelles.
"x.v.Color" est une marque commerciale de Sony Corporation.
3D
Cet apparéil prend en charge en entrée et en sortie les signaux videoe 3D (en 3 dimensions) de la norme HDMI. Pour lire des videos 3D, vous ne devez désposer d'un téléviseur et d'un lecteur prénant en charge la fonction HDMI 3D, ainsi que de lunettes 3D.
- 4K/8K
Cet apparéil prend en charge l'entrée et la sortie de signaux video HDMI 4K (3840 x 2160 pixels) et 8K (7680 x 4320 pixels).
- Content Type
Elle établit automatiquement les réglages ajustés pour le type de sortie video (informations sur le contenu).
Adobe RGB color, Adobe YCC601 color
Espace de couleurs définir par Adobe Systems Inc. Celui-ci étant plus développé que l'espace RGB, il peut produit des images plus vives et naturelles.
sYCC601 color
Chacun de ces espaces colorimétriques définit unepalette de couleurs disponibles plus large que le modèle traditionnel RGB.
Cet apparéil bascule automatiquement en mode de faisible latence en fonction du contenu de la lecture lorsque vous utilisez une combinaison de téléviseur et de console de jeu compatible avec la fonction ALLM.
Cette fonction peut corriger automatiquement le retard entre l'audio et la vente.
Utilisez un téléviseur compatible avec la fonction Sync. labiale auto.
HDMI Pass Through
Mème lorsque l'alimentation de cet apparéil est réglée sur veille, l'entrée des signaux de la borne d'entrée HDMI est transmis au télévisueur ou à un autre dispositif connecté à la borne de contrôle HDMI.
HDMI Contrôle
Si vous connectez l'appareil et la fonction HDMI Contrôle compatible au télévisueur ou au lecteur avec un cable HDMI puis activez le réglage de la fonction HDMI Contrôle sur chaque dispositif, les dispositifs pourront se contröler mutuellement.
- Mise hors tension du lien
La fonction de mise hors tension de cet apparéil peut être liée à l'étape de mise hors tension du téléviseur.
- Permutation de la destination de sortie audio
À partir du téléviseur, vous pouvez permuter la transmission de l'audio du téléviseur à l'amplificateur AV.
Vous pouvez régler le volume de cet apparéil pendant le réglage du volume de la TV.
- Permutation de la source d'entrée
Vou puevez parcourir les fonctions de cet apparéil via les liens à la commutation de fonction d'entrée du téléviseur.
Quand le lecteur fonctionne, la source d'entrée de cet apparéil bascule automatiquement sur la source de ce lecteur.
Cette fonction transmet des signaux audio du télévisuer à cet apparéil via le cable HDMI et lit l'audio du télévisuer sur cet apparéil en fonction de la fonction HDMI Contrôle.
Si un téléviseur sans fonction ARC est raccordée via des connexions HDMI, les signaux video du dispositif de lecture connecté à cet apparéil sont transmis à la TV, mais cet apparéil ne peut pas dire les signaux audio de la TV. Pour profiter d'un son surround lorsque vous visionnez des programmes télévisés, il est nécessaire d'utiliser un cable audio distinct.
En revanche, si un télévisuer avec la fonction ARC est raccordée via des connexions HDMI, aucun cable audio n'est requis. Les signaux audio de la TV peuvent etre transmis a cet apparéil au moyen d'un cable HDMI. Cette fonction vous permet de bénéficier d'une lecture surround de la TV sur cet apparéil.
La fonction eARC est une extension de la fonction ARC traditionnelle. Elle utilise une commande de fonction eARC dédiée pour dire l'audio de télévision de cet appeareil sans passer par le contrôle HDMI. De plus, la fonction eARC peut transmettre des PCM linéaires multicanaux, Dolby TrueHD, Dolby Atmos, DTS-HD Master Audio, DTS:X et d'autres formats audio non compatibles avec l'ARC traditionnel. La connexion à un téléviseur compatible avec la fonction eARC permet également de profiter d'une lecture surround de qualité supérieure du contenu audio lu à partir de votre téléviseur.
VRR permet de réduire ou d'éliminer le décalage, le bégaient et la déchirure de la trame pour un jeu plus fluide et plus détaillé.
Le système QMS pour les films et les videos élimine le retard qui peut entraîner des écans vides avant l'affichage du contenu.
- QFT (Quick Frame Transport):
La QFT réduit la latence pour un jeu plusFluide et sans décalage,et une réalité virtuelle interactive en temps réel.
| PCM linéaire 2 canaux | 2 canaux, 32 kHz – 192 kHz, 16/20/24 bit |
| PCM linéaire multi-canal | 7.1 canaux, 32 kHz – 192 kHz, 16/20/24 bit |
| Bitstream | Dolby Digital / DTS / Dolby Atmos / Dolby TrueHD / Dolby Digital Plus / DTS:X / DTS-HD Master Audio / DTS-HD High Resolution Audio / DTS Express |
| DSD | 2 canaux – 5.1 canaux, 2,8 MHz |
■ Signaux video pris en charge
480i
480p
1080i 60/50Hz
1080p 60/50/24Hz
Système de protection des droits d'auteur
Pour dire la video et l'audio numériques comme les videos BD ou les DVD via une connexion HDMI, cet apparéil et la TV ou un lecteur doivent tous les deux prendre en charge le système de protection des droits d'auteur, appelé HDCP (High-bandwidth Digital Content Protection System). Le système HDCP est une technologie de protection complenant le chiffrement de données et l'authentication de l' apparéil AV connecté. Cet apparéil prend en charge le système HDCP.
- Si vous connectez un matériel qui ne prend pas en charge le système HDCP, les signaux video et audio ne seront pas reproduits correctement. Lisez le manuel de l'utilisateur de votre téléviseur ou de votre lecteur pour en savoir plus.
Relation entre les signaux video et la sortie du moniteur

Cet appareil peut convertir les signaux video d'entrée à la résolution régée pour “Résolution” dans le menu avant de les transmettre au téléviseur.
(184)
- Uniquement pris en charge par la borne HDMI 7.
Lecture de dispositifs mémoire USB
| Fréquence d'échantillonnage | Canal | Débit | Extension |
| WMA*1 | 32/44,1/48 kHz | 2 canaux | 48 - 192 kbps | .wma |
| MP3 | 32/44,1/48 kHz | 2 canaux | 32 - 320 kbps | .mp3 |
| WAV | 32/44,1/48/88,2/96/176,4/192 kHz | 2 canaux | - | .wav |
| MPEG-4 AAC*1 | 32/44,1/48 kHz | 2 canaux | 48 - 320 kbps | .aac/.m4a |
| FLAC | 44,1/48/88,2/96/176,4/192 kHz | 2 canaux | - | .flac |
| Apple Lossless*2 | 44,1/48/88,2/96/176,4/192 kHz | 2 canaux | - | .m4a |
| DSD | 2,8/5,6 MHz | 2 canaux | - | .dsf/.dff |
1 Seuls les fichiers non protégés par copyright peuvent être lus sur cet apparéil.
Le contenu télécharge sur les sites Internet payants est protégé par copyright. Les fichiers encodés au format WMA et gravés sur un CD, etc., à partir d'un ordinateur, risquent également d'être protégés par copyright, en fonction des paramètres de l'ordinateur.
2 Le décodeur Apple Lossless Audio Codec (ALAC) est distribué sous licence Apache, version 2.0 (http://www.apache.org/licenses/License-2.0).
- Nombre maximal de fichiers et de dossiers lisibles
Le nombre maximal de fichiers et dossiers lisibles par cet apparéil est indiqué ci-dessous.
| Éléments/Média | Dispositifs mémoire USB |
| Nombre de niveaux de répertoires *1 | 8 niveaux |
| Nombre de dossiers | 500 |
| Nombre de fichiers *2 | 5000 |
1 Le dossier racine est pris en compte.
2 Le nombre de fichiers autorisé peut varier en fonction de la capacité du dispositif mémoire USB et de la taille des fichiers.
Lecture d'un pérophérique Bluetooth
Cet apparéil prend en charge le profil Bluetooth suivant.
A2DP (Advanced Audio Distribution Profile) :
Lorsqu'un périphérique Bluetooth prénant en charge ce standard est connecté, les données sonores mono et stéreo peuvent être écoutees en haute qualité.
AVRCP (Audio/Video Remote Control Profile):
Lorsqu'un périphérique Bluetooth prénant en charge ce standard est connecté, le périphérique Bluetooth peut être commandé à partir de cet apparéil.
A propos des communications Bluetooth
La diffusion des ondes radio depuis cet apparéil peut interférer avec le fonctionnement des apparéils Médicaux. Assurez-vous de mettre hors tension l'alimentation de cet apparéil et du périphérique Bluetooth dans les endroits suivants, car les interférences des ondes radio peuvent cause des dysfonctionnements.
- Les hôpitaux, trains, avions, stations essence et les endroits où des gaz inflammables sont généres
- À proximé de portes automatiques et d'alarmes incendie
Lire un fichier sauvégarde sur un ordinateur ou sur un NAS
- Cet apparéil est compatible avec les standards MP3 ID3-Tag (Ver. 2).
- Cet apparéil peut afficher les illustrations qui ont été intégrées en utilisant les standards MP3 ID3-Tag Ver. 2.3 ou 2.4.
- Cet apparéil est compatible avec les tags META WMA.
- Si la taille d'image (pixels) de la pochette d'un album dépasse 500 × 500 (WMA/MP3/WAV/FLAC/apple Lossless/DSD) ou 349 × 349 (MPEG-4 AAC), l'appareil peut ne pas dire la musique correctement.
- Vous doivent utiliser un serveur ou un logiciel serveur compatible avec la diffusion dans les formats correspondants pour dire des fichiers audio et image via un réseau.
Pour pouvoir dire les formats audio mentionnés ci-dessus via un réseau, vous nevez installer un logiciel serveur, comme par exemple Twonky Media Server ou jRiver Media Server, sur votre ordinateur ou votre NAS. D'autres logiciels serveurs sont également disponibles. Veuillez vérifier les formats pris en charge.
■ Spécifications des fichiers pris en charge
| Fréquence d'échantillonnage | Canal | Débit | Extension |
| WMA*1 | 32/44,1/48 kHz | 2 canaux | 48 - 192 kbps | .wma |
| MP3 | 32/44,1/48 kHz | 2 canaux | 32 - 320 kbps | .mp3 |
| WAV | 32/44,1/48/88,2/96/176,4/192 kHz | 2 canaux | - | .wav |
| MPEG-4 AAC*1 | 32/44,1/48 kHz | 2 canaux | 48 - 320 kbps | .aac/.m4a |
| FLAC | 44,1/48/88,2/96/176,4/192 kHz | 2 canaux | - | .flac |
| Apple Lossless*2 | 44,1/48/88,2/96/176,4/192 kHz | 2 canaux | - | .m4a |
| DSD | 2,8/5,6 MHz | 2 canaux | - | .dsf/.dff |
1 Seuls les fichiers non protégés par copyright peuvent être lus sur cet articleil.
Le contenu tellecharge sur les sites Internet payants est protégé par copyright. Les fichiers encodés au format WMA et gravés sur un CD, etc., à partir d'un ordinateur, risquent également d'être protégés par copyright, en fonction des paramètres de l'ordinateur.
2 Le décodeur Apple Lossless Audio Codec (ALAC) est distribué sous licence Apache, version 2.0 (http://www.apache.org/licenses/License-2.0).
Lecture de radio Internet
■ Spécifications des stations radio lisibles
| Fréquence d'échantillonnage | Débit | Extension |
| WMA | 32/44,1/48 kHz | 48 - 192 kbps | .wma |
| MP3 | 32/44,1/48 kHz | 32 - 320 kbps | .mp3 |
| MPEG-4 AAC | 32/44,1/48 kHz | 48 - 320 kbps | .aac/.m4a |
Fonction mémoire personnelle plus
Les paramétrages les plus récemment utilisés (mode d'entrée, mode de sortie HDMI, mode sonore, commande de tonalités, niveau du canal, MultEQ® XT32, Dynamic EQ, Dynamic Volume, Restorer et décalage audio, etc.) sont sauvégardés pour chaque source d'entrée.

- Les réglages "Paramètres surr." sont mémorisés pour chaque mode son.
Fonction dernière mémoire
Cette fonction méorise les réglages tels qu'ils étaient juste avant le passage en mode veille.
Explication des termes
Audyssey
Audyssey Dynamic EQ
L'option Audyssey Dynamic EQ® résout le problème de la déterioration de la qualité sonore qui accompagne les plus bas niveaux du volume en tenant compte de la perception auditive humaine et de l'acoustique de lapiece.
Audyssey Dynamic EQ® fonctionne en tandem avec Audyssey MultEQ® XT32 pour produit un son équilibré pour tous les auditeurs à tous les niveaux sonores.
Audyssey Dynamic Volume®
Dynamic Volume résout les écarts importants de volume entre les programmes télévisés et les publicités, ainsi qu'entre les passages silencieux et bruyants des films. Audyssey Dynamic EQ® est intégré à Dynamic Volume. Aussi, si le volume de lecture est ajusté automatiquement, la réponse des graves parçue, l'équilibre tonal, l'impression surround et la clarté des dialogues restent identiques.
Audyssey LFC™ résout le problème dessons basses fréquences qui dérangent les personnes dans les pièces ou les appartements voisins. Audyssey LFC™ survieve le contenu audio de manière dynamique et supprime les basses fréquences qui traversent les murs, les sols et les plafonds. Il applique ensuite un traitement psychoacoustique afin de restaurer la perception des basses pour les auditeurs présents dans la piece. Il en résultat un son d'excellente qualité qui ne dérange plus les voisins.
Audyssey MultEQ® XT32 rectifie les problèmes d'égalisation qui équilibrent les systèmes audio. Ils peuvent ainsi offrir une qualité d'écoute maximale à tous les audiiteurs dans une grande zone d'écoute. Sur la base de plusieurs mesures, MultEQ® XT32 calcule une solution d'égalisation qui rectifie les problèmes de temps et de réponse dans la zone d'écoute mais effectue aussi une configuration automatique et compte du système surround.
Dolby
Dolby Atmos
Introduit dans le premier cinema, Dolby Atmos apporte une sensation de dimension et d'immersion pour l'expérience du Home Cinema. Dolby Atmos est un objet adaptable et variable basé sur un format qui produit le son comme des sons indépendants (ou des objets) qui peuvent être précisément positionnés et déplacés de manière dynamique à travers l'espace d'écoute tridimensionnel durant la lecture. Un composant clé de Dolby Atmos est l'introduction d'un plan vertical des sons au-dessus de l'auditeur.
Dolby Atmos Stream
Le contenu Dolby Atmos sera remis à votre récepteur AV Dolby Atmos Enabled via les signaux Dolby Digital Plus ou Dolby TrueHD sur disque Bluray, fichiers téléchargeables et Streaming Media. Un flux Dolby Atmos métadonnées spécial qui déscrit le positionnement du son dans la pièce. Cet objet de données audio est depuis par un récepteur Dolby Atmos et est calibré pour optimiser la lecture par l'intérimédiaire de tous les systèmes de haut-parleurs Home Cinéma de toute taille et toute configuration.
Dolby Digital
Dolby Digital est un format de signal numérique multicanaux développé par Dolby Laboratories.
5.1 canaux sont produits au total: 3 canaux avant ("FL", "FR" et "C"), 2 canaux surround ("SL" et "SR") et le canal "LFE" pour les effets de basses fréquences.
Grçá à cela, il n'y a pas de diaphonie entre les canaux et un champ sonore réalisiste est obtenu avec une impression "tri-dimensionnelle" (sensation de distance, de mouvement et de positionnement). Ceci permet d'offrir une expérience sonore surround chez vous.
Dolby Digital Plus
Dolby Digital Plus est un format de signaux Dolby Digital amélioré compatible avec 7.1 canaux de son numérique discret, qui améliore également la qualité sonore grâce à des salariées performances de débit. Il est rétrocompatible avec le Dolby Digital classique, ce qui lui permet d'offrir une plus grande flexibilité en fonction du signal source et de l'équipement de reproduction.
Dolby Surround
Dolby Surround est une technologie de nouvelle génération qui mélange façon ingénieuse le son d'ambiance et le contenu 5.1 et 7.1 pour la lecture de votre système d'enceintes surround. Dolby Surround est compatible avec des plans classiques, mais aussi avec les formats Dolby Atmos active systèmes de lecture en employant des enceintes de plafond ou des produits avec la technologie d'enceintes Dolby.
La technologie Dolby Enceinte (enceintes Dolby Atmos Enabled)
Les enceintes Dolby Atmos Enabled sont une alternative pratique aux enceintes intégrées au plafond ; elles utilisent le plafond au-dessus de vous comme une surface refléchissante pour réproduire le son au-dessus de l'auditeur. Ces enceintes doivent un pilote de démarrage unique montant et un traitement spécial des signaux. Ces fonctions peuvent être intégrées à une enceinte traditionnelle ou à un module d'enceinte independant. Les fonctions impactent de façon minimale le système d'emploi global de l'enceinte toute en offrant une expérience d'écoute immersive lors de la lecture Dolby Atmos et Dolby Surround.
Dolby TrueHD
Dolby TrueHD est une technologie audio haute définitionisée par Dolby Laboratories, qui utilise une technologie de codage sans perte pour réproduire fidèlement le son des masters studio.
Ce format permet de prendre en charge jusqu'à 8 canaux audio avec une fréquence d'échantillonnage de 96 kHz et une résolution de 24 bits et jusqu'à 6 canaux audio avec une fréquence d'échantillonnage de 192 kHz et une résolution de 24 bits.
Virtualiseur de HP
La virtualisation de hauteur Dolby Atmos est une solution de traitement du signal numérique quiexploite la profonde compréhension de Dolby de la perception audio humaine pour creer la sensation de son en hauteur diffusé par les enceintes au niveau de l'auditeur.
Ce traitement du signal applique des filtres de repère de hauteur aux composants audio en hauteur contenus dans le signal audio avant leur mixage dans les enceintes de niveau auditeur.
Ces filtres simulent les signaux spectraux naturels transmis par nos oreilles auxsons provenant d'au-dessus.
Pour la configuration des enceintes stéreo et 3.1 canaux, la virtualisation de hauteur Dolby Atmos est combinée à la virtualisation surround pour créé un son enveloppant à 360 degrés moins les enceintes qui seraient normalement utilisées derrière ou à côte de l'auditeur.
DTS
Commande dialogue
Vous permet de contrôler votre expérience d'écoute. Si vous avez besoin de clarté et d'intelligibilité, vous pouvez faire en sorte que les dialogues se distinguent davantage des bruits de fond.
Cela implique que le contenu a ete creed pour prendre en charge Commande dialogue.
DTS
Abréviation de Digital Theater System, un système audio numérique développé par DTS. DTS fournit une expérience sonore surround puissant et dynamique, que vous trouvrez généralement dans les plus belles salles de cinéma du monde.
DTS 96/24
DTS 96/24 est un format audio numérique permettant une reproduction sonore de qualité en 5.1 canaux avec une fréquence d'échantillonnage de 96 kHz et une quantisation 24 bits sur les DVD-Viséo.
DTSTM Digital Surround est le format surround numérique standard de DTS, Inc., compatible avec une fréquence d'échantillonnage de 44,1 ou 48 kHz et jusqu'à 5.1 canaux de son surround discret numérique.
DTS-ES™ Discrete 6.1 est un format audio numérique discrete 6.1 canaux qui ajoute un canal surround arrêté (SB) au son surround numérique DTS. Le décodage des signaux audio 5.1 canaux classiques est également possible en fonction du décodeur.
DTS-ES™ Matrix 6.1
DTS-ES™ Matrix 6.1 est un format audio 6.1 canaux insérant un canal surround arrêté (SB) à l'encodage de matrice par le son surround numérique DTS. Le décodage des signaux audio 5.1 canaux classiques est également possible en fonction du décodeur.
DTS Express
DTS Express est un format audio prénant en charge les faibles débits binaires (max. 5.1 canaux, 24 à 256 kbps).
DTS-HD
Cette technologie audio propose une qualité sonore supérieure et des fonctionnalités améliorées par rapport au système DTS conventionnel et est adoptée en tant qu'audio optionnel pour les Blu-ray Disc.
Cette technologie offre une transmission multicanaux, une vitesse de transfert des données supérieure, une fréquence d'échantillonnage élevée et une lecture audio sans perte. Les Blu-ray Disc prennet en charge un maximum de 7.1 canaux.
DTS-HD High Resolution Audio
DTS-HD High Resolution Audio est une version améliorée des formats de signaux DTS, DTS-ES et DTS 96/24, compatible avec des fréquences d'échantillonnage de 96 ou 48kHz et jusqu'à 7.1 canaux de son numérique discre. Le débit élevé des données permet d'obtenir un son deffective qualité. Ce format est entièrement compatible avec les appareils classiques, y compris les données surround numériques DTS 5.1 canaux.
DTS-HD Master Audio
DTS-HD Master Audio est un format audio créé par Digital Theater System (DTS). Ce format permet de prendre en charge jusqu'à 8 canaux audio avec une fréquence d'échantillonnage de 96kHz et une résolution de 24 bits et jusqu'à 6 canaux audio avec une fréquence d'échantillonnage de 192kHz et une résolution de 24 bits. Il est entierement compatible avec les appareils classiques, y compris les données surround numériques DTS 5.1 canaux.
DTS:X
Le signal DTS:X produit un hémisphere sonore, dans lequel les survols, ainsi que les bruits de fond ambiants deviennent juste enveloppants. Les objets DTS:X permettent au son de passer en douceur d'une enceinte à l'autre de manière très réaliste.
DTS Neural:X
Permet une expérience audio immersive pour le contenu ancien. Le mode DTS Neural:X peutTRAittervoirecontenu stéreo,5.1 ou7.1vers un format supérieurafin deyoupermétreetde profiter pleinementde toutes les enceintes de vourtsystèmeaudio surround.
DTS Virtual:X
DTS Virtual:X you permit de profiter d'un son multidimensionnel, independamment de la taille de la piece, de la disposition ou de la configuration des enceintes.
IMAX®
IMAX® est largement reconnu dans le monde entier pour son expérience de film de grand format Premium. IMAX offre la technologie de projection de film la plus avancée combinée à un son riche et profond.
Audio
Apple Lossless Audio Codec
Il s'agit du codec pour la méthode de compression audio sans perte développée par Apple Inc. Ce codec peut être lu sur iTunes, iPod ou iPhone. Les données compressées à environ 60 – 70 % peuvent être décompressées aux mêmes données d'origine.
FLAC (Free Lossless Audio Codec)
FLAC signifie Free lossless Audio Codec, et représenté un format de fichier audio libre sans perte. Sans perte signifie que le son est comprés sans perte de qualité.
La licence FLAC est indiquée ci-dessous.
Copyright (C) 2000, 2001, 2002, 2003, 2004, 2005, 2006, 2007, 2008, 2009 Josh Coalson
Abréviation de Low Frequency Effect, un canal de sortie accentuant l'effet de bassé fréquence sonore. Le son surround est intensifié par la production de basses profondes de 20 Hz à 120 Hz vers le(s) subwoofer(s) du système.
MP3 (MPEG Audio Layer-3)
Il s'agit d'un format de compression des données audio normalisé au plan international qui utilise la norme de compression video "MPEG-1". Il compressse le volume de données à environ un onzième de sa taille initiale tout en conservant une qualité de son équivalente à celle d'un CD musical.
MPEG (Moving Picture Experts Group), MPEG-2, MPEG-4
Ce sont les nombres de différentes normes de format de compression numérique utilisées pour le codage des signaux video et audio. Les normes video sont notamment "MPEG-1 Video", "MPEG-2 Video", "MPEG-4 Visual", "MPEG-4 AVC". Les normes audio sont notamment "MPEG-1 Audio", "MPEG-2 Audio", "MPEG-4 AAC".
Il s'agit de la technologie de compression audio mise au point par la société Microsoft.
Les données WMA peuvent être encodées à l'aide de Windows Media Player.
Pour coder les fichiers WMA, utilisez uniquement les applications autorisées par la société Microsoft. Si vous utilisez une application non autorisée, le fichier peut ne pas fonctionner correctement.
Fréquence d'échantillonnage
L'échantillonnage consiste à effectuer une lecture d'une onde sonore (signal analogue) à intervalles réguliers et à exprimer la hauteur de l'onde lors de chaque lecture dans un format numérique (produisant un signal numérique).
Le nombre de lectures effectuees en une seconde est appelée "frquence d'echantillonnage". Plus cette valeur est grande, plus le son produit est proche du son original.
Impedance des enceintes
Il s'agit de la valeur de la résistance CA, indiquée en (ohms).
Une puissance supérieure peut être obtenue lorsque cette valeur est plus faible.
Fonction de normalisation de dialogue
Cette fonction est automatiquement activée lors de la lecture de sources Dolby Digital, Dolby Digital Plus, Dolby TrueHD, Dolby Atmos, DTS ou DTS-HD.
Elle corige automatiquement le niveau du signal standard des différentes sources programmes.
Gamme dynamique
La différence entre le niveau sonore non déformé maximum et le niveau sonore minimum perceptible du bruit émis par l'appareil.
Mixage réducteur
Cette fonction réduit le nombre de canaux d'audio surround et effectue la lecture en fonction de la configuration du système.
Vidente
ISF
ISF (Imaging Science Foundation) est un organisme qui certifie les techniciens video qui sont ensuite qualifiés pour effectuer l'étalonnage et l'ajustement en fonction des conditions d'installation. Elle permet également de définir les normes de qualité pour l'optimisation de péripérisque de performances video.
Progressif (balayage sequentiel)
Il s'agit d'un système de balayage du signal videopermettant d'afficher 1 trame de video comme une image. Ce système restitue des images avec moins de bruit de fond et sans bord flou comparé au système entrelacé.
Réseau
AirPlay
AirPlay envoie (lit) le contentu enregistré dans iTunes ou sur un iPhone/ iPod touch/iPad à un apparéil compatible via le réseau.
Clé WEP (Clé réseau)
Il s'agit d'une clé utilisée pour le cryptage des données pendant leur transfert. Sur cet apparéil, la même clé WEP est utilisé pour le cryptage et le décryptage des données et il est donc nécessaire de définir la même clé WEP sur les deux apparéils afin de pouvoir étabir la communication entre eux.
Wi-Fi®
La certification Wi-Fi garantit une interopérabilité testée et approuvée par la Wi-Fi Alliance, un groupe de certification de l'interopérabilité entre les apparèils LAN sans fil.
Il s'agit d'une norme de sécurité établie par la Wi-Fi Alliance. Outre le SSID (nom de réseau) et la clé WEP (clé de réseau), il utilise également une fonction d'identification de l'utilisateur et un protocole de cryptage pour renforcer la sécurité.
Il s'agit d'une nouvelle version de WPA établie par la Wi-Fi Alliance, compatible avec un cryptage AES plus sûr.
Il s'agit d'un système simple d'authentication mutuelle lorsqu'une chaîne de caractères prédéfinis correspond au point d'accès et au client du LAN sans fil.
Noms du réseau (SSID: Service Set Identifier)
Lors de la formation de réseaux locaux sans fil, des groupes sont formés pour éviter les interférences, le vol de données, etc. Ces groupes sont basés sur "SSID (noms de réseau)". Pour améliorer la sécurité, une clé WEP est configurée de façon à ce que la communication ne soit pas disponible à moins que le "SSID" et la clé WEP correspondant. Ce mode est particulièrement adapté pour construire un réseau simplifié.

Others
HDCP
Lors de la transmission de signaux numériques entre plusieurs apparéils, cette technologie de protection des droits d'auteur crypte les signaux pour empêcher la copie illicite du contenu.
MAIN ZONE
La piece dans laquelle se trouve l'appareil est appelée MAIN ZONE.
Appariement
L'apparlement (enregistrement) est une opération qui est nécessaire pour pouvoir connecter un périphérique Bluetooth à cet apparéil à l'aide de la technologie Bluetooth. Lorsque les apparéils sont appariés, ils s'authentifient mutuellesment et peuvent se connecter sans mauvaises connexions.
Lors de l'utilisation de la connexion Bluetooth pour la première fois, vous doivent apparier l'appareil et le périphérique Bluetooth qui doit être connecté.
Circuit de protection
Cette fonction est destinée à prévenir les dommages aux composants sur secteur lorsqu'une anomalie, surcharge ou surtension par exemple, survient pour une raison quelconque.
Rensseignements relatifs aux marques commerciales

Works with
Apple AirPlay
Fabriquésous licence Audyssey LaboratoriesTM,avec brevets américains et étrangers en instance.Audyssey MultEQXT32,Audyssey Dynamic EQ,Audyssey Dynamic Volume et Audyssey LFCTM sont des marques déposées d'Audyssey Laboratories.

Bluetooth
La marque et les logos Bluetooth® sont des marques commerciales déposées apparanten à Bluetooth SIG, Inc. et toute utilisation de ces marques par D&M Holdings Inc. est soumise à licence. Les autres marques et noms commerciaux sont la propriété de leurs propriétaires respectifs.

DOLBY
ATMOS
COMPATIBLE
DOLBY
VISION
Fabriquésous licencede DolbyLaboratories. Dolby,DolbyAtmos,DolbyAudio,DolbySurround,DolbyVision,et lesymboledouble-D sont des marques commerciales de Dolby Laboratories.


Pour les brevets DTS, rendez-vous à l'adresse http://patents.dts.com. Fabriqué sous licence de DTS, Inc. DTS, le symbole, DTS et le symbole, pris ensemble, DTS:X, the logo DTS:X, Virtual:X et le logo DTS Virtual:X sont des marques enregistrées et/ou des marques déposées de DTS, Inc. aux États-Unis et/ou dans d'autres pays. © DTS, Inc. Tous droits réservés.

HIGH DEFINITION MULTIMEDIA INTERFACE
Les termes HDMI, High-Definition Multimedia Interface et le logo HDMI sont des marques commerciales ou des marques déposées de HDMI Licensing Administrator, Inc.
Le logo HDR10+™ est une marque déposée de HDR10+ Technologies, LLC.
IMAX®
ENHANCED
Fabriquésous licence d'IMAX Corporation.IMAX est une marque déposée d'IMAX Corporation aux États-Unis et/ou dans d'autres pays. Tous droits réservés.Pour les brevets DTS,voir http://patents.dts.com. Fabriquésous licence de DTS,Inc.DTS,le symbole,DTS avec le symbole sont des marques déposées ou des marques de commerce de DTS, Inc. aux États-Unis et/ou dans d'autres pays ©DTS, Inc. Tous droits réservés.

CERTIFIED
Le logo Wi-Fi CERTIFIED est une marque commerciale déposée de l'Alliance Wi-Fi.
La certification WiFi fournit l'assurance que le périhérique a passé le test d'interopérabilité effectuels par l'Alliance Wi-Fi, un groupe qui atteste de l'interopérabilité entre les dispositifs de réseau local sans fil.
Specifications
Section audio
- Amplificateur de puissance
Puissance nominale:
Avant:
105 W + 105 W (8 Ω/ohms, 20 Hz - 20 kHz avec 0,08 % T.H.D.)
135 W + 135 W (6 Ω/ohms, 1 kHz avec 0,7 % T.H.D.)
Centrale:
105 W (8 Ω/ohms, 20 Hz - 20 kHz avec 0,08 % T.H.D.)
135 W (6 Ω/ohms, 1 kHz avec 0,7 % T.H.D.)
Surround:
105 W + 105 W (8 Ω/ohms, 20 Hz - 20 kHz avec 0,08 % T.H.D.)
135 W + 135 W (6 Ω/ohms, 1 kHz avec 0,7 % T.H.D.)
Surround arrête / Hauteur1 / Hauteur2:
105 W + 105 W (8 Ω/ohms, 20 Hz - 20 kHz avec 0,08 % T.H.D.)
135 W + 135 W (6 Ω/ohms, 1 kHz avec 0,7 % T.H.D.)
Bornes de sortie:
4-16 Ω/ohms
- Analogique
Sensibilité de l'entrée: 200 mV
Réponse en fréquence: 10 Hz - 100 kHz — +1, -3 dB (mode Direct)
S/B: 100 dB (IHF-A charge, mode Direct)
Sortie N/A: Sortie nominale — 2 V (en lecture à 0 dB)
Distorsion harmonique totale — 0,008 % (1 kHz, à 0 dB)
Ratio S/B — 102 dB
Gamme dynamique - 100 dB
Entrée numérique: Format — Interface audio numérique
- Égaliseur
Sensibilité de l'entrée: 2,5 mV
Variation RIAA: ±1 dB (20 Hz à 20 kHz)
S/B: 74 dB (IHF-A)
Facteur de distorsion: 0,03% (1 kHz, 3 V)
Section video
Niveau d'entrée/sortie et impédance: 1 Vp-p, 75 Ω/ohms
Réponse en fréquence: 5 Hz - 10 MHz — 0, -3 dB
- Borne video composante couleur
Niveau d'entrée/sorting et impédance: Signal Y — 1 Vp-p, 75 Ω/ohms
Signal P_B / C_B 0,7 Vp-p, 75 Ω/ohms
Réponse en fréquence: 5 Hz - 60 MHz — 0, -3 dB
Section du réseau local sans fil
Type de réseau (normes LAN sans fil): Conforme à IEEE 802.11a/b/g/n
(conformé au Wi-Fi®) *1
Sécurité: WEP 64 bits, WEP 128 bits
WPA/WPA2-PSK (AES)
WPA/WPA2-PSK (TKIP)
Plage des fréquences utilisées : 2,4 GHz, 5 GHz
*1 Le logo Wi-Fi® CERTIFIED et le logo du produit Wi-Fi CERTIFIED sont des marques commerciales déposées de l'Alliance Wi-Fi.
Section Bluetooth
| Système de communication : | Spécification Version Bluetooth 4.2 |
| Puisance de transmission : | Spécification Version Bluetooth Classe de Puisance 1 |
| Portée de communication maximale : | Environ 30 m dans la ligne de vision *2 |
| Plage des fréquences utilisées : | 2,4 GHz |
| Schéma de modulation : | FHSS (Frequency-Hopping Spread Spectrum) |
| Profils pris en charge : | Fonction récepteur
A2DP (Advanced Audio Distribution Profile) 1.2
AVRCP (Audio Video Remote Control Profile) 1.5
Fonction émetteur
A2DP (Advanced Audio Distribution Profile) 1.2 |
| Codec correspondant : | SBC |
| Portée de transmission (A2DP) : | 20 Hz – 20 000 Hz |
*2 La plage de communication réelle varie suivant l'influence de facteurs tels que les obstacles entre les apparciels, les ondes électromagnétiques émises par les jours à micro-ondes, l'électricité statique, les téléphones sans fil, la sensibilité de la réception, la performance de l'antenne, le système d'exploitation, le logiciel de l'application, etc.
Général
Température de fonctionnement: 5^ - 35^
Consommation électrique : 660 W
Consommation électrique en mode veille:
| Modes veille | Éléments de configuration du menu | Consommation électrique |
| Commande réseau (« p. 226) | Autorise mise à jour (« p. 239) | HDMI Pass Through (« p. 177) / HDMI Contrôle (« p. 179) |
| Veille normale | Arrêt en veille | Arrêt | Arrêt | 0,1 W |
| Contrôle réseau (Bluetooth) | Toujours actif | - | Arrêt | 3,3 W |
| Contrôle réseau (Ethernet) | Toujours actif | - | Arrêt | 3,4 W |
| Contrôle réseau (Wi-Fi) | Toujours actif | - | Arrêt | 3,7 W |
| Veille CEC | Arrêt en veille | Arrêt | Marche | 0,5 W |
| Veille RS-232C * | Arrêt en veille | Arrêt | Arrêt | 0,5 W |
- Lorsque cet apparéil est régélé en mode veille par l'envoi d'une commande de veille depuis le contrôleur exter via le connecteur RS-232C de cet apparéil.
Pour des raisons d'amélioration, les caractéristiques et l'apparce sont susceptibles d'être modifiées sans avertissement préalable.
Dimensions (Unité : mm)



Poids : 12,5 kg
Index

Chiffres
11.1 canaux 55
3D 273
4K/8K 273
5.1 canaux 34, 43
7.1 canaux 34, 44
9.1 canaux 48

A
Affection des entrées 190
Affichage 20
AirPlay 109
Appariment 88, 89
Assistant de config. 158
Audyssey Dynamic EQ® 283
Audyssey Dynamic Volume® 283
Audyssey LFCTM 283
Audyssey MultEQ® XT32 283
Audyssey Sub EQ HTM 195

Camescope 72
Circuit de protection 291
Commanded'unboitier 69
Compte HEOS 101,228
Conf.Audyssey 194
Connexion des enceintes 37
Conseils 247
Console de jours 72
Contrôle Internet 148

Dépistage des pannes 249
Dispositif de commande externe 77
Dispositif mémoire USB 74,83
Dolby Atmos 284
Double amplificateur 59

F
Favoris HEOS 114
Formats audio 275, 279, 281, 282

H
HDCP 276
HDMI Contrôle 137, 179

LAN filaire 75,221
LAN sans fil 76, 222
Lecteur Blu-ray Disc 70,82
Lecteur DVD 70,82
Listedattente 84,97,104


Minuterie sommeil 140
Mise à jour du micrologiciel 238
Mise en sourdine 82
Mode audio auto 125
Mode audio Direct 130
Mode audio Dolby 126, 284
Mode audio DTS 127,286
Mode audio multicanaux PCM 129
Mode audio original 129
Mode audio stereo 130
Mode ECO 229
Mode photo 175
Mode son 123


NAS 96

Panneau arrête 22
Panneau avant 17
Paramétrage général 158, 229
ParamétrageWiFi 222
Paramétrage de l'enceinte 156, 194
PC 96
Periphérique Bluetooth 88
Plan du menu de l'interface graphique 155
Position d'écoute 194
Pure Direct 125


Radio Internet 94
Réglages audio 155, 160
Réglages Audyssey 170, 196
Réglages d'entrée 156, 190
Réglages réseau 221
Réglages video 155, 175
Réinitialisation des réglages du réseau 271
Réinitialisation des réglages d'usine 270
Restorer 167


Sellect. Video 118
Sélection rapide plus 142
Source d'entrée 81
Spotify 112


Télécommande 26
Toutes zones stéréo 120
Tuner satellite 69
TV 65,66,67
TV par cable 69


Veille auto 232
Volume 82, 116


ZONE2 61,150