32LC45 - Téléviseur LG-GOLDSTAR - Notice d'utilisation et mode d'emploi gratuit
Retrouvez gratuitement la notice de l'appareil 32LC45 LG-GOLDSTAR au format PDF.
| Type de produit | TV LCD 32 pouces |
| Résolution | 1366 x 768 pixels |
| Technologie d'affichage | LCD |
| Alimentation électrique | AC 100-240V, 50/60Hz |
| Dimensions approximatives | 73,5 x 49,2 x 18,5 cm (avec pied) |
| Poids | 8,5 kg (avec pied) |
| Compatibilités | Compatible avec les signaux analogiques et numériques |
| Connectivité | 2 x HDMI, 1 x USB, 1 x VGA, 1 x AV, 1 x sortie audio |
| Fonctions principales | TV numérique, affichage haute définition, mode économie d'énergie |
| Entretien et nettoyage | Utiliser un chiffon doux et sec, éviter les produits chimiques agressifs |
| Pièces détachées et réparabilité | Réparabilité limitée, pièces disponibles auprès du fabricant |
| Sécurité | Ne pas exposer à l'humidité, débrancher en cas d'orage |
| Informations générales | Garantie de 2 ans, support technique disponible |
FOIRE AUX QUESTIONS - 32LC45 LG-GOLDSTAR
Questions des utilisateurs sur 32LC45 LG-GOLDSTAR
0 question sur cet appareil. Repondez a celles que vous connaissez ou posez la votre.
Poser une nouvelle question sur cet appareil
Téléchargez la notice de votre Téléviseur au format PDF gratuitement ! Retrouvez votre notice 32LC45 - LG-GOLDSTAR et reprennez votre appareil électronique en main. Sur cette page sont publiés tous les documents nécessaires à l'utilisation de votre appareil 32LC45 de la marque LG-GOLDSTAR.
MODE D'EMPLOI 32LC45 LG-GOLDSTAR
Avant de mettre en marche votre poste de télévision, lisez attentivement ce manuel.
You pourrez aussi vous y reférer pour tous les réglages futurs.
Notez le numero de série et le numero du modele, qui figurent sur la plaque signalétique fixée à l'arrête du poste. Vote revendeur vous les demandera pour le service après vente.
TABLE DES MATIÈRES
ACCESSIONS 1
PREPARATION
COMMANDES DU PANNEAU AVANT 4
INFORMATIONS SUR LE PANNEAU ARRIÈRE...... 6
INSTALLATION DU SOCLE 8
FIXATION MURALE DU TELVISEUR 9
COUVERTURE DU PANNEAU ARRIÈRE POUR LA
DISPOSITION DES CÂBLES 10
Installation du socle 12
Montage au mur : Installation horizontal. 12
Raccordement à une antenné. 13
CONFIGURATION DE L'ÉQUIPEMENT EXTERNE
CONFIGURATION DU RÉCEPTEUR HD 14
Branchement d'un DVD 16
INSERTION DU MODULE CI 18
Branchement d'un magnétoscope 19
CONFIGURATION DE LA SORTIE DIGITAL AUDIO OUT
OPTICAL 21
CONFIGURATION D'UNE AUTRE SOURCE
AUDIO/VIDÉO 22
Branchement d'un PC 23
- Configuration de I' écran pour le mode PC.... 26
UTILISATION DU TÉLEVISEUR / COMMANDE DES PROGRAMMES
Fonctions des touches de la télécommande 30
Mise sous tension du téléviseur 32
Selection des programmes 33
Réglage du volume 33
SELECTION ET RÉGLAGE DES MENUS À L'ÉCRAN.... 34
Mémorisation des chaînes (EN MODE NUMÉRIQUE) .... 35
Programmation manuelle (EN MODE NUMÉRIQUE)...... 36
Edition des programmes (EN MODE NUMÉRIQUE)...... 37
Puisance antenne 5V (EN MODE NUMERIQUE
UNIQUEMENT) 39
Mise à jour logic (EN MODE NUMÉRIQUE
UNIQUEMENT) 40
Diagnostiques (EN MODE NUMÉRIQUE UNIQUEMENT)...... 41
Mémorisation des chaînes (EN MODE ANALOGIQUE).... 43
Programmation manuelle (EN MODE ANALOGIQUE)... 44
Réglage de précision (EN MODE ANALOGIQUE) ..... 45
Affectation d'un nom à une chaine (EN MODE
ANALOGIQUE) 45
Edition des programmes (EN MODE ANALOGIQUE).... 46
Table des programmes 48
ETIQUETTEENTREE 49
SIMPLINK 50
RéGLAGES DE L'IMAGE
EPG (Electronic Programme Guide)(EN MODE NUMÉRIQUE)
- Activation / désactivation du guide de programmes électronique 52
- Sélectionnez un programme 52
- Signification des touches en mode de guide NOW/NEXT (Actuel/Suivant) 53
Signification des touches en mode Guide sur 8 jours.. 53
Signification des touches en mode Modification date... 53 - Signification des touches dans la boite de description détaillée. 54
- Signification des touches en mode de réglage Enregistrement/Rappel 54
Signification des touches en mode Lieste horloge.... 54
RéGLAGE DE LA TAILLE DE L'IMAGE (FORMAT
D'IMAGE) 55
RéGLAGES PRÉDÉFINIS DE L'IMAGE
- Picture Mode (Mode image) - Reglages prédéfinis.... 57
- Reglages automatique de la tonalité de couleur (Chaud / Moyen / Froid). 58
RéGLAGE MANUEL DE L'IMAGE
- Mode image - Option User (Utilisateur) 59
- Tonalité de couleur - Option User (Utilisateur) ....60
XD- TECHNOLOGIE D'OPTIMISATION DE L'IMAGE... 61
XD Demo 62
MODE AVANCE-MODE TELECINE 3:2 CINEMA. 63
MODE AVANCE - NIVEAU NOIR 64
MODE REINITIAL. IMAGE 65
Réduction de la rémanence à l'écran (Méthode ISM) … 66
MODE ECO. 67
RéGLAGES DU SON ET DE LA LANGUAGE
NIVELAGE AUTO VOLUME (VOLUME AUTO) .. 68
RéGLAGES PRÉDéFINIS DU SON - SOUND MODE
(MODE DU SON) 69
RéGLAGES DU SON - MODE USER (UTILISATEUR) . 70
Balance 71
-
Réception Stéreo/Bilingue (En mode analogue quenquement) 74
-
Réception NICAM (En mode analogue uniquement) . 75
-Selection de la sortie audio 75
Langue du menu à l'écran/ Sélection du pays 76
SELECTION DE LA LANGUE (EN MODE
Pour activer/desactiver le têlexte 84
Texte SIMPLE 84
Texte TOP 84
FASTEXT 85
Fonctions teletexte spéciales 85
TELETEXTE NUMÉRIQUE
TELETEXTE DANS LE SERVICE NUMÉRIQUE .. 86
TELETEXTE DU SERVICE NUMÉRIQUE 86
ANNEXE
DEPANNAGE 87
ENTRETIEN 88
SPECIFICATIONS DE L'APPAREIL 90
PROGRAMMATION DE LA TELÉCOMMANDE 92
Codes IR 94
Installation du système de commande externe 96
COMMANDES DU PANNEAU AVANT
Le schéma ci-dessous est une représentation simplifiée du panneau avant. Le matériel représenté peut être quelques peu différents de votre téléviseur.
MODELES DE TV Plasma: 42/50PC5*

MODELES DE TV Plasma: 50PB65*

MODELES DE TV LCD

INFORMATIONS SUR LE PANNEAU ARRIÈRE
Le schéma ci-dessous est une représentation simplifiée du panneau arrêté. Le matériel représenté peut être quelques peu différents de votre téléviseur.
MODELES DE TV Plasma

Logement pour cartes PCMCIA (Personal Computer Memory Card International Association).
Entrée HDMI
Connectez le signal HDMI à la borne HDMI IN. Vous pouvez également connecter le signal DVI (VIDEO) au port HDMI/DVI à l'aide du cable DVI à HDMI.
3 Entrée audio RGB/DVI
Raccordez la prise de sortie du moniteur d'un ordinaire ou d'un télévisuer numérique (Audio uniquement) au port d'entrée approprié.
Entree antenne
Connectez des signaux numériques en liaison radio à cette prise.
Sortie DIGITAL AUDIO OUT OPTICAL
Permet de raccorder un apparéil audio numérique à partir de divers types d'équipements.
Remarque : en mode veille, ces ports ne sont pas disponibles.
Port d'entrée RS-232C (CONTRÔLE & SERVICE)
Raccordez le port de série des péripériques de contrôle à la prise RS-232C.
7 Entrée Component
Connectez votre télécommande cable à ce port.
Péritel euroconnecteur (AV1/AV2)
Raccordez l'entrée ou la sortie de la prise Péritel d'un périphérique externe à ces prises.
9 Prise du cordon d'alimentation
Ce téléviseur fonctionne en alimentation en alternatively (CA). La tension est indiquée à la section Spécifications. Ne jamais faire fonctionner le téléviseur en courant continu (CC).
MODELES DE TV LCD

Logement pour cartes PCMCIA (Personal Computer Memory Card International Association).
2 EntreHDMI
Connectez le signal HDMI à la borne HDMI IN. Vous pouvez également connecter le signal DVI (VIDEO) au port HDMI/DVI à l'aide du cable DVI à HDMI.
3 Entrée audio RGB/DVI
Raccordez la prise de sortie du moniteur d'un ordinateur ou d'un télévisuer numérique (Audio uniquement) au port d'entrée approprié.
4 Entrée antenne
Connectez des signaux numériques en liaison radio à cette prise.
Sortie DIGITAL AUDIO OUT OPTICAL
Permet de raccorder un apparéil audio numérique à partir de divers types d'équipements.
Remarque : en mode veille, ces ports ne sont pas disponibles.
Port d'entrée RS-232C (CONTRÔLE & SERVICE)
Raccordez le port de série des péripériques de contrôle à la prise RS-232C.
Entrée Component
Connectez-vous telecommande cablee a ce port.
Péritel euroconnecteur (AV1/AV2)
Raccordez l'entrée ou la sortie de la prise Péritel d'un périphérique externe à ces prises.
9 Prise du cordon d'alimentation
Ce télévisueur fonctionne en alimentation en alternatif (CA). La tension est indiquée à la section
Spcifications. Ne jamais faire fonctionner le téléviseur en courant continu (CC).
INSTALLATION DU SOCLE (Modèles de téléviseurs LCD de 26, 32 et 37 pouces uniquement)
1 Placez le téléviseur écran face au sol sur une surface protégée afin de ne pas endommager l'écran.

2 Assemblez le socle sur le téléviseur comme indiquedansle schema.

3 Insérez 4 boulons dans les orifices prévus à cet effet situés à l'arrête du téléviseur.

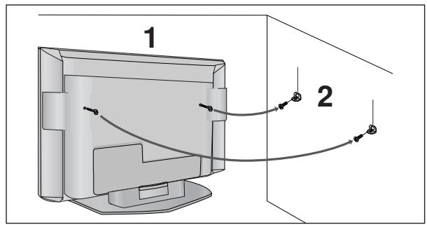
FIXATION MURALE DU TÉLÉVISEUR
Afin d'eviter les accidents et les dégats causés par la chute du téléviseur, installer celui-ci assez près du mur pour qu'il ne tombe pas lorsqu'il est pousse vers l'arrière et suivre les instructions illustrées ci-dessous montrant comment le fixer au mur pour éviter les chutes en avant. Veiller à ce que les enfants ne se suspendent pas au téléviseur et ne tentent pas de monter dessus.

MODELES DE TV Plasma

MODELES DE TV LCD
Utilisez les boulons à œil ou les supports/boulons du téléviseur pour fixer l'appareil au mur, comme indiqué dans l'illustration ci-dessous. (Si avant d'insérer les boulons de l'appareil, ceux-ci sont déjà placés dans la position des boulons à œil, déserrez-les.)
- Insérez les boulons à œil ou les supports/boulons du téléviseur, puis serrez-les solidement dans les ori-fices supérieurs.
Fixez les supports muraux à l'aide des boulons (non fournis avec l'appareil, vendus séparément). Ajustez la hauteur du support fixé au mur.

3 Utiliser une corde solide (non fournie avec l'appareil, à acheter séparément) pour attacher l'appareil. Pour plus de sécurité, la corde doit être à l'horizontalité entre le mur et l'appareil.
REMARQUE
Retirer la corde avant de deplacer l'appareil.
Utiliser un support ou un meuble assez grand et solide pour la taille et le poids de l'appareil.
Pour utiliser l'appareil en toute sécurité, veiller à ce le support fixé au mur soit de la même hauteur que l'ap-pareil.
COUVERTURE DU PANNEAU ARRIÈRE POUR LA DISPOSITION DES CÂBLES
MODELES DE TV Plasma
1 Tenez le PROTEGE-CABLES avec vos deux mains et tirez dessus comme indiqué.

Raccordez les cables.
Pour raccorder d'autres équipements, reportez-vous à la section Branchements d'un équipement externe.

3 Replacez le PROTEGE-CABLES comme indiqué.

MODELES DE TV LCD
1 Raccordez les cables.
Pour raccorder d'autres équipements, reportez-vous à la section Raccordement d'un équipement externe.

2 Replacez le PROTÉGE-CÁBLES comme indiqué.

3 Regroupez les cables à l'aide de l'attache de fixation fournie.

COMMENT RETIRER LE PROTEGE-CÁBLES?
Tenez le PROTEGE-CABLES avec les deux mains, puis tirez-le vers le haut.

REMARQUE
Lorsque vous déplacez l'appareil, ne le tenez pas par le PROTEGE-CABLES. - Si l'appareil tombe, vous risquez de vous blesser ou d'endommager l'appareil.
- Vous pouvez installer ce téléviseur sur le mur, sur un bureau, etc.
Le téléviseur est concu pour etre instalé à l'horizontal.
MISE À LA TERRE
Assurez-vous de raccorder ce téléviseur à la terre afin d'éviter les chocs ELECTriques. Si la mise à la terre n'est pas possible, demandez à un électricien qualifié d'installer un disjoncteur indépendant. N'essayez pas demettre cet apparéil à la terre en le raccordant à des cables téléphoniques, à un paraton-nerre ou à des tuyaux de gaz.

INSTALLATION DU SOCLE
Afin de permettre une aération suffisante, l'espace minimum requis est de 10 cm de chaque cote et derriere le mur.


MONTAGE AU MUR : INSTALLATION HORIZONTALE
Afin de permettre une aération suffisante, l'espace minimum requis est de 10 cm de chaque cote et derriere le mur. Vous trouvez les instructions détaillées de l'installation chez votre revendeur ; reportez-vous également au Guide de configuration et d'installation de l'interface de montage au mur.


- Ne jamais brancher le cordon d'alimentation avant d'avoir terminé de raccorder tous les équipements pour ne pas endommager l'appareil.
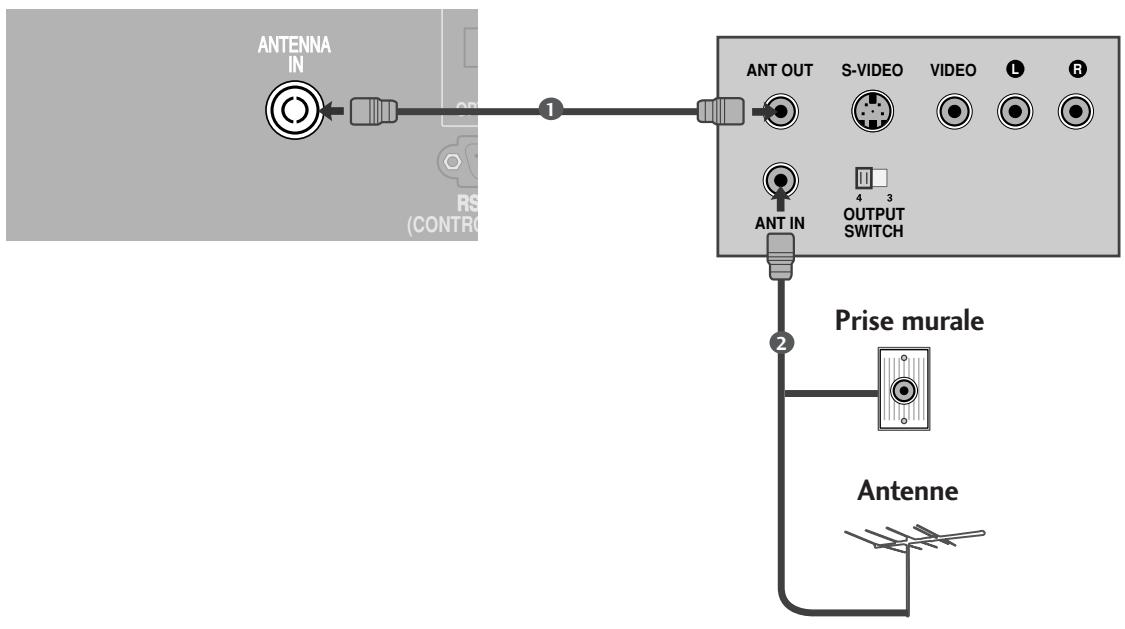
RACCORDEMENT À UNE ANTENNE
Afin d'obtenir la meilleure qualité d'image, réglez la direction de l'anse.
Le cable et le convertisseur d'antenne ne sont pas fournis.

- Veillez à ne pas plier le cable en cuivre lorsque vous vous connectez au port de l'antenne.
- L'antenne 5V ne fonctionne qu'en mode numérique. (Reportez-vous à la page 39)

Pour receivevoir une image de toute valeur qualite dans les zones ou les signaux se reçoivent mal, installez sur l'antenne un amplificateur de signaux comme indiqued sur le schema de droite.
Pour acheminer le signal dans deux branchements de télévision, veuillez utiliser un diviseur.
CONFIGURATION DE L'ÉQUIPEMENT EXTERNE
Ne jamais brancher le cordon d'alimentation avant d'avoir terminé de raccorder tous les équipements pour ne pas endommager l'appareil.
Cette section utilise principalement les illustrations des modèles de télééviseur LCD.
CONFIGURATION DU RÉCEPTEUR HD
- Ce téléviseur peut receivevoir des signaux numériques en liaison radio ou des signaux de cable sans un boîtier décodeur numérique. Cependant, si vous receivez des signaux numériques d'un boîtier décodeur ou d'un autre dispositif externe numérique, reportez-vous à l'illustration ci-dessous.
Raccordement avec un cable Composante
Raccordez les prises de sortie video (Y, PB, PR) du DVD sur les prises d'entrée COMPONENT IN VIDEO du téléviseur.
Raccordez les sorties audio du DVD aux prises d'entrée COMPONENT IN AUDIO du téléviseur.
3 Allumez le boitier decodeur numérique (reportez-vous au Mode d'emploi du boitier decodeur numéroque).
4 Sélectionné la source d'entrée Component à l'aide de la touche INPUT de la télécommande.
| Signal | Component | HDMI1/2 |
| 480i/576i | Oui | Non |
| 480p/576p | Oui | Oui |
| 720p/1080i | Oui | Oui |
| 1080p | Non | Oui |

Raccordement avec un cable HDMI
Raccordez la prise de sortie HDMI du boitier decodeur numérique à la prise d'entrée HDMI/DVI IN 1 ou HDMI IN 2 du téléviseur.
2 Allumez le boîtier décodeur numérique (reportez-vous au Mode d'emploi du boîtier décodeur numéroque).
3 Sélectionnez la source d'entrée HDMI 1 ou HDMI 2 à l'aide de la touche INPUT de la télécommande.

Raccordement avec un cable HDMI à DVI
1 Raccordez la prise de sortie DVI du boitier decodeur numérique à la prise d'entrée HDMI/DVI IN du téléviseur.
2 Raccordez les cables audio du boîtier décodeur numérique à la prise AUDIO(RGB/DVI) du téléviseur..
3 Allumez le boitier decodeur numérique (reportez-vous au Mode d'emploi du boitier decodeur numéroque).
4 Sélectionnez la source d'entrée HDMI 1 ou HDMI 2 à l'aide de la touche INPUT de la télécommande.

BRANCHEMENT D'UN DVD
Raccordement avec un cable Composante
Raccordez les prises de sortie video (Y, PB, PR) du DVD sur les prises d'entrée COMPONENT IN VIDEO du téléviseur.
Raccordez les sorties audio du DVD aux prises d'entrée COMPONENT IN AUDIO du téléviseur.
3 Mettez votre lecteur DVD sous tension, puis insérez un DVD.
4 Sélectionnez la source d'entrée Component à l'aide de la touche INPUT de la télécommande.
5 Reportez-vous au Manuel du lecteur DVD pour suivre les instructions de fonctionnement.

Entrées video composante
Vouss pouvez améliorer la qualité de l'image en branchant le lecteur DVD sur les entrées video composante, comme illustré ci-dessous.
| Entrées video composante du téléviseur | Y | PB | PR |
| Sorties video du lecteur DVD | Y | PB | PR |
| Y | B-Y | R-Y | |
| Y | Cb | Cr | |
| Y | Pb | Pr |
Raccordement avec un cable Péritel
Raccordez la prise Péritel du DVD à la prise Péritel AV1 du téléviseur.
2 Mettez votre lecteur DVD sous tension, puis insérez un DVD.
3 Sélectionnez la source d'entrée AV1 à l'aide de la touche INPUT de la télécommande.
Si vous étés connectés sur la prise péritel AV2, Sélectionnez la source d'entrée AV2.
4 Reportez-vous au Manuel du lecteur DVD pour suivre les instructions de fonctionnement.

REMARQUE
Si vous souhaitez utiliser le cable du Péritel, vous doivent utiliser le cable Péritel blinde.
Raccordement avec un cable S-Video
Raccordez la prise de sortie S-VIDEO du DVD à la prise d'entrée S-VIDEO du téléviseur.
Raccordez les prises de sortie audio du DVD aux pris- es d'entrée AUDIO du téléviseur.
3 Mettez votre lecteurDVD sous tension, puis insérez un DVD.
4 Sélectionnez la source d'entrée AV3 à l'aide de la touche INPUT de la télécommande.
5 Reportez-vous au mode d'emploi du lecteur DVD pour suivre les instructions de fonctionnement.

CONFIGURATION DE L'ÉQUIPEMENT EXTERNE
Raccordement avec un cable HDMI
Raccordez la prise de sortie HDMI du DVD à la prise d'entrée HDMI/DVI IN 1ou HDMI IN 2 du téléviseur.
2 Sélectionnez la source d'entrée HDMI 1 ou HDMI 2 à l'aide de la touche INPUT de la télé-commande
3 Reportez-vous au mode d'emploi du lecteur DVD pour suivre les instructions de fonctionnement.
REMARQUE
Si vous utilisez un cable HDMI, le téléviseur peut receivevoir simultanement des signaux audio et video.
Si le DVD ne prend pas en charge la fonction Auto HDMI, vous doivent regarder correctement la résolution de sortie.

INSERTION DU MODULE CI
- Pour activer les chaînes cryptées (chaînes payantes) en mode TV numérique.
1 Insérez le module CI dans le logement pour cartes PCMCIA (PCMCIA CARD SLOT) du téléviseur, comme indiqué sur le schéma.
Pour plus d'informations, reportez-vous à la page 42.

BRANCHEMENT D'UN MAGNETOSCOPE
Afin d'eviter de possibles interférences, veillez à laisser une distance suffisante entre le magnétoscope et le téléviseur.
- Tout particulièrement dans le cas de l'image figée d'un magnétoscope. Il se peut que l'utilisation du format 4:3 entraine une rémanence de l'image sur l'écran.
Raccordement avec un cable d'antenne

Raccordez la prise ANT OUT du magnétoscope à la prise ANTENNA IN du téléviseur.
2 Raccordez le cable d'antenne à la prise ANT IN du magnétoscope.
3 Appuyez sur la touche PLAY (LECTURE) du magnétoscope, puis trouvez le canal ajustat entre le téléviseur et le magnétoscope pour pouvoir regarder la télévision.
CONFIGURATION DE L'ÉQUIPEMENT EXTERNE
Raccordement avec une prise Péritel
Raccordez la prise Péritel du magnétoscope à la prise Péritel AV1 du téléviseur.
2 Insérez une cassette video dans le magnétoscope, puis appuyez sur la touche PLAY (LECTURE) du magnétoscope (reportez-vous au Mode d'emploi du magnétoscope).
3 Sélectionnez la source d'entrée AV1 à l'aide de la touche INPUT de la télécommande.
4 Si vous étés connectés sur la prise péritel AV2, selectionnez la source d'entrée AV2.

REMARQUE
Si vous souhaitez utiliser le cable du Péritel, vous nevez utiliser le cable Péritel bliné.
Raccordement avec un cable RCA
Raccordez les cables AUDIO/VIDEO du magneto-scope aux prises AUDIO/VIDEOS du téléviseur.Veuillez respecter les couleurs des prises :(Vidéo =jaune,Audio gauche =blanc et Audio droit =rouge).
2 Insérez une cassette video dans le magnétoscope, puis appuyez sur la touche PLAY du magnétoscope (reportez-vous au Mode d'emploi du magneto-scope).
3 Sélectionnez la source d'entrée AV3 à l'aide de la touche INPUT de la télécommande.

REMARQUE
Si vous avez un magnétoscope mono, raccordez le cable audio du magnétoscope à la prise AUDIO L/MONO du téléviseur.
Raccordement avec un cable S-Video
Raccordez la prise de sortie S-VIDEO du magnétoscope à la prise d'entrée S-VIDEO du téléviseur. Lorsque vous raccordez un magnétoscope S-Video à la prise S-Video, la qualité de l'image est nettement améliorée.
2 Raccordez le cable audio depuis le magnétoscope jusqu'aux prises AUDIO situées du téléviseur.
3 Insérez une cassette video dans le magnétoscope, puis appuyez sur la touche PLAY (LECTURE) du magnétoscope (reportez-vous au Mode d'emploi du magnétoscope).
4 Sélectionnez la source d'entrée AV3 à l'aide de la touche INPUT de la télécommande.

REMARQUE
Si les prises S-VIDEO et VIDEO ont ete raccordees simultanement au magnétoscope S-VHS, seul le signal S-VIDEO peut etre reçu.
CONFIGURATION DE LA SORTIE DIGITAL AUDIO OUT OPTICAL
Envoie le son du téléviseur à un équipement audio externe via le port de sortie audio numérique (optique).
Raccordez une des extremités d'un cable optique au port optique de sortie audio numérique (optique) du téléviseur.
Raccordez l'autre extrémité du cable optique au port d'entrée audio numérique (optique) de l'équipement audio.
3 Réglez l'option "Haut-parleur TV - sur Désacté" dans le menu SON. (p.72). Reportez-vous au mode d'emploi de l'équipement externe.
ATTENTION
Ne jamais regarder à l'intérieur du port de sortie optique. Cela peut représenter un danger pour votre vue.

CONFIGURATION D'UNE AUTRE SOURCE AUDIO/VIDÉO

Raccordez les cables AUDIO/VIDÉO du magnétoscope aux prises AUDIO/VIDÉO du téléviseur. Veuillez respecter les couleurs des prises : (Vidéo = jaune, Audio gauche = blanc et Audio droit = rouge).
2 Sélectionnez la source d'entrée AV3 à l'aide de la touche INPUT de la télécommande.
3 Faites fonctionner la source externe correspondante. Reportez-vous au guide de fonctionnement de la source externe.
BRANCHEMENT D'UN PC
Ce téléviseur comprend la fonction Plug and Play, ce qui signifie que l'ordinateur s'adapte automatiquement aux paramètres du téléviseur.
Raccordement avec un cable D-sub à 15 broches
Raccordez la prise de sortie RGB du boîtier décodeur numérique à la prise d'entrée RGB (PC) du téléviseur.
Raccordez les prises de sortie audio du boîtier décodeur numérique à la prise AUDIO IN (RGB/DVI) du téléviseur.
3 Allumez I'ordinateur et le téléviseur.
4 Sélectionnez la source d'entrée RGB à l'aide de la touche INPUT de la télécommande.

Raccordement avec un cable HDMI à DVI
Raccordez la prise de sortie DVI de l'ordinateur à la prise d'entrée HDMI/DVI IN 1 du téléviseur.
Raccordez les prises de sortie audio du boîtier décodeur numérique à la prise AUDIO IN (RGB/DVI) du téléviseur.
3 Allumez I'ordinateur et le téléviseur.
4 Sélectionnez la source d'entrée HDMI à l'aide de la touche INPUT de la télécommande.

REMARQUE
Si l'ordinateur est muni d'une sortie DVI et non d'une sortie HDMI, il est nécessaire d'effectuer un raccordement audio independant.
Si l'ordinateur n'est pas compatible avec Auto DVI, vous doivent regardier correctement la résolution de sortie. Pour obtenir une qualité d'image optimale, reglez la résolution de sortie de la carte graphique de l'ordinateur sur 1024x768, 60 Hz.
REMARQUE
Pour bénéficier d'un son et d'une image exceptionnels, raccordez l'ordinateur au téléviseur.
É vitez l'affichage prolongé d'une image figé e à l'é cran. L'image figée pourrait s'incruster sur l'écran. Utilisez un économiseur d'écran.
Raccordez l'ordinateur au port RGB INPUT(PC INPUT) du téléviseur ; changez la résolution de sortie de l'ordinateur.
Il est possible que du bruit apparaisse selon la résolution, le contraste ou la luminosité en mode PC. Changez alors la résolution du mode PC, modifiez la fréquence de rafraîchissement ou réglez la luminosité et le contraste dans le menu, jusqu'à ce que l'image soit nette. Si la fréquence de rafraîchissement de la carte graphique de l'ordinaire ne peut pas être modifiée, changez la carte graphique de l'ordinaire ou demandez conseil au fabricant de la carte graphique.
La synchronisation des fréquences horizontale et verticale est de type séparé.
Nous vous recommendons d'utiliser les résolutions suivantes en mode PC: 1024x768, 60Hz (MODELES DE TV Plasma); elles offrent en effet la meilleure qualite d'image.
Raccordez le cable de signal du port de sortie du moniteur de l'ordinateur au port RGB (PC/DTV) du téléviseur ou le cable de signal du port de sortie HDMI de l'ordinateur au port HDMI/IN (ou HDMI/DVI IN) du téléviseur.
Raccordez le cable audio de l'ordinateur à l'entrée audio du téléviseur (les cables audio ne sont pas fournis avec le téléviseur).
Si vous utilisez une carte son, reglez le son de l'ordinateur en conséquence.
Ce téléviseur utilise une solution VESA Plug & Play. Ce téléviseur fournit des données EDID au système de l'ordinateur avec un protocole DDC. L'ordinateur se règle automatiquement lorsque vous utilisez le téléviseur.
Le protocole DDC est prédéfini pour les modes RGB (RGB analogue) et HDMI (RGB numérique).
Si besoin est, définièsez les paramètres de la fonction Plug and Play.
Si la carte graphique de l'ordinateur ne produit pas les signaux RGB analogiques et numériques simultanément, raccordez soit RGB, soit HDMI IN (ou HDMI/DVI IN) pour afficher l'écran de l'ordinateur sur le téléviseur.
Si la carte graphique de l'ordinateur produit simultanément la sortie RGB analogue et numérique, réglez le téléviseur sur RGB ou HDMI; (l'autre mode est automatiquement régle sur Plug and Play par le téléviseur.)
Il est possible que le mode DOS ne fonctionne pas selon la carte video, si vous utilisez un cable HDMI à DVI.
Si vous utilisez un cable RGB-PC trop long, du bruit peut se produit sur l'écran. Nous vous recommendons d'utiliser un cable inférieur à 5 mètres. Cela vous garantit une qualité d'image optimale.
Résolution d'affichage prise en charge
mode RGB[PC] / HDMI[PC]
| Résolution | Fréquence horizontal(KHz) | Fréquence vertical(KHz) |
| 720x400 | 31,468 | 70,08 |
| 640x480 | 31,469 | 59,94 |
| 37,684 | 75,00 | |
| 800x600 | 37,879 | 60,31 |
| 46,875 | 75,00 | |
| 832x624 | 49,725 | 74,55 |
| 1024x768 | 48,363 | 60,00 |
| 56,476 | 70,00 | |
| 60,123 | 75,029 | |
| 1280x768 | 47,78 | 59,87 |
| 1360x768 | 47,72 | 59,8 |
| 1366x768 | 47,56 | 59,6 |
| 1920x1080 | 66,647 | 59,988 |
mode HDMI[DTV]
| Résolution | Fréquence horizontal(KHz) | Fréquence vertical(KHz) |
| 640x480 | 31,469 | 59,94 |
| 31,469 | 60,00 | |
| 720x480 | 31,47 | 59,94 |
| 31,50 | 60,00 | |
| 720x576 | 31,25 | 50,00 |
| 1280x720 | 37,50 | 50,00 |
| 44,96 | 59,94 | |
| 45,00 | 60,00 | |
| 1920x1080 | 33,72 | 59,94 |
| 33,75 | 60,00 | |
| 28,125 | 50,00 | |
| 27,00 | 24,00 | |
| 56,25 | 50,00 | |
| 67,433 | 59,94 | |
| 67,500 | 60,00 |
Configuration de l'écran pour le mode PC
Config. Auto(mode RGB [PC] uniqueness)
Ajuste de façon automatique la position de l'image et minimise le tremblement de l'image. Si l'image n'est toujours pas nette après avoir effectué les réglages, bien que votre téléviseur fonctionne correctement, vous devez effectuer d'autres réglages.
Config. auto
Cette fonction sert au réglage automatique de la position, de l'horloge et de la phase de l'écran. L'image affichée disparaitra pendant quelques secondes pendant l'execution de la configuration automatique.
1 Appuyez sur la touche , puis utilisez les touches ou pour selectionner LUMINOSITE.
2 Appuyez sur la touche , puis utilisez les touches ou pour selectionner Config. auto.
3 Appuyez sur la touche pour demarrer la Config. auto.
- Une fois terminée, OK s'affiche à l'écran.
- Si la position de l'image n'est toujours pas correcte, relancez la configuration automatique.
- Si l'image nécessite un réglage supplémentaire après la configuration automatique en mode RGB (PC), vous pouvez passer en Config. manuelle.
4 Appuyez sur la touche EXIT pour revenir au visionnage du téléviseur.


1

2 3
Réglage des options d'écran Phase, Horloge et Position
Si l'image n'est toujours pas nette après l'ajustement automatique et spécialement si les caractères continuent à trembler, réglez la phase de l'image manuellement.
Pour corriger la taille de l'écran, ajustez Clock.
Cette fonction est disponible dans les modes suivants : mode RGB[PC].
Clock
Cette fonction permet de minimiser les barres verticales ou les striures qui apparaissent sur le fond de l'écran. La taille horizontale de l'écran changera également.
Phase
Cette fonction vous permet de supprimer le bruit horizontal et d'affiner la durée de l'image.

Appuyez sur la touche , puis utilisez les touches ou pour sélectionner LUMINOSITE.

Appuyez sur la touche , puis utilisez les touches ou pour selectionner Config. auto.

Appuyez sur la touche , puis utilisez les touches ou pour selectionner Phase, Clock, Position H ou Position V.

Réglez le niveau avec la touche ou .

Appuyez sur la touche EXIT pour revenir au visionnage du téléviseur.


1

2 3 4
CONFIGURATION DE L'ÉQUIPEMENT EXTERNE
Selection du mode XGA Plein
Pour visualiser une image normale, faites correspondre la résolution du mode RGB et la sélection du mode XGA.
Cette fonction est disponible dans les modes suivants : mode RGB[PC].

1 Appuyez sur la touche , puis utilisez les touches A ou pour selectionner LUMINOSITE.
2 Appuyez sur la touche , puis utilisez les touches A ou pour selectionner Mode XGA.
3 Appuyez sur la touche , puis utilisez les touches A ou pour selectionner la résolution XGA de votrechoix.
4 Appuyez sur la touche EXIT pour revenir au visionnage du téléviseur.

1

2 3
Réinitialisation
(Retour aux réglages d'usine)
Cette fonction est disponible dans tous les modes pour initiaiser la valeur ajustée.

1 Appuyez sur la touche MENU, puis sur les touches A ou pour selectionner le menu OPTION.
2 Appuyez sur la touche , puis utilisez les touches A ou pour selectionner Mode usine.
3 Appuyez sur la touche , puis utilisez les touches A ou pour selectionner Reglasges usine.
4 Appuyez sur le bouton
Le message "Si vous entrez un mot de passer, tous les paramètres utiliser seront réinitialisés." will appear.
Utilisez les touches numériques pour saisir un mot de passer à 4 chiffres.

1

2

3 4
UTILISATION DU TÉLEVISEUR / COMMANDE DES PROGRAMMES
FONCTIONS DES TOUCHES DE LA TÉLECOMMANDE
Lorsque you utilisez la telecommande, dirigez-la vers le capteur de la telecommande du téléviseur.


MODE Permet de selectionner les modes de fonctionnement à distance.
SIMPLINK affiche une liste des péripériques audio/vidéo connectés au téléviseur. Lorsque vous appuyez sur cette touche, le menu Simplink s'affiche à l'écran (p.50)
1 Touches du TÉLÉTEXTE Ces touches sont utilisées pour le télétexte. Pour de plus amples détails, veuillez vous reporter à la section 'Télétexte'.
RATIO Permet de selectionner le format d'image de votrechoix. I/II Permet de selectionner la sortie du son.
TOUCHES Commande certains magnétoscopes ou lecteurs DVD lorsque
VCR/DVD you've déjà sélectionné la touche de mode DVD ou magnétoscope. Pour commander les périphériques audio/video connectés, appuyez sur les touches ▲ ou ▼ ou ▶ OK ; vous pouvez également utiliser les touches de lecture, d'arrêt, de pause, de recherche rapide vers l'arrière, de recherche rapide vers l'avant et de recherche de chapitre. (La touche ne permet pas d'effectuer ces opérations)
TOUCHES CEN- Ces touches vous permettent de naviguer à travers les TRALES (haut/bas/ menus à l'écran et de régler les paramétres système à votre convenance. OK Valide votre sélection ou affiche le mode en cours.
SLEEP Permit d'activer la mise en voille.
SUBTITLE Rappelle vos sous-titres préféRES en mode numérique.
Insertion des piles

Ouvrez le capot du compartment à piles à l'arrière de la télécommande.
Utilisez deux piles alcalines de 1,5V de type AA. Ne mélangez pas une pile neue avec une pile usagée.
MISE SOUS TENSION DU TÉLEVISEUR
Pour pouvoir utiliser toutes les fonctions du téléviseur, vous devezmettre celuici sous tension.
1 Vous doivent tout d'abord raccorder correctement le cordon d'alimentation.
Le téléviseur se met alors en mode de voir.
Pour allumer le téléviseur lorsque celui-ci est en mode de veille, appuyez sur la touche / I, INPUT ou PR ou du téléviseur, ou appuyez sur POWER, INPUT, D/A, PR + ou - ou sur les touches NUMÉRIQUES de la télécom-mande.
Initialisation de la configuration
Comme indiqué dans le schéma, si l'OSD (affichage à l'écran) est affché sur l'écran après avoir mis le téléviseur sous tension, vous pouvez configurer les options suivantes : Langue, Pays, Fuseau hora, Programmation automatique.
Remarque:
a. L'OSD disparait automatiquement au bout de 40 secondes si vous n'appuyez sur aucune touche.
b. Appuyez sur la touche BACK pour passer de l'OSD actuel à l'OSD précédent.

SELECTION DES PROGRAMMES
1 Appuyez sur la touche PR + ou - ou sur les touches NUMÉRIQUES pour sélectionner un numéro de programme.
RéGLAGE DU VOLUME
1 PAppuyez sur la touche VOL + ou - pour régler le volume.
Si vous souhaitez couper le son, appuyez sur la touche MUTE.
Vous pouvez annuler cette fonction en appuyant sur les touches MUTE, VOL + ou - ou I/II.

UTILISATION DU TÉLEVISEUR / COMMANDE DES PROGRAMMES
SELECTION ET RÉGLAGE DES MENUS À L'ÉCRAN
Il est possible que l'affichage à l'écran de votre téléviseur soit différent de celui indiqué dans les schémas de ce manuel.
1 Appuyez plusieurs fois sur la touche MENU et la touche ou , pour obtenir l'affichage de chaque menu.
2 Appuyer sur le bouton et sur le bouton ou pour selectionner une option de menu.
Changer le paramétrage d'une option dans le sous-menu ou le menu dérouulant avec le bouton ou .
Vou陝s que you deplacer vers le menu supérieur en appuyant sur la touche OK ou sur la touche MENU.











REMARQUE
Les modeles de téléviseur LCD ne vous permettent pas d'utiliser les modes Methode ISM et Mode Eco..
En mode analogue, Puissance antenné 5V,Infos CI, Mise a jour Logic et Diagnostiques ne s'affichent pas.
Index- uniquement pour les modeles 50PB65*.
MÉMORISATION DES CHÂINES (EN MODE NUMÉRIQUE)
Utilisez cette fonction pour rechercher automatiquement et memoriser tous les programmes.
Lorsque vous lancez la programmation automatique en mode Numérique, les informations préalablement enregistrées seront supprimées.


Appuyez plusieurs fois sur la touche MENU et la touche ▲ ou▼ pour sélectionner le menu CONFIGUR.

Appuyer sur la touche et la touche ou pour selectionner la Syntonisation auto.

Appuyez sur la touche pour commencer la syntonisation automatique.
Utilisez les touches NUMÉRIQUES pour saisir un mot de passer à 4 chiffres dans Système de verrouillage 'Marche'.
Le message "Toute I'information service sera mise à jour. Continuer?
Si vous souhaitez poursuivre la symponisation automatique, selectionnez Oui à l'aide de la « ou ».
Appuyez alors sur la touche OK. Appuyez sinon sur la touche Non.
Pour arrêter la syntonisation automatique, appuyez sur la touche MENU.

Appuyez sur la touche EXIT pour revenir au visionnage du téléviseur.

1

2

3
UTILISATION DU TÉLEVISEUR / COMMANDE DES PROGRAMMES
PROGRAMMATION MANUELLE (EN MODE NUMÉRIQUE)
La syntonisation automatique vous permet d'ajouter manuellement un programme à la liste des programmes.

1 Appuyez plusieurs fois sur la touche MENU et la touche ou pour selectionner le menu CONFIGUR.
2 Appuyer sur la touche et la touche ou pour selectionner la Syntonisation man..
3 Appuyez sur la touche , puis sur la touche ou ou sur les touches NUMERIQUES pour selectionner le numero de chaine de votrechoix. Utilisez les touches NUMERIQUES pour saisir un mot de passer a 4 chiffres dans Systeme de verrouillage Marche
4 Appuyez sur la touche OK pour valider.
Si le numero de chaine que vous souhaitez ajouter se trouve déjà dans la liste des programmes, le message "L'information d'installation du canal sera mise à jour." s'affiche.
Si vous souhaitez poursuivre la symtonisation manuelle, selectionnez Oui à l'aide de la touche « ou »
Appuyez alors sur la touche OK. Appuyez sinon sur la touche Non.
5 Appuyez sur la touche EXIT pour revenir au visionnage du téléviseur.

1

2

3 4
EDITION DES PROGRAMMES (EN MODE NUMÉRIQUE)
Si un numero de chaîne est omis, cela signifie que vous ne pourrez pas le sélectionner avec la touche PR + ou - lorsque vous regardez la télévision.
Si vous souhaitez selectionner le programme omis, entrez directement le numero de chaîne à l'aide des touches NUMÉRIQUES ou selectionnez-le dans le menu Edition programmes).
Cette fonction vous permet d'omettre les programmes mémorisés.
Si vous changez de programme en utilisant la touche JAUNE, selectionnez Allemagne, Italie ou Espagne dans le menu Pays.

Appuyez plusieurs fois sur la touche MENU et la touche ou▼ pour sélectionner le menu CONFIGUR.

Appuyer sur la touche et la touche / pour selectionner la Edition programmes.

Appuyez sur la touche pour afficher le menu correspondant au mode Edition programmes.
Utilisez les touches NUMÉRIQUES pour saisir un mot de passer à 4 chiffres dans Système de verrouillage 'Marche'.

Selectionnez un programme à memoriser ou à omettre à l'aide de la touche ▲ou▼ ou

Appuyez plusieurs fois sur la touche BLEUE pour omettre le programme ou le memoriser.
Si vous souhaitez omettre des programmes, les programme omis s'affichent en bleu et vous ne pourrez pas les selectionner a l'aide de la touche PR + ou - lorsque vous regardez la télévision.

Appuyez sur la touche EXIT pour revenir au visionnage du télévisseur.


1

2 3

4 5
Mini glossaire

S'affiche lorsque le menu Programme DTV est à l'écran.

S'affiche lorsque le menu Programme télétexte est à l'écran.

S'affiche lorsque le menu Chaines préférences est à l'écran.

S'affiche lorsque le menu Programme sous-titré est à l'écran.

S'affiche lorsque le menu Programme verrouillé est à l'écran.

S'affiche lorsquel menuProgramme crypté est à l'écran.

S'affiche lorsque le menu Programme radio est à l'écran.

S'affiche lorsque le menu Programme Dolby est à l'écran.

S'affiche lorsque le menu Programme MHEG est à l'écran.
Sauter un programme
1 Sélectionnez le programme que vous poulez sauter à l'aide de la touche ▲ ou ▼ ou △ ou ▲.
2 Appuyez sur la touche BLEU. Le programme sauté devient bleu.
3 .Appuyez de nouveau sur la touche BLEU pour libérer le programme sauté.
Losqu'un numero de programme est sauté, cela peut dire que vous ne pourrez pas le selectionner en utilisant la touche PR + ou - pendant le fonctionnement normal dae la télévision.
Si vous foulez trouver directement le programme sauté, saisissez le numero de programme en utilisant les touches NUMERO-TEES ou selectionnez-le en menu 'Edition ou Table des programmes'.
4 Appuyez sur la touche EXIT pour revenir au visionnage du téléviseur.
■ Verrouillage d'un programme (en mode Système de verrouillage activé uniquement)
1 Sélectionnez un programme à verrouiller à l'aide de la touche ▲ ou ▼ ou △ ou ▷.
2 Appuyez sur la touche VERTE. L'icone de verrouillage apparait devant chaque numero de programme.
3 Appuyez à nouveau sur la touche VERTE pour quitter cette fonction.
Remarque :
Pour visionner un programme verrouillé, entrez un mot de passer à 4 chiffres dans Système de verrouillage. Veillez à memoriser ce numéro !
Si vous oubliez votre mot de passer, appuyez sur '7', '7', '7', '7' sur la télécommande.
Si vous selectionnez un autre programme après avoir quitté un programme verrouillé et si vous revenez au programme verrouillé dans la minute qui suit, il n'est pas nécessaire de saisir à nouveau le mot de passer pour sélectionner le programme verrouillé.
■ Sélection de votre programme préféRED
1 Sélectionnez le nombre de votre programme préfééré en appuyant sur la touche ▲ ou ▼ ou △, puis appuyez sur la touche FAV de la télécommande.
Le programme selectionné est automatiquement ajouté à la liste de vos programmes préféres et une icone en forme de cœur apparait devant chaque numéro de programme.
PUISSANCE ANTENNE 5V (EN MODE NUMÉRIQUE UNIQUEMENT)
Meme si l'antenne externe ne possède pas d'adaptateur secteur 5 V spécial, cette fonction peut produit 5 V sur le téléviseur.

1 Appuyez plusieurs fois sur la touche MENU et la touche ou▼ pour selectionner le menu CONFIGUR.
2 Appuyer sur la touche et la touche ou pour selectionner la Puisance antenné 5V.
3 Appuyer sur le bouton et sur le bouton ou pour selectionner Marche ou Arrêt.
Si Puissance antennae 5V est regle sur Activé, lorsque le téléviseur subit un court-circuit, il s'eteint automatiquement.
Le message "Surtension de I'antenne. Coupure automatique." s'affiche.
4 Appuyez sur la touche LATE pour revenir au visionnage du téléviseur.

1

2 3
UTILISATION DU TÉLEVISEUR / COMMANDE DES PROGRAMMES
MISE À JOUR LOGIC (EN MODE NUMÉRIQUE UNIQUEMENT)
Mise à jour logic signifie que le logiciel peut être télécharge à l'aide du système de diffusion terrestre numérique.
1 Appuyez plusieurs fois sur la touche MENU et la touche ou pour selectionner le menu CONFIGUR.
2 Appuyer sur la touche et la touche ou pour selectionner la Mise a jour Logic.
3 Appuyer sur le bouton et sur le bouton ou pour selectionner Marche ou Arrêt.
- Si vous sélectionnez Marche, une boîte contenant un message de confirmation s'affiche pour vous notification qu'un nouveau logiciel a été détecté.
4 Appuyez sur la touche EXIT pour revenir au visionnage du télévisueur.


1

2 3
- Lors du réglage de l'option "Mise à jour logic"

De temps à autres, des informations sur la mise à jour du logiciel numérique s'affiche dans le menu suivant de l'écran TV.

Selectionnez Oui à l'aide de la touche ou ; vous verrez alors l'image suivante.

Une fois la mise à jour du logiciel terminée, le système prend environ une minute à redémarrer.
-
Lors de la mise à jour du logiciel, notez les points suivants :
-
L'alimentation du téléviseur ne doit pas etre coupée.
- Le téléviseur ne doit pas être éteint.
- L'antenne ne doit pas etre déconnectee.
Lors de la mise a jour, vous ne devez pas eteindre le téléviseur. - Vous ne doivent pasmettre l'appareil hors tension, puis a nouveau sous tension.
- Une fois la mise à jour terminée, vous pouvez confirmer la mise à jour de la version du logiciel dans le menu Diagnostique.
DIAGNOSTIQUES
(EN MODE NUMÉRIQUE UNIQUEMENT)
Cette fonction vous permet d'afficher le fabriquant, le modèle, le type, le numéro de série et la version du logiciel.
Les informations et la puissance du signal du multiplexeur syntonisé sont affichées.
Les informations sur le signal et le nom du multiplexeur sélectionné sont affichés.

1 Appuyez plusieurs fois sur la touche MENU et la touche aou▼ pour selectionner le menu CONFIGUR.
2 Appuyer sur la touche et la touche ou pour selectionner la Diagnostiques.
3 Appuyez sur la touche pour afficher le fabriquant, le modele, le type, le numero de série et la version du logiciel.
4 Appuyez sur la touche EXIT pour revenir au visionnage du téléviseur.

1

2

3
CI [COMMON INTERFACE] INFORMATION (INFOS CI (INTERFACE COMMUNE)) (EN MODE NUMÉRIQUE UNIQUEMENT)
Cette fonction vous permet de regarder des chaînes cryptées (chaînes payantes). Si vous retirez le module Cl, vous ne pouvez plus regarder les chaînes cryptées. Lorsque vous insérez le module dans le logement Cl, vous accédez au menu du module. Pour acheter un module et une carte intelligente, contactez votre revendeur. Évitez d'insérez et desterolir le module CAM du téléviseur trop féquèment. Cela risquérait de provoquer un dysfonctionnement. Lorsque le téléviseur se met sous tension après l'insertion du module Cl, il est possible qu'aucun son ne soit émis.
![LG-GOLDSTAR 32LC45 - CI [COMMON INTERFACE] INFORMATION (INFOS CI (INTERFACE COMMUNE)) (EN MODE NUMÉRIQUE UNIQUEMENT) - 1](/content/2024/12/320958/images/ff5076b729a6e215d88abc519eaf828f5112b29652b5a0fe1eea90eb8fe8070f.jpg)
Il est possible que l'image ne soit pas naturelle selon le module Cl et la carte intelligente.
![LG-GOLDSTAR 32LC45 - CI [COMMON INTERFACE] INFORMATION (INFOS CI (INTERFACE COMMUNE)) (EN MODE NUMÉRIQUE UNIQUEMENT) - 2](/content/2024/12/320958/images/e579e4b1c1c288bc42ab1460f2a2c29f04af524bfc734221e85eb909954738db.jpg)
Appuyez plusieurs fois sur la touche MENU et la touche ▲ ou ▼ pour sélectionner le menu CONFIGUR.
![LG-GOLDSTAR 32LC45 - CI [COMMON INTERFACE] INFORMATION (INFOS CI (INTERFACE COMMUNE)) (EN MODE NUMÉRIQUE UNIQUEMENT) - 3](/content/2024/12/320958/images/3e13cf0108f64d6b825eeeefef84d03772760b8875ebd374081d42b4c772e2bd.jpg)
Appuyer sur la touche et la touche ou pour selectionner la Info s CI.
![LG-GOLDSTAR 32LC45 - CI [COMMON INTERFACE] INFORMATION (INFOS CI (INTERFACE COMMUNE)) (EN MODE NUMÉRIQUE UNIQUEMENT) - 4](/content/2024/12/320958/images/6902a846340b63be10fc7f38d5bedd8bb567d684139cba24641c7f8da23e0495.jpg)
Appuyez sur la touche , puis sur la touche OK.
![LG-GOLDSTAR 32LC45 - CI [COMMON INTERFACE] INFORMATION (INFOS CI (INTERFACE COMMUNE)) (EN MODE NUMÉRIQUE UNIQUEMENT) - 5](/content/2024/12/320958/images/7553fdc0a8128a3b8bb9ecbb5aa2e6c2defebfd4db0c3d3d4bdbe93171f6b077.jpg)
Appuyez sur la touche ou pour selectionner l'option de votrechioix: informations module, informations carte intelligente, langue ou teléchargement logiciel, etc.
![LG-GOLDSTAR 32LC45 - CI [COMMON INTERFACE] INFORMATION (INFOS CI (INTERFACE COMMUNE)) (EN MODE NUMÉRIQUE UNIQUEMENT) - 6](/content/2024/12/320958/images/9d715a6fc10d75f0f7b09d77fb1d3aceb41d5296b1cf178a3ba66ba03188ac2d.jpg)
Appuyez sur la touche OK.
![LG-GOLDSTAR 32LC45 - CI [COMMON INTERFACE] INFORMATION (INFOS CI (INTERFACE COMMUNE)) (EN MODE NUMÉRIQUE UNIQUEMENT) - 7](/content/2024/12/320958/images/360eee189747998a416f2dd8f7ba9a1cbdb58ac5df5cc7cee7cea865e3c4df8e.jpg)
Appuyez sur la touche EXIT pour revenir au visionnage du télévisseur.
![LG-GOLDSTAR 32LC45 - CI [COMMON INTERFACE] INFORMATION (INFOS CI (INTERFACE COMMUNE)) (EN MODE NUMÉRIQUE UNIQUEMENT) - 8](/content/2024/12/320958/images/392420625a3a6d9605f3646e3ade4e7be8a57551c6a8ecc4fc08ac25ac844c4e.jpg)
1
![LG-GOLDSTAR 32LC45 - CI [COMMON INTERFACE] INFORMATION (INFOS CI (INTERFACE COMMUNE)) (EN MODE NUMÉRIQUE UNIQUEMENT) - 9](/content/2024/12/320958/images/debdb03fc52b290be98a6ff428eb1470029c7b7d60f34af38c69adbf68b9bad6.jpg)
4 5
2 3
Cet OSD n'est donné qu'a titre indicatif et les options de menu et le format de l'écran varient selon le fournisseur de services de chaînes cryptées.
- Vous pouvez changer l'écran du menu CI (interface commune). Pour cela, consultez votre revendeur.
Viaccess Module
Consultations
Authorizations
Module information
Select the item
MÉMORISATION DES CHÂINES (EN MODE ANALOGIQUE)
Cette méthode permet de memoriser tous les programmes qui peuvent être reçus. Nous vous recommendons d'utiliser la programmation automatique lors de l'installation du téléviseur.

Appuyez plusieurs fois sur la touche MENU et la touche ▲ ou▼ pour sélectionner le menu CONFIGUR.

Appuyer sur la touche et la touche ou pour selec-tionner la Syntonisation auto.

Appuyez sur la touche pour selectionner Systeme. Selectionnez un système TV à l'aide de la touche ou ;
BG: PAL B/G, SECAM B/G (Europe/Europe de l'Est/Asie/Nouvelle-Zélande/Moyen-Orient/Afrique/Australie)
I : PAL I/II (Royaume-Uni/Irlande/Hong Kong/Afrique du Sud)
DK : PAL D/K, SECAM D/K (Europe de l'Est/Chine/Afrique/CEI)

Appuyez sur la touche pour selectionner Mémoire.
Dépannement Sélectionnez le nombre de programme de départ à l'aide de la touche ou ou du clavier NUMÉRIQUE dans le menu Mémoire.

Appuyez sur la touche pour selectionner D'ebut.
Pour les chaînes qui recoivent les informations VPS (Video Programme Service), PDC (Programme Delivery Control), Télatexte, le nom de la chaîne est méorisé.
Sieldomnomdechainepeutetreassociéaune chaine,le numero de canal est attribuete et mémorise sous la forme C (V/UHF01-69)ouS(Cable 01-47),suivi d'un numero.
Pour arrêté la syntonisation automatique, appuyez sur la touche MENU.
En fin de programmation automatique, le mode Edition programmes apparait à l'écran.
Pour éoperator le programme méorisé, reportez-vous à la section 'Edition programmes'.


Sytonisation auto Sytonisation man. Edition programmes





UTILISATION DU TÉLEVISEUR / COMMANDE DES PROGRAMMES
PROGRAMMATION MANUELLE (EN MODE ANALOGIQUE)
Ce mode de programmation permet de rechercher manuellement les canaux et de leur affecter les numeros de votrechoix.

Appuyez plusieurs fois sur la touche MENU et la touche ▲ ou▼ pour sélectionner le menu CONFIGUR.

Appuyer sur la touche et la touche ou pour selec-tionner la Syntonisation auto.

Appuyez sur la touche pour selectionner Mémoire.
Délectionnez le nombre de programme de votre choix à l'aide de la touche « ou » ou duclavier NUMÉRIQUE dans le menu Mémoire.

Sélectionnez Système avec la touche▼. Appuyez sur les touches ⊥ ou ⊥ pour sélectionner un menu du système TV; L : SECAM L/L' (France)
BG: PAL B/G, SECAM B/G (Europe/Europe de l'Est/Asie/Nouvelle-Zélande/Moyen-Orient/Afrique/Australie)
I : PAL I/II (Royaume-Uni/Irlande/Hong Kong/Afrique du Sud)
DK : PAL D/K, SECAM D/K (Europe de l'Est/Chine/Afrique/CEI)

Appuyez sur la touche pour selectionner Tuner.
Appuyez sur la touche ou pour selectionner V/UHF ou Câble as required.

Appuyez sur la touche pour selectionner Canal. Vous pouvez également selectionner la chaine de votre choix à l'aide des touches ou ou des touches NUMÉRIQUES.
Si c'est possible, Sélectionné le numéro de chaine directement avec les touches numériques.

Appuyez sur la touche pour selectionner Recherche.
Appuyez sur le bouton ou pour commencer la recherche. La recherche s'arrête lorsqu'une chaine est trouvée.

Appuyez sur la touche OK pour le ménoriser.

Pour programmer une autre station, repêze étapes 3 à 8.

Appuyez sur la touche EXIT pour revenir au visionnage du téléviseur.


1

2 3 4 5 6 7 8 9
RéGLAGE DE PRECISION
En règle générale, le Réglage de précision ne s'avère nécessaire que lorsque la qualité de réception est médiocre.
1 Appuyez plusieurs fois sur la touche MENU et la touche ou▼ pour selectionner le menu CONFIGUR.
2 Appuyer sur la touche et la touche ou pour selectionner la Syntonisation man..
3 Appuyer sur la touche et la touche ou pour selectionner la Régl. fin.
4 Appuyer sur la touche et la touche ou pour proceder à un Réglage de précision de l'image et du son.
5 Appuyez sur la touche OK pour le memoriser.
6 Appuyez sur la touche EXIT pour revenir au visionnage du téléviseur.


1
AFFECTATION D'UN NOM À UNE CHÂINE (EN MODE ANALOGIQUE)
You pouze aussi affecter à chaque numero un nom de cinq lettres.
1 Appuyez plusieurs fois sur la touche MENU et la touche ou▼ pour selectionner le menu CONFIGUR.
2 Appuyer sur la touche et la touche ou pour selectionner la Syntonisation man..
3 Appuyer sur la touche et la touche ou pour selectionner la Nom.
4 Appuyer sur la touche et la touche ou . Vous pouvez utiliser les lettres de l'alphabet de A à Z, les chiffres de 0 à 9, +/ -, et les espaces.
5 Appuyez sur les touches ou pour selectionner la position, puisCHOisissez le deuxieme caractere et ainsi de suite.
6 Appuyez sur la touche OK pour le memoriser.
7 Appuyez sur la touche EXIT pour revenir au visionnage du téléviseur.

2 3 4 5

2 3 4 5 6
UTILISATION DU TÉLEVISEUR / COMMANDE DES PROGRAMMES
EDITION DES PROGRAMMES (EN MODE ANALOGIQUE)
Cette fonction vous permet de supprimer ou de sauter les programmes mémorisés. Vous pouvez également déplacer des chaînes vers d'autres numérios de programmes ou effectuer une copie vers les numérios de programmes suivants.

1 Appuyez plusieurs fois sur la touche MENU et la touche ou▼ pour selectionner le menu CONFIGUR.
2 Appuyer sur la touche et la touche ou pour selectionner la Edition programmes.
3 Appuyez sur la touche pour afficher le menu correspondant au mode Edition programmes.
Supprimer un programme
a Sélectionnéz le programme que vous poulez supprimer à l'aide de la touche ▲ ou ▼ ou △ ou ▷.
b Appuyez sur la touche ROUGE deux fois. Le programme selection ne est supprimé et tous les programmes suivants sont avances d'un rang dans la programmation.
Copier un programme
a Sélectionnez le programme que vous poulez copier à l'aide de la touche ▲ ou ▼ ou △ ou ▶.
b Appuyez sur la touche VERTE. Tous les programmes suivants sont avances d'un rang dans la programmation, vers le numero suivant dans la table.

1

2

3


Déplacer un programme
a Sélectionnez le programme que vous poulez déplacer à l'aide de la touche ▲ ou ▼ ou △ ou ▷.
b Appuyez sur la touche JAUNE.
Déplacez le programme vers le nombre de programme souhaite, à l'aide de la touche ▲ ou ▼ ou △ ou ▲.
d Appuyez de nouveau sur la touche JAUNE pour désactiver cette fonction.
Sauter un programme
a Sélectionnez le programme que vous poulez sauter à l'aide de la touche ▲ ou ▼ ou △ ou ▲.
b Appuyez sur la touche BLEU. Le programme sauté devient bleu.
C Appuyez de nouveau sur la touche BLEU pour libérer le programme sauté.
d Losqu'un numero de programme est sauté, esta peut dire que vous ne pourrez pas le selection ner en utilisant la touche PR + ou - pendant le fonctionnement normal dae la télévision.
Si vous voulez trouver directement le programme sauté, sai sissez le numero de programme en utilisant les touches NUMEROTEES ou selectionnez-le en menu 'Edition ou Table des programmes'.
■ Sélection de votre programme préféRED
a Sélectionnez votre numero de chaine préfééré à l'aide de la touche ▲ ou ▼ ou △ ou ▷.
b Appuyez sur la touche FAV.
Le programme sélectionné est ajouté à la liste de vos chaînes préférencées et une icône en forme de coeur apparait devant le numéro de programme.
UTILISATION DU TÉLEVISEUR / COMMANDE DES PROGRAMMES
TABLE DES PROGRAMMES
Vouspouvieszérifier lesprogrammesenregistrés en mémoire enaffichant la table desprogrammes.
■ Affichage de la table des programmes

Appuyez sur la touche LIST pour afficher la Liste de programmes.
La première page de la table des programmes s'affiche.
- Certains numérios de programmes peuvent apparaître en bleu. Il s'agit des programmes que vous avez sautés en mode Ranger les programmes.
- Pour certains programmes, le nombre de canal figure sur la table des programmes : aucun nom de chaine n'est attribué.
■ Sélection d'un programme dans la table

Selectionz le programaames pauvent avec la touche ou ou ou.

Appuyez ensuite sur la touche OK. Le téléviseur affiche la programme sélectionné.
Pour faire défilier la table des programmes
La LISTE de programmes contient plusieurs pages et compte au total 100 programmes.

Pour passer d'une page à l'autre, utilisez la touche ▲ ou ou ▲ ou ▲.

Appuyez sur la touche LIST pour revenir au visionnage du téléviseur.
■ Affichage du tableau des chaînes préférentes
Appuyez sur la touche FAV pour afficher le menu Tableau des chaînes préférentes.


< EN MODE NUMÉRIQUE UNIQUÉMENT >

< EN MODE ANALOGIQUE >
Mini glossaire

S'affiche lorsque le menu
Chaines préférentes est à l'écran.

S'affiche lorsque le menu Programme verrouille est à l'écran.
ETIQUETTE ENTREE
Définit une étiquette pour chaque source d'entrée qui n'est pas utilisé lorsque vous appuyez sur la touche INPUT.

1 Appuyez plusieurs fois sur la touche MENU et la touche ou pour selectionner le menu OPTION.
Appuyer sur la touche et la touche ou pour selectionner la Etiquette entrance.
3 Appuyez sur la touche , puis utilisez la touche A ou pour selectionner la source : AV1, AV2, Comp., RGB, HDMI1 ou HDMI2.
4 Appuyez sur la touche ou pour selectionner I'etiquette.
5 Appuyez sur la touche EXIT pour revenir au visionnage du téléviseur.

1

2 3 4

MPLINK
Il ne fonctionne qu'vec le dispositif qui comporte le logo SIMPLINK. Verifier I'existence de celui-ci.
Cela vous permet de commander et de dire d'autres péripériques audio/vidéo connectés au téléviseur avec le cable HDMI, sans utiliser autres cables et sans effectuer de réglages
supplémentaires.
Si vous ne souhaitez pas afficher le menu SIMPLINK, selectionnez ARRET.

1 Appuyez plusieurs fois sur la touche MENU et la touche ou pour selectionner le menu OPTION.
2 Appuyer sur le bouton et sur le bouton ou pour selectionner SIMPLINK.
3 Appuyer sur le bouton et sur le bouton ou pour selectionner Marche ou Arrêt.
4 Appuyez sur la touche EXIT pour revenir au visionnage du téléviseur.

1

2 3
Fonctions de SIMPLINK
Lecture du disque
Pour commander les périhériques audio/video connectés, appuyez sur les touches / / / , OK; vous pouvez également utiliser les touches de lecture, d'arrêt, de pause, de recherche rapide vers l'arrière, de recherche rapide vers l'avant et de recherche de chapitre.
Lecture directe
Après avoir connecté les péripériques audio/édéo au téléviseur, vous pouvez directement commander les péripériques et dire tous les supports pris en charge sans r'églage supplémentaire.
Selection du périphérique audio/vidente
Cette fction you peret de selectionner et dutiliser un des peripheriques audio/vidoe connect es au taveliseur.
Mise hors tension de tous les périphériques
Lorsque vous éteignez le télé eviseur, tous les périhériques connectés se mettent hors tension.
Changement de la sortie audio
Cette fonction vous permet de changer facilement la sortie audio.
- Si un périphérique connecté au téléviseur à l'aide du cable HDMI ne prend pas en charge la fonction Simplink, cette fonction n'est pas disponible
MENUSIMPLINK
Appuyez sur la touche / / / , puis sur la touche OK pour selectionner la source SIMPLINK de votrechioix.
Visionnage du t'éleviseur (TV) : passer à la chaine TV précédente independamment du mode actuel.
Lecture disque (DISC): selectionne et lit les disques insérés. Si plusieurs disques sont disponibles, les titres des disques sont affichés en bas de l'écran.
Fonction magnétoscope (VCR): utilise et commande le magnétoscope raccordé..
Lecture d'enregistrements du disque dur (HDD Recorder): lit et commande les enregistrements stockés sur le disque dur.
Sortie audio au système home theater / Sortie audio au téléviseur (SPEAKER) : selectionnez Home theatre (Home cinema) ou TV Speaker (Haut-parleur TV) pour la sortie audio

REMARQUE
Connecter la cable HDMI à HDMI/DVI IN ou au terminal (HDMI output) sur l'arrête du dispositif SIM-PLINK ou du terminal HDMI IN.
Pour le Home Theater disposant de la fonction SIMPLINK, connecter le cable DIGITAL AUDIO OUT au terminal DIGITAL AUDIO IN sur l'arrête de la TV et le terminal OPTICAL sur l'arrête du dispositif SIMPLINK, après avoir connecté le termini HDMI suivant le processus décrit ci-dessus.
Quand vous utilisez le dispositif externe avec le SIMPLINK, appuyer sur la touche TV du bouton MODE du contrôle à distance pour le faire fonctionner.
Lorsque la source d'entrée passa à l'autre source à l'aide de la touche INPUT du contrôle à distance ou à d'autres sources, le dispositif qui fonctionne avec le SIMPLINK s'arrête.
Quand you selectionnez ou faites fonctionner le dispositif avec la fonction Home Theater, le haut-parleur passage automatiquement sur le haut-parleur HT (celui du Home Theater).
EPG (ELECTRONIC PROGRAMME GUIDE) (EN MODE NUMÉRIQUE UNIQUÉMENT)
Ce système est muni d'un guide de programmes électronique (EPG) afin de vous guider dans les options d'affichage disponibles.
Le guide de programmes électronique vous donne des informations, telles que liste des programmes, heures de début et heures de fin des services disponibles, etc. De plus, le guide de programmes électronique vous donne souvent des informations détaillées concernant le programme (le volume et la fréquence de ces informations dépendant des moyens de radiodiffusion).
Cette fonction peut être utilisé uniquement si les radiodiffuseurs transmettent les informations du guide de programmes électronique.
L'EPG affiche la grille des programmes des 8 prochains jours.
Activation / désactivation du guide de programmes électronique
1 Appuyez sur la touche GUIDE pour activer l'EPG.
2 Appuyez sur la touche GUIDE ou EXIT pour désactiver l'EPG et revenir à l'écran standard du téléviseur.
Sélectionnez un programme
1 Appuyez sur la touche ou , ou , PR + ou - pour selectionner le programme de votrechoix, puis appuyez sur la touche OK pour afficher le programme selectionné.

Signification des touches en mode de guide NOW/NEXT (Actuel/Suivant)
| Touches de la télécommande | Fonction |
| ROUGE | permét de changer le mode EPG |
| JAUNE | permét d'entrer le mode de réglageEnregister/Rappeler horloge |
| BLEUE | permét d'entrer le mode de listeEnregister/Rappeler horloge |
| © | permét de passer à la châne sélectionnéeseLECTIONnez NOW (Actuel) ou NEXT (Suisant) |
| « ou » | |
| ▲ ou ▼ | sélectionné le programme de radiodiffusion |
| PR + ou - | page précédente / page suivante |
| GUIDE/EXIT | cette touche permet de désactiver l'EPG |
| TV/RADIO | cette touche permet de sélectionner leprogramme TV ou RADIO |
| INFO ① | informations détaillées activées ou désactivées |
Signification des touches en mode Guide sur 8 jours
| Touches de la télécommande | Fonction |
| ROUGE | permiet de changer le mode EPG |
| VERTE | entrez le mode de réglage Date (Date) |
| JAUNE | permiet d'entrée le mode de réglage Enregistrer/Rappeler horloge |
| BLEUE | permiet d'entrée le mode de liste Enregistrer/Rappeler horloge |
| © | permiet de passer à la chaîne sélectionnée |
| « ou » | sélectionnez NOW (Actuel) ou NEXT (Suvient) |
| ▲ ou▼ | sélectionnez le programme de radiodiffusion |
| PR + ou - | page précédente / page suivante |
| GUIDE/EXIT | cette touche permet de désactiver l'EPG |
| TV/RADIO | cette touche permet de sélectionner le programme TV ou RADIO |
| INFO ① | informations détaillées activées ou désactivées |
Signification des touches en mode Modification date
| Touches de la télécommande | Fonction |
| VERTE | désactive le mode de réglage Date |
| Passe à la date sélectionnée | |
| « ou » | seLECTIONne une date |
| désactive le mode de réglage Date | |
| GUIDE/EXIT | cette touche permet de désactiver l'EPG |



Signification des touches dans la boîte de description détaillée
| Touches de la télécommande | Fonction |
| ▲ ou▼ | texte précédent / texte suivant |
| JAUNE | permét d'entrée le mode de réglage |
| ○ | Enregistrer/Rappeler horloge |
| INFO i | informations détaillées activées ou désactivées |
| GUIDE/EXIT | cette touche permet de désactiver l'EPG |

Signification des touches en mode de réglage Enregistrement/Rappel
- Cette fonction est disponible uniquement lorsque le dispositif d'enregistrement utilisant un signal d'enregistrement à 8 broches est raccordé à la borne DTV-OUT à l'aide d'un cable péritel.
| Touches de la télécommande | Fonction |
| JAUNE | permét d'entrée le mode de réglage |
| Enregistrer/Rappeler horloge | |
| pour passer en mode d'enregistrement de la fonction Enregistrer/Rappeler horloge | |
| < ou > | sélectionnez Type, Programme, Date, Démarrage ou Fin |
| < ou > | configuration de la fonction |

Signification des touches en mode Liste horloge
| Touches de la télécommande | Fonction |
| JAUNE | permiet d'ajouter le nouveau mode de réglage Horloge manuelle |
| VERTE | permiet d'entrez le mode d'éditionisme horloge |
| ROUGE | permiet de supprimer un élément sélectionné |
| BLEUE | permiet de changer le mode Guide |
| ▲ ou▼ | permiet de sélectionneriste horloge |

RéGLAGE DE LA TAILLE DE L'IMAGE (FORMAT D'IMAGE)
Les images peuvent être visualisées sous différents formats, le format Spectacle, Plein écran (en option), Original, 4:3, 16:9 (Wide), 14:9 et Zoom1/2.
Si une image figée est affichée à l'écran pendant une période prolongée, il est possible qu'elle s'incruste à l'écran et reste visible.
Le mode Full (Plein) peut vous semble désagréable. Passez alors à un autre mode.
Vous pouvez régler la proportion d'agrandissement à l'aide des touches ▲ ou ▼.
Cette fonction est disponible dans les signaux suivants.

1 Appuyez plusieurs fois sur la touche RATIO pour selectionner le format d'image de votrechoix.
You pouze également régler le Format de l'image dans le menu LUMINOSITE.
- Spectacle
Quand votre poste TV recoit un signal d'écran large, cette option vous permet de régler l'image horizontally, selon un rapport non linéaire, pour replir tout l'écran.

- Plein écran
Quand votre poste TV recoit un signal d'écran large, cette option vous permet de régler l'image horizontally ou verticalément, selon un rapport linéaire, pour replir la totalité de l'écran.

- Original
Quand votre poste TV recoit un signal d'écran large, cette option s'adapte automatiquement au format d'image envoyé.

4:3
La sélection de ce format d'image vous permet de visionner une image en 4:3 avec des barres grises à gauche et à droite.

16:9
La selection de ce format d'image vous permet de visionner une image horizontally, en proportion linéaire, pour occuper complètement l'écran (utile pour visionner des DVD au format 4:3).

14:9
L'écran 14:9 est visualisé juste comme le ce mais l'écran 4:3 est magnifié au haut / inférieur et leftr / droite de sorte que l'écran 14:9 soit plein.

- Zoom1
Permet de visionner l'image sans l'alterer, écran complet.
Cependant, les parties supérieure et inférieure de l'image seront tronquées.

- Zoom2
Cette option vous permet d'alterer l'image : elle s'étire horizontally et est tronquée verticalement. L'imagé est divisée entre l'altration et le plein écran.

REMARQUE
Vous pouvez selectionner 4:3, 16:9 et Zoom 1/2 en mode Componentet HDMI.
Vous pouvez selectionner 4:3 et 16:9 en mode RGB uniquement.
RéGLAGES PRÉDÉFINIS DE L'IMAGE
Mode image - Réglages prédéfinis
Dynamique
Sélectionnez cette option pour afficher une image nette.
Standard
État d'affichage de l'écran le plus utilisé et le plus naturel.
Doux
Sélectionnez cette option pour afficher une image douce.
Utilisateur 1/2
Sélectionnez cette option pour utiliser les réglages définis par l'utilisateur.
1 Appuyez sur la touche MENU, puis sur les touches ou pour selectionner le menu Image.
2 Appuyez sur la touche , puis sur les touches ou pour selectionner Mode de l'image.
3 Appuyer sur le bouton et sur le bouton ou pour selectionner Dynamique, Standard, Doux, Utilisateur 1 ou Utilisateur 2.
4 Appuyez sur la touche EXIT pour revenir au visionnage du télévisueur.
Le mode Mode image permit de régler le téléviseur de façon à obtenir une image parfaite. Sélectionnez la valeur prédéfinie dans le menu Mode de l'image selon la catégorie du programme.
Les réglages Dynamique, Standard et Doux sont régés en usine et ne peuvent donc pas être modifiés.


1

2 3
Réglages automatique de la tonalité de couleur (Chaud / Moyen / Froid)
Pour réinitialiser les valeurs prédéfinies, sélectionnez l'option Froid.
Choisissez un des réglages de couleur automatiques. Réglez sur Chaud pour augmenter les couleurs chaudes, telles que le rouge, ou sur Froid pour afficher des couleurs moins intenses, comme par exemple le bleu.
Cette fonction est disponible en mode Utilisateur.
1 Appuyez sur la touche MENU, puis sur les touches ou pour selectionner le menu Image.
2 Appuyer sur la touche et la touche ou pour selectionner Temp. de couleur.
3 Appuyez sur la touche ou , puis sur les touches ou pour selectionner Froid, Moyen, Chaud ou Utilisateur.
4 Appuyez sur la touche EXIT pour revenir au visionnage du télévisueur.


1

2 3
RéGLAGE MANUEL DE L'IMAGE
Mode image - Option Utilisateur
Contraste Règle la différence entre les niveaux clairs et fonçés de l'image.
Luminosite Augmente ou réduit les niveaux de blanc de l'image.
Couleur Règle l'intensité de toutes les couleurs.
Netteté Règle le niveau de netteté des coins entre les zones claires et fonçées de l'image. Plus le niveau est bas, plus l'image est nette.
Teinte Règle l'équilibre entre les niveaux de rouge et de vert.
1 Appuyez sur la touche MENU, puis sur les touches ou pour selectionner le menu IMAGE.
2 Appuyez sur la touche , puis sur les touches ou pour selectionner Mode de l'image.
3 Appuyez sur la touche , puis sur les touches ou pour selectionner Utilisateur 1 ou Utilisateur 2.
4 Appuyez sur la touche , puis sur les touches A ou V pour selectionner l'option d'image de votrechoix (Contraste,Luminosite,Couleur,Nettete et Teinte).
5 Appuyez sur les touches ou pour effectuer les réglages de votrechoix.
6 Appuyez sur la touche EXIT pour revenir au visionnage du télévisueur.
REMARQUE
Vous ne pouvez pas régler la couleur, la nettable ou la teinte selon votre choix en mode RGB-PC.


1

2 3

45
Tonalité de couleur - Option Utilisateur
Vous pouvez régler la température des couleurs rouge, vert et bleu à votre convenance.

1 Appuyez sur la touche MENU, puis sur les touches ou pour selectionner le menu IMAGE.
2 Appuyer sur la touche et la touche ou pour selectionner Temp. de couleur.
3 Appuyer sur la touche et la touche ou pour selectionner Utilisateur.
4 Appuyer sur la touche et la touche ou pour selectionner Rouge, Vert ou Bleu.
5 Réglez le niveau avec la touche ou .
6 Appuyez sur la touche EXIT pour revenir au visionnage du téléviseur.

1

2 3

45
XD - TECHNOLOGIE D'OPTIMISATION DE L'IMAGE
XD est la seule technologie d'amélioration de l'image de LG Electronic qui vous permette d'afficher des sources haute définition grâce à un algorithme avancé de traitement de signaux numériques.
la fonction n'est pas disponible sous le mode RGB[PC].
1 Appuyez sur la touche MENU, puis sur les touches ou pour selectionner le menu IMAGE.
Appuyer sur la touche et la touche ou pour selectionner XD.
3 Appuyer sur la touche et la touche ou pour selectionner Auto ou Manuel.
4 Appuyez sur la touche EXIT pour revenir au visionnage du télévisueur.
* Sélection de Manuel
Ce menu est activé après avoir sélectionné Utilisateur1 ou Utilisateur2 du menu PSM.
1 Appuyez sur la touche , puis sur les touches ou pour selectionner XD Contraste, XD Couleur, XD NR ou MPEG NR.
2 Appuyer sur le bouton et sur le bouton ou pour selectionner Marche ou Arrêt.
3 Appuyez sur la touche EXIT pour revenir au visionnage du téléviseur.
- XD Contraste : Optimise le contraste automatiquement selon la luminosité.
- XD Color: Règle les couleurs automatiquement pour réproduire le peux possible les couleurs naturelles.
- XD NR: Supprime le bruit la où le point ne puisse pas endommager l'image originale.
- MPEG NR: permet de réduire le bruit de l'image pouvant apparaitre à l'écran lorsque vous regardez la télévision.


1

2

3
Xo DEMO
Utilisez cette fonction pour savoir si XD démo est activée ou désactivée.
la fonction n'est pas disponible sous le mode RGB[PC], HDMI[PC] mode.

1 Appuyez sur la touche MENU, puis sur les touches ou pour selectionner le menu IMAGE.
2 Appuyer sur le bouton et sur le bouton ou pour selectionner XD Demo.
3 Appuyez sur la touche pour demarrer XD Demo.
Pour arreter XD Demo, appuyez sur la touche MENU ou EXIT.

1

2 3
- XD Demo

MODE AVANCE - MODE TÉLÉCINÉ 3:2 CINÉMA
Permet de régler le téléviseur de façon à obtenir la meilleure qualité d'image pour le visionnage de films.
Cette fonction est disponible uniquement en modes TV analogue, AV, S-Video and Component 480i/576i.

1 Appuyez sur la touche MENU, puis sur les touches ou pour selectionner le menu IMAGE.
2 Appuyer sur la touche et la touche ou pour selec-tionner Avancé.
3 Appuyer sur la touche et la touche ou pour selec-tionner Cinéma.
4 Appuyer sur le bouton et sur le bouton ou pour selectionner Marche ou Arrêt..
5 Appuyez sur la touche EXIT pour revenir au visionnage du téléviseur.

1

2

3
MODE AVANCE - NIVEAU NOIR
Lorsque vous visionnez un film, cette fonction regle automatique le télévisuer de manière à ce qu'il restitue la meilleure qualité d'image possible. Réglage du contraste et de la luminosité de l'écran à l'aide du niveau noir.
Cette fonction est disponible dans les modes suivants : AV (NTSC-M), S-Video (NTSC-M) ou HDMI.

1 Appuyez sur la touche MENU, puis sur les touches ou pour selectionner le menu IMAGE.
2 Appuyez sur la touche , puis sur les touches ou pour selectionner Avance.
3 Appuyez sur la touche , puis sur les touches ou pour selectionner Cinéma ou Niveau noir.
4 Appuyez sur la touche , puis sur les touches ou pour selectionner Marche, Arrêt, Bas ou haut.
■ Bas : l'image devient plus souvent.
Haut : l'image devient plus lumineuse.
5 Appuyez sur la touche EXIT pour revenir au visionnage du télévisueur.

1

2

3 4
RéINITIAL. IMAGE
Permet de rétablit les paramètres par défaut de Mode de l'image, Temp. de couleur, XD et Advanced Avancé.

1 Appuyez sur la touche MENU, puis sur les touches ou pour selectionner le menu IMAGE.
2 Appuyer sur le bouton et sur le bouton ou pour selectionner Reinitial. Image.
3 Appuyez sur la touche pour réinitialiser la valeur régée.

1

2 3
ISM METHOD (RéDUCTION DE LA RÉMANENCE À L'ÉCRAN) (MÉTHODE ISM)
L'affichage prolongée de l'image figée d'un ordinateur ou d'un jeu video peut provoquer une image fantôme qui risque de rester à l'écran, même si vous changez l'image. Évitez l'affichage d'une image figée à l'écran pendant une période prolongée.
Cette fonction n'est pas disponible pour les modèles LCD.
Céruse
Cette option permet de supprimer les rémanences à l'écran. Remarque : il est possible que cette option ne puisse pas supprimer complètement une rémanence excessive.
Orbiter
Cette option vous permet d'éviter les images fantômes.
Cependant, nous vous recommandons d'éviter l'affichage d'images figées. Pour éviter une rémanence à l'écran, vous doivent déplacer l'écran toutes les 2 minutes.
Inversion
Cette fonction vous permet d'inverser la couleur de l'écran. La couleur de l'écran est automatiquement inversée toutes les 30 minutes.

Appuyez sur la touche MENU, puis sur les touches ou pour selectionner le menu OPTION.

Appuyez sur la touche , puis sur les touches ou pour selectionner Mode usine.

Appuyez sur la touche , puis sur les touches ou pour selectionner Méthode ISM.

Appuyez sur la touche , puis sur les touches ou pour sélectionner Normal, Céruse, Orbiter ou Inversion.
Si vous ne souhaitez pas régler cette fonction, maintenez la valeur par défaut Normal.

Appuyez sur la touche EXIT pour revenir au visionnage du télévisueur.


1

2

3 4
MODE ÉCO.
Cette fonction permet de réduire la consommation d'énergie du téléviseur.
Cette fonction n'est pas disponible pour les modèles LCD.

1 Appuyez sur la touche MENU, puis sur les touches A ou pour selectionner le menu OPTION.
2 Appuyez sur la touche , puis sur les touches ou pour selectionner Mode usine.
3 Appuyer sur le bouton et sur le bouton ou pour selectionner Mode ecO..
4 Appuyer sur le bouton et sur le bouton ou pour selectionner Marche ou Arrêt.
5 Appuyez sur la touche EXIT pour revenir au visionnage du téléviseur.

1

2

3 4
RéGLAGES DU SON ET DE LA LANGUAGE
NIVELAGE AUTO VOLUME (VOLUME AUTO)
Le mode Auto Volume (Volume auto) permet de maintainir un niveau de volume égal, même que vous changez de programme.

1 Appuyez plusieurs fois sur la touche MENU et la touche ou pour selectionner le menu AUDIO.
2 Appuyer sur la touche et la touche ou pour selectionner Volume auto.
3 Appuyer sur la touche et la touche ou pour selectionner Marche ou Arrêt.
4 Appuyez sur la touche EXIT pour revenir au visionnage du télévisueur.

1

2 3
RéGLAGES PRÉDÉFINIS DU SON - MODE DU SON
Vous pouvez selectionner les parametes son de votrechioix: Surround MAX, Flat (Normal), Music (Musique), Movie (Film) ou Sports ; vous pouvez également regler la fréquence son de l'égaliseur.
Le mode du son vous permet de bénéficier d'une meilleure qualité ésonore sans aucun réglage particulier car le t'éleviseur règle automatique les effets sonores selon le contenu du programme en cours.
Les options Surround MAX, Plat, Musique, Film et Sports sont prédéfinitiones en usine et ne peuvent donc pas été modifiées.
Surround MAX Sélectionné cette option pour avoir un son réaliste.
Plat Son le plus puissant et le plus naturel.
Musique Sélectionnéz cette option pour bénéficier d'un son original lorsque vous écoutez de la musique.
Film Sélectionnez cette option pour bénéficier d'un son sublime.
Sports Sélectionnez cette option pour regarder des émissions de sport.
Utilisateur Sélectionné cette option pour utiliser les réglages définis par l'utilisateur.
1 Appuyez plusieurs fois sur la touche MENU et la touche ▲ ou▼ pour selectionner le menu AUDIO.
2 Appuyer sur la touche et la touche ou pour selectionner Mode du son.
3 Appuyer sur la touche et la touche ou pour selec-tionner Surround MAX, Plat, Musique, Film, Sports ou Utilisateur.
4 Appuyez sur la touche EXIT pour revenir au visionnage du téléviseur.


1

2 3
RéGLAGES DU SON - MODE UTILISATEUR
Réglez l'égaliseur de sons.

1 Appuyez plusieurs fois sur la touche MENU et la touche ou pour selectionner le menu AUDIO.
2 Appuyer sur la touche et la touche ou pour selectionner Mode du son.
3 Appuyer sur la touche et la touche ou pour selectionner Utilisateur.
4 Appuyez sur la touche
5 Sélectionnez une fréquence de son en appuyant sur les touches ou . Réglez le niveau sonore selon votrechoix en appuyant sur les touches ou .
6 Appuyez sur la touche EXIT pour revenir au visionnage du télévisueur.

1

2 3

45
BALANCE
Vou pousse régler l'équilibre du son du haut-parleur selon votrechoix.

1 Appuyez plusieurs fois sur la touche MENU et la touche ou pour selectionner le menu AUDIO.
2 Appuyer sur la touche et la touche ou pour selectionner Balance.
3 Appuyez sur la touche , puis utilisez les touches ou pour effectuer les réglages de votrechoix.
4 Appuyez sur la touche EXIT pour revenir au visionnage du téléviseur.

1

2 3
ACTIVATION ET DÉSACTIVATION DES HAUT-PARLEURS
You pouvez régler le statut des haut-parleurs du téléviseur.
En mode AV1, AV2, AV3, COMPONENT, RGB et HDMI1 avec le cable HDMI à DVI, l'enceinte du téléviseur et/ou la sortie variable audio peuvent être reproduites même s'il n'y a aucun signal video.
Si vous souhaitez utiliser votre système hi-fi stéreo externe, éteignez les haut-parleurs du téléviseur.

1 Appuyez plusieurs fois sur la touche MENU et la touche ou pour selectionner le menu AUDIO.
2 Appuyer sur la touche et la touche ou pour selectionner Haut-parleurs TV.
3 Appuyez sur la touche puis utilisez les touches ou pour selectionner Marche ou Arrêt.
4 Appuyez sur la touche EXIT pour revenir au visionnage du télévisueur.

1

2 3
SELECTION DE LA SORTIE AUDIO NUMÉRIQUE
Cette fonction vous permet de selectionner la sortie audio numérique de votrechoix.
Le téléviseur peut reproductive le son Dolby Digital uniquement sur une chaine qui transmet ce type de son.
Lorsque le format Dolby Digital est appliqué, si vous sélectionnez Dolby Digital dans le menu Sortie audio numérique, la sortie SPDIF produit le son Dolby Digital. Meme si Dolby Digital est selectionné, si le format Dolby Digital n'est pas appliqué, la sortie SPDIF produit le PCM (Modulations par impulsions et codage). Meme si Dolby Digital et Langue audio ont été régés sur une chaîne qui diffuse un son Dolby Digital, seul Dolby Digital est produit.

Fabrique sous licence de Dolby Laboratories. "Dolby" et le symbole double-D sont des marques commerciales de Dolby Laboratories.
1 Appuyez plusieurs fois sur la touche MENU et la touche ou pour selectionner le menu AUDIO.
2 Appuyer sur la touche et la touche ou pour selectionner Sortie audio numérique.
3 Appuyez sur la touche , puis sur la touche ou pour selectionner Dolby digital ou PCM.
4 Appuyez sur la touche EXIT pour revenir au visionnage du télévisueur.





1/11
Réception Sté reproduction (En mode analogue uniquement)
Lorsqu'un programme est selectionné, les paramètres son apparaissent sur l'écran, après la disparition des informations relatives au numéro de programme et un nom à une chaine.
| Diffusion | Affichage écran (OSD) |
| Mono | MONO |
| Stéréo | STEREO |
| Dual (bilinge) | DUAL I |
■ Sélection du son mono
Si le signal stéreo est faible, l'émission sera(Meilleure en mono. Pour passer en mono, appuyez sur la touche I/II. Pour repasser en stéreo, rappuyez sur la touche I/II.
■ Sélection de la langue pour les émissions bilingualues
Si une émission est diffusée en deux langues, vous pouvez sélec-tionner DUAL I, DUAL II ou DUAL I+II en appuyant une ou plusieurs fois sur la touche I/II.
DUAL I permit de retransmettre la langue originale sur les haut-parleurs.
DUAL II permit de retransmettre la langue du doublage sur les haut-parleurs.
DUAL I+II permit de retransmettre une langue sur chaque haut-parleur.
Réception NICAM (En mode analogue uniquement)
Votre magnétoscope est équipé d'un décodeur de son numérique, qui vous permet de receiveoir un son numérique NICAM (Near Instantaneous Compressed Audio Multiplexing) d'excellente qual-ité.
La sortie audio peut être seLECTIONnée en fonction du type d'émis-sion reçue avec la touche I/II.
Lorsque vous receivez un son NICAM mono, sélectionnez NICAM MONO ou FM MONO.
Lorsque vous receivez un son NICAM stéreo, Sélectionnez NICAM STEREO ou FM MONO. Si le signal stéreo est mauvais, passez en mono.
3 Lorsque vous receivez un son NICAM dual (bilingue), sélection-nez NICAM DUAL I, NICAM DUAL II ou NICAM DUAL I+II ou MONO.
Sélection de la sortie audio
En mode AV, S-Video, Component, RGB et HDMI vous pouvez diriger la sortie son vers le haut-par leur droit ou gauche.
Pour selectionner la sortie audio, appuyez une ou plusieurs fois sur la touche I/II.
L + R : Le signal audio de l'entrée audio L sort sur le haut-parleur gauche, le signal audio de l'entrée R sur le haut-parleur droit.
L + L : Le signal audio de l'entrée audio L sort sur les haut-par leurs droit et gauche.
+ : Le signal audio de l'entrée audio R sort sur les haut-par leurs droit et gauche.
LANGUE DU MENU À L'ÉCRAN/ SELECTION DU PAYS
Le menu du guide d'installation s'affiche sur l'écran du téléviseur lorsque vous mettez celui-ci sous tension pour la première fois.
1 Appuyez sur la touche ou ou ou , puis sur la touche OK pour selec-tionner la langue de votrechoix.
2 Appuyez sur la touche ou ou ou , puis sur la touche OK pour selec-tionner votre pays.
- Si vous souhaitez modifier la langue ou le pays sélectionné
1 Appuyez plusieurs fois sur la touche MENU et la touche ou pour selec-tionner le menu OPTION.
2 Appuyer sur le bouton et sur le bouton ou pour selectionner la Langue (Language). Le menu peut etre affiché a l'écran en mode de langue désirée.
Appuyer sur le bouton et sur le bouton ou pour selectionner la Poy.
3 Appuyez sur la touche , puis utilisez la touche ou pour selectionner la langue ou le pays de votrechoix.
4 Appuyez plusieurs fois sur la touche OK.
5 Appuyez sur la touche EXIT pour revenir sur l'image normale du téléviseur.

REMARQUE
Si vous ne terminez pas la configuration du Guide d'Installation en appuyant sur la touche EXIT ou bien avant que l'OSD (Affichage Écran) ne s'éteigne, le guide réapparaître lors du rallumage de l'appareil.
Si vous sélectionnez le mauvais pays, il se peut que le télétexte n'apparaissé pas correctement à l'écran ou que certains problèmes surgissent lors de l'utilisation du télétexte.
SELECTION DE LA LANGUAGE (EN MODE NUMÉRIQUE UNIQUEMENT)
Cette fonction vous permet de selectionner la langue audio de votrechoix. Si les données audio ne sont pas émises dans la langue selec-tionnée, elles le seront dans la langue par défaut.
Utilisez la fonction Sous-titres lorsqu'une ou plusieurs langues de sous-titres est diffusée.
Si les sous-titres ne sont pas émis dans la langue désirée, ils s'afficheront dans la langue par défaut.
1 Appuyez plusieurs fois sur la touche MENU et la touche ou pour selectionner le menu OPTION.
2 Appuyer sur le bouton et sur le bouton ou pour selectionner la Langue (Language).
3 Appuyez sur la touche , puis utilisez la touche ou pour selectionner Audio, Sous-titres ou Sous-titres pour sourds et malentandants.
4 Appuyez sur la touche , puis utilisez les touches ou pour selectionner la langue de votrechoix.
5 Appuyez sur la touche EXIT pour revenir sur l'image normale du télévisueur.


REMARQUE
< Sélection de la Langue Audio >
Si une ou plusieurs langues sont diffusées, vous pouvez selectionner la langue audio de votre choix à l'aide de la touche I/II de la télécommande.
Appuyez sur la touche ou pour selectionner la langue audio.
Appuyez sur la touche ou pour selectionner L+R, L+L ou R+R.
< Sélection de la Langue des Sous-titres >
Lorsque les sous-titres sont émis en deux langues ou plus, vous pouvez selectionner la langue des sous-titres à l'aide de la touche SUBTITLE de la télécommande.
Appuyez sur les touches ou pour selectionner la langue des sous-titres.
Information OSD de la Langue Audio
| Affichage | États |
| N.A | Non disponible |
| MPEG | Audio MPEG |
| DVID | Audio Dolby Digital |
| Audio pour “Visual Impaired” | |
| ABC | Audio pour “Hearing Impaired” |
Information OSD de la Langue des Sous-titres
| Affichage | États |
| N.A | Non disponible |
| \tXT | Sous-titres Télétexte |
| \ABC | Sous-titres pour “Malentendants” |
- Les sous-titres et l'audio peuvent ettre affiches dans leur forme la plus simple avec entre 1 et 3 caractères émis par le diffuseur.
- Lorsque vous sélectionné une source Audio supplémentaire (Audio pour "malentendants ou déficients visuels"), il se peut que le son soit de l'Audio principal.
RéGLAGE DE L'HEURE
HORLOGE
L'horloge est automatiquement régée lors de la réception du signal numérique. (Vous pouvez régler l'horloge si le téléviseur n'a pas de signal DTV.)
Vous doivent regardier l'horloge avant d'utiliser la fonction de mise en marche/arrêt automatique.

1 Appuyez le bouton MENU, ensuite le bouton ou pour selectionner le menu HEURE.
2 Appuyer sur la touche et la touche ou pour selectionner la Horloge.
3 Appuyez sur la touche , puis sur la touche ou pour selectionner l'année, la date ou l'heure.
Une fois l'option de votrechoix selectionnée,utilisez la touche ou pourreglerl'année,la date et l'heure.
4 Appuyez sur la touche EXIT pour revenir au visionnage du téléviseur.

1

2 3
ACTIVATION ET DÉSACTIVATION DE L'HORLOGE
Le minuteur de mise en arrêt commute automatiquement l'appareil à la position stand-by après que le temps de préréglage se soit écoulé.
Si aucune touche de la télécommande n'est activée durant les deux heures qui suivent la mise en service, l'appareil s'arrête automatiquement.
Cette fonction de "démarrage et arrêt automatique à heures schoisisie" est une programmation journalière.
L'arrêt automatique prime sur la mise en marche automatique si la même heures est programmée pour chacune de ces fonctions.
Le téléviseur doit être en mode veille pour pouvoir semettre automatiquement en marche.

Appuyez le bouton MENU, ensuite le bouton ou pour selectionner le menu HEURE.

Appuyer sur la touche et la touche ou pour selectionner la Heure arrêt/Heure marche.

Appuyer sur la touche et la touche ou pour selectionner la Marche.
- Pour annuler la mise en marche/arrêt automatique, appuyez sur la touche ou pour sélectionner Arrêt.

Appuyez sur les touches , puis ou pour régler les heures.

Appuyez sur les touches , puis ou pour régler les minutes.

Fonction On Timer (Heure marche) uniqueness
- Programme: Appuyez sur la touche , puis sur la touche ou pour sélectionner TV, DTV ou Radio dans le menu Mode. Appuyez sur la touche , puis sur la touche ou pour sélectionner le programme:
Volume: appuyez sur la touche , puis sur les touches ou pour regler le niveau du volume lors de la mise sous tension.

Appuyez sur la touche EXIT pour revenir au visionnage du téléviseur.





RéGLAGE DE LA MISE EN VEILLE AUTOMATIQUE
Si cette fonction est activée et qu'il n'y aaucun signal d'entrée, le téléviseur s'eteint automatiquement après 10 minutes.

1 Appuyez le bouton MENU, ensuite le bouton ou pour selectionner le menu HEURE.
2 Appuyer sur le bouton et sur le bouton ou pour selectionner Arrêt auto..
3 Appuyer sur le bouton et sur le bouton ou pour selectionner Marche ou Arrêt..
4 Appuyez sur la touche EXIT pour revenir au visionnage du téléviseur.

1

2 3
CONSIGURATION DU FUSEAU HORAIRE
Lorsque vous sélectionnez le fuseau horsaire d'une ville, l'heure du téléviseur est régée selon les informations horaires basées sur le fuseau horsaire et l'heure du méridien de Greenwich (HMG). Ces informations sont reçues pour le signal de diffusion lorsque l'heure est automatiquement régée par un signal numérique.
1 Appuyez le bouton MENU, ensuite le bouton ou pour selectionner le menu HEURE.
2 Appuyer sur le bouton et sur le bouton ou pour selectionner Fuseau horsaire.
3 Appuyez sur la touche , puis sur la touche ou pour selectionner le fuseau horaire de votre région.
4 Appuyez sur la touche EXIT pour revenir au visionnage du téléviseur.


1
RéGLAGE DE LA MINUTERIE DE VEILLE
Vous n'avoz plus à vous soucier d'éteindre le poste avant d'aller vous coucher. Cette fonction vous permet demettre automatique-ment le téléviseur en mode veille après un certain délambda.
a Appuyez plusieurs fois sur la touche SLEEP pour selectionner le nombre de minutes.
b L'option ' - - - Min' apparait tout d'abord à l'écran, suiv des options de mise en veille suivantes : 10, 20, 30, 60, 90, 120, 180 et 240 minutes.
Lorsque le nombre de minutes que vous avez regle s'affiche à l'écran, la minuterie démarre.
Pour savoir combien de minutes il reste avant que le téléviseur ne s'éteigne, appuyez une fois sur la touche SLEEP.
Pour annuler la mise en veille, appuyez plusieurs fois sur la touche SLEEP jusqu'à ce que '---Min' apparaisse.
Si vous éteignez l'appareil, le paramètre sélectionné est annulé.

2 3
CONTROLLE PARENTAL
DEFIN. M.D.PASSE & SYSTEME DE VERROUILLAGE
Si vous saississez tout d'abord le mot de passer, appuyez sur '0', '0', '0', '0' sur la télécommande.

1 Appuyez le bouton MENU, ensuite le bouton ou pour selectionner le menu OPTION.
2 Appuyer sur le bouton et sur le bouton ou pour selectionner Systeme de I'horloge.
3 Appuyez sur la touche , puis sur les touches ou pour selectionner Marche.
Pour définir le mot de passer
Appuyez sur la touche , puis utilisez les touches NUMÉRIQUES pour saisir un mot de passer à 4 chiffres.
Veillez a mémoriser ce numéro!
Saisissez à nouveau le mot de passer pour confirmer.
Si vous oubliez votre mot de passer, appuyez sur '7', '7', '7', '7' sur la télécommande.
4 Appuyez sur la touche EXIT pour revenir au visionnage du téléviseur.

1

2 3
CTRLE PARENTAL
Cette fonction fonctionne selon les informations de la station de diffusion. Par conséquent, si le signal diffuse des informations incorporetés, cette fonction ne fonctionne pas.
Cette fonction vous permet de bloquer le contenu de certaines chaînes et de certaines sources de visionnage externes.
Un mot de passer est requis pour acceder à ce menu.
Ce téléviseur estprogramme pour memoriser les dernières options qui ont ete configurueres, meme si celui-ci est eteint.



1 Appuyez le bouton MENU, ensuite le bouton ou pour selectionner le menu OPTION.
2 Appuyer sur le bouton et sur le bouton ou pour selectionner Ctrle parental.
Appuyez ensuite sur la touche pour entrer le mot de passer.
Le téléviseur est configuré avec le mot de passer initial "0-0-0-0".
3 Appuyez sur la touche , puis sur la touche ou pour selectionner Guide parental ou Blocage touches.
Guide parental (en mode numérique uniquement)
Cette fonction évite que des enfants aient accès à certains programmes pour adultes, selon les limites prévues.
Blocage touches
Le téléviseur peut être configuré de manière à ce qu'il soit impossible de l'utiliser sans la télécommande.
Cette fonction permet d'interdire eventuellement l'utilisation du téléviseur.
4 Appuyez sur la touche ou pour effectuer les réglages de votrechoix.
5 Appuyez sur la touche EXIT pour revenir au visionnage du télévisueur.

1

2 3 4
Lorsque vous reglez l'option Blocage touches sur 'Marché', et que le téléviseur est hors tension, appuyez sur les touches 口 / I , INPUT, PR + ou - du téléviseur ou sur les touches POWER, INPUT, D/A TV, PR + ou - ou les touches NUMÉRIQUES de la télé-commande.
Lorsque vous reglez l'option Blocage touches sur Marche sur 'Blocage touches Marche' s'affiche à l'écran si vous n'appuyez sur aucune touche du panneau avant du téléviseur pendant le visionnage.
TELETEXTE
Cette fonction n'est pas disponible dans tous les pays.
Le télétexte est un service gratuite diffusé par la plupart des chaines de télévision. Il propose des informations de dernières minute concernant les actualités, la météo, les programmes TV, les valeurs de la bourse, ainsi que de nombreux autres sujets.
Le décodeur télétexte de ce téléviseur est compatible avec les systèmes SIMPLE, TOP et FASTEXT. Un télétexte SIMPLE (standard) contient un certain nombre de pages, que l'on peut selectionner en tapant directement le numéro correspondant. TOP (Table Of Page) et FASTEXT offrent des méthodes de selection de page plus modernes, vous permettant d'afficher une page sans connaître son numéro.
POUR ACTIVER/DÉSACTIVER LE TÉLETEXTE
Pour activer le télétexte, appuyez sur la touche TEXT. La première page ou la dernière page sélectionnée s'affiche. Le décodeur de télétexte sélectionne le mode télétexte retransmis par la station. Deux numérodes page, le nom de la chaine, la date et l'heure sont maintainant affichés sur la première ligne de l'écran. Le premier numéro de page indique votre sélection, tandis que le second indique le numéro de la page actuèment affichée.
Pour désactiver le télétexte, appuyez sur la touche TEXT ou EXIT. Le téléviseur réaffiche le mode précédent.
TEXTE SIMPLE
■ Sélection des pages
1 Tapez les trois chiffres correspondant au numero de la page avec les touches NUMEROTEES. Si vous tapez un mauvais chiffre, completez le numero errone et recommencez, afin de selectionner le numero correct.
Pour selectionner la page precedente ou la page suivante, vous pouvez utiliser la touche PR+ ou -.
TEXTETOP
Le guide utilisateur situé en haut de l'écran affiche quatre zones colorées en rouge, vert, jaune et bleu. La zone jaune désigne le groupe suivant, la zone bleue le bloc suivant.
■ Sélection des groupes/blocs/page
La touche BLEU permit de passer d'un bloc au suivant.
La touche JAUNE permet de passer au groupe suivant (avec fin de page automatique au bloc suivant).
3 La touche VERTE permet d'afficher la page suivante (avec fin de page automatique au groupe suivant). Vous pouvez également utiliser la touche PR+.
4 La touche ROUGE permet de revenir en arrêté. Vous pouvez également utiliser la touche PR-.
■ Sélection directe des pages
En mode TOP, comme en mode SIMPLE, vous pouvez selectionner une page telétexte en tapant les trois chiffres correspondant à son numéro avec les touches NUMEROTES.
FASTEXT
Les pages télétexte sont codées en fonction des cases colorées figurant en bas de l'écran. Pour sélectionner une page, il suffit d'appuyer sur la touche de couleur correspondante.
■ Sélection des pages
1 Sélectionnez la page d'index en appuyant sur la touche INDEX.
2 Vou puez selectionner les pages codées en fonction des cases colorées en appuyant sur la touche de couleur correspondante.
En mode FASTEXT, comme en mode SIMPLE, vous pouvez selectionner une page télétexte en tapant les trois chiffres correspondant à son numéro avec les touches NUMEROTES.
Pour selectionner la page precedente ou la page suivante, utilisez la touche PR+ ou -.
SPECIAL TELETEXT FUNCTIONS

Certain pages contiennent des informations cachées (solutions de devinéttes ou d'enigmes, par exemple). Une simple pression sur la touche permet d'afficher les informations cachées.
Une seconde pression cache à nouveau les informations.

■ UPDATE MISE A JOUR
Cette fonction permet d'afficher l'image TV, pendant la recherche d'une page télétexte. Le symbole apparait alors dans le coin supérieur gauche de l'écran. Lorsque la page mise à jour est disponible, le symbole est replacé par le nombre de la page.
Appuyez sur cette touche pour visualiser la page de télétexte mise à jour.

TIME
Pour afficher l'heure en haut à droite de l'écran pendant la retransmission d'un programme de télévision. Pour la faire disparaitre, appuyez sur la touche. En mode télétexte, pressez le bouton pour selectionner un numéro de sous-page. Le numéro de sous-page est affiché en bas de l'écran. Pour garder ou changer la sous-page, presser les boutons Rouge ou Vert, PR+ ou - ou NUMEROTES.
Presser encore pour quitter la fonction.

■ HOLD (STILL)
Interrompt le défilament automatique des pages pour les pages télétexte compensant plusieurs pages écran. Le nombre de pages écran et le numéro de celle qui est actuellement affichée apparait normalement au-dessous de l'heure. Lorsque vous appuyez sur cette touche, le symbole stop apparait dans le coin supérieur gauche de l'image et le défilament automatique des pages écran est bloqué.
Une nouvelle pression permet de relancer le défilament.
TÉLÉTEXTE NUMÉRIQUE
*Cette fonction n'est disponible qu'au Royaume Uni.
Ce téléviseur vous donne accès à un télétexte numérique qui a été considérablement amélioré, notamment au niveau du texte, des graphiques, etc.
Vou puez acceder à ce teltexte numérique au moyen de services de teldtextes numériques spéciaux qui diffusent ce genre de service.
Vouvelez electionner Arrêt dans le menu des langues de sous-titres pour afficher letélétexte. Pour ce faire, appuyez sur la touche SUBTITLE.
TÉLÉTEXTE DANS LE SERVICE NUMÉRIQUE
1 Appuyez sur le clavier numérique ou sur la touche PR + ou - pour selectionner un service numérique qui diffuse le télétexte numérique.
Pour connaître les divers services de télétexte numériques, reportez-vous à la liste des services EPG.
2 Suivez les indications du télétexte numérique, puis passez à l' étape suivante en appuyant sur la touche TEXT, OK, ou , ou , ROUGE, VERTE, JAUNE, BLEUE ou sur les touches NUMÉRIQUES.
Pour changer de service de télétexte numérique, il vous suffit de selectionner un autre service à l'aide des touches numériques ou de la touche PR + ou -.
Si vous appuyez sur la touche MENU, GUIDE ou INFO ① le service de télétexte disparaît momentarilyé. Si vous appuyez à nouveau sur ces touches, il réapparaît.

TÉLÉTEXTE DU SERVICE NUMÉRIQUE
1 Appuyez sur le clavier numérique ou sur la touche PR + ou - pour selectionner un service qui diffuse le télétexte numérique.
2 Appuyez sur la touche TEXT ou sur les touches de couleur pour activer le télétexte.
3 Suivez les indications du télétexte numérique, puis passez à l' étape suivante en appuyant sur la touche OK, ▲ ou▼, ▲ ou ▲, ROUGE, VERTE, JAUNE, BLEUE ou sur les touches NUMÉRIQUES.
4 Appuyez sur la touche TEXT ou sur les touches de couleur pour désactiver le télétexte numérique et revenir à l'écran du téléviseur.
Il est possible que certains services ne vous permettent pas d'acceder aux services de texte lorsque vous appuyez sur la touche ROUGE.
Si vous appuyez sur la touche MENU, GUIDE ou INFO ① le service de télétexte disponible momentarilyément. Si vous appuyez à nouveau sur ces touches, il réapparait.

DéPANNAGE
| L'opération ne fonctionne pas normalement. | |
| Mauvais fonctionnement de la télé-commande | ■ Vérifiez qu'aucun obstacle n'empêche la transmission du signal de la télécom-mande vers le moniteur.■ Vérifiez que la polarité des piles est correcte (+ sur +, - sur -)■ Vérifiez que le mode de fonctionnement à distance est correct : TV, VCR etc.Remplacez les piles. |
| L'appareil s'éteint soudainement | ■ Le mode veille est peut-être activé.■ Vérifiez les réglages de mise sous/hors tension. L'alimentation a été interrompue.Aucune station d'émission n'est signés avec le mode de mise en voille activé. |
| Mauvais fonctionnement de la fonction video. | |
| Absence d'image et de son | ■ Vérifiez que l'appareil est allumé. ■ Essayez de passer sur une autre chaîne. Il s'agit peut-être d'un problème d'émission. ■ Vérifiez que le cordon d'alimentation est correctement branché sur la prise secteur. ■ Vérifiez la direction et/ou l'emplacement de l'antenne. ■ Vérifiez la prise secteur en y branchant un autre appareil. |
| L' image apparait lentement après avoir allumé l'appareil | ■ Il est normal que l'image apparaisse lentement lorsque l'appareil s'allume. Si aucune image n' apparait au-delà de cinq minutes, contactez le service technique. |
| L' image et les couleurs sont mau-vaises | ■ Réglez la Couleur à l'aide des options du menu. ■ Assurez-vous que l'appareil et le magnétoscope sont suffisamment espacés l'un de l'autre. ■ Essayez de passer sur une autre chaîne. Il s'agit peut-être d'un problème d'émission. ■ Assurez-vous que les cables du magnétoscope sont correctement installés. ■ Activez n'importe qu'elle fonction pour restaurer la luminosité de l'image. |
| Barres verticales/hori-zontales ou tremble-ment de l'image | ■ Décelez une possible interférence avec un appareil ou un outil électrique. |
| Mauvaise réception de certaines chaînes | ■ Il se peut que la station d'émission aït des problèmes, symtonisez sur une autre chaîne. ■ Le signal émis par la station d'émission est faible; changez la direction de l'an-tenne pour recevoir un signal. ■ Détectez les sources de possibles interférences. |
| L' image apparait avec des raiés ou des lignes | ■ Vérifiez l'antenne (changez la direction de l'antenne). |
Mauvais fonctionnement de la fonction audio.
Appuyez sur la touche VOL + / -
Le son est-il activé? Appuyez sur la touche MUTE.
■ Essayez de passer sur une autre chaine. Il s'agit peut-être d'un problème d'émission.
Assurez-vous que les cables audio sont correctement installés.
Absence de son sur un des hautparleurs
Réglez la Balance à l'aide des options du menu.
Bruit particulier provenant de l'appareil
L'appareil émet un bruit particulier lorsque vous l'activez et le désactivez. Ce bruit est dû au changement de température ou du taux d'humidité et n'est enaucun cas le signe d'un dysfonctionnement de l'appareil.
Il existe un problème en mode PC. (S'applique seulement au mode PC)
Le signal est hors de la gamme.
- Ajustez la résolution, la fréquence de lignes ou la fréquence du balayage vertical.
Vérifiez la source d'entrée.
Barres verticales ou raies à l'arrière-plan, bruit horizontal, position incorre cate
Activez la configuration automatique ou ajustez l'horloge, la phase, ou la position H/V.
La couleur de l'écran n'est pas stable ou devient monochrome
Vérifiez le cable du signal.
Réinstalléla carté video du PC.
ENTRETIEN
Voussouvez eviter les dysfonctionnement prematurés. Un nettoyage régulier permet d'accroître la durée de vie utile de votre téléviseur. Assurez-vous demettre vosétéléviseur hors tension et de débrancher le cordon d'alimentation avant de procéderau nettoyage.
Nettoyage de l'écran
Pour dépoussierer correctement votre écran, procédez comme suit. Humidifiez un chiffon doux avec un mélange d'eau tiède et d'adoucisseur (ou liquide vaisselle). Essorez le chiffon jusqu'à ce qu'il soit presque sec, puis frottez l'écran delicatement.
Assurez-vous de retarder l'excess d'eau sur l'écran et laissez secher à l'air libre avant de remettre votre téléviseur sous tension.
Nettoyage de la carasse
Pour retirer la poussiere ou les saletés, nettoyez la carasse avec un chiffon non peluchex doux et sec.
N'tutilisez pas de chiffon humide.
Absence prolongée
ATTENTION
En cas d'inutilisation prolongée de votre téléviseur (par exemple si vous partez en vacances), nous给您 conseillons de débrancher le cordon d'alimentation afin de ne pas endommager votre téléviseur en cas d'orage ou de surcharges électriques.
SPECIFICATIONS DE L'APPAREIL
| MODELES | 26LC4* | 32LC4* | 37LC4* | 42LC4* | |
| 26LC45-ZA26LC46-ZC | 32LC45-ZA32LC46-ZC | 37LC45-ZA37LC46-ZC | 42LC45-ZA42LC46-ZC | ||
| Dimensions(Largeur x Hauteur x Profondeur) | avec le socle | 676,4 x 529,2x 221,0 mm26,6 x 20,8 x 8,7 pouces | 806,8 x 605,6 x 249,0 mm31,8 x 23,9 x 9,8 pouces | 926,6 x 697,6x 280,4mm36,5x 27,5 x 11,0 pouces | 1032,7 x 750,0 x 287,6 mm40,7x 29,5 x 11,3 pouces |
| sans le socle | 676,4 x 474,5 x 85,0 mm26,6 x 18,7 x 3,3 pouces | 806,8 x 548,6 x 79,0 mm31,8 x 21,6x 3,1 pouces | 926,6 x 635,6 x 88,0mm36,5x 25,0 x 3,5 pouces | 1032,7 x 685,5 x 88,5 mm40,7 x 27,0 x 3,5 pouces | |
| Poids | avec le soclesans le socle | 10,04kg / 22,1 lbs9,04kg / 19,9 lbs | 13,8 kg / 30,5 lbs10,7 kg / 23,6 lbs | 20,0 kg / 44,1 lbs16,3 kg / 35,9 lbs | 24,5 kg / 54,0 lbs20 kg / 44,1 lbs |
| Conditions d'alimentationConsommation électrique | AC100-240V~ 50/60Hz 1,3A130W | AC100-240V~ 50/60Hz 1,5A150W | AC100-240V~ 50/60Hz 1,8A170W | AC100-240V~ 50/60Hz 2,2A200W | |
| MODELES | 26LC5* | 32LC5* | 37LC5* | 42LC5* | |
| 26LC55-ZA | 32LC55-ZA32LC56-ZC | 37LC55-ZA | 42LC55-ZA | ||
| Dimensions(Largeur x Hauteur x Profondeur) | avec le socle | 676,4 x 529,2x 221,0 mm26,7 x 20,9 x 8,7 pouces | 806,6 x 606,5 x 249,0 mm31,8 x 23,9 x 9,8 pouces | 927,0 x 692,8x 280,5mm36,5x 27,3 x 11,1 pouces | 1033,1 x 749,5 x 287,6 mm40,7x 29,5 x 11,3 pouces |
| sans le socle | 676,4 x 478,7 x 84,0 mm26,7 x 18,9 x 3,3 pouces | 806,6 x 552,3 x 79 mm31,8 x 21,8x 3,1 pouces | 927,0 x 630,0 x 88,0mm36,5x 24,8 x 3,5 pouces | 1033,4 x 686,8 x 88,5mm40,7 x 27,0x 3,5 pouces | |
| Poids | avec le soclesans le socle | 10,04kg / 22,2 lbs8,62kg / 19,0 lbs | 14,1kg / 31,1 lbs11,2kg / 24,7 lbs | 20,0 kg / 44,1 lbs16,0 kg / 35,3 lbs | 24,5 kg / 54,1 lbs20,4 kg / 45,0 lbs |
| Conditions d'alimentationConsommation électrique | AC100-240V~ 50/60Hz 1,3A130W | AC100-240V~ 50/60Hz 1,5A150W | AC100-240V~ 50/60Hz 1,8A170W | ACI00-240V~ 50/60Hz 2,2A200W | |
| Système TVCouverture de programmeImpédance de l'antenne extérieure | PAL/SECAM B/G/D/K, PAL I/II, SECAM L/L'VHF: E2 ~ E12, UHF: E21 ~ E69, CATV: S1 ~ S20, HYPER: S21 ~ S4775 Ω | ||||
| Conditiond'environnement | Température de fonctionnementHumidité de fonctionnement | 0 ~ 40°C / 32 ~ 104°FMoins de 80% | |||
| Température de stockageHumidité de stockage | -20 ~ 60°C / -4 ~ 140°FMoins de 85% | ||||
Afin d'améliorer la qualité de ce produit, les specifications ci-dessus sont sujettes à des modifications sans préavis.
| MODELES | 42PC5* | 50PC5* | 50PB65* | |
| 42PC55-ZB42PC56-ZD | 50PC55-ZB50PC56-ZD | 50PB65-ZA | ||
| Dimensions(Largeur x Hauteur x Profondeur) | avec le socle | 1048,0 x 766,0 x 310,0 mm41,3 x 30,2 x 12,2 pouces | 1242,0 x 887,6 x 370,0mm48,9 x 34,9 x 14,6 pouces | 1359,9 x 889,2 x 369,8 mm53,6 x 35,1 x 14,6 pouces |
| sans le socle | 1048,0 x 713,0 x 83,5 mm41,3 x 28,1 x 3,3 pouces | 1242,0 x 827,2 x 88,0 mm48,9 x 32,6 x 3,5 pouces | 1359,9 x 822,5 x 89,5 mm53,6 x 32,4 x 3,6 pouces | |
| Poids | avec le socle | 28,0 kg / 61,7 lbs | 39,3 kg / 86,6 lbs | 48,0 kg / 105,9 lbs |
| sans le socle | 24,6kg / 54,2 lbs | 34,6kg / 76,2 lbs | 39,1 kg / 86,2 lbs | |
| Conditions d'alimentationConsommation électriche | AC100-240V~ 50/60Hz 3,5A310W | AC100-240V~ 50/60Hz 5,0A450W | ||
| Système TVCouverture de programmeImpédance de l'antenne extérieure | PAL/SECAM B/G/D/K, PAL I/II, SECAM L/L'VHF: E2 ~ E12, UHF: E21 ~ E69, CATV: S1 ~ S20, HYPER: S21 ~ S4775 Ω | |||
| Conditiond'environnement | Température de fonctionnementHumidité de fonctionnement | 0 ~ 40°C / 32 ~ 104°FMoins de 80% | ||
| Température de stockageHumidité de stockage | -20 ~ 60°C / -4 ~ 140°FMoins de 85% | |||
Afin d'améliorer la qualité de ce produit, les specifications ci-dessus sont sujettes à des modifications sans préavis.
PROGRAMMATION DE LA TÉLECOMMANDE
La télécommande fonctionne avec d'autres marques de téléviseurs; c'est une télécommande universelle. Elle peut être programmée pour commander la plupart des autres appar兼s qui fonctionnent avec une télécommande.
Néanmoins, il se peut que le télécommande ne fonctionne pas sur tous les modèles d'autres marques.
Programmation d'un code dans la télécommande
Testez your telecommande.
Pour savoir si vous telécommande peut commander un appareil externe sans aucune programmation préal-able, mettez l'appareil externe sous tension ( comme par exemple un magnétoscope), puis appuyez sur la touche de mode correspondante (par ex.: DVD ou VCR) de la telécommande, tout en dirigeant celle-ci vers l'appareil. Essayez de faire fonctionner les touches POWER et PR +/- pour voir si l'appareil externe répond correctement. Si ce n'est pas le cas, vous doivent programmermer la telécommande pour qu'elle puisse commander l'appareil externe.
2 Mettez l'appareil externe sous tension, puis appuyez sur la touche de mode correspondante (par ex.: DVD ou VCR) de la télécommande. La touche de la télécommande qui correspond à l'appareil externe seLECTIONné s'allume.
3 Appuyez simultanément sur les touches MENU et MUTE ; la télécommande est prete pour receivevoir un code de programmation.
4 Introduisez un numero de code à l'aide du clavier numérique de la télécommande. Vous trouvez les nombres de codes de programmation qui correspondent à votre apparéil externe dans les pages suivantes. Si le code est correct, l' apparéil s'est int.
5 Appuyez sur la touche MENU pour memoriser le code.
6 Essayez de faire fonctionner votre télécommande pour voir si l'appareil externe répond correctement. Si ce n'est pas le cas, renouvelez l'étape 2.
CODES DE PROGRAMMATION
DVD
| Marque | Codes | Marque | Codes | Marque | Codes | |||||
| APEX DIGITAL | 022 | MITSUBISHI | 002 | RCA | 005 | 006 | ||||
| DENON | 020 | 014 | NAD | 023 | SAMSUNG | 011 | 015 | |||
| GE | 005 | 006 | ONKYO | 008 | 017 | SONY | 007 | |||
| HARMAN KARDON | 027 | PANASONIC | 003 | 009 | THOMPSON | 005 | 006 | |||
| JVC | 012 | PHILIPS | 013 | TOSHIBA | 019 | 008 | ||||
| LG | 001 | 010 | 016 | 025 | PIONEER | 004 | 026 | YAMAHA | 009 | 018 |
| MAGNAVOX | 013 | PROCEED | 021 | ZENITH | 010 | 016 025 | ||||
| MARANTZ | 024 | PROSCAN | 005 | 006 | ||||||
VCR
| Marque | Codes | Marque | Codes | Marque | Codes | |||||||||
| AIWA | 034 | MAGNAVOX | 031 | 033 | 034 | 041 | SAMSUNG | 032 | 040 | 102 | 104 | |||
| AKAI | 016 | 043 | 046 | 124 | 067 | 068 | 105 | 107 | 109 | 112 | ||||
| 125 | 146 | MARANTZ | 012 | 031 | 033 | 067 | 113 | 115 | 120 | 122 | ||||
| AMPRO | 072 | 069 | 125 | |||||||||||
| ANAM | 031 | 033 | 103 | MARTA | 101 | SANSUI | 022 | 043 | 048 | 135 | ||||
| AUDIO DYNAMICS | 012 | 023 | 039 | 043 | MATSUI | 027 | 030 | SANYO | 003 | 007 | 010 | 014 | ||
| BROKSONIC | 035 | 037 | 129 | MEI | 031 | 033 | 102 | 134 | ||||||
| CANON | 028 | 031 | 033 | MEMOREX | 003 | 010 | 014 | 031 | SCOTT | 017 | 037 | 112 | 129 | |
| CAPEHART | 108 | 033 | 034 | 053 | 072 | 131 | ||||||||
| CRAIG | 003 | 040 | 135 | 101 | 102 | 134 | 139 | SEARS | 003 | 008 | 009 | 010 | ||
| CURTIS MATHES | 031 | 033 | 041 | MGA | 045 | 046 | 059 | 013 | 014 | 017 | 020 | |||
| DAEWOO | 005 | 007 | 010 | 064 | MINOLTA | 013 | 020 | 031 | 042 | 073 | 081 | |||
| 065 | 108 | 110 | 111 | MITSUBISHI | 013 | 020 | 045 | 046 | 101 | |||||
| 112 | 116 | 117 | 119 | 049 | 051 | 059 | 061 | SHARP | 031 | 054 | 149 | |||
| DAYTRON | 108 | 151 | SHINTOM | 024 | ||||||||||
| DBX | 012 | 023 | 039 | 043 | MTC | 034 | 040 | SONY | 003 | 009 | 031 | 052 | ||
| DYNATECH | 034 | 053 | MULTITECH | 024 | 034 | 056 | 057 | 058 | 076 | |||||
| ELECTROHOME | 059 | NEC | 012 | 023 | 039 | 043 | 077 | 078 | 149 | |||||
| EMERSON | 006 | 017 | 025 | 027 | 048 | SOUNDESIGN | 034 | |||||||
| 029 | 031 | 034 | 035 | NORDMENDE | 043 | STS | 013 | |||||||
| 036 | 037 | 046 | 101 | OPTONICA | 053 | 054 | SYLVANIA | 031 | 033 | 034 | 059 | |||
| 129 | 131 | 138 | 153 | PANASONIC | 066 | 070 | 074 | 083 | 067 | |||||
| FISHER | 003 | 008 | 009 | 010 | 133 | 140 | 145 | SYMPHONIC | 034 | |||||
| FUNAI | 034 | TANDY | 010 | 034 | ||||||||||
| GE | 031 | 033 | 063 | 072 | PENTAX | 013 | 020 | 031 | 033 | TATUNG | 039 | 043 | ||
| 107 | 109 | 144 | 147 | 063 | TEAC | 034 | 039 | 043 | ||||||
| GO VIDEO | 132 | 136 | PHILCO | 031 | 034 | 067 | TECHNICS | 031 | 033 | 070 | ||||
| HARMAN KARDON | 012 | 045 | PHILIPS | 031 | 033 | 034 | 054 | TEKNIKA | 019 | 031 | 033 | 034 | ||
| HITACHI | 004 | 018 | 026 | 034 | 067 | 071 | 101 | 101 | ||||||
| 043 | 063 | 137 | 150 | PILOT | 101 | THOMAS | 034 | |||||||
| INSTANTREPLAY | 031 | 033 | PIONEER | 013 | 021 | 048 | TMK | 006 | ||||||
| JCL | 031 | 033 | PORTLAND | 108 | TOSHIBA | 008 | 013 | 042 | 047 | |||||
| JCPENNY | 012 | 013 | 015 | 033 | PULSAR | 072 | 059 | 082 | 112 | 131 | ||||
| 040 | 066 | 101 | QUARTZ | 011 | 014 | TOTEVISION | 040 | 101 | ||||||
| JENSEN | 043 | QUASAR | 033 | 066 | 075 | 145 | UNITECH | 040 | ||||||
| JVC | 012 | 031 | 033 | 043 | RCA | 013 | 020 | 033 | 034 | VECTOR RESEARCH | 012 | |||
| 048 | 050 | 055 | 060 | 040 | 041 | 062 | 063 | VICTOR | 048 | |||||
| 130 | 150 | 152 | 107 | 109 | 140 | 144 | VIDEO CONCEPTS | 012 | 034 | 046 | ||||
| KENWOOD | 014 | 034 | 039 | 043 | 145 | 147 | VIDEOSONIC | 040 | ||||||
| 047 | 048 | REALISTIC | 003 | 008 | 010 | 014 | WARDs | 003 | 013 | 017 | 024 | |||
| LG (GOLDSTAR) | 001 | 012 | 013 | 020 | 031 | 033 | 034 | 040 | 031 | 033 | 034 | 040 | ||
| 101 | 106 | 114 | 123 | 053 | 054 | 101 | 053 | 054 | 131 | |||||
| LLOYD | 034 | RICO | 058 | YAMAHA | 012 | 034 | 039 | 043 | ||||||
| LXI | 003 | 009 | 013 | 014 | RUNCO | 148 | ZENITH | 034 | 048 | 056 | ||||
| 017 | 034 | 101 | 106 | SALORA | 014 | 058 | 072 | 080 | 101 | |||||
| MAGIN | 040 | |||||||||||||
CODES IR
1. Branchement
- Branchez la télécommande à fil sur la prise du téléviseur prévue à cet effet.
2. Code IR de la télécommande
Formedonde émise
Impulsion unique, fréquence de 37.917 KHz modulée à 455 KHz

Fréquence de l'onde porteuse
FPorteuse = 1 / Tc = FOscillataur / 12
Ratio = T1 / Tc = 1 / 3
- Configuration de la trame
Première trame

Trame repétée

Code d'entête

Code de répétition

Description des bits


Intervalle de trame : Tf
Le signal est transmis tant qu'une touche est maintainue enfoncée.

| Code (Héxa) | Fonction | Remarque |
| 00 | PR + | Touche de la télécommande |
| 01 | PR - | Touche de la télécommande |
| 02 | VOL + | Touche de la télécommande |
| 03 | VOL - | Touche de la télécommande |
| 40 | Up (▲) | Touche de la télécommande |
| 41 | Down (▼) | Touche de la télécommande |
| 06 | Right (▶) | Touche de la télécommande |
| 07 | Left (▲) | Touche de la télécommande |
| 08 | POWER | Touche de la télécommande (marche/arrêt) |
| 09 | MUTE | Touche de la télécommande |
| 10 | Touches numériotées 0 | Touche de la télécommande |
| 11 | Touches numériotées 1 | Touche de la télécommande |
| 12 | Touches numériotées 2 | Touche de la télécommande |
| 13 | Touches numériotées 3 | Touche de la télécommande |
| 14 | Touches numériotées 4 | Touche de la télécommande |
| 15 | Touches numériotées 5 | Touche de la télécommande |
| 16 | Touches numériotées 6 | Touche de la télécommande |
| 17 | Touches numériotées 7 | Touche de la télécommande |
| 18 | Touches numériotées 8 | Touche de la télécommande |
| 19 | Touches numériotées 9 | Touche de la télécommande |
| 0B | INPUT | Touche de la télécommande |
| AA | INFO (1) | Touche de la télécommande |
| AB | GUIDE | Touche de la télécommande |
| 56 | SUBTITLE | Touche de la télécommande |
| 5B | EXIT | Touche de la télécommande |
| 1E | FAV | Touche de la télécommande |
| 1A | Q.VIEW | Touche de la télécommande |
| 50 | D/A TV | Touche de la télécommande |
| F0 | TV/RADIO | Touche de la télécommande |
| 7E | SIMPLINK | Touche de la télécommande |
| E0 | BRIGHT + | Touche de la télécommande |
| E1 | BRIGHT - | Touche de la télécommande |
| 0A | I/II | Touche de la télécommande |
| 0E | SLEEP | Touche de la télécommande |
| 43 | MENU | Touche de la télécommande |
| 44 | OK(⊙) | Touche de la télécommande |
| 53 | LIST | Touche de la télécommande |
| 20 | TEXT | Touche de la télécommande |
| 2A | REVEAL | Touche de la télécommande |
| 26 | TIME | Touche de la télécommande |
| 28 | BACK | Touche de la télécommande |
| 62 | UPDATE | Touche de la télécommande |
| 70 | INDEX | Touche de la télécommande |
| 65 | HOLD | Touche de la télécommande |
| 61 | BLEUy | Touche de la télécommande |
| 63 | JAUNE, | Touche de la télécommande |
| 71 | VERT | Touche de la télécommande |
| 72 | ROUGE | Touche de la télécommande |
| 79 | RATIO | Touche de la télécommande |
| B0 | ▶ | Touche de la télécommande |
| B1 | II | Touche de la télécommande |
| B2 | I-▲ | Touche de la télécommande |
| B3 | ▶▶ | Touche de la télécommande |
| B4 | ▲▲ | Touche de la télécommande |
| B5 | ▶▶ | Touche de la télécommande |
| BA | ■ | Touche de la télécommande |
| BD | ● | Touche de la télécommande |
INSTALLATION DU SYSTEME DE COMMANDE EXTERNE
Installation du dispositif RS-232C
Connectez le jack RS-232C à un matériel de commande externe (tel qu'un ordinateur ou un système de commande A/V) pour contrôler les fonctions de la télévision en externe.
Connectez le port série du matériel externe au jack RS-232C, à l'arrière du poste TV.
Remarque: le cable de connexion RS-232C n'est pas fourni avec le poste TV.

TType de connecteur : D- Sub 9 broches mâle
| N° | Nom de broche |
| 1 | Pas de connexion |
| 2 | RXD (réception de données) |
| 3 | TXD (envoi de données) |
| 4 | DTR (terminal de données prêt) |
| 5 | GND (terre) |
| 6 | DSR (modem prêt) |
| 7 | RTS (préts à envoyer) |
| 8 | CTS (préts à émettre) |
| 9 | Pas de connexion |

Configurations RS-232C
Configurations 7 fils (cable RS-232C standard)
| PC | TV | ||
| RXD | 2 | 3 | TXD |
| TXD | 3 | 2 | RXD |
| GND | 5 | 5 | GND |
| DTR | 4 | 6 | DSR |
| DSR | 6 | 4 | DTR |
| RTS | 7 | 8 | CTS |
| CTS | 8 | 7 | RTS |
| D-Sub 9 | D-Sub 9 |
Configurations 3 fils (non standard)
| PC | TV | ||
| RXD | 2●3 | 3 | TXD |
| TXD | 3●2 | 2 | RXD |
| GND | 5●5 | 5 | GND |
| DTR | 4 | 6 | DTR |
| DSR | 6 | 4 | DSR |
| RTS | 7 | 7 | RTS |
| CTS | 8 | 8 | CTS |
| D-Sub 9 | D-Sub 9 |
Set ID
Utilisez cette fonction pour spécifique un numéro d'identificateur du moniteur (nummer ID).
Consultez 'Mise en correspondance réelle' p.101

1 Appuyez sur la touche MENU, puis utilisez les touches ou▼ pour selectionner le menu OPTION.
2 Appuyez sur la touche , puis utilisez les touches ou pour selectionner Mode usine.
3 Appuyez sur la touche , puis utilisez les touches A ou V pour selectionner Set ID.
4 Appuyez sur la touche , puis à l'aide des touches ou réglez Set ID pour désirir l'identificateur du monitér de votrechioix. La gamme de réglage de Set ID est de 1 à 99.
5 Appuyez sur la touche EXIT pour revenir au visionnage du téléviseur.






Paramètres de communication
Débit en baud : 9600 bps (UART - émetteur-recepteur universel asynchrone)
Code de communication : code ASCII
Utilisez un cable croisé (inversé).
Longueur des données : 8 bits
Parité : aucune
Bit d'arrêt : 1 bit
List des références de commandes
| COMMANDE COMMANDE | DATA (Hexadecimal) | ||
| 1 | 2 | ||
| 01. Marche | k | a | 0 ~ 1 |
| 02. Sélection de l'entrée | k | b | Voir page 99 |
| 03. Format de l'image | k | c | Voir page 99 |
| 04. Sommeil écran | k | d | 0 ~ 1 |
| 05. Volume muet | k | e | 0 ~ 1 |
| 06. Contrôle du volume | k | f | 0 ~ 64 |
| 07. Contraste | k | g | 0 ~ 64 |
| 08. Luminosité | k | h | 0 ~ 64 |
| 09. Couleur | k | i | 0 ~ 64 |
| 10. Teinte | k | j | 0 ~ 64 |
| 11. Nettété | k | k | 0 ~ 64 |
| 12. Sélection menu | k | l | 0 ~ 1 |
| 13. Mode de commande exteme | k | m | 0 ~ 1 |
| 14. Balance | k | t | 0 ~ 64 |
| 15. Température de Couleur | k | u | 0 ~ 3 |
| 16. Réglage de Rouge | k | v | 0 ~ 50 |
| 17. Réglage de Vert | k | w | 0 ~ 50 |
| 18. Réglage de Bleu | k | $ | 0 ~ 50 |
| 19. État anormal | k | z | 0 ~ a |
| 20. Méthode ISM | j | p | Voir page 101 |
| 21. Economie d'énergie | j | q | 0 ~ 1 |
| 22. Réglage de la fréquence du déplacement cyclique | j | r | 1 ~ FE |
| 23. Réglage du nombre de pixels du déplacement cyclique | j | s | 1 ~ 3 |
| 24. Réglage automatique | j | u | 1 |
| 25. Commande de sélection de chaine | m | a | Voir page 102 |
| 26. Envoi du code IR | m | c | Code Clé |
| 27. Sélection de l'entrée (principal) | x | b | Voir page 102 |
Protocole de transmission/reception
Transmission
- [Command 1] : première commande. (j, k, m ou x)
- [Command 2] : seconde commande.
- [Set ID]: vous pouvez régler cette fonction pour qu'elle désissoit le monitor ID (l'identificateur du monitreur) désire, dans le Special menu (Menu spécial). La plage de réglage va de 1 à 99. Si vous sélectionnez l'identificateur "0", vous pouze contrôler tous les moniteurs connectés. L'identificateur (Set ID) est indiqué en décimales (1~99) dans le menu et en hexadécimales (0x0~0x63), dans le protocole de transmission/reception.
- [DATA]: pour transmettre des données de commande.
Transmettre "FF" pour voir l'état des commandes. - [Cr]: retour chariot.
Code ASCII "0x0D"
* [ ] : ASCII code 'space (0x20)'
Accuse de réception OK
[Command2][ ][Set ID][ ][OK][Data][x]
- Le moniteur transmet un accuse de réception (ACK) de ce format quand il recoit des données normales. Si les données reçues sont en mode lecture, il indique l'état actuel des données. Si ces données sont en mode écriture, ces sont celles de l'ordinateur.
Erreur accusé de réception
[Command2][ ][Set ID][ ][NG][Data][x]
-
Le moniteur transmet un accuse de réception (ACK) de ce format quand il recoit des erreurs de communication ou des données anormales de fonctions non viables.
-
Lorsque vous configUREZ les commandes 19 ~ 27, aucun menu Donne s'affiche à l'écran.
née 1: code non autorisé
2: fonction non prise en charge
3:patientez
01. Marche (Command 2 : a)
pour allumer et eteindre le poste TV. Transmission
[k][a][ ][Set ID][ ][Data][Cr]
Donnée 0:éteint 1:allumé
Accusé de réception
[a][ ][Set ID][ ][OK][Data][x]
pour montré si le poste est allumé ou étant.
Accusé de réception
[k][a][ ][Set ID][ ][FF][Cr]
Accusé de réception
[a][[Set ID][OK][Data][x]
- De la même manière, pour les autres fonctions, si les données 'FF' sont transmises selon ce format, le retard des données d'accusé de réception indique l'état de chaque fonction.
02. Sélection de l'entrée (Commande 2 : b)
Pour selectionner la source d'entrée du téléviseur. Vous pouze également selectionner une entrée en utilisant la touche INPUT de la télécommande.
Transmission
[k][b][ ][Set ID][ ][Data][Cr]
| Donnée | 0 : DTV | 5 | : Component |
| 1 : Analogue | 6 | : RGB-PC | |
| 2 : AV1 | 7 | : HDMI1 | |
| 3 : AV2 | 8 | : HDMI2 | |
| 4 : AV3 |
Accusé de réception
[b][ ][Set ID][ ][OK][Data][x]
03. Format de l'image (Commande2: c) (Taille de l'image principale)
Pour régler le format de l'écran. Vous pouze aussi régler le format de l'écran avec la touche ARC (CF : commande format) de la télécommande ou dans le menu à l'écran.
Transmission
[k][c][ ][Set ID][ ][Data][Cr]
| Donnée | 1: Normal screen (4:3) |
| 2: Wide screen (16:9) | |
| 3: Horizon (Spectacle) | |
| 4: Zoom1 | |
| 5.: Zoom2 | |
| 6: Original | |
| 7: 14:9 | |
| 8: Plein écran |
Accusé de réception
[c][ ][Set ID][ ][OK][Data][x]
- En mode PC, seuls les formats 16:9 et 4:3 sont disponibles.
04. Sommeil écran (Commande2: d)
Pourmettre l'écran en sommeil ou le reactiver. Transmission
[k][d][ ][Set ID][ ][Data][Cr]
Donnée 0: écran actif (activement)
1: écran en sommeil (désactivement)
Accusé de réception
[d][ ][Set ID][ ][OK][Data][x]
05. Volume muet (Command 2 : e)
pour allumer ou eteindre le son.
Vos pouvez aussi eteindre le son avec la touche MUTE (MUET) de la telecommande.
Transmission
[k][e][ ][Set ID][ ][Data][Cr]
Donnée 0 : volume actif 1 : volume désacté (muet)
Accusé de réception
[e][ ][Set ID][ ][OK][Data][x]
06. Contrôle du volume (Command 2 : f)
Donnée Min:0\~Max:64 * Consultez 'Mise en correspondance reelle 1' à la page 101.
Accusé de réception
[f][ ][Set ID][ ][OK][Data][x]
07. Contraste (Command 2:g)
Pour régler le contraste de l'écran. Vous pouvez aussi régler le contraste dans le menu Image.
Transmission
[k][g][ ][Set ID][ ][Data][Cr]
Donnée Min : 0 ~ Max : 64
- Consultez 'Mise en correspondance réelle 1' à la page 101.
Accusé de réception
[g][ ][Set ID][ ][OK][Data][x]
08. Luminosite (Command 2 : h)
pour régler la luminosité de l'écran. Vous pouvez aussi régler la luminosité dans le menu Image.
Transmission
[k][h][ ][Set ID][ ][Data][Cr]
Donnée Min:0\~Max:64
- Consultez 'Mise en correspondance réelle 1' à la page 101.
Accusé de réception
[h][ ][Set ID][ ][OK][Data][x]
09. Couleur (Command 2 : i)
Pour régler la couleur de l'écran. Vous pouvez aussi régler la couleur dans le menu Image.
Transmission
$$ [ k ] [ i ] [ ] [ \text {S e t I D} ] [ ] [ \text {D a t a} ] [ \mathrm {C r} ] $$
Donnée Min:0\~Max:64
- Consultez 'Mise en correspondance réelle 1' à la page 101.
Accusé de réception
$$ [ i ] [ ] [ \text {S e t I D} ] [ ] [ \text {O K} ] [ \text {D a t a} ] [ x ] $$
10. Teinte (Command 2: j)
Pour régler la teinte de l'écran. Vous pouvez aussi régler la teinte dans le menu Image.
Transmission
$$ [ k ] [ j ] [ ] [ \text {S e t I D} ] [ ] [ \text {D a t a} ] [ C r ] $$
Donnée Min:0\~Max:64
- Consultez 'Mise en correspondance réelle 1' à la page 101.
Accusé de réception
$$ [ j ] [ ] [ \text {S e t I D} ] [ ] [ \text {O K} ] [ \text {D a t a} ] [ x ] $$
11. Nettété (Command 2 : k)
pour régler la netteté de l'écran. Vous pouvez aussi régler la netteté dans le menu Image.
Transmission
$$ [ k ] [ k ] [ ] [ \text {S e t} I D ] [ ] [ \text {D a t a} ] [ C r ] $$
Donnée Min:0\~Max:64
- Consultez 'Mise en correspondance réelle 1' à la page 101.
Accusé de réception
$$ [ k ] [ ] [ \text {S e t} I D ] [ ] [ O K ] [ \text {D a t a} ] [ x ] $$
12. Sélection menu (Command 2:1)
Pour activer ou désactiver le menu à l'écran (OSD).
Transmission
$$ [ k ] [ l ] [ ] [ \text {S e t I D} ] [ ] [ \text {D a t a} ] [ C r ] $$
Donnée 0 : OSD (menu à l'écran) actif
1: OSD (menu à l'écran) en sommeil
Accusé de réception
$$ [ I ] [ ] [ \text {S e t} I D ] [ ] [ O K ] [ \text {D a t a} ] [ x ] $$
13. Mode de commande externe (Command 2 : m)
Permet de verrouiller les touches du téléviseur et de la télécommande.
Transmission
$$ [ k ] [ m ] [ ] [ \text {S e t I D} ] [ ] [ \text {D a t a} ] [ \mathrm {C r} ] $$
Donnée 0: Pas d'affichage 1: Affichage
Accusé de réception
$$ [ m ] [ ] [ S e t I d ] [ ] [ O K ] [ D a t a ] [ x ] $$
- Si vous n'utilisez pas la télécommande, utiliseze ce mode. Lorsque I ' alime tatio pri cipale est sous/hors te sio ,le verrouillage exter e est d esactivé .
14. Balance (Command 2 : t)
Permet de régler la balance. Vous pouvez également régler la balance à partir du menu SON.
Transmission
$$ [ k ] [ t ] [ ] [ \text {S e t} I D ] [ ] [ \text {D a t a} ] [ C r ] $$
Donnée Min:0\~Max:64
- Consultez 'Mise en correspondance réelle 1' à la page 101.
Accusé de réception
$$ [ t ] [ ] [ \text {S e t} I D ] [ ] [ O K ] [ \text {D a t a} ] [ x ] $$
15. Température de Couleur (Command 2 : u)
Permet de régler la température de couleur. Vous pouvez également régler le Temp. de couleur à partir du menu IMAGE.
Transmission
$$ [ k ] [ u ] [ ] [ \text {S e t I D} ] [ ] [ \text {D a t a} ] [ \mathrm {C r} ] $$
Donnée 0: Froid 1: Plat 2: Moyen 3: Utilisateur
Accusé de réception
$$ [ u ] [ ] [ \text {S e t} I D ] [ ] [ O K ] [ \text {D a t a} ] [ x ] $$
16. Réglage de Rouge (Command 2:v)
Permet de regler le rouge dans le menu température de couleur.
Transmission
$$ [ k ] [ v ] [ ] [ \text {S e t} I D ] [ ] [ \text {D a t a} ] [ C r ] $$
Donnée Min:0\~Max:50
- Consultez 'Mise en correspondance réelle 2' à la page 101.
Accusé de réception
$$ [ v ] [ ] [ \text {S e t} I D ] [ ] [ O K ] [ \text {D a t a} ] [ x ] $$
17. Réglage de Vert (Command 2:w)
Permet de régler le vert dans le menu température de couleur.
Transmission
$$ [ k ] [ w ] [ ] [ \text {S e t I D} ] [ ] [ \text {D a t a} ] [ \text {C r} ] $$
Donnée Min:0\~Max:50
- Consultez 'Mise en correspondance réelle 2' à la page 101.
Accusé de réception
$$ [ w ] [ ] [ \text {S e t I D} ] [ ] [ O K ] [ \text {D a t a} ] [ x ] $$
18. Réglage de Bleu (Command 2: $)
Permet de régler le bleu dans le menu température de couleur.
Transmission
$$ [ k ] [ \$ ] [ ] [ \text {S e t I D} ] [ ] [ \text {D a t a} ] [ C r ] $$
Donnée Min : 0 ~ Max : 50
- Consultez 'Mise en correspondance réelle 2' à la page 101.
Accusé de réception
$$ [ \$ ] [ ] [ \text {S e t I D} ] [ ] [ \text {O K} ] [ \text {D a t a} ] [ x ] $$
19. État anormal (Command 2 : z)
Permet d'identifier un état anormal.
Transmission
$$ [ k ] [ z ] [ ] [ \text {S e t} I D ] [ ] [ F F ] [ ] [ C r ] $$
Donnée FF: Read
Accusé de réception
$$ [ z ] [ ] [ \text {S e t I D} ] [ ] [ \text {O K} ] [ \text {D a t a} ] [ x ] $$
Donnée 0: permet demettre le téléviseur hors tension à l'aide de la télécommande
1: permet demettre le téléviseur hors tension à l'aide de la fonction Arrêt auto. (Auto Sleep).
2: Arrêt du téléviseur avec la télécommande
3: Arrêt du télévisuer avec la fonction de mise en veille
4: permet demettre le téléviseur hors tension à l'aide de la fonction RS-232C
5:5V eteint
6: AC éteint
7: Arrêt du téléviseur avec la fonction d'alarme du ventilateur (en option)
8: Arrêt du téléviseur avec la fonction d'arrêt automatique
9: Arrêt du téléviseur avec la fonction de mise en voille automatique
a: Arrêt du télévisuer par détction de la carte AV
- Cette fonction est en "lecture seule".
20. Methode ISM
(Command 1: j, Command 2: p)
Pour contrôler la méthode ISM. Vous pouvez également regler la fonction ISM Méthode dans le menu OPTION.
Cette fonction n'est pas disponible pour les modèles LCD.
Transmission
$$ [ j ] [ p ] [ ] [ \text {S e t I D} ] [ ] [ \text {D a t a} ] [ \mathrm {C r} ] $$
Accusé de réception
Donnée 0: Normal
2: Orbiter
1: Céruse
3: Inversion
$$ [ p ] [ ] [ \text {S e t} I D ] [ ] [ O K / N G ] [ \text {D a t a} ] [ x ] $$
- Mappage réel des données 1
0:Etape 0
A:Etape 10 (Set ID 10)
F : Etape 15 (Set ID 15)
10:Etape 16 (Set ID 16)
64: Etape 100
6E:Etape 110
73:Etape 115
74:Etape 116
C7:Etape 199
FE : Etape 254
FF : Etape 255
- Mappage réel des données 2
0:-40
1:39
2:-38
:
28:0
:
4E: +38
4F: +39
50: +40
21. Economie d'énergie
Pour réduire la consommation électricquedu moniteur.
Vous pouvez également utiliser la fonction Economie d'énergie dans le menu OPTION.
Cette fonction n'est pas disponible pour les modèles LCD.
Transmission
$$ [ j ] [ q ] [ ] [ \text {S e t} I D ] [ ] [ \text {D a t a} ] [ ] [ C r ] $$
Donnée O: Arret
1:Marche
Accusé de réception
$$ [ q ] [ ] [ \text {S e t} I D ] [ ] [ O K / N G ] [ \text {D a t a} ] [ x ] $$
22. Reglage de la fréquence du déplacement cyclique (Command 1: j, Command 2: r)
Pour régler la fréquence de déplacement de l'image.
Cette fonction n'est pas disponible pour les modèles LCD.
Transmission
$$ [ j ] [ r ] [ ] [ S e t I D ] [ ] [ D a t a ] [ ] [ C r ] $$
Donnée Min: 1 ~ Max: FE
- Consultez 'Mise en correspondance réelle 1'
Accusé de réception
$$ [ r ] [ ] [ \text {S e t I D} ] [ ] [ \text {O K / N G} ] [ \text {D a t a} ] [ x ] $$
23. Réglage du nombre de pixels du déplacement cyclique (Command 1: j, Command 2: s)
Cette fonction permet de régler le nombre de pixels de la fonction de déplacement cyclique.
Cette fonction n'est pas disponible pour les modèles LCD.
Transmission
$$ [ j ] [ s ] [ ] [ \text {S e t} I D ] [ ] [ \text {D a t a} ] [ C r ] $$
Donnée Min: 1 ~ Max: 3
- Consultez 'Mise en correspondance réelle 1'
Accusé de réception
$$ [ s ] [ ] [ \text {S e t I D} ] [ ] [ \text {O K / N G} ] [ \text {D a t a} ] [ x ] $$
24. Reglage automatique
- Cette fonction permet de régler automatiquement le centrage et la phase de l'image. Elle ne peut être utilisé qu'en mode RGB (PC).
Transmission
[j][u][ ][Set ID][ ][Data][Cr]
Donnée 1: Validation
Accusé de réception
[u][ ][Set ID][ ][OK/NG][Data][x]
25. Commande de selection de chaîne (Command 1 : m, Command 2 : a)
Permet de selectionner les chaines selon le nombre physique suivant.
Transmission
[m][a][ ][Set ID][ ][Data0][ ][Data1][ ][Data2][Cr]
Donnée 0 : données de la chaine supérieure
Donnée 1 : données de la chaîne inférieure ex. No. 47 -> 00 2F (2FH) No. 394 -> 01 88 (188H), DTV No. 0 -> Peu imports
Donnée 2 0x00:ATV principal 0x10:DTV principal
Plage de données de la chaîne
Analogue - Min: 00 ~ Max: 63 (0~99)
Numérique - Min: 00 ~ Max: 3E7 (0~999)
Accusé de réception
[a][ ][Set ID][ ][OK/NG][Data][x]
Donnée Min: 00 ~ Max: FF
26. Envoi du code IR
Command 1:m,Command 2:c)
To send IR remote key code.
Transmission
[m][c][ ][Set ID][ ][Data][Cr]
Donnée: Code clé - Voir page 95.
Accusé de réception
[c][ ][Set ID][ ][OK/NG][Data][x]
27. Sélection de l'entrée (Command 1 : x, Command 2 : b) (principal)
Permet de selectionner la source d'entree de l'imageprincipale.
Transmission
[x][b][ ][Set ID][ ][Data][Cr]
Donnée: Structure
| MSB | LSB | ||||||
| 0 | 0 | 0 | 0 | 0 | 0 | 0 | 0 |
| LEntrée externe | LNuméro d'entrée | LNuméro d'entrée | LNuméro d'entrée | LNuméro d'entrée | LNuméro d'entrée | LNuméro d'entrée | LNuméro d'entrée |
| Entrée externe | Donnée | |||
| 0 | 0 | 0 | 0 | DTV |
| 0 | 0 | 0 | 1 | Analagogue |
| 0 | 0 | 1 | 0 | AV |
| 0 | 0 | 0 | 0 | Component |
| 0 | 1 | 0 | 0 | RGB |
| 0 | 1 | 0 | 1 | HDMI1 |
| Entrée externe | Donnée | |||
| 0 | 0 | 0 | 0 | Entrée1 |
| 0 | 0 | 0 | 1 | Entrée2 |
| 0 | 0 | 1 | 0 | Entrée3 |
| 0 | 0 | 1 | 1 | Entrée4 |
Accusé de réception
[b][ ][Set ID][ ][OK/NG][Data][x]
Notice Facile