SF7225C4 - Fer à lisser CALOR - Notice d'utilisation et mode d'emploi gratuit
Retrouvez gratuitement la notice de l'appareil SF7225C4 CALOR au format PDF.
| Type d'appareil | Fer à lisser |
| Revêtement des plaques | Céramique Nano |
| Technologie | Ionic |
| Réglage de la température | Oui, variable |
| Temps de chauffe | Environ 30 secondes |
| Verrouillage des boutons | Oui, fonction Lock System |
| Alimentation | Électrique |
| Utilisation | Cheveux secs |
| Garantie | Usage domestique uniquement |
| Sécurité | Arrêt automatique en cas d'anomalie |
| Accessoires fournis | Non précisé |
| Poids | Non précisé |
| Dimensions | Non précisé |
| Entretien | Nettoyage avec chiffon doux |
| Consignes de sécurité | Ne pas utiliser sur cheveux mouillés, éviter contact avec l'eau |
| Utilisation recommandée | Cheveux longs, souples et courts |
| Fabrication | Non précisé |
FOIRE AUX QUESTIONS - SF7225C4 CALOR
Questions des utilisateurs sur SF7225C4 CALOR
0 question sur cet appareil. Repondez a celles que vous connaissez ou posez la votre.
Poser une nouvelle question sur cet appareil
Téléchargez la notice de votre Fer à lisser au format PDF gratuitement ! Retrouvez votre notice SF7225C4 - CALOR et reprennez votre appareil électronique en main. Sur cette page sont publiés tous les documents nécessaires à l'utilisation de votre appareil SF7225C4 de la marque CALOR.
MODE D'EMPLOI SF7225C4 CALOR
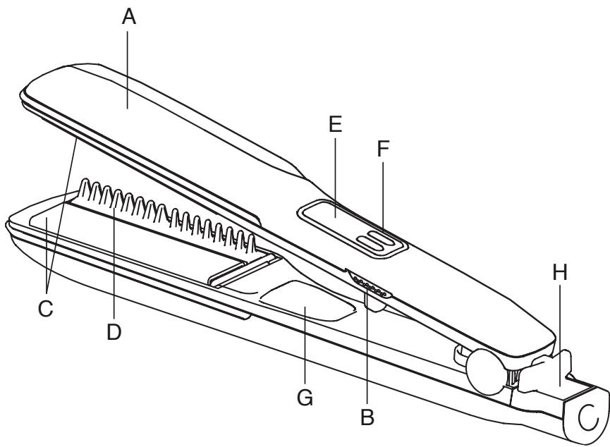
B. Interrupteur marche/arrêt
C. Plagues lissantes, revêtement Ultrashine Nano Ceramic
D. Peigne chauffant, revêtement Ultrashine Nano Ceramic
E. Affichage LED : 5 positions de température + verrouillage de la température
F. Boutons -/+ pour diminuier/augmenter la température
G. Systeme Ionique
H. Lock System (verrouillage et déverrouillage des pinces)
2. CONSEILS DE SECURITE
- Pour toute sécurité, cet appeareil est conforme aux normes et réglementations applicables (Directives Basse Tension, Compatibility Electromagnetique, Environnement...).
- Les accessoires de l'appareil deviennent très chauds pendant l'utilisation. Evitez le contact avec la peau. Assurez-vous que le cordon d'alimentation ne soit jamais en contact avec les parties chaudes de l'appareil.
- Vérifiez que la tension de votre installation électrique correspond à celle de votre apparéil. Toute erreur de branchement peut cause des dommages irréversibles non couverts par la garantie.
- Pour assurer une protection complémentaire, l'installation, dans le circuit électrique alimentant la salle de bain, d'un dispositif à courant différentiel résiduel (DDR) de courant différentiel de fonctionnement assigné n'excedant pas 30 mA, est conseillée. Demandez conseil à votre installerateur.
L'installation de l'appareil et son utilisation doit toute fois etre conforme aux normes en vigueur dans vret pays. - MISE EN GARDE: Ne pas utiliser cet apparéil près des baignoires, des douches, des lavabos ou autres récipiens contenant de l'eau.
- Lorsque l'appareil est utilisé dans une salle de bains, débranchez le après usage car la proximité de l'eau peut désenter un danger même lorsque l'appareil est arrêté.
Cet appareil n'est pas prevu pour etre utilise par des personnes (y compris les enfants) dont les capacités physiques, sensorielles ou mentalles sont réduites, ou des personnes dénuées d'experience ou de connaissance, sauf si elles ont pu bénéficier, par l'interneniaire d'une personne responsable de leur sécurité, d'une surveillance ou d'instructions préalables concernant l'utilisation de I'appareil. Il convient de surveiller les enfants pour s'assurer quils ne jouent pas avec I'appareil. - Si le cable d'alimentation est endommagé, il doit être remplaced par le fabricant, son service après vente ou des personnes de qualification similaire afin d'éviter un danger.
- N'utilisez pas votre apparéil et contactez un Centre Service Agréé si : votre apparéil est tombé, s'il ne fonctionne pas normalement.
- L'appareil doit être débranché : avant le nettoyage et l'entretien, en cas d'anomalie de fonctionnement, dés que vous avez terminé de l'utiliser.
- Ne pas utiliser si le cordon est endommagé.
- Ne pas immerger ni passer sous l'eau, même pour le nettoyage.
- Ne pas tenir avec les mains humides.
- Ne pas tener par le boîtier qui est chaud, mais par la poignée.
- Ne pas débrancher en tirant sur le cordon, mais en tirant par la prise.
- Ne pas utiliser de prolongateur électric.
- Ne pas nettoyer avec des produits abrasifs ou corrosifs.
- Ne pas utiliser par température inférieure à 0^ et supérieure à 35^ .
GARANTIE
Votre apparéil est destiné à un usage domestique seulement.
Il ne peut être utilisé à des fins professionnelles.
La garantie devient nulle et invalide en cas d'utilisation incorrecte.
3. MISE EN SERVICE
- Lock System (fig. 3): Pour ouvrir les pinces, tirez le « Lock System » vers l'arrière.
Pour verrouiller les pinces : fermez les pinces et pousez le « Lock System » vers l'avant.
-
Branchez l'appareil.
-
Placez l'interrupteur marche / arrêt sur la position I. (B)
-
Notre apparéil monte en température très rapidement (mise à disposition inférieure à 30 secondes), celle-ci restant stable tout au long de l'utilisation. (Fig. 1)
-
Sélectionnez la température ideale pour vos cheveux à l'aide des boutons +/- (fig. 2): appuyez sur le bouton – pour diminuer la température ou sur le bouton + pour l'augmenter. La diode rouge indique la température sélectionnée.
-
Avec l'utilisation : placez le bouton marche/arrêt (B) sur la position "0", fermez les pinces, utiliser le
«Lock System», débranche l'appareil et laissez-le refroidir complètement avant de le ranger.
NB: Pour éviter toute erreur de manipulation (appuis involontaires sur les boutons +/- pendant'utilisation) cet apparéil est équipé d'une fonction verrouillage.
Si vous souhaitez verrouiller votre niveau de températe pendant utilisation, appuyez sur le bouton + ou le bouton - pendant 2 secondes. Voitre réglage se verrouille, un cadenas apparait à l'écran.
Si you souhaitez modifier la tempéature de votre apparéil, il vous faudra le déverrouiller : appuyez à nouveau pendant 2 secondes sur le bouton + ou le bouton -. Voitre réglage de déverrouille, le cadenas disparait de l'écran. Vous pouvez modifier la tempéature en appuyant sur les boutons +/-
4. UTILISATION
ATTENTION, cet appeareil s'emploi dans un sens bien defini : toujours utiliser le produit avec le peigne chauffant orienté vers le bas (fig.4)
- Le revêtement céramique du peigne et des plaques protège vos cheveux contre les excès de température, grâce à une répartition uniforme de la chaleur.
- Les cheveux doivent être démêlés, propres et secs (fig. 5).
- Formez une petite mèche de quelques centimètres de largeur, peignez-la et placez-la entre les dents du peigne chauffant et les plaques de lissage. (Fig 6)
- Ne pas utiliser l'appareil sur des cheveux synthétiques (perruques, rajouts...).
- Serrez fermement les cheveux entre les plaques et faites glisser l'appareil lentement, de la racine à la pointe des cheveux. (fig. 7)
- Attendre que les cheveux lissés soient refroidis avant de les coiffer.
ASTUCES DU COIFFEUR
- Toujours commencer par lisser les mèches du dessous : travaillez d'abord la nuque, puis les côtes et terminer par le devant.
-
Pour éviter des striés sur les longueurs, travailliez d'un mouvementouple et continu.
-
Pour accenterer l'effet, vous pouvez appliquer une mousse coiffante avant de lisser.
5. ENTRETIEN
ATTENTION : Toujours débrancher l'appareil et le laisser refroidir avant de le nettoyer.
- Pour nettoyer l'appareil : débranchez-le, passez un chiffon humide et séchez avec un chiffon sec.
6. PARTICIPONS À LA PROTECTION DE L'ENVIRONNEMENT!
① Notre apparéil contient de nombreux matériel aux valorisables ou recyclables.
Confiez celui-ci dans un point de collecte ou a defaut dans un centre service agréé pour que son tra

13/14



www.calor.fr


Fig. 1

Fig. 2

Fig. 3

Fig. 4

Fig. 5

Fig. 6

Fig. 7
SERVICE APRES-VENTE / CONSUMTENSERVICE
FRANCE
des centres-Service Agreees par Calor assuient ne service apres-Vente. Il sont aotide disposition pour toute intervention sur nos produits sous garantie et hors garantie la vente de nos assoiclores et pieces detacheses. Pour connaire la liste de ces Centres-Service ou pour tout autre renseignement, vous pouvez nous contacter :
0974508168
BP 15
69131 ECJUUY Cedex
Internet:www.color.f
I
BELGIQUE/BELGIE
Des Centres-Service Agreés par CALOR assurent notre service après-vente. Ils sont à leur disposition pour toute intervention sur nos produits sous garantie et hors garantie, la vente de nos accessoires et pieces détachéées. Pour connaître la liste de ces Centres-Service ou pour tout autre renseignement, vous pouvez nous contacter : CALOR beschikt, naast onceeur considernentervice (zie onderstaand adires), over regionale erkende service-centra die u een goede service garanderen. Zij staan tot uw beschikkig voor elkveorm van service, zowel binnen als buiten de garantiepieme van het apparaat. Tevens kutn u bijijke service-centra terecht voor accessoennes on onderdenel van onsPHONEOMd le lijst met service-adressen te ontvangen of voel he andere informatie, kunt urechtstreeks contact met ons opemnen:Fur unseren Kundendienst sind die von CALOR zugelassenen Servicezentren zustandig. Sie übernehmer Reparaturel aler Art an unseren Produktien, die unter Garantie stehen sowie an solchen, deren Garantie abgelaufen ist und vertreiben unsere Zubeho-/ und Ersatzteile. Die Liste dieser Servicezentren sowie sonstige Auskunft siehalten Sie beim: Verbraucherdienst:
Service Consommateurs /
Avenue de l'Espérance
6220 Fleurus
Tel: 070/23.31.59 - Fax: 071/82.52.82
NEDERLAND
GROUPE SEB NEDERLAND BV
E-mail: conssrv@nl.groupeseb.com
Internet: www.tefalnl
En plus de la garantie legale qui decide des articles 1641 et suivits du Code Civil, due en tout etat de cause sur des defaute s et vices caches de l'appareil, Calor assure une garantie contractuelle de 1 an a partir de la date d'achat, sauf legislation specifique a cette pays.
Cette garantie (pieces et main d'oeuvre) ne couve pas les bris par chute et chic, les déteriorations provoquées par un employe anomal, les erreurs de branchement, le non-respect des conditions d'utilisation prescrites dans la notice d'emploi ou les réparations ou vérifications effectuees par des personnes non qualifiées par Calor.
Pour etre valable,ce bon de garantie doit etre:
2- joint à l'appareil en cas de réparation sous garantie
BELGIQUE /BELGIÉ
Notice Facile