MODE D'EMPLOI HBW7518DT HAIER
Manuel d'utilisation
Réfrigérateur-congélateur HBW7518C HBW7518DT
ATTENTION: Risque d'incendie ou de matières inflammables
FR
Le symbole montre qu'il y'a le risque de maté riaux inflammables sont utilisés. Prendre soin d'éviter de provoquer un incendie en ingérant des matières inflammables.
Avant la première utilisation 6
Installation 6
Utilisation quotidienne 7
Informations sur les gaz réfrigerants 9
Verrouillage/Déverrouillage du panneau 13
Régler la température du réfrigérateur 13
Régler la température du congeilateur 13
Fonction d'interconnexion 14
Fonction ECO 15
Fonction Holiday 15
Fonction Super Cool 15
Fonction Super Freeze 16
Sélection de la fonction My Zone 17
19 Matériel
20 Conseils d'économie d'énergie
21 Entretien et nettoyage
23 Dépannage
27 Installation
33 Données techniques
35 Service clientèle
Merci d'avoir acheté un produit Haier.
Veuillez lore attentivement ces instructions avant d'utiliser cet apparéil. Les instructions contiennent des informations importantes qui vous aidont à tirer le meilleur parti de l' apparéil et à assurer l'installation, l'utilisation et l'entretien sûrs et appropriés de celui-ci.
Conservez ce manuel dans un endroit facilement accessible afin que vous puissiez toujours vous y reférer pour une utilisation sure et appropriée de l'appareil.
Si vous vendez l'appareil, si vous le donnez ou si vous le laissez lorsque vous déménagez, assurez-vous que vous transmettez également ce manuel pour que le nouveau propriétaire puisse se familiariser avec l'appareil et les consignes de sécurité.
Accessoires
Vérifiez les accessoires et la litterature conformément à cette liste :






Mise au rebut
Contribuez à protégger l'environnement et la santé humaine.
Jetez l'emballage dans les bacs correspondants pour le recycler. Participez au recyclage des déchets d'appareils électriques et电子iques. Ne jetez pas les appareils marqués de ce symbole avec les déchets menagers.
Ramenez le produit à votre déchetterie locale ou contactez votre bureau municipal.



AVERTISSEMENT!
Risque de blessure ou de suffocation!
Les frigorigènes et les gaz doivent être éliminés par un professionnel. Assurez-vous que le tube du circuit réfrigerant n'est pas endommagé avant d'être correctement élimné. Débranchez l'appareil du secteur. Coupez le cable d'alimentation et jetez-le. Retirez les clayettes et les tiroirs ainsi que le verrou et les joints de la porte, afin d'éviter que les enfants et les animaux domestiques ne se retrouvent enfermés dans l'appareil.
Avant d'allumer l'appareil pour la première fois, lisez les conseils de sécurité suivants :

AVERTISSEMENT!
Avant la première utilisation
Assurez-vous qu'il n'a pas eteendommagependant le transport.
Attendez au moins deux heures avant d'installer l'appareil afin de vous assurer que le circuit réfrigérant fonctionne parfaitement.
Manipuez toujours l'appareil avec au moins deux personnes parce qu'il est lourd.
Retirez tous les emballages, gardez-les hors de la portée des enfants, puis jetez-les d'une manière respectue de l'environnement.
Nettoyez l'intérieur et l'extérieur de l'appareil avec de l'eau et un détergent doux avant d'ymettre des alimentes.
- Une fois l'appareil à plat et nettoyé, attendez au moins 2 à 5 heures avant de le brancher à l'alimentation électrique. Voir la section INSTALLATION.
Pré-refrigéréz les compartments à des réglages élevés avant de les replir d'aliments. La fonction Power-Freeze permet de refroidir rapidement les compartments.
La température du réfrigerateur et celle du congélateur sont régées automatiquement sur 5^ et -18^ respectivement. Ce sont les paramètres recommendés. Si vous le souhaitez, vous pouvez modifier ces températures manuellement. Voir RÉGLAGE DE LA TEMPERATURE.
Installation
L'appareil doit être placé dans un endroit bien ventilé. Garantissez un espace d'au moins 10 cm au-dessus et autour de l'appareil.
Ne placez jamais l'appareil dans un endroit humide ou un endroit où il pourrait etre éclaboussé d'eau. Nettoyez et sechez les éclaboussures d'eau et les taches avec un chiffon doux et propre.
N'installez pas l'appareil en plein soleil ou a proximé de sources de chaleur (par ex. cusinières, chauffages).
Installez et mettez à niveau l'appareil dans une zone adaptée à sa taille et à son'utilisation.
- Maintenez les ouvertures de ventilation situées dans l'appareil ou dans la structure encastrée libres de toute obstruction.
Assurez-vous que les informations électriques figurant sur la plaque signalétique sont conformes à l'alimentation électrique. Si ce n'est pas le cas, contactez unElectricien.
L'appareil est alimenté par une alimentation de 220-240 VCA/50 Hz. Les variations anormales de tension peuvent provoquer l'arrêt de l'appareil ou endommager le régulateur de température ou le compresseur, ou il peut y avoir un bruit anomal lors du fonctionnement. Dans ce cas, un régulateur automatique doit être monté.
N'utilisiez pas d'adaptateurs multisprises ni de rallonges.
- Ne placez pas de systèmes multiprises portatifs ou d'alimentations portatives à l'arrière de l'appareil.
Assurez-vous que le cable d'alimentation n'est pas coincide par le réfrigérateur. Ne marchez pas sur le cable d'alimentation.

AVERTISSEMENT!
Utilisez une prise de terre séparée pour l'alimentation électrique qui soit facile d'accès. L'appareil doit être mis à la terre.
Uniquement pour le Royaume-Uni: Le cable d'alimentation de l'appareil est équipé d'une fiche 3 pôles (de mise à la terre) qui s'adapte à une prise standard 3 pôles (de mise à la terre). Ne coupe jamais ou ne démontez jamais la troisième broche (mise à la terre). Une fois l'appareil installé, la fiche doit être accessible.
N'endommagez pas le circuit réfrigérant.
Utilisation quotidienne
Cet apparéil peut être utilisé par des enfants à partir de 8 ans et par des personnes ayant des capacité physiques, sensorielles ou mentales réduites ou un manque d'expérience et de connaissances, s'ils sont sous surveillance ou si on leur a appris à utiliser l' apparéil en toute sécurité et s'ils comprendnent les risques courus.
- Les enfants âgés de 3 à 8 ans sont autorisés à replir et vider les apparueils de réfrigération, mais ne sont pas autorisés à les nettoyer ni à les installer.
Gardez les enfants agés de moins de 3 ans à l'écart de l'appareil à moins qu'ils ne soient constamment surveillés.
Les enfants ne doivent pas jouer avec l'appareil.
Si du gaz réfrigérant ou tout autre gaz inflammable fuit à proximé de l'appareil, fermez la vanne du gaz qui fuit, ouvrez les portes et les fenêtres et ne débranchez pas le cable d'alimentation du réfrigerateur ou de tout autre apparéil.
Notez que l'appareil est conçu pour fonctionner dans une plage de température ambiente spécifique comprise entre 10^ et 43^ . L'appareil peut ne pas fonctionner correctement s'il est laissé pendant une longue période à une température inférieure ou supérieure à la plage indiquée.
Ne placez pas d'objects instables (objets lourds, recipients replis d'eau) sur le dessus du réfrigerateur, pour éviter les blessures corporelles causées par une chute ou une électrocution causée par le contact avec de l'eau.
Ne tirez pas sur les balconnets. La porte peut etre tirée en biais, le portebouteilles peut etre retire ou l'appareil risque de basculer.
Ouvrez et fermez les portes uniquement avec les poignées. L'écart entre les portes et entre les portes et le compartment est très étroit. Ne mettez pas vos mains dans ces zones pour éviter de vous pincer les doigts. Ouvrez ou fermez les portes du réfrigerateur uniquement lorsqu'il n'y a pas d'enfants dans le rayon de mouvement de la porte.

AVERTISSEMENT!
Ne conservez pas et n'utilisez pas de matieres corrosives, explosives ou inflammables dans l'appareil ou a proximé.
Ne conservez pas de médicaments, de bacteries ou d'agents chimiques dans l'appareil. Cet apparéil est un apparéil électroménager. Il n'est pas recommandé pour stocker des produits qui nécessitant des températures strictes.
Ne conservez jamais des liquides dans des bouteilles ou des canettes (en dehors des spiritueux avec un degré d'alcool très élevé), en particulier les boissons gazeuses, dans le congélateur car ceux-ci pouraient exploser durant la congélation.
Vérifiez l'etat des alimentés si l'intérieur du congelateur s'est rechauffé.
Ne réglez pas une température inutillement basse dans le compartment du réfrigérateur. Des températures inférieures peuvent se produit à des réglages élevés. Attention : les bouteilles peuvent éclater
Ne touchez pas les produits surgelés avec les mains mouillées (portez des gants). Ne mangezASFout pas les glaces à l'eau juste après les avoir sorties du compartment congélateur. Vous risquez de vous blesser ou de vous brûler à cause du froid. Premiers secours: mettez immediatement sous l'eau froide. Ne retirez pas!
- Ne touchez pas la surface interieure du compartment Congélateur lorsqu'il est en fonctionnement, en particulier avec les mains mouillées, car vos mains peuvent geler sur la surface.
Debranchez l'appareil en cas de coupure de courant ou avant de le nettoyer. Attendez au moins 7 minutes avant de redémarrer l'appareil, car le démarrage fréquent risque d'endommager le compresseur.
N'utilisez pas des appareils électriques à l'intérieur des compartments de conservation des alimentés de l'appareil, sauf s'ils correspondent aux modèles recommandés par le fabricant. Entretien/nettoyage
Veillez à superviseur les enfants s'ils effectuent le nettoyage et l'entretien.
Debranchez l'appareil du secteur avant d'effectuer tout entretien courant. Attendez au moins 5 minutes avant de redémarrer l'appareil, car des démarrages trop féquents risqueraient d'endommager le compresseur.

AVERTISSEMENT!
Tenez la fiche, pas le cable, lorsque vous débranchez l'appareil.
Ne nettoyez pas l'appareil à l'aide de brosses dures, de brosses métalliques, de détergents en poudre, d'essence, d'acétate d'amyle, d'acétone et de solutions organiques similaires, d'accides ou de solutions alcalines. Nettoyez-le avec un détergent spécial pour réfrigerateur afin d'éviter de l'endommager.
Ne raclez pas le givre et la glace avec des objets tranchants. N'utilise pas de pulverisateurs ni de rechauffeurs électriques comme des nettoyeurs à vapeur, des sèche-cheveux ou d'autres sources de chaleur pour éviter d'endommager les pièces en plastique.
N'utilise pas de dispositifs mécaniques ou autres moyens pour accélérer le processus de dégivrage, hormis ceux recommends par le fabricant.
Si le cordon d'alimentation est endommagé, faites-le replacer par le fabricant, le service clientèle ou un électricien qualifié pour éviter tout risque d'accident.
N'essayez pas de réparer, démonter ou modifier l'appareil vous-même. En cas de réparation, veuillez contacter notre service clientèle.
Éliminez la poussière à l'arrête de l'appareil au moins une fois par an pour éviter tout risque d'accendie, ainsi que l'augmentation de la consommation d'énergie.
Ne pulverizez pas et ne rincez pas l'appareil pendant le nettoyage.
N'utilisez pas de jet d'eau ou de vapeur pour nettoyer l'appareil.
Ne nettoyez pas les clayettes froides en verre à l'eau chaude. Un changement soudain de température peut casser le verre.

AVERTISSEMENT!
L'appareil contient de l'ISOBUTANE, un réfrigerant inflammable (R600a). Assurez-vous que le circuit du réfrigerant n'est pas endommagé pendant le transport ou l'installation. Les fuites de frigorigène peuvent provoquer des blessures oculaires ou s'enflammer. Si un dommage s'est produit, gardez les sources de feu ouvert à l'écart, aéréz complètement la pièce, ne branchez pas ou ne débranchez pas les cordons d'alimentation de l'appareil ou de tout autre apparéil. Informez le service clientèle.
En cas de contact du réfrigérant avec les yeux, rincez-les immédiatement à l'eau courante et appelez immédiatement un oculiste.
Utilisation prévue
Cet apparéil est destiné à réfrigerer et à congefer les alimentes. Il a été concu exclusively pour une utilisation dans les habitations et des applications similaires telles que les espaces de cuisine dans les magasins, bureaux et autres environnementés de travail ; les habitations rurales et par les clients dans les hôtels/motels et autres environnementés de type résidentiel, ainsi que dans les chambres d'hôtes ou B&B et activités de restauration. Il n'est pas destiné à un usage commercial ou industriel.
Les changements ou modifications apportés à l'appareil ne sont pas autorisés. Une utilisation non prévue peut entraîner des risques et la perte de garantie.
Normes et directives

Ce produit satisfait aux exigences de toutes les directives CE applicables avec les normes harmonisées correspondantes, qui prévoient le marquage CE.

REMARQUE
En raison des changements techniques et de différents modèle, certaines des illustrations de ce manuel peuvent différer de votre modele.

HBW7518C/HBW7518DT
A: Chambre de réfrigération
1 Porte-bouteilles
2 Conduit d'air réfrigéré
3 Clayettes ordinaires
4 Tiroir Humidity Zone
5 Porte-bouteilles
6 Tiroir MyZone
B: Chambre de congélation
7 Tiroir supérieur du congelateur
8 Tiroir central du congélateur
9 Tiroir inférieur du congelateur
Panneau de commande

Voyants :
A Connexion à l'application mobile
B Fonction Wi-Fi
C Fonction ÉCO
D Fonction Holiday
E Voyant du réfrigérateur
F Voyant du congelateur
G Réglage de la température « - »
H Fonction bactericide
I Affichage de la puissance
J Affichage de la température
K Réglage de la température « + »
L Fonction Fruit&Veg
M Fonction QuickCool
N Fonction 0^ Fresh
O Fonction Super Cool
P Fonction Super Freeze
Q Verrouillage et déverrouillage
Touches tactiles
Les touches du panneau de commande sont des touches tactiles qui réagissant dés que le doigt les touche légèrement.
Allumer/eteindre l'appareil
L'appareil fonctionné dés qu'il est branché sur l'alimentation électrique.
Lors de la première mise sous tension du réfrigérateur, le voyant « J » (affichage de la température) s'allume. La température du réfrigérateur et celle du congélateur sont régliées automatiquement sur 5^ et -18^ respectivement. Le voyant « M » (affichage QuickCool) s'allume.
Les zones My Zone sont automatiquement régles sur la fonction QuickCool.
Le verrouillage du panneau est peut-être actif.
Touches :
K1 Touche de réglage du Wi-Fi
K_2 Touche de la fonction ECO
K_3 Touche de la fonction Holiday
K4 Touche de selection de la zone
K5 Touche de réglage de la température « - »
K6 Touche de réglage de la température « + »
K7 Touche de selection de la fonction My Zone
K8 Touche de selection Super Cool
K9 Touche de selection Super Freeze
K10 Touche de verrouillage et de déverrouillage

REMARQUE
Lorsque l'appareil est allumé après avoir été débranché de l'alimentation secteur, il peut falloir jusqu'à 12 heures pour que les températures correctes soient atteintes.
Videz l'appareil avant de I'eteindre. Pour eteindre l'appareil, tirez le cordon d'alimentation pour le sortir de la prise d'alimentation.
Verrouillage/Déverrouillage du panneau
Verrouillage automatique : lorsque la porte du réfrigerateur et la porte du congélateur sont fermées et qu'aucune touche n'est actionnée dans les 30 secondes, l'écran s'éteint et se verrouille automatiquement.
Verrouillage manuel : lorsque l'écran d'affichage est déverrouillé, appuyez sur la touche « K₁₀ » (déverrouillage 3S) et maintenez-la enforcée pendant 3 secondes, le signal sonore retentit une fois, le voyant « Q » (verrouillage du panneau) s'allume et l'affichage est verrouillé.
Déverrouillage : lorsque l'écran d'affichage est verrouillé, appuyez sur la touche « K10 » (déverrouillage 3S) et maintenez-la enforcée pendant 3 secondes, le signal sonore retentit une fois, le voyant « Q » (verrouillage du panneau) s'eteint et l'écran est déverrouillé.
Réglage de la température
Les températures interieures sont influencées par les facteurs suivants :
Température ambiente, fréquence d'ouverture de la porte, quantité d'aliments conservés, installation de l'appareil.
Régler la température du réfrigérateur
Lorsque l'écran d'affichage est déverrouillé, appuyez sur la touche « K₄ » (selecteur de zone). Le signal sonore retentit une fois, le voyant « E » (voyant du réfrigerateur) s'allume, puis vient le mode de réglage de la température du réfrigerateur.
Appuyez sur la touche « K5 » (touche de réglage de la température « - ») à chaque fois, le signal sonore retentit une fois, la température définie du réfrigerateur sera réduite de 1. La température du réfrigerateur s'affiche selon la séquence « 9 °C -> 8 °C -> 7 °C -> 6 °C -> 5 °C -> 4 °C -> 3 °C -> 2 °C -> 1 °C »
Appuyez sur la touche « K₆ » (touche de réglage de la température « + ») à chaque fois, le signal sonore retentit une fois, la température définie du réfrigerateur sera augmentée de 1. La température du réfrigerateur s'affiche selon la série « 1 °C -> 2 °C -> 3 °C -> 4 °C -> 5 °C -> 6 °C -> 7 °C -> 8 °C -> 9 °C »

REMARQUE
Après avoir régèle la température, s'il n'y a pas d'opération dans les 5 secondes, le système enregistrtera automatiquement la température définie.
Régler la température du congélateur
Lorsque l'écran d'affichage est déverrouillé, appuyez sur la touche « K₄ » (séclecteur de zone). Le signal sonore retentit une fois, le voyant « F » (voyant du congélateur) s'allume, puis vient le mode de réglage de la température du congélateur.
Appuyez sur la touche « K₅ » (touche de réglage de la température « - ») à chaque fois, le signal sonore retentit une fois, la température définie du congelateur sera réduite de 1. La température du congelateur s'affiche selon la séquence « -14 °C -> -15 °C -> -16 °C -> -17 °C -> -18 °C -> -19 °C -> -20 °C -> -21 °C -> -22 °C -> -23 °C -> -24 °C »
Appuyez sur la touche « K₆ » (touche de réglage de la température « + ») à chaque fois, le signal sonore retentit une fois, la température définie du congelateur sera augmentée de 1. La température du congelateur s'affiche selon la série « -24 °C -> -23 °C -> -22 °C -> -21 °C -> -20 °C -> -19 °C -> -18 °C -> -17 °C -> -16 °C -> -15 °C -> -14 °C »

REMARQUE
Après avoir régèle la température, s'il n'y a pas d'opération dans les 5 secondes, le système enregistrtera automatiquement la température définie.
Fonction Wi-Fi
- Lorsque l'écran d'affichage est déverrouillé, appuyez sur la touche « K₁ » (touche de la fonction Wi-Fi), le signal sonore retentit une fois, le voyant « B » (fonction Wi-Fi) reste allumé jusqu'à ce que la connexion soit établie. Une fois la connexion établie, maintenez la touche enforcée pendant un certain temps, puis la fonction Wi-Fi sera activée.
- Lorsque l'écran d'affichage est déverrouillé, appuyez sur la touche « K₁ » (touche de la fonction Wi-Fi), le signal sonore retentit une fois, le voyant « B » (fonction d'interconnexion) s'éteint, puis la fonction Wi-Fi est désactivée.
PROCEDURE D'APPAIRAGE DANS L'APPLICATION
Etape 1
- Téléchargez l'application hOn dans les stores

GET IT ON
Google Play

Download on the
App Store

EXPLORE IT ON
AppGallery
Etape 2 Creez-vous compte sur l'application hOn ou connectez-vous si vous possedez déjà un compte

Etape 3 Suivez les instructions d'appairagedans l'application hOn

Fonction ÉCO
- Lorsque l'écran d'affichage est déverrouillé, appuyez sur la touche « K₂ » (touché de la fonction ÉCO), le signal sonore retentit une fois, le voyant « C » (fonction ÉCO) s'allume, puis la fonction ÉCO est activée.
- Lorsque l'écran d'affichage est déverrouillé, appuyez sur la touche « K₂ » (touche de la fonction ÉCO), le signal sonore retentit une fois, le voyant « C » (fonction ÉCO) s'éteint, puis la fonction ÉCO est désactivée.
Fonction Holiday
- Lorsque l'écran d'affichage est déverrouillé, appuyez sur la touche « K₃ » (touche de la fonction Holiday), le signal sonore retentit une fois, le voyant « D » (fonction Holiday) s'allume, puis la fonction Holiday est activée.
- Lorsque l'écran d'affichage est déverrouillé, appuyez sur la touche « K₃ » (touche de la fonction Holiday), le signal sonore retentit une fois, le voyant « D » (fonction Holiday) s'éteint, puis la fonction Holiday est désactivée.

REMARQUE
- La fonction Holiday est principalement utilisée pour les voyages de courte durée et d'autres moments de la vie, et il faut vider le réfrigérateur lors de l'utilisation de la fonction Holiday.
- En fonction Holiday, la température de la chambre du réfrigerateur sera plus élevée (environ 17^ ). Veiliez à vider le réfrigerateur afin d'eviter que les alimentés qui s'y trouvent s'abîment.
- Dans la fonction Holiday, les icônes « Fruit&Veg », « QuickCool », « 0°C Fresh », dans My Zone s'éteignent et la température de My Zone ne peut pas être régée. Le compartmenté réfrigerateur et la zone My Zone s'affichent dans le réglage précédenti une fois la fonction Holiday désactivée.
Fonction Super Cool
- Lorsque l'écran d'affichage est déverrouillé, appuyez sur la touche « K8 » (selecteur Super Cool), le signal sonore retentit une fois, le voyant « O » (fonction Super Cool) s'allume, puis la fonction Super Cool est activée.
- Lorsque levoyant « O » (fonction Super Cool) s'allume, appuyez sur la touche « K8 » (selecteur Super Cool), le signal sonore retentit une fois, le voyant « O » (fonction Super Cool) s'éteint, puis la fonction Super Cool est désactivée.
- Une fois la fonction Super Cool activée, le réfrigérateur la désactive automatiquement lorsqu'il atteint la température régée. Si vous souhaitez la quitter manuellement, vous pouvez appuyer sur la touche « K8 » (selecteur Super Cool) pour la désactiver.


REMARQUE
- En mode Super Cool, la température du réfrigerateur ne peut pas être régée. Si vous appuyez sur la touche « K5 » (touche de réglage de la température « - ») ou sur la touche « K6 » (touche de réglage de la température « + ») pour régler la température du réfrigerateur, le voyant « O » (voyant Super Cool) clignote avec un son rapide pour indiquer que cette opération ne peut pas être effectué.
- En mode Super Cool, la fonction Auto-Set ne peut pas etre activée en meme temps en raison des differents modes de contrôle. Lorsque vous choisissez une fonction qui entre en conflit avec une autre, la fonction d'origine est automatiquement désactivée.
- Cette fonction est automatiquement désactivée au bout de 4 heures.
Fonction Super Freeze
- Lorsque l'écran d'affichage est déverrouillé, appuyez sur la touche « K9 » (selecteur Super Freeze), le signal sonore retentit une fois, le voyant « P » (fonction Super Freeze) s'allume, puis la fonction Super Freeze est activée.
-
Lorsque levoyant « P » (fonction Super Freeze) s'allume, appuyez sur la touche « K9 » (selecteur Super Freeze), le signal sonore retentit une fois, le voyant « P » (fonction Super Freeze) s'éteint, puis la fonction Super Freeze est désactivée.
-
Une fois la fonction Super Freeze activée, le réfrigerateur la désactive automatiquement lorsqu'il atteint la température régée. Si vous souhaitez la quitter manuellement, vous pouvez appuyer sur la touche « K9 » (sélecteur Super Freeze) pour la désactiver.


REMARQUE
- En mode Super Freeze, la température du congélateur ne peut pas être réglée. Si vous appuyez sur la touche « K₅ » (touche de réglage de la température « - ») ou sur la touche « K₆ » (touche de réglage de la température « + ») pour régler la température du congélateur, le voyant « P » (voyant Super Freeze) clignote avec un son rapide pour indiquer que cette opération ne peut pas être effectué.
- La fonction Super Freeze est conçue pour conserver la valeur nutritive des aliments congélés, elle congélera les alimentents dans les plus brefs déliés. Si de grandes quantités d'aliments surgelés doivent être congélées en même temps, la fonction Super Freeze doit être régée 24 h à l'avance pour que la température du congélateur soit relativement BASSE avant demettre les alimentents à l'intérieur. À ce moment-là, la vitesse de congélation du congélateur est améliorée, les alimentents peuvent être congélésrapidement, la valeur nutritive des alimentents est efficacement conservée et les conserver devient plus pratique.
- La fonction Super Freeze s'arrête automatiquement au bout de 50 heures. L'appareil fonctionne alors à la température precedement régée.
Sélection de la fonction My Zone
Lorsque l'écran d'affichage est déverrouillé, appuyez sur la touche « K7 » (touche de sélection de la fonction My Zone), le signal sonore retentit une fois, le voyant « L » (fonction Fruit&Veg) s'allume, puis la fonction Fruit&Veg est activée. Si l'une des touches « K7 » est actionnée pour sélectionner la fonction My Zone, le signal sonore retentit à nouveau et le voyant « M » (fonction Quick Cool) s'allume, puis la fonction QuickCool est activée. Les options de la fonction My Zone sont tour à tour « Fruit&Veg, QuickCool et 0°C Fresh ».

REMARQUE
- Lorsque le réfrigerateur est mis sous tension pour la première fois, le voyant « L » s'allume, les zones My Zone sont automatiquement régées sur la fonction QuickCool. L'un des trois voyageurs My Zone doit être allumé. Lorsque vous sélectionnez à nouveau la fonction My Zone, le voyant My Zone précédemment allumé ne peut pas être selectionné. Une seule des trois fonctions peut être configurée. Les trois fonctions s'excluent mutuelles.
- Le numéro de réglage de la température de conservation de My Zone ne peut pas être supérieur au numéro de réglage de la température du réfrigérateur.
- Pour réduire la température du compartment réfrigerateur, utilisez la fonction 0^ Fresh. Pour l'augmenter, utilisez la fonction Fruit&Veg.
Tiroir My Zone
Le compartment réfrigerateur est équisé d'un tiroir My Zone. En fonction des exigences de conservation des alimentés, la température la plus adaptée peut être sélectionnée pour obtenir la valeur nutritive optimale des alimentés. Les modes suivants sont disponibles.
Fonction Fruit&Veg
Cette fonction convient à la conservation des fruits et légumes comme les pommes, les carottes, etc.
Fonction QuickCool
Cette fonction permet de conserver des boissons comme le coca, la biere, etc.

REMARQUE : Fruit&Veg
Les fruits sensibles au froid comme l'ananas, l'avocat, la banane, le pamplemousse et les légumes tels que les pommes de terre, les aubergines, les haricots, les concombres, les courgettes et les tomates ainsi que le fromage ne doit pas être conservés dans le tiroir My Zone.
Fonction 0^ Fresh
Cette fonction permet de régler la température du tiroir My Zone sur 0^ . Convient à la conservation d'aliments frais tels que la viande ou les produits instantanés. La plupart des alimentés restent frais à 0^ , mais non congeçés.

REMARQUE: 0^ C Fresh
- En raison des différentes teneurs en eau de la viande, certaines viandes plus humides seront congelées à des températures inférieures à 0^ . La viande « coupée immédiatement » doit donc être conservée dans le tiroir My Zone, à une température minimale de 0^ .
- Lorsque vous choisissez 0^ Fresh, reglez la température du compartment de réfrigération au niveau bas (moins de 5^ ), afin de préserver vos alimentés dans un environnement de conservation optimal.
Tiroir Humidity Zone
Dans ce comportement, le niveau d'humidité est supérieur à celui du comportiment du réfrigerateur. Il est contrôle automatiquement par le système et convient au stockage des fruits, des légumes, des salades, etc.

REMARQUE
- Ne retirez pas les couvercles en plastique à l'intérieur des deux zones.
- IlsMaintiennentl'humidite.
- Il n'est pas recommandé de ranger les fruits sensibles au froid comme l'ananas, l'avocat, les bananes et les pamplemousses dans ces deux tiroirs.



Flux multi-air
- Le réfrigérateur est équipé d'un système à flux multi-air, avec lequel des flux d'air froids se trouvent au niveau de chaque clayette. Cela permet de maintainir une température uniforme afin de garantir que vos alimentés conservent leur fraîcheurpendant plus longtemps.
Clayettes réglables
- La hauteur des clayettes peut être régée en fonction de vos besoin de rangement.
- Pour déplacer une clayette, retirez-la d'abord en levant son bord arrêté ① et en la tirant ②.
- Pour la remettre en place, placez-la sur les ergots des deux côtés et poussez-la dans la position la plus reculée jusqu'à ce que l'arrête de la clayette soit fixé à l'intérieur des fentes sur les côtés.

REMARQUE
Assurez-vous que toutes les extrémités d'une clayette sont au même niveau.
Balconnets de porte amovibles/Porte-bouteilles
- Les balconnets de porte peuvent être retirés pour le nettoyage :
- Placez les mains de chaque cote du balconnet, soulevez-le ① et tirez-le ②.
- Pour insérer le balconnet de porte, vous devez suivre les étapes ci-dessus dans l'ordre inverse.


REMARQUE
Lorsque vous allumez l'appareil, il peut falloir jusqu'à 12 heures pour que les températures appropriées soient atteintes.
Tiroir amovable
Pour retirer le tiroir, sortez-le au maximum ① soulevez-le et retirez-le ②
Pour introduire le tiroir, vous devez effectuer les étapes ci-dessus dans l'ordre inverse.
La lumière
La lumière LED à l'intérieur s'allume lorsque la porte est ouverte. Le fonctionnement des lampes n'est affecté paraucun des autres réglages de l'appareil.

Conseils d'économie d'énergie
Assurez-vous que l'appareil est bien ventilé (voir INSTALLATION).
N'installez pas l'appareil en plein soleil ou a proximé de sources de chaleur (par ex. cusinières, chauffages).
Évitez une température inutillementasse dans l'appareil. Plus vous reglez une températureasse dans l'appareil,plus la consommation d'énergie augmente.
Des fonctions comme Super Freeze consommant plus d'énergie.
Laissez les alimentes chaud refroidir avant de lesmettre dans l'appareil.
Ouvrez la porte de l'appareil me moins souvent et le plus rapidement possible.
Ne replissez pas trop l'appareil pour éviter de bloquer la circulation de l'air.
Évitez l'air dans l'emballage des alimentés.
Gardez les joints de la porte propres afin que la porte se ferme toujours correctement.
Décongelez les alimentés surgelés dans le compartment de rangement du réfrigérateur.
La configuration la plus économique en énergie exige que l'appareil conserve les tiroirs, la boîte de rangement et les clayettes en parfait état, et les alimentés doivent être placés le plus loin possible des orifices de sortie de la conduite d'air.

AVERTISSEMENT!
Débranche l'appareil de l'alimentation électrique avant de le nettoyer.
Nettoyage
Nettoyez l'appareil lorsqu'il n'y a qu'un peu de nourriture ou qu'il n'y a pas de nourriture à l'intérieur.
L'appareil doit être nettoyé toutes les quatre semaines pour un bon entretien et pour éviter les mauvaises odeurs des alimentés conservés à l'intérieur.

AVERTISSEMENT!
Ne nettoyez pas l'appareil à l'aide de brosses dures, de brosses métalliques, de détergents en poudre, d'essence, d'acétate d'amyle, d'acétone et de solutions organiques similaires, d'accides ou de solutions alcalines. Nettoyez-le avec un détengent spécial pour réfrigérateur afin d'éviter de l'endommager.
Ne pulveriséz pas et ne rincez pas l'appareil pendant le nettoyage.
N'utilise pas de jet d'eau ou de vapeur pour nettoyer l'appareil.
Ne nettoyez pas les clayettes froides en verre à l'eau chaude. Un changement soudain de température peut casser le verre.
Ne touchez pas la surface interieure du compartment de l'appareil, en particulier avec les mains mouillées, car vos mains peuvent geler sur la surface.
En cas de rechauffement, vérifie l'etat des produits surgelés.

Gardez tousjours le joint de la portepropre.
Nettoyez l'intérieur et le bati de l'appareil à l'aide d'une éponge imbibée d'eau tiède et de détergent neutre.
1. Veuillez frottier l'intérieur et l'extérieur du réfrigérateur, y compris le joint de porte, le porte-bouteille, les clayettes en verre, les boîtes, etc., avec un torchon doux ou une éponge imbibée d'eau chaude (vous pouvez ajouter un détergent neutr dans l'eau chaude).
- S'il y a du liquide renversé, retirez toutes les parties contaminées, rincez-les directement sous l'eau du robinet, séchez-les et remettez-les dans le réfrigérateur.
- S'il y a de la crème (par exemple de la crème, de la crème glacée qui fond), retirez toutes les parties contaminées, placez-les dans de l'eau chaude à 40^ pendant un certain temps, puis rincez-les à l'eau courante, séchez-les et remettez-les dans le réfrigérateur.
- Si une petite pièce ou un élément reste coincé à l'intérieur du réfrigérateur (entre les clayéttes ou les tiroirs), utilisez une petite brosseouple pour l'éliminer. Si vous ne parvenez pas à atteindre la pièce, veuillez contacter le service clientèle Haier.
Rincez et sechez avec un chiffon doux.
Ne nettoyez aucune des parties de I'appareil au lave-vaisse.
Attendez au moins 5 minutes avant de redémarrer l'appareil, car le démarrage fréquent risque d'endommager le compresseur.
Dégivrage
Remplacement des lampes LED

AVERTISSEMENT!
Ne remplacez pas la lampe LED vous-même, elle ne doit être replacée que par le fabricant ou l'agent de maintenance agréé.
Les lampes utilisent des LED comme source lumineuse, avec une faible consommation d'énergie et une longue durée de vie. En cas d'anomalie, veuilles contacter le service clientèle. Reportez-vous au paragraphe SERVICE CLIENTÉLE.
Paramètres des lampes :
Compartment réfrigérateur : 12 V max 2 W
Compartment congélateur : 12 V max 2 W
Non-utilisation pendant une période prolongée
Si l'appareil n'est pas utilisé pendant une période prolongée et que vous n'utiliserez pas la fonction Holiday pour le réfrigerateur :
Sortez les alimentes.
Débranche le cordon d'alimentation.
Nettoyez l'appareil selon les instructions ci-dessus.
Gardez les portes ouvertes pour éviter la formation de mauvaises odeurs à l'intérieur.

REMARQUE
N'eteignez l'appareil que si cela est strictement nécessaire.
Déplacement de l'appareil
- Retirez tous les alimentes et débranchez l'appareil.
- Fixez les clayettes et les autres parties mobiles dans le réfrigérateur et dans le congélateur avec du ruban adhésif.
- N'inclinez pas le réfrigérateur à plus de 45^ pour éviter d'endommager le système de réfrigération.

AVERTISSEMENT!
Ne soulevez pas l'appareil par ses poignées.
Ne placez jamais l'appareil à l'horizontale sur le sol.
Voupez résoudre de nombreux problèmes vous-même sans expertise spécifique. En cas de problème, veuillez vérifier toutes les possibilités indiquées et suivre les instructions ci-dessous avant de contacter un service clientèle. Reportez-vous au paragraphe SERVICE CLIENTÉL.

AVERTISSEMENT!
Avant l'entretien, désactivez l'appareil et débranchez la fiche secteur de la prise secteur.
L'équipement électricne ne doit être entretenu que par des experts en électricité qualifiés, car des réparations inappropriées peuvent cause des dommages consécutifs considérables.
- Une alimentation endommagée ne devrait être remplacée que par le fabricant, son agent de maintenance ou des personnes avec une qualification similaire de manière à éviter tout danger.
| Problème | Cause possible | Solution possible |
| Le compresseur ne fonctionne pas. | • La fiche secteur n'est pas branchée dans la prise secteur.
• L'appareil est en cours de dégivrage | • Branchez la fiche secteur.
• C'est normal pour un dégivrage automatique |
| L'appareil fonctionne frequentlyment ou fonctionne trop longtemps. | • La température interieure ou extérieure est trop élevé.
• L'appareil a été hors tension pendant un certain temps.
• Une porte de l'appareil n'est pas bien fermée.
• La porte a été ouverte trop fréquemment ou trop longtemps.
• Le réglage de la température du compartment congélateur est trop bas.
• Le joint de la porte est sale, use, fissure ou ne correspond pas.
• La circulation de l'air requise n'est pas garantie. | • Dans ce cas, il est normal que l'appareil fonctionne plus longtemps.
• Normalement, il faut 8 à 12 heures pour que l'appareil refroidisse complètement.
• Fermez la porte / le tiroir et assurez-vous que l'appareil est situé sur un sol à niveau et qu'il n'y a pas d'aliment ou de recipient bloquant la porte.
• N'ouvre pas trop souvent la porte/le tiroir.
• Réglez une température plus élevé jusqu'à l'obtention d'une température satisfaisante dans le réfrigerateur. Il faut 24 heures pour que la température du réfrigerateur devienne stable.
• Nettoyez le joint de la porte/du tiroir ou faites-le replacer par le service clientèle.
• Assurez une ventilation ajustate. |
| L'intérieur du réfrigerateur est sale et/ou sent. | • L'intérieur du réfrigerateur a besoin d'être nettoyé.
• Des alimentés à force odeur sont conservés au réfrigerateur. | • Nettoyez l'intérieur du réfrigerateur.
• Enveloppez soigneusement les alimentés. |
| Il ne fait pas suffisamment froid à l'intérieur de l'appareil. | • La température régée est trop élevé.
• Des produits trop chaud ont été stockés.
• Trop d'aliments ont été mis à l'intérieur en même temps.
• Les alimentés sont trop proches les uns des autres.
• Une porte / un tiroir de l'appareil n'est pas bien fermé(e).
• La porte / le tiroir a été ouvert(e) trop fréquement ou trop longtemps. | • Réinitialisez la température.
• Laissez toujours refroidir les alimentés avant de lesmettre à l'intérieur.
• Conservez toujours de petites quantités d'aliments.
• Laissez de la place entre plusieurs alimentés pour permettre la circulation de l'air.
• Fermez la porte / le tiroir.
• N'ouvre pas trop souvent la porte/le tiroir. |
| Il fait trop froid à l'intérieur de l'appareil. | • La température régée est trop BASSE.
• La fonction Super Freeze/Super Cool est activée ou fonctionne depuis trop longtemps. | • Réinitialisez la température.
• Éteignez la fonction Super Freeze/Super Cool. |
| Formation d'humidité à l'intérieur du compartment réfrigerateur. | • Le climat est trop chaud et trop humide.
• Une porte / un tiroir de l'appareil n'est pas bien fermé(e).
• La porte / le tiroir a été ouvert(e) trop fréquement ou trop longtemps.
• Les recipients contenant des alimentés ou des liquides sont laissés ouverts. | • Augmentez la température.
• Fermez la porte / le tiroir.
• N'ouvre pas trop souvent la porte/le tiroir.
• Laissez refroidir les alimentés chaud à température ambiente et couvre les alimentés et les liquides. |
| L'humidité s'accumule sur le réfrigerateur à l'extérieur de la surface ou entre les portes / la porte et le tiroir. | • Le climat est trop chaud et trop humide.
• La porte n'est pas fermée hermétiquement. L'air froid de l'appareil et l'air chaud à l'estérieur de celui-ci se condense. | • C'est normal dans un climat humide et cela va changer lorsque l'humidité diminuera.
• Assurez-vous que la porte/le tiroir est bien fermé(e). |
| La lumière de l'écran fonctionne mais ne semble pas froide. | Il est en mode démo. | Veuillez notes dans quel état il se trouve, s'il est en mode Démo, quitter : maintenez le bouton "ECO" enforcé et cliquez sur la touche "Super Freeze" 5 fois en 5 s. |
| Glace dure et givre dans le compartment congélateur. | • Les produits n'ont pas été correctement emballés.
• Une porte / un tiroir de l'appareil n'est pas bien fermé(e).
• La porte / le tiroir a été ouvert(e) trop fréquement ou trop longtemps.
• Le joint de la porte/du tiroir est sale, usé, fissuré ou ne correspond pas.
• Quelque chose à l'intérieur empêche la porte / le tiroir de se fermer correctement. | • Emballez toujours bien les produits.
• Fermez la porte / le tiroir.
• N'ouvre pas trop souvent la porte/le tiroir.
• Nettoyez le joint de la porte / du tiroir ou remplacez-les par des joints neufs.
• Repositionnez les clayettes, les balconnets de porte ou les recipients à l'intérieur pour permettre à la porte / au tiroir de se fermer. |
| Les cotsés de l'appareil et de la bande de la porte se réchauffent. | • - | • Cela est normal. |
| L'appareil émet dessons anormaux. | • L'appareil n'est pas situé sur un sol plan.
• L'appareil touche un objet situé à proximité. | • Réglez le pied pourmettre l'appareil à niveau.
• Retirez les objets autour de l'appareil. |
| Un léger son doit entendu comme celui de l'eau courante. | • - | • Cela est normal. |
| Un bip d'alarme retentit. | • La porte du compartment de rangement du réfrigérateur est ouverte. | • Fermez la porte. |
| Vous entendrez un petit hum. | • Le système anti-condensation fonctionne.
• La fiche secteur n'est pas branchée dans la prise secteur. | • Cela empêche la condensation et est normal.
• Branchez la fiche secteur. |
| Le système d'éclairage ou de refroidissement à l'intérieur ne fonctionne pas. | • L'alimentation n'est pas intacte.
• La lampe LED est hors service. | • Vérifiez l'alimentation électrique de la pièce. Apperez la société d'électricité locale!
• Veuillez appeler le service technique pour faire changer la lampe. |
Pour contacter l'assistance technique, visitez notre site web : https://corporate.haier-europe.com/en/
Dans la rubrique « site web »,CHOISISEZ LA MARQUE DE VOIRE produit et votre pays. Vous serez redirigé vers le site web spécifique où vous trouvrez le numero de téléphone et le formulaire pour contacter l'assistance technique.
Coupure de courant
En cas de coupure de courant, les alimentés devraient rester friods en toute sécurité pendant 5 heures environ. Suivez
ces conseils pendant une coupure de courant prolongée, en particulier en ete:
Ouvrez la porte / le tiroir le moins possible.
Ne mettez pas d'aliments supplémentaires dans l'appareil pendant une coupure de courant.
Si un préavis de coupure de courant est donné et que la durée de la coupure est supérieure à 5 heures, préparez des glaçons et placez-les dans un recipient en haut du compartment réfrigérateur.
- Une inspection des produits est requise immédiatement après la coupure de courant.
- Étant donné que la température du réfrigérateur augmentera lors d'une coupure de courant ou d'une autre panne, la durée de conservation et la qualité alimentaire des aliments seront réduites. Tout alimenté décongelé doit être consommé ou cuit et recongelé (le cas échéant) peu de temps après afin de prévenir les risques pour la santé.
Fonction mémoire pendant la coupure de courant
Lorsque le courant revient, l'appareil continue à fonctionner avec les réglages régés avant la panne de courant.
Déballage

AVERTISSEMENT!
L'appareil est lourd/ Manipulez-le toujours avec au moins deux personnes.
Conserve tous les emballages hors de la portée des enfants, puis jetez-les d'une maniere respectue de l'environnement.
Sortez l'appareil de I'emballage.
Retirez tous les matériaux d'emballage.
Conditions environnementales
La température ambiente doit toujours être comprise entre 10^ et 43^ , car elle peut influer sur la température à l'intérieur de l'appareil et sa consommation d'énergie.
N'installez pas l'appareil à proximé d'autres apparèils générant de la chaleur (fours, réfrigerateurs) sans isolation.
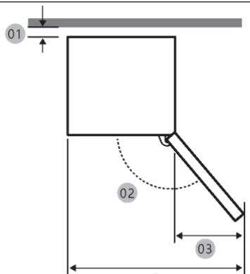
Espace requis
Espace requis lorsquela portest est ouverte (sans panneau de porte)

04

| Modèle | HBW7518C
HBW7518DT |
| 01* | 10 (Min.) / 30 (Recommendé) |
| 02 | 95°
(Recommendé) |
| 03 | 43 |
| 04 | 583 |
| 05 | 515 |
| 06 | -3 |
| 07 | 1060 |
- 01: Du meuble à l'arrière du produit.
(unit: mm)
Dimensions du produit

| Modèle | A(mm) | B(mm) | C(mm) | D(mm) | E(mm) | F(mm) | G(mm) |
| HBW7518C | 540±2 | 550±2 | 1772±2 | 970 | 745 | 662 | 618 |
| HBW7518DT |

REMARQUE
- La consommation d'énergie indiquée est basée sur l'existence d'un espace de 10 mm entre le meuble et l'arrière du produit. Le produit fonctionné correctement même si l'écart est inférieur à 10 mm, mais il consomme un peu plus d'énergie.
- Nous recommendons d'utiliser un meuble de 18 mm d'épaisseur avec des charnières de moins de 20 mm d'épaisseur.
- Les mesures figurant dans le tableau ci-dessus peuvent différer en fonction de la méthode de mesure utilisé.
- Pour l'installation encastrée, voir le Guide d'installation.
Coupe transversale de ventilation
Pour obtenir une ventilation suffisante de l'appareil pour des raisons de sécurité, il convient de respecter les informations relatives aux coupes transversales de ventilation requises.

A:Entrée d'air ≥ 200~cm^2 ;Options de ventilation B:Sortie d'air ≥ 200~cm^2 ;Options de ventilation





Dimensions du meuble

ATTENTION!
Toute panne du produit due aux éléments suivants n'est pas couverte par la garantie.
- Conditions d'installation inadéquates ou dimensions incorrectes du meuble.
- Meuble défectueux.
- Erreurs de l'installateur ou de l'utilisateur.
Dégagement
Reportez-vous aux images et tableaux ci-dessous pour connaître l'espace nécessaire à l'installation.
| Modèle | A(mm) | B(mm) | C(mm) | D(mm) | E(mm) | Remarque |
| HBW7518C | Min. | 50 | 400 | 560 | 1778 | 560 | Charnière : 17 mm |
| HBW7518DT | Recommendé | 580 | 1780 | 562 | |
| Max. | - | 1782 | 568 | |

REMARQUE
- Si la largeur d'un meuble est supérieure à 568 mm, le joint (entre le réfrigérateur et le meuble) peut se détacher.
- Si le meuble est plus haut que la dimension maximale (1782 mm), vous devez utiliser d'autres matérielaux de finition pour combler l'écart.


REMARQUE
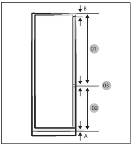
Pour installer un meuble nécessitant un espace de 4 mm (03), voir le tableau de referencia des meubles ci-dessous.
A. Bord inférieur de la face avant audessus de la ventilation
B. Dépassement de la face avant
(unité : mm)
| Modèle | HBW7518C
HBW7518DT |
| 01 | Min. 1028+B
Max. 1106+B |
| 02 | Min. 662+A
Max. 740+A |
| 03 | 4 mm (espace entre le panneau de porte du réfrigérateur et du congélateur) |
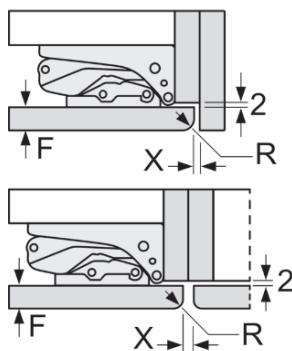
Dimensions de l'espace recommandées pour les charnières plates (pour les charnières fixes ou douces).

| F | R | X |
| 16-19 | 0-3 | 2,5 |
| 20 | 0-1 | 3 |
| 2-3 | 2,5 |
| 21 | 0-1 | 3 |
| 2-3 | 2,5 |
| 22 | 0 | 4 |
| 1 | 3,5 |
| 2-3 | 3 |
Les dimensions de l'espace
recommendées dans le tableau
doivent être respectées afin de garantir que les portes de l'appareil ne se heurtent à rien lorsqu'elles sont ouvertes et d'éviter d'endommager les éléments de la cuisine.
Poids maximal autorisé des façades de l'unité

Les façades d'unité montées qui dépasse le poids autorisé peuvent endommager et entraîner un dysfonctionnement des charnières.

Poids (kg)
| 1500-1750 mm | 22 |
| 720-1400 mm | 19 |
| A1 | 15 |
| A2 | 15 |
Prise en compte de l'emplacement de la prise de courant et de l'espace nécessaire


REMARQUE
Si vous installez le réfrigérateur dans un meuble d'une profondeur de 560 mm, assurez-vous que le cordon d'alimentation est disposé sur un côté du réfrigérateur avant de le brancher sur une prise de courant. Si le cordon d'alimentation se trouve à l'arrière du réfrigérateur, cela pourrait diminuer l'efficacité énergétique.
Temps d'attente

L'huile de lubrication sans entretien se trouve dans la capsule du compresseur. Cette huile peut passer par le système fermé de tuyauterie pendant le transport incliné.
Avant de brancher l'appareil sur l'alimentation électrique, attendez au moins 2 heures afin que l'huile revienne dans la capsule.
Branchementélectrique
Avant chaque branchement, vérifiez si :
l'alimentation, la prise et le fusible sont adaptés à la plaque signalétique.
la prise de courant est mise à la terre et sans multiprise ni rallonge.
la fiche d'alimentation et la prise sont adaptées l'une a l'autre.
Branchez la fiche sur une prise domestique correctement installee.

AVERTISSEMENT!
Pour éviter tout risque, un cable d'alimentation endommagé doit être remplaça par le service à la clientèle (voir carte de garantie).
Fiche du produit selon la reglementation UE n° 2019/2016
| Marque | Haier | Haier |
| Nom du modèle/identifient | HBW7518C | HBW7518DT |
| Catégorie du modèle | Réfrigérateur-congélateur | Réfrigérateur-congélateur |
| Classe d'efficacité énergétique | C | D |
| Consommation d'énergie annuelle (kWh/an)(1) | 146 | 180 |
| Volume total (L) | 268 | 268 |
| Volume du réfrigérateur (L) | 182 | 182 |
| Volume du congélateur (L) | 86 | 86 |
| Volume section refroidisseur (L) | / | / |
| Volume de la machine à glaçons auto (L) | / | / |
| Nombre d'étoiles | 4 | 4 |
| Température des autres compartments > 14 °C | Non applicable | Non applicable |
| Système sans givre | Oui | Oui |
| Capacité de congélation (kg/24h) | 8 | 8 |
| Classe climatique (2) | SN/N/ST/T | SN/N/ST/T |
| Classe d'émission de bruit et émissions acoustiques dans l'air (dB(A) re1 pW) | B | B |
| 32 | 32 |
| Temps de montée en température (h) | 12 | 11 |
| Capacité de fabrication de glaçons | / | / |
| Type d'appareil | encastrable | encastrable |
| Nom du modèle | Classe d'efficacité énergétique |
| HBW7518C | C |
| HBW7518DT | D |
Explications :
Oui, fonction presente
(1) Sur la base des résultats de l'essay de conformité aux normes pendant plus de 24 heures. La consommation réelle dépend de l'utilisation et de l'emplacement de l'appareil.
(2) Classe climatique SN : cet apparéil est destiné à être utilisé à une température ambiente comprise entre +10 °C et +32 °C
Classe climatique N : cet apparéil est destiné à être utilisé à une température ambiente comprise entre +16 °C et +32 °C
Classe climatique ST : cet apparéil est destiné à être utilisé à une température ambiente comprise entre +16 °C et +38 °C
Classe climatique T : cet apparéil est destiné à être utilisé à une température ambiente comprise entre +16 °C et +43 °C
Données techniques supplémentaires
| Tension / Fréquence | 220-240V~/ 50Hz |
| Courant d'entrée (A) | 2 |
| Fusible principal (A) | 16 |
| Réfrigérant | R600a |
| Dimensions (H/L/P en mm) | 1772/540/550 |
Nous recommendons notre Service clientèle Haier et l'utilisation de pieces détachées d'origine.
Si vous rencontres un problème avec votre apparéil, veuilles d'abord consultier le paragraphe DÉPANNAGE.
Si vous ne trouvez pas de solution, veuillez contacter
leur revendeur local ou
notre centre de service d'appointe français (voir les numérios de téléphone cédessous) ou
l'espace Service & Assistance à l'adresse www.haier.com où vous pouvez activer la demande
de service et trouver également les FAQ.
Pour contacter notre Service, assurez-vous que vous disposez des données suivantes. Les informations se trouvent sur la plaque signalétique.
Modèle
N^ de série
Vérifiez également la carte de garantie fournie avec le produit en cas de garantie.
| Centre de service d'appointeurien |
| Pays* | Numéro de téléphone | Coûts |
| Haier Italy (IT) | 199 100 912 | |
| Haier Spain (ES) | 902 509 123 | |
| Haier Germany (DE) | 0180 5 39 39 99 | 14 centimes/min ligne fixe
• max 42 centimes/min mobile |
| Haier Austria (AT) | 0820 001 205 | 14,53 centimes/min ligne fixe
• max 20 centimes/min pour tous les autres |
| Haier United Kingdom (UK) | 0333 003 8122 | |
| Haier France (FR) | 0980 406 409 | |
- Pour d'autres pays, veuillez vous référer à www.haier.com
Haier Europe Trading S.r.l
Filiale Royaume-Uni
*Durée de la garantie de l'appareil de réfrigération :
La garantie minimale est : 2 ans pour les pays de l'UE, 3 ans pour la Turquie, 1 an pour le Royaume-Uni, 1 an pour la Russie, 3 ans pour la Suède, 2 ans pour la Serbie, 5 ans pour la Norvège, 1 an pour le Maroc, 6 mois pour l'Algérie, aucune garantie légale pour la Tunisie.
*La période des pieces détachées pour la réparation de l'appareil :
Les thermostats, les capteurs de température, les circuits imprimés et les sources de lumière sont disponibles pendant une période minimale de sept ans après la mise sur le marché de la dernière unité du modele.
Poignées de porte, charnières de porte, bacs et paniers pendant une période minimale de sept ans et joints de porte pendant une période minimale de 10 ans, après la mise sur le marché de la dernière unité du modele.
*Pour plus d'informations sur le produit, consultez https://eprel.ec.europe.eu/ ou scannie le code QR sur l'étiquette énergie fournie avec l'appareil.
Haier
专用号条码
0060536192
2024 Version A