HWD100-BD1499U1 - Lave-linge séchant PAW - Notice d'utilisation et mode d'emploi gratuit
Retrouvez gratuitement la notice de l'appareil HWD100-BD1499U1 PAW au format PDF.
| Type d'appareil | Lave-linge séchant |
| Capacité de lavage | Non précisé |
| Capacité de séchage | Non précisé |
| Vitesse d'essorage | Non précisé |
| Classe énergétique | Non précisé |
| Type de chargement | Chargement frontal |
| Nombre de programmes | Non précisé |
| Type de moteur | Non précisé |
| Consommation d'eau | Non précisé |
| Consommation d'énergie | Non précisé |
| Niveau sonore lavage | Non précisé |
| Niveau sonore essorage | Non précisé |
| Dimensions (HxLxP) | Non précisé |
| Poids | Non précisé |
| Fonctions spéciales | Séchage intégré |
| Type d'affichage | Non précisé |
| Couleur | Blanc |
FOIRE AUX QUESTIONS - HWD100-BD1499U1 PAW
Questions des utilisateurs sur HWD100-BD1499U1 PAW
0 question sur cet appareil. Repondez a celles que vous connaissez ou posez la votre.
Poser une nouvelle question sur cet appareil
Téléchargez la notice de votre Lave-linge séchant au format PDF gratuitement ! Retrouvez votre notice HWD100-BD1499U1 - PAW et reprennez votre appareil électronique en main. Sur cette page sont publiés tous les documents nécessaires à l'utilisation de votre appareil HWD100-BD1499U1 de la marque PAW.
MODE D'EMPLOI HWD100-BD1499U1 PAW
Manuel d'utilisation Lave-linge séchant
HWD100-BD1499U1
Nous vous remercions d'avoir acheté un produit Haier.
Veuillez dire attentivement ces instructions avant d'utiliser l'appareil. Ces instructions sont des informations utiles vous permettant de mistrés� exploiter cet apparéil, et vous assurer une installation, une utilisation et un entretien sécurisés et ajustats.
Veuillez conserver ce manuel et toujours vous y reférer pour une utilisation sécurisée et ajustée de l'appareil.
Si vous doivent vendre, donner ou laisser l'appareil pour cause de déménagement, assurez-vous également de laisser ce manuel afin que le prochain utiliseraispuisse maîtriser l'appareil,notamment les régles de sécurité.
Legende
Attention - Régles Importantes de sécurité
Informations generales et conseils
Informations sur l'environnement

Mise au rebut
Contribuez à la protection de l'environnement et de la santé humaine. Veuillez mette les emballages au rebut dans les contenants prévus pour leur recyclage. Contribuez à recycler les déchets d'appareils électriques et électroniques. Ne mettez pas au rebut les appareils marqués de ce symbole avec les déchets menagers. Veuillez déposer l'appareil à votre usine de recyclage locale, ou prendre contact avec votre bureau municipal.


AVERTISSEMENT!
Risque de blessure ou d'asphyxie!
Débranche l'appareil de toute alimentation principale. Coupez les câbles et mettez-les au rebut. Retirez le verrou de la porte pour éviter qu'un enfant ou un animal domestique ne se coince dans l'appareil.
Sommaire
FR
1- Consignes de sécurité 5
2- Description du produit 9
3-Panneau de commande 11
4-Programmes 18
5-Consommation 20
6-Lavage ecologique 21
7- Utilisation quotidienne 22
8-HaierU+ 30
9- Entretien et nettoyage 33
10-Dépannage 36
11- Installation 41
12- Informations techniques 44
13-Service client 46
Avant demettre l'appareil en marchepour la première fois,veuillezloreles consignesde sécuritéci-apres!:

AVERTISSEMENT!
Avant la première utilisation
Vérifiez que l'appareil n'a subiaucun dommage lié au transport.
Veillez à retarder tous les boulons de transport et les vis d'emballage.
Retirez tous les emballages et tenez-les hors de portée des enfants.
Il faut toujours au moins deux personnes pour la manipulation de l'appareil car il est lourd.
Utilisation quotidienne
Cet apparéil peut être utilisé par des enfants âgés d'au minimum 8 ans, ainsi que par des personnes avec des capacités physiques, sensorielles ou mentales réduites ou sans expérience et connaissances, si elles sont supervisées ou ont été formées à l'utilisation sécurisée de l' apparéil et compl rennant les risques relatifs à son usage.
Tenez les enfants de moins de 3 ans hors de portée de l'appareil, sauf s'ils sont en permanence surveillés.
Les enfants ne doivent pas jouer avec l'appareil.
- Ne laïsez pas un enfant ou un animal domestique s'approcher de l'appareil lorsque la porte est ouverte.
Tenez les produits de lavage hors de la portée des enfants.
Remontez les fermétures éclair, recousez les éléments mal fixés et faites attention aux petits articles pour éviter que le linge ne s'emméle. Si nécessaire, utilisez un sac ou un filt approprié.
Évitez de toucher ou d'utiliser l'appareil pieds nus ou lorsque vos mains ou vos pieds sont mouillés ou humides.
Évitez de couvrir l'appareil pendant qu'il fonctionne ou après utilisation, pour laisser l'humidité s'évaporer.
Évitez de déposer des objets lourds ou des sources de chaleur ou d'humidity sur l'appareil.
Évitez d'utiliser ou de conserver du détergent inflammable ou des agents de nettoyage à sec à proximité de l'appareil.
Évitez d'utiliser un pulverisateur inflammable à proximité de l'ap-pareil.
1- Consignes de sécurité
! AVERTISSEMENT!
Utilisation quotidienne
Évitez de laver des vêtements traités avec des solvents dans l'ap-pareil sans les avoir préalablement séchés à l'air.
Évitez desterol ou d'insérer la fiche en presence de gaz inflam-mables.
Évitez de laver des matériaux du type caoutchou ou éponge à des températures élevées..
Évitez d'ouvrir le tiroir à lessive pendant le cycle de lavage.
Évitez de toucher la porte pendant le lavage, car elle est chaude.
Évitezd'ouvrir la porte si l'eau est visible à travers le hublot.
Évitez d'ouvrir la porte en la forçant. Elle est équipée d'un système de verrouillage et s'ouvre quelques instants après la fin du cycle de lavage.
Évitez d'ouvrir le filtré d'évacuation d'eau ou l'anneau du filtré de la pompe de secours pendant le cycle des programmes de lavage.
Évitez de toucher l'intérieur du tambour, les parties métalliques, la porte, le bandeau de commande ou les boutons en métal des vêtements dés la fin d'un programme à haute température ou le filtré d'évacuation lors de la vidange.
Arrêtez l'appareil après chaque programme de lavage et avant d'entreprenevre tout entretien, et débranchez l'appareil de l'alimentation électrique pour économique et pour des fins de sécurité.
Tenez la fiche et non le cordon pour débrancher l'appareil.
Assurez-vous que la pierce est sèche et bien ventilée. La température ambiente doit être comprise entre 5 et 35^
Évitez d'obsturer les ouvertures de ventilation situées au bas de l'appareil avec un tapis ou un objecte similaire.
La zone autour de l'appareil ne doit pas containir de poussière et de peluche.
Assurez-vous que celui du linge se trouve dans l'appareil, et non des animaux domestiques ou des enfants, avant de l'utiliser.
Assurez-vous de ne pas dépasser la charge maximale lors du chargement.
Retirez tous les objets tels que les briquets et les allumettes des poches.
Utilisez des assouplissants ou des produits similaires tel que spécifié sur l'emballage du fabricant.

AVERTISSEMENT!
Entretien et nettoyage
Assurez-vous que les enfants sont sous surveillance lors du nettoyage et l'entretien.
Débranchez l'appareil de l'alimentation électrique avant d'entreprenevre tout entretien.
Gardez la partie inférieure du hublot propre et évitez d'ouvrir la porte et le tiroir à lessive lorsque l'appareil est en marche.
N'utilisez pas un pulverisateur d'eau ou nettoyant à vapeur pour nettoyer l'appareil.
- Faites replacer le cordon d'alimentation endommagé par le fabricant, son représentant ou par des personnes qualifiées afin d'éviter tout risque.
N'essayez pas de réparer vous-même l'appareil. En cas de réparation, veuillez contacter notre service clientèle.
Installation
- Choisissez un emplacement qui permet d'ouvrir complètement la porte. N'installez pas le lave-linge derrière une porte verrouillable, coulissant ou une porte avec charnières sur le côte opposé de la porte du lave-linge, car elle peut empêcher la porte de l'appareil de s'ouvrir complètement.
- Placez l'appareil dans un endroit bien ventilé. Choisissez un emplacement qui permet d'ouvrir complètement la porte.
N'installez jamais l'appareil à l'extérieur dans un endroit humide, ou dans un lieu qui serait sujet à des fuites d'eau, comme en dessous ou à proximité d'un bloc-évier. En cas de fuite d'eau, coupez l'alimentation électrique et laisserze le lave-linge sécher naturellement. - Installez et utilisez l'appareil uniquement dans des endroits où la température est supérieure à 5^ .
Évitez de placer l'appareil directement sur un tapis ou pres d'un mur ou d'un meuble.
N'exposez pas l'appareil à la lumière directe du soleil ou à proximité des sources de chaleur (par exemple, les cusinières, chauffe-eau). - Vérifiez que les informations électriques sur la plaque signalétique sont conformes à l'alimentation électricque. Si ce n'est pas le cas, veuillez contacter un électricien.
N'utilisez pas des adaptateurs multiprises et des rallonges.
Assurez-vous d'utiliser uniquement l'ensemble de cordon électric et de flexible d'accuee d'eau livre.
1- Consignes de sécurité

AVERTISSEMENT!
Installation
Assurez-vous que le cordon d'alimentation et la prise ne sont pas endommages. S'ilts sont endommages, veuilles les faire replacer par un electricien.
Pour l'alimentation électrique, utilisez une prise mise à la terre distincte facilement accessible après l'installation. Cet apparéil doit être mis à la terre.
Assurez-vous que les joints et raccords du flexible d'arrivée d'eau sont serrés et qu'il n'y a pas deuite.
2.1 Utilisation prévue
Cet apparéil est conçu pour le linge lavable au lave-linge uniquement. Suivez toujours les instructions indiquées sur l'étiquette de chaque vêtement. Il est également conçu exclusivement pour un usage domestique à l'intérieur de la maison. Il n'est pas destiné à un usage commercial ou industririel.
Aucune modification ou alteration de cet apparéil n'est autorisée. Toute'utilisation inadéquate vous expose à des risques et la perte de tous les droits de garantie et d'actions en responsabilité.

Remarque: Dérogations
En raison des modifications techniques,les illustrations des chapitres suivants peuvent etre differentes de votre modèle.
2.2 Description de l'appareil

2.2.1 Avant (fig. 2.2.1)
1 Tiroir à détergent/ Adoucissant
2 Écran tactile
3 Porte de tambour
4 Panneau avant
5 Pieds réglables (4 en tout)
6 Plan de travail
7 Bouton Marche/Arrêt
8 Toulouse
9 Verrouillage de la porte
10 Joint d'étanchéité
11 Volet d'entretien avec filtré
2- Description du produit
2.2.2 Arrière (fig. 2.2.2)
2.2.2

1 Fiche du cordon d'alimentation
2 Plan de travail
3 Vanne d'arrivée d'eau
4 Cordon d'alimentation
5 Couvercle arrête
6 Vis du couvercle arrête
7 Boulons de transport
8 Tiges de maintainien
9 Panneau arrête
10 Tuyau de vidange
2.3 Accessoires
Vérifiez les accessoires et la documentation suivant cette liste (Fig. 2.3):









Flexible d'arrivée d'eau
Bouchons obturateurs
Support detuyau devidange
Carte de garantie
Manuel. utilisatic
Vis
Panneau en métal
Patins antibruit
Clé
Cet apparéil s'utilise à partir de l'affichage d'un écran entièrement tactile (fig. 3.0). Il est clairément indiqué sur l'écran tactile, la manière de désirir les programmes et les paramètres. L'utilisateur accédé à toutes les fonctions avec un léger contact.

3.0
1 Bouton Départ/Pause
2 Bouton d'alimentation
3.1 Demarrage
Appuyez sur ce bouton ① pendant 2 secondes pour allumer l'appareil et appuyez des sus à nouveau pendant 2 secondes pour l'éteindre.
| Symbole | Signification |
| D|| | Démarrer oumettre en pause le programme. |
| La portedu tambour estverrouillée. | |
| Avertissement de robinet (pas d'eau ou le robinet est fermé). | |
| L'appareil estconnecté au WIFI. | |
| Avertissement portetambour (la portedu tambour n'est pas verrouillée). |
3.2 Sélection du mode de lavage
Cet apparéil propose 2 modes de lavage. Le mode "Programme" est défini par défaut (Fig.3.2.1).

3.2.1
3-Panneau de commande
En touchant [Mytime], le mode « Mytime » est sélectionné (Fig. 3.2.2). Le mode séLECTIONné s'allume.
3.2.2

Barretactile
3.3 Sélection du mode de lavage
Un programme peut être selectionné en touchant l'écran. Pour répondre à différentes exigences, l'utilisateur peut selectionner 14 programmes en mode « Programme » (Fig. 3.3). S'il n'y a pas de besoines particuliers., vous pouvez utiliser les paramétres par défaut. Lancez le programme en appuyant sur le bouton | L'icone du programme selectionné s'allume.
3.3

En mode « Mytime », s'il n'est pas nécessaire de régler le temps de lavage, appuyez simplement sur le bouton pour commencer le cycle. Si vous souhaitez modifier le temps de lavage, appuyez sur la barre de navigation et faites-la glisser vers la gauche et la droite. Si vous souhaitez ajuster le temps de lavage, effleurez « + » et « - »
3.4 Réglage des paramètres de lavage
En fonction des besoines spécifiques en matière de lavage, les utilisateurs peuvent régler plusieurs paramétres, notamment la température de lavage, la durée du lavage, le nombre de rincçage, la vitesse d'essorage et le temps de séchage (figure 3.4.1). Touchez légèrement l'icone Option), les options peuvent être sélectionnées (Fig. 3.4.2).

Remarque: Paramètres de lavage
Selon les programmes, certains paramètres peuvent être modifiés et d'autres, non.
3.4.1

3.4.2

Température de lavage
En mode veille, la température de lavage peut être ajustée en touchant l'icone « Temp. ». Une fois touché, l'icone s'allume. La température varie entre - (sansCHAuffage), 20, 30, 40, 60 et 90, lorsque l'icone « Temp. » continue d'être touchée.
Durée du lavage
En mode Veille, le temps de lavage (en dehors du replissage du tambour et du chauffage de l'eau) peut être régé en touchant l'icone « Lavage ». Le temps de lavage varie selon le programme sélectionné lorsqu'l'icone « Lavage » continue d'être touchée. En appuyant sur la barre tactile et en la faisant glisser, le temps de lavage peut être régé rapidement. Si vous souhaitez ajuster le temps de lavage, effleurez « + » et « - ». Le temps de lavage des programmes « Séchage », « Essorage » et « Nettoyage tambour » est pré réglé, aucun ajustement ne peut être fait.
Temps de rençage
En mode veille ou pause (avant que le rinceage commence), vous pouvez regler le nombre de rinceage en touchant l'icone « Rinceage + » Une fois touché, l'icone s'allume. Le nombre de rinceage varient de 0 (sans rinceage) à 5, selon le programme sélectionné lorsque l'icone « Rinceage + » continue à être touchée.
Vitesse d'essorage
En mode veille ou pause (avant que l'essorage commence), vous pouvez régler la durée d'essorage en touchant l'icone « Essorage » Une fois touché, l'icone s'allume. La vitesse d'essorage varie selon le programme selectionné lorsque l'icone « Essorage » continue à être touchée.
3-Panneau de commande
Temps de séchage
En mode veille ou pause (avant que le séchage commence), le temps de séchage peut être régle en touchant l'icone « Séchage ». Le temps de séchage varie entre --- (sans séchage), AU (intelligent), 030, 060, 090, 120, 150, 180 et 210 minutes.

Remarque: Séchage du linge
L'efficacité du séchage dépend du type de tissu. Assurez-vous que le linge peut être séché avant le début du séchage.
Assurez-vous que le robinet d'eau froide est ouvert avant le séchage.
Avant de secher le linge essore precedement, retirez-le du tambour pour le detacher. Ensuite, remettez-le dans le tambour.
Le résultat de séchage et la formation de pris dépendent de la charge de linge. Si les résultats sont insuffisants ou que le linge est froissé, diminuez la charge de linge.
Lorsque you sèchez peu de linge, le temps nécessaire peut être plus court que celui prédéfini.
Avant la fin du séchage, le temps restant sur l'écran pourrait cesser de diminuer. C'est normal : l'appareil refroidit le tambour afin d'éviter tous risques de brûlures pour l'utilisateur.
Nettoyez le filtré à peluches après chaque cycle de séchage.
Lorsque le programme « i-Refresh » est sélectionné, l'option « Séchage » affiche les diffé-rents niveaux du programme i-Refresh, qui sont H-1, H-2, H-3. H-3 est définir par défaut (Fig.3.4.3).
3.4.3

3.5 Sélection des fonctions
Cet apparéil propose plusieurs fonctions. Appuyez légèrement sur l'icone et, la fonction correspondante peut être sélectionnée (pleine luminosité) ou annulée (moitié lumineuse).
Taches
| Taches | Instructions | Taches | Instructions |
| Cette fonction est recom-mandée pour le linge avec des taches de terre. | Cette fonction est recom-mandée pour le linge avec des taches de vin. | ||
| Cette fonction est recom-mandée pour le linge avec des taches de fruits. | Cette fonction est recom-mandée pour le linge avec des taches de sang. | ||
| Cette fonction est recom-mandée pour le linge avec des taches de d'herbe. | Cette fonction est recom-mandée pour le linge avec des taches de café. |
Detergent
Le dosage automatique de détergent est disponible pour certains programmes où cette fonction est activée par défaut. Pour l'éteindre, touchez l'icône « Détergent » Il faut utiliser un détergent peu ou pas moussant. Une dose excessive produit une efficace de mousse, ce qui provoquera un débordement et une difficulté de rinceage. La quantité maximal de détergent est de 1000 ml. Si la quantité est insuffisante, l'icône clignotera rapidement.

Remarque: Détergent en poudre
Si vous choisissez d'utiliser un détergent en poudre ou d'autre type de détergent, mettez la quantité recommendée de détergent dans le compartment du détergent en poudre et désactive la fonction de dosage automatique du détergent.
Adoucissant
La distribution automatique d'adoucissant est disponible pour certains programmes où cette fonction est activée par défaut. Pour l'éteindre, touchez l'icone « Adoucissant ». Veuillez suivre les instructions sur l'emballage de l'adoucissant. Une quantité excessive d'adoucissant risque de nuire aux vêtements. La quantité maximal d'adoucissant est de 500ml. Si la quantité est insuffisante, l'icone clignotera rapidement.
Anti Allergie
En mode veille ou pause, touchez l'icone «Anti Allergie» pour selectionner ou annuler la fonction anti allergie. En selectionnant la fonction anti allergie, les parametes de plusieurs programmes peuvent etre modifiés afin d'améliorer les performances de rinçage et réduire les résidus de détergent.
Délai

3.5
Utilisez cette fonction pour démarrer le programme après un certain-delai. Le temps de fin différée affiché à l'écran représenté le temps restant avant la fin du programme (Fig.3.5).Après avoir configuré le programme, les options et les fonctions souhaitées, appuyez sur l'icone « Fin différée » . L'icone Fin différée s'illumine. Configurez la fin différée par paliers de 0,5 heures de OFF à 24h en appuyant sur l'icone « Fin différée » ou « + »/« - ». Lancez la fonction de fin différée en touchant | |. Le décompte commence.
3-Panneau de commande
Verrouillage enfant
Pour éviter toute mauvaise utilisation par des enfants ou toute autre perturbation externe, la fonction « Verrouillage enfant » peutbloquer tous les éléments de l'écran pour éviter toute activation, à l'exception du bouton « Marche / Arrêt ». (Fig.3.5.2) Apres le démarriage d'un programme, la fonction « Verrouillage enfant » est activée après 1 minute. Le symbole « apparait sur l'écran. Sinon, le « Verrouillage enfant » s'éteint automatiquement une fois le programme terminé. En mode veille ou lorsque le programme est en cours d'exécution, vous pouvez configurer ou annuler manuellement la fonction de verrouillage enfant en appuyant sur « Verrouillage » pendant 3 secondes.
3.5.2

Verrouillage enfant
Verrouillage de la porte

Remarque : Verrouillage infant
Le verrouillage infant configuré manuellement doit être annulée manuellement. Les informations de fin de programme, de mise hors tension et d'erreur ne suppli-ment pas le verrouillage infant. Il fonctionne toujours lors de la prochaine mise sous tension de l'appareil.
La sécurité enfant ne peut pas etre configurée ou annulée via Haier U+ APP.
3.6 Autres fonctions
Verrouillage de la porte
Pour des raisons de sécurité, la porte de l'appareil est normalement verrouillée pendant le cycle de lavage. Le symbole de verrouillage de la porte affiche l'écran (Fig. 3.5.2).
Pour déverrouiller la porte pendant le cycle de lavage, appuyez sur le symbole de pause sur l'écran et ouvre la porte après la disparition du symbole « Verrouillage de la porte ». Dans certains cas, par exemple, lorsque le niveau d'eau ou la température dans le tambour est trop élevé(e) ou lorsque le tambour est encore en fonctionnement, la porte ne s'ouvrira pas, même si le programme est en pause. Veuillez notes que ce phénomène est tout à fait normal. La porte doit également être déverrouillée pour l'ouvrir pendant le décompte de la « Fin différée »
Éclairage du tambour
L'éclairage du tambour s'allume lorsque l'appareil est mis en route. Il s'allume également lorsque le programme de lavage est en pause ou se termine, ce qui permet de mistroux voir le linge pendant ces périodes. L'éclairage du tambour s'éteint 2 minutes après la fin du programme. Lorsque vous touchez l'écran pendant le cycle de lavage, l'écran et l'éclairage du tambour s'allument.

Remarque: Mise à l'arrêt
Sans connexion WIFI, l'appareil allumé s'éteint automatiquement s'il n'est pas activé 2 minutes avant le début du programme ou à la fin du programme. Avec une connexion WIFI, la durée d'attente est de 10 minutes.
TouchedeNettoyagetambour
En mode veille, si le symbole de « Nettoyage automatique » clignote, cela signifie que l'appareil a fonctionné pendant 100 cycles et doit maintainant s'auto-nettoyer. Bien que le rappel clignotant n'attecte pas les programmes de lavage, nous vous recommandons d'exécuter le programme « Nettoyage tambour » dés que possible. Le rappel clignotant disparait après l'exécution du programme « Nettoyage tambour »
Activer / Désactiver le signal sonore
En mode veille, sélectionnez le programme « Nettoyage tambour», puis appuyez sur « Temp ». + « Rinçage + » + Programme en même temps. Appuyez pendant 3 secondes. L'écran affiche « bE0n», ce qui signifie que le signal sonore est désactivée. Pour réactiver le signal sonore, appuyez à nouveau sur « Temp ». + « linçage » + Programme et maintenez pendant 3 secondes. L'écran va afficher « bEOF »

Remarque:L'écran
L'écran peut s'éteindre en cas d'électricité statique pendant le fonctionnement de l'appareil. Lorsque cela se produit, veuilles éteindre et rallumer l'appareil, après que le programme de redémarrage puisse continuer.
4- Programmes
| Programme | Type de tissu | Charge max. en kg | Préréglage | ||||
| Lavage | Séchage | Durée du programme en min 1) | Lavage en minutes | Nombre de rençage supplémentaire possible | Esso-rage en tr/min | ||
| Smart 2) | Pour le coton, le lin et les vêtements synthétiques | 10 | 6 | AU | 10 | 2 | 800 |
| Rapide 15'min 3) | Pour les vêtements synthétiques, en lin ou en coton légèrement sales | 2.5 | 1 | 15 | 3 | 1 | 1000 |
| Sport | Pour les vêtements de sport adaptés au lavage à la machine | 5 | - | 25 | 5 | 1 | 800 |
| Séchage | Séchage seulement | - | 6 | - | - | - | - |
| i-Refresh | Pour des vêtements peu sales, peu froissés et peu humides | - | 1 | 30 | - | - | - |
| Essorage | Essorage uniquement | 10 | - | 7 | - | - | 1000 |
| Nettoyage tambour | Nettoyage du tambour. Detergent spécifiques requis | - | - | 90 | - | 1 | 600 |
| Coton | Pour les vêtements en cotton et en lin | 10 | 6 | 59 | 10 | 2 | 1400 |
| Synthétique | Pour les vêtements en fibres synthétiques | 6 | 2 | 106 | 60 | 2 | 1200 |
| Mixte | Pour les vêtements en fibre mixte | 10 | 6 | 49 | 10 | 2 | 1000 |
| Laine 4) | Pour les vêtements en laine adaptés au lavage à la machine | 2 | - | 41 | 20 | 1 | 800 |
| Délicat | Pour les vêtements déli-cats marqué du symbole «Lavage à la main» | 2.5 | - | 56 | 20 | 2 | 600 |
| Couette | Pour les vêtements garnis de duvets et de plumes adaptés au lavage à la machine | 2.5 | - | 45 | 5 | 2 | 800 |
| Coton Eco | Programme standard pour vêtements en cotton et lin | 10 | 6 | 119 | 65 | 2 | 1400 |
1) En raison du dosage automatique du détergent, du remplissage du tambour, de l'essorage et de la vidange, la durée du cycle peut différer de cette prédéfinition.
2) Le programme Smart ajustera la température, le temps de lavage, temps de rincege, vitesse d'essorage, etc. automatiquement. Il est conseilé d'utiliser un programme spécial pour la laine et les duvets.
3) Il y a une faible probabilité de creator un déséquilbre de la charge pendant le programme « Rapide 15 min ».. Le temps nécessaire pour redistribuer la charge n'est pas inclus dans le temps par défaut. Veillez à ne pas surdoser le détergent pour éviter les résidues après le programme « Rapide 15 min ». Le programme « Rapide 15 min » avec fonction sechage ne convient que pour les matériaux synthétiques.
4) La fonction de dosage automatique pour le programme « Laine » n'est pas recommandée. Veuillez utiliser un dénergent spécial pour la laine dans le compartment pour la dessive en poudre.
| Programme | Température disponible en °C(P:Pré réglage; :.:disponible) | Fonctions disponibles | :.:disponible | |||||||||
| AR- RÉT | 20 | 30 | 40 | 60 | 90 | Séchage | Détingent | Adoucissant | Anti Allergie | Fin différée | Taches | |
| Smart | • | • | P | • | • | • | • | • | • | • | • | |
| Rapide 15 min | P | • | • | • | • | • | • | • | ||||
| Sport | • | P | • | • | • | • | • | • | ||||
| Séchage | • | |||||||||||
| i-Refresh | • | |||||||||||
| Essorage | • | |||||||||||
| Nettoyage tambour | P | |||||||||||
| Coton | • | • | P | • | • | • | • | • | • | • | • | • |
| Synthétique | • | • | P | • | • | • | • | • | • | • | • | |
| Mixte | • | • | P | • | • | • | • | • | • | • | • | |
| Laine | P | • | • | • | • | • | • | |||||
| Délicat | • | • | P | • | • | • | ||||||
| Couette | • | • | P | • | • | • | • | |||||
| Coton Eco | • | • | P | • | • | • | • | • | • | • | • | • |
5-Consommation
Les valeurs de consommation indiquées ici peuvent varier en fonction des conditions locales.
| Paramètre | Programme | |
| Coton Eco | ||
| Température en °C | 60 | |
| Charge max.en kg | Lavage | 10 |
| Séchage | 6 | |
| Énergie en kWh | Lavage, essorage et séchage | 6,72 |
| Seulement pour lavage et essorage | 0,99 | |
| Eau en l | Lavage, essorage et séchage | 99 |
| Seulement pour lavage et essorage | 50 | |
| Temps en h:min | Lavage et séchage | 08:40 |
| Efficacité d'esso-rage en % | 44 | |
Lavage: Coton Eco 60^ C avec un temps de lavage de 75 min, 2 rincages, une vitesse d'essorage de 1 400 trs/min et la distribution automatique de dé-tergent et d'adoucissant annulée.
Sechage: « Sechage», appuyez sur « AU » jusqu'à ce qu'il passée en « ECO »
Le programme standard coton à 60^ est approprié pour le nettoyage normal du linge en coton sale. Ilis sont les plus efficaces en termes de consommation d'eau et d'énergie pour le nettoyage du linge en coton. La température de l'eau utilisée peut varier en fonction du cycle de température indiqué.

Utilisation respectueuse de l'environnement
Pour une(MeilleureutilisationdeI'energie,del'eau,dudetergentetdu temps,veuillez respecterla charge maximale recommandee.
- Ne surchargez pas l'appareil (à l'aide de la main, faites un dégagement en largeur au-dessus du linge).
Pour le linge légèrement sale, Sélectionnez le programme Rapide 15 min.
- Choisissez la température de lavage ajusté la plus BASSE - les détergents modernes nettoient efficacement en dessous de 60^ .
- Modifiez les paramètres par défaut uniquement pour vous débarrasser des taches tenaces.
- Essorez le linge à la vitesse d'essorage maximale si vous souhaitez utiliser un programme de séchage plus tard.
7- Utilisation quotidienne
7.0 Guide rapide
7.1. Insérez la fiche électrique dans la prise.
7.2. Ouvrez le robinet d'eau.
7.3. Allumez l'appareil en appuyant sur le bouton Marche / Arrêt pendant 2 secondes. Le bandeau de contrôle s'allume.
7.4. Préparez le linge.
7.5. Chargez le linge et fermez la porte.
7.6. Sélectionnez le dédTangent.
7.7. Ajoutez le dédTangent.
7.8. Sélectionnez le programme de lavage approprié au linge chargé dans le tambour, ennant en compte le degré de salissure et le type de tissu.
7.9. Vous pouvez aussi ajouter des options spécifique et/ou une fin différée.
7.10. Appuyez sur pour démarrer le programme.
7.11. Une fois le programme terminé, retirez le linge, fermez le robinet, débranchez la machine.
7.0.1 Organigramme de fonctionnement (fig. 7.0.1)

7.1 Alimentation
Raccordez l'appareil à une alimentation (220 V à 240 V~/50 Hz) (fig. 7.1). Veuillez également vous reférer à la section INSTALLATION.
7.2 Raccordement d'eau
Avant le raccordement, assurez-vous de la propre et de la clarté du dispositif d'arrivée d'eau.
Ouvrez le robinet (fig. 7.2).


Remarque: Étanchéité
Avant l'utilisation, vérifie la présence de fuites sur les joints entre le robinet et le flexible d'arrivée d'eau en ouvrant le robinet.
7.3 Mise en marche de l'appareil
Appuyez sur le bouton Marche / Arrêt et restez appuyer dessus pendant 2 secondes pourmettre l'appareil en marche ; le bandeau de contrôle s'allume.
7.4 Préparation du linge
Triez les vêtements en fonction du tissu (coton, synthétique, laine ou soie) et du degré de salissure. Prétez attention aux consignes d'entretien des étiquettes de lavage (fig. 7.4 et 7.4.1 du tableau d'entretien).
- Séparez les vêtements blancs des vêtements de couleur. Lavez d'abord les textiles de couleur à la main pour savoir s'ils se décolorent ou s'abîmt.
▶ Videz les poches (clés, pieces de monnaie, etc.) et retirez les objets de décoration très durs (à l'instar

des broches), ainsi que les objets inflammables (mouchoirs en papier, briquets, allummettes, etc.).
Pour l'entretien des vêtements sans ourlets, du linge délicat et les textiles finement tissés comme les rideaux, mettez-les dans un sac à linge (le nettoyage à la main ou à sec est plus indiqué).
Fermez les fermétures éclair et les crochets et assurez-vous que les boutons sont solidement cousus.
- Placez les vêtements sans ourlets solides, les sous-vêtements délicats (Dessous) et les petits articles tels que les chaussettes, les ceintures, les soutien-gorge, etc. dans un sac à linge.
Dépliez les grandes pieces de tissu telles que les draps de lit et les couvre-lits, etc.
- Retournez les jeans et les tissus imprimés, décorés ou aux couleurs vives ; lavez-les séparément si possible.

ATTENTION!
Les articles non textiles, desserrés ou tranchants peuvent cause des dysfonctionnements ainsi qu'endommager les vêtements et l'appareil.
7- Utilisation quotidienne
7.4.1 Tableau d'entretien
Lavage
| 95 | Lavage à 95°C maximum, programme normal | 60 | Lavage à 60°C maximum, programme normal | 60 | Lavage à 60°C maximum programme pour linge délicat ou facile d'entretien |
| 40 | Lavage à 40°C maximum, programme normal | 40 | Lavage à 40°C maximum programme pour linge délicat ou facile d'entretien | 40 | Lavage à 40°C maximum programme spécial pour le linge délicat |
| 30 | Lavage à 30°C maximum, programme normal | 30 | Lavage à 30°C maximum programme pour linge délicat ou facile d'entretien | 30 | Lavage à 30°C maximum programme spécial pour le linge délicat |
| Lavage à la main max. 40°C | Ne pas laver | ||||
| Blanchiment | |||||
| Agents de blanchiment autorisés | Oygène uniquemont non chloré | N'utilise pas d'agent de blanchiment | |||
| Séchage | |||||
| Sèche-linge autorisétempérature normale | Sèche-linge autorisétempérature basse | Ne passez pas au sèche-linge | |||
| I | Sèchage sur corde | Sèchage à plat | |||
| Repassage | |||||
| Repassage à une température maximale de 200 °C | Repassage à une température moyenne de 150 °C | Repassage à une température basse de 110 °C; sans vapeur (le repassage à la vapeur peut provoquer des dommages irréversibles) | |||
| Ne repassez pas | |||||
| Entretien professionnel des textiles | |||||
| P | Nettoyage à sec au perchloroéthylène | F | Nettoyage à sec aux hydrocarbures | Evitez tout nettoyage à sec | |
| W | Nettoyage professionnel par voie humide | R | Nettoyage à sec uniquement | ||
Une partie de ces symboles peut ne pas etre present dans le menu de l'appareil.
7.5 Chargement de l'appareil
Insérez le linge, pièce par pièce dans le tambour.
Ne surchargez pas l'appareil. Vérifiez que vous pouvez passer votre main verticalément au-dessus de la charge.
Fermez bien la porte. Assurez-vous qu'aucune piece de linge n'est coincée entre le joint et la porte.

Remarque:Nettoyage tambour
Avant la première utilisation, nous vous recommendons de lancer le programme « Nettoyage tambour » à vide et d'utiliser une petite quantité de détergent ou de nettoyant spécial machine pour éliminer les résidus potentiellement génants.
7.6 Sélection d'un programme
Allumez l'appareil, l'écran tactile affiche les programmes et les options disponibles. Appuyez sur le symbole du programme souhaïté dans la partie droite de l'écran pour démarrerrapidement à l'aide des paramètres par défaut. Touchez la partie gauche pour désir les paramètres individuels (reportez-vous aux sections 3.3 et 3.4). Les instructions suivantes concernent spécifique le programme « i-Refresh »

AVERTISSEMENT!
Installation
Le programme i-Refresh ne convient pas aux vêtements en polyurethane (PU), simili cuir et polychlorlon.
Le programme i-Refresh doit être utilisé avec précaution pour les tissus abîmés, déchirés ou décousus; les vêtements en cuir durci; les fermétures éclair déformées; les textiles pelucheurs car ce programme peut les endommager.
i-Refresh a une fonction d'élimination des odeurs. Ne vaporisez pas de perfume, de désodorisant ou d'autres substances volatiles pouvant facilement provoquer un incendie ou une explosion.
Nous vous conseillons de laver normalement vos vêtements, notamment s'ils sont tachés, avant d'utiliser le programme i-Refresh
Veuillez ne pas utiliser i-Refresh si vos vêtements sont humides : ils peuvent rétrécir ou se déformer.
Préparation avant l'utilisation du programme i-Refresh
| Textile | 1. Veuillez fermer les vêtements et attacher les boutons. 2. Veuillez vérifier soignement les vêtements. S'ils sont abîmés, veuillez les recoudre avant d'utiliser le programme i-Refresh. 3. Veuillezsterol les articles dans les poches pour éviter d'endommager les vêtements lors du programme i-Refresh. 4. Pour les gros boutons, les fermétures éclair ou les décorations telles que les broches, les pendentifs, etc., retirez-les ou enveloppez-les dans un tissu doux ou du papier résistant à la chaleur. 5. Les décorations telles que les clous, les oeillets, les agrafes et les vêtements enduits doivent être enveloppés dans du papier résis- tant à la chaleur. 6. Pour les volants ou les accessoires tels que les jupe et les crochets de rideau, veuillez lessterol respirer avant d'utiliser le programme i-Refresh. |
| Lave-linge | 1. Pendant le programme i-Refresh, le lave-linge aura besoin d'utiliser de l'eau pour maintainir un taux d'humidité constant. Assurez-vous que le robinet d'acciviée d'eau est ouvert et le tuyau de vidange est bien raccordé à la machine. 2. Vérifiez l'intérieur du tambour pour être sûre qu'il ne reste pas d'eau, de mousse ou des vêtements. |
7- Utilisation quotidienne
Instructions pour les différents niveaux de séchage du programme i-Refresh
Veuillez définir le niveau de séchage et le temps appropriés en fonction des différents tissus. Vous pouze ajuster la durée du programme en faisant glisser votre doigt sur la barre de temps.
| Niveau | Température | Durée par défaut(min) | Plage de temps réglable (min) |
| H-1 | Faible | 10 | 8~40 |
| H-2 | Moyen | 15 | 10~40 |
| H-3 | Élevé | 30 | 15~40 |
Instructions pour les niveaux de séchage du programme i-Refresh
Veuillez retarder les vêtements après le programme i-Refresh, les suspendre ou les ranger rapidement.

Remarque: i-Refresh
Les performances de lavage dépendent du type de tissu.
Le lavage à la vapeur peut endommager les vêtements non adaptés à ce type de lavage..
7.7 Choix du détergent et de l'adoucissant
L'efficacité et la performance du lavage dépendent de la qualité du détergent utilisé.
Utilisez exclusivement des détergents homologues pour le lavage à la machine.
Si nécessaire, utilisez des déterments spécifique, par ex. pour le tissu en laine et la couette, etc.
Respectez les recommendations du fabricant du détergent.
N'utilise pas d'agents de nettoyage à sec tels que le trichloréthylène ou tout autre produit similaire.

7.8 Ajout de détérgent
- Ouvrez le couvercle du tiroir à lessive (fig. 7.8).
-
Versez les détangers requis selon la liste « Choisisir le meilleur détermagent » dans les compartments correspondants.
-
Detergent liquide (max. 1000 ml)
- Adoucissant (Max. 500ml)
-
Lessive en poudre / Détergent liquide
-
Fermez le couvercle.
Lorsque le dosage automatique est activé, le détergent et l'adoucissant peuvent être dosés automatiquement.
Si la quantité dans le réservoir est insuffisante, l'icone du dédTangent ou de l'adoucisant correspondant clignote lorsque le son retentit au début du programme. Veuillez ajouter du dédTangent et/ou de l'adoucissant selon le besoin.
La lessive en poudre ou d'autres déterments peuvent être versés dans le组成部分 à lessive en poudre pour une utilisation occasionnelle. Dans ce cas, désactiver la fonction de dosage automatique. N'utilise pas de déterment liquide dans le组成部分 à lessive en poudre lorsque vous activez la fonction « Fin différée »
- Choisissez le détérgent le mistréx adapté
L = détengent gel / liquide
P = détergent en poudre
O = optionnel
- = non
| Type de détergent | ||||||
| Programme | Universal | Couleur | Délicat | Spécial | Adoucis-sant | Désinfec-tant |
| Smart | L/P | L/P | - | - | o | o |
| Rapide 15 min | L/P | L/P | L | - | o | o |
| Sport | - | - | L | L | o | o |
| Séchage | - | - | - | - | - | - |
| i-Refresh | - | - | - | - | - | - |
| Essorage | - | - | - | - | - | - |
| Nettoyage tam-bour | - | - | - | L | o | o |
| Coton | L/P | L/P | - | - | o | o |
| Synthétique | L/P | L/P | L | - | o | o |
| Mixte | L/P | L/P | - | - | o | o |
| Laine | - | - | - | L | o | - |
| Délicat | - | - | L | - | o | - |
| Couette | - | - | L | L | o | - |
| Coton Eco | L/P | L/P | - | - | o | - |
Nos recommendations sont les suivantes :
Détergent en poudre: 20^ à 90^ (utilisation optimale: 40 - 60^ )
Détermagent couleur : 20°C à 60°C (utilisation optimale : 30-60 °C)
Détergent laine/vêtement délicat: 20^ à 30^ (=utilisation optimale)
7.9 Ajout du détergent et de l'adoucissant
Veuillez vous référer à la section 3.5 pour ajouter du détergent et de l'adoucissant. Vous pouvez désir d'utiliser les fonctions de distribution automatique de détergent et d'adoucissant.

Remarque: Détergent
N'utilise pas trop de détergent ou d'adoucissant.
Veuillez suivre les instructions spécifiées sur l'emballage du dédTangent.
Diluez le détergent liquide concentré avant de l'ajouter.
Pour que le détergent liquide se diffuse bien, utilisez la boule de dosage, qui est introduite dans l'appareil avec le linge.
Sélectionnez avec soin les paramètres du programme en fonction des symboles d'entretien indiqués sur toutes les étiquettes de linge et selon le tableau de programme.
7- Utilisation quotidienne
7.10 Démarrage du programme de lavage
Touchez le symbole sur l'écran pour démarrer le programme, l'appareil fonctionne selon les paramètres actuels. Pour interrompree un programme en cours, appuyez de nouveau sur le symbole. sur l'écran de contrôle. Appuyez à nouveau sur ce symbole pour reprendre l'opération.
7.11 Fonctions spéciales
Les fonctions suivantes sont disponibles :
7.11.1 Paramètres en option
| Fonction | Signification | Fonction | Signification |
| Lavage | Vouss peuvent étendre la durée de lavage ou la réduire en fonction du degré de salissure du linge. (Informations en minutes). | Temp. | Changement de la température de lavage. Réglez la température selon le degré de salissure :Très sale : 60-90 °CMoyennement sale : 30-60 °CLégèrement sale : froid (ARRÊT)- 30 °C |
| Rinçage | Cycles de rincege supplémentaires pour les personnes à la peau sensible. | Vitesse | Changement de la vitesse d'esso-rage. Réduisez la vitesse pour les tissus délicats. |
| Séchage | Vouss peuvent étendre la durée de séchage ou la réduire en fonction du type de tissus. | ||
7.11.2 Paramètres fonction
| Fonction | Signification | ||
| Taches | Fonctionnalité spéciale pour les taches de : • Jus • Vin • Herbe • Sol / sable | ||
| Fonction | Signification | Fonction | Signification |
| Détergent | Pour distribuer le détergent automatiquement | Délai | Le démarriage du cycle de lavage sera retardé. |
| Adoucis-sant | Pour distribuer l'adoucis-sant automatiquement | Verrouillage infant | Pour éviter une mauvaise utilisa-tion par un enfant ou des perturba-tions extérieures |
| Anti Aller-gie | Pour améliorer les performances de rinçage et réduire les résidus de détergent | ||

Remarque: Options et fonctions
Pour garantir des résultats optimaux à chaque programme, Haier a défini des paramétres par défaut précis. En l'absence d'indications particulières, nous vous recom-mandons d'utiliser les paramétres par défaut.
Toutes les fonctions ne sont pas disponibles pour tous les programmes. Elles dépendent du programme sélectionné.
- Vous ne pouvez pas sélectionner certaines fonctions simultanément.
La machine mémorise les fonctions « Lavage », « Rinçage +», « Temp. » et « Essorage » pour le prochain démarrage du programme. Elle ne mémorise pas tout autre réglage de fonction pour le prochain démarrage de programme.
7.12 Àprous le lavage
- À la fin du cycle du programme, l'appareil s'arrête automatiquement.
- Retirez le linge le plus tout possible pour éviter les odeurs et que le linge ne se froisse.
- Fermez l'arrivée d'eau.
- Débranche la prise d'alimentation.
- Ouvrez la porte pour éviter toute formation d'humidité et l' apparition d'odeurs. Laissez-la ouverte lorsque vous n'utilise pas l'appareil.

Suggestions : entretien de la machine à laver après i-Refresh
Veuillez nettoyer les résidus et les peluches sur le joint et la vitre du hublot.
Sile programme i-Refresh est utilisé régulierement, veuillez faire un programme «Nettoyage tambour» plus régulierement.
i Remarque:Différences
En raison des révisions constantes de Haier U+, les fonctions et l'interface del'affichage de l'appareil peuvent différer des descriptions suivantes.
8.1 Généralités
Cet apparéil est compatible WiFi. Grace à l'application Haier U+, vous pouvez utiliser votre smartphone pour vérifier le programme en cours et le temps restant.
! AVERTISSEMENT!
Veuillez observer les consignes de sécurité containues dans ce manuel d'utilisation et assurez-vous qu'elles sont respectées même si l'appareil fonctionne via l'application Haier U+ lorsque vous n'êtes pas à la maison. Vous devez également suivre les instructions containues dans l'application Haier U+.
8.2 Exigences
- Un routeur sans fil (protocole 802.11b/g/n) ne prend en charge que les bandes de fréquence de 2.4 GHz. La longueur du SSID du routeur est comprise entre 1 et 31 caractères (dont 1 et 31) et le mot de passage entre 8 et 64 caractères. La longueur minimale du mot de passage doit être de 8 caractères. Les méthodes de cryptage du routeur sont WPA-PSK et WPA2-PSK.
- Vous pouvez installer l'application Haier U+ sur un téléphone portable. Le téléphone portable doit disposer d'un système d'exploitation d'une version supérieur à Android 4.0 ou IOS7.0
- L'appareil doit être installé dans une piece dans laquelle il peut receivevoir les signaux WIFI. Si l'appareil n'est pas correctement connecté au routeur sans fil, le message « Vérifiez que le téléphone et l'appareil sont connectés au même WIFI. » s'affiche ; ni l'iconde de commande à distance ni celle du WIFI ne s'affichent.
8.3 Téléchargement et installation de l'application Haier U+ :
Scannez le QR code (fig. 8.3.1) à l'aide de votre téléphone portable ou entrez le lien suivant dans votre navigateur :
https://resource.haieriot.net/download/app/uplus/
Installes l'application compatible avec votre téléphone et son système d'exploitation.
8.3.1

i Remarque : Haier U+
La disponibilité de la fonction Haier U+ dépend de la disponibilité des services Haier U+ dans votre pays. Les services Haier U+ ne sont pas disponibles dans tous les pays - pour de plus amples informations, consultez le site : www.haier.com.

Remarque : Inscription
L'inscription est requise uniquement lors de la première utilisation de l'application. Pour une utilisation ultérieure, vous devez enter le nom d'utilisateur et le mot de passer pour utiliser l'application, en cas de déconnexion.
8.4 Inscription et connexion
- Branchez le lave-linge. Appuyez sur le bouton Marche / Arrêt pendant 5 secondes jusqu'à ce que l'écran s'allume et affiche « C5 » (Fig. 8.4.1).
- Lancez l'application sur votre téléphone portable, entrez vos informations d'enregistrement, notamment le pays, l'adresse et le mot de passer. Acceptez ensuite le contrat d'utilisation de Haier U+, appuyez sur « Inscription »
- Un message de vérification est envoyé dans votre boite mail. Ouvrez le message et activez votre email enclistuant sur le lien de vérification dans un délambda de 2 heures.
- Touchez le bouton "√" sur le téléphone portable
- La page de connexion s'ouvre : entrez l'adresse et le mot de passer, appuyez ensuite sur la touche connexion.

8.4.1

Remarque:Réseau WIFI
Il n'est pas recommandé de connecter l'appareil à un réseau WIFI public (ex.: Hotspots), car d'autres utilisateurs du réseau pourraient le trouver s'il accédé au réseau public et cela peut nuir à votre vie privée. Le symbole affiché à l'écran signifie que l'appareil est connecté à Internet.

Remarque: Activer / désactiver le réseau WIFI
Il est possible de désactiver la fonction de connexion WIFI. Avant que l'appareil ne soit allumé, maintenez le bouton Marche / Arrêt enforcé Ⓒ pendant 7 secondes, l'écran s'allume et affiche « U off ». Le symbole Ⓒ disparaît. Si vous voulez utiliser le réseau WIFI Appuyez à nouveau sur le bouton Marche / Arrêt Ⓒ pendant 7 secondes jusqu'à ce que l'écran affiche « U on ». Le symbole Ⓒ apparait sur l'écran.
8.5.1

8.6.1

8.6.2

8.5 Connexion

Remarque : Utilisation du même WIFI
Assurez-vous que votre téléphone portable et votre apparéil sont connectés au même WIFI.
- Appuyez sur le bouton "+" (Fig. 8.5.1) sur le téléphone portable.
- Sélectionnez le type d'appareil ou appuyez sur le symbole du WIFI pour afficher tous les appareils disponibles connectés au WIFI et suivez les indications à l'écran.
- Appuyez sur pour returner à la page principale des appareils connectés.
- L'appareil est connecté à l'application et prét à l'utilisation.

Remarque : Temps de connexion
Toutes les opérations de connexion doivent être effectuées dans un laps de temps qui est de 10 minutes. Si l'utilisateur commence l'opération de connexion sur l'application U + après 10 minutes, la connexion échouera. Le laps de temps de connexion commence lorsque vous activez C5 (maintenez enforcé le bouton Marche / Arrêt pendant plus de 5 secondes).
8.6 Démarrez le lavage et vérifie l'état du cycle de lavage via l'application Haier U +
- Allumez l'appareil, préparede le linge et le détergent; faites-le conformément au chapitre « Utilisation quotidienne »
- La liste des appareils connectés au WIFI apparait sur le téléphone mobile (Fig. 8.6.1).
- Appuyez sur — pour ouvrir la page Paramètres (fig. 8.6.2) et sélectionnez la langue et les options souhaïées. Retournez à la liste en faisant glisser la page de réglage vers la gauche.
- Choisissez le lave-linge. Vous pouvez vérifier le programme en cours et le temps restant.
Contrôlez et nettoyez votre apparéil à des intervalles réguliers.

AVERTISSEMENT!
Avant tout entretien, veuillez arrêté l'appareil et débranchez-le de la prise de courant.
9.1 Nettoyage de la machine
Débranche la machine pendant le nettoyage et l'entretien.
Utilisez un chiffon doux imbibé de savon liquide pour nettoyer la machine (fig. 9.1) et les composants en caoutchouc.
N'utilise pas de produits chimiques organiques ou de solvants corrosifs.
Si nécessaire, vous pouvez éliminer les résidus de calcaire à l'aide d'un nettoyant pour machine.

9.2 Vanne et filtré d'arrivée d'eau
Pour éviter toute obstruction de l'alimentation en eau par des matières solides telles que
le calcaire, nettoyez régulierement son filtré d'arrivée d'eau (fig. 9.2).
Débranche le cordon d'alimentation et fermez l'arrivée d'eau.
Démontez le flexible d'alimentation en eau du robinet.
Rincez le filtré avec de l'eau et une Brosse.
Insérez le filtré et installez le flexible d'arrivée d'eau.

9.3 Nettoyage du tambour
Retirez les pièces métalliques introduites accidentellement dans le tambour (fig. 9.3), notamment les épingle, les pièces de monnaie, etc., car elles peuvent cause des taches de rouille et des dommages.
Utilisez un nettoyant sans chlorure pour éliminer les taches de rouille. Respectez les consignes de sécurité du fabricant de l'agent de nettoyage.
N'utilise pas d'objet dur ou de la laine d'acier pour le nettoyage.


Remarque : Nettoyage tambour
Pour un entretien régulier, nous vous recommendons de lancer le programme « Nettoyage de la cuve » à vide pour éliminer les résidus potentiellement génants tous les trois mois. Ajoutez une petite quantité de détergent ou utilisez un nettoyant spécial machine.
9- Entretien et nettoyage

9.4 Périodes de non-utilisation prolongées
Si l'appareil n'est pas utilisé pendant une longue période:
- Debranche la fiche électrique (fig. 9,4.1).
- Fermez l'arrivée d'eau (fig. 9.4.2).
- Ouvrez la porte pour éviter toute formation d'humidité et l' apparition d'odeurs. Laissez la porte ouverte lorsque vous n'utilise pas l'appareil.
Avant le prochain usage, vérifie soigneusement le cordon d'alimentation, l'arrivée d'eau et le tuyau de vidange. Assurez-vous que tout est correctement installé et qu'il n'y a pas de fuite.

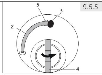
9.5 Filtre de la pompe
Nettoyez le filtrte avant A (fig. 9.5.1) en tenant compte du rappel de l'affichage et inspectez le filtrte de la pompe, pour vérifier par exemple si l'appareil :
nevidangepasl'eau;
n'essorepas;
émet un bruit inhabituel pendant le fonctionnement.

- Lancez le programme d'essorage et de drainage de l'eau.
- Une fois le programme terminé, arrêtez l'appareil et débranchez-le (fig. 9.5.2).
- Ouvrir le volet de service du filtré A en appuyant dessus (Fig. 9.5.3).

- Prévoyez un écipient creux (1) pour récapérez l'eau de vidange (fig. 9.5.4). La quantité d'eau pourrait être plus importante que prévu!
- Tirez le tuyau de vidange (2) et maintenez-en l'extrémité au-dessus du écipient.
- Retirez le bouchon d'étanchéité (3) du tuyau de vida nange.
! AVERTISSEMENT!
Risque de brûlure! L'eau contenue dans le filtr de la pompe peut être très chaude! Avant toute intervention, assurez-vous que l'eau a refroidi.
- Àpres avoir effectué la vidange, rebouchez le tuyau de vidange, ré-introduisez-le dans l'appareil, puis fixez-le à l'aide d'une pince (position 5 de la fig. 9.5.5).
- Dévissez le filtré de la pompe (4) en tournant dans le sens antihoraire et retirez-le.
- Retirez les impuretés et la poussière (fig. 9.5.6).
- Nettoyez soigneusement le filtr de la pompe à l'eau courante, (fig. 9.5.7).
- Remontez-le soigneusement (fig. 9.5.8).
- Refermez le volet d'entretien du filtré A.





ATTENTION!
Le bouchon du filtr de la pompe doit etre nettoy et en bon etat. Si le bouchon n'est pas bien sere, de I'eau peut s'echapper.
Le filtré doit être en place, sinon une fuite peut se produit.
9.6 Remplacement de l'éclairage du tambour

AVERTISSEMENT!
Évitez de remplaçer vous-même l'éclairage du tambour, faites-le remplaçer uniquement par le fabricant ou un agent de maintenance agrée. Consultez la section SERVICE CLIENT.
10- Dépannage
Vouss pouvez vous-même résoudre la plupart des problèmes qui pourraient survenir sans expertise précise. En cas de problème, veuillez vérifier toutes les solutions possibles en suivant les instructions ci-dessous avant de contacter un service après-vente. Consultez la section SERVICE CLIENT.

AVERTISSEMENT!
Avant tout entretien, veuillez arrêté l'appareil et débranchez-le de la prise de courant.
- Les apparèils électriques doivent être entretenus uniquement par des experts en électricité, car une mauvaise intervention pourrait cause des dommages considérables.
Pour éviter tout risque, faites replacer le cable d'alimentation endommagé uniquement par le fabricant, son représentant ou par des personnes qualifiées.
10.1 Dépannage avec affichage de code

Remarque: Dépannage
Si des informations d'erreur s'affichent, veuillez appuyer sur le bouton d'alimentation pour les effacer. Si le problème persiste, débranche la prise d'alimentation et contactez le service clientèle.
Au cas où l'on vous demanderait de contacter le service clientèle : Notez le message relatif au dépannage et communiquez-le au « SERVICE CLIENTÉLE »
| Astuces | Cause | Solution |
| E1 | Erreur de vidange | Veuillez vérifier si le robinet de vidange et le tuyau de vidange sont bloqués ou si le tuyau de vidange est plié. Vérifiéz et nettoyez le filtrde vidange |
| E2 | Erreur de déverrouillage | Veuillez couper l'approvisionnement en eau et l'alimentation électrique, puis contactez le centre de service après-venture. |
| Erreur de verrouillage | ||
| F3 | Erreur du capteur de température de l'eau | Veuillez couper l'approvisionnement en eau et l'alimentation électrique, puis contactez le centre de service après-venture. |
| E4 | Panne de l'arrivée d'eau | Vérifiéz si le robinet est ouvert, si la pression d'eau est trop BASSE ou si l'approvisionnement en eau a été interrompu. |
| F4 | Erreur du système de chauffage. | Veuillez couper l'approvisionnement en eau et l'alimentation électrique, puis contactez le centre de service après-venture. |
| F7 | Erreur du système moteur | Veuillez couper l'approvisionnement en eau et l'alimentation électrique, puis contactez le centre de service après-venture. |
| E8 | Niveau d'eau dans le tambour trop élevé | Veuillez couper l'eau et l'alimentation électrique si cela se produit plusieurs fois, et contactez le centre de service après-venture. |
| F9 | Erreur de capteur de température sèche | Veuillez couper l'approvisionnement en eau et l'alimentation électrique, puis contactez le centre de service après-venture. |
| E12 | Niveau d'eau dans le tambour trop élevé lors du séchage | Veuillez couper l'eau et l'alimentation électrique si cela se produit plusieurs fois, et contactez le centre de service après-venture. |
| FA | Erreur du capteur de niveau d'eau. | Veuillez couper l'approvisionnement en eau et l'alimentation électrique, puis contactez le centre de service après-venture. |
| FC0 | Erreur de communication du module d'entrainment du moteur | Veuillez couper l'approvisionnement en eau et l'alimentation électrique, puis contactez le centre de service après-venture. |
| FC1 | Erreur de communication du module d'entrainment du moteur | Veuillez couper l'approvisionnement en eau et l'alimentation électrique, puis contactez le centre de service après-venture. |
| FC2 | Erreur de communication du module d'entrainment du moteur | Veuillez couper l'approvisionnement en eau et l'alimentation électrique, puis contactez le centre de service après-venture. |
| FC3 | Erreur de communication du module d'entrainment du moteur | Veuillez couper l'approvisionnement en eau et l'alimentation électrique, puis contactez le centre de service après-venture. |
| Unb | La répartition du linge est déséquilibrée pendant le cycle d'essorage | Assurez-vous que le lave-linge est stable, retirez le linge et, remettez-le ensuite dans l'appareil pour essorage. |
| Fd | Erreur de la résistance de chauffage | Veuillez couper l'approvisionnement en eau et l'alimentation électrique, puis contactez le centre de service après-venture. |
| FE | Erreur du moteur pendant le cycle de séchage | Veuillez couper l'approvisionnement en eau et l'alimentation électrique, puis contactez le centre de service après-venture. |
10-3 Dépannage sans affichage de code
| Problème | Cause | Solution |
| Échec de fonctionnement de l'appareil! | • Le programme n'a pas encore dé-marré. • La porte n'est pas correctement fermée. • L'apparil n'a pas été mis sous ten-sion • Panne de courant. • Le Verrouillage infant est activé. • Avez-vous activé la fin différée? • Avez-vous appuyé sur le bouton Pause? | • Vérifiez le programme et dé-marrez-le. • Fermez correctement la porte. • Mettez l'apparil sous tension. • Vérifiez l'alimentation. • Désactivez le verrouillage en-fant. • Désactivez la fonction de fin dif-érée. • Désactivez le mode pause. |
| Le panneau de commande n'est pas fonctionnel. | • Le Verrouillage infant est activé. | • Désactivez le verrouillage en-fant. |
| L'apparil ne se remplit pas d'eau. | • Il n'y a pas d'eau. • Le flexible d'alimentation est tordu. • Le filtr du flexible d'arrivée d'eau est bouché. • La pression de l'eau est très BASSE. • La porte n'est pas correctement fermée. • Coupure d'eau. • Avez-vous activé la fin différée? • Avez-vous appuyez sur le bouton de démarriage? | • Vérifiez le robinet d'eau. • Vérifiez le flexible d'arrivée d'eau. • Débouchez le filtr du flexible d'arrivée d'eau. • Vérifiez la pression de l'eau. • Fermez correctement la porte. • Vérifiez l'arrivée d'eau. • Désactivez la fonction de fin dif-érée. • Appuyez sur le bouton de dé-marriage. |
| L'apparil se vidangependant le replissage | • La hauteur du tuyau de vidange est inférieure à 80 cm. • L'extremité du tuyau de vidange pourrait baigner dans l'eau. | • Assurez-vous que le tuyau de vidange est correctement ins-tallé. • Vérifiez que le tuyau de vidange n'est pas plongé dans l'eau. |
| Problème de vidange | • Le tuyau de vidange est obstrué. • Le filtrde la pompé est bouché. • L'extremité du tuyau de vidange se trouve à une hauteur supérieure à 100 cm au-dessus du sol. | • Débouchez le tuyau de vidange. • Nettoyez le filtrde la pompé. • Assurez-vous que le tuyau de vidange est correctement ins-tallé. |
| Forte vibration pendant l'essorage. | • Certains boulons de transport n ont pas été retirés. • L'apparil n'est pas installé sur une surface stable. • La charge de la machine n'est pas cor-recte. | • Retirez tous les boulons de transport. • Assurez-vous que l'apparil est placé sur une surface stable et plane. • Vérifiez le poids et l'équilibre de la charge. |
| L'opération s'arrêtevant la fin du cycle de lavage. | • Coupure d'eau ou panne de cou-rant. • Avez-vous appuyé sur le bouton Pause? | • Vérifiez le branchement électrique et l'alimentation en eau. • Désactivez le mode pause. |
| L'opération s'arrêtepondant un certain temps. | • Un code d'erreur s'affiche sur la machine. • Problème lié au poids de la charge. • Le programme effectue le cycle de trempage | • Vérifiez les infor-mations affichées. Réduisez ou ajustez la charge. Annulez le programme et redé-marrez. |
| Une quantité excessive de mousse flotte dans le tambour et/ou le tiroir à lessive. | • La lessive n'est pas adaptée.• Quantité excessive de détergent. | • Vérifiez les recommendations en matière de lessive.• Réduisez la quantité de lessive. |
| Ajustement automatique du temps de lavage. | • La durée du programme de lavage sera régée. | • Ce phénomène est normal et n' affecte pas le fonctionnement. |
| Échec de l'essorage. | • Mauvaise répartition du linge. | • Vérifiez la charge de la machine et la répartition du linge, puis relancez un programme d'essorage.. |
| Bruit étrange | • L'appareil n'est pas installé sur une surface stable.• Des éléments étrangers tels que des pieces de monnaie ou des fermetures heures le tambour. | • Assurez-vous que l'appareil est placé sur une surface stable et plane.• Assurez-vous que les poches ne contiennent pas de clés, de pieces, etc. |
| Les composants du panneau de commande surchauf-fent. | • Les composants électroniques sont tièdes. | • C'est tout à fait normal. |
| Résultat de lavage insatisfaisant | • Le degré de salissure ne correspond pas au programme sélectionné.• La quantité de lessive est insuffisante.• La charge maximale est dépassée.• Le linge est inégalement réparti dans le tambour. | • Sélectionnez un autre programme.• Choisissez le détergent selon le degré de salissure et selon les specifications du fabricant.• Réduisez la charge.• Répartissez le linge. |
| Il existe des résidues de lessive en poudre sur le linge. | • Des particules insolubles de détergent peuvent persistier sous forme de taches blanches sur le linge. | • Rincez à nouveau.• Essayez de Brosser les points sur le linge sec.• Choisissez un autre détergent. |
| Le linge contient des taches grises | • provenant des graisses telles que les huiles, les crèmes ou les onguents. | • Prétraitez le linge à l'aide d'un nettoyant spécifique. |
| Le linge n'est pas égouttée après l'esso-rage. | • L'effet d'essorage est parfois différent pour certains types de linge.• La protection contre le déséquilibre de la charge est activé car la charge est trop faible. | • Cela est normal• Augmentez la charge. |
| Froissage du linge. | • Le tambour est surcharge. | • Réduisez la quantité de linge |
| • Un programme inadapté a été séLECTIONné. | • Sélectionnez et règlez le programme en fonction du type de tissu. | |
| L'éclairage interieur du tambour ne fon-cionne pas. | • L'appareil n'est pas branché à l'alimentation électrique. | • Vérifiez l'alimentation. |
| • L'ampoule ne fonctionne toujours pas. | • Contactez le service clientèle pour le remplacement de l'am-poule. |

10.4 En cas de panne d'alimentation / ouverture de porte d'urgence
Le programme en cours et ses paramètres sont enregistrés. Lorsque l'alimentation électrique est rétablie, le fonctionnement reprend. Pour l'annuler, appuyez sur la touche « Départ/Pause», puis, sur le le bouton « Marche / Arrêt » pendant environ 2 secondes.
Si une panne d'alimentation interrupt un programme de lavage en cours, l'ouverture de porte se bloque mécaniquement. Pour sorting le linge, le niveau d'eau ne
doit pas être visible à travers le hublot en verre de la porte.. - Risque de brûlures! Le niveau d'eau doit être réduit tel qu'indiqué dans la section « Entretien et nettoyage - Filtre de la pompe ».
Tirez l'anneau de secours (Fig. 10.4) derrière le volet de service du filtre A pour ouvrir la porte jusqu'à ce que la porte soit déverrouillée par un léger clic. Remontez ensuite toutes les pièces.
11.1 Préparation
Retirez l'appareil de l'emballage.
Retirez tous les emballages, y compris ceux à base de polystyrene, ainsi que le matériel de fixation à l'intérieur du boitier, et tenez-les hors de portée des enfants. Lors de l'ouverture de l'emballage, vous pourriez voir des gouttes d'eau sur le sac en plastique et le hublot. Ce phénomène normal résultat des essais à l'eau effectués à l'usine.

Remarque : Mise au rebut des emballages
Tenez tous les emballages hors de portée des enfants et mettez-les au rebut dans le respect de l'environnement.
11.2 Installé le panneau de métal
- Inclinez l'appareil vers l'arrière (Fig. 11.2.1)
- Prenez la plaque métallique et installez-la au fond de l'appareil, puis fixez-la à l'aide de deux vis (Fig.11.2.2)
- Prenez les patins de réduction de bruit et retirez le film protecteur adhésif double face; placez les patins de réduction du bruit sous le meuble de la machine à laver, comme illustré sur le schéma 11.2.3 (deux patins plus longs en position 1 et 3, deux patins plus courts en position 2 et 4). Remettez la machine à l'endroit.
11.3 Demontez les boulons de transport
Les boulons de transport sont concus pour fixer les composants anti-vibration à l'intérieur de l'appareil durant le transport afin d'éviter des dommages internes.
- Retirez les 4 vis de l'emballage à l'arrière, puis enlevez les éléments séparateurs en plastique (B) de la face interne de l'appareil. (Fig. 11.3.1. et 11.3.2.)
- Retirez les vis de renforcement (C), puis retirez les renforts (D) et retirez les tiges (E) à l'intérieur de l'ordinateur (Fig. 11.3.3.).
- Fermez les trouc avec des bouchons obturateurs (F) (Fig. 11,3.4).

Remarque: Conservez-les en lieu sûr
Conservez les boulons de transport dans un endroit sur pour une utilisation ultérieure.
Chaque fais que vous souhaitez déplacer l'appareil, remontez d'abord les boulons.

11.2.3


11.3.1

11.4 Déplacement de l'appareil
Si vous souhaitez déplacer l'appareil sur une grande distance, remettez les boulons de transport retires avant l'st installation pour éviter tout dommage :
- retirez les bouchons obturateurs;
- Insérez les tiges d'emballage et réinstallé les pieces de renforce ment et les vis
- Insérez les éléments séparateurs en plastique et les boulons de transport.
- serrez les boulons à l'aide d'une clé.

11.5. Réglage des pieds
Ajustez tous les pieds pour obtenir une position complètement stable à l'aide d'une clé ; ceci réduira les vibrations et le bruit pendant l'utilisation, de même que l'usure. Nous recommendons d'utiliser un niveau à bulle pour le réglage. Le sol doit être aussi stable et plat que possible.
- Desserrez le contre écrou (1) à l'aide d'une clé (fig. 11.5).
- Reglez la hauteur en tournant le pied. (2).
- Serrez le contre écrou contre le boitier (1).
11.6 Raccordement de drainage
Les raccordements suivants sont possibles:


11.6.1 Tuyau de vidange à l'évier
Suspendez le tuyau de vidange au rebord d'un évier de taille ajustate, à l'aide du support en U (fig. 11.6.1).
Protégéz convenablement le support en U contre tout glissement.
11.6.2 Tuyau de vidange au raccordement d'évacuation des eaux usées
Le diamètre interne du regard avec évent doit être de 40 mm.
Placez le tuyau de vidange à environ 80 mm des conduits d'eauuses (fig. 11.6.2).
Fixez le support en U et attachez-le solidement.
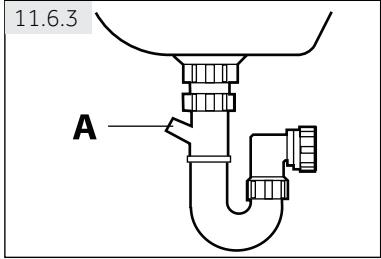
11.6.3 Raccordement du tuyau de vidange à l'évier
Un raccord à embout est habituèlement fermé par un bloc (A). Vous devez le retarder pour éviter tout dysfonctionnement (fig. 11.6.3).
Fixez le tuyau de vidange à l'aide d'une pince.

ATTENTION!
Le tuyau de vidange ne doit pas etre submerge par I'eau, et doit etre fixe solidement et exempt de fuite. Si le tuyau de vidange est au sol, ou si le conduit est a une hauteur de moins de 80 cm, l'appareil se vidange de maniere continue lorsqu'on le remplit (siphonnement automatique).
Le tuyau de vidange ne peut pas etre rallongé. Au besoin, contactez le service après-venture.
11.7 Raccordement d'eau douce
Assurez-vous que les joints sont insérés.
- Raccordez le flexible d'arrivée d'eau à la pointe biseautée de l'appareil (fig. 11.7.1). Resserrez manuellement le joint à vis.
- L'autre extrémité est raccordée à un robinet d'eau avec un filetage de 3/4 po (fig. 11.7.2).


AVERTISSEMENT!
Utilisez uniquement l'ensemble de raccordement fourni pour le raccordement.
Ne réutilise jamais d'ensemble de raccordement usage!
Raccordez l'appareil uniquement à une alimentation d'eau froide.
Avant le raccordement, vérifie si l'eau est propre et claire.
11.8 Branchement Électrique
Avant chaque branchement, vérifiez si :
l'alimentation electrique, la prise et le fusible correspondant à la plaque signalétique.
L'appareil est mis à la terre et aucune multiprise ou rallong ne'est utilisée.
- la prise d'alimentation et la fiche correspondent parfaitement.
Uniquement au Royaume-Uni: La prise pour le Royaume-Uni est conforme à la norme BS1363A.
Branchez la fiche à la prise (fig. 11.8).


AVERTISSEMENT!
Assurez-vous toujours que toutes les connexions (alimentation électricque, le tuyau d'évacuation et flexible d'arrivée d'eau potable) sont solides, sèches et neprésentant aucune fuite!
Veilz à ce que ces pièces ne soient jamais piétinées, pliees ou tordues.
Si le cordon d'alimentation est endommagé, faites-le replacer par le fabricant (voir la carte de garantie) afin d'eviter tout risque.

Remarque:Nettoyage du tambour
Après chaque installation ou une période d'inactivité prolongée, nous vous recommandons, avant la première utilisation, de lancer le programme « Nettoyage tambour » à vide et avec une petite quantité de dédTergent ou le un nettoyant spécial machine pour éliminer les résidus potentiellement génants.
12- Informations techniques
12.1 Fiche du produit (conformé à la réglementation UE N° 96/60)
| Marque de fabrique | Haier | |
| Numéro d'identification du modele | HWD100-BD1499U1 | |
| Classe d'efficacité énergétique1) | A | |
| Consommation d'énergie pour le lavage, l'essorage et le séchage à l'aide des programmes cotton standards2) in kWh/complete operating cycle3) | 6,72 | |
| Consommation d'énergie pour le lavage, l'essorage et le séchage à l'aide des programmes cotton standards2) in kWh/washing cycle3) | 0,99 | |
| Classe de performance de lavage 1) | A | |
| L'eau restante après l'essorage pour le cycle de la- vage standard cotton à 60 °C2) en % | 44 | |
| Vitesse d'essorage pour le cycle de lavage standard cotton à 60 °C2) en tr/min | 1400 | |
| Consommation électrique pondérée du mode Lais- sé sur marche (W) | 10 | |
| Capacité de lavage pour le cycle de lavage standard cotton à 60 °C (sans séchage)2) en kg | 6 | |
| Consommation d'eau pour le lavage, l'essorage et le séchage2) en l/cycle de fonctionnement complet | 99 | |
| Consommation d'eau pour le lavage et l'essorage seulement2) en l/cycle de fonctionnement complet | 50 | |
| Temps de lavage et de séchage. Durée de pro- gramme pour un cycle de fonctionnement complet en min | 520 | |
| Estimation de la consommation annuelle pour un ménage de quatre personnes, avec une utilisation permanente du séche-linge (200 cycles) en kWh | 1344 | |
| Estimation de la consommation annuelle pour un ménage de quatre personnes, sans utilisation du séche-linge (200 cycles) en kWh | 198 | |
| Bruits lors des cycles de lavage, d'essorage et de séchage, avec le programme standard cotton 2) en dB(A) re 1 pW) | Lavage | 50 |
| Essorage | 69 | |
| Séchage | 58 | |
1) La classe G correspond à l'efficacité la plus faible et la classe A, à l'efficacité la plus élevé.
2) Programmes Standards coton :
Lavage :
60^ avec un temps de lavage de 75 min, 2 temps de rinçage, une vitesse d'essorage de 1 400 rap et la distribution de détermagent et d'adoucissant automatiquement annulée.
Sechage: « Dry», appuyez sur « AU » jusqu'à ce qu'il passée à « ECO ».
3 La consommation d'énergie réelle par cycle varie en fonction de l'utilisation de l'appareil.
12.2 Autres données techniques
| Dimension (H x l x P en mm) | 985x701x460 |
| Tension / courant | 220-240 V / 50 Hz / 10 A |
| Puisance maximale (W) | 2000 |
| Pression d'eau (MPa) | 0.03 - 1.0 |
| Poids net (kg) | 97 |
Taux de fréquence (OFR)
2400 MHz/2483,5 MHz
Fréquences de la chaîne
2412 ... 2472 MHz (taille d'étapes 5 MHz)
Max puissance (EIRP)
100mW
12.3 Normes et directives
C E
Ce produit répond aux exigences de toutes les directives CE applicables ainsi que les normes harmonisées correspondantes, qui prévoient le marquage CE.
Haier déclare, par la présente, que l'équipement radio est conforme à la directive 2014/53 de l'UE. Le texte intégral de la déclaration de conformité de l'UE est disponible à l'adresse internet suivante : www.haier.com.
13- Service client
Nous vous recommendons notre service clients Haier et l'utilisation de pieces de rechange d'origine.
Si vous avez un probleme avec l'appareil, veuillez vous referrer à la section DÉPANNAGE.
Si vous ne trouvez pas de solution, veuillez contacter
– titre vendeur local ou
rendez-vous sur le site www.haier.com, dans la zone Service et support, vous trouvez des numérores de téléphone et une FAQ. Vous pourrez également contacter le service de réclamation.
Pour contacter notre Service, assurez-vous que les informations ci-après sont disponibles.
Ces informations sont disponibles sur la plaque signalétique.
Modèle
N° de série
Vérifiez également la Carte de garantie fournie avec le produit en cas de garantie.
Pour des renseignements généraux concernant les entreprises, vous trouvez ci-jointes nos adresses en Europe :
| Adresses de Haier en Europe | |||
| Pays* | Adresse postale | Pays* | Adresse postale |
| Italie | Haier Europe Trading SRL Via De Cristoforis, 12 21100 Varese ITALIE | France | Haier France SAS 3-5 rue des Graviers 92200 Neuilly sur Seine FRANCE |
| Espagne Portugal | Haier Iberie SL Pg. Garcia Faria, 49-51 08019 Barcelona ESPAGNE | Belgique-FR Belgique-NL Pays-Bas Luxembourg | Haier Bénélux SA Anderlecht Route de Lennik 451 BELGIQUE |
| Allemagne Autriche | Haier Allemagne GmbH Hewlett-Packard-Str. 4 D-61352 Bad Homburg ALLEMAGNE | Pologne République Tchèque Hongrie Grèce Roumanie Russia | Haier Pologne Sp. zo.o. Al. Jerozolimskie 181B 02-222 Warszawa POLOGNE |
| Royaume-Uni | Haier Appliances UK Co.Ltd. One Crown Square Church Street East Woking, Surrey, GU21 6HR Royaume-Uni | ||
*Pour de plus amples informations, veuillez consulter le site www.haier.com


Notice Facile