CDX-P670 - Lecteur multimédia PIONEER - Notice d'utilisation et mode d'emploi gratuit
Retrouvez gratuitement la notice de l'appareil CDX-P670 PIONEER au format PDF.
| Type d'appareil | Chaîne hi-fi |
| Fonction principale | Lecture de CD audio |
| Formats supportés | CD, CD-R, CD-RW |
| Sorties audio | Sortie stéréo analogique |
| Alimentation | Alimentation secteur |
| Consommation électrique | Non précisé |
| Dimensions | Non précisées |
| Poids | Non précisé |
| Fonctions de lecture | Lecture, pause, arrêt, avance rapide, retour rapide |
| Fonctions supplémentaires | Lecture répétée, lecture aléatoire |
| Affichage | Afficheur LCD |
| Commandes | Touches physiques et télécommande |
| Langues du manuel | Multilingue |
| Précautions d'utilisation | Éviter l'humidité et les chocs |
| Codes d'erreur | Codes affichés en cas de dysfonctionnement |
| Garantie | Non précisée |
FOIRE AUX QUESTIONS - CDX-P670 PIONEER
Questions des utilisateurs sur CDX-P670 PIONEER
0 question sur cet appareil. Repondez a celles que vous connaissez ou posez la votre.
Poser une nouvelle question sur cet appareil
Téléchargez la notice de votre Lecteur multimédia au format PDF gratuitement ! Retrouvez votre notice CDX-P670 - PIONEER et reprennez votre appareil électronique en main. Sur cette page sont publiés tous les documents nécessaires à l'utilisation de votre appareil CDX-P670 de la marque PIONEER.
MODE D'EMPLOI CDX-P670 PIONEER
-
N'utilisez que des disques et des chargeurs portant respectivement les marques ci-dessus.
-
Cet Appareil n'est donc que pour receivevoir les disques compacts circulaires. L'utilisation d'un disque ayant une forme autre n'est pas conseillée.
Vérifiez tous les CD avant de les produit et jetez les disques fissures, rayés ou déformés.
-
Evitez de toucher la surface enregistrée (iridescente) lors de la manipulation des disques.
-
N'apposez pas d'étiquette et n'appliquez pas de produits chimiques sur les disques.
-
Essuyez des disques sales ou humides du centre vers l'extérieur avec un chiffon doux.
-
Protégéz les disques des rayons directs du soleil et d'une température élevé.
-
La lecture normale d'un disque CD-R qui n'a pas ete grave a l'aide d'un graveur de musique pour CD, peut etre impossible.
-
La lecture d'un CD-R, y compris dans le cas où il a été grave avec ungraveur de musique pour CD, peut être impossible en raison des caractéristiques du disque, ou bien de rayures ou de poussières. Les poussières et la condensation d'humidité sur l'optique du lecteur, peuvent également empêcher la lecture.
-
Tenez compte des précautions qui figurent sur les disques CD-R.

Chargeur

Disque

DIGITAL AUDIO

DIGITAL AUDIO
TEXT
- N'utilise que des disques et des chargeurs portant respectivement les marques ci-dessus.
Cet Appareil n'est donc que pour receivevoir les disques compacts circulaires. L'utilisation d'un disque ayant une forme autre n'est pas conseillée.
Vérifiez tous les CD avant de les produit et jetez les disques fissures, rayés ou déformés. - Evitez de toucher la surface enregistrée (iridescente) lors de la manipulation des disques.
- N'apposez pas d'étiquette et n'appliquez pas de produits chimiques sur les disques.
- Essuyez des disques sales ou humides du centre vers l'extérieur avec un chiffon dux.
- Protégéz les disques des rayons directs du soleil et d'une température élevé.
- La lecture normale d'un disque CD-R qui n'a pas ete grave a I'aide d'un graveur de musique pour CD, peut etre impossible.
- La lecture d'un CD-R, y compris dans le cas où il a été grave avec ungraveur de musique pour CD, peut etre impossible en raison des caractéristiques du disque, ou bien de rayures ou de poussières. Les poussières et la condensation d'humidite sur I'optique du lecteur, peuvent etgalement empêcher la lecture.
- Tenez compte des précautions qui figurent sur les disques CD-R.


Français
En cas d'anomalie pendant la lecture d'un disque, un code d'erreur est affiché par le contrôleur relié au lecteur.
(Par exemple, E-11, Err-11, ERR-11, ERROR-11.)
En ce cas, reportez-vous au tableau suivant pour connaître la cause de l'anomalie. Si le code d'erreur demeure affiché après que vous avez pris les mesures correctives, adressez-vous à un centre d'entretien PIONEER.
N: Code d'erreur
C:Cause
C: Le disque est sale.
M:Nettoyez le disque.
N:11,12,17,30
C: Le disque est rayé.
M: Remplacez le disque.
N: 11, 12, 14, 17
C: Le disque a eté mis en place de telle manière que l'étiquette est tournée vers le bas.
M: Placez le disque de façon que l'étiquette soit tournée vers le haut.
N:14
C: Le disque, un CD-R, ne porte aucun enregistrement.
M: Vérifiez le disque.
N:44
C: Toutes les plages sont régles comme plage à sauter.
M: Remplacez le disque.
N: NO DISC
C: Le chargeur est vide.
M: Introduisez un chargeur contenant des disques.
C: Anomalie électrique ou mécanique.
M: Placez le contacteur d'allumage sur la position Arrêt puis à nouveau sur la position Marche, ou encore appuyez sur le sélecteur de source du contrôleur pour lecteur de CD à chargeur.
Loading a magazine in the multi-CD player/Inserimento del caricatore nellettore multi-CD/Mise en place d'un chargeur dans le lecteur de CD

Inserting discs/Inserimento dei dischi/Mise en place des disques

Changing the disc tray/Cambio del piatto portadisco/Remplacement des plateaux pour disque
Plateau Gently pull the disc tray.

Align the disc tray with the left and right sides, and push it in until you hear it clear.
Allinarene the scanalatura de sini crs.
Ae aenrnnn ene e o epinge n ao sentire un acato.
Engangze à fondé le plateau pour disque dans les rainnaires droite en 1905.

Estrarre lentamente il piatto portadisco.
Tirez doucement le plateau à vous
Loading the magazine/Caricamento del caricatore/Mise en place d'un chargeur

Load the magazine and close the door.
Caricare il magazzino e chiudere lo sportello.
Introduisez le chargeur et refermez la trappe.

Insert the magazine with the arrow upward.
Inserire il caricatore con la freccia in alto.
Introduises le chargeur de manière que la face portant la flèche soit tournée vers le haut.
To remove the magazine/Rimozione del caricatore/Pour retirer le chargeur
Press the eject button.
Premere il tasto di espulsione
Appuyez sur le bouton d'éjection.
English
Précautions relatives au maniement des chargeurs
- Ne conserve pas les chargesurs dans an endroit ou ils seront exposés à la lumière directe du soleil, ou à une temperature excessive.
- Ne tentez pas de démonter les chargeurs.
- Evitez de laisser tomber les chargeurs ou de les exposer à des chocs.
- Ne pas utiliser des cartouches féliées ou déformées.
- N'introduize dans les charges que des disques compacts. Ne pose aucune etiquette ni aucune ruban adhesif sur les disques.
L'essence, le diluant pour peinture, les insecticides et les produits chimiques en général, peuvent endomgar la finition des charges
Chargeurs supplémentaires
En cas de besoin, adressez-vous au distributeur Pioneer qui sera en mesure de vous fourir des chargeurs convenibles (reference 12).
Fixation de I'etiquette
Fixer l'étiquetteonne faie à l'endetroi. Le fait de fixer l'étiquette à endroit incorrent ou de fixer plus d'une étiquette provoquera un mauvais fait.

Mise en place des disques
N'oubliez pas de retarder le disque avant de changer un plateau.
- Si le plateau n'est pas correctement engagé dans les rainues droite et gauche, vous ne pouces ne护士re à fond dans le chargeur.
- Si la monte ne devait été correctement agéner, sauf que l'air ne s'y est accidéré.
- Veillee a ce que le chargeur contienne tous 6 plateaux; de cette maniere, vous évitrez la perte ou l'endommagement des plateaux.
- Si vous mettez en place un disque de telle maniere que son etiquette soit tournée vers le bas, non seulement le lecteur sera dans
l'incapacité de dire le disque mais更好 le contrôle pour lecteur de CD à chargeur (darle la mesure ou votre voiture en est poursuivre) ne sera pas en measure d'afficher un message d'émer pour vous signifiérés. Il ne s'est pas qu'une chance, et il ne s'est pas placé en sortie que les étaquettes seront tiennent越来越 au haut.
Mise en place et retrait d'un chargeur
- Ne pasmette lesdoits dans teiroir ducharge carelpepe eneine anomiale de fonctionnement et un endommingement du lecteur.
- Si l'étiquette que porte le chargeur se décollé ou est plissée, le mecanisme d'éjection peut être endomagner, ou soit dans l'incapacité d'éjecter le chargeur. En conséquence, retirez toute étiquette endomagnerée avant d'introduire le chargeur.
- Ne conserve pas la trappe ouverte car le teilure pourrait mal former men si des pousseilles ou des corps étrangers venaient a) pêtré.

Remarque sur les disques de 8 cm
N'utilise pas d'adaptateur pour disque de 8 cm, fauite de qui le
ecteur pourrait ne pas fonctionner Pourmette en place un disque de
8 cm, vous devey utiliser un plateau special (Nombre de多位 CBX5931)
Le service d'entretien Pioneer yves renseignera utillement a ce sujet.
Transportation of multi-CD player/Trasporto dellettore multi-CD/Transport du lecteur de CD à chargeur

Replaceces vis dans leur position d'origine avant de trans
Transport screw
Des vis sont fixés sur le lecteur de façon à le protégé pendant le transport. Àprouve avoir retiré la vis de transport, bouchez le trou au moyen du cache fourni. Veillez à-retirer ces vis avant d'installer le lecteur. Conservez les vis dans le sac contenant les accessoires où maniere à ne pas les égérer et à être en mesure de les remettre en place en cas de transport.
Pour éviter toute erreur de branchement, le côté entrée du cable IP-BUS est bleu et le côté sortie est noir. Tenez compte de ces couleurs lors des raccordements.

Yellow
Vers une borne alimentée en permanence, independament de la position de la clé de contact.
Black (ground)
Vers la carrosserie (masse) du vehicule.
Les câbles de cet apparéil et ceux d'autres apparéils peuvent fort bien ne pas été de la même couleur bien que replissant la même fonction. Pour relier cet apparéil à un autre apparéil, utilisez le manuel d'installation de chacun et effectuez les raccordements en ne tenant compte que de la fonction de chaque cable.
English
- Avant de procéder au montage définitif, raccordez les appareils et vérifier leur fonctionnement au moyen du contrôleur pour lecteur de CD à chargeur.
Lorsque l'installation est terminée, à l'aide de la pointe d'un stylo à bille appuyez sur le bouton d'initialisation du lecteur et du contrôleur. - N'oubliez pas de relier le cable de masse (noir) à la carrosserie du vehicule ou à toute piece métallique en liaison permanente avec la carrosserie, faute de quoi le niveau de bruit peut être élevé, ou encore le lecteur ou le contrôleur peuvent ne pas fonctionner normalement.
- Cet apparéil est prévu pour les vehicules alimentés par une batterie de 12V dont le pôle négatif est à la masse. Avant de l'installer sur un vehicule, vérifie la tension de la batterie.
- Pour éviter tout court-circuit pendant l'installation, débranchez le cable relié à la borne négative (-) de la batterie.
- Avant de rebrancher le cable relié à la borne négative (-) de la batterie, vérifie l'installation et le câblage et remontez les pieces du vehicule qui ont été déposées.
Fixez les cables au moyen de colliers ou de ruban adhesif. Pour proteger leur isolant, entourez les cables d'un morceau de ruban adhesif aux endroits où ils peuvent froter contre des pieces métalliques. - Acheminez et fixez tous les câbles de telle manière qu'ils ne puissant pas toucher des pièces mobiles telles que le changement de vitesse, le levier de frein de stationnement ou les rails des sièges. Ne place pas les câbles dans des endroits où la température peut être élevée tels qu'à proximé des ouïes de chauffage; cela pourrait faire fondre l'isolant ou l'endomager et causer un court-circuit.
- Pour relier le conducteur jaune à la batterie, ne le faites pas passer dans le compartment moteur par un trou pratiqué dans le tablier. Son isolant pourrait être endommagé, ce qui provoquerait un court-circuit grave.
- Ne mettez aucune cable en court-circuit, faute de quoi le circuit de protection pourrait ne pas replir son office le moment venu.
- N'alimentez jamais un autre apparéil par un branchement sur le cable d'alimentation de celui-ci. Le courant qui circulerait dans ce conducteur pourrait dépasser la capacité du conducteur et entraîner une élideation anomale de température.
- Remplacez les fusibles par des fusibles du même type (indiqué sur les porte-fusibles).
- Mème si l'alimentation est interrompue du fait que le cable d'alimentation a été déconnecté ou que la pile a été remplacee, l'affichage de titres de CD et la mémoire ITS resteront conservés pendant 24 heures.
Pressing the clear button/Premendo il tasting di azzeramento/En appuyant sur le bouton d'initialisation

Clear button
Bouton d'initialisation
English
Si l'appareil ne se met pas sous tension, ou si le lecteur de CD ne fonctionne pas lorsque vous appuyez sur le bouton qui convient du contrôleur, ou encore si les indications affichées par le contrôleur sont incorrectes, à l'aide de la pointe d'un stylo à bille appuyez sur le bouton d'initialisation placé sur le lecteur. (Ce bouton est situé derrière le volet.) Cela fait, n'oubliez pas d'appuyer également sur le bouton d'initialisation qui se trouve sur le contrôleur.
- Si vous appuyez sur le bouton d'initialisation alors que le lecteur contient un chargeur ou que le contacteur d'allumage est sur la position ON ou ACC, le titre du disque et le contenu de la mémoire de programmation immédiate (ITS) sont effacés.
Italiano
Specifications/Caratteristique/Spécifications
English
General
Disquesutilisables CompactDisc
Format du signal Fréquence d'échantillonnage: 44,1 kHz
Nombre de bits de quantification: 16;
(quantification linéaire)
Alimentation 14,4 V CC
(toute tension comprise entre 10,8 et 15,1 V est admissible)
Consommation maximale 1,0 A
Poids 1,9 kg
Réponse en fréquence 5 Hz à 20 kHz (±1 dB)
Rapport signal/bruit 92 dB (à 1 kHz) (réseau IEC-A)
Distorsion 0,006 %
Dynamique 90 dB (à 1 kHz)
Niveau de sortie 1.000 mV (à 1 kHz, 0 dB)
Nombre de voies 2 (stériso)
Remarque:
A fin d'amélioration, les caractéristiques et la presentation peuvent être modifiées sans avis préalable.
Italiano
Generali
Sistema . .. .. .. .. .. .. .. .. .. .. .. .. .. .. .. .. .. .. .. .. .. .. .. .. .. .. .. .. .. .. .. .. .. .. .. .. .. .. .. ... .... ... .... ... .... ... .... ... .... ... .... ... .... ... .... ... .... ... .... ... .... ... .... ... .... ... .... ... .... ... .... ... .... ... .... ... .... ... .... ... .... ... .... ... .... ... .... ... .... ... .... ... .... ... .... ... .... ... .... ... .... ... .... ... .... ... .... ... .... ... .... ... .... ... .... ... .... ... .... ... .... ... .... ... .... ... .... ... .... ... .... ... .... ... .... ... .... ... .... ... ...
Dischi compatibili Compact Disc
Percez les trou s indiques par les flèches.

Percez les trou s indiques par les flèches.
A

2
Les pièces servant à la fixation du lecteur sont illustrées ci-dessous.



B

× 4

)

Fixation du lecteur sous la plage arrête au moyen de vis à tête hexagonale
1
Put marks.
Percez les trou s indiques par les flèches.
A

2

3

Mounting angle/
Positionnement du sélecteur d'angle de montage
Positionnez le sélecteur de manière que la fente soit horizontal.



English
- Consultez le concessionnaire de votre vehicule si l'installation exige le percement de trough ou toute autre modification du vehicule.
- Avant d'installer définitivement l'appareil, reliez provisoirement les câbles et assurez-vous que tout est correct et que l'ensemble fonctionne normalement.
- Pour réaliser une bonne installation, n'utilise que les pieces fournies avec l'appareil. L'emploi de pieces non fournies peut provoquer une anomalie de fonctionnement.
- Installez l'appareil de manière qu'aucun cable ne soit écrasé entre le lecteur et les pieces métalliques voisines.
Emplacement
- Installlez l'appareil de manière qu'il ne gène pas le conducteur et qu'il ne puisse pas blesser un occupant du vehicule en cas de freinage brusque.
Fixez l'appareil à une surface rigide suffisamment solide pour le maintainir en toutes circonstances, faute de quoi ses performances pouraient etre alterées. - Avant de percer une cloison, assurez-vous que vous n'endommagerez aucune piece pouvant se couver derrière cette cloison. Ne-percez aucun trou dans le réserveir de carburant ou toute autre piece importante.
- N'installez pas l'appareil pres des ouies du chauffage en raison de la chaleur dégagée, ni pres des portières en raison de l'exposition aux interpérières.
- N'installez pas l'appareil sur la plaque cachant la roue de secours ni sur toute autre surface amovible.
- Installé l'appareil dans un endroit qui ne gène pas le retrait de la roue de secours, du cric et des outils.
- N'installez pas l'appareil dans un endroit où il sera exposé à la lumière directe du soleil tel que la plage arrêtée ou le tableau de bord.
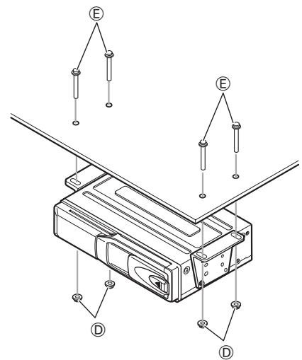
Fixez le lecteur sur une surface plate.
Fixation du lecteur sous la plage arrêté au moyen de vis à tête hexagonale
- Pour installer le lecteur sous la plage arrêté, il est préféroyable de travailler à deux; une personne peut alors maintainir le lecteur tandis que l'autre pose les vis. Si vous devez procéder seul à cette installation, voirlez à ce que le lecteur soit provisoirement maintenu en position de manière qu'il ne tombe pas dans le coffre pendant les opérations de fixation.
- Si vous installez le lecteur sous la plage arrière, veillez à ce qu'il soit soldrement fixé, faute de quoi des erreurs de lecture peuvent se produit.
Notice Facile