KCDP9010 - Hotte aspirante KITCHENAID - Notice d'utilisation et mode d'emploi gratuit
Retrouvez gratuitement la notice de l'appareil KCDP9010 KITCHENAID au format PDF.
| Type d'appareil | Hotte aspirante |
| Modèle | Non précisé |
| Dimensions (L x P x H) | Non précisé |
| Matériau | Acier inoxydable |
| Type d'installation | Murale ou encastrable |
| Débit d'air | Non précisé |
| Niveaux de puissance | 3 vitesses |
| Niveau sonore | Non précisé |
| Type de filtre | Filtre à graisse métallique |
| Éclairage | LED intégré |
| Commande | Manuelle ou tactile |
| Consommation électrique | Non précisé |
| Fonction recyclage | Oui, avec filtre à charbon |
| Couleur | Acier inoxydable |
| Poids | Non précisé |
| Garantie | Non précisé |
FOIRE AUX QUESTIONS - KCDP9010 KITCHENAID
Questions des utilisateurs sur KCDP9010 KITCHENAID
0 question sur cet appareil. Repondez a celles que vous connaissez ou posez la votre.
Poser une nouvelle question sur cet appareil
Téléchargez la notice de votre Hotte aspirante au format PDF gratuitement ! Retrouvez votre notice KCDP9010 - KITCHENAID et reprennez votre appareil électronique en main. Sur cette page sont publiés tous les documents nécessaires à l'utilisation de votre appareil KCDP9010 de la marque KITCHENAID.
MODE D'EMPLOI KCDP9010 KITCHENAID
Avertissements 4
Conseils pour la protection de l'environnement 5
Instructions pour la configuration et l'assemblage 6
Configuration 6
Assemblage 7
Description de la hotte 11
Fonctionnement 11
Entretien 12
ServiceAprres-vente 14
Avertissements
L'appareil n'est pas concu pour etre utilise par des enfants ou des personnes aux capacités physiques, sensorielles ou mentales réduites, sans connaissance du fonctionnement de l'appareil sauf s'ils sont sous surveillance ou formes à l'utilisation de l'appareil par une personne responsable de leur sécurité.
Veillez à ce que les enfants ne jouent pas avec l'appareil.
1.
Ne branchez pas l'appareil tant que l'installation n'est pas complètement terminée. Avant toute l'action de nettoyage ou d'entretien, débranchez l'appareil en retardant la fiche ou en coupant l'rupteur général de l'habitation.
- Aucun aliment ne doit etre flambe sous la hotte. Les flammes pourraient etre source d-incendie.
- Lorsque vous faites une friture, ne laissez pas la poèle sans surveillance car l'huile bouillante pourrait prendre feu.
- Un entretien et un nettoyage réguliers sont une garantie de bon fonctionnement et de bon rendement de l'appareil. Nettoyez régulièrement tous les dépôts liassés sur les surfaces salies. Enlevez et nettoyez ou remplacez fréquèment le filtré. Il est interdit d'utiliser tout type de matériel inflammable pour transporter l'air d'évacuation.
- Si la hotte est utilisé en même temps que des apparciels alimentés au gaz ou par d'autres combustibles, la dépression dans la pierce ne doit pas dépasser 4Pa (4 x 10-5 bar). Pour cette raison, assurez-vous que la pierce est bien aérée.
- L'air aspiré par la hotte ne doit pas être evacué dans un conduit servant à l'évacuation des fumées des apparêls de chauffage, des apparêls alimentés au gaz ou par d'autres combustibles ou dans une bouche de VMC.
- La piece doit être suffisamment aérée lorsque la hotte est utilisée en même temps que d'autres apparèils alimentés au gaz ou par d'autres combustibles.
- Assurez-vous que les ampoules sont froides avant de les toucher.
Remarque: portez des gants de travail pour toutes les opérations d'installation et d'entretien.

Branchement électrique
La tension de votre habitation doit correspondre à la tension indiquée sur la plaque signalétique située à l'intérieur de la hotte. La hotte peut être fournie avec une fiche. Dans ce cas, branchez-la sur une prise électrique conforme aux normes locales en vigueur et située dans un endroit accessible. Si la hotte est depourvue de fiche (prise encastree) ou si la fiche n'est pas accessible, montez un interrupteur bipolaire conforme aux normes en vigueur assurant la déconnexion complète du secteur dans les conditions de surtension III, conformément aux règles d'installation.
ATTENTION: avant de rebrancher le circuit de la hotte au secteur et de vérifier son bon fonctionnement, contrôle toujours que le cordon d'alimentation est monté correctement et qu'il n'est pas coincide ou pince dans le logement de la hotte en phase d'installation.
Nettoyage de la hotte
Attention: au moins une fois par mois, éliminez les huiles et les graisses afin d'éviter tout risque d'incendie. Utilisez un chiffon doux avec un détergent neutre. N'utilise jamais de substances abrasives ou d'alcool.
Avant d'utiliser l'appareil
Pour une utilisation optimale de votre hotte, merci de dire attentivement le mode d'emploi. Conservez cette notice, elle pourra vous etre utile.
Ne laissez pas les éléments d'emballage (sachets en plastique, morceaux de polystyrene, etc.) à la portée des enfants car ils représentent une source potentielle de danger.
Vérifiez que la hotte n'a subi�除 un dommage pendant le transport.
L'installation et les branchements électriques, le remplacement du cordon d'alimentation avec fiche ou du cordon flexible doivent être effectuels par un technicien qualifié conformément aux normes en viqueur.
Cet apparéil est concu pour une utilisation par des personnes adultes et à des fins domestiques.
Avertissements
Déclaration de conformité CE
Cet apparéil a été concu, fabriqué et commercialisé en conformité avec:
- les objectifs de sécurité de la Directive "Basse Tension" 73/23/CEE;
- les qualités de protection requises par la Directive "CEM" 89/336/CEE modifiée par la Directive 93/68/CEE.
Conseils pour la protection de l'environnement
1. Emballage
Les matériaux d'emballage sont 100% recyclables et portent le symbole de recyclage . Pour la mise au rebut, respectez les normes locales en vigueur. Ne laissez pas les éléments d'emballage (sachets en plastique, morceaux de polystyrene, etc.) à la portée des enfants car ils représentent une source potentielle de danger.
2. Produkt
Cet apparéil porte le symbole du recyclage conformément à la Directive Européenne 2002/96/CE concernant les Déchets d'Equipements Electriques et Electroniques (DEEE ou WEEE).
En procedant correctement à la mise au rebut de cet appariel, vous contribuerez à empêcher toute conséquence nuisible pour l'environnement et la santé de l'homme.

Le symbole prsent sur l'appareil ou sur la documentation qui I'accompagne indique que ce produit ne peut en aucun cas etre traite comme dechet menager. Il doit par consequent etre remis a un centre de collecte des dechets chargedu recyclage des equipments electriques et electroniques.
Pour la mise au rebut, respectez les normes relatives à l'élimination des déchets en vigueur dans votre pays de résidence.
Pour obtenir de plus amples détails au sujet du traitement, de la récapération et du recyclage de cet apparéil, veuillez vous adresser au bureau compétent de votre commune, à la société de collecte des déchets ou directement à votre revendeur.

Instructions pour la configuration et l'assemblage
Ce produit est très lourd. Le déplacement et l'installation de la hotte doivent être effectués par au moins deux personnes.
Respecter scrupuleusement les instructions indiquées dans cette notice. Le fabricant decline toute responsabilité pour tout problème, dégât ou incendie provoqué à l'appareil et dû à la non-observation des instructions ci-dessus.
Configuration
Cette hotte aspirante est donc pour etre installee avec une evacuation exterieure (version aspirante) ou en mode recyclage interne (version filtrante).
Version aspirante
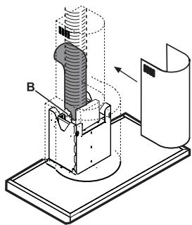
La hotte est dotée d'une sortie d'air supérieure B pour l'évacuation des fumées vers l'extérieur (gaine d'évacuation et colliers de fixation non fournis). Fig. 1
Version filtrante
S'il n'est pas possible d'évacuer les fumées et les vapeurs de la cuisson vers l'extérieur, vous pouvez utiliser la hotte en version filtrante en montant un filtre à charbons actifs (non fourni) et le deflecteur F sur le support (bride) G. Les fumées et les vapeurs sont recyclées à travers les grilles supérieures H par une gaine d'évacuation raccordée à la sortie d'air supérieure B et la bague de raccord montée sur le deflecteur F (gaine d'évacuation et colliers de fixations non fournis). Fig. 2
Installation
La distance minimale à respecter entre l'appareil de cuisson et la partie la plus basse de la hotte doit être de 50 cm pour les cuisinières électriques et de 70 cm pour les cuisinières à gaz ou mixtes. Si les consignes d'installation du dispositif de cuisson à gaz spécifique une distance plus grande, il faut impératifement en tener compte.


Assemblage
La hotte est dotée de chevilles de fixation adaptées à la plupart des supports (murs ou plafonds). Il est toutefois nécessaire de consulter un installerur qualifié pour vous assurez de la validité des matérielux en fonction du type de mur ou de plafond. Le support (mur ou plafond) doit être suffisamment robuste pour supporter le poids de la hotte.
Avant de commencer l'installation:
- Vérifiez que le produit acheté possède des dimensions adaptées à la zone d'installation可以选择.
Pour facilitier l'installation, il est conseilé de retarder temporairement les filtres à graisses et les autres pieces dont le demontage et le montage sont autorisés (décrites dans cette notice). Ces pieces doivent être remontées une fois l'installation terminée. Pour le demontage, consultez les paragraphs correspondants. - Retirez les filtres à charbons actifs, le cas échéant (consultez également le paragraph correspondant). Ils doivent être remontés uniquement si vous souhaitez utiliser la hotte en version filtrante.
- Vérifiez qu'il ne reste aucun matériel additionnel (par exemple : sachets de vis, garantie, rubans adhésifs) à l'intérieur de la hotte (source possible de bruit lors de l'utilisation de la ventilation). Retirez-les le cas échéant et conservez-les.
- Si possible, débranchez et retirez les meubles au-dessous et autour de la zone d'installation de la hotte afin d'avoir un meilleur accès au mur ou au plafond où la hotte sera installée. Dans le cas contraire, dans la mesure du possible, protégez
les meubles et toutes les parties concernées par l'installation . Choisissez une surface plane et couvre-la avec une protection pour y poser ensuite la hotte et les pieces additionnelles.
- Durant les phases de branchement électrique, coupez l'alimentation électrique depuis le tableau principal de l'habitation.
- Vérifiez également qu'une prise murale électrique est disponible à proximé de la zone d'installation de la hotte (dans un endroit accessible une fois la hotte montée) et qu'il est possible de se raccorder à un dispositif d'évacuation des fumées vers l'extérieur (uniquement en version aspirante).
- Effectuez tous les travaux de maconnerie nécessaires (par exemple, installation d'une prise murale électrique et réalisation d'un trou pour le passage de la gaine d'évacuation).
Fig. 3
- Tracez une ligne verticale correspondant à la ligne Médiane sur le mur et jusqu'àu plafond à l'aide d'un crayon pour facilititer les opérations d'installation.
- Détérincez la distance la plus adaptée entre la table de cuisson et la hotte. Attention! Respectez les distances minimums expressément indiquées dans cette notice d'installation. Tracez une ligne horizontale correspondant à cette distance sur le mur et appliquer le gabarit de perçage: la ligne verticale mediane imprimée sur le gabarit de perçage doit correspondre à la ligne verticale mediane dessinée sur le mur. De plus, le bord inférieur du schéma de perçage doit correspondre à la ligne horizontale tracee.

Assemblage
Fig. 4
-
Appuyez l'étrier de support inférieur sur le gabarit de perçage et faites-le coincider avec le rectangle indiqué sur le gabarit par des pointillés. Tracez les deux troughs externes et percz. Retirez le schéma de perçage, introduisez 2 chevilles dans le mur et fixer l'étrier de support de la hotte avec 2 vis de 5 × 45 ~mm .
-
Suspendez la hotte à l'étrier inférieur.
- Réglez la distance entre la hotte et le mur à l'aide des crochets de réglage.
- Réglez l'inclinaison horizontal de la hotte à l'aide de crochets de réglage.
- Depuis l'intérieur de la hotte, tracez les 2 trouss à l'aide d'un crayon pour la fixation définitive de la hotte.
- Retirez la hotte de l'etrier inferieur.
- Percez aux points marqués.
- Introduisez 2 chevilles dans le mur.

Fig. 5

Assemblage
- La hotte est dotée de deux étriers identiques pour la fixation de la cheminée. Appliquez l'étrier de support supérieur de cheminée (G - le côté avec les trous de fixation vers le haut - voir Fig. 6) sur le mur à proximité du plafond, utilisez l'étrier de support comme gabarit de percage (la petite fente percée dans l'étrier doit coincider avec la ligne Médiane précédemment tracée sur le mur) et marquez les 2 trous avec un crayon, puis percez et fixez l'étrier avec 2 vis et 2 chevilles. Appliquez l'étrier de support inférieur de cheminée (M - le côté avec les trous pour la fixation vers le haut - voir Fig. 6) au-dessus de
l'étrier inférieur à une distance de 200 mm de ce dernier, puis fixez l'étrier avec 2 vis et 2 chevilles. 2 bandes caoutchoutées sont à appliquer aux 2 extrémités de ce deuxieme étrier (découpez la bande caoutchoutée fournie en deux parties identiques avec des ciseaux).
- Version filtrante uniquement: fixez le déflecteur à l'étrier supérieur de support de cheminée. Fig. 6
- Découpe de la cheminée: la cheminée est fournie en longueur standard et peut être taillée sur mesure selon la formule indiquée dans la figure Fig. 7.


Assemblage
-
Accrocher la hotte à l'étrier inférieur.
Fixez définitivement la hotte au mur avec deux vis (OBLIGATOIRE!).
Effectuez le raccordement de la gaine d'évacuation des fumées (la gaine et les colliers de fixation sont à acheter séparément) à la bague de raccord place sous l'unité du moteur d'aspiration. L'autre extrémité de la gaine devra être raccordée à un dispositif d'évacuation des fumées vers l'extérieur en cas d'utilisation de la hotte en version aspirante. Si vous souhaitez utiliser la hotte en version filtrante, raccordez l'autre extrémité de la gaine à la bague de raccord place sur le déflecteur F. Fig. 8 -
Effectuez le branchement électrique.
- Appliquez la cheminée supérieure et fixez-la avec 2 vis à l'étrier de support G.
Remarque: La cheminée supérieure devra couvrir aussi l'étrier M. Fig. 6
- Installez la cheminée inférieure en couverture du groupe moteur et encastrez-la sur le logement prévu au-dessus de la hotte.
Remarque: vérifie que les languettes de la cheminée rentrent parfaitement dans les orifices prévus sur la partie supérieure de la hotte.
Fixez la cheminée inférieure avec 2 vis. Fig. 8.
Fixez la section inférieure des cheminées avec 2 vis.


version aspirante uniquement

version filtrante uniqueness



8
Fig. 9
- Bandeau de commande
- Filtres àGRAisses
- Poignée de verrouillage du filtré àGRAisses
- Lampe halogène
- Corps de la hotte
- Cheminée téléscopique
- Sortie d'air (utilisée uniquement en version filtrante)
- Panneau d'aspiration périmétrale

Fonctionnement
Utilisez la vitesse la plus élevé en cas de concentration importante de vapeurs dans la cuisine. Il est conseilé demettre l'aspiration en marche 5 minutes avant de commencer à cuisiner et de la laisser fonctionnerpendant environ 15 minutes après la fin de cuisson.

- Touche d'éclairage: appuyez une fois pour obtenir une lumière diffuse, deux fois pour obtenir une luzière pleine. Appuyez à nouveau pour éteindre.
- Touche MARCHE/ARRET: Appuyez pour démarrer ou arreter la hotte. Une fois en marche, la hotte aspire à la vitesse (puissance) d'aspiration précédemment sélectionnée.
- Touche de vitesse (puissance) d'aspiration 1
- Touche de vitesse (puissance) d'aspiration 2
- Touche de vitesse (puissance) d'aspiration 3
- Touche de vitesse (puissance) d'aspiration intensive. Cette fonction est valide 5 minutes environ. Une fois ce temps écoulé, la hotte adopte la vitesse préalablement sélectionnée.
- Touche Minuterie: en appuyant sur cette touche, vous pouvez limiter la durée de fonctionnement des vitesses (puissances) d'aspiration selectionnées comme suit:
Vitesse 1 pendant 20 minutes
Vitesse 2 pendant 15 minutes
Vitesse 3 pendant 10 minutes
Vitesse intensive pendant 5 minutes.
A la fin de cette période, la hotte s'arrête.
Entretien

Débranche la hotte avant toute opération d'entretien.
Nettoyage
La hotte doit être féquèment nettoyée à l'intérieur comme à l'extérieur (au moins à la même féquence que pour l'entretien des filtres àGRAisses).
Utilisez un chiffon imbibé de détermgent liquide neutre pour le nettoyage.
Évitez l'utilisation de produits contenants des abrasifs. NE JAMAIS UTILISER D'ALCOOL!
Attention: ne pas suivre les instructions de nettoyage de la hotte ainsi que celles relatives au remplacement ou au lavage des filtres peut etre source d'incendie. Il est vivement recommande de suivre les recommendations.
Entretien du panneau d'aspiration périmétrale. Fig. 10
Attention! Tenez le panneau des deux mains lorsque vous le démonze ou lorsque vous le remontez dans sa position pour éviter qu'il ne tombe et cause des dégats matériels ou physiques.
Démontage:
Tirez le panneau (PARTIE AVANT) fermement vers le bas et decrochez-le des charnières arrirées.
Nettoyage:
Le panneau d'aspiration doit être nettoyé avec la même fréquence que le filtré à graisses. Utilisez pour cela un chiffon imbibé de détergent liquide neutre.
Évitez l'utilisation de produits contenants des abrasifs. NE JAMAIS UTILISER D'ALCOOL!
Assemblage:
Le panneau s'accroche d'abord par les charnières à l'arrière, puis se fixe à l'avant par verrouillage des ergots prévus à cet effet et places sur la surface de la hotte.
Attention! Toujours vérifie que le panneau est bien fixé et bien positionné.
Filtre à graisses
Il doit être nettoyé une fois par mois manuellement ou au lave-vaisse à basse température et à cycle court avec des détergents non agressifs.
Lors du lavage au lave-vaisselle, le filtré àGRAISSES métallique peut se décolorer, mais ses caractéristiques de filtration ne sont absolument pas alterées.
Pour démonter le filtré àGRAISSES, poussez sur la poignée de verrouillage. Fig. 11


Entretien
Filtre à charbon (uniquement en version filtrante) Fig. 12
Ce filtré permet de retenir les odeurs désagréables provenant de la cuisson. Le filtré à charbon peut être lavé tous les deux mois à l'eau chaude et avec des déterments appropriés ou au lave-vaisselle sur un cycle à 65^ (en cas de lavage au lave-vaisselle, effectuez le cycle de lavage complet sansVAISSELA à l'intérieur).
Éliminez l'excedant d'eau sans abimer le filtré, puis placez-le dans le four pendant 10 minutes à 100^ pour le sécher complètement.
Remplacer la cartouche tous les 3 ans et chaque fois qu'elle s'avere endommagée.

Remplacement des ampoules Fig. 13
Débranche l'appareil.
Attention! Assurez-vous que les ampoules sont froides avant de les toucher.
- Retirez le couvercle de protection en faisant levier avec un petit tournevis plat ou un outil similaire.
- Remplacez l'ampoule grillée.
Utilisez uniquement des ampoules halogènes de 20 W max. (G4) en prénantsoon de ne pas les toucher avec les mains.
- Refermez le couvercle de protection (fixation à déclic).
Si I'éclairage ne fonctionne pas, contrôle que les ampoules sont correctement montées dans leur emplacement avant de contacter le service après.

Service ÀpRES-vente
Service Diagnostic des pannes
Votre hotte ne fonctionne pas. Avant de contacter le Service ÀpRES-vente, merci de vérifier les points suivants:
- La fiche est-elle bien enforcée dans la prise de courant?
- Y a-t-il une coupure de courant?
La hotte n'aspire pas suffisamment:
Avez-vous aussi la bonne vitesse?
- Les filtres doivent-ils être lavés ou remplacés?
- Les sorties d'air ne sont-elles pas obstruées?
L'ampoule ne s'allume pas:
L'ampoule ne doit-elle pas etre remplacede?
L'ampoule a-t-elle ete montee correctement?
Avant de contacter le Service Avec-vente:
- Verifiez que vous ne pouvez pas éliminer vous même le problème (voir "Diagnostic des pannes").
- Arrétez la hotter quelques minutes puis faites-la redémarrer.
- Si l'anomalie persiste, contactez alors le Service
Après-vente.
Lors de votre appel au Service Avec-vente, indiquez:
- le type de panne
- le modele du produit inscrit sur la plaque signalétique placé à l'intérieur de la hotte, visible une fois les filtres àGRAisses reliés
-ète adressécomplete
- nombre de téléphone
- le nombre de service (numéro qui se trouve sous le mot SERVICE, sur la plaque signalétique place à l'intérieur de la hotte, derrière le filtre àGRAISSES).
Si la hotte doit être réparée, adressez-vous à un Service ÀpRES-vente agree. Vous aurez ainsi la garantie que les pieces défectueuses seront remplacées par des pieces d'origine et que la réparation de votre apparéil sera effectuee correctement.
Le non-respect des instructions ci-dessus pourrait promprometre la sécurité et la qualite du produit.
SERVICE 0000 000 00000

Notice Facile