HTI 1601 PRES EXPERT - Hydropulseur dentaire SPORT ELEC - Notice d'utilisation et mode d'emploi gratuit
Retrouvez gratuitement la notice de l'appareil HTI 1601 PRES EXPERT SPORT ELEC au format PDF.
| Type d'appareil | Jet dentaire |
| Fonction principale | Nettoyage interdentaire par jet d'eau |
| Alimentation | Électrique |
| Réservoir d'eau | Intégré, capacité moyenne |
| Modes de pression | Plusieurs niveaux réglables |
| Accessoires inclus | Embout buccal standard |
| Utilisation | Usage domestique |
| Matériau du corps | Plastique durable |
| Dimensions | Compact et stable |
| Poids | Léger |
| Entretien | Nettoyage facile |
| Sécurité | Protection contre les éclaboussures |
| Garantie | Non précisé |
| Origine | Fabriqué en France |
FOIRE AUX QUESTIONS - HTI 1601 PRES EXPERT SPORT ELEC
Questions des utilisateurs sur HTI 1601 PRES EXPERT SPORT ELEC
0 question sur cet appareil. Repondez a celles que vous connaissez ou posez la votre.
Poser une nouvelle question sur cet appareil
Téléchargez la notice de votre Hydropulseur dentaire au format PDF gratuitement ! Retrouvez votre notice HTI 1601 PRES EXPERT - SPORT ELEC et reprennez votre appareil électronique en main. Sur cette page sont publiés tous les documents nécessaires à l'utilisation de votre appareil HTI 1601 PRES EXPERT de la marque SPORT ELEC.
MODE D'EMPLOI HTI 1601 PRES EXPERT SPORT ELEC
- Avant la mise en marche de votre jet dentaire, lisez attentivement ce mode d'emploi. Il contient des informations importantes concernant l'utilisation, la sécurité et l'entretien de votre appareil.
- Conservez cette notice pour vous y reporter ultérieurement si nécessaire. L'appareil doit être alimenté par l'intermédiaire d'un dispositif à courant différentiel résiduel (DDR) ayant un courant nominal de déclenchement n'excédant pas 30 mA.
- Utilisez cet appareil uniquement avec du courant alternatif 100-240V AC 50/60Hz, vérifiez avant de le brancher que la tension du réseau correspond à celle mentionnée sur la plaque signalétique du produit. L'appareil ne doit être branché que sur un réseau électrique dont l'installation est conforme aux normes de sécurité.
- Ce jet dentaire peut être utilisé par des enfants (à partir de 8 ans) et par des personnes ayant des capacités physiques, sensorielles ou mentales réduites uniquement sous la surveillance d'un adulte responsable, et en ayant dispensé une instruction préalable concernant l'utilisation correcte et sécurisée de cet appareil. Le nettoyage et la maintenance de l'appareil ne peuvent être effectués par des enfants sans surveillance.
- Ne pas laisser les enfants jouer avec cet appareil. En cas d'anomalie pendant l'utilisation, de panne ou si l'appareil ou son cordon d'alimentation sont endommagés, éteignez et débranchez l'appareil.
- Avant tout nettoyage, entretien ou maintenance, ainsi qu'après toute utilisation, éteignez et débranchez l'appareil.
- Ne laissez pas pendre le cordon sur le rebord d'une table, sur des arêtes vives. Tenez l'appareil à l'écart des sources de chaleur. N'utilisez une rallonge pour votre cordon que si elle est appropriée et en parfait état.
- Ne débranchez jamais en tirant sur le cordon.
- Ne laissez pas l'appareil à la portée des enfants.
N'utilisez pas votre appareil dans un environnement particulièrement humide (sauna, hammam), et à proximité de machines électriques reliées au secteur et à la terre, voire une tuyauterie reliée à la terre. N'immergez jamais l'appareil dans l'eau ou dans d'autres liquides. N'utilisez pas l'appareil à l'extérieur. - Ne posez pas l'appareil lorsqu'il est en fonctionnement. - N'utilisez pas d'accessoires autres que ceux fournis avec leur appareil. Avant de monter ou de démonter les accessoires, débranchez et éteignez l'appareil. - Ne faites pas fonctionner l'appareil en présence d'explosifs ou de fumées. Toute intervention ou réparation doit être effectuée par un réparateur agréé : des réparations non professionnelles peuvent être à l'origine de dangers pour l'utilisateur. - Utilisation de l'appareil prévue pour un usage domestique. Une utilisation non ajustée et non conforme au mode d'emploi annulera la garantie et ne peut engager la responsabilité du fabricant.
Raccordement de l'appareil
La base peut être raccordée à n’importe quelle prise de courant alternatif 100-240V AC 50/60Hz, y compris les prises pour rasoirs. Le bloc d'alimentation peut légèrement chauffer pendant l'utilisation ; ceci n'a aucune incidence sur son fonctionnement.
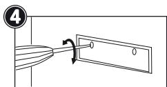
Installation support MURAL





- Choisir un emplacement sur un mur éloigné des sources d'humidité (douche, lavabo...) et proche d'une prise secteur.
- Faire les trous pour les deux vis qui serviront à fixer la plaque fournie (penser à utiliser les vis et chevilles adaptées à votre mur). Fixer la plaque en la vissant sur votre mur. Emboiter l'arrière de votre jet dentaire sur celle-ci.
- Vérifier que votre jet dentaire est bien stable. VOIR croquis ci-contre.
Mode d'emploi.
1. Enlevez le réservoir. Faites attention de bien tenir la base en place d'une main, tandis que vous soulevez le réservoir de l'autre main. Remplissez le réservoir d'eau et replacez-le sur l'appareil. 2. Branchez l'appareil à la prise de courant.
Note: Avant le premier usage, rincez l'appareil en laissant passer un réservoir complet d'eau. Si l'appareil est utilisé avec une solution dentaire, il faut rincer l'appareil avec de l'eau pure après chaque utilisation afin d'enlever les résidus eventuels. Si l'appareil n'a pas été utilisé pendant un certain temps, il est conseillé, pour des raisons d'hygiène, de suivre les instructions pour l'emploi initial et de laisser passer un réservoir complet d'eau.
- Choisissez une tête jet dentaire et placez-la sur la poignée en la faisant pivoter jusqu'à la butée.
- Mettez l'appareil en marche en appuyant sur le bouton «marche/arrêt » (situé sur la base de celui-ci), penchez-vous sur le lavabo et mettez la tête du jet dentaire dans votre bouche. Mettez le bouton "arrêt/ marche eau" (situé sur la poignée du jet dentaire) dans la position "on" (l). Note : Gardez votre bouche légèrement ouverte et tenez votre coude levé à hauteur de votre bo i. Vous pouvez augmenter la pression graduellement afin de trouver la pression la plus confortable (du voyant 1 allumé au voyant 4 allumé pression à 5 bar).
- lé de commencer avec vos dents arrière puis de revenir vers l'avant de la dentition.
- gnez l'appareil en appuyant sur le bouton «marche / arrêt » O sur la base de celui-ci. Enlevez la tête et replacez-la dans le compartiment de rangement. Enlevez tout liquide de l'appareil. Otez la fiche de la prise de courant.
Note: ne jamais laisser l'appareil dans la position 'on' (I) quand celui-ci n'est pas utilisé. La pression d'eau continue à se former et pourra endommager l'appareil. Mettez tous les boutons 'marche/arrêt eau' de votre jet dentaire et le bouton 'marche/arrêt' de la base dans la position éteinte quand l'appareil n'est pas utilisé.
Protection de l'environnement
Dans un souci de préservation de l'environnement, nous vous prions de ne pas jeter votre appareil aux ordures ménagères. Il existe des points de recyclage et de traitement des déchets officiels et adaptations.
Contenu du PACK.
1 jet dentaire 4 canules 1 adaptateur secteur 1 kit de fixation murale
Garantie 2 ans

Lorsque vous vous séparez de votre produit en fin de vie, veillez à respecter la réglementation nationale. Nous vous remercions ainsi de le déposer à un endroit prévu à cet effet afin d'assurer son élimination de façon sûre dans le respect de l'environnement.






Fabriqué en RPC.
Pression EXPERT [réf. HTI-1601]
Nom / Name / Name / Nombre / Naam
Adresse / Anschrift / Address / Dirección / Adres
Code Postal / Postleitzahl / Postcode / Código Postal
Ville / Stadt / City / Ciudad / Stad
Défaut constaté / Defecto advertido / Waargenomen defecten / Festgestellte Mängel / Observed defect :
Date d'achat / Einkaufsdatum / Date of purchase / Fecha de compra / Verkoopsdatum.
CACHET DU REVENDEUR / STEMPEL VOM HÄNDLER / STAMP OF RETAILER / SELLO DEL VENDEDOR / STEMPEL VAN DE VERKOPER
En cas de panne, returnez l'appareil accompagné de cette carte de garantie à votre revendeur. Im Garantiefall, senden Sie das Gerät mit der Garantiekarte an unsere Kundendienstelle. In case of damage, please return appliance and warranty card to your retailer. En caso de defectos, por favor entregue al vendedor el equipo junto con esta garantía. In geval van defect stuur het artikel terug maar de verkoper vergezeld van deze garantiekaart.
Notice Facile