PDK-TSO5 - Accessoire audio PIONEER - Notice d'utilisation et mode d'emploi gratuit
Retrouvez gratuitement la notice de l'appareil PDK-TSO5 PIONEER au format PDF.
| Type d'appareil | Support de table |
| Usage principal | Support pour écran |
| Matériau | Non précisé |
| Couleur | Non précisé |
| Dimensions | Non précisé |
| Poids | Non précisé |
| Compatibilité | Écrans de table standards |
| Installation | Pose sur table |
| Mobilité | Fixe |
| Réglages | Non précisé |
| Accessoires inclus | Non précisé |
| Marque | Non précisé |
| Modèle | Non précisé |
| Poids supporté | Non précisé |
| Garantie | Non précisé |
FOIRE AUX QUESTIONS - PDK-TSO5 PIONEER
Questions des utilisateurs sur PDK-TSO5 PIONEER
0 question sur cet appareil. Repondez a celles que vous connaissez ou posez la votre.
Poser une nouvelle question sur cet appareil
Téléchargez la notice de votre Accessoire audio au format PDF gratuitement ! Retrouvez votre notice PDK-TSO5 - PIONEER et reprennez votre appareil électronique en main. Sur cette page sont publiés tous les documents nécessaires à l'utilisation de votre appareil PDK-TSO5 de la marque PIONEER.
MODE D'EMPLOI PDK-TSO5 PIONEER
PDK-TS05
Nous vous remercions d'avoir choisi un produit Pioneer. Veuillez lire attentivement ce mode d'emploi pour savoir comment utiliser correctement et en toute sécurité votre support. Nous vous conseillons de conserver soigneusement ce mode d'emploi à proximité et dans un endroit sûr afin de pouvoir vous y référer le cas échéant.
Installation
- En cas de difficultés, veuillez consulter votre revendeur.
- Pioneer ne saura être tenu responsable d’aucun dommage résultant d’une installation ou d’une utilisation incorrecte de ce produit, de sa modification ou encore de catastrophes naturelles.
Table des matières
Attention 25
Vérification des pièces contenues dans le carton d'emballage 26
Tableau : Colonnes de support/AVEC ou sans pièces d'écartement 26
Assemblage du support 27
Installation et fixation de l'écran plasma 28
Mécanisme d'ajustement de l'angle d'inclinaison en avant et en arrière 29
Installation du produit sur une étagère, etc. 30
Préparation des câbles 31
Prévenir le basculement et la chute de l'équipement... 32
Démontage de l'écran plasma du support 33
Spécificités 33
Schéma indiquant les dimensions 33

Attention
Ce symbole indique un danger ou une pratique dangereuse susceptible de provoquer des dommages corporels ou matériels.
Attention
Ce produit est un support conçu exclusivement pour les écrans plasma Pioneer (PDP-505XDE / PDP-505HDE / PDP-505HDG / PDP-435XDE / PDP-435HDE / PDP-435FDE / PDP-435HDG / PDP-504HD / PDP-5040HD / PDP-504HDE / PDP-504HDG / PDP-504HDC / PDP-5045HD / PDP-434HD / PDP-4340HD / PDP-434HDE / PDP-434HDG / PDP-434HDC / PDP-4345HD). L'utilisation de ce produit avec un autre modèle peut être à l'origine d'un manque de stabilité pouvant entraîner une blessure. Pour de plus amples informations, veuillez contacter le magasin où vous avez acheté votre écran.
N'installez pas le produit d'une manière autre que celle qui est spécifiée ni le modifier. En outre, n'utilisez pas ce support pour un écran plasma autre que ceux pour lesquels il a été créé et ne le modifiez pas ou ne l'utilisez pas à des fins autres que celles pour lesquelles il a été créé.
Une installation incorrecte est extrêmement dangereuse car elle peut provoquer la chute du support ou un autre accident.
Lieu d'installation
- Sélectionnez un emplacement assez solide pour supporter le poids du support et de l'écran. Assurez-vous de placer le produit à un emplacement stable et plat.
- N'installez pas le support à l'extérieur, à proximité d'une source thermale ou sur une plage.
- N'installez pas le support à un endroit où il pourrait être soumis à des chocs ou à des vibrations.
Montage et installation
- Montez le support en suivant les instructions et vissez solidement toutes les vis aux endroits prévus à cet effet. Des accidents ont été constatés (casse, chute du matériel, etc.) après l'installation de l'écran parce que le support n'avait pas été installé conformément aux instructions.
- Pour une bonne installation, l'écran doit toujours être installé par au moins deux personnes.
- Avant de procéder à l'installation, mettez l'écran ainsi que les équipements périphériques hors tension en coupant l'alimentation, puis retirez la prise du câble d'alimentation de la prise murale.
Ce produit pivote vers la gauche et s'incline en avant et en arrière.
Veillez à ne pas placer d'objets à l'intérieur du champ de rotation de telle sorte que durant l'utilisation habituelle ou la rotation du produit, rien ne dépasse de l'étagère ou de l'emplacement sur lequel il a été installé. Sans cela, des accidents pourraient survenir, entraînant la détérioration de l'appareil ou sa chute (Voir page 30).
Il convient de prévenir les accidents causés par la chute du produit en prenant des mesures fiables pour éviter toute chute (Voir page 32).
Vérification des pièces contenues dans le carton d'emballage
Cette vérification vous permettra de vous assurer que vous possédez bien toutes les pièces nécessaires avant de réaliser le montage et l'installation du support.
- Support de couverture de table x 1 unité
- Colonnes de support S x 2 unités [Colonnes courtes]
- Colonnes de support L x 2 unités [Colonnes longues]
- Pièces d'écartement x 2 unités
- Serre-cables x 2 unités - Vis d'installation ① (M8 x 16 mm : argentée) x 4 unités
vis pour fixer les colonnes de support et le support de l'éventuelle table
Vis d'installation ③ (M8 x 40 mm : noir) x 2 unités
- Vis d'installation ②
(M8 x 30 mm : noir) x 2 unités
- Clé hexagonale (à six pans) x 1 unité
clé hexagonale : 6 mm)
- Clé hexagonale x 1 unité (10 mm)

Mode d'emploi (ce document) x 1 exemplaire
Tableau : colonnes de support/avec ou sans pièces d'écartement
Les différentes parties de ce support à utiliser varient en fonction des haut-parleurs que vous avez achetées et de leur installation par rapport à l'écran plasma. Veuillez sélectionner les parties que vous allez utiliser en vous reportant au tableau suivant.
| Numérodes haut-parleurs combinées | Lieud installation des haut-parleurs | Colonnes de support S(Colonnes courtes) | Colonnes de support L(Colonnes longues) | Pièces d'écartement |
| Nonutilisées | - | Utilisation recommende | Peuvent être utilisées* | Ne peuvent pas être utilisées |
| PDP-S21-LPRDP-S22-LR | De part et d'autresde l'écran plasma(ou alors enceintes non utilisées) | Utilisation recommende | Peuvent être utilisées* | Ne peuvent pas être utilisées |
| Au bas de l'écran plasma | Ne peut pas être utilisées | Autiliser | Autiliser | |
| PDP-S25-LPRDP-S26-LR | De part et d'autresde l'écran plasma(ou alors enceintes non utilisées) | Utilisation recommende | Peuvent être utilisées* | Ne peuvent pas être utilisées |
Peuvent être utilisées lorsque l'écran est placé en hauteur.
Remarques
- Pour monter le support, travaillez toujours sur une surface plane.
- Introduisez les vis à la verticale et ne les serrez pas plus que nécessaire.
1 Sélectionnez les colonnes de support à fixer.
Sélectionnez les colonnes de support en fonction de l'emplacement des haut-parleurs que vous avez achetées et d'après les indications ci-dessous (un seul des deux yeux de colonnes doit être utilisé).
Si vous avez acheté des haut-parleurs PDP-S25-LR et le PDP-S26-LR.
Colonnes de support utilisées : colonnes de support S (Colonnes courtes)

Si vous avez acheté des haut-parleurs PDP-S21-LR et le PDP-S22-LR.
En cas d'installation des haut-parleurs de part et d'autre de l'écran plasma.
[Colonnes de support utilisées : colonnes de support S (Colonnes courtes)]

En cas d'installation des haut-parleurs à la base de l'écran plasma. [Colonnes de support utilisées : colonnes de support L (Colonnes longues)]
Remarque
Les haut-parleurs PDP-S25-LR et le PDP-S26-LR ne peuvent être installées au bas de l'écran plasma.

2 Fixez les colonnes sur le support à l'aide des vis d'installation ① (2 sur le côté gauche et 2 sur le côté droit).
À l'aide de la clé hexagonale fournie, vissez légèrement les vis en commençant par celle du haut.


Installation et fixation de l'écran plasma

Attention
Le poids d'un écran plasma 50 pouces est d'environ 40kg et celui d'un modèle 43 pouces d'environ 30kg. Leur largeur étant limitée, ils ne sont pas stables. Par conséquent, ils doivent toujours être installés par deux personnes à la fois.
Remarques
- Montez toujours l'écran plasma sur une surface plane et stable.
- Introduisez les vis à la verticale et ne les serrez pas plus que nécessaire.
- Veillez à bien installer les colonnes en fonction de l'emplacement des haut-parleurs que vous avez achetées et en suivant la marche à suivre décrite dans le chapitre Montage du support.
1 Installation de l'écran plasma sur le support.
Mettez les colonnes de soutien en place au bas de l'écran plasma comme indiqué par les flèches, puis insérez-les lentement à la verticale. Veillez à ne pas insérer les colonnes ailleurs que dans les fentes prévues à cet effet. Cela risquerait d'endommager l'écran, ses ports ou encore le support.

2 Fixez solidement l'écran plasma avec les vis d'installation ②.
Vissez solidement celles-ci au moyen de la clé hexagonale fournie avec le support.


3 Fixez solidement l'écran plasma avec les vis d'installation ③.
Fixez l'écran plasma aux endroits indiqués par les flèches à l'aide de la vis hexagonale fournie.

4 Insertion des pièces d'écartement.
Insérez les pièces d'écartement dans les orifices de la plateforme rotative du support.

Remarque
Ne pas utiliser la pince d'écartement si les haut-parleurs doivent être fixées des deux côtés de l'écran plasma.
5 Mise en place des haut-parleurs.
Pour la méthode d'installation, reportez-vous au mode d'emploi des haut-parleurs.
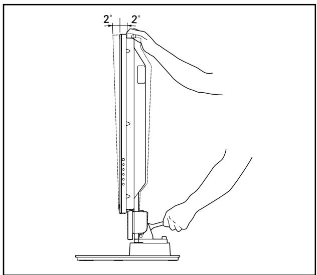
Mécanisme d'ajustement de l'angle d'inclinaison en avant et en arrêté
Sur ce support, vous pouvez ajuster l'angle d'inclinaison de l'écran plasma de en avant ou en arrêté en fonction de vos préférences.
Remarques
- Veuillez ajuster l'angle uniquement après avoir fixé l'écran plasma. Assurez-vous de l'installer sur une table plane ou toute autre surface plane. Assurez-vous de tenir le haut de l'écran plasma entre vos mains lorsque vous ajustez l'angle.
1 Desserrez les boulons d'ancrage servant à régler l'inclinaison en avant et en arrière à l'aide de la clé hexagonale fournie.
En vous assurant de tenir le haut de l'écran plasma entre vos mains, d êté, sur le côté gauche et sur le côté droit, en les tournant vers le haut à l'aide de la clé hexagonale fournie.

2 Choisissez l'angle que vous préférez.
Choisissez l'angle que vous préférez en manipulant doucement l'écran plasma.

3 Serrez les boulons d'ancrage servant à régler l'inclinaison en avant et en arrêté.
Serrez fermement les boulons d'ancrage servant à régler l'inclinaison en avant et en arrêté, sur le côté gauche et sur le côté droit, en les tournant vers le bas à l'aide de la clé hexagonale fournie. Assurez-vous de tenir le haut de l'écran plasma entre vos mains jusqu'à ce que les boulons soient complètement serrés.

Installation du produit sur une étagère, etc.
Les précautions suivantes doivent être strictement observées lorsque vous déplacez ou installez le produit avec un écran plasma sur une étagère ou dans un espace limité.
Précautions à respecter lors du déplacement du produit

- Avant de déplacer l'appareil sur plusieurs mètres, démontez les haut-parleurs. Séparez également l'écran plasma de son support et transportez chaque partie séparément.
- Lorsque vous démontez l'écran plasma du support, assurez-vous de suivre la procédure décrite dans la partie « Démontage de l'écran plasma du support » à la page 33.
Précautions à respecter en cas d'installation de l'appareil sur une étagère ou à tout autre endroit où l'espace est restreint

Lors de l'installation de l'appareil sur une étagère ou dans un endroit exigu, tenez l'écran plasma par les poignées à l'arrière et par le fond. Si vous le soulevez par les haut-parleurs, ces derniers risqueraient d'être endommagés ou de se tordre.
En cas d'installation des haut-parleurs de part et d'autre de l'écran plasma
Tenez l'écran plasma par ses poignées et par le fond.

En cas d'installation des haut-parleurs à la base de l'écran plasma
Tenez l'écran plasma par les poignées et par les côtes.

Précautions d'installation
Veillez à toujours maintenir devant et derrière le support un espace au moins égal à celui qui est indiqué sur le schéma ci-dessous.


- Tout dépassement de l'étagère risquerait de provoquer la détérioration ou la chute de l'appareil.
- Lors des rotations du support, veillez à ce que l'écran n'entre pas en contact avec le mur ou avec les autres objets environnants.

Fourchette de l'angle de rotation

Fourchette d'ajustement des boulons d'ancrage servant à régler l'inclinaison en avant et en arrière

Préparation des câbles
Utilisez les serre-câbles pour regrouper les câbles.
Remarque
Veillez à ne pas forcer la base des câbles.
En cas d'installation des haut-parleurs de part et d'autre de l'écran plasma

En cas d'installation des haut-parleurs à la base de l'écran plasma

Utilisation des serre-câbles
1 Passez un serre-câbles dans le support de serre-câbles situé sur la partie supérieure de la plate-forme rotative du support.

2 Rassemblez les câbles et placez-les dans le serre-câbles.

3 Faites passer le serre-câbles dans l'orifice situé à son extrémité.

4 Tirez sur l'extrémité du serre-câbles pour bloquer les câbles.

Retrait d'un serre-câbles
Quand la partie bloquée est retirée de l'orifice du serre-cables, elle est débloquée.

Prévenir le basculement et la chute de l'équipement
Après avoir installé le support, veillez à prendre les précautions nécessaires pour qu'il ne tombe pas.
Stabilisation sur la base
Stabilisez le support comme indiqué sur le schéma à l'aide de vis vendues dans le commerce.
Remarque
Afin de stabiliser l'équipement sur le sol, utilisez des vis de 6 mm de diamètre nominal et d'au moins 20 mm de long.


Unité : mm

Modèle d'écran 43 pouces comme indiqué sur la figure
Fixation des boulons empêchant la chute (crochets) sur l'écran plasma. Utilisation de câbles solides ou de chaînes pour stabiliser solidement le dispositif sur un mur, un pilier ou d'autres éléments stables.
- Ces opérations doivent être effectuées de la même manière à gauche et à droite.
- La longueur des câbles ou des chaînes utilisés doit être suffisante pour permettre au support de tourner librement sur sa base.
Remarque
Utiliser des crochets, des chaînes ou d'autres dispositifs de fixation en vente dans le commerce.
Crochet recommandé: Diamètre nominal 8 mm, longueur de 12 à 15 mm.


Fixation de la rotation à l'avant
Stabilisez le support comme indiqué sur le schéma à l'aide de vis vendues dans le commerce.
Remarque
Utilisez une vis de 4mm de diamètre et longue de 15 à 20 mm afin de fixer la rotation à l'avant.


Démontage de l'écran plasma du support

Lorsque vous démontez l'écran plasma de son support, observez strictement la procédure indiquée ci-dessous afin d'éviter les accidents.
1 Assurez-vous d'abord que les boulons d'ancrage servant à l'inclinaison en avant et en arrêt sont serrés correctement. 2 Faites d'abord de la place sur une surface plane, etc. où vous pouvez laisser l'écran plasma à plat, puis déposez une feuille afin de le protéger des rayures et autres dégâts éventuels. 3 Retirez les haut-parleurs.
4 En vous référant aux opérations 2 et 3 décrites dans le chapitre Installation et fixation de l'écran plasma (p. 28), retirez les 4 vis noires. Remarque Ne retirez pas les boulons argentés, sinon les colonnes de support risquent de bouger de place et de tomber. 5 Tout en le tenant par ses poignées et par le fond, placez l'écran à la verticale. 6 Placez l'écran plasma avec soin sur la feuille citée lors de l'étape 2, l'écran regardant vers le bas.
Remarque
Lorsque vous remontez l'écran plasma sur le support, assurez-vous d'installer les colonnes de support de gauche et de droite en respectant le même angle.
Spécificités
Dimensions extérieures : 577 (largeur) x 351 (hauteur) x 380 (profondeur) mm (en cas d'utilisation de colonnes de support L) Poids : 9,5 kg
- Les caractéristiques techniques indiquées ci-dessus ainsi que les dimensions extérieures peuvent être modifiées sans avis préalable en vue d'améliorer le produit.
Unité : mm
Les mesures de l'illustration ne comprennent pas les fixations destinées aux haut-parleurs.
Installation des haut-parleurs PDP-S25-LR et le pdp-s26-lr
- En cas d'utilisation des colonnes de support L, la hauteur est de 910 mm (écran de 50 pouces) et de 825 mm (écran de 43 pouces).
1 Montage pivotant : attachées pour permettre les ajustements de l'angle de l'enceinte 2 Montage à ras : attachées afin de fixer l'angle de l'enceinte et de rendre le système plus compact en largeur.
En cas d'installation des haut-parleurs de part et d'autre de l'écran plasma
- En cas d'utilisation des colonnes de support L, la hauteur est de 910 mm (écran de 50 pouces) et de 825 mm (écran de 43 pouces).
En cas d'installation des haut-parleurs à la base de l'écran plasma

1. PDP-505XDE/505HDE/505HDG/435XDE/435HDE/435FDE/435HDG 2. PDP-504HD/5040HD/504HDE/504HDG/504HDC/5045HD/434HD/4340HD/434HDDE/434HDG/434HDC/4345HD

- En cas d'utilisation des colonnes de support L, la hauteur est de 910 mm (écran de 50 pouces) et de 825 mm (écran de 43 pouces).
1...... PDP-505XDE/505HDE/505HDG/435XDE/435HDE/435FDE/435HDG 2...... PDP-504HD/5040HD/504HDE/504HDC/5045HD/434HD/4340HD/434HDE/434HDG/434HDC/4345HD
Notice Facile