EV 107 DFI IVOIRE - Chauffe-eau électrique FRATELLI ONOFRI - Notice d'utilisation et mode d'emploi gratuit
Retrouvez gratuitement la notice de l'appareil EV 107 DFI IVOIRE FRATELLI ONOFRI au format PDF.
| Type d'appareil | Four micro-ondes |
| Consignes environnementales | Respecter les consignes locales de tri et recyclage |
| Protection des enfants | Surveillance recommandée lors de l'utilisation par des enfants |
| Garantie | Garantie limitée, détails dans la documentation |
| Service après-vente | Disponible via le fabricant ou distributeur |
| Précautions d'utilisation | Ne pas utiliser l'appareil si la porte est endommagée |
| Nettoyage | Utiliser un chiffon humide, éviter les produits abrasifs |
| Installation | Respecter les instructions pour éviter les risques électriques |
| Alimentation électrique | Non précisé |
| Puissance | Non précisé |
| Capacité | Non précisé |
| Matériaux | Non précisé |
| Consignes de sécurité | Ne pas insérer d'objets métalliques |
| En cas d'incendie | Couper l'alimentation et ne pas ouvrir la porte |
| Recyclage | Respecter les consignes locales pour déchets électroniques |
| Accessoires | Non précisé |
| Durée de vie estimée | Non précisé |
FOIRE AUX QUESTIONS - EV 107 DFI IVOIRE FRATELLI ONOFRI
Questions des utilisateurs sur EV 107 DFI IVOIRE FRATELLI ONOFRI
0 question sur cet appareil. Repondez a celles que vous connaissez ou posez la votre.
Poser une nouvelle question sur cet appareil
Téléchargez la notice de votre Chauffe-eau électrique au format PDF gratuitement ! Retrouvez votre notice EV 107 DFI IVOIRE - FRATELLI ONOFRI et reprennez votre appareil électronique en main. Sur cette page sont publiés tous les documents nécessaires à l'utilisation de votre appareil EV 107 DFI IVOIRE de la marque FRATELLI ONOFRI.
MODE D'EMPLOI EV 107 DFI IVOIRE FRATELLI ONOFRI
Ne pas jeter l'emballage de notre appareil aux ordures, mais sélectionner les différents matériaux (par ex. tôle, carton, polystyrène) selon les prescriptions locales pour l'élimination des déchets.
Ce produit répond aux exigences des Directives Communautaires:
- 73/23/CEE relative à la "basse tension".
- 89/336/CEE relative aux "perturbations électromagnétiques".
- 90/396/CEE relative aux "appareils à gaz"
- 89/109/CEE relative aux "matériaux en contact avec les alimentés".
- En outre, les directives mentionnées sont conformes à la Directive 93/68/CEE.
- Cet appareil devra être exclusivement destiné à l'utilisation pour laquelle il a été expressément projeté, en tant "qu'appareil de cuisson" domestique.
- Nous vous invitons à lire attentivement ces instructions avant d'utiliser l'appareil et de les conserver soigneusement afin de les consulter en cas de besoin.
- Le matériel d'emballage (sacs en plastique, morceaux de polystyrène, etc…) doit être tenu hors de portée des enfants car il constitue une source potentielle de danger.
Garantie
Votre nouvel appareil est couvert par une garantie.
Le certificat relatif se trouve ci-joint.
S'il manque, besoin de le à l'autre revendeur, en spécifiant la date d'achat, le moyen et le numéro matricule imprimés sur la plaquette d'identification placée dans le tiroir inférieur de l'appareil.
Conservez la partie qui Vous est destinée. Celle-ci doit être montrée, en cas de nécessité, au personnel du Service Assistance Technique avec la relative facture d'achat.
Si Vous ne suivez pas cette procédure, le personnel technique sera obligé de Vous débiter toutes les éventuelles réparations.
Service assistance technique
Cet appareil, avant de sortir de l'usine, a été essayé et réglé par du personnel expert et spécialisé, afin de pouvoir donner les mêmes résultats de fonctionnement.
Toute réparation ou mise au point, qui pourrait ensuite se rendre nécessaire, doit être effectuée avec le plus grand soin et beaucoup d'attention.
Pour cette raison, nous conseillons de vous adresser toujours au revendeur ou à notre Centre Assistance plus proche, en spécifiant le type d'incovenient et le modèle de votre appareil.
Cet appareil porte le symbole du recyclage conformément à la Directive Européenne 2002/96/CE concernant les Déchets d'Equipements Électriques et Électroniques (DEEE ou WEEE). En procédant correctement à la mise au rebut de cet appareil, vous contribuerez à empêcher toute conséquence nuisible pour l'environnement et la santé de l'homme.

- N'oubliez pas, avant d'utiliser l'appareil, d'enlever le film de plastique qui protège certaines pièces (tableau de bord, cadres en inox, etc).
- Ne pas utiliser l'appareil pour chauffer la pièce.
- Lorsque l'appareil n'est pas utilisé, débrancher le courant et fermer le robinet général du gaz.
En cas d'incendie
- En cas d'incendie, fermer le robinet général d'alimentation et couper le courant ; ne jamais jeter de l'eau sur l'huile enflammée ou en train de frire.
- Ne pas garder de produits inflammables ou de bouteilles d'aérosol près de l'appareil et ne pas vaporiser d'aérosol près d'un brûleur allumé.
Pour votre SURETE et CELLE de vos enfants.
- Eviter de garder dessus ou près de l'appareil des produits attractifs pour les enfants.
- Garder les enfants loin de l'appareil: ne pas oublier que certaines parties de l'appareil ou des casseroles utilisées deviennent très chaudes et dangereuses tant pendant le fonctionnement que pendant le temps nécessaire au refroidissement après l'extinction.
- Faire attention aux poignées des casseroles, disposez-les de façon que les jeunes enfants ne fassent pas tomber les casseroles.
- Ne mettez pas de vêtements ou d'accessoires amples lorsque les brûleurs sont allumés ; l'incendie du textile peut être cause de graves blessures.
Attention - FOUR:
Lorsque le four ou le grilloir sont en fonction, les parties accessibles peuvent être très chaudes, il faut éloigner les jeunes enfants de l'appareil.
- Eviter de cuire les aliments sur la base du four.
- En cas d'utilisation négligente en proximité des châssis de la porte du four, il existe le danger de se blesser les mains.
- Interdire aux enfants de s'asseoir ou de jouer avec la porte du four. Ne pas utiliser la porte comme un tabouret.
TIROIR Inferieur
N'introduisez pas de matériaux inflammables ou en plastique dans le chauffe-plats (positionné au-dessous du four).
Utilisation des bruleurs a gaz
Les symboles suivants se trouvent sur le bandeau de commande, près de chaque bouton:
- Disque plein robinet fermé
- Grande flamme ouverture maximale
- Petite flamme ouverture minimale
La position minimum se trouve à la fin de la rotation en sens inverse des aiguilles d'une montre de la manette.
Toutes les positions de fonctionnement doivent être choisies entre les positions de max. et de min., jamais entre max. et la fermeture.
Allumage MANUEL
Pour allumer l'un des brûleurs, approcher une allumette au brûleur, presser le bouton correspondant au brûleur préalablement choisi et le tourner dans le sens inverse des aiguilles d'une montre jusqu'à la position de maximum.
ALLUMAGE ELECTRIQUE (selon les modèles)
Pour allumer l'un des brûleurs, presser le bouton correspondant au brûleur préalablement besoini et le tourner dans le sens inverse des aiguilles d'une montre jusqu'à la position de maximum ; simultanément, actionner le bouton-poussoir de l'allumage électrique placé sur le tableau de bord et portant le symbole (2). Dans le cas où il n'y aurait plus de courant électrique, le brûleur pourra être allumé à l'aide d'une allumette.
ALLUMAGE ELECTRIQUE AUTOMATIQUE (selon les modèles)
Pour allumer l'un des brûleurs, presser le bouton correspondant au brûleur préalablement choisi et le tourner dans le sens inverse des aiguilles d'une montre jusqu'à la position de maximum. En maintenant pressée la manette, on mettra en fonction l'allumage électrique du brûleur.
Dans le cas où il n'y aurait plus de courant électrique, le brûleur pourrait être allumé à l'aide d'une allumette.
Appareils avec thermocouple de sécurité
Pour l'allumage des brûleurs, il est nécessaire d'effectuer les mêmes opérations décrites ci-dessus. Dans ce cas, une fois que les manéttes se trouvent en position d'ouverture, il est indispensable de continuer à appuyer sur la manette concernée pendant environ 10 secondes après l'allumage. Si la flamme devait s'éteindre une fois que vous relâchez la manette, le dispositif de sécurité bloquera le passage du gaz vers le brûleur concerné.
Economie d'energie
- Le diamètre du fond de la casserole doit correspondre au diamètre du brûleur. La flamme du brûleur ne doit jamais sortir du diamètre de la casserole. Utiliser toujours des casseroles à fond plat. - Cuire de préférence avec un couvercle. Cela permet d'utiliser des puissances plus basses.
- Cuire les légumes, pommes de terre, etc. avec peu d'eau pour économiser l'énergie et réduire les temps de cuisson.
Fig.1
| Bruleurs | Ø min | Ø max |
| -Rapide | 180mm | 220mm |
| -Semirapide | 120mm | 200mm |
| -Auxiliaire | 80mm | 160mm |
| -triple couron | 220mm | 260mm |
Utilisation du FOUR electrique
Quand le four est utilisé pour la première fois, il peut se produire de la fumée et une odeur acre, causée par le premier chauffage du colmatage des panneaux isolants autour du four (il est opportun de le chauffer à la température maximale pour une durée de 30-40 minutes à porte fermée). Il s'agit d'un phénomène absolument normal et, s'il s'était produit encore, il faudrait attendre que la fumée cesse avant d'introduire les aliments.
En général le four est équipé de : grille support pour la cuisson des préparations en casseroles ou bien posées directement sur la grille, l'écha- frite pour la cuisson des gâteaux, biscuits, etc. ou pour récapérer les jus et les matières grasses des alimentés placés directement sur la grille.
Note: dans les tableaux suivants, il y a les indications pour la cuisson de quelques préparations principales. Les temps de cuisson conseillés dans ces tableaux sont indicatifs. Nous sommes sûrs qu'après quelques essais, vous pourrez apporter les modifications nécessaires pour obtenir les résultats désirés.
Tableau de cuisson système traditionnel
| Preparations | Temp. °C. | Minutes |
| Poisson | 180-240 | suivant dim. |
| Vienne | ||
| Rôti de boeuf | 250 | 30 par kg. |
| Rôti de veau | 200-220 | 60 par kg. |
| Poulet | 200-240 | env. 50 |
| Canard ou oie | 220 | suivant poids. |
| Gigot de mouton | 250 | 30 par kg. |
| Rôti de porc | 250 | 60 par kg. |
| Soufflés | 200 | 60 par kg. |
| Gateaux | ||
| Cake | 160 | 50-60 |
| Biscuits de Savoie | 160 | 30-50 |
| Pâté brisée | 200 | 15 |
| Pâté feuilletée | 250 | 15 |
| Tarte aux fruits | 200-220 | 30 |
| Meringues | 100 | 60 |
| Gratin | 220 | 30 |
| Cake 4/4 | 120-140 | 60 |
| Brioches | 160-180 | 45 |
Tableau de cuisson à air chaud
| Préparations | Temp. °C. | Minutes | Poids kg. |
| Entrées | |||
| Lasagnes au four | 200-220 | 20-25 | 0,5 |
| Pâtés au four | 200-220 | 25-30 | 0,5 |
| Riz à la créole | 200-230 | 20-25 | 0,5 |
| Pizza | 210-230 | 30-45 | 0,5 |
| Viandes | |||
| Rôti de veau | 160-180 | 65-90 | 1-1,2 |
| Rôti de porc | 160-170 | 70-100 | 1-1,2 |
| Rôti de boeuf | 170-190 | 40-60 | 1-1,2 |
| Filet de boeuf | 170-180 | 35-45 | 1-1,5 |
| Roast-Beef | 180-190 | 40-45 | 1-1,5 |
| Rôti d'agneau | 140-160 | 100-130 | 1,5 |
| Poulet rôti | 180 | 70-90 | 1-1,2 |
| Canard rôti | 170-180 | 100-160 | 1,5-2 |
| Oie rôti | 160-180 | 120-160 | 3-3,5 |
| Dindo rôti | 160-170 | 160-240 | 5 env. |
| Lapin rôti | 160-170 | 80-100 | 2 env. |
| Lievre rôti | 170-180 | 30-50 | 2 env. |
| Poisson | 160-180 | d'après poids | |
| Gâteaux (Pâtisserie) | |||
| Tarte aux fruits | 180-200 | 40-50 | |
| Savarin | 160-180 | 35-45 | |
| Gâteau "Margherita" | 200-220 | 40-45 | |
| Pain de Genes | 200-230 | 25-35 | |
| Fouace au raisin | 230-250 | 30-40 | |
| Brioches | 170-180 | 40-60 | |
| Strûdel | 160 | 25-35 | |
| Feuillantines sucrees | 180-200 | 20-30 | |
| Beignets de pom. | 180-200 | 18-25 | |
| Flan biscuit Savoie | 170-180 | 30-40 | |
| Biscuits de Savoie | 150-180 | 50-60 | |
| Toasts | 230-250 | 7 | |
| Pain | 200-220 | 40 |
Le four est pourvu de :
- une résistance inférieure;
- une résistance supérieure.
En tournant dans le sens des aiguilles d'une montre la manette du thermostat, il est possible de sélectionner la température désirée dans le four et, selon les modèles, une ou plusieurs fonctions:
Four eteint
Lumière four
60÷MAX Branchement de la résistance supérieure et inférieure
Branchement de la résistance supérieure
Branchement de la résistance inférieure
Branchement du grilloir
(tournebroche selon les modèles)
Attention -
Le grilloir doit toujours être utilisé avec porte entrouverte (en correspondance du premier déclenchement de la charnière), et le déflecteur pour la protection des manettes installé (fig. 2).
Un témoin placé sur le tableau de bord reste allumé jusqu'à ce que la température soit atteinte, ensuite il s'allumera par intermittence.

Le four est pourvu de :
- une résistance inférieure;
- une résistance supérieure;
- une résistance circulaire qui entoure le ventilateur.
N. B.: Le branchement de n'importe quelle fonction a lieu toujours après avoir placé la manette du thermostat en correspondance de la température désirée.
Thermostat four
Tournez la manette dans le sens des aiguilles d'une montre pour sélectionner la température du four désirée, comprise entre 50 et MAX°C

Selecteur fonctions four
Tournez la manette dans le sens des aiguilles d'une montre pour sélectionner la fonction du four désirée

Un termeoin placé sur le tableau de bord restera allumé jusqu'à ce que la température soit atteinte, ensuite il s'allumera par intermittence.
Le four doit toujours être à la porte fermée.
Utilisation du four
Note: fours avec thermostat et commutateur séparés.
Lorsqu'on utilise les fonctions l placer la manette du thermostat entre 180÷ 200^ comme temperature maximale.
Attention:
La température indiquée sur le tableau de bord correspond à la température de maintenance au centre du four seulement quand les fonctions sélectionnées sont ou

Une fois tourné le bouton sur cette position, la lampe reste allumée pendant toutes les opérations qui seront.

Décongélation par ventilateur
Cette position permet la circulation de l'air pulé à la température ambiante tout au long de l'aliment surgelé, le décongelant sans modifier ou altérer son contenu protéique.

Branchement de la résistance inférieure et supérieure du four. Il s'agit de la cuisson traditionnelle, excellente pour rôir les gigots, idéale pour les biscuits, les pommes au four et pour que les aliments deviennent très croquants. On obtient de bons résultats pour les cuissons sur un niveau avec réglage de la température de 50 à MAX°C.

Cuisson par air pulsé
La résistance circulaire et le ventilateur sont en fonction. L'air chaud, réglable entre 50 et MAX°C, est poussé uniformément sur tous les étages du four. Ceci permet une cuisson idéale de plusieurs mets ensemble (viande, poisson, etc.) sans mélanger les différents odeurs et saveurs. Cuisson délicate indiquée pour Génoises, gâteaux de Savoie, pâtes feuilletées, etc.

Gril moyen
Par cette position, la résistance du gril moyen à l'infrarouge est en fonction. Ceci permet de griller ou gratiner les plats traditionnels de petites dimensions.

Grill
Par cette position, la résistance du grill à l'infrarouge est en fonction. Ceci peut griller ou gratiner les plats traditionnels. La manette du thermostat doit être placée en position 180 - 200°C

Grill ventilé
L'air, chauffé par la résistance du grill, est aspiré par le ventilateur et poussé sur les aliments. Le grill ventilé remplace remarquablement le tournebroche et il assure des résultats excellents avec volailles, saucisses et viandes rouges, même en quantité considérable. La manette du thermostat doit être placée sur la position 180 - 200°C.

Solevantile
L'air, réchauffé par la résistance inférieure, est aspiré par le ventilateur et passe sur les aliments. Cette fonction peut être utilisée pour stériliser les aliments. Cette fonction peut être utilisée entre 50 et MAX°C.
Utilisation du grilloir
Positionner la grille porte-plats au troisième gradin en partant du fond du four, à 12 cm à peu près de la surface rayonnante. Vous pouvez changer de gradin, suivant votre goût personnel et les nécessités des différents mets. Avant d'enfournier, laissez chauffer 5 minutes.

Tournebroche (selon les modèles)
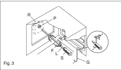
- Enfiler le poulet ou la pièce à rôtir sur la broche L en prenant bien soin de l'immobiliser entre les deux fourches F et de bien l'équilibrer afin d'éviter des efforts inutiles au moteur réducteur R. (fig. 3).
- Mettre la broche sur le support G, après avoir introduit son extrémité opposée dans le trou P du moteur R (fig. 3).
- Engager la lèchefrite avec un peu d'eau au-dessous de la broche.
- Mettre en place l'écran de protection S de manettes et placer la perte en position entre ouverte (voir fig. 2).
- Pour enlever la broche, opérez de la façon contraire, utilisant la manette S et un quant de protection en laine isolante (fig. 3).
Pour la mise en fonction du tournebroche, tourner la manette sur le symbole 1.

Caracteristiques
Horloge 24 heures avec programmation automatique et compteurs-minutes.
Fonctions
Durée de cuisson, fin de cuisson, position manuelle, horloge, compte à minutes, temps réglable jusqu'à 23 heures et 59 minutes.
Affichage des fonctions
Affichage lumineux à 4 chiffres pour indiquer l'heure et les temps de cuisson.
Durée de cuisson et fonction manuelle = symbole de la casserole
Fonction automatique = AUTO
Minuterie = symbole de la cloche
Une fonction est sélectionnée lorsque le symbole correspondant est affiché.
Fig. 4
| 23.58 | Minuterie sonore |
| Durée de cuisson | |
| Fin de cuisson | |
| Manuel | |
| Diminution du temps | |
| Augmentation du temps |
Programmation
La programmation s'effectue en appuyant sur le bouton de la fonction désirée. Après avoir relâché ce bouton, programmer le temps avec + et -
Boutons + et -
En appuyant sur les boutons + et -, le temps augmente ou diminue à une vitesse variable selon la durée de la pression sur le bouton.
Réglage de l'heure
Pour régler l'heure désirée, appuyer en même temps sur le bouton manuel et régler l'heure avec + ou -. Par cette opération, tous les programmes précédents sont éliminés. Le symbole AUTO clignote.
Fonctionnement en manuel
En appuyant sur le bouton de manuel, le symbole AUTO s'éteint, le symbole de casserole apparait. Le fonctionnement manuel a lieu seulement à la fin de la programmation automatique ou après que cette-ci a été annulée.
Fonctionnement automatique
En appuyant sur le bouton de durée ou de fin cuisson, le programmateur se commute automatiquement de la fonction manuelle à la fonction automatique.
Fonctionnement semi-automatique avec durée de cuisson
Appuyer sur le bouton de durée de cuisson et programmer le temps désiré avec + ou -. Le symbole AUTO et de durée de cuisson apparaissant en permanence. Quand le temps de fin de cuisson correspond à l'heure, le symbole de durée de cuisson se débranche, la sonnerie retentit, et le symbole AUTO clignote.
Fonctionnement semi-automatique avec fin de cuisson
Appuyer sur le bouton de fin cuisson. L'heure apparait sur l'affichage lumineux. Sélectionner le temps de fin cuisson désiré avec le bouton+. Les symboles AUTO et durée de cuisson apparaissent en permanence.
Quand le temps de fin cuisson correspond à l'heure,
Le symbole de durée de cuisson se débranche. Une fois le temps de cuisson écoulé, le symbole AUTO clignote, la sonnerie retentit, le symbole de durée de cuisson s'éteint.
Fonctionnement automatique avec durée et fin de cuisson
Appuyer sur le bouton de durée et sélectionner la durée de cuisson désirée avec + ou -. Les symboles AUTO et durée apparaissent en permanence. Appuyer sur le bouton de fin de cuisson. Le temps de fin cuisson le plus proche apparait sur l'affichage lumineux. Sélectionner le temps de fin cuisson désirable à travers le bouton +. Le symbole de durée se débranche. Le symbole s'allume de nouveau quand l'heure correspond au temps de début de cuisson.
Une fois le temps de cuisson écoulé, le symbole AUTO clignote. La sonnerie retentit et le symbole de durée s'éteint.
Minuterie
Appuyer sur le bouton compte-minutes et sélectionner le temps de cuisson désiré avec le bouton + ou -.
Pendant le fonctionnement de la minuterie, le symbole de la cloche apparait. À la fin du temps, la sonnerie retentit et le symbole de la cloche s'éteint.
Signal sonore
Le signal se met en marche à la fin d'une programmation ou de la fonction miniterie pour une durée de 15 minutes. Pour l'arrêter, appuyer sur un bouton quelconque des fonctions.
Début programme et contrôle
Les programmes démarrent à peu près 4 secondes après leur programmation.
Il est possible de vérifier à tout moment le programme en cours en appuyant sur le bouton concerné.
Erreur de programmation
Il y a une erreur de programmation si l'heure indiquée par l'horloge est comprise entre l'heure de début cuisson et l'heure de fin cuisson. L'erreur de programmation peut être corrigée, en changeant la durée ou le temps de fin cuisson.
Suppression d'un programme
On peut supprimer un programme en appuyant sur le bouton de durée cuisson et pays sur le bouton - afin que l'indication 00 00 apparaisse sur l'affichage lumineux. À la fin d'un programme, ce ci s'éliminera automatiquement.
Pour la mise à l'heure
Presser et tourner le bouton vers la droite, jusqu'à ce que l'heure exacte apparaisse. En cas d'une fausse manoeuvre, éviter de tourner vers la gauche. Un mécanisme de sécurité protège les composants de l'horge.
Réglage sonnerie
Tourner le bouton vers la droite, sans le presser, afin que l'aiguille corresponde au temps de sonnerie désiré. Une fois le temps écoulé, la sonnerie retentit sans cette. Pour l'arrêter, tourner le bouton vers la droite afin que l'aiguille corresponde au symbole de la cloche rayée.
Fig. 5
Entretien et nettoyage
Avant de procéder au nettoyage, débrancher le robinet du gaz général et enlever la fiche de la prise de courant ou couper le courant de la ligne d'alimentation au moyen de l'interrupteur général de l'installation électrique.
Éviter de nettoyer les surfaces de l'appareil lorsqu'elles sont encore chaudes.
Ne pas utiliser de nettoyeurs vapeur pour nettoyer le four. SURFACES EMAILLEES
Nettoyer avec une éponge mouillée avec de l'eau et du savon. Les taches de gras peuvent être enlevées facilement avec de l'eau chaude ou un produit spécifique se trouvant facilement en commerce pour le nettoyage de l'email. Éviter les produits contenant des substances abrasives. Ne pas laisser sur l'email de substances acides ou alcalines (jus de citron, vinaigre, sel etc...)
Les appareils en acier inox doivent être nettoyés avec des détergents spéciaux pour acier inox. Ces détergents doivent être appliqués à l'aide d'un linge moelleux.
Grilles et bruleurs
Pour procéder au nettoyage des brûleurs de la table de travail, il est nécessaire de les extraire de leur siège en les élément vers le haut et de les mettre pendant une dizaine de minutes dans une solution d'eau chaude et produit détergent non abrasif. Après avoir nettoyé et lavé les brûleurs, les essuyer soignement.
Contrôlez toujours que les orifices des brûleurs ne soient pas bouchés.
Nous conseillons de réaliser cette opération au moins une fois par semaine ou chaque fois que cela est nécessaire. Faire attention à remonter de façon correcte les brûleurs de la table.
Porte du FOUR
Pour certains modèles, la porte du four peut être démontée de la façon suivante : les charnières A sont pourvues, pour ce but, de cavaliers mobiles B qui sont accrochés aux secteurs des charnières C, lorsque la porte est complètement ouverte, les bloquent. Après il faut enlever la porte vers l'extérieur faisant donc les deux mouvements montrés en figure. Pour effectuer ces opérations, faire prise sur les côtés de la porte en proximité des charnières. Pour remonter la porte introduire les charnières dans leur sièges. Avant de fermer la porte, ne pas oublier d'enlever les cavaliers mobiles B. Attention : en proximité des charnières de la porte du four, il existe le danger de se blesser les mains.

Porte du FOUR
Pour les parties émaillées, nettoyer avec une éponge mouillée avec de l'eau et du savon. Les taches de gras peuvent être enlevées facilement avec de l'eau chaude ou un produit spécifique que trouvant facilement en commerce pour le nettoyage de l'émail. Eviter les produits contenant des substances abrasives.
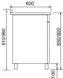
DIMENSIONS D'ENCOMBREMENT (mod. 192)

DIMENSIONS D'ENCOMBREMENT (mod. 108)

Certains modèles sont équipés de 4 pieds utilisés pour aligner éventuellement la cuisinière avec les meubles. (voir fig. 8 ou 8A selon modèles).
Fig. 8 Fig. 8A
Soulever la cuisinière et visser les quatre pieds dans les logements prévus à cet effet aux quatre coins sous l'appareil.


Avertissements
Avant d'effectuer toute réparation ou intervention, débrancher la prise de courant et fermer le robinet de gaz. Le technicien qualifié est responsable de l'installation correcte suivant les normes de sécurité en vigueur. La mise à la terre de l'appareil est obligatoire aux termes de la loi.
Le constructeur décline toute responsabilité quant aux dommages subsistants par des personnes, des animaux ou des biens, résultat de la non-observation des normes ci-dessus indiquées.
Les données techniques sont indiquées sur la plaque signalétique placée dans le tiroir inférieur de l'appareil. Les conditions de réglage sont indiquées sur l'étiquette appliquée sur l'emballage. Ne pas utiliser la poignée de la porte du four pour effectuer des opérations de mouvement, y compris l'opération nécessaire pour enlever l'appareil de l'emballage.
L'appareil est en classe 1 ou classe 2 sous-classe 1.
Installation
IMPORTANT: Le revêtement du meuble doit supporter des températures (min. 90°C).
Si l'appareil doit être installé près des meubles, observer les distances minimales prévues par le plan ci-après.

Ventilation LOCAUX
L'installation et l'entretien de l'appareil doivent être effectués par une personne qualifiée conformément aux textes réglementaires et règles de l'art en vigueur:
L'installation et l'entretien de l'appareil doivent être effectuels par une personne qualifiée conformément aux textes réglementaires et régles de l'art en vigueur notamment:
Arrêté du 2 août 1977 (art.10-11)
Règles Techniques et de Sécurité applicables aux installations de gaz combustible et d'hydrocarbures liquéfiés situés à l'intérieur des bâtiments d'habitation et de leurs dépendances.
Norme DTU P 45-204
Installations de gaz (anciennement DTU n° 61-1 - Installations de gaz - Avril 1982 + additif n°1 Juillet 1984).
Règlement sanitaire départemental
Pour les appareils raccordés au réseau électrique:
Norme NF C 15-100
Installations électriques à basse tension - Règles.
Cet appareil n'est pas pourvu de dispositif d'évacuation des produits de la combustion. On doit donc l'installer dans des endroits suffisamment aérés suivant les dispositions en vigueur.
La quantité d'air nécessaire à la combustion ne doit pas être inférieure à 2.0m³ /h pour chaque kW de puissance installée.
(Voir la puissance totale sur la plaque signalétique placée dans le tiroir inférieur de l'appareil.)
La norme fixe la valeur minimale de la section libre totale des ouvertures permanentes (fentes, perforations, grilles, gaines, etc.) destinée à l'évacuation de l'air des cuisines qui doit être d'au moins 100 cm².
La norme spécifie que la partie supérieure de l'ouverture permanente utilisée pour l'évacuation de l'air vicié par les produits de combustion doit être située à 1,80 m au moins au-dessus du sol du local. Une section libre au moins égale doit être réservée aux ouvertures d'entrée d'air.
L'emplacement des ouvertures doit être tel qu'il n'en résulte aucun courant d'air insupportable pour les occupants.


Raccordement au gaz
Contrôler si l'appareil est prévu pour le type de gaz distribué.
Le raccordement à la canalisation gaz doit être effectué en conformité avec les règlements en vigueur (Article 10 de l'arrêté du 02.08.1977 et aux règles de l'art. (DTU 61-1)), installations de gaz qui IMPÔNT sur l'extrémité de cette canalisation la présence d'un robinet de commande.
Pour le butane et le propane, un détenteur-déclencheur conforme à la norme NF D 36-303 peut tenir lieu de robinet de commande.
Ce robinet de commande permet de couper l'alimentation en gaz lorsque l'appareil n'est pas utilisé.
Une fois terminées les opérations de raccordement gaz, contrôler l'étanchéité des raccords avec de l'eau et du savon.
L'extrémité du raccord est filetée.
Les raccordements possibles sont:
1) le raccordement rigide avec interposition d'un joint ; 2) le raccordement par tuyau libre avec armature à embouts mécaniques suivant les normes en vigueur.
Le tuyau doit être raccordé directement au coude de la rampe. (voir fig. 9).

3) Le raccordement par tuyau flexible
Le tuyau doit être monté sur l'about (porte caoutchouc) avec un collier de serrage (F) pour éviter toute fuite de gaz et visible sur toute sa longueur (voir fig. 10).
Dans ce dernier cas, contrôlez la date de péremption imprimée sur le tuyau et le remplacez avant cette date.
Avertissements
Nous rappelons pour les tuyaux couples (longueur max. 1500mm), de:
1 - Éviter tous étranglements ou écrasements du tuyau 2 - Éviter des efforts de traction et de torsion 3 - Éviter d'entrer en contact avec des corps pointus, à vive arête, etc... 4 - Éviter d'entrer en contact avec des parties qui dépassent 70°C la température ambiante. 5 - S'assurer qu'ils peuvent être vérifiés pour toute leur longueur.

Si l'appareil a été prévu pour fonctionner avec un type de gaz différent de celui de l'alimentation disponible, il faut changer les injecteurs, régler le début réduit des brûleurs et changer l'adaptateur annexe.
Afin de changer les injecteurs de la table de travail, il est nécessaire d'effectuer les opérations suivantes : enlever les grilles, enlever les brûleurs et leurs chapeaux (voir fig. 11 A), changer l'injecteur (voir figure 11 B) et le replacer avec celui approprié au nouveau type de gaz (voir tableau D). Remonter tout en sens inverse en faisant attention à placer le chapeau de façon correcte sur le brûleur.
B Fig. 11 Valeurs se référant à Hs - 15°C - 1013,25mbar
| TAB.D TABLEAU GENERAL INJECTEURS | ||||||
| Type de gaz | mbar | Inject. N. | BrûlEUR type | Puisssance Watt Cohsom | ||
| max. | min. | max. | ||||
| NATUREL G20/25 | 20/25 | 1,15 | -Rapide | 3000 | 750 | 286 l/h |
| 0,97 | -Semi rapide | 1750 | 480 | 167 l/h | ||
| 0,72 | -Auxiaille | 1000 | 330 | 95 l/h | ||
| 1,28 | -Triple cour. | 3300 | 1300 | 315 l/h | ||
| 1,20 | -Poussonérique | 2900 | 1500 | 277 l/h | ||
| BUTANE G30 PROpane G31 | 28/30 | 0,85 | -Rapide | 3000 | 750 | 219 g/h |
| 0,50 | -Semi rapide | 1750 | 480 | 128 g/h | ||
| 0,93 | -Auxiaille | 1000 | 330 | 73 g/h | ||
| 37 | 0,85 | -Triple cour. | 3300 | 1300 | 241 g/h | |
| -Poussonérique | 2900 | 1500 | 211 g/h | |||
| AIR BUTANE PROpane G130 | 8 | 2,60 | -Rapide | 3000 | 750 | 421 l/h |
| 1,85 | -Semi rapide | 1750 | 480 | 245 l/h | ||
| 1,45 | -Auxiaille | 1000 | 330 | 140 l/h | ||
| 2,90 | -Triple cour. | 3300 | 1300 | 463 l/h | ||
Reglage DEBIT REDUIT robinets de la TABLE.
Afin de régler le débit réduit, procéder comme il suit : allumer le brûleur et tourner la manette vers la position de débit réduit ; enlever la manette du robinet. Introduire un petit tourne-vis dans la tige du robinet (fig. 12). Attention : dans les robinets avec sécurité, la vis de réglage “Z” du minimum se trouve à l'extérieur de la tige du robinet (fig. 12 A).
Dévisser la vis de réglage pour augmenter le débit, ou visser la vis pour diminuer le débit. Le réglage est correct quand la flamme mesure environ 3 ou 4 mm. Pour le gaz butane/propane, la vis de réglage doit être visée à fond. S'assurer que la flamme ne s'éteint pas lorsqu'on passe brusquement du débit max. au débit réduit et vice versa. Remonter la manette.


Branchement electrique
Le branchement de l'appareil au réseau électrique doit être réalisé par un personnel spécialisé, connaissant les normes de sécurité en vigueur.
La mise à la terre de l'appareil est obligatoire selon les termes de la loi. Avant d'effectuer le branchement électrique, s'assurer de l'efficacité de la mise à la terre.
S'assurer que la soupape limitatrice et les câblages domestiques puissent supporter le chargement de l'appareil.
Prévoir un dispositif de déconnexion sur le réseau d'alimentation avec une distance d'ouverture des contacts qui permette la déconnexion complète dans les conditions de la catégorie de surtension III, conformément aux règles d'installation. Le câble de terre jaune/vert ne doit pas être interrompu par l'interrupteur.
Important: les fils du câble d'alimentation ont les couleurs suivantes:
- jaune/vert = pour la mise à la terre " 1 " (E) - bleu = pour le neutre "N" - marron = pour la phase "L"
- Vérifier toujours que le câble électrique ne touche pas ni des surfaces coupantes ni chaudes avec une température qui dépasse de 50°C celle ambiant, et qu'il soit de longueur suffisante pour un éventuel déplacement nécessaire au nettoyage ou à une réparation. S'il on utilise une fiche pour le branchement, la fiche de branchement du câble d'alimentation et la prise à laquelle elle doit être branchée doivent être du même type (conformes aux normes).
| Type d'appareil | Alimentation monophasée 230V~ | |
| Type de cable | Section | |
| Table toutes gaz + double four électr. | Caoutchouc H05 RR-F | 3 x 2,5 mm² |
Remplacement du cable
Dans le cas où le câble devrait s'endommager, le remplacer selon les instructions suivantes:
- Ouvrir la boîte du bornier comme décrit dans la figure ci-dessous;
- dévisser la vis "A" qui bloque la cable;
- replacer la cable avec un de la même longueur et correspondant aux caractéristiques décrites dans le tableau:
- le fil de mise à la terre "jaune-verte" doit être raccordé à la borne 112 et il doit être plus long d'environ 10mm par rapport aux fils de ligne;
- le fil neutre "bleu" doit être raccordé à la borne marquée par la lettre "N"
- le fil de ligne doit être raccordé à la borne marquée par la lettre "L".

Avertissements
Avant d'effectuer toute réparation ou intervention, débrancher la prise de courant et fermer le robinet du gaz.
Le constructeur décline toute responsabilité quant aux dommages subsistants chez des personnes, des animaux ou des biens, résultat de la non-observation des normes ci-dessus indiquées.
Dans le cas où il serait nécessaire de réparer ou remplacer les composants internes, il faut:
La lampe four utilisée est de type spécial résistant aux températures élevées. Afin de pouvoir la remplacer, démonter le verre de protection (A) et remplacer la lampe brûlée par une dou même type, ensuite remonter le verre de protection (fig 12 B).

Demontage de la TABLE de travail
Enlever les grilles, enlever les brûleurs et les chapeaux (voir fig. 13), dévisser les vis "V" visibles au-dessus de la table (voir fig. 14). Démonter la table de travail en dévisant les 4 vis "A" arrêté (voir fig. 15). De cette façon il est possible de soulever la table de travail et accéder aux composants internes.



- Pour démonter le tableau de bord il suffit de dévisser les 4 vis internes (B) qui fixent le tableau de bord à la façade du four (fig. 16).

Graissage des robinets
Si la manœuvre d'un robinet devient dure, il faut l’engraisser avec un gras spécifique pour les hautes températures. Procédez comme il suit : ouvrir la table de travail et démonter le tableau de bord aussi comme décrit dans le précédent paragraphe.
Dévisser les deux vis de fixation du corps du robinet (voir figure) et enlever le cône.

Nettoyer le cône et sa siège avec un linge mouillé avec du solvant. Engraisser légèrement le cône avec le gras spécifique, le placer dans sa siège, et le tourner quelques fois. Enlever le cône de nouveau et enlever le gras résiduel, faisant attention à ne pas obstruer les passages de gaz avec des résidus de gras.
Monter tout soigneusement en sens inverse.
Ouvrir la table de travail et démonter le tableau de bord comme décrit dans le précédent paragraphe. Dévisser l'écrou D du tube qui porte le gaz au brûleur, dévisser la vis V fixant le robinet à la bride et l'enlever (voir figure 16 A).
Note: Lorsqu'on remplace le robinet, il est nécessaire de replacer le joint d'étanchéité du robinet.
Fig. 16 A
Notice Facile