37LC2R - Téléviseur LG-GOLDSTAR - Notice d'utilisation et mode d'emploi gratuit
Retrouvez gratuitement la notice de l'appareil 37LC2R LG-GOLDSTAR au format PDF.
| Type de produit | Téléviseur LCD |
| Taille de l'écran | 37 pouces |
| Résolution | 1366 x 768 pixels |
| Technologie d'affichage | LCD avec rétroéclairage CCFL |
| Fréquence de rafraîchissement | 60 Hz |
| Connectivité | HDMI, VGA, Composite, S-Video, Sortie audio |
| Alimentation électrique | AC 100-240V, 50/60Hz |
| Dimensions (L x H x P) | 90,1 x 63,2 x 25,1 cm |
| Poids | 25 kg |
| Consommation énergétique | 180 W en fonctionnement, 1 W en veille |
| Fonctions principales | Affichage des chaînes TV, entrée multimédia, réglages d'image |
| Entretien et nettoyage | Utiliser un chiffon doux et sec, éviter les produits chimiques agressifs |
| Pièces détachées et réparabilité | Disponibilité des pièces variable, consulter un professionnel pour les réparations |
| Normes de sécurité | Conforme aux normes CE et RoHS |
| Informations générales | Produit conçu pour un usage domestique, garantie limitée de 2 ans |
FOIRE AUX QUESTIONS - 37LC2R LG-GOLDSTAR
Questions des utilisateurs sur 37LC2R LG-GOLDSTAR
0 question sur cet appareil. Repondez a celles que vous connaissez ou posez la votre.
Poser une nouvelle question sur cet appareil
Téléchargez la notice de votre Téléviseur au format PDF gratuitement ! Retrouvez votre notice 37LC2R - LG-GOLDSTAR et reprennez votre appareil électronique en main. Sur cette page sont publiés tous les documents nécessaires à l'utilisation de votre appareil 37LC2R de la marque LG-GOLDSTAR.
MODE D'EMPLOI 37LC2R LG-GOLDSTAR
Lcd-tv | plasma-tv GUIDE de l'utilisateur
37LC2R 42LC2R
42PC1R 42PC3R 50PC1R*
Veuillez lire attentivement ce mode d'emploi avant d'utiliser.
le téléviseur. Conservez-le pour une consultation future. Notez le numéro de modèle et le numéro de série.
du téléviseur. Ces nombres figurent sur l'étiquette apposée sur la face arrière de l'appareil. Indiquez ces nombres à votre revendeur lorsque l'appareil doit faire l'objet d'une réparation.
Numéro de modèle : Numéro de série :
Assurez-vous que les accessoires suivants sont fournis avec votre téléviseur. S'il vous manque un ou plusieurs de ces accessoires, veuillez contacter le distributeur qui vous a vendu l'appareil.
Mode d'emploi
Files
Telecommande
Cordon d'alimentation
Chiffon doux Nettoyez l'écran avec ce chiffon. (en option)
Pour les modèles 42PC1R, 42PC3R et 50PC1R*
2 supports muraux
2 boulons à oeil

2 boulons pour l'assemblage du socle (Voir page 11)
Cette fonction n'est pas disponible pour tous les modèles.
Pour les modèles 37LC2R et 42LC2R
Attache de fixation Regroupez les câbles à l'aide de l'attache de fixation.
Protège-cables
2 boulons
TABLE des matières
ACCESSIONS 1
Commandes/Options de connexion 4-8
Fonctions des touches de la télécommande / Insertion des piles 9-10
Installation
Mise en place du socle 11
Connexion de base / Comment retirer le protège-cables ? 12-13
Comment fixer le système de montage au mur pour éviter la chute du téléviseur 14 Installation du téléviseur 15
Raccordements et configuration
Raccordement à une antenne 16
Branchement d'un magnétoscope 17-18
Branchements d'un équipement externe 19
Branchement d'un DVD 20-21
Branchement d'un STB (Boîtier décodeur) 22-23
Branchement d'un PC 24-26
Mise sous tension du téléviseur 27
Fonctions speciales
PIP (image sur image) / Double fenêtre / POP
Réception PIP / Double fenêtre / POP 28
Sélection de chaîne de l'image secondaire...28
Sélection de la source d'entrée de l'image secondaire 29
Réglage de la taille de l'image secondaire (mode PIP uniquement) 29
Déplacement de l'image secondaire (mode PIP uniquement) 29
Permutation de l'image principale et de l'image secondaire 30
POP (Recherche de chaîne) 30
Télétexte
Sélection de la langue du télétexte 31 Pour activer/désactiver le télétexte 31 Texte SIMPLE 31 Texte TOP (en option) 32 FASTEXT 32 Fonctions télétexte spéciales 33
MENU Du televiseur
Sélection et réglage des menus à l'écran 34
Mémorisation des chaînes TV
Mémorisation des chaînes 35 Programmation manuelle 36 Réglage de précision 37 Attribution d'un nom à une chaîne 38 Amplificateur d'antenne (en option) 39 Édition des programmes 40 Chaînes préférées 41 Table des programmes 42
Menu IMAGE
PSM (Mémorisation des paramètres de l'image) 43 Réglage de l'image (PSM - Option utilisateur) 44 CSM (Température de couleur) 45 Réglage manuel de la couleur (CSM - Option utilisateur) 46 Xo Fonction 47 Advanced (Avancé) 48 Restauration des paramètres usine 49
Menu son
SSM (Préréglages son) 50 Réglage de la fréquence du son (SSM - Option utiliser) 51 Contrôle automatique du volume (AVL) 52 Réglage de la balance 52 Haut-parleur 53 Réception Stereo/Ostereo 54 Réception NICAM 55 Sélection de la sortie audio 55
Menu HEURE
Configuration de l'horloge 56
Minuteur de mise en marche/arrêt 57
Arrêt auto. 58
Mise en veille 59
Menu special
ISM Method (Réduction de la rémanence à l'écran) (Méthode ISM) 61
Mode Eco. (en option) 62
XD Demo 62
Menu ECRAN
Auto adjustment (Configuration Auto)
(retour aux réglages d'usine) 67
ANNEXE
Programmation de la télécommande 68
Codes de programmation 69
Conseils de dépannage 69-70
ENTRETIEN 73
Spécifications de l'appareil 74-75
Commandes
Ce manuel explique les fonctions disponibles sur les modèles de téléviseur 42PC1R, 50PC1R.
Le schéma ci-dessous est une représentation simplifiée du panneau avant. Le matériel représenté peut être quelque peu différent de votre téléviseur.
Commandes du panneau avant

Ce manuel explique les fonctions disponibles sur les modèles de téléviseur 42PC3R*. Le schéma ci-dessous est une représentation simplifiée du panneau avant. Le matériel représenté peut être quelque peu différent de votre téléviseur.
Voyant Alimentation/Veille - Rouge en mode veille. - Blanc lorsque le téléviseur est allumé.

Options de connexion
Panneau avant des modèles de téléviseur 42PC1R, 50PC1R, 42PC3R.
Panneau de connexion arrière

Entrée AUDIO
Les connexions sont disponibles pour l'écoute d'un son stéréo à partir d'un dispositif externe.
EntreeVIDEO
Permet de connecter le signal vidéo d'un dispositif vidéo.
(sauf 42PC3R*)

Entrée RGB/Audio Raccordez la prise de sortie du moniteur d'un ordinateur au port d'entrée approprié. 2 Sortie Variable Audio
Raccordez un amplificateur externe ou un caisson de graves à votre système son surround.
3 Péritel euroconnecteur (AV1/AV2)
Raccordez l'entrée ou la sortie de la prise Péritel d'un périphérique externe à ces prises.
Prise du cordon d'alimentation
Ce téléviseur fonctionne en alimentation en alternatif (CA). La tension est indiquée à la section Spécifications. Ne jamais faire fonctionner le téléviseur en courant continu (CC).
Port de la télécommande
6 EntreHDMI
Connectez le signal HDMI au port HDMI à l'aide du cable HDMI.
Connectez le signal DVI (Vidéo) au port HDMI/DVI à l'aide du cable DVI à HDMI.
7 Port d'entrée RS-232C (CONTRÔLE/SERVICE) Raccordez le port de série des périphériques de contrôle à la prise RS-232C. 8 Entrée S-Video Raccordez la sortie S-Video d'un périphérique S-VIDEO. Prises d'entrée Audio/Video Raccordez la sortie audio/video d'un périphérique externe à ces prises. 10 Entrée Component Raccordez un périphérique audio/video à ces prises. 11 Entrée antenne Connectez des signaux numériques en liaison radio à cette prise.
Commandes
Ce manuel explique les fonctions disponibles sur les modèles de téléviseur 37LC2R et 42LC2R.
Le schéma ci-dessous est une représentation simplifiée du panneau avant. Le matériel représenté peut être quelque peu différent de votre téléviseur.
- Rouge en mode veille. - Blanc lorsque le téléviseur est allumé.
Options de connexion
Panneau arrière des modèles de téléviseur 37LC2R et 42LC2R.

Entrée AUDIO
Les connexions sont disponibles pour l'écoute d'un son stéréo à partir d'un dispositif externe.
EntreeVIDEO
Permet de connecter le signal vidéo d'un dispositif vidéo.

Entrée rgb/audio
Raccordez la prise de sortie du moniteur d'un ordinateur au port d'entrée approprié.
2 Sortie variable audio
Raccordez un amplificateur externe ou un caisson de graves à votre système son surround.
3 Péritel euroconnecteur (AV1/AV2)
Raccordez l'entrée ou la sortie de la prise Péritel d'un périphérique externe à ces prises.
4 Prise d'alimentation
Ce téléviseur fonctionne en alimentation en alternatif (CA). La tension est indiquée à la section Spécifications. Ne jamais faire fonctionner le téléviseur en courant continu (CC).
6 Entrée HDMI
Connectez le signal HDMI au port HDMI à l'aide du câble HDMI.
Connectez le signal DVI (Vidéo) au port HDMI/DVI à l'aide du cable DVI à HDMI.
Entrée s-video
Raccordez la sortie S-Video d'un périphérique S-VIDEO.
9 Prises d'entrée Audio/Vidéo
Raccordez la sortie audio/vidéo d'un périphérique externe à ces prises.
Raccordez un périphérique audio/video à ces prises.
10 Entrée antenne
Connectez des signaux numériques en liaison radio à cette prise.
Fonctions des touches de la télécommande
| POWER (MISE SOUS/HORS TENSION) | Permet de mesure l'appareil sous tension lorsqu'il est en mode veille et de le mesure hors tension pour passer en mode veille. |
| TV INPUT | Permet de changer le mode d'entrée en commutant les sources d'entrée AV1, AV2, S-Video2, AV3, AV4 (sauf 42PC3R*), Component, RGB, HDMI1/DVI ou HDMI 2 l'écran revient au signal TV précédent. Permet de mesure l'ap- pareil sous tension lorsqu'il est en mode veille. |
| INPUT (Mode) | Si vous appuyez une fois sur cette touche, le mode OSD s'aff- fichera à l'écran comme indiqué sur le sché ma ci-contre. Appuyez sur les touches ▲ / ▼, puis sur la touche OK pour séléctionner la source d'entrée de votrechioir (TV, AV1, AV2, S-Video2, AV3, AV4 (sauf 42PC3R*), Component, RGB, HDMI1/DVI ou HDMI 2). |
| ARC | Permet de sélectionner le format d'image de votrechoix. |
| Réglage de la luminosité | Permet de régler la luminosité de l'écran. Si vous souhaitez rétablier les paramètres de luminosité par défaut, changez la source du mode. |
| PIP | L'image secondaire passée en mode PIP, DW, POP ou Arrêt. |
| SIZE | Ajuste la taille de la sous-image. |
| POSITION | Permet de déplacer l'image incrustée. |
| PIP PR -/+ | Sélectionne un programme pour la sous-image. |
| SWAP | Permet de commuter les images principales et secondaires en mode d'image PIP/Twin. |
| PIP INPUT | Permette sélectionnerle mode d'incrustation. |
| TOUCHES COLORÉES | Ces touches sont utilisées pour le télétexte (uniquemment pour les modèles TÉLETEXTE) ou pour l'Edition des programmes. |
| TOUCHES VCR/DVD | Permet de Commander un magnétoscope LG. |
| EXIT (SORTIE) | Efface tous les affichages à l'écran et returne au mode de visionnage du téléviseur à partir de n'arrête quel menu. |
| LIST | Affiche la liste des programmes. |
| MENU | Permet de sélectionner un menu. |
| I/II | Permet de sélectionner la sortie du son. |
| SLEEP (MISE EN VEILLE) | Permet d'activer la mise en vue. |
Fonctions des touches de la télécommande
MODE Permet de sélectionner les modes de fonctionnement à distance.
Touches du Télétexte Pour de plus amples détails, veuillez vous reporter à la section 'Télétexte'.
Touches Ces touches vous permettent de naviguer à travers les CENTRALES menus à l'écran et de régler les paramètres système à (haut/bas/gauche/droite) libre convenance.
OK Valide votre sélection ou affiche le mode en cours.
VOLUME △ / ▽ Permet de régler le volume.
Q. VIEW Permet de revenir au programme visionné précédemment.
MUTE Permet de couper ou de remettre le son. (SOURDINE)
Programme Permet de sélectionner un programme.
A /
Touches numériques : de 0 à 9 Permettent de sélectionner des éléments numérotés dans un menu.
FAV Permet d'afficher vos chaînes préférées.
- Aucune fonction
Insertion des PILES

- Ouvrez le capot du compartiment à piles à l'arrière de la télécommande.
- Utilisez deux piles alcalines de 1,5V de type AA. Ne mélangez pas une pile neuve avec une pile usagée.

Mise en PLACE du SOCLE (42PC1R*, 42PC3R*)
- Cette fonction n'est pas disponible pour tous les modèles.




- Placez le téléviseur écran face au sol sur un tissu, comme indiqué dans le schéma 1.
Avant de déplier le socle, assurez-vous que les deux systèmes de verrouillage (A) situés sous le socle sont positionnés vers l'extérieur.
Tirez le socle comme indiqué dans les schémas 2 et 3.
Après avoir déplié le socle, insérez les vis dans les orifices (B) situés sous le socle, puis serrez-les.
Lors du raccordement des câbles au téléviseur, veillez à ne pas désenclencher le verrou (C).
Le téléviseur pourrait tomber et vous risqueriez de vous blesser ou d'endommager le téléviseur.
Remarque
Le matériel représenté peut être quelque peu différent de votre téléviseur.
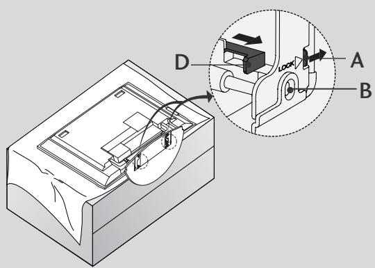
Pour retirer le socle
Retirez d'abord les vis (B) situées sous le socle. Tirez ensuite sur les deux crochets (D) situés sous le socle et pliez le socle à l'intérieur du téléviseur.
Une fois le socle rangé dans le téléviseur, verrouillez les deux crochets (A) en les positionnant vers l'extérieur.

Connexion de BASE (42PC1R*, 42PC3R*, 50PC1R*)
- Selon le type de socle, il est possible de disposer les câbles de deux manières différentes.
Support type 1
Reportez-vous aux schémas ci-dessous.

Support type 2

Tenez le PROTÉGE-CÂBLES avec vos deux mains et tirez-le comme indiqué.


Raccordez les câbles.
Pour raccorder d'autres équipements, reportez-vous à la section Branchements d'un équipement externe.


Remplacez le PROTEGE-CABLES comme indiqué.

Connexion de BASE (37LC2R*, 42LC2R*)

Raccordez les câbles.
Après avoir soigneusement raccordé les câbles, disposez-les dans le support prévu à cet effet.
Pour raccorder d'autres équipements, reportez-vous à la section Raccordement d'un équipement externe.
37/42LC2R

Remplacez le PROTÉGE-CÁBLES comme indiqué.
37/42LC2R

Regroupez les câbles à l'aide de l'attache de fixation fournie.
37/42LC2R
Comment retirer le protege-cábles
Tenez le PROTEGE-CABLES avec les deux mains, puis tirez-le vers le haut.


Remarque
Lorsque vous déplacez l'appareil, ne le tenez pas par le PROTEGE-CABLES. - Si l'appareil tombe, vous risquez de vous blesser ou d'endommager l'appareil.
Comment FIXER le système de montage au MUR pour éviter la CHUTE du téléviseur
Afin d'éviter les accidents et les dégâts causés par la chute du téléviseur, installer celui-ci assez près du mur pour qu'il ne tombe pas lorsqu'il est poussé vers l'arrière et suivre les instructions illustrées ci-dessous montrant comment le fixer au mur pour éviter les chutes en avant. Veiller à ce que les enfants ne se suspendent pas au téléviseur et ne tentent pas de monter dessus.
42PC1R, 50PC1R, 42PC3R*

37LC2R, 42LC2R

Utilise les boulons à œil ou les supports/boulons du téléviseur pour fixer l'appareil au mur, comme indiqué dans l'illustration ci-dessous. (Si avant d'insérer les boulons de l'appareil, ceux-ci sont déjà placés dans la position des boulons à œil, desserrez-les.)
- Insérez les boulons à œil ou les supports/boulons du téléviseur, puis serrez-les solidement dans les orifices supérieur.
Fixez les supports muraux à l'aide des boulons (non fournis avec l'appareil, vendus séparément). Ajustez la hauteur du support fixé au mur.

3 Utiliser une corde solide (non fournie avec l'appareil, à acheter séparément) pour attacher l'appareil. Pour plus de sécurité, la corde doit être à l'horizontalité entre le mur et l'appareil.
Remarque
Retirer la corde avant de déplacer l'appareil. Utiliser un support ou un meuble assez grand et solide pour la taille et le poids de l'appareil. Pour utiliser l'appareil en toute sécurité, veiller à ce que le support fixé au mur soit de la même hauteur que l'appareil.
Installation du téléviseur
- Vous pouvez installer ce téléviseur sur le mur, sur un bureau, etc. Le téléviseur est conçu pour être installé à l'horizontal.
Mise à la TERRE
Assurez-vous de raccorder ce téléviseur à la terre afin d'éviter les chocs électriques. Si la mise à la terre n'est pas possible, demandez à un electricien qualifié d'installer un disjoncteur indépendant. N'essayez pas de mettre cet appareil à la terre en le raccordant à des cables téléphoniques, à un paratonnerre ou à des tuyaux de gaz.

Installation du socle
Afin de permettre une aération suffisante, l'espace minimum requis est de 10 cm de chaque côté et derrière le mur.


Montage au mur : installation horizontale
Afin de permettre une aération suffisante, l'espace minimum requis est de 10 cm de chaque côté et derrière le téléviseur. Vous trouverez les instructions détaillées de l'installation chez votre revendeur ; reportez-vous également au Guide de configuration et d'installation de l'interface de montage au mur.



Retirez les vis situées à l'arête du téléviseur avant d'installer le support de fixation murale.
Raccordements et configuration
- Ne jamais brancher le cordon d'alimentation avant d'avoir terminé de raccorder tous les équipements pour ne pas endommager l'appareil.
Raccordement à une antenne
Afin d'obtenir la meilleure qualité d'image, réglez la direction de l'antenne. Le câble et le convertisseur d'antenne ne sont pas fournis.
Logements collectifs/Appartements (Raccordement à la prise d'antenne murale)

Logements individuels/Villas (Raccordement à la prise murale pour l'antenne extérieure)
Pour recevoir une image de toute valeur qualité dans les zones où les signaux se reçoivent mal, installez sur l'antenne un amplificateur de signaux comme indiqué sur le schéma de droite. Pour acheminer le signal dans deux branchements de télévision, veuillez utiliser un diviseur.

Branchement d'un magnetoscope
Afin d’éviter de possibles interférences, veillez à laisser une distance suffisante entre le magnétoscope et le téléviseur. - Tout particulièrement dans le cas de l'image figée d'un magnétoscope. Il se peut que l'utilisation du format 4:3 entraîne une rémanence de l'image sur l'écran.
Raccordement avec un câble d'antenne
1 Raccordez la prise ANT OUT du magnétoscope à la prise ANTENNA IN du téléviseur. 2 Raccordez le cable d'antenne à la prise ANT IN du magnétoscope. 3 Appuyez sur la touche PLAY (LECTURE) du magnétoscope, puis trouvez le canal ajustat entre le téléviseur et le magnétoscope pour pouvoir regarder la télévision.

Raccordement avec un câble RCA
Raccordez les câbles AUDIO/VIDÉO du magnétoscope aux prises AUDIO/VIDÉO du téléviseur. Veuillez respecter les couleurs des prises : (Vidéo = jaune, Audio gauche = blanc et Audio droit = rouge). 2 Insérez une cassette vidéo dans le magnétoscope, puis appuyez sur la touche PLAY (Lecture) du magnétoscope (reportez-vous au Mode d'emploi du magnétoscope). 3 Sélectionnez la source d'entrée AV3 à l'aide de la touche INPUT de la télécommande.
- Si vous êtes connectés sur la prise AV4 située sur le panneau avant, sélectionnez la source d'entrée AV4. (sauf 42PC3R*)

Remarque
Si vous avez un magnétoscope mono, raccordez le câble audio du magnétoscope à la prise AUDIO L/MONO du téléviseur.
Raccordement avec une prise péritel
Raccordez la prise Péritel du magnétoscope à la prise Péritel AV1 du téléviseur. 2. Insérez une cassette vidéo dans le magnétoscope, puis appuyez sur la touche PLAY (Lecture) du magnétoscope (reportez-vous au Mode d'emploi du magnétoscope). 3. Sélectionnez la source d'entrée AV1 à l'aide de la touche INPUT de la télécommande.
- Si vous êtes connectés sur la prise péritel AV2, sélectionnez la source d'entrée AV2.

Remarque
Si vous recevez le signal S-VIDEO(Y/C) avec la prise Péritel 2 (AV2), vous devez passer au mode S-Video2. Si vous souhaitez utiliser le câble du Péritel, vous devez utiliser le câble Péritel blindé.
Raccordement avec un câble s-video
Raccordez la prise de sortie S-VIDEO du magnétoscope à la prise d’entrée S-VIDEO du téléviseur. Lorsque vous raccordez un magnétoscope S-Video à la prise S-Video, la qualité de l’image est nettement améliorée. Raccordez le câble audio depuis le magnétoscope jusqu’aux prises AUDIO situées du téléviseur. 3 Insérez une cassette vidéo dans le magnétoscope, puis appuyez sur la touche PLAY (LECTURE) du magnétoscope (reportez-vous au Mode d’emploi du magnétoscope). 4 Sélectionnez la source d’entrée AV3 à l’aide de la touche INPUT de la télécommande.

Remarque
Si les prises S-VIDEO et VIDEO ont été raccordées simultanément au magnétoscope S-VHS, seul le signal S-VIDEO peut être reçu.
Branchements d'un équipement externe
Raccordez les câbles AUDIO/VIDÉO du magnétoscope aux prises AUDIO/VIDÉO du téléviseur. Veuillez respecter les couleurs des prises : (Vidéo = jaune, Audio gauche = blanc et Audio droit = rouge). 2 Sélectionnez la source d'entrée AV4 à l'aide de la touche INPUT de la télécommande. (sauf 42PC3R*) - Si vous êtes connectés sur la prise AV IN3 située sur le panneau avant, sélectionnez la source d'entrée AV3. 3 Faites fonctionner la source externe correspondante. Reportez-vous au guide de fonctionnement de la source externe.

Raccordement avec un câble composante
Raccordez les prises de sortie vidéo (Y, PB, PR) du DVD sur les prises d’entrée COMPONENT IN VIDEO du téléviseur. Raccordez les sorties audio du DVD aux prises d’entrée COMPONENT IN AUDIO du téléviseur. 3 Mettez votre lecteur DVD sous tension, puis insérez un DVD. 4 Sélectionnez la source d’entrée Component à l’aide de la touche INPUT de la télécommande. 5 Reportez-vous au Manuel du lecteur DVD pour suivre les instructions de fonctionnement.


Remarque
Entrées video composante
Vous pouvez améliorer la qualité de l'image en branchant le lecteur DVD sur les entrées video composante, comme illustré ci-dessous.
| Entrées videoo composante du téléviseur | Y | PB | PR |
| Sorties videoo du lecteur DVD | Y | Pb | Pr |
| Y | B-Y | R-Y | |
| Y | Cb | Cr | |
| Y | PB | PR |
Raccordement avec un câble péritel
Raccordez la prise Péritel du DVD à la prise Péritel AV1 du téléviseur. 2. Mettez votre lecteur DVD sous tension, puis insérez un DVD. 3. Sélectionnez la source d'entrée AV1 à l'aide de la touche INPUT de la télécommande.
- Si vous êtes connectés sur la prise péritel AV2, sélectionnez la source d'entrée AV2.


Remarque
Veuillez utiliser le câble Peritel blindé.
Raccordement avec un câble s-video
Raccordez la prise de sortie S-VIDEO du DVD à la prise d'entrée S-VIDEO du téléviseur. Raccordez les prises de sortie audio du DVD aux prises d’entrée AUDIO du téléviseur. 3 Mettez votre lecteur DVD sous tension, puis insérez un DVD. 4 Sélectionnez la source d'entrée AV3 à l'aide de la touche INPUT de la télécommande. 5 Reportez-vous au mode d'emploi du lecteur DVD pour suivre les instructions de fonctionnement.

Raccordement avec un câble HDMI
Raccordez la prise de sortie HDMI du DVD à la prise d’entrée HDMI IN du téléviseur. 2. Sélectionnez la source d’entrée HDMI1/DVI ou HDMI2 à l’aide de la touche INPUT de la télécommande. 3. Reportez-vous au mode d’emploi du lecteur DVD pour suivre les instructions de fonctionnement.

Remarque
Si vous utilisez un cable HDMI, le téléviseur peut recevoir simultanément des signaux audio et vidéo. Si le DVD prend en charge la fonction Auto HDMI, la résolution de sortie du DVD sera automatiquement réglée sur 1280× 720p. Si le DVD ne prend pas en charge la fonction Auto HDMI, vous devez régler correctement la résolution de sortie. Pour obtenir une qualité d'image optimale, réglez la résolution de sortie du DVD sur 1280x720p.
Branchement d'un STB (boitier décodeur)
- Ce téléviseur peut recevoir des signaux numériques en liaison radio ou des signaux de cable sans un boîtier décodeur numérique. Cependant, si vous recevez des signaux numériques d'un boîtier décodeur ou d'un autre dispositif externe numérique, reportez-vous à l'illustration ci-dessous.
Raccordement avec un câble composante
Raccordez les prises de sortie vidéo (Y, PB, PR) du DVD sur les prises d'entrée COMPONENT IN VIDEO du téléviseur. 2 Raccordez les sorties audio du DVD aux prises d'entrée COMPONENT IN AUDIO du téléviseur. 3 Allumez le boîtier décodeur numérique (reportez-vous au Mode d'emploi du boîtier décodeur numérique). 4 Sélectionnez la source d'entrée Component à l'aide de la touche INPUT de la télécommande.
Boîtier décodeur numérique
REMARQUE
| Signal | Component | RGB-DTV | HDMI1/DVI (DTV) | HDMI2 (DTV) |
| 480i/576i | Oui | Non | Non | Non |
| 480p/576p/720p/1080i | Oui | Oui | Oui | Oui |
Raccordement avec un cable HDMI à DVI
Raccordez la prise de sortie DVI du boîtier décodeur numérique à la prise d'entrée HDMI1 (DVI) IN du téléviseur. Raccordez les câbles audio du boîtier décodeur numérique à la prise AUDIO(RGB/DVI) du téléviseur. 3 Allumez le boîtier décodeur numérique (reportez-vous au Mode d'emploi du boîtier décodeur numérique). 4 Sélectionnez la source d'entrée HDMI1/DVI à l'aide de la touche INPUT de la télécommande.

Remarque
Si vous utilisez un cable HDMI, le téléviseur peut recevoir simultanément des signaux audio et vidéo. Si le boîtier décodeur numérique prend en charge la fonction Auto HDMI, la résolution de sortie du boîtier décodeur numérique sera automatiquement réglée sur 1280x720p. Si le boîtier décodeur numérique ne prend pas en charge la fonction Auto HDMI, vous devez régler correctement la résolution de sortie. Pour obtenir une qualité d'image optimale, règlez la résolution de sortie du boîtier décodeur numérique sur 1280x720p.
Raccordement avec un câble d-sub à 15 broches
Raccordez la prise de sortie RGB du boîtier décodeur numérique à la prise d’entrée RGB IN (PC/DTV) du téléviseur. Raccordez les prises de sortie audio du boîtier décodeur numérique à la prise AUDIO (RGB/DVI) du téléviseur. 3 Allumez le boîtier décodeur numérique. (Reportez-vous au mode d’emploi du boîtier décodeur numérique). 4 Sélectionnez la source d’entrée RGB-DTV à l’aide de la touche INPUT de la télécommande.
Boîtier décodeur numérique
Raccordement avec un câble HDMI
Raccordez la prise de sortie HDMI du boîtier décodeur numérique à la prise d'entrée HDMI IN du téléviseur. 2. Sélectionnez la source d'entrée HDMI1/DVI ou HDMI2 à l'aide de la touche INPUT de la télécommande. 3. Allumez le boîtier décodeur numérique (reportez-vous au Mode d'emploi du boîtier décodeur numérique).

Remarque
Si le boîtier décodeur numérique est muni d'une sortie DVI et non d'une sortie HDMI, il est nécessaire d'effectuer un raccordement audio indépendant. Si le boîtier décodeur numérique prend en charge la fonction Auto DVI, la résolution de sortie du boîtier décodeur numérique sera automatiquement réglée sur 1280x720p. Si le boîtier décodeur numérique ne prend pas en charge la fonction Auto DVI, vous devez régler correctement la résolution de sortie. Pour obtenir une qualité d'image optimale, réglez la résolution de sortie du boîtier décodeur numérique sur 1280x720p.
Branchement d'un PC
- Ce téléviseur comprend la fonction Plug and Play, ce qui signifie que l'ordinateur s'adapte automatiquement aux paramètres du téléviseur.
Raccordement avec un câble d-sub à 15 broches
Raccordez la prise de sortie RGB du boîtier décodeur numérique à la prise d’entrée RGB IN (PC/DTV) du téléviseur. Raccordez les prises de sortie audio du boîtier décodeur numérique à la prise AUDIO(RGB/DVI) du téléviseur. 3 Allumez l’ordinateur et le téléviseur. 4 Sélectionnez la source d’entrée RGB-PC à l’aide de la touche INPUT de la télécommande.

Raccordement avec un cable HDMI à DVI
Raccordez la prise de sortie DVI du PC à la prise d’entrée HDMI1 (DVI) IN du téléviseur. Raccordez le câble audio du PC à la prise AUDIO (RGB/DVI) du téléviseur. 3 Allumez le PC et le téléviseur. 4 Sélectionnez la source d’entrée HDMI1/DVI à l’aide de la touche INPUT de la télécommande.

Remarque
Si le PC est muni d'une sortie DVI et non d'une sortie HDMI, il est nécessaire de réaliser un raccordement audio séparé. Si l'ordinateur n'est pas compatible avec Auto DVI, vous devez régler correctement la résolution de sortie. Pour obtenir une qualité d'image optimale, réglez la résolution de sortie de la carte graphique de l'ordinateur sur 1024x768, 60 Hz.
Remarque
Vous pouvez facilement brancher votre PC sur le téléviseur afin de bénéficier d'une image vive et d'un son de haute qualité. L'affichage prolongé d'une image fixe à l'écran risque d'endommager votre téléviseur. L'image risque de se fixer de manière définitive sur l'écran ; utilisez si possible un économiseur d'écran. - Branchez le PC sur l'entrée RGB (PC/DTV) ou HDMI IN du téléviseur après avoir sélectionné une résolution inférieure. En mode PC, la résolution, l'affichage vertical, le contraste ou la luminosité peuvent faire l'objet de parasites. En cas de parasites, modifiez la résolution du mode PC, changez la fréquence de rafraîchissement ou réglez la luminosité et le contraste jusqu'à ce que l'image s'affiche correctement. Si la fréquence de rafraîchissement de la carte graphique de votre ordinateur ne peut être modifiée, remplacez celle-ci ou contactez son fabricant. Type de synchronisation : séparé Branchez le cordon entre le port de sortie du PC et le port d'entrée RGB (PC/DTV) du téléviseur, ou entre le port de sortie HDMI du PC et le port d'entrée HDMI IN du téléviseur.
- Branchez le cordon audio du PC sur les entrées audio du téléviseur. (Les cordons audio ne sont pas fournis avec le téléviseur). Si votre PC est équipé d’une carte-son, effectuez les réglages appropriés. Ce téléviseur est compatible Plug and Play VESA. Il fournit des données EDID à l’ordinateur par l’intermédiaire du protocole DDC. Ainsi, l’ordinateur effectue automatiquement ses propres réglages pour utiliser le téléviseur. Le protocole DDC est préréglé pour les modes RGB (RGB analogue) et HDMI (HDMI, RGB numérique). Si nécessaire, regléz les paramètres Plug and Play du téléviseur. Si la carte graphique de votre PC ne peut transmettre des signaux RGB analogiques et numériques simultanément, reliez le port d’entrée RGB (PC/DTV) ou HDMI IN du téléviseur au PC. Si la carte graphique de votre PC peut transmettre des signaux RGB analogiques et numériques simultanément, sélectionnez le mode RGB ou HDMI sur le téléviseur (l’autre mode étant automatiquement réglé par le téléviseur grâce au système Plug and Play).
Raccordements et configuration
Résolution d'affichage prise en charge (37LC2R, 42LC2R) mode RGB / HDMI
| Resolution | Horizontal Frequency(KHz) | Vertical Frequency(Hz) |
| 720x400 | 31.469 | 70.08 |
| 640x480 | 31.469 | 59.94 |
| 37.500 | 75.00 | |
| 800x600 | 37.879 | 60.31 |
| 46.875 | 75.00 | |
| 832x624 | 49.725 | 74.55 |
| 1024x768 | 48.363 | 60.00 |
| 56.476 | 70.06 | |
| 60.023 | 75.02 | |
| 1280x768 | 47.693 | 59.99 |
| 1360x768 | 47.700 | 60.00 |
| 1366x768 | 47.700 | 60.00 |
Résolution d'affichage prise en charge (42PC1R, 50PC1R, 42PC3R*) mode RGB[PC] / HDMI[PC]
| Resolution | Horizontal Frequency(KHz) | Vertical Frequency(Hz) |
| 640x350 | 31.468 | 70.09 |
| 720x400 | 31.469 | 70.08 |
| 640x480 | 31.469 | 59.94 |
| 35.00 | 66.66 | |
| 37.861 | 72.80 | |
| 37.500 | 75.00 | |
| 848x480 | 31.5 | 60.00 |
| 37.799 | 70.00 | |
| 39.375 | 75.00 | |
| 852x480 | 31.5 | 60.00 |
| 37.799 | 70.00 | |
| 39.975 | 75.00 | |
| 832x624 | 49.725 | 74.55 |
| 800x600 | 37.897 | 60.31 |
| 48.077 | 72.18 | |
| 46.875 | 75.00 | |
| 1024x768 | 48.363 | 60.00 |
| 56.476 | 70.06 | |
| 60.023 | 75.02 | |
| 1280x1024 | 63.981 | 60.02 |
| 1280x768 | 47.693 | 59.99 |
| 60.091 | 74.93 | |
| 1360x768 | 47.700 | 60.00 |
| 59.625 | 75.02 | |
| 1366x768 | 47.700 | 60.00 |
| 59.625 | 75.02 |
Mise sous tension du téléviseur
Pour pouvoir utiliser toutes les fonctions du téléviseur, vous devez mettre celui-ci sous tension.
Mise sous tension du téléviseur
1 Vous devez tout d'abord raccorder correctement le cordon d'alimentation. Le téléviseur se met alors en mode de veille.
Pour allumer le téléviseur lorsque celui-ci est en mode de veille, appuyez sur la touche INPUT ou PR du téléviseur, ou appuyez sur POWER, TV, INPUT, PR + / - ou sur les touches numériques (0~9) de la télécommande.
Réglage du volume
1 Appuyez sur la touche VOL + / - pour régler le volume. 2 Si vous souhaitez couper le son, appuyez sur la touche MUTE. 3 Vous pouvez annuler cette fonction en appuyant sur les touches MUTE, VOL + / - ou I/II.
Sélection des programmes
1 Appuyez sur la touche PR + / - ou sur les touches NUMERIQUES pour selectionner un numero de programme.
Sélection de la langue pour l'affichage écran (en option)
- Le menu peut être affiché à l'écran en mode de langue désirée. Il vous suffit de sélectionner la langue de votre choix, ce que nous vous conseillons de faire dès l'installation du téléviseur.
1 Appuyez plusieurs fois sur la touche MENU et la touche / pour sélectionner le menu SPECIAL. 2 Appuyez sur le bouton et sur le bouton / pour sélectionner la Langue(Language). 3 Appuyez sur le bouton et sur le bouton / pour sélectionner la langue désirée. Toutes les indications à l'écran s'affichent dans la langue. 4 Appuyez sur la touche EXIT pour revenir sur l'image normale du téléviseur.

Remarque
Si vous décidez de partir en vacances, débranchez la prise de la prise murale.
Fonctions speciales
Le mode PIP vous permet de visionner en même temps deux modes différents (sources) sur l'écran de votre téléviseur. Une des deux sources affichera une image agrandie et l'autre un insert plus petit.
Le mode DW (Double fenêtre) divise l'écran en 2, ce qui vous permet d'afficher en même temps deux sources d'images sur l'écran de votre téléviseur. Chaque source s'affiche sur une moitié d'écran.

Réception PIP / double fenêtre / POP
Appuyez sur la touche PIP pour accéder à l'image secondaire. Chaque fois que vous appuyez sur la touche PIP, les options PIP changent selon le schéma ci-dessous.

Sélection de chaîne de l'image secondaire
Appuyez sur les touches PIP PR -/+ pour sélectionner une chaîne de l'image secondaire.
Sélection de la source d'entrée de l'image secondaire
Appuyez sur la touche PIP INPUT pour sélectionner la source d'entrée de l'image secondaire.
Chaque fois que vous appuyez sur la touche PIP INPUT, chaque source d'entrée de l'image secondaire s'affiche.

Réglage de la taille de l'image secondaire (mode PIP uniquement)
Appuyez sur la touche SIZE pour régler le format de l'image secondaire.
Déplacement de l'image secondaire (mode PIP uniquement)
Si vous appuyez plusieurs fois sur la touche POSITION, l'image se déplace vers la gauche.

1 Appuyez le bouton MENU, ensuite le bouton / pour selectionner le menu ECRAN. 2 Appuyer sur le bouton et sur le bouton / pour selectionner PIP Transparence. 3 Appuyez successivement sur les touches et / pour régler le niveau de transparence de l'image incrustée. 4 Appuyez sur la touche EXIT pour revenir sur l'imagena normale du téléviseur.
Permutation de l'image principale et de l'image secondaire
Appuyez sur la touche SWAP pour échanger les images principales et les images secondaires.

POP (image hors image : recherche de chaîne)
Utilisez le mode POP pour rechercher les programmes un par un parmi tous les programmes mémorisés sur les 3 écrans POP (la source de la chaîne principale reste à l'écran). Les images de toutes les chaînes programmées sont recherchées avec l'écran 3 POP.
Si l'image principale est affichée sur le téléviseur, la recherche des images secondaires s'effectue sur le même programme.

La fonction Télétexte (ou Texte TOP) est disponible en option. Par conséquent, seuls les postes sur lesquels le système Télétexte a été installé peuvent recevoir les émissions télétexte en utilisant les touches correspondantes.
Le télétexte est un service gratuit diffusé par la plupart des chaînes de télévision. Il propose des informations de dernières minutes concernant les actualités, la météo, les programmes TV, les valeurs de la bourse, ainsi que de nombreux autres sujets.
Le décodeur télétexte de ce téléviseur est compatible avec les systèmes SIMPLE, TOP et FASTEXT. Un télétexte SIMPLE (standard) contient un certain nombre de pages, que l'on peut sélectionner en tapant directement le numéro correspondant. TOP (Table Of Page) et FASTEXT offrent des méthodes de sélection de page plus modernes, vous permettant d'afficher une page sans connaître son numéro.
Sélection de la langue du télétexte (en option)
Appuyez sur la touche MENU, puis utilisez les touches ▲ / ▼ pour sélectionner le menu SPECIAL. 2 Appuyez sur la touche, puis utilisez les touches ▲ / ▼ pour sélectionner Langue(Language). 3 Appuyez sur la touche, puis utilisez les touches ▲ / ▼ pour sélectionner Télétexte. 4 Appuyez sur les touches ▲ / ▼ pour sélectionner la langue de votre choix. 5 Appuyez plusieurs fois sur la touche MENU pour revenir au mode de visionnage normal.
Remarque
a. Sélectionnez la langue du télétexte de votre région.
b. Dans le cas contraire, il est possible que le télétexte ne s'affiche pas correctement à l'écran.
c. Cette fonction n'est pas disponible dans tous les pays.
Pour activer/désactiver le télétexte
Pour activer le télétexte, appuyez sur la touche TEXT. La première page ou la dernière page sélectionnée s'affiche. Le décodeur de télétexte sélectionne le mode télétexte retransmis par la station. Deux numéros de page, le nom de la chaîne, la date et l'heure sont maintenant affichés sur la première ligne de l'écran. Le premier numéro de page indique votre sélection, tandis que le second indique le numéro de la page actuellement affichée.
Pour désactiver le télétexte, appuyez sur la touche TEXT. Le téléviseur réaffiche le mode précédent.
Sélection des pages
1 Tapez les trois chiffres correspondant au numero de la page avec les touches NUMEROTEES. Si vous tapez un mauvais chiffre, completez le numero errone et reconnendez, afin de selectionner le numero correct. Pour selectionner la page precedente ou la page suivante, vous pouze utiliser la touche PR+/-.
Texte TOP (en option)
- Le guide utilisateur situé en haut de l'écran affiche quatre zones colorées en rouge, vert, jaune et bleu. La zone jaune désigne le groupe suivant, la zone bleue le bloc suivant.
Sélection des groupes/blocs/pages
- La touche BLEU permet de passer d'un bloc au suivant.
- La touche JAUNE permet de passer au groupe suivant (avec fin de page automatique au bloc suivant).
- La touche VERTE permet d'afficher la page suivante (avec fin de page automatique au groupe suivant). Vous pouvez également utiliser la touche PR+.
- La touche ROUGE permet de revenir en arrière. Vous pouvez également utiliser la touche PR-.
Sélection directe des pages
En mode TOP, comme en mode SIMPLE, vous pouvez selectionner une page télétexte en tapant les trois chiffres correspondant à son numéro avec les touches NUMEROTEES.
- Les pages télétexte sont codées en fonction des cases colorées figurant en bas de l'écran. Pour sélectionner une page, il suffit d'appuyer sur la touche de couleur correspondante.
Sélection des pages
- Sélectionnez la page d'index en appuyant sur la touche INDEX.
- Vous pouvez sélectionner les pages codées en fonction des cases colorées en appuyant sur la touche de couleur correspondante.
- En mode FASTEXT, comme en mode SIMPLE, vous pouvez selectionner une page télétexte en tapant les trois chiffres correspondant à son numéro avec les touches NUMEROTES.
- Pour sélectionner la page précédente ou la page suivante, utilisez la touche PR+/-.
Fonctions télétexte spéciales

Certaines pages contiennent des informations cachées (solutions de devinettes ou d'énigmes, par exemple). Une simple pression sur la touche permet d'afficher les informations cachées.
Une seconde pression cache à nouveau les informations.

SIZE (taille)
Cette fonction permet de doubler la taille des lettres à l'écran.
Une simple pression sur la touche agrandit la moitié supérieure de la page.
Une deuxième pression agrandit la moitié inférieure de la page.
Une troisième pression restaure l'affichage initial.

Mise à jour
Cette fonction permet d'afficher l'image TV, pendant la recherche d'une page télétexte. Le symbole apparaît alors dans le coin supérieur gauche de l'écran. Lorsque la page mise à jour est disponible, le symbole est remplacé par le numéro de la page.
Appuyez sur cette touche pour visualiser la page de télétexte mise à jour.

Pour afficher l'heure en haut à droite de l'écran pendant la retransmission d'un programme de télévision. Pour la faire disparaître, appuyez sur la touche. En mode télétexte, pressez le bouton pour sélectionner un numéro de sous-page. Le numéro de sous-page est affiché en bas de l'écran. Pour garder ou changer la sous-page, presser les boutons Rouge/Vert, / ou NUMEROTEES.
Presser encore pour quitter la fonction.

Interrompt le défilé automatique des pages pour les pages télétexte comprenant plusieurs pages écran. Le nombre de pages écran et le numéro de celle qui est actuellement affichée apparaît normalement au-dessous de l'heure. Lorsque vous appuyez sur cette touche, le symbole stop apparaît dans le coin supérieur gauche de l'image et le défilé automatique des pages écran est bloqué.
Une nouvelle pression permet de relancer le défilé.
Selection et réglage des MENUS à l'écran
Il est possible que l'affichage à l'écran de votre téléviseur soit différent de celui indiqué dans les schémas de ce manuel.
1 Appuyez plusieurs fois sur la touche MENU et la touche /, pour obtenir l'affichage de chaque menu. 2 Appuyez sur le bouton et sur le bouton / pour sélectionner une option de menu. 3 Changez le paramétrage d'une option dans le sous-menu ou le menu déroulant avec le bouton /. Vous pouvez vous déplacer vers le menu supérieur en appuyant sur la touche OK ou sur la touche MENU.

Remarque
a. La fonction OSD (Menu à l'écran) vous permet de régler le menu de l'écran à votre convenance car cette fonction est suivie d'une présentation graphique. b. Il est possible que l'OSD (Menu à l'écran) de ce Mode d'emploi soit différent de celui de votre téléviseur ; il est effectivement donné à titre d'exemple pour faciliter la configuration du téléviseur. c. En mode Télétexte, les menus ne sont pas disponibles. d. Et dans quelques modèles, le menu XGA n'est pas disponible. e. ISM Method et Low Power function ne sont pas disponibles en modèles 37LC2R^ 42LC2R^
Mémorisation des châines
Votre téléviseur peut memoriser jusqu'a 100 chaînes, sous forme de numérios (de 0 à 99). Une fois les chaînes programmesées, vous pouvez les visionner l'une après l'autre en utilisant la touche PR+/- ou les touches NUMEROTEES.
Vous avez la possibilité d'effectuer la programmation en mode automatique ou en mode manuel.
Cette méthode permet de mémoriser tous les programmes qui peuvent être reçus. Nous vous recommandons d'utiliser la programmation automatique lors de l'installation du téléviseur.
1 Appuyez plusieurs fois sur la touche MENU et la touche / pour selectionner le menu EMETTEUR. 2 Appuyer sur la touche et la touche / pour selectionner la Prog. auto. 3 Appuyez sur la touche, puis utilisez les touches / pour selectionner Systeme. 4 Appuyez sur les touches /▶ pour selectionner un menu du système TV;
L : SECAM L/L' (France) BG : PAL B/G, SECAM B/G (Europe/Europe de l'Est/Asie/Nouvelle-Zélande/Moyen-Orient/Afrique/Australie) I : PAL I/II (Royaume-Uni/Irlande/Hong Kong/Afrique du Sud) DK : PAL D/K, SECAM D/K (Europe de l'Est/Chine/Afrique/CEI)
5 Sélectionnez Mémoire avec la touche / . 6 Appuyez sur les touches ou sur les touches NUMERIQUES pour sélectionner le numéro de chaîne de départ. Si vous utilisez les touches NUMERIQUES, tout numéro inférieur à 10 doit être précédé du chiffre "0"; par ex. : "05" pour 5. 7 Sélectionnez Début avec la touche /. 8 Lancez la programmation automatique en appuyant sur la touche Toutes les chaînes qui peuvent être reçues sont mises en mémoire. Pour les chaînes qui reçoivent les informations VPS (Video Programme Service), PDC (Programme Delivery Control), Télextest, le nom de la chaîne est mémorisé. Si aucun nom de chaîne peut être associé à une chaîne, le numéro de canal est attribué et mémorisé sous la forme C (V/UHF 01-69) ou S (Cable 01-47), suivi d'un numéro.
Pour arrêter la programmation automatique, appuyez sur la touche MENU.
En fin de programmation automatique, le mode Édition programmes apparait à l'écran. Pour opérer le programme mémorisé, reportez-vous à la section 'Édition des programmes'.
Appuyez sur la touche EXIT pour revenir au visionnage du téléviseur.

2\~7
Programmation manuelle
Ce mode de programmation permet de rechercher manuellement les canaux et de leur affecter les numéros de votre choix.
1 Appuyez plusieurs fois sur la touche MENU et la touche / pour selectionner le menu EMETTEUR. 2 Appuyer sur la touche et la touche / pour selectionner la Prog. manuelle. 3 Appuyer sur la touche et la touche / pour selectionner la Mémoire. 4 Appuyez sur les touches / ou sur les touches NUMERIQUES pour selectionner le numero de chaine de votrechoix (de 0 a 99). Si vous utilisez les touches NUMERIQUES, tout numero inférieur à 10 doit etre precedé du chiffre 'O'; par ex.: '05' pour 5. 5 Sélectionnez Système avec la touche ▲ / ▼. 6 Appuyez sur les touches / pour selectionner un menu du système TV; L: SECAM L/L' (France) BG : PAL B/G, SECAM B/G (Europe/Europe de I'Est/Asie/ Nouvelle-Zelande/Moyen-Orient/Afrique/Australie) I PALI/II (Royaume-Uni/Irlande/Hong Kong/Afrique du Sud) DK: PAL D/K, SECAM D/K (Europe de I'Est/Chine/Afrique/CEI) 7 Sélectionnez Tuner avec la touche /. 8 Appuyez sur les touches /▶ pour selectionner V/UHF ou Câble. 9 Appuyez sur la touche / pour selectionner Canal. 10 Voussouspoucezeguallyselectionnerlachine devoirechoixa l'aide des touches /ou des touches NUMERIQUES. Sic'est possible, selectionnzele numero de chaine directement avec les touches numériques. Tout nombre inférieur a 10 doit etre precededu chiffre 0^; parex.:‘05'pour5. 11 Appuyez sur la touche / pour selectionner Recherche. 12 Appuyez sur le bouton / pour commencer la recherche. La recherche s'arrête lorsqu'une chaine est trouvée. 13 Appuyez sur la touche OK pour le mémoriser. Pour programmer une autre station, repétez étapes 3 à 13. 15 Appuyez sur la touche EXIT pour revenir au visionnage du téléviseur.

Prog. auto
Prog. manuelle
Edition prog.
Chaînes préférées
2\~14
RéGLAGE DE PRECISION
En règle générale, le réglage de précision ne s'avère nécessaire que lorsque la qualité de réception est médiocre.

1 Appuyez plusieurs fois sur la touche MENU et la touche / pour selectionner le menu EMETTEUR. 2 Appuyer sur la touche et la touche / pour selectionner la Prog. manuelle. 3 Appuyer sur la touche et la touche / pour selectionner la Régl. fin. 4 Appuyez sur le bouton / pour proceder à un Réglage de précision de l'image et du son. 5 Appuyez sur la touche OK pour le mémoriser. 6 Appuyez sur la touche EXIT pour revenir au visionnage du téléviseur.

2\~5
Affectation d'un nom à une chaîne
Vous pouvez aussi affecter à chaque numéro un nom de cinq lettres.

1 Appuyez plusieurs fois sur la touche MENU et la touche / pour selectionner le menu EMETTEUR. 2 Appuyer sur la touche et la touche / pour selectionner la Prog. manuelle. 3 Appuyer sur la touche et la touche / pour selectionner Nom. 4 Appuyer sur la touche et la touche /. Vous pouvez utiliser un espace, le signe +, -, un chiffre de 0 à 9 ou une dette de l'alphabet, de A à Z. 5 Appuyez sur les touches / pour selectionner la position, puis choisissez le deuxième caractère et ainsi de suite. 6 Appuyez sur la touche OK pour le mémoriser. 7 Appuyez sur la touche EXIT pour revenir au visionnage du téléviseur.
2\~6
Amplificateur d'antenne (en OPTION)
Sur certains appareils cette fonction est optionnelle. Seul un appareil equipped de l'amplificateur d'antenne peut réaliser cette fonction.
En cas de mauvaise réception du signal d'antenne, vous pouvez utiliser l'amplificateur incorporé en effectuant les manipulations suivantes.

1 Appuyez plusieurs fois sur la touche MENU et la touche / pour selectionner le menu EMETTEUR. 2 Appuyez sur la touche, puis sur la touche / pour selectionner Preampli. 3 Appuyez sur la touche, puis sur la touche / pour selectionner Marche ou Arrêt. 4 Appuyez sur la touche EXIT pour revenir au visionnage du téléviseur.

2 3
Edition des programmes
Cette fonction vous permet de supprimer ou de sauter les programmes mémorisés. Vous pouvez également déplacer des chaînes vers d'autres numéros de programmes ou effectuer une copie vers les numéros de programmes suivants.
1 Appuyez plusieurs fois sur la touche MENU et la touche / pour selectionner le menu EMETTEUR. 2 Appuyer sur la touche et la touche / pour selectionner la Edition prog.. 3 Appuyez sur la touche pour afficher le menu correspondant au mode Programme edit.
Supprimer un programme
1. Sélectionnez le programme que vous pouvez supprimer à l'aide de la touche / / /. 2. Appuyez sur la touche ROUGE deux fois. Le programme sélectionné est supprimé et tous les programmes suivants sont avancés d'un rang dans la programmation.
Copier un programme
- Sélectionnez le programme que vous pouvez copier à l'aide de la touche ▲ / ▼ / △ / ▷. 2. Appuyez sur la touche VERTE. Tous les programmes suivants sont avancés d'un rang dans la programmation, vers le numéro suivant dans la table.
Déplacer un programme
- Sélectionnez le programme que vous voulez déplacer à l'aide de la touche ▲ / ▼ / △ / ▷. 2. Appuyez sur la touche JAUNE. 3. Déplacez le programme vers le numéro de programme souhaité, à l'aide de la touche ▲ / ▼ / △ / ▷. 4. Appuyez de nouveau sur la touche JAUNE pour désactiver cette fonction.
Sauter un programme
- Sélectionné le programme que vous poulez sauter à l'aide de la touche ▲/▼/▲/▶. 2. Appuyez sur la touche BLEU. Le programme sauté devient bleu. 3. Appuyez de nouveau sur la touche BLEU pour libérer le programme sauté. Losqu'un numero de programme est sauté, cela peut dire que vous ne pourez pas le selectionner en utilisant la touche / pendant le fonctionnement normal de la télévision. Si vous foulez trouver directement le programme sauté, saisissez le numero de programme en utilisant les touches NUMEROTES ou selectionnee-le en menu 'Edition ou Table des programmes.'
Appuyez sur la touche EXIT pour revenir au visionnage du téléviseur.

Prog. auto
Prog. manuelle
Edition prog.
Chaînes préférées
1 2

Chaînes préférées
Cette fonction vous permet de sélectionner directement votre programme favori.
Presser FAV pour sélectionner le programme favori enregistré.

1 Appuyez plusieurs fois sur la touche MENU et la touche / pour selectionner le menu EMETTEUR. 2 Appuyer sur le bouton et sur le bouton / pour selectionner Chaines préférentes 3 Appuyez sur la touche 4 Sélectionnez - - - - - - avec la touche / . 5 Sélectionnez une chaîne de votre choix à l'aide des touches «/» ou des touches NUMÉRIQUES. Tout nombre inférieur à 10 doit être précédé du chiffre '0'; par ex.: '05' pour 5. Pour enregistrer un autre programme, repêtez les étapes 4 au 5. Vous pouvez enregistrer jusqu'à 8 programmes. 7 Appuyez sur la touche EXIT pour revenir au visionnage du téléviseur.


TABLE des programmes
Vous pouvez vérifier les programmes enregistrés en mémoire en affichant la table des programmes.
Affichage de la table des programmes
Appuyez sur la touche LIST pour afficher la table des programmes. La première page de la table des programmes s'affiche. Elle contient dix programmes.
Remarque
a. Certains numéros de programmes peuvent apparaître en bleu. Il s'agit des programmes que vous avez sautés en mode Ranger les programmes. b. Pour certains programmes, le numéro de canal figure sur la table des programmes : aucun nom de canal n'est attribué.
Sélection d'un programme dans la table
Sélectionnez le programme avec la touche / / /. Appuyez ensuite sur la touche OK. Le téléviseur affiche la programme sélectionné.
Pour faire défiler la table des programmes
La liste des programmes est composée de 10 pages et peut donc contenir jusqu'à 10 programmes. Pour passer d'une page à l'autre, utilisez la touche ▲/▼/▲/■.
Appuyez sur la touche LIST pour revenir au visionnage du téléviseur.


PSM (mémoire des paramètres de l'image)
Dynamique
Sélectionnez cette option pour afficher une image nette.
Standard
État d'affichage de l'écran le plus utilisé et le plus naturel.
Doux
Sélectionnez cette option pour afficher une image douce.
Utilisateur 1/2
Sélectionnez cette option pour utiliser les réglages définis par l'utilisateur.

Appuyez sur la touche MENU, puis sur les touches / pour sélectionner le menu IMAGE.

Appuyer sur le bouton et sur le bouton / pour sélectionner Pré-réglages image.

Appuyer sur le bouton et sur le bouton / pour sélectionner Dynamique, Standard, Doux, Utilisateur 1 ou Utilisateur 2.

Appuyez sur la touche EXIT pour revenir au visionnage du téléviseur.
- PSM permet de régler le téléviseur de façon à obtenir une image parfaite. Sélectionnez la valeur prédéfinie dans le menu PSM selon la catégorie du programme.
- Lorsque vous réglez manuellement le Contraste, la Luminosité, la Couleur, la Netteté, la fonction Préréglages image passe en mode Utilisateur.
- Les règles Dynamique, Standard et Doux sont régées en usine et ne peuvent donc pas être modifiés.

Préréglages image
Temp de coul
Avancé
Réglages usine

Réglage de l'image (PSM - OPTION utilisateur)
Contraste Régle la différence entre les niveaux clairs et foncés de l'image.
Luminosité Augmente ou réduit les niveaux de blanc de l'image.
Couleur Règle l'intensité de toutes les couleurs.
Netteté Règle le niveau de netteté des coins entre les zones claires et foncées de l'image. Plus le niveau est bas, plus l'image est nette.
Teinte Règle l'équilibre entre les niveaux de rouge et de vert.

1 Appuyez sur la touche MENU, puis sur les touches / pour sélectionner le menu IMAGE. 2 Appuyez sur la touche, puis sur les touches / pour sélectionner Préréglages image. 3 Appuyez sur la touche, puis sur les touches / pour sélectionner Utilisateur 1 ou Utilisateur 2. 4 Appuyez sur la touche, puis sur les touches / pour sélectionner l'option d'image de votre choix (Contraste, Luminosité, Couleur, Netteté et Teinte). 5 Appuyez sur les touches / pour effectuer les réglages de votre choix. 6 Appuyez sur la touche EXIT pour revenir au visionnage du téléviseur.
3\~5
Remarque
Vous ne pouvez pas régler la couleur, la netteté ou la teinte selon votre choix en mode RGB-PC, HDMI-PC.
CSM (température de couleur)
Pour réinitialiser les valeurs prédéfinies, sélectionnez l'option Normal (Plat).
Choisissez l'un des réglages de couleur automatiques. Réglez sur Warm (Chaud) pour augmenter les couleurs chaudes, telles que le rouge, ou sur Cool (Froid) pour afficher des couleurs moins intenses, comme par exemple le bleu.

1 Appuyez sur la touche MENU, puis sur les touches △/▽ pour sélectionner le menu IMAGE. 2 Appuyez sur la touche et la touche △/▽ pour sélectionner Temp de coul. 3 Appuyez sur la touche △/▽, puis sur les touches △/▽ pour sélectionner Froid, Normal, Chaud ou Utilisateur. 4 Appuyez sur la touche EXIT pour revenir au visionnage du téléviseur.
2 3
Réglage MANUEL de la couleur (CSM - OPTION utilisateur)
Vous pouvez régler la température des couleurs rouge, verte et bleue à votre convenance.
1 Appuyez sur la touche MENU, puis sur les touches / pour sélectionner le menu IMAGE. 2 Appuyez sur la touche et la touche / pour sélectionner Temp de coul. 3 Appuyez sur la touche et la touche / pour sélectionner Utilisateur. 4 Appuyez sur la touche et la touche / pour sélectionner Rouge, Vert ou Bleu. 5 Réglez le niveau avec la touche / 6 Appuyez sur la touche EXIT pour revenir au visionnage du téléviseur.

3 4 5
XD est la seule technologie d'amélioration de l'image de LG Electronic qui vous permette d'afficher des sources haute définition grâce à un algorithme avancé de traitement de signaux numériques.
Ce menu est activé après avoir sélectionné User1 (Utilisateur 1) ou User2 (Utilisateur 2) du menu PSM.
1 Appuyez sur la touche MENU, puis sur les touches / pour sélectionner le menu IMAGE. 2 Appuyez sur la touche, puis sur les touches / pour sélectionner XD. 3 Appuyez sur la touche, puis sur les touches / pour sélectionner Manuel. 4 Appuyez sur la touche, puis sur les touches / pour sélectionner XD Contraste, XD Couleur, XD NR ou MPEG NR. 5 Appuyez sur la touche, puis utilisez les touches / pour effectuer les réglages de votre choix. 6 Appuyez sur la touche EXIT pour revenir au visionnage du téléviseur.
- XD Contraste : Optimise le contraste automatiquement selon la luminosité.
- XD Color : Règle les couleurs automatiquement pour reproduire les couleurs naturelles.
- XD NR : Supprime le bruit là où le point ne puisse pas endommager l'image originale.
- MPEG NR : permet de réduire le bruit de l'image pouvant apparaître à l'écran lorsque vous regardez la télévision.


Lorsque vous visionnez un film, cette fonction règle automatiquement le téléviseur de manière à ce qu'il restitue la meilleure qualité d'image possible. Réglage du contraste et de la luminosité de l'écran à l'aide du niveau noir.
Cinéma- cette fonction est disponible dans les modes suivants: TV, AV1, AV2, S-Video2, AV3, AV4 (en option) ou Component 480i/576i.
Niveau noir - cette fonction est disponible dans les modes suivants: AV(NTSC), HDMI[PC/DTV].
1 Appuyez sur la touche MENU, puis sur les touches / pour sélectionner le menu IMAGE. 2 Appuyez sur la touche, puis sur les touches / pour sélectionner Avonce. 3 Appuyez sur la touche, puis sur les touches / pour sélectionner Cinéma ou Niveau noir. 4 Appuyez sur la touche, puis sur les touches / pour sélectionner Marche, Arrêt, Bas ou haut.
- Bas : l'image devient plus lumineuse.
- Haut : l'image devient plus nombre.
5 Appuyez sur la touche EXIT pour revenir au visionnage du téléviseur.

PréprégLages image
Temp de coul
Avancé
Réglages usine
2 3
Restauration des paramètres USINE

1 Appuyez sur la touche MENU, puis sur les touches / pour sélectionner le menu IMAGE. 2 Appuyez sur le bouton et sur le bouton / pour sélectionner Reglages usine. 3 Appuyez sur la touche
- Permet de rétablir les paramètres par défaut de PSM, CSM, XD et Advanced (Avancé).
Prévisualisations image
Temp de coul
Avancé
Réglaces usine

2 3
SSM (préréglages son)
Vous peuvent sélectionner les paramètres son de votre choix : Surround MAX, Flat (Normal), Music (Musique), Movie (Film) ou Sports ; vous pouvez également régler la fréquence son de l'égaliseur.
La fonction SSM (Préréglages son) vous permet de bénéficier d'une meilleure qualité de son sans aucun réglage particulier, car le téléviseur règle automatiquement les effets sonores selon le contenu du programme en cours.
Lorsque vous régalez manuellement l'égaliseur de son, la fonction SSMonne automatiquement en mode Utilisateur.
Les options Surround Max, Plat, Musique, Film et Sports sont prédéfinies en usine et ne peuvent donc pas être modifiées.
Surround Max Sélectionnez cette option pour avoir un son réaliste.
Plein Son le plus puissant et le plus naturel.
Musique Sélectionnez cette option pour bénéficier d’un son original lorsque vous écoutez de la musique.
Film Sélectionnez cette option pour bénéficier d’un son sublime.
Sports Sélectionnez cette option pour regarder des émissions de sport.
Utilisateur Sélectionnez cette option pour utiliser les réglages définis par l'utilisateur.

Pré-réglages son
AVL
Balance
Haut-parleurs
1 Appuyez plusieurs fois sur la touche MENU et la touche / pour sélectionner le menu SON. 2 Appuyez sur la touche et la touche / pour sélectionner Préréglages son. 3 Appuyez sur la touche et la touche / pour sélectionner Surround MAX, Plat, Musique, Film, Sports ou Utilisateur. 4 Appuyez sur la touche EXIT pour revenir au visionnage du téléviseur.
Préréglages son
AVL
Balance
Haut-parleurs

Surround MAX
V Plat
Musique
Film
Sports
Utilisateur
Réglage de la frequency du son (SSM - OPTION utilisateur)
Réglez l'égaliseur de sons.
1 Appuyez plusieurs fois sur la touche MENU et la touche / pour sélectionner le menu SON. 2 Appuyez sur la touche et la touche / pour sélectionner Prérglages son. 3 Appuyez sur la touche et la touche / pour sélectionner Utilisateur. 4 Appuyez sur la touche 5 Sélectionnez une fréquence de son en appuyant sur les touches /.
Réglez le niveau sonore selon votre choix en appuyant sur les touches /
Appuyez sur la touche EXIT pour revenir au visionnage du téléviseur.

2\~4
Contrôle automatique du volume (AVL)
La fonction AVL permet de maintenir un niveau de volume égal, même lorsque vous changez de chaîne.
1 Appuyez plusieurs fois sur la touche MENU et la touche △/▽ pour sélectionner le menu SON. 2 Appuyez sur la touche et la touche △/▽ pour sélectionner AVL. 3 Appuyez sur la touche et la touche △/▽ pour sélectionner Marche ou Arrêt. 4 Appuyez sur la touche EXIT pour revenir au visionnage du téléviseur.

Préréglages son
AVL
Balance
Haut-parleurs

2 3
Réglage de la balance
Vous pouvez régler l'équilibre du son du haut-parleur selon votre choix.
1 Appuyez plusieurs fois sur la touche MENU et la touche / pour sélectionner le menu SON. 2 Appuyez sur la touche et la touche / pour sélectionner Balance. 3 Appuyez sur la touche, puis utilisez les touches / pour effectuer les réglages de votre choix. 4 Appuyez sur la touche EXIT pour revenir au visionnage du téléviseur.

Haut-parleur
Vous pouvez régler le statut des haut-parleurs du téléviseur.
En modes AV1, AV2, SAV2, AV3, AV4, COMPONENT, RGB et HDMI1/DVI, le son du haut-parleur interne peut être produit même s'il n'y a aucun signal vidéo.
Si vous souhaitez utiliser votre système hi-fi stéréo externe, éteignez les haut-parleurs du téléviseur.
1 Appuyez plusieurs fois sur la touche MENU et la touche △/▽ pour sélectionner le menu SON. 2 Appuyez sur la touche et la touche △/▽ pour sélectionner Haut-parleurs. 3 Appuyez sur la touche puis utilisez les touches △/▽ pour sélectionner Marche ou Arrêt. 4 Appuyez sur la touche EXIT pour revenir au visionnage du téléviseur.

Préréglages son AVL Balance Haut-parleurs

2 3
Réception stéréo/bilingue
Lorsqu'un programme est sélectionné, les paramètres son apparaissent sur l'écran, après la disparition des informations relatives au numéro de programme et un nom à une chaîne.
DUAL I permit de retransmettre la langue originale sur les haut-parleurs.
DUAL II permit de retransmettre la langue du doublage sur les haut-parleurs.
DUAL I+II permit de retransmettre une langue sur chaque haut-parleur.

| Diffusion | Affichage écran (OSD) |
| Mono | MONO |
| Stéréo | STEREO |
| Dual (bilinge) | DUAL I |
Sélection du son mono
Si le signal stéreo est faible, l'émission sera (Meilleure en mono. Pour passer en mono, appuyez sur la touche I/II. Pour repasser en stéreo, rappuyez sur la touche I/II.)
Si une émission est diffusée en deux langues, vous pouvez désigner un nombre d'actions. Si la personne ne possède l'option de l'air purifié, sauf le cas d'une maladie, et si elle a été mise en service, sauf le cas d'une maladie, la responsabilité des personnes est à la responsabilité du personnel de la société.
Réception NICAM
Votre magnétoscope est équipé d'un décodeur de son numérique, qui vous permet de recevoir un son numérique NICAM (Near Instantaneous Compressed Audio Multiplexing) d'excellente qualité.
La sortie audio peut être sélectionnée en fonction du type d'émission reçue avec la touche I/II.
Lorsque vous recevez un son NICAM mono, sélectionnez NICAM MONO ou FM MONO. Lorsque vous recevez un son NICAM stéréo, sélectionnez NICAM STEREO ou FM MONO. Si le signal stéréo est mauvais, passez en mono. Lorsque vous recevez un son NICAM dual (bilingue), sélectionnez NICAM DUAL I, NICAM DUAL II ou NICAM DUAL I+II ou MONO.
Selection de la SORTIE AUDIO
En mode AV1, AV2, S-Video2, AV3, AV4 (en option), Component, RGB, HDMI1/DVI ou HDMI 2, vous pouvez diriger la sortie son vers le haut-parleur droit ou gauche.
Pour sélectionner la sortie audio, appuyez une ou plusieurs fois sur la touche I/II.
L+R: Le signal audio de l'entrée audio L sort sur le haut-parleur gauche, le signal audio de l'entrée R sur le haut-parleur droit. L+L : Le signal audio de l'entrée audio L sort sur les haut-parleurs droit et gauche. R+R : Le signal audio de l'entrée audio R sort sur les haut-parleurs droit et gauche.
Configuration de l'horloge
Vous devez régler l'horloge avant d'utiliser la fonction de mise en marche/arrêt automatique.
Si une panne de courant a lieu ou si le téléviseur est débranché, il est possible que l'heure en cours se dérègle ; dans ce cas, vous devez réinitialiser l'horloge.
1 Appuyez sur le bouton MENU, ensuite le bouton / pour sélectionner le menu HEURE. 2 Appuyez sur la touche et la touche / pour sélectionner la Horloge. 3 Appuyez sur les touches, puis / pour régler les heures. 4 Appuyez sur les touches, puis / pour régler les minutes. 5 Appuyez sur la touche EXIT pour revenir au visionnage du téléviseur.

Horloge
Heure arrêt
Heure Marche
Arret auto.
1 2 3
Minuteur de mise en marche/arrêt
Le minuteur de mise en arrêt commute automatiquement l'appareil à la position stand-by après que le temps de pré-réglage se soit écoulé.
Si aucune touche de la télécommande n'est activée durant les deux heures qui suivent la mise en service, l'appareil s'arrête automatiquement.
Cette fonction de "démarrage et arrêt automatique à heures choisies" est une programmation journalière.
L'arrêt automatique prime sur la mise en marche automatique si la même heure est programmée pour chacune de ces fonctions.
Le téléviseur doit être en mode veille pour pouvoir se mettre automatiquement en marche.

1. Appuyez sur le bouton MENU, ensuite le bouton / pour sélectionner le menu HEURE. 2. Appuyez sur la touche et la touche / pour sélectionner la Heure arrêt/Heure Marche. 3. Appuyez sur la touche et la touche / pour sélectionner la Marche.
- Pour annuler la mise en marche/arrêt automatique, appuyez sur la touche / pour sélectionner Arrêt.
4 Appuyez sur les touches, puis / pour régler les heures. 5 Appuyez sur les touches, puis / pour régler les minutes. 6 Fonction On Timer (Heure marche) uniquement
- Programme : appuyez sur la touche, puis sur les touches / pour sélectionner le programme. Volume : appuyez sur la touche, puis sur les touches / pour régler le niveau du volume lors de la mise sous tension.
Appuyez sur la touche EXIT pour revenir au visionnage du téléviseur.



Arrêt AUTO.
Si cette fonction est activée et qu'il n'y a aucune signal d'entrée, le téléviseur s'éteint automatiquement après 10 minutes.

1 Appuyez sur le bouton MENU, ensuite le bouton △/▽ pour sélectionner le menu HEURE. 2 Appuyez sur le bouton et sur le bouton △/▽ pour sélectionner Arrêt auto.. 3 Appuyez sur le bouton et sur le bouton △/▽ pour sélectionner Marche or Anet. 4 Appuyez sur la touche EXIT pour revenir au visionnage du téléviseur.
Horloge Heure arrêt Heure Marche Arrêt auto.

2 3
Mise en VEILLE
Il n'est pas nécessaire d'éteindre le téléviseur avant d'aller vous coucher.
La fonction Sleep Timer (Minuterie de veille) permet de mettre automatiquement le poste en mode veille à l'heure programmée.

Appuyez plusieurs fois sur la touche SLEEP pour sélectionner le nombre de minutes. L'option ' - - - ' apparaît tout d'abord à l'écran, suivie des options de mise en veille suivantes : 10, 20, 30, 60, 90, 120, 180 et 240 minutes.
- Lorsque le nombre de minutes que vous avez réglé s'affiche à l'écran, la minuterie démarre.
- Pour savoir combien de minutes il reste avant que le téléviseur ne s'éteigne, appuyez une fois sur la touche SLEEP.
- Pour annuler la mise en veille, appuyez plusieurs fois sur la touche SLEEP jusqu'à ce que ' - - - ' apparaisse.
- Si vous éteignez l'appareil, le paramètre sélectionné est annulé.

CHILD LOCK (verroillage)
- Le téléviseur peut être réglé de manière à ce que la télécommande soit indispensable pour contrôler ses différentes fonctions.
Cela permet d'interdire eventuellement l'utilisation du téléviseur.
Ce téléviseur est programmé pour mémoriser les dernières options qui ont été configurées, même si celui-ci est éteint.

1 Appuyez sur la touche MENU, puis sur les touches △/▽ pour sélectionner le menu SPECIAL. 2 Appuyez sur le bouton et sur le bouton △/▽ pour sélectionner Verrouillage. 3 Appuyez sur le bouton et sur le bouton △/▽ pour sélectionner Marche ou Arrêt. 4 Appuyez sur la touche EXIT pour revenir au visionnage du téléviseur.
Remarque
- Lorsque le Verrouillage est 'Marche' et que le téléviseur est hors tension, appuyez sur les touches /1, INPUT, PR / du téléviseur ou sur les touches POWER, INPUT, TV, PR + - ou les touches NUMERIQUES de la télécommande.
- Lorsque le Verrouillage est 'Marche', le message 'Verrouillage parental activé' s'affiche à l'écran si vous n'appuyez sur aucune touche du panneau avant du téléviseur pendant le visionnage.
ISM METHOD (réduction de la rémanence à l'écran) (méthode ISM)
L'affichage prolongé d'une image figée d'un ordinateur ou d'un jeu vidéo peut provoquer une image fantôme qui risque de rester à l'écran, même si vous changez l'image. Évitez l'affichage d'une image figée à l'écran pendant une période prolongée.
Cette fonction n'est pas disponible pour les modèles TÉLÉVISEUR LCD.
Céruse
Cette option permet de supprimer les rémanences à l'écran. Remarque : il est possible que cette option ne puisse pas supprimer complètement une rémanence excessive.
Orbiter
Cette option vous permet d'éviter les images fantômes.
Cependant, nous vous recommandons d’éviter l’affichage d’images figées. Pour éviter une rémanence à l’écran, vous devez déplacer l’écran toutes les 2 minutes.
Inversion
Cette fonction vous permet d'inverser la couleur de l'écran. La couleur de l'écran est automatiquement inversée toutes les 30 minutes.

Appuyez sur la touche MENU, puis sur les touches / pour sélectionner le menu SPECIAL.

Appuyez sur la touche, puis sur les touches / pour sélectionner Méthode ISM.

Appuyez sur la touche, puis sur les touches / pour sélectionner Normal, Céruse, Orbiter ou Inversion. Si vous ne souhaitez pas régler cette fonction, maintenez la valeur par défaut (Normal).

Appuyez sur la touche EXIT pour revenir au visionnage du téléviseur.



LOW POWER (mode ECO.) (en OPTION)
Cette fonction permet de réduire la consommation d'énergie du téléviseur.
Cette fonction n'est pas disponible pour les modèles TÉLÉVISEUR LCD.

1 Appuyez sur la touche MENU, puis sur les touches △/▽ pour sélectionner le menu SPECIAL. 2 Appuyez sur le bouton et sur le bouton △/▽ pour sélectionner Mode Eco.. 3 Appuyez sur le bouton et sur le bouton △/▽ pour sélectionner Marche ou Arrêt. 4 Appuyez sur la touche EXIT pour revenir au visionnage du téléviseur.
Langue(Langage)
Verrouillage
Méthode ISM
Mode Eco.
Set ID
Demo
1 2 3
Utilisez cette fonction pour savoir si XD demo est activée ou désactivée.
La fonction XD Demo n'est pas disponible sous le mode RGB[PC], HDMI[PC].
1 Appuyez sur la touche MENU, puis sur les touches / pour sélectionner le menu SPECIAL. 2 Appuyez sur le bouton et sur le bouton / pour sélectionner XD Demo. 3 Appuyez sur la touche pour démarrer XD Demo. Pour arrêter XD Démo, appuyez sur la touche MENU.
2 3
- XD Demo
Ajuste de façon automatique la position de l'image et minimise le tremblement de l'image.
Si l'image n'est toujours pas nette après avoir effectué les réglages, bien que votre téléviseur fonctionne correctement, vous devez effectuer d'autres réglages.
- Il est inutile d'exécuter les fonctions Auto Configure (Configuration auto) pour le mode HDMI.
Auto config. (config. auto)
Cette fonction sert au réglage automatique de la position, de l'horloge et de la phase de l'écran. L'image affichée disparaîtra pendant quelques secondes pendant l'exécution de la configuration automatique.
1 Appuyez sur la touche MENU, puis sur les touches / pour sélectionner le menu ECRAN. 2 Appuyez sur la touche, puis utilisez les touches / pour sélectionner Auto config.. 3 Appuyez sur la touche pour démarrer la configuration automatique.
- Une fois terminée, « OK » s'affiche à l'écran.
- Si la position de l'image n'est toujours pas correcte, relancez la configuration automatique. Si l'image nécessite un réglage supplémentaire après la configuration automatique en mode RGB (PC), vous pouvez passer en configuration manuelle.
Appuyez sur la touche EXIT pour revenir au visionnage du téléviseur.

Config. auto
Configuration manuelle
Mode XGA
ARC
PIP Transparency
Réglages usine



Configuration manuelle
Si l'image n'est toujours pas nette après l'ajustement automatique et spécialement si les caractères continuent à trembler, réglez la phase de l'image manuellement.
Pour corriger la taille de l'écran, ajustez Clock.
Cette fonction est disponible dans les modes suivants : RGB[PC], RGB[DTV], COMPONENT (480p/576p/720p/1080i), HDMI1/DVI, HDMI2 (480p/576p/720p/1080i).
Les fonctions Phase et Clock (Horloge) ne sont pas disponibles sous les modes RGB[DTV], COMPONENT (480p/576p/720p/1080i), HDMI1/DVI et HDMI2 (480p/576p/720p/1080i).
Clock Cette fonction permet de minimiser les barres verticales ou les striures qui apparaissent sur le fond de l'écran. La taille horizontale de l'écran changera également.
Phase Cette fonction vous permet de supprimer le bruit horizontal et d'affiner la dureté de l'image.
1 Appuyez sur la touche MENU, puis sur les touches / pour selectionner le menu ECRAN. 2 Appuyez sur la touche, puis utilisez les touches / pour selectionner Manual config.. 3 Appuyez sur la touche, puis utilisez les touches / pour selectionner Phase, Clock, Position H ou Position V. 4 Réglez niveau avec la touche / 5 Appuyez sur la touche EXIT pour revenir au visionnage du télévisueur.

Config. auto
Configuration manuelle
VGA Mode
ARC
PIP Transparency
Réglaces usine

Réglage du FORMAT d'image
Les images peuvent être visualisées sous différents formats, le format Spectacle, Plein écran (en option), Original, 4:3, 16:9 (Wide), 14:9 et Zoom1 ou Zoom2.
Si une image figée est affichée à l'écran pendant une période prolongée, il est possible qu'elle s'incruste à l'écran et reste visible.
Le mode Full (Plein) peut vous sembler désagréable. Passez alors à un autre mode.
Vous pouvez régler la proportion d’agrandissement à l’aide des touches /.
Cette fonction est disponible dans les signaux suivants.

1 Appuyez sur la touche MENU, puis sur les touches / pour selectionner le menu ECRAN. 2 Appuyez sur la touche, puis utilisez les touches / pour selectionner ARC. 3 Appuyez sur la touche, puis utilisez les touches / pour selectionner Spectacle, Plein ecran(en option), Original, 4:3, 16:9, 14:9, Zoom1 ou Zoom2.
- Spectacle
Quand votre poste TV reçoit un signal d'écran large, cette option vous permet de régler l'image horizontalement, selon un rapport non linéaire, pour remplir tout l'écran.
- Plein écran (en option)
Quand votre poste TV reçoit un signal d'écran large, cette option vous permet de régler l'image horizontalement ou verticalement, selon un rapport linéaire, pour remplir la totalité de l'écran.
Quand votre poste TV reçoit un signal d'écran large, cette option s'adapte automatiquement au format d'image envoyé.
La sélection de ce format d'image vous permet de visionner une image en 4:3 avec des barres grises à gauche et à droite.
La sélection de ce format d'image vous permet de visionner une image horizontalement, en proportion linéaire, pour occuper complètement l'écran (utile pour visionner des DVD au format 4:3).
L'écran 14:9 est visualisé juste comme ce ce mais l'écran 4:3 est magnifié au haut / inférieur et left / droite de sorte que l'écran 14:9 soit plein.
Config. auto
Configuration manuelle
VGA Mode
ARC
PIP Transparency
Réglaces usine
Réglage du FORMAT d'image
- Zoom1
Permet de visionner l'image sans l'altérer, écran complet.
Cependant, les parties supérieure et inférieure de l'image seront tronquées.
- Zoom2
Cette option vous permet d'altérer l'image : elle s'étire horizontalement et est tronquée verticalement. L'image est divisée entre l'altération et le plein écran.

Appuyez sur la touche EXIT pour revenir au visionnage du téléviseur.

Remarque
Vous pouvez sélectionner 4:3 et 16:9 (Wide) (Plein) en mode RGB[PC] et HDMI[PC] uniquement. Vous pouvez sélectionner 4:3, 16:9 (Wide) (Plein), Zoom1 et Zoom2 en mode RGB[DTV], HDMI1/DVI[DTV], HDMI2[DTV], Component uniquement.
Fonction de défilament (en option)
Appuyez sur la touche ARC, puis utilisez la touche / pour déplacer l'écran.
Spectacle

Selection du mode vga/xga PLEIN
Pour visualiser une image normale, faites correspondre la résolution du mode RGB et la sélection du mode VGA/XGA.
Cette fonction est disponible dans les modes suivants : mode RGB[PC].

1 Appuyez sur la touche MENU, puis sur les touches / pour selectionner le menu ECRAN. 2 Appuyez sur la touche, puis utilisez les touches / pour selectionner le mode VGA (ou le mode XGA). 3 Appuyez sur la touche, puis utilisez les touches / pour selectionner la résolution VGA/XGA de votre choix. 4 Appuyez sur la touche EXIT pour revenir au visionnage du téléviseur.


Réinitialisation (RETOUR aux réglages d'usine)
Cette fonction est disponible dans tous les modes pour initialiser la valeur ajustée.
1 Appuyez sur la touche MENU, puis sur les touches / pour selectionner le menu ECRAN. 2 Appuyez sur la touche, puis utilisez les touches / pour selectionner Reglasges usine. 3 Appuyez sur le bouton. Vous pouvez reinitialiser Auto config., Manual config. PIP size, PIP position et PIP Transparence.


Notice Facile