COMBINESMFO2SVEU - Robot ménager SMEG - Notice d'utilisation et mode d'emploi gratuit
Retrouvez gratuitement la notice de l'appareil COMBINESMFO2SVEU SMEG au format PDF.
| Type d'appareil | Robot pâtissier |
| Style | Années 50, design iconique |
| Fonction principale | Pétrissage, mélange, fouettage |
| Capacité du bol | Non précisé |
| Matériau du bol | Non précisé |
| Puissance | Non précisé |
| Nombre de vitesses | Non précisé |
| Accessoires inclus | Fouet, crochet pétrisseur, batteur plat (supposé) |
| Couleur | Non précisé |
| Compatibilité | Peut être associé à d'autres produits de la marque |
| Utilisation | Usage domestique |
| Dimensions | Non précisé |
| Poids | Non précisé |
| Alimentation | Électrique |
| Garantie | Non précisé |
| Origine | Non précisé |
FOIRE AUX QUESTIONS - COMBINESMFO2SVEU SMEG
Questions des utilisateurs sur COMBINESMFO2SVEU SMEG
0 question sur cet appareil. Repondez a celles que vous connaissez ou posez la votre.
Poser une nouvelle question sur cet appareil
Téléchargez la notice de votre Robot ménager au format PDF gratuitement ! Retrouvez votre notice COMBINESMFO2SVEU - SMEG et reprennez votre appareil électronique en main. Sur cette page sont publiés tous les documents nécessaires à l'utilisation de votre appareil COMBINESMFO2SVEU de la marque SMEG.
MODE D'EMPLOI COMBINESMFO2SVEU SMEG
Nous souhaitons vous remercier pour l'achat du robot pâtissier de la Ligne Années 50 Smeg. En choisissant l'un de nos produits, vous avez opté pour un appareil qui naît de l'union d'un style iconique, d'une conception technique innovante et de l'attention portée aux détails.
Cet appareil peut être parfaitement associé aux autres produits Smeg ; utilisé seul, il contribue à donner une touche de style à votre cuisine.
Nous espérons que vous pourrez apprécier pleinement votre nouvel appareil électroménager.
Pour toute information complémentaire concernant le produit : www.smeg50style.com ou www.smeg.com.

Sommaire
1.1 Introduction 56 1.2 Ce manuel d'utilisation 56 1.3 Usage prévu 56 1.4 Avertissements généraux de sécurité 57 1.5 Responsabilité du fabricant 59 1.6 Plaque d'identification 59 1.7 Élimination 59
2 Description 60
2.1 Description du produit 60 2.2 Description des pièces 61 2.3 Accessoires fournis 62
3 Utilisation 64
3.1 Avant la première utilisation 64 3.2 Mode d'emploi du robot pâtissier 64 3.3 Mode d'emploi du couvercle anti-éclaboussures 69 3.4 Fonctions 70 3.5 Suggestions pour le réglage de la vitesse 71
4 Nettoyage et entretien 75
4.1 Avertissements 75 4.2 Nettoyage ordinaire quotidien 75 4.3 Quoi faire si... 76
1.1 Introduction
Informations importantes pour l'utiliser :
Avertissements

Informations générales sur ce manuel d'utilisation, la sécurité et l'élimination finale.
Description

Description de l'appareil et de ses accessoires.
Utilisation

Informations sur l'utilisation de l'appareil et des accessoires, conseils pour les différentes préparations.
Nettoyage et entretien

Informations pour un nettoyage et un entretien corrects de l'appareil.



1.2 Ce manuel d'utilisation
Ce manuel d'utilisation fait partie intégrante de l'appareil. Conservez-le en parfait état et à portée de main de l'utilisateur pendant tout le cycle de vie de l'appareil.
1.3 Usage prévu
- L'appareil est exclusivement destiné à un usage de type domestique.
- N'utilisez pas l'appareil pour des usages non prévus. Utilisez l'appareil dans des locaux fermés et à l'abri des agents atmosphériques.
- L'appareil peut être utilisé pour mélanger, monter et pétrir des ingrédients solides et liquides pour diverses préparations. Avec les accessoires en option, il est en mesure de tirer et de couper la pâte suivant différents formats.
- Cet appareil n'est pas conçu pour fonctionner avec des temporiseurs externes ou des systèmes de commande à distance.
- L'utilisation de cet appareil est interdite à toute personne (y compris les enfants) aux capacités physiques et mentales réduites, ou dépourvues d'expérience dans l'utilisation d'appareillages électriques, à moins qu'elles ne soient surveillées ou instruites par des personnes adultes et responsables pour leur sécurité.
1.4 Avertissements généraux de sécurité
Suivez tous les avertissements de sécurité pour une utilisation sûre de l'appareil.
- Lisez attentivement ce manuel d'utilisation avant d'utiliser l'appareil.
- Mettez l'appareil hors tension immédiatement après l'utilisation.
- Ne laissez pas l'appareil sans surveillance lorsqu'il est en fonction.
- Débranchez l'appareil de la prise de courant avant toutes les opérations de nettoyage et après toute utilisation.
- N'immergez pas l'appareil, le câble d'alimentation ou la fiche dans l'eau ou un autre liquide.
- N'utilisez pas l'appareil si le cable d'alimentation ou la fiche sont endommagés ou si l'appareil est tombé au sol ou s'il présente un dommage quelconque.
- On a volontairement prévu un câble court pour éviter les accidents. N'utilisez pas de rallonge.
- Évitez que le câble d'alimentation ne se trouve au contact d'arêtes vives.
- Ne tirez pas le câble pour débrancher la fiche de la prise de courant.
- Ne positionnez pas l'appareil au-dessus ou à proximité de cuisinières à gaz ou électriques allumées, à l'intérieur d'un four ou à proximité de sources de chaleur.
- N'essayez jamais de réparer l'appareil sans l'intervention d'un technicien qualifié.
- En cas de panne, confiez l'appareil exclusivement à un technicien qualifié pour la réparation.
- N'apportez pas de modifications à l'appareil.
- N'essayez jamais d'éteindre une flamme/incendie avec de l'eau : mettez l'appareil hors tension, retirez la fiche de la prise de courant et couvrez la flamme avec un couvercle ou une couverture ignifuge.
- Conservez l'appareil hors de la portée des enfants.
Pour cet appareil
- Débranchez l'appareil de la prise de courant avant de replacer les accessoires ou de vous approcher des parties en mouvement.
- N'introduisez pas, ne démontez pas et ne remplacez pas les ustensiles si le blocage de sécurité est désactivé (tête du moteur abaissée).
- Durant le fonctionnement, évitez le contact avec les parties en mouvement. Éloignez les mains, les cheveux, les vêtements, les spatules et autres objets des ustensiles et des accessoires pour éviter les dommages corporels et matériels.
- Ne démontez pas les ustensiles lorsque l'appareil est en fonction.
- Vérifiez que le bol est correctement positionné et bloqué dans son logement avant de commencer à utiliser l'appareil avec les ustensiles.
- Ne débloquez pas et n'enlevez pas le bol lorsque l'appareil est en fonction.
- Ne dépassez pas la capacité maximale du bol.
- Laissez refroidir l'appareil avant de procéder au nettoyage.
- N'utilisez pas d'ustensiles et d'accessoires différents de ceux prevus et fournis par le producteur. L'utilisation de composants, d'ustensiles et d'accessoires non originaux pourrait provoquer des dommages corporels ou matériels.
- Ne posez pas d'objets au-dessus de l'appareil.
- N'utilisez pas de détergents agressifs ni d'objets tranchants pour laver ou éliminer les résidus dans le bol et sur les autres accessoires.
- Surveillez les enfants en vous assurant qu'ils ne jouent pas avec l'appareil.
1.5 Responsabilité du fabricant
Le fabricant décline toute responsabilité en cas de dommages subis par les personnes et les biens, causés par :
- l'utilisation de l'appareil différente de celle prévue;
- la lecture omise du manuel d'utilisation;
- l'altération même d'une seule pièce de l'appareil;
- l'utilisation de pièces détachées non originales;
- la non-observation des avertissements de sécurité.
1.6 Plaque d'identification
La plaque d'identification contient les données techniques, le numéro de série et le marquage. N'enlevez jamais la plaque d'identification.
1.7 Élimination

Cet appareil doit être éliminé séparément des autres déchets (Directive 2012/19/UE). Cet
appareil ne contient pas de substances dont la quantité est jugée dangereuse pour la santé et l'environnement, conformément aux directives européennes en vigueur.

Tension électrique danger d'électrocution
- Mettez l'appareil hors tension.
- Débranche le câble d'alimentation électrique de l'installation électrique.
- Les anciens appareils électriques ne doivent pas être éliminés avec les déchets domestiques! Dans le respect de la législation en vigueur, les appare eils et protégér l'environnement. Pour de plus amples informations, contactez les autorités locales ou les préposés des centres de collecte sélective.
On précise que pour l'emballage de nos produits, nous utilisons des matériaux non polluants et recyclables.
- Confiez les matériaux de l'emballage aux centres de collecte sélective.

Emballage en plastique danger d'asphyxie
- Ne laissez jamais sans surveillance l'emballage ni ses parties.
- Évitez que les enfants jouent avec les sachets en plastique de l'emballage.

Modèle SMF02 - SMF03 - SMF13 - robot pâtissier
1 Tête du moteur 2 Corps 3 Interrupteur et sélecteur des vitesses 4 Bouton de déblocage du soulevement/abaissement de la tête 5 Raccord inférieur pour les ustensiles fournis 6 Raccord frontal pour les accessoires en option 7 Protection du raccord frontal
8 Logement du bol 9 Bol 10 Couvercle anti-éclaboussures verseur 11 Crochet mélangeur 12 Batteur plat 13 Fouet à fil 14 Fouet abords flexibles
- D'origine uniquement sur certains modèles. Également disponible comme accessoire en option. **Le design et le matériel du bol peuvent changer en fonction du modèle de robot pâtissier.
Tête du moteur (1)
Partie supérieure de l'appareil responsable de l'actionnement des ustensiles et des accessoires.
Interrupteur et sélecteur des vitesses (3)
Lever de sélection des vitesses.
La position 'O' du levier correspond à la position OFF (appareil éteint).
Pour permettre l'appareil en marche, positionnez le levier sur une des 10 vitesses à disposition (positions 1-10) suivant le type de préparation prévue.
Voir « 3.5 Suggestions pour le réglage de la vitesse » pour de plus amples détails et suggestions.
Bouton de déblocage du soulevement/abaissement de la tête (4)
Bouton permettant le déblocage de la tête du moteur pour le positionnement dans une des deux configurations possibles (position soulevée ou abaissée).
Raccord inférieur pour les ustensiles fournis (5)
Raccord pour l'insertion de l'ustensile. Permet de bloquer solidement l'ustensile durant le mouvement planétaire.
Raccord frontal pour les accessoires en option (6)
Raccord pour l'insertion des accessoires en option.
Dispose d'une protection amovible.
Logement du bol (8)
Logement avec des rainures permettant d'insérer le bol et de le bloquer.
Bol d'une capacité de 4,8 litres.
Idéal pour contenir de grandes et de petites quantités d'ingrédients.
Dispose d'une poignée qui en simplifie l'insertion et le démontage.
Crochet pétrisseur en aluminium

Utile pour amalgamer, mélanger lentement et travailler des pâtes ayant levé. Idéal pour la préparation du pain, de la pâté et de pizzas, etc.
Batteur plat en aluminium

Utile pour amalgamer, mélanger des ingrédients en vrac.
Idéal pour la préparation de pâtes pour des gâteaux et des tourtes, des biscuits, des glaçages, etc. et autres préparations semi-denses.
Fouet à fil en acier inox

Utile pour battre, mélanger, incorporer de l'air, monter et rendre crémeux des ingrédients liquides et semi-liquides comme : le beurre, les œufs, la crème, etc.
Idéal pour la préparation de crèmes, de sauces, etc.
Fouet à bords flexibles*

Fouet en acier inox à bords flexibles en silicone.
Utile pour mélanger les pâtes et monter les pâtes moelleuses.
Les bords amovibles garantissant une consistance uniforme pendant toute la phase de préparation.
Couvercle anti-éclaboussures verse*

Utile pour protégerr contre les éclaboussures d'ingrédients qui risquent de sortir du bol et pour faciliter l'ajout d'ingrédients par l'ouverture.
Exclusivement indiqué avec le bol en acier inox*.

Les ustensiles et les accessoires susceptibles de se trouver au contact des aliments sont fabriqués avec des matériaux conformes aux lois en vigueur.

Danger d'électrocution
- Branchez la fiche sur une prise de courant conforme et munie d'une mise à la terre. N'alterez pas la mise à la terre.
- N'utilisez pas d'adaptateur.
- N'utilisez pas de rallonge.
- La non-observation de ces avertissements peut provoquer un incendie, une électrocution, voire la mort.
3.1 Avant la première utilisation
- Éliminez les éventuels emballages de protection à l'extérieur et à l'intérieur de l'appareil et des ustensiles.
- Enlevez les éventuelles étiquettes (à l'exception de la plaque contenant les données techniques) appliquées sur l'appareil, sur ses composants et sur les ustensiles.
- Enlevez et lavez le bol et les ustensiles (voir « 4 Nettoyage et entretien »).
- Nettoyez le corps et la tête de l'appareil avec un chiffon humide.
- Séchez soigneusement les composants et insérez-les dans leur position de fonctionnement.
3.2 Mode d'emploi du robot pâtissier
- Posez le robot pâtissier sur une surface plane, stable et sèche.
- Appuyez sur le bouton de déblocage (1).
- Maintenez le bouton enfoncé et soulevez la tête (2) en accompagnant le mouvement de la main.


Un mouvement partiel de la tête ou le mélange d'ingrédients lourds ou en grande quantité peuvent se vérifier. Il s'agit d'un phénomène normal qui ne compromet ni le bon fonctionnement ni la durée de vie de l'appareil.
- Insérez le bol (3) dans le logement (4). Saisissez la poignée (5) et tournez le bol (3) en sens inverse pour le bloquer dans son logement.

- Sélectionnez l'ustensile à utiliser en fonction du type de préparation prévue.

Parties en mouvement
Danger de dommages corporels
- Ne actionnez pas l'ustensile en l'absence du bol.
- Insérez l'ustensile (6) dans le raccord inférieur (7) et appuyez vers le haut. Maintenez l'ustensile enfon



Assurez-vous que l'ustensile est solidement bloqué dans le raccord inférieur.
- Introduisez les ingrédients à l'intérieur du bol.
- Appuyez sur le bouton de déblocage (1) et soulevez légèrement la tête (2) pour en permettre le décrochage.
- Maintenez le bouton enfoncé et abaissez la tête (2) en accompagnant le mouvement de la main.

- Insérez éventuellement le couvercle anti-éclaboussures (9) en tournant l'ouverture vers l'extérieur.

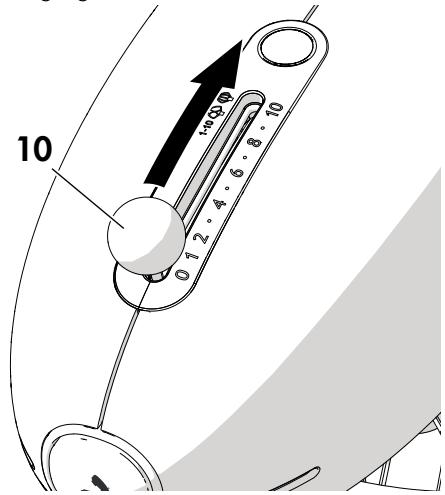
- Contrôlez que le sélecteur de la vitesse (10) est sur 'O' (OFF).
- Branchez la fiche du câble d'alimentation sur la prise de courant.
- Sélectionnez la vitesse souhaitée (de 1 à 10) avec le sélecteur (10) pour mettre l'appareil en marche et commencer le mélange des ingrédients. Voir « Suggestions pour le réglage de la vitesse »


Attention!
Pour plus de sécurité, chaque fois que l'alimentation vers le moteur est coupée, par exemple si la tête est soulevée ou si la fiche est débranchée, pour pouvoir redémarrer le robot pâtissier, il faut d'abord tourner le sélecteur de vitesse sur zéro.

Pour arrêter le fonctionnement et soulever la tête pour changer d'ustensile ou enlever le bol, déplacez le sélecteur des vitesses sur 'O' (OFF).

Parties en mouvement danger de dommages corporels et dommages à l'appareil
- Ne touchez pas les ustensiles durant le fonctionnement.
- Ne actionnez pas le robot pâtissier en présence de l'ustensile et du bol vide.
- Positionnez le sélecteur des vitesses (10) sur 'O' (OFF) et débranchez la fiche du câble d'alimentation de la prise de courant.
- S'il est présent, enlevez le couvercle verseur anti-éclaboussures (9).

- Appuyez sur le bouton de déblocage (1) pour soulever la tête (2).

- Appuyez légèrement sur l'ustensile (6) vers le haut et tournez-le en sens inverse horaire pour le débloquer de l'axe (8). Extrayez l'ustensile (6) du raccord inférieur (7).


- Enlevez le bol (3) de son logement (4) en le tournant en sens inverse horaire pour le débloquer.

3.3 Mode d'emploi du couvercle anti-éclaboussures
- Positionnez le couvercle antiéclaboussures (1) sur le bord supérieur du bol en acier inox* après l'avoir inséré dans son logement, inséré l'ustensile sur le raccord inférieur et abaissé la tête en position de fonctionnement.

- Orientez l'ouverture du couvercle (1) vers l'extérieur pour ajouter les ingrédients dans le bol sans arrêter le mouvement des ustensiles.


Parties en mouvement Risque d'endommager le couvercle
- Enlevez le couvercle anti-éclaboussures pour soulever ou abaisser la tête avec l'ustensile inséré dans le raccord inférieur.
Système de blocage de sécurité
L'appareil est muni d'un système de sécurité qui interrompt automatiquement le fonctionnement de l'appareil quand la tête du moteur est soulevée.

Il est recommandé de déplacer le sélecteur des vitesses sur 0 (OFF) avant d'appuyer sur le bouton pour actionner la tête du moteur.
Fonction smooth start
La fonction Smooth Start permet de mettre l'appareil en marche à une vitesse initiale réduite, indépendamment de celle avec le sélecteur.
La vitesse augmente progressivement jusqu'à la valeur souhaitée.
On évite ainsi d'endommager l'appareil et les ustensiles ainsi que de provoquer la sortie des ingrédients du bol.
Mouvement planétaire
Le mouvement planétaire est généré par la rotation (1) que l'ustensile effectue sur son axe dans le sens opposé au mouvement rotatoire (2) du robot pâtissier.
Ce mouvement permet d'atteindre tous les points du bol avec précision, avec d'excellents résultats pour toute préparation.


Appareil chaud
- Suite à un usage prolongé, la partie supérieure de la tête du moteur risque de surchauffer. Cela n'est pas le signe d'un dysfonctionnement.
3.5 Suggestions pour le réglage de la vitesse

Sur le sélecteur des vitesses est indiqué l'ustensile à utiliser en fonction de la vitesse sélectionnée. Les vitesses indiquées dans le tableau sont indicatives et elles peuvent varier en fonction de la recette et de l'interaction entre les différents ingrédients utilisés.

| Sélection de la vitesse | Fonction | Ustensile |
| FAIBLE1 - 3 | AMALGAMERAmalgamer les ingrédents. | |
| FAIBLE1 - 3 | PÉTRIPertir - préparer des pâtes levée (pain, pizza, pâtisseries, pâtes aux oeufs, etc.), voir « Pâté à pain, à pizza, et pâtes aux oeufs ». | |
| MOYENNE4 - 7 | MELANGERMélanger et préparer des mélanges denses.Battre du sucre et du beurre, préparations pour les gâteaux. | |
| GRANDE8 - 10 | BATTRE ET MONTER LES BLANCS EN NEIGEBattre des pâtes légères ou épaisses.Monter les blancs en neige, la crème fraîche et les sauces. |
Tableau des ustensiles conseillés, vitesses suggérées et capacités maximales
| Ustensile | Préparation | Vitesse | Temps | Capacité min/max |
| Blancs d'oeuf | 8-10 | 2-3 min | 2 - 12 (1) | |
| Crème fraîche | 8-10 | 2-3 min | 100 ml/1 000 ml | |
| Pâtes à tarte prêtes à cuiré | 1 - 7 | 3-4 min | 2 kg de pâte au total | |
| Pâtes à pâtisserie | 1 - 7 | 3-4 min | 2,6 kg de pâte au total | |
| Pâte à pain / pizza | 1 - 3 | 4 min | 1,8 kg de pâte au total (max 1,2 kg de farine) | |
| Mélange pour pâtes aux oeufs | 1 - 3 | 5-7 min | 500 g de pâte au total avec 3 oeufs |
Taille moyenne des œufs: 53-63 g

Le tableau ne doit être considéré que comme un guide.
Les vitesses et les capacités dépendent de l'ustensile utilisé, de la quantité de pâté à l'intérieur du bol et des ingrédients utilisés.
Conseils généraux
- Ne dépassez jamais les vitesses et les capacités maximales indiquées dans le tableau pour éviter d'endommager l'appareil.
- Activez l'appareil à une faible vitesse jusqu'à ce que les ingrédients soient mélangés puis augmentez la vitesse suivant l'opération à effectuer. Lorsque vous ajoutez des ingrédients, versez-les toujours à partir du bord du bol et jamais sur l'ustensile en mouvement.
- Réduisez la vitesse lorsqu'il faut ajouter des ingrédients secs ou liquides pour éviter les éclaboussures. Augmentez la vitesse dès qu'ils auront été bien amalgamés. Utilisez le couvercle anti-éclaboussures* pour les mélanges liquides ou bien lorsqu'on ajoute des ingrédients en poudre pour éviter de salir les objets adjacents à l'appareil en fonction ou d'être salis par des éclaboussures ou des poudres.
- Nettoyez constamment le bol et les ustensiles et insérez-les uniquement lorsqu'ils sont parfaitement secs.
- Nettoyez soigneusement le corps et la tête de l'appareil avec un chiffon humide s'ils sont sales ou au terme de la préparation de la recette.
Conseils pour monter les blancs en neige
- Pour obtenir des résultats optimaux, utilisez des blancs à température ambiante.
- Avant de monter les blancs, assurez-vous que l'ustensile et le bol ne sont ni mouillés ni gras et qu'ils ne contiennent pas de traces de jaune d'oeuf. Pour éviter les éclaboussures, atteignez graduellement la vitesse suggérée et montez les blancs jusqu'à la consistance souhaitée.
- Le mélangeur permet de monter les blancs très rapidement. Contrôlez attentivement la préparation pour éviter de les monter excessivement.
Conseils pour préparer de la crème chantilly
- Pour obtenir des résultats optimaux, utilisez de la crème fraîche froide.
- Pour éviter les éclaboussures, atteignez graduellement la vitesse maximale suggérée et battez la crème jusqu'à la constance souhaitée. Pour des quantités égales à un litre, on conseille de battre à la vitesse 7-8 pendant la première minute ou au moins jusqu'à ce que la crème commence à épaissir. Ensuite, passez à la vitesse 10 pendant le temps restant.
Conseils pour les préparations à base d'œufs
- Pour obtenir des résultats optimaux, utilisez des œufs à température ambiante. Lorsque vous préparez des mélanges secs, ne dépassez pas la quantité de 3 œufs de taille moyenne et ajoutez, au besoin, de petites quantités d'eau.
Conseils pour pétrir
Veillez à ce que la proportion des liquides dans les pâtes soit correcte (au moins 50-60% en poids par rapport à la farine utilisée). Les mélanges trop secs risquent de surcharger l'appareil. - Si l'appareil fonctionne avec difficulté, éteignez-le, séparez la pâte en deux parties et travaillez-les séparément.
Pâte à pain, à pizza, et pâtés aux œufs
- Démarrez l'appareil à la vitesse 1 jusqu'à ce que les ingrédients soient mélangés puis augmentez jusqu'à niveau 3.
- Pour amalgamer les ingrédients, on conseille d'insérer les ingrédients liquides dans le bol au début du pétrissage.
- Pâtes aux œufs, pain, pizza : pétrissez-les uniquement avec le crochet-mélangeur. Utilisez le fouet plat uniquement pour commencer la procedure de pétrissage.
N'utilisez JAMAIS le fouet à bords flexibles*.
Pâtes à tartre prêtes à cuire
Pour les pâtes jusqu'à 1 kg : démarrez l'appareil à faible vitesse jusqu'à ce que les ingrédients commencent à s'amalgamer puis augmentez graduellement jusqu'au niveau 7 pendant le temps restant. Pour les pâtes jusqu'à 2 kg : démarrez l'appareil à la vitesse 1 jusqu'à ce que les ingrédients commencent à s'amalgamer puis augmentez graduellement jusqu'au niveau 3-4 pendant le temps restant.
Pâte à pâtisserie
- On conseille d'utiliser des ingrédients froids pour préparer la pâte sablée ou autre, sauf indications contraires dans la recette. Pour la préparation des gâteaux, battez d'abord le beurre à température ambiante avec le sucre, ajoutez les œufs puis la farine.

Un mouvement partiel de la tête ou le mélange d'ingrédients lourds ou en grande quantité peuvent se vérifier. Il s'agit d'un phénomène normal qui ne compromet ni le bon fonctionnement ni la durée de vie de l'appareil.
4.1 Avertissements

Utilisation propre
Danger d'électrocution
- Débranche la fiche de la prise de courant avant de nettoyer l'appareil ainsi que ses ustensiles et accessoires.

Utilisation propre
Risque de dommages aux surfaces
- N'utilisez pas de jets de vapeur pour nettoyer l'appareil.
- N'utilisez pas de produits de nettoyage à base de chloré, d'ammoniaque ou d'eau de Javel sur les parties en acier ou traitées en surface avec des finitions métalliques (ex. anodisations, nickelages, chromages).
- N'utilisez pas de détergents abrasifs ou corrosifs (ex. produits en poudre, détachants et éponges métalliques).
- N'utilisez pas de matériaux réchelats, abrasifs, ou de racloirs métalliques tranchants.
4.2 Nettoyage ordinaire quotidien
Pour une bonne conservation des surfaces, nettoyez-les régulièrement après chaque utilisation avec un chiffon humide.
Repassez soigneusement et essuyez avec un chiffon doux ou en microfibre.

En cas d'éclaboussures d'ingrédients liquides ou dens, éliminez-les avec un chiffon doux et humide en coton.
Vous soupiez laver le couvercle antiéclaboussures verseur* et le fouet à fil à la main avec un détergent neutre et une éponge souple.
Le crochet pétrisseur, le batteur plat et le bol en acier inox* sont lavables au lave-vaisselle.
Vous pouvez laver le bol en verre* à la main avec de l'eau chaude et un détergent neutre ou au lave-vaiselle en utilisant un programme à basse température (50°C maximum).
La bague à la base du bol peut être démontée et lavée séparément.
L'accessoire fouet à bords flexibles* est lavable au lave-vaisselle.
Pour faciliter le nettoyage, les bords en silicone sont démontables et lavables en lave-vaisselle.
4.3 Quoi faire si...
| Problème | Cause possible | Solution |
| Le moteur a surchauffé. | Débranchez du secteur et laissez refroidir le moteur. | |
| La fiche n'est pas correctement branchée sur la prise. | Branchez la fiche sur la prise de courant. N'utilisez ni d'adaptateurs ni de rallonges. Contrôlez que l'interrupteur général est activé. | |
| Le moteur ne démarre pas | Le cable est défectueux. | Demandez à un Centre d'Assistance agréé de replacer le cable. |
| Absence de courant électrique. | Contrôlez que l'interrupteur général est activé. | |
| La tête a été soulevée durant le fonctionnement. | Le système de blocage de sécurité s'est déclenché. Déplacez le sélecteur des vitesses sur O (OFF), appuyez sur le bouton à l'arrêt de l'appareil pour débloquer la tête et l'abaisser. | |
| L'appareil vibre | L'appareil n'est pas posé sur une surface stable. | Posez le robot pâtissier sur une surface stable et plane. |
| Les pieds antidérapants en caoutchouc sont usés. | Demandez à un Centre d'Assistance agrée de procéder au remplacement. | |
| On a sélectionné une vitesse trop élevée ou bien le contenu du bol est excessif. | Réglez sur une vitesse inférieure et contrôle que le bol n'est pas excessivement rempli. | |
| Le bol n'a pas été correctement inséré dans son logement. | Contrôlez que le bol est correctement fixé dans son logement. | |
| Les ustensiles heures les parois du bol | Le raccord inférieur s'est desserré avec le temps. | Demandez à un Centre d'Assistance agrée de procéder au contrôle et au réglage. |
| L'ustensile ou le bol ne sont pas bien accrochés. | Déplacez le sélecteur des vitesse sur 0, appuyez sur le bouton à l'arrête de l'appareil pourSoulever la tête et contrôle l'insertion correcte de l'ustensile dans le raccord inférieur ou du bol dans la base. |
Nettoyage et entretien
| Problème | Cause possible | Solution |
| L'ustensile a du mal à tourner à l'intérieur du bol | Le mélange et trop dur et empêche la rotation de l'ustensile. | Versez de l'eau ou d'autres liquides pour ramollir le mélange. |
| Le bol est trop plein. | Enlevez la moitié du contenu et travailliez-le séparément. |

Si le problème n'a pas été résolu ou en présence d'autres types de pannes, contactez le service d'assistance le plus proche.
Notice Facile