HC652600EB - Gril électrique AEG - Notice d'utilisation et mode d'emploi gratuit
Retrouvez gratuitement la notice de l'appareil HC652600EB AEG au format PDF.
| Type de produit | Table de cuisson à induction |
| Nombre de foyers | 4 foyers à induction |
| Dimensions approximatives | 60 cm x 51 cm |
| Poids | 10 kg |
| Alimentation électrique | 230 V |
| Puissance totale | 7400 W |
| Fonctions principales | Boost, minuterie, détection de casserole |
| Entretien et nettoyage | Surface en vitrocéramique, nettoyage facile avec un chiffon humide |
| Pièces détachées et réparabilité | Disponibilité de pièces détachées via le service après-vente AEG |
| Sécurité | Verrouillage de sécurité, arrêt automatique, indicateur de chaleur résiduelle |
| Compatibilités | Compatible avec les ustensiles de cuisson adaptés à l'induction |
FOIRE AUX QUESTIONS - HC652600EB AEG
Téléchargez la notice de votre Gril électrique au format PDF gratuitement ! Retrouvez votre notice HC652600EB - AEG et reprennez votre appareil électronique en main. Sur cette page sont publiés tous les documents nécessaires à l'utilisation de votre appareil HC652600EB de la marque AEG.
MODE D'EMPLOI HC652600EB AEG
Merci d'avoir choisi ce produit AEG. Nous l'avons conçu pour qu'il vous offre des performances irréprochables pour longtemps, en intégrant des technologies innovantes qui vous simplifient la vie grâce à des caractéristiques que vous ne trouverez pas forcément sur des appareils ordinaires. Veuillez prendre quelques instants pour lire cette notice afin d'utiliser au moins votre appareil.
Dans la boutique en ligne d'AEG, vous trouvez tout ce qu'il vous faut pour que vos appareils AEG fonctionnent parfaitement. Sans oublier une vaste gamme d'accessoires conçus et fabriqués selon les critères de qualité les plus élevés qui soient, des articles de cuisine spécialisés aux range-couverts, des porte-bouteilles aux sacs à linge délicats...





Visitez la boutique en ligne sur www.aeg.com/shop
Sommaire
43 Consignes de sécurité 44 Instructions d'installation 49 Description de l'appareil 51 Notice d'utilisation 54 Conseils utiles 57 Entretien et nettoyage 58 En cas d'anomalie de fonctionnement 59 En matière de protection de l'environnement
Les symboles suivants sont utilisés dans ce manuel :

Informations importantes pour votre sécurité et pour éviter d'abîmer l'appareil.

Informations générales et conseils

Informations écologiques
Sous réserve de modifications
Consignes de sécurité
Pour votre sécurité et le bon fonctionnement de l'appareil, lisez attentivement ce manuel avant l'installation et l'utilisation. Conservez ces instructions à proximité de l'appareil. Les utilisateurs doivent connaître parfaitement le fonctionnement et les fonctions de sécurité de l'appareil.
Avertissement
Cet appareil n'est pas conçu pour être utilisé par des personnes (y compris des enfants) dont les facultés physiques, sensorielles ou mentales sont réduites, ou qui manquent d'expérience et de connaissances, à moins qu'une personne responsable de leur sécurité ne les supervise ou leur donne des instructions sur la manière de l'utiliser.
Sécurité des enfants
- Cet appareil a été conçu pour être utilisé par des femmes. Veillez à ce que les enfants n'y touchent pas et ne l'utilisent pas comme un jouet.
- Ne laissez pas les emballages à portée de main des enfants. Ils pourraient s'étouffer!
- Tenez les enfants éloignés de l'appareil pendant son fonctionnement.
Avertissement
La sécurité enfants empêche l'utilisation accidentelle ou involontaire de l'appareil.
Utilisation
- Retirez tous les emballages, les étiquettes et les films protecteurs de l'appareil (sauf la plaque signalétique) avant de l'utiliser pour la première fois.
- Mettez les zones de cuisson à l'arrêt après chaque utilisation.
- Risque de brûlures! Ne posez aucun objet contenant du métal, comme par exemple les couverts ou couvercles de récipients sur la table de cuisson. Ils risqueraient de s'échauffer.
- Les utilisateurs porteurs d'un pacemaker doivent se tenir à une distance d'au moins 30 cm (au niveau du buste) des zones de cuisson à induction mises en fonctionnement.
Avertissement
Danger d'incendie! Surveillez attentivement la cuisson lors de friture dans l'huile ou la graisse : les graisses surchauffées s'enflamment facilement.
Utilisation
- Surveillance toujours l'appareil pendant son fonctionnement.
- Voiture appareil est destiné à un usage domestique normal.
- N'utilisez pas l'appareil comme plan de travail ou support.
- Ne posez pas ou ne stockez pas de liquides ou des matériaux inflammables, des objets susceptibles de fondre (plastique, aluminium) sur ou à proximité de l'appareil.
- Faites attention si vous branchez d'autres appareils électriques à des prises situées à proximité de la table de cuisson. Contrôlez que les câbles d'alimentation n'entrent pas en
contact avec les surfaces brûlantes de l'appareil ou les récipients brûlants. Contrôlez que les câbles ne soient pas enchevêtrés.
Comment éviter d'endommager l'appareil
- Des objets ou des récipients de cuisson peuvent, en tombant, endommager la surface vitrocéramique.
- N'utilisez pas de récipients en fonte, ni de récipients dont le fond est endommagé et rugueux. Ils risqueraient de rayer la table de cuisson.
- Ne faites pas "brûler" les récipients et ne laissez pas le contenu s'évaporer en totalité. Cela peut entraîner des dégâts permanents des récipients et de la table de cuisson.
- Ne placez pas de plats de cuisson vides sur les zones de cuisson et ne mettez pas ces dernières en fonctionnement sans récipient.
- Ne recouvrez aucune partie de l'appareil à l'aide de feuilles d'aluminium.
- Laissez un espace ouvert de 5 mm sous le plan de travail et à l'avant de l'appareil pour la ventilation.
Avertissement
Si votre table de cuisson est endommagée (éclat, fêlure,...), débranchez votre appareil pour éviter tout risque d'électrocution.
Indications spéciales pour le teppan yaki
- Vous pouvez entendre des bruits pendant que l'appareil fonctionne. Les bruits décrits sont normaux et ne constituent pas un dysfonctionnement de l'appareil.
- En cas d'utilisation fréquent e pas d'un défaut de la surface de grill et n'a aucune incidence sur son fonctionnement. Par conséquent :
- Ne pas poser de plats au milieu de la surface de cuisson entre les deux zones, car la surface inégale peut les faire vaciller.
- Faire frire des aliments au niveau de la séparation des zones peut engendrer un brunissement inégal (ex. : en faisant des crêpes).
Instructions d'installation

Avant d'installer l'appareil, notez le numéro de série qui figure sur la plaque signalétique. La plaque signalétique se trouve sur la partie inférieure de l'appareil.

Avertissement
Veuillez lire attentivement cette notice d'utilisation ainsi que les recommandations et les avertissements qu'elle contient avant de procéder à l'installation et à la première utilisation de l'appareil.
Vérifiez que l'appareil n'a pas été endommagé pendant le transport. Ne branchez jamais un appareil endommagé. Si nécessaire, contactez le magasin vendeur.
Les opérations d'installation, de branchement et de réparation sont du ressort exclusif d'un technicien qualifié. En cas d'intervention sur l'appareil, exigez du Service Après-vente des pièces de rechange certifiées constructeur.
Les appareils encapsulables ne peuvent être mis en fonctionnement qu'après avoir été installés dans des meubles et des plans de travail homologués et adaptations.
Ne modifie pas ou n'essayez pas de modifier vous-même les caractéristiques de cet appareil. Cela représente un danger pour vous.
L'installation doit être conforme à la législation, la réglementation, les lignes directrices et les normes en vigueur dans le pays de résidence (consignes de sécurité électrotechniques et réglementation, recyclage conforme et réglementaire, etc.).
Respectez l'espacement minimal requis par rapport aux autres appareils !
La protection contre les contacts accidentels doit être assurée par le montage, par exemple les tiroirs doivent être installés uniquement avec un plancher de protection directement sous l'appareil.
Protégez l'appareil de l'humidité en plaçant un joint d'étanchéité dans les rainures du plan de travail.
Le joint comble les fentes entre le plan de travail et l'appareil.
Protégez la partie inférieure de l'appareil de la vapeur et de l'humidité émanant, par exemple, d'un lave-vaisselle ou d'un four.
N'installez pas l'appareil à proximité d'une porte ou sous une fenêtre ! Les membres chauds sur la table de cuisson risquent de tomber lors de l'ouverture de la porte ou de la fenêtre.
Avertissement
Le courant électrique peut provoquer des blessures. Les opérations d'installation et de branchement doivent être réalisées par un technicien qualifié.
- La borne d'alimentation est sous tension.
- Mettez la borne d'alimentation hors tension. Assurez-vous que l'appareil est correctement installé de manière à éviter tout contact.
- Des connexions desserrées ou incorrectes peuvent être à l'origine d'une surchauffe des bornes.
- Le raccordement électrique ne doit être effectué que par un électricien qualifié. Le câble ne doit pas être tendu.
- En cas de raccordement monophasé, utilisez impérativement le câble d'alimentation approprié de type H05BB-F Tmax 90 °C (ou plus).
- Si le câble d'alimentation est endommagé, il doit être remplacé par un câble spécial (type H05BB-F Tmax 90 °C; ou plus). Veuillez vous adresser au Service Après-vente.
Dans le cas d'une installation fixe, le raccordement au réseau doit être effectué par l'intermédiaire d'un interrupteur à coupure omnipolaire, ayant une distance d'ouverture des contacts d'au moins 3 mm.
Les dispositifs d'isolement comprennent : des coupe-circuits, des fusibles (les fusibles à visser doivent être retirés du support), des disjoncteurs de mise à la terre et des contacteurs.
Montage









- Isolez l'espace entre le plan de travail et la vitrocéramique avec du silicone.
- Appliquez de l'eau savonneuse sur le silicone.
- Retirez l'excédent de silicone avec le grattoir.
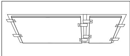
Installation de plusieurs appareils.
Pièces ajoutées : barre(s) d'accouplement, silicone résistant à la chaleur, forme en caoutchouc, bride d'étanchéité.

N'utilisez que du silicone spécial résistant à la chaleur.
Découpe de la table de travail.
Distance du mur : 50 mm minimum
Profondeur:490mm
Largeur : additionnez les largeurs de tous les appareils à encastrer et soustrayez 20 mm (voir également « Vue d'ensemble de toutes les largeurs d'appareils »)
Exemple :

Installation de plusieurs appareils.
- Notez la dimension de découpe de la table de travail et sciez-la.
- Posez les appareils, un à la fois, sur une surface souple, une couverture par exemple, le dessous vers le haut.
- Placez le joint d’étanchéité autour du bord inférieur de l’appareil le long du bord externe de la surface vitrocéramique.
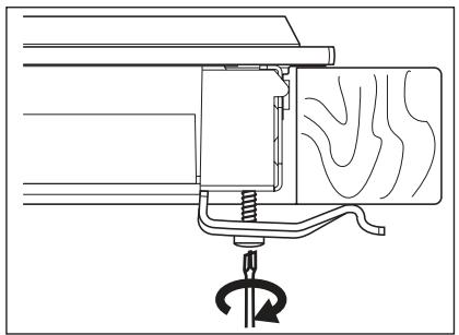
- Vissez légèrement les plaques de fixation dans les trous prévus dans le boîtier de protection.
- Placez le premier appareil dans la découpe de la table de travail. Placez la barre d'accouplement dans la découpe de la surface de travail et appuyez-la contre l'appareil sur la moitié de la largeur.

- Tournez légèrement les plaques de fixation de dessous sur la table de travail et sur la barre de raccordement.

- Placez l'appareil suivant dans la découpe de la surface de travail. Veillez à ce que l'avant des appareils soit au même niveau.

- Serrez la plaque de fixation/les vis de retenue.
- Isolatez l'espace entre le plan de travail et les appareils, et entre les appareils avec du silicone.
- Appliquez de l'eau savonneuse sur le silicone.
- Appuyez fermement la forme en caoutchouc contre la surface vitrocéramique et déplacez-la lentement le long de l'espace.

- Ne touchez pas le silicone tant qu'il n'a pas durci. Cela peut prendre une journée.
- Enlevez soigneusement le silicone en trop avec une lame de rasoir.
- Nettoyez soigneusement la surface vitrocéramique.
Les caractéristiques essentielles de votre appareil
- La surface de cuisson compte 2 couches en acier inoxydable séparées par une couche d'aluminium. Elle possède une bonne capacité thermique, qui empêche une baisse rapide de la température, par exemple lorsque vous préparez de la viande qui sort du réfrigérateur.
- Chaque surface du grill Teppan Yaki est une pièce unique. Son processus de fabrication impose qu'elle soit nécessairement travaillée à la main et polie par des spécialistes. Les différences visibles au niveau du polissage sont normales et n'ont aucune conséquence sur le plan fonctionnel. Plus le grill est utilisé, plus il est précieux.
- La rainure autour du bord :
- fait baisser la température sur les surfaces d'installation, de sorte que la surface de cuisson peut être installée sur différents types de plans de travail.
- La dentelure de la rainure absorbe une partie de l'expansion de la surface de cuisson chauffée.
- Les restes d'aliments en petite quantité et les liquides tombent dans la rainure et peuvent facilement être retirés.
- Il est possible de maintainir la température souhaitée grâce au thermostat, qui affiche la température. Cela évite de surchauffer les aliments et permet une cuisine faible en matières grasses, où les aliments conservent toutes leurs valeurs nutritionnelles.
- Les aliments sont préparés (chauffés) directement sur la surface de cuisson, avec ou sans graisse. Il est également possible de cuisiner avec des casseroles.
- Le temps de montée en température, par ex. à 180°C, est d'environ 4 minutes. Le temps de refroidissement, par ex. de 180°C à 100°C, est d'environ 25 minutes, ou d'environ 60 minutes pour retomber à 60°C.
- La surface de cuisson doit toujours être préchauffée.


Description du bandeau de commande

Les touches sensitives permettent de commander l'appareil. Les voyants et les signaux sonores confirment l'activation des fonctions sélectionnées.
| touché sensitive | fonction | |
| 1 | ① | Elle met en fonctionnement ou à l'arrêt l'appareil. |
| 2 | ® | Elle verrouille ou déverrouille le bandeau de com-mande. |
| 3 | mm | Elle active ou désactive la fonction de nettoyage. |
| 4 | Affichage de la température | Indique la température. |
| 5 | Voyants de minuteur des zones de cuisson | Indiquent la zone de rôtissage pour laquelle vousdéfinissez la durée. |
| 6 | Affichage du minuteur | Il affiche la durée en minutes. |
| 7 | ½ | Indique que le décompte fonctionne (de 1 à 59 minutes). |
| 8 | △ | Indique que le minuteur fonctionne (de 1 à 99 minu-nutes) ou que la minuterie (sablier) fonctionne. |
| 9 | +/- | Il augmente ou diminue la durée. |
| 10 | ® | Définit la zone de rôtissage.. |
| 11 | ① | Règle les fonctions du minuteur. |
| 12 | Bandeau de commande | Pour régler la température. |
Affichages
| Afficheur | Description |
| Ø | La zone de rôtissage est désactivée. |
| 60 - 220 | La zone de rôtissage est en fonctionnement. |
| Ø + chiffre | Il y a une anomalie. |
| Ø / Ø / Ø | Voyant de chaleur résiduelle à trois niveaux : continuer la cuisson / maintien au chaud / chaleur résiduelle |
| L | Les fonctions de verrouillage/sécurité enfants sont activées. |
| - | Le dispositif d'arrêt de sécurité est activé. |
Avertissement
- La chaleur résiduelle peut être source de brûlures!
OptiHeat Control indique le niveau de chaleur résiduelle. Les foyers de cuisson à induction générent la chaleur nécessaire directement sur le fond des plats de cuisson. La table vitrocéramique est chauffée par la chaleur des récipients.
Mise en fonctionnement et mise à l'arrêt
Appuyez sur ① pendant 1 seconde pour mettre l'appareil en fonctionnement ou à l'arrêt.
Mise à l'arrêt automatique
L'appareil est automatiquement mis à l'arrêt si :
- Toutes les zones de rôtissage sont désactivées.
- Vous ne régalez pas la température après avoir activé l'appareil.
- Vous avez renversé quelque chose ou placé un objet sur le bandeau de commande pendant plus de 10 secondes (une casserole, un torchon, etc.). Un signal sonore retentit pendant un court instant, et la table de cuisson se désactive. Enlevez l'objet ou nettoyez le bandeau de commande.
- La zone de rôtissage n'est pas désactivée ou la température n'est pas modifiée. Au bout de 90 minutes □ apparait et l'appareil s'éteint. Avant la prochaine utilisation, réglez la zone de rôtissage sur □0□.
Le niveau de cuisson
Appuyez sur le bandeau de commande sur le niveau de cuisson souhaité. Corrigez-le au besoin en effleurant une autre position, à droite ou à gauche. Ne relâchez pas la pression tant que le niveau de cuisson souhaité n'est pas atteint. L'affichage indique le niveau de cuisson.

Si vous régalez la température, l'affichage clignote jusqu'à ce que la zone de rôtissage atteigne la température. Un signal sonore retentit alors et l'affichage indique la température.
Minuteur
Minuteur (Compte à rebours)
Utilisez le minuteur pour régler la durée de fonctionnement de la zone de cuisson pendant une session.
Réglez le minuteur après la sélection de la zone de cuisson.
Il est possible de sélectionner la fonction de minuterie pour les zones de cuisson actives et dont le niveau de cuisson est réglé.
- Pour désigner la zone de cuisson : appuyez plusieurs fois sur jusqu'à ce que l'indicateur correspondant s'affiche. Lorsque cette fonction est activée, s'allume.
- Pour activer le minuteur en fonction Décompte du temps : appuyez sur + du minuteur pour régler la durée (00 - 99 minutes). Lorsque le voyant de la zone de cuisson clignote plus lentement, le décompte a commencé.
- Pour savoir combien de temps il reste : paramétrez la zone de cuisson avec . Le voyant de la zone de cuisson commence à clignoter rapidement. L'afficheur indique le temps qui reste.
- Pour modifier le minuteur : paramétrez la zone de cuisson avec la touche + ou -.
- Pour désactiver le minuteur : paramétrez la zone de cuisson avec 📁 📁. Touche —. Le temps restant est décompté jusqu'à 00. Le voyant de la zone de cuisson commence à clignoter rapidement.
Lorsque le décompte du temps du minuteur est terminé, le signal sonore retentit et clignote. La zone de cuisson se désactive.
- Pour désactiver le signal sonore : appuyez sur ①
Minuteur progressif
Utilisez le minuteur progressif pour contrôler la durée de fonctionnement de la zone de cuisson sélectionnée.
- Pour choisir la zone de cuisson (si plusieurs zones de cuisson sont en cours de fonctionnement), appuyez plusieurs fois sur jusqu'à ce que l'indicateur correspondant s'affiche.
Lorsque cette fonction est activée, s'allume.
- Pour activer le minuteur progressif :
Appuyez sur
Le symbole s'éteint et s'affiche.
- Pour voir comment fonctionne la zone de cuisson : paramétrez la zone de cuisson avec . Le voyant de la zone de cuisson commence à clignoter rapidement. L'afficheur indique l'heure à laquelle la zone de cuisson fonctionne.
- Pour désactiver le minuteur progressif : CHOISSEZ la zone de cuissons à l'aide de et appuyez sur + ou — pour désactiver le minuteur. Le symbole s'éteint et s'allume.

Lorsque les deux fonctions de minuteur fonctionnent en même temps, l'écran affiche le minuteur progressif en premier.
Minuterie
Vous pouvez utiliser le minuteur comme minuterie lorsque vous n'utilisez pas les zones de cuisson. Appuyez sur ①.
Appuyez sur la touche + ou — du minuteur pour régler la durée. Une fois le temps écoulé, le signal sonore retentit et 00 clignote.
- Arrêt du signal sonore : appuyez sur
Verrouillage
Vous soupesez verrouiller la bande de commande à l'exception de la touche ①. Ce qui permet d'éviter une modification involontaire du niveau de cuisson par exemple.
Réglez tout d'abord le niveau de cuisson.
Pour démarrer cette fonction, appuyez sur 1. Le symbole s'allume pendant 4 secondes. Le minuteur reste allumé.
Pour arrêter cette fonction, appuyez sur l. Le niveau de cuisson précédent s'allume.
Lorsque vous mettez l'appareil à l'arrêt, vous désactivez également cette fonction.
Le dispositif de sécurité enfants
Ce dispositif permet d'éviter une utilisation involontaire de l'appareil.
Activation de la Sécurité enfants
- Mettez la table de cuisson en fonctionnement avec ①. Ne sélectionnez aucun niveau de cuisson.
- Appuyez sur pendant 4 secondes. Le symbole L s'allume.
- Mettez à l'arrêt la table de cuisson avec ①.
Désactivation de la Sécurité enfants
- Mettez la table de cuisson en fonctionnement avec ①. Ne sélectionnez aucun niveau de cuisson. Appuyez sur pendant 4 secondes. Le symbole s'allume.
- Mettez à l'arrêt la table de cuisson avec ①.
Bloquage de la sécurité enfants le temps d'une cuisson
- Mettez la table de cuisson en fonctionnement avec ①. Le symbole s'allume.
- Appuyez sur pendant 4 secondes. Réglez le niveau de cuisson dans les 10 secondes qui suivent. Vous pouvez utiliser la table de cuisson.
- Lorsque vous mettez la table de cuisson à l'arrêt avec ①, la Sécurité enfants est de nouveau activée.
Offsound control (désactivation et activation des signaux sonores)
Désactivation des signaux sonores
Mettez l'appareil à l'arrêt.
Appuyez sur ① pendant 3 secondes. Tous les indicateurs s'allument et s'éteignent. Appuyez sur ② pendant 3 secondes. ③ s'allume, le signal sonore est activé. Appuyez sur +, ④ s'allume, le signal sonore est désactivé.
Lorsque cette fonction est activée, l'appareil émet des signaux sonores uniquement dans les circonstances suivantes :
- quand vous appuyez sur ①
- quand le minuteur arrive en fin de course
- quand le décompte se termine
- quand vous posez un objet sur le bandeau de commande.
Activation des signaux sonores
Mettez l'appareil à l'arrêt.
Appuyez sur ① pendant 3 secondes. Tous les indicateurs s'allument et s'éteignent. Appuyez sur ② pendant 3 secondes. ③ s'allume, le signal sonore est désactivé. Appuyez sur +, ④ s'allume. Les signaux sonores sont actifs.
Cuisiner avec le teppan yaki
On peut préparer des aliments directement sur la surface de rôtissage avec ou sans graisse. On peut également utiliser des casseroles et des poêles, mais le temps de chauffe sera plus long sur la table de cuisson en céramique que sur la table de cuisson à gaz.
Vous pouvez cuisiner ou garder au chaud les accompagnements, par ex. les sauces, le riz, etc., dans des plats ou des casseroles. Placez-les directement sur la surface de cuisson. Il n'est pas conseillé de faire bouillir de grandes quantités d'eau sur la surface de rôtissage comme, par exemple, pour faire cuire des spaghetti.

Les bruits décrits sont normaux et ne constituent pas un dysfonctionnement.
Les exemples de cuisson
Utilisation de graisses et d'huiles
Si la température est trop élevée, la graisse se met à fumer (c'est ce qu'on appelle le "point de fumée")
| Graisses / Huiles | Température max. (°C) | Point de fumée (°C) |
| Beurre | 130 | 150 |
| Graisse de porc | 170 | 200 |
| Graisse de bovin | 180 | 210 |
| Huile d'olive | 180 | 200 |
| Huile de tournesol | 200 | 220 |
| Huile d'arachide | 200 | 235 |
| Graisse de noix de coco | 200 | 240 |

Préchauffez toujours l'appareil.
| Nature de la préparation | Température (°C) | Durée/conseils |
| Poisson et crustacés | 140–160 | Préchauffez l'appareil |
| Darnes de saumon | 160 | 8 minutes, tourner après 4 min- nutes |
| Grosses crevettes (décorti- quées) | 140 | 6 minutes, tourner après 3 mi- nutes |
| Steaks de veau d'environ 2,5 cm d'épaisseur | 160 | 10 minutes, tourner après 5 minutes |
| Soles meunières | 140 | 8 minutes, tourner après 4 mi- nutes, côté clair en premier |
| Filets de carrelet | 140 | 6 minutes, tourner après 3 mi- nutes |
| Vande de veau | 140–180 | Préchauffez l'appareil |
| Côtelette de veau | 180 | 10 minutes, tourner après 5 minutes |
| Médailon de veau, de 4 cm d'épaisseur | 160 | 10 minutes, tourner après 5 minutes |
| Steaks de veau de 3 - 4 cm d'épaisseur | 160 | 6 minutes, tourner après 3 mi- nutes |
| Escalope de veau nature | 180 | 5 minutes, tourner après 2½ minutes |
| Emincé de veau | 180 | 6 minutes, tourner après 3 mi- nutes (les morceaux de viande ne doivent pas se toucher) |
| Bœuf | 160–180 | Préchauffez l'appareil |
| Steak de bœuf bleu, très sai- gnant | 180 | 2 minutes, tourner après 1 mi- nute |
| saignant | 180 | 6 minutes, tourner après 3 mi- nutes |
| à point | 180 | 8 minutes, tourner après 2 mi- nutes |
| bien cuit | 180 | 8 minutes, tourner après 4 min- nutes sans matières grasses, les temps de cuisson augmentent d'environ 20 % |
| Hamburgers | 160 | 6 - 8 minutes, tourner après 3 - 4 minutes |
| Châteaubriand | 160 puis 100 | Faire revenir la viande dans de l'huile sur tous les côtés (tour- ner uniquement lorsque la viande n'adhère pas à la poèle) Terminer la cuisson sur un côtépendant 10 minutes (100 °C) |
| Porc | 160–180 | Préchauffez l'appareil |
| Médailons de porc | 160 | 8 minutes, tourner après 4 min- nutes (en fonction de l'épais- seur) |
| Échine de porc | 180 | 8 minutes, tourner après 4 min- nutes |
| Escalope de porc | 160 | 6 minutes, tourner après 3 min- nutes |
| Côtes levées | 160 | 8 - 10 minutes, tourner plu- sieurs fois |
| Brochettes de porc | 160 | 6 - 8 minutes, bien cuire sur tous les côtés |
| Agneau | 160–180 | Préchauffez l'appareil |
| Côtelettes d'agneau | 180 | 10 minutes, tourner après 5 minutes |
| Filet d'agneau | 160 | 10 minutes, tourner après 5 minutes (l'important ici est que tous les filets soient frits de tous les côtés) |
| Pavés d'agneau | 160 | 6 - 8 minutes, tourner après 3 - 4 minutes |
| Volaille | 140–160 | Préchauffez l'appareil |
| Suprôme de volaille | 140 | 8 - 10 minutes, tourner après 4 - 5 minutes |
| Émincé de dinde | 160 | 6 minutes, tourner plusieurs fois |
| Saucisses | 160 | Préchauffez l'appareil |
| Çeufs au plat | 140 | Préchauffez l'appareil |
| Crèpes / Omelettes | 140–160 | Préchauffez l'appareil |
| Fruits | 140-160 | Préchauffez l'appareil |
| Légumes | 140-160 | 10 - 20 minutes, tourner plu-sieurs fois |
| Légumes | 140-160 | 10 - 15 minutes, sous une clo-che de cuisson (tourner à mi-cuisson) |
| Faire revenir du riz précuit | 140-160 | 10 - 15 minutes, tourner plu-sieurs fois |
| Faire revenir des pâtes précui-tes | 140-160 | 15 - 20 minutes, tourner à mi-cuisson |
Entretien et nettoyage
Nettoyez l'appareil après chaque utilisation.
Utilisez toujours des récipients de cuisson dont le fond est propre et sec, lisse et plat.
Avertissement
Les objets tranchants et les produits de nettoyage agressifs ou abrasifs endommagent l'appareil.
Par mesure de sécurité, il est interdit de nettoyer la table de cuisson avec un appareil à jet de vapeur ou à haute pression.
Fonction de nettoyage
- Appuyez sur mm / ·. Les deux zones sont réglées sur une température de 80°C. L'affichage clignote jusqu'à ce que la température atteigne 80°C. Il verrouille le bandeau de commande mais pas le mm / ·
- Quand la température est de 80°C, le signal sonore retentit. Le bandeau de commande est actif.
- Mettez les glaçons un par un sur la zone de rotissage (vous pouvez également utiliser de l'eau froide). En même temps, détachez les restes du rotissage à l'aide d'une spatule et poussez-les dans le réceptacle jusqu'à ce que tous les restes aient été retirés.
- Frottez l'appareil avec un chiffon propre jusqu'à ce qu'il soit sec.
Nettoyage lorsque l'appareil est froid
- Laissez réagir un diluant de graisse pendant 5 minutes.
- Retirez les résidus de la cuisson à l'aide d'une spatule.
- Nettoyez l'appareil avec un chiffon humide
- Frottez l'appareil avec un chiffon propre jusqu'à ce qu'il soit sec.
- Terminez en frottant l'appareil avec de la graisse.

Avertissement
- Ne nettoyez pas la plaque en verre et l'espace qui sépare celle-ci du vitrocérame avec le grat-toir ou des objets pointus. La plaque en verre est fixée à la plaque en céramique.
- Ne posez pas les casseroles sur la plaque en verre. Veillez à ce que la batterie de cuisine ne soit pas en contact avec la plaque en verre.

En cas d'anomalie de fonctionnement
| Problème | Cause et solution possibles |
| Vous ne pouvez pas allumer l'appareil ou le faire fonctionner. | • Vous avez appuyé sur plusieurs touches sensitives en même temps. N'appuyez que sur une seule touche sensitive à la fois. • Il y a de l'eau ou des taches deGRAisse sur le bandeau de commande. Nettoyez le bandeau de commande • Allumez de nouveau l'appareil et réglez le niveau de cuisson en 7 secondes. • La sécurité enfants ou le verrouillage fonctionné. Reportez-vous au chapitre «Utilisation de l'appareil». |
| Un signal sonore retentit lors que l'appareil est étêt. | Vous avez posé quelque chose sur une ou plusieurs touches sensitives. Retirez l'objet des touches sensitives. |
| Le voyant de chaleur résiduelle ne s'allume pas. | La zone de cuisson n'est pas chaude parce qu'elle n'a fonctionné que peu de temps. Si la zone de cuisson devrait être très chaude, contactez votre service après-vente. |
| Un signal sonore retentit et l'appareil s'allume puis s'éteint. Au bout de 5 secondes, un autre signal sonore retentit. | Vous avez posé quelque chose sur ①. Retirez l'objet de la touche sensitive. |
| - s'allume | La fonction d'arrêt automatique fonctionné. Éteignez l'appareil puis allumez-le de nouveau. |
| E et un chiffre s'affichent. | Une erreur s'est produit dans l'appareil. Débranchez le fusible du système électrique de l'habitation afin de déconnecter l'appareil de l'alimentation électrique pendant quelques temps. Rebranchez. Si E s'allume à nouveau, contactez votre service après-vente. |
| Aucun signal sonore ne se fait entendre lorsque vous appuyez sur les touches sensitives du bandeau. | Les signaux sont déactivés. Activez les signaux (reportez-vous au chapitre «Commande son »). |
Si les indications ci-dessus ne vous permettent pas de remédier au problème, veuillez vous adresser à votre magasin vendeur ou au Service Après-vente. Veuillez lui fournir les informations
informations figurant sur la plaque signalétique, la combinaison à 3 lettres et chiffres pour la vitrocéramique (située dans un des coins de la table de cuisson) et le type de message d'erreur qui s'affiche.
En cas d'erreur de manipulation de la part de l'utilisateur, le déplacement du technicien du Service APRÈS-vente ou du magasin vendeur peut être facturé même en cours de garantie. Les instructions relatives au Service APRÈS-vente et aux conditions de garantie figurent dans le livre de garantie.
En matière de protection de l'environnement
Le symbole sur le produit ou son emballage indique que ce produit ne peut être traité comme déchet ménager. Il doit être remis au point de collecte dédié à cet effet (collecte et recyclage du matériel électrique et électronique).
En procédant à la mise au rebut de l'appareil dans les règles de l'art, nous préservons l'environnement et notre sécurité, s'assurant ainsi que les déchets seront traités dans des conditions optimales.
Pour obtenir plus de détails sur le recyclage de ce produit, veuillez prendre contact avec les services de votre commune ou le magasin où vous avez effectué l'achat.
Emballage

Tous les matériaux d'emballage sont écologiques et recyclables. Les composants en plastique sont identifiables grâce aux sigles: PE, PS, etc. Veuillez jeter les matériaux d'emballage dans le conteneur approprié du centre de collecte des déchets de votre commune.
Notice Facile