ALBSODFWH/N-EU - Cuisinière LA CORNUERE - Notice d'utilisation et mode d'emploi gratuit
Retrouvez gratuitement la notice de l'appareil ALBSODFWH/N-EU LA CORNUERE au format PDF.
| Type d'appareil | Cuisinière |
| Couleur | Inox |
| Finition | Nickel & inox satinés |
| Nombre de brûleurs | 6 |
| Type de brûleurs | Gaz |
| Type de four | Four à convection |
| Matériau du corps | Acier inoxydable |
| Commandes | Manettes mécaniques |
| Allumage | Électrique intégré |
| Dimensions (L x H x P) | Non précisé |
| Poids | Non précisé |
| Type d'énergie | Gaz |
| Système de sécurité | Non précisé |
| Nettoyage | Facile, surface inox |
| Accessoires inclus | Non précisé |
| Garantie | Non précisé |
FOIRE AUX QUESTIONS - ALBSODFWH/N-EU LA CORNUERE
Téléchargez la notice de votre Cuisinière au format PDF gratuitement ! Retrouvez votre notice ALBSODFWH/N-EU - LA CORNUERE et reprennez votre appareil électronique en main. Sur cette page sont publiés tous les documents nécessaires à l'utilisation de votre appareil ALBSODFWH/N-EU de la marque LA CORNUERE.
MODE D'EMPLOI ALBSODFWH/N-EU LA CORNUERE
Gamme combustible mixte

La Cornue 1908
AlberTine
www.la-cornue.com
Instructions d'Installation et d'Entretien
1. Avant de commencer... 1
Installation et entretien 1
Odeur de Neuf 1
Si Vous Sentez une Odeur de Gaz 1
Ventilation 1
Sécurité Personnelle 1
Conseils relatifs à la Four 2
Nettoyage 2
2. Vue d'ensemble de la cuisinière 3
Brûleurs de la Table de Cuisson 3
Four Multifonctions 6
Modes du four Multifonctions
Fonctionnement du four 8
Accessoires 9
1 Éclairage du Four 10
1 Rangement 17
Conseils pour la Four multifonction 12
Conseils Généraux Pour la Cuisson au Four 12
6. Nettoyage de la cuisinière 16
Entretien Quotidien 16
Nettoyage des Développements 16
Brûleurs de la Table de Cuisson 16
Table de Cuisson en Acier Inoxydable 17
Panneau de commande et porte de four 17
Four et la plaque de séparation 17
Tableau Nettoyage 18
7. Installation 19
Mesures et Règlements de Sécurité 19
Ventilation 19
Emplacement de la cuisinière 19
Modification 19
Positionnement de la Cuisinière 21
Déplacement de la Cuisinière 21
Retirer du tiroir de stockage 21
Mise à Niveau 22
Montage de la Grille d'Évacuation 22
Fixation de l'équerre ou chaîne de 23
Stabilisation 23
Trousse de rallonge de panneau latéral 23
(En option supplémentaire) 23
Raccordement de l'alimentation en gaz 24
Essai de Pression 24
Raccordement Électrique 25
Montage des Pièces détachées 26
Remise en Place du Tiroir 27
Remettez la porte du four 27
Vérifications du fonctionnement de la 27
Cuisinière 27
Assistance à la Clientèle 27
8. Entretien et pièces 28
En cas de problème 28
Remarque 28
Après la Période de Garantie 28
Pièces de Rechange 28
1. Avant de commencer...
Nous vous remercions d'avoir acheté cette cuisinière. Installée et utilisée correctement, cette cuisinière vous donnera de nombreuses années de service fiable. Il est donc important de lire la présente section avant de commencer, en particulier si vous n'avez jamais utilisé de cuisinière mixte.

Cet appareil est donc uniquement pour un usage domestique. Toute autre utilisation n'engage ni la responsabilité, ni la garantie du fabricant. En particulier, n'utilisez PAS le four pour chauffer la cuisine - non seulement cette pratique invalidera les réclamations, mais elle constituera un gaspillage d'énergie et un risque de surchauffe des boutons de commande.

Un kit de modification permettant l'utilisation d'autres gaz est fourni avec la cuisinière.
Installation et entretien
Son installation doit être conforme aux instructions appropriées des fabricants et satisfaire à la réglementation nationale et locale en vigueur, ainsi qu'aux prescriptions des compagnies de gaz et d'électricité locales.
Vérifiez que l'alimentation en gaz est en service et que la cuisine est raccordée à l'alimentation électrique et sous tension (la cuisine a besoin d'électricité).
La cuisinière doit faire l'objet d'un entretien effectué par un technicien d'entretien qualifié, lequel doit utiliser uniquement des pièces de rechange approuvées.
Laissez toujours la cuisinière refroidir et mettez-la hors tension avant de la nettoyer ou d'effectuer une intervention d'entretien, sauf indication contraire dans les présentes instructions.
Odeur de neuf
Une légère odeur de neuf peut se dégager lors de la première utilisation de la cuisinière. Elle disparaîtra rapidement à l'utilisation.
Avant la première utilisation de l'appareil, assurez-vous qu'il ne reste aucun matériel d'emballage, puis réglez le four sur 200°C et faites-le marcher pendant une heure afin d'éliminer l'odeur de neuf.
Veillez à ce que la pièce soit bien aérée, reportez-vous à la section « Ventilation ». Il est recommandé aux personnes souffrant de problèmes respiratoires ou d'allergies de quitter la pièce pendant ce temps.
Si vous sentez une odeur de gaz
Ne actionnez aucun interrupteur électrique, ni pour allumer, ni pour éteindre. Ne fumez pas. Ne utilisez pas de flammes nues. - Coupe le gaz au compteur ou au niveau de la bouteille de gaz. Ouvrez portes et fenêtres pour évacuer le gaz. - Appelez votre fournisseur de gaz.
Ventilation

AVERTISSEMENT! L'utilisation d'un appareil de cuisson à gaz produit de la chaleur et de l'humidité dans la pièce contenant l'appareil. Veillez à ce que la cuisine soit bien ventilée. Laissez les ouvertures de ventilation naturelle ouvertes ou installez une hotte aspirante à évacuation extérieure. En cas d'utilisation simultanée de plusieurs brûleurs ou d'utilisation prolongée de la cuisinière, ouvrez une fenêtre ou mettez en marche une hotte aspirante.
Sécurité personnelle
Cet appareil ne DOIT PAS être modifié. Cet appareil peut être utilisé par des enfants âgés de 8 ans et plus, outre par des personnes aux capacités physiques, sensorielles ou mentales réduites ou qui manquent d'expérience et de connaissances à l'égard de l'appareil, à condition d'être surveillés ou d'avoir reçu des instructions claires pour utiliser cet appareil en toute sécurité et d'en comprendre les risques. Les enfants ne doivent pas jouer avec cet appareil. Son nettoyage et son entretien ne doivent pas être effectués par des enfants non supervisés. A VERTISSEMENT: L'appareil et ses pièces accessibles chauffent pendant leur utilisation. Veillez à ne pas toucher les éléments chauffants. Les enfants de moins de 8 ans doivent être gardés à distance à moins qu'ils ne soient constamment surveillés. N'utilisez PAS de nettoyeur à vapeur sur votre cuisinière. Les parties accessibles de la cuisinière deviennent chaudes lorsque celle-ci est en marche et resteront chaudes même après la cuisson. Ne laissez pas les bébés et les enfants s'approcher de la cuisinière et ne portez jamais de vêtements amples ou flottants lors de l'utilisation de la cuisinière. Vérifiez toujours que les commandes sont sur la position Arrêt [OFF] lorsque le four n'est pas en marche et avant de nettoyer la cuisinière.
Veillez à ce que les matériaux combustibles, (rideaux, liquides inflammables, etc.) soient toujours suffisamment éloignés de la cuisinière.
N'utilisez PAS d'aérosols à proximité de la cuisinière lorsque celle-ci est en marche. Au besoin, utilisez des gants isolants secs - l'emploi de gants humides risque de causer des brûlures dues à la vapeur lors du contact avec une surface chaude. N'utilisez pas de torchon ou autre chiffon secs à la place d'un gant isolant - ils risquent de s'enflammer au contact d'une surface chaude. Ne faites jamais fonctionner la cuisinière avec les mains mouillées. N'utilisez pas des casseroles instables. Tournez toujours les manches des récipients de cuisson vers l'intérieur de la table de cuisson.
Ne laissez jamais la cuisinière en marche sans surveillance si les foyers de la table de cuisson sont réglés sur maximum. Le débordement des récipients peut produire de la fumée et des taches de gras qui risquent de s'enflammer. Si possible, utilisez un thermomètre à bain de friture pour prévenir une surchauffe de l'huile au-delà du point de fumée.
AVERTISSEMENT! Tout processus de cuisson non surveillé sur une table de cuisson, à base de graisse ou d'huile, peut être dangereux et déclencher un incendie. Ne laissez jamais une friteuse sans surveillance. Faites toujours chauffer l'huile lentement, en la surveillant. Les friteuses ne doivent être remplies qu'à un tiers de leur capacité. Une friteuse trop pleine peut déborder lorsqu'on y plonge des aliments. Si vous utilisez un mélange d'huile et de graisse pour la friture, mélangez-les avant de chauffer, ou pendant la fonte des graisses.
Les aliments à frire doivent être le plus sec possible. La présence de cristaux de glace sur des aliments congelés ou d'humidité sur des aliments frais peut provoquer une ébullition et un débordement de l'huile. Surveillez attentivement pour prévenir les débordements et la surchauffe pendant la friture à haute ou moyenne température. N'essayez jamais de déplacer un récipient de cuisson contenant de l'huile chaude, en particulier une friteuse. Attendez que l'huile ait refroidi.
Lorsque le grill est en marche, ne vous servez pas de la grille d'évacuation (la grille le long de la partie arrière de la cuisinière) pour réchauffer des assiettes ou des plats, sécher des torchons ou ramollir du beurre.
N'utilisez pas d'eau pour éteindre les incendies dus à la graisse et ne soulevez jamais un récipient de cuisson qui a pris feu. Éteignez la cuisinière et étouffez un récipient qui a pris feu sur une table de cuisson en le recouvrant complètement avec un couvercle de taille appropriée ou une plaque de cuisson. Si possible, utilisez un extincteur à poudre chimique ou à mousse de type polyvalent.
Veillez à prévenir toute infiltration d'eau dans l'appareil.
Seuls certains types de récipients en verre, vitrocéramique, terre cuite ou autres récipients émaillés peuvent être utilisés.
sur la table de cuisson; les autres risquent de se briser en raison du changement soudain de température.
Cet appareil est lourd; prenez garde lorsqu vous le déplacez.
Conseils relatifs à la fourneaux
Lorsque le four est en marche, ne laissez PAS la porte du four ouverte plus longtemps que nécessaire, afin de prévenir une surchauffe des boutons de commande.
La cuisson d'aliments à haute teneur en eau peut produire une « bouffée de vapeur » à l'ouverture de la porte du four. Lorsque vous ouvrez la porte du four, reculez-vous et attendez que la vapeur se soit dissipée.

ATTENTION! Le côté interieur de la porte est fait en verre de sécurité renforcé. Faites attention à NE PAS rayer la surface en plaçant les ustensiles sur le panneau de verre. Pour prévenir le risque de rayures et de fissures, N'UTILISEZ PAS de produits nettoyants décapants et abrasifs ni de racloirs métalliques acérés pour nettoyer la porte en verre du four. Vérifiez que les plaques sont poussées jusqu'au fond du four. NE PAS fermer la porte sur les grilles du four. Des dégâts accidentels peuvent fissurer la porte en verre. Ne recouvrez pas les grilles, les panneaux internes ou la voute du four de papier aluminium. Ne chauffez jamais des récipients alimentaires qui n'ont pas été ouverts. La pression accumulée à l'intérieur des récipients peut les faire exploser et blesser l'utilisateur. Ne pas obstruer les conduits d'aération.
Nettoyage
Pour des raisons d'hygiène et de sécurité, la cuisine doit toujours être propre, afin de prévenir le risque d'incendie causé par l'accumulation de graisse et autres particules alimentaires.
Nettoyez uniquement les composants indiqués dans les instructions.
Nettoyez avec précaution. Si vous utilisez une éponge ou un chiffon humide pour essuyer des taches sur une surface chaude, prenez garde au risque de brûlures par la vapeur. Certains produits nettoyants peuvent produire des vapeurs nocives au contact d'une surface chaude.
2. Vue d'ensemble de la cuisinière
Fig.2-1
Fig.2-2
Fig.2-3
Brûleurs de la table de cuisson
Avant d'utiliser la table de cuisson, vérifie que tous les brûleurs sont en place et que toutes les grilles de la cuisinière sont placées correctement.
Le schéma à côté de chaque bouton indique le brûleur associé à ce bouton (Fig.2-1).
Chaque brûleur a un dispositif de sécurité spécial qui coupe l'alimentation en gaz en cas d'extinction de la flamme. Appuyez sur le bouton et mettez-le sur le « » (Fig.2-2).
Continuez d'appuyer sur le bouton pendant quelques secondes (4 secondes environ) pour permettre l'arrivée du gaz dans le brûleur (Fig.2-3). Le dispositif d'allumage produit une étincelle et allume le gaz. Lorsque vous appuyez sur un bouton de la table de cuisson, une étincelle se produit à chaque brûleur, ce qui est tout à fait normal. N'essayez jamais de démonter un brûleur ni de nettoyer autour d'un brûleur pendant le fonctionnement d'un autre brûleur. Vous risqueriez de recevoir une décharge électrique.
Si le brûleur s'éteint lorsque vous relâchez le bouton de commande, le dispositif de sécurité n'a pas été enclenché. Mettez le bouton de commande sur Arrêt [Off] et attendez une minute avant d'essayer de nouveau, en appuyant un peu plus longtemps sur le bouton.
Tournez le bouton pour régler la hauteur de flamme. Sur cette cuisinière, le réglage inférieur est au-delà du réglage supérieur, et non pas entre réglage supérieur et arrêt. Le « » indique la position minimum. Tournez le bouton vers cette position lorsqu'un plat est parvenu à ébullition (Fig.2-4).
Veillez à ce que les flammes ne dépassent pas des récipients de cuisson. Par sécurité, réglez les flammes de façon à ce qu'elles ne dépassent pas des bords du récipient de cuisson. Cette consigne est basée sur des raisons de sécurité (Fig.2-5).
N'utilise pas de casseroles ni de marmites à fond concave ou à fond à rebord incurvé vers le bas (Fig.2-6).
L'utilisation de dispositifs de mjotage, de type plaques d'amiate ou plaques métalliques, est DECONSEILLEE. Ces dispositifs diminueront les performances de la cusinière et risquent d'endommager les grilles de la table de cuisson (Fig.2-7).
N'utilise pas de récipients de cuisson instables ou déformés susceptibles de se renverser, ni de récipients de cuisson à fond de très petit diamètre (casseroles à lait, pocheuses individuelles, etc.) (Fig.2-8).
Il est recommandé d'utiliser des récipients de diamètre minimum de 12 cm pour les brûleurs extérieurs et 16 cm pour le brûleur central.
Si la flamme d'un brûleur de la table de cuisson s'éteint aussitôt après l'allumage, mettez le bouton de commande sur la position Arrêt [Off] et attendez une minute avant de rallumer.
Allumage des brûleurs de la table de cuisson en cas de panne d'électricité
En cas de panne d'électricité, vous pouvez allumer les brûleurs avec une allumette.
- Approchez une allumette allumée à 1 cm de la tête du brûleur, en gardant la main à l'horizontale, le plus loin possible du brûleur.
- Appuyez et tournez le bouton de commande du brûleur pour le mettre sur la position pleine flamme. Éloignez la main du brûleur dès l'allumage de celui-ci. De l'autre main, continuez d'appuyer sur le bouton de commande pendant quelques secondes pour que le dispositif de sécurité puisse « détector » la chaleur de la flamme.
- Lorsque la cuisson est terminée, tournez le bouton de commande pour le mettre sur la position Arrêt [OFF].






Avertissement!
Lors du retrait de la cloison éco-énergie, veillez à NE PAS rayer la surface en verre de la porte interne. Des rayures peuvent être à l'origine de contraintes et endommager la porte.

Fig.2-10
Fig.2-11
Cloison eco-énergie
Le four peut être cloisonné (Fig. 2-9). Avec cette cloison, seul un côté du four est chauffé et seuls les éléments du côté droit sont utilisés. Cela économise de l'énergie et est idéal pour cuire la plupart des plats. Lors de l'utilisation de la cloison, de la condensation peut apparaître dans le four de gauche – cela est normal.
La cloison peut être retirée pour cuire de très grandes quantités ou de grands plats lors d'occasions spéciales. Lorsqu'une fonction est sélectionnée, cela met en marche les éléments de gauche ainsi que ceux de droite.
Toutes les fonctions du four sont disponibles pour la forme complète et la forme cloisonnée, et des plaques pouvant être utilisées dans les deux formes sont fournies.

Avertissement!
En retirant la cloison, faites très attention à ne PAS rayer la surface intérieure en verre de la porte. Des éraflures peuvent provoquer une charge et faire casser la porte.
Retrait de la séparation

Assurez-vous que la cuisinière a refroidi avant d'essayer désterminer la séparation.
Ouvrez en grand la porte du four et ôtez les grilles. Pour retirer la séparation, inclinez légèrement cette dernière vers le haut et maintenez fermement son côté inférieur pour éviter tout contact entre la base en métal et la porte vitrée (Fig.2-10 et Fig.2-11).
Nous recommandons de protéger la porte à l'aide d'un torchon avant d'ôter la séparation. Vous éviterez ainsi les éraflures à l'intérieur de la porte.
NE placez PAS d'objets métalliques, notamment des plats, sur la porte vitrée pour éviter les éraflures et un dysfonctionnement ultérieur.
Four multifonctions
Le four est un four multifonctions (Fig. 2-12). Outre le ventilateur de four et l'objet du ventilateur, le four est doté de deux éléments chauffants supplémentaires, l'un visible dans la voûte, et l'autre sous la sole. Veillez à ne pas toucher l'objet supérieur et le déflecteur de l'objet lors de l'insertion ou du retrait des plats dans le four.
Le four multifonctions a trois fonctions de cuisson principales : cuisson ventilée, cuisson ventilée mixte et cuisson conventionnelle. Utilisez ces fonctions pour effectuer l'essentiel de la cuisson.
L'élément gratineur et la chaleur inférieure peuvent être utilisés en fin de cuisson pour finir certains plats.
Utilisez les fonctions grill ventilé pour la cuisson au grill et décongélation pour décongeler de petites quantités d'aliments surgelés.
Le Tableau 2-1 récapitule les modes multifonctions.
Remarque: Le four multifonctions permet de nombreuses utilisations variées. Nous vous conseillons de bien surveiller la cuisson jusqu'à ce que vous soyez familiarisé avec chaque fonction (Fig.2-13). N'oubliez pas : toutes les fonctions ne conviennent pas à tous les types d'aliments.


Tableau 2-1
| Fonction | Utilisation |
| Décongélation | Décongélation de petites quantités d'aliments dans le four sans chaleur |
| Four ventilé | Fonction de cuisson complète, chaleur uniforme; idéale pour la pâtisserie |
| Gril ventilé | Gril des viandes et poissons, avec porte du grill fermée |
| Four ventilé mixte | Fonction de cuisson complète; parfaite pour les rôts et la pâtisserie |
| Four conventionnel | Fonction de cuisson complète pour les rôts et la pâtisserie dans la partie inférieure du four |
| Elément gratineur | Pour gratiner les plats recouverts de fromage |
| Chaleur inférieure | Pour dorer les fonds de quiches, pizzas ou pâtisseries |
Décongélation

Avec cette fonction, le(s) ventilateur(s) du (des) four(s) brasse(nt) uniquement de l'air froid. Il n'y a pas de chaleur. Cette fonction permet de décongeler
des aliments, en petites quantités, par exemple des desserts, gâteaux à la crème, morceaux de viande, poissons et volailles.
Ce type de décongélation accélère le processus de décongélation et protège les alimentés de la contamination. Placez les morceaux de viande, poisson et volaille sur une grille, au-dessus d'une plaque prévue pour l'égouttement. N'oubliez pas de nettoyer la grille et la plaque après décongélation.
La porte du four doit être fermée pendant la décongélation. Ne pas décongeler dans un four chaud. Des aliments plus volumineux, tels que des poulets entiers et des roits, ne doivent pas être décongelés de cette façon. Nous vous conseillons de les décongeler au réfrigérateur.
Vérifiez que les aliments à base de produits laitiers, de viande et de volaille sont complètement décongelés avant de les cuire.
Four ventile

Cette fonction commande les ventilateurs et l'élement chauffant autour de ceux-ci. Une chaleur uniforme est produite partout dans le four, ce qui
permet la cuisson rapide de grandes quantités d'aliments.
La cuisson au four à convection est particulièrement recommandée pour la cuisson simultanée sur plusieurs grilles du four et est une excellente fonction « polyvalente ». Vous devrez peut-être diminuer la température de 10°C environ pour des plats que vous aviez l'habitude de cuire dans un four conventionnel.
Si vous préchauffez le four, attendez que le voyant s'éteigne avant de mettre le plat au four.
Gril ventile

Cette fonction commande le ventilateur pendant que l'élément chauffant supérieur est en marche. On obtient ainsi une chaleur plus uniforme, moins
intense que celle d'un grill conventionnel. Pour obtenir les plusieurs résultats possibles, placez les aliments à griller sur la l’étagère fournie. Ce type de cuisson est idéal pour les morceaux de viande ou de poisson écais, car la circulation de l’air diminue l’intensité de la chaleur du grill. La porte du four doit être fermée pendant la cuisson au grill pour éviter un gaspillage d’énergie. Vous constaterez que vous devrez moins surveiller et tourner les aliments cuits de cette façon. Cette fonction nécessite un préchauffage avant la cuisson.
Four ventile mixte

Cette fonction commande les ventilateurs et brasse l'air chauffé par les éléments chauffants de la voûte et de la sole du four. Cette fonction, qui combine la
cuisson ventilée et la cuisson conventionnelle (chaleur supérieure et inférieure), est un moyen de cuisson idéal pour les aliments volumineux (gros rôti, par exemple) pour lesquels une cuisson complète est très importante. On peut également faire cuire des plats simultanément sur deux grilles, mais les plats devront être intervertis pendant la cuisson, car, avec cette fonction, la chaleur est plus intense dans la voûte du four qu'au niveau de la sole.
Ce mode de cuisson est intensif et rapide ; surveillez les aliments cuits ainsi jusqu'à ce que vous soyez familiarisé avec cette fonction.
Four conventionnel (chaleur supérieure et inférieure)

Cette fonction combine la chaleur fournie par les éléments supérieur et inférieur. Elle est particulièrement utile pour la cuisson des aliments
rotis et des pâtes à tartes, gâteaux et biscuits. Les aliments cuits sur la grille supérieure gratineront et doreront plus rapidement que ceux placés sur la grille inférieure car la chaleur est plus intense dans la voûte du four qu'au niveau de la sole, comme dans le cas de la fonction « Four Ventilé Mixte ». Des aliments similaires cuits ainsi devront être intervertis pour cuire uniformément. Cette fonction permet donc de cuire des aliments nécessitant des températures de cuisson différentes, en utilisant la zone moins chaude dans la partie inférieure du four et la zone plus chaude dans la partie supérieure du four.
Élément gratineur

Cette fonction utilise uniquement l'élément situé dans la voûte du four. C'est une fonction utile pour gratiner ou finir des gratins de pâtes, des légumes en
sauce et des lasagnes, le plat à gratiner étant déjà chaud avant la mise en marche de l'élément supérieur.
Chaleur inférieure

Cette fonction utilise uniquement l'élément inférieur. Elle permettra de dorer le fond d'une pizza ou d'une quiche ou de terminer la cuisson d'un fond de tarte.
sur une grille inférieure. C'est également une chaleur douce, parfaite pour le mijotage de plats placés au milieu du four ou pour réchauffer des assiettes.
Les fonctions Élément gratineur et Chaleur inférieure sont des adjonctions utiles à votre four et vous permettent de finir vos plats à la perfection. Vous constaterez rapidement que leur utilisation contribue à étendre vos compétences culinaires.
Fonctionnement du four
Le four multifonctions est doté de deux commandes : un sélecteur de fonction et un bouton de réglage de température (Fig.2-14).
Tournez le sélecteur de fonction pour le mettre sur une fonction de cuisson. Ceci est le réglage du four à convection (Fig.2-15).
Tournez le bouton de réglage de température du four pour le mettre sur la température requise.
Le voyant du four restera allumé jusqu'à ce que le four atteigne la température requise. Il s'allumera et s'éteindra pendant la cuisson pendant que le thermostat du four maintient la température requise (Fig. 2-16).
N'oubliez pas : toutes les cuisinières sont différentes - les températures de vos nouveaux jours peuvent être différentes de celles de votre ancienne cuisinière.












Grilles de four
Chaque four est fourni avec :
1 grille télescopique sur toute la largeur avec glissières (Fig.2-17) 1 grille totalité du four et support (Fig.2-18) 1 plateau de pâtisserie (Fig.2-19) 3 grilles éco-énergie (Fig.2-20) 1 cloison éco-énergie (Fig.2-21)
Les grilles de four sont retenues lorsqu'elles sont tirées vers l'avant mais elles peuvent aisément être enlevées et remises.
Retirer et installer une étagère sur les supports latéraux
Le support possède un petite butée sur chaque côte (Fig.2-22). Pour retirer le support, alignez ces derniers avec les butées sur le support du support (Fig.2-23). Soulevez le support vers le haut afin qu'il passe sur la butée de la plaque et ensuite tirez-le vers l'avant (Fig.2-24).
Montez-le à nouveau dans l'ordre inverse en vous assurant de le repousser complètement.
Installation des glissières télescopiques pour étagères
Le bras de glissière en position fermée, placez l'ouverture de la fente arrière supérieure sur le support latéral (Fig.2-25). N'allez pas plus loin que l'ouverture à ce stade.
Levez le devant du bras de glissière afin de placer la fente avant contre le support latéral (Fig.2-25).
Poussez le bras de glissière vers l'arrière du four. Le crochet à l'avant se lèvera et s'abaissera pour bien maintenir en place le bras de glissière (Fig.2-25).
Installation d'une étagère sur les glissières télescopiques pour étagères
Tirez entièrement sur les glissières télescopiques pour qu'elles soient complètement dépliées. Tout en tenant l'étagère au-dessus des glissières, inclinez l'avant vers le bas et placez sur l'avant des glissières. Posez l'étagère à plat. Appuyez sur l'arrière de l'étagère pour qu'elle se fixe en place.
Retirer une étagère des glissières télescopiques pour étagères
Faites glisser le support sur les glissières. Tout en maintenant une des glissières en toute sécurité, soulevez avec précaution l'arrière du support vers le haut : le support sera éjectée de l'onglet de retenue central. Répétez cette action sur le côté opposé.
Remarque : Pour aider le retrait du plateau, vous pouvez insérer un outil plat adapté par l'ouverture du côté des glissières et levez la grille (Fig.2-26).
Inclinez l'avant de la grille vers le bas et soulevez-la ensuite les glissières (Fig.2-27).
Retirer les glissières télescopiques pour étagères
Tout d'abord, enlevez l'étagère conformément aux consignes fournies dans la section « Retirer une étagère des glissières télescopiques pour étagères »
Placez un doigt sous la glissière télescopique et faites-la se lever.
Ouvrez le crochet de dessus la glissière et tirez sur la glissière vers l'avant puis vers le bas pour l'enlever.
Eclairage du four
Appuyez sur le bouton approprié pour allumer les éclairages des fours (Fig. 2-28).
Si un des éclairages est défectueux, mettez l'appareil hors tension au niveau du disjoncteur avant de changer l'ampoule. Pour des informations détaillées sur la façon de changer une ampoule d'éclairage de four, reportez-vous à la section « Dépannage »






Rangement
Le tiroir inférieur permet le rangement des plaques de cuisson et autres ustensiles de cuisine.
Il peut devenir très chaud; n'y rangez pas d'objets susceptibles de fondre ou de s'enflammer. Ne rangez jamais de produits inflammables dans le tiroir. Ces produits incluent les objets en papier, en plastique et en tissu, tels que les livres de cuisine, les ustensiles en plastique et les torchons, ainsi que les liquides inflammables. Ne rangez pas de produits explosifs, tels que des bombes aérosols, sur ou près de la cuisinière.
Les produits inflammables risquent d’exploser et de causer des incendies et des dommages matériels.
Le tiroir peut être retiré de la cuisinière à des fins de nettoyage, etc.
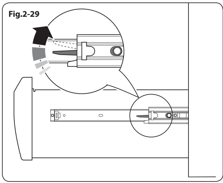
Pour retirer le tiroir de rangement
Tirez sur le tiroir jusqu'à la butée.
Poussez les extrémités des attaches en plastique – vers le bas du côté gauche et vers le haut du côté droit – pour relâcher les taquets qui retiennent le tiroir sur les rails latéraux (Fig. 2-29). En même temps, tirez le tiroir hors des rails latéraux.
Pour des raisons de sécurité, les rails latéraux à l'intérieur s'enfoncent dans la cavité.
Pour installer le tiroir de rangement
Faites glisser les rails latéraux jusqu'à ce qu'ils soient complètement étendus (Fig.2-30).
Levez le tiroir sur les côtés et placez l'un des rails du tiroir (environ 15 mm) sur l'un des rails latéraux à l'intérieur (Fig.2-31).
Tournez le tiroir pour placer le rail restant du tiroir sur le rail lateral opposé à l'intérieur.
Faites soigneusement glisser le tiroir dans la cavité. Vous pourriez ressentir éventuellement une certaine résistance alors que le tiroir se place entièrement sur les rails latéraux à l'intérieur.
Conseils pour la fourne multifonction
N'oubliez pas : toutes les fonctions ne conviennent pas à tous les types d'aliments. Les températures du four et les temps de cuisson sont fournis à titre indicatif uniquement.
Conseils généaux pour la cuisson au four
Veillez à ce que les grilles intérieures soient toujours insérées à fond dans le four.
Placez les plaques de cuisson, plats à rôtir, etc., à niveau, au centre des grilles du four. Placez les autres plats au centre sur les grilles. Éloignez les plaques et les plats de cuisson des bords du four, afin de ne pas trop dorer les aliments.
Lorsque le four est en marche, ne laissez pas la porte du four ouverte plus longtemps que nécessaire, afin de prévenir une surchauffe des boutons de commande.
- Laissez toujours un « doigt de largeur » entre des plats placés sur une grille de four. Ceci afin de faciliter la circulation de chaleur autour des plats. Pour réduire les projections grasses lorsque vous ajoutez des légumes dans la graisse chaude autour d'un roti, séchez soigneusement les légumes ou enduisez-les d'un peu d'huile à friture.
- Placez les plats susceptibles de bouillir et déborder pendant la cuisson sur une plaque de cuisson. Le four produit assez de chaleur pendant la cuisson pour réchauffer des assiettes placées dans l'enceinte du grill. Si vous souhaitez dorer un fond de tarte, préchauffez une plaque de cuisson pendant 15 minutes avant de placer le plat au centre de la plaque.
4. Tableau de cuisson
Les températures du four et les temps de cuisson sont fournis à titre indicatif uniquement. En fonction des goûts de chacun, les températures devront peut-être être modifiées dans un sens ou dans l'autre, pour obtenir les résultats que vous recherchez.
Dans un four ventilé, les plats sont cuits à une température plus basse que dans un four traditionnel. Lorsque vous suivez une recette, réduisez la température indiquée de 10°C et le temps de cuisson de 5-10 minutes. La température dans un four ventilé ne varie pas selon la position dans le four - vous pouvez donc utiliser n'importe quelle grille.
Position de grille
- Avant la cuisson, décongelez complètement les viandes et volailles congelées.
Température Four Position Température Conventional °C de grille Four Ventilé °C Temps de Cuisson Approximatif
| Vienne | |||||
| Bœuf | 160 | C | 150 | 30-35 minutes par 500g +30-35 minutes. | Farci et roulé - Ajoutezapproximativement 10 minutes/500gaux temps de cuisson ci-dessus oufaibles cuire à 200°C pendant 20minutes, puis à 160°C pendant lereste de la cuisson. |
| 200 | C | 190 | 20-25 minutes par 500g +20-25 minutes. | ||
| Agneau | 160 | C | 150 | 30-35 minutes par 500g +30-35 minutes. | |
| 200 | C | 190 | 20-25 minutes par 500g +20-25 minutes. | ||
| Porc | 160 | C | 150 | 35-40 minutes par 500g +35-40 minutes. | |
| 200 | C | 190 | 25-30 minutes par 500g +25-30 minutes. | ||
| Volaille | |||||
| Poulet | 160 | C | 150 | 20-25 minutes par 500g +20-25 minutes. | Volaille farcie - Cuisson à 200°C ouà 200°C pendant 20 minutes, puis à160°C pendant le reste de lacuisson.Préemballée (fraîche ou congelée):Suivre les temps de cuissonindiqués sur l'emballage.Avant la cuisson, decongelezcompletement les rotis et volaillescongeles. |
| 200 | C | 190 | 15-20 minutes par 500g +15-20 minutes. | ||
| Dinde | 160 | C | 150 | 25-30 minutes par 500g +25-30 minutes. | |
| 200 | C | 190 | 20 minutes par 500g +20 minutes. | ||
| Canard | 160 | C | 150 | 25-30 minutes par 500g. | |
| 200 | C | 190 | 20 minutes par 500g. | ||
| Plat braisé | 140-150 | C | 130-140 | 2-4 heures selon la recette. | |
| Poisson | |||||
| 190 | C | 180 | Filet 15-20 minutes. Morceau entier 15-20 minutes par 500g. | ||
| 190 | C | 180 | Morceau entier 10 minutes par 500g +10 minutes. | ||
| 190 | C | 180 | Steaks selon l'épaisseur. | ||
| Gâteau | |||||
| Cake 100% fruits confits | 140 | C/B | 130 | 45-50 minutes par 500g de pâte. | |
| Fruits 180mm | 150 | C/B | 140 | 2-2,5 heures. | |
| Fruits 230mm | 150 | C/B | 140 | 3,5 heures. | |
| Gâteau quatre quarts 180mm | 180 | C | 170 | 20-30 minutes. | |
| Desserts | |||||
| Tarte pâté brisée | 200 | C | 190 | 30-40 minutes. | |
| Tourtes aux fruits | 180 | C | 170 | 30-40 minutes permutation après 25 minutes. | |
| Tartelettes | 180 | C | 170 | 15-20 minutes. | |
| Pâté feuilletée | 220 | C | 210 | 20-40 minutes selon la taille. | |
| Meringues | 100 | C | 90 | 2-2,5 heures selon la taille. | |
| Pain | 220 | C | 210 | 20-30 minutes. | |
Défaillance de l'allumage ou des brûleurs de la table de cuisson
L'appareil est-il sous tension?
Les trous du générateur détincelles électrode d'allumage ou du brûleur sont-elles obstruées par des débris?
Les têtes des brûleurs sont-elles placées correctement? Voir la section « Nettoyage »
Souvenez-vous que chaque brûleur a un dispositif de sécurité spécial qui coupe l'alimentation en gaz en cas d'extinction de la flamme. À l'allumage d'un brûleur, le dispositif de sécurité doit être désactivé en maintenant le bouton de commande enfoncé pour permettre au gaz de s'échapper. Le détecteur de flamme peut ainsi s'échauffer et enclencher le dispositif de sécurité. Continuez d'appuyer sur le bouton pendant quelques secondes pour permettre l'écoulement du gaz dans le brûleur. Le système d'allumage produit une étincelle et allume le gaz.
Si le brûleur s'éteint lorsque vous relâchez le bouton de commande, le dispositif de sécurité n'a pas été enclenché. Mettez le bouton de commande sur la position Arrêt [Off], et attendez une minute avant d'essayer de nouveau, cette fois, en appuyant sur le bouton pendant un peu plus longtemps.
Les brûleurs de la table de cuisson ne s'allument pas
Si un des brûleurs ou tous les brûleurs de la table de cuisson ne s'allument pas, vérifie que les composants ont été remis en place correctement après leur essuyage ou retrait à des fins de nettoyage.
Vérifiez que l'alimentation en gaz n'est pas défectueuse. Pour ce faire, vérifiez le fonctionnement de vos autres appareils à gaz.
Les brûleurs produisent-ils une étincelle lorsque vous appuyez sur le bouton de commande ? Dans la négative, vérifiez si l'appareil est sous tension.
De la vapeur s'échappe du four
Pendant la cuisson d'aliments à haute teneur en eau (frites surgelées, par exemple), un peu de vapeur peut être visible à la grille à l'arrêt du chauffe-plats.
Faites attention en ouvrant la porte du four, une bouffée de vapeur peut s'échapper momentanément à l'ouverture du four. Reculez-vous et attendez que la vapeur se soit dissipée.
Le ventilateur du four est bruyant
Le bruit du ventilateur peut changer pendant le chauffage du four - ceci est tout à fait normal.
Quels sont les produits de nettoyage recommandés pour la cuisinière?
Reportez-vous à la section « Nettoyage » pour en savoir plus sur le matériel recommandé pour le nettoyage.
N'utilisez jamais de produits nettoyants caustiques ou abrasifs qui abîmeront la surface.
Les boutons de commande deviennent chauds lorsque j'utilise le four. comment faire pour empêcher cela?
Ceci est dû à la chaleur provenant du four. Ne laissez pas la porte du four ouverte.
En cas de problème concernant l'installation, si mon installateur d'origine ne peut pas venir résoudre le problème, à qui incombent les frais?
C'est à vous qu'incombent ces frais. Les sociétés d'entretien factureront leurs interventions si elles réparent une installation effectuée par votre installateur d'origine. Il est de votre intérêt de contacter votre installateur d'origine.
Panne de courant
En cas de panne de courant, n'oubliez pas de régler de nouveau l'horloge pour permettre le fonctionnement automatique du four.
Les alimentés cessent trop lentement, trop rapidement, ou brûlent
Les temps de cuisson peuvent être différents de ceux de votre ancien four.
Vérifiez que vous utilisez les températures et positions de grilles de four recommandées.
Les températures du four et les temps de cuisson sont fournis à titre indicatif uniquement.
En fonction des goûts de chacun, les températures devront peut-être être modifiées dans un sens ou dans l'autre, pour obtenir les résultats que vous recherchez.
La cuisson au four n'est pas uniforme
Dans le cas d'un grand plat, vous devrez peut-être le tourner pendant la cuisson.
Si vous utilisez deux grilles, vérifiez qu'il y a assez de place pour permettre à la chaleur de circuler. Lorsque vous insérez une plaque de cuisson dans le four, veillez à la placer au centre de la grille.
Vérifiez que le joint d'étanchéité de la porte n'est pas endommagé.
Un récipient d'eau placé sur la grille doit avoir une profondeur uniforme. (S'il est plus profond à l'arrière, par exemple, l'arrière de la cuisinière doit être levé ou l'avant de la cuisinière abaissé.)
Si la cuisine n'est pas à niveau, demandez à votre fournisseur de la mesure à niveau.
Fig.5-1
Fig.5-2

Le four ne s'allume pas
L'appareil est-il sous tension ?
Si ce n'est pas le cas, l'alimentation électrique est peut-être défectueuse.
Avez-vous sélectionné une fonction pour la cuisson?
Si le fait de mettre le bouton de réglage sur une température inférieure n'a pas eu d'effet ou a eu un effet temporaire, vous devrez peut-être remplacer le thermostat.
Cette intervention doit être effectuée par un spécialiste de l'entretien.
L'éclairage du four ne fonctionne pas
L'ampoule a probablement grillé. Vous pouvez acheter une ampoule de rechange (non couverte par la garantie) dans un magasin d'accessoires électriques. Demandez une ampoule à culot vissable Edison 15W 230V, POUR FOURS. Cette ampoule doit pouvoir résister à une température de 300°C (Fig. 5-1).
Avant de retirer l'ampoule usagée, mettez la cuisinière hors tension et assurez-vous que le four a refroidi.
Ouvrez la porte du four et retirez les grilles du four.
Dévissez le couvercle de l'ampoule en tournant en sens antihoraire (il peut être très difficile à dévisser) (Fig. 5-2).
Dévissez l'ampoule en tournant en sens antihoraire, en vous protégeant les mains avec un gant pour ne pas vous blesser.
Vissez l'ampoule de rechange, puis revissez le couvercle de l'ampoule.
Remettez l'appareil sous tension et contrôlez le fonctionnement de l'éclairage.
6. Nettoyage de la cuisinière
Avant un nettoyage complet, mettez la cuisinière hors tension. N'oubliez pas de remettre sous tension avant d'utiliser la cuisinière.
N'utilise jamais de solvants pour peinture, de cristaux de soude, de nettoyants caustiques, de poudres biologiques, d'eau de Javel, de nettoyants chlorés, ni de produits abrasifs à gros grain ou de sel. Ne mélangez pas plusieurs produits nettoyants, car ils risquent de réagir entre eux et d'avoir des effets nocifs.
Toutes les parties de la cuisine ne peuvent être lavées à l'eau savonneuse chaude — mais veillez à prévenir toute infiltration d'eau dans l'appareil.
N'oubliez pas de mesurer l'électricité avant de réutiliser la cuisinière.
Entretien quotidien
Le nettoyage de la cuisine n'est pas une tâche particulièrement agréable, mais est nécessaire pour préserver les performances et l'aspect de l'appareil. Il est toujours préféirable d'essuyer immédiatement les déversements, pour éviter qu'ils ne brûlent et ne deviennent plus difficiles à éliminer par la suite.
Veillez à ce que la circulation de l'air de combustion et de ventilation de la cuisine ne soit pas entravée – par exemple, par une accumulation de graisse.
Dans le cas du gaz naturel, les flammes des brûleurs doivent avoir une couleur bleutée avec, au plus, une légère teinte jaunâtre.
Dans le cas du gaz de pétrole liquéfié (GPL), les flammes peuvent être plus « douces ». Les flammes des brûleurs de la table de cuisson peuvent avoir une pointe légèrement jaunâtre.
Si la flamme présente une longue pointe blanche, contactez un technicien d'entretien.
Nettoyage des développements
Dans le cas de déversements et débordements en cours de cuisson, éteignez le brûleur que possible et laissez refroidir. Ne nettoyez pas tant que la surface tachée n'a pas complètement refroidi. Essuyez les déversements que possible.
Veillez à prévenir les infiltrations d'eau dans la cuisinière.
Brûleurs de la table de cuisson
Les têtes et chapeaux de brûleurs sont démontables pour faciliter le nettoyage. Vérifiez qu'ils sont complètement secs avant de les remettre en place (Fig.6-1). Lors de la remise en place d'un chapeau de brûleur, veillez à le placer correctement sur son socle (Fig.6-2).
Fig.6-1
A-Tête de brûleur, B-Socle de brûleur

Fig. 6-3 Fig. 6-4

Fig.6-5
Si vous examinez la partie inférieure du chapeau du brûleur, vous pourrez voir deux petits « ergots » insérables dans les deux encoches sur le socle du brûleur (Fig.6-3).
Assurez-vous que les orifices des brûleurs ne sont pas obstrués. En cas d'obstruction des orifices, retirez les particules tenaces à l'aide d'un fil de fusible.
Table de cuisson en acier inoxydable
Retirez les récipients de la table de cuisson. Enlevez les grilles de brûleur de la zone tachée et placez-les avec soin dans l'évier rempli d'eau savonneuse chaude. Essuyez les débris détachables sur la table de cuisson. N'utilisez pas de produits nettoyants abrasifs, y compris des produits nettoyants semi-liquides, sur les surfaces en acier inoxydable brossé.
Pour obtenir les meilleurs résultats possibles, utilisez un produit détergent liquide.
Rincez à l'eau froide et séchez soigneusement avec un chiffon doux propre. Vérifiez que toutes les pièces sont sèches avant de les remettre en place.
Panneau de commande et porte de four
N'utilise pas de produits nettoyants abrasifs, y compris des produits nettoyants semi-liquides, sur les surfaces en acier inoxydable brossé. Pour obtenir les meilleurs résultats possibles, utilisez un produit détergent liquide.
Le panneau et les boutons de commande doivent être nettoyés uniquement avec un chiffon doux imbibé d'eau savonneuse chaude. Veillez à prévenir toute infiltration d'eau dans l'appareil. Essuyez avec un chiffon humide propre, puis lustrez à l'aide d'un chiffon sec. Les portes des fours doivent être nettoyées uniquement avec un chiffon doux imbibé d'eau savonneuse chaude.
Four et la plaque de séparation
Nettoyez le four et la plaque de séparation avec un produit nettoyant pour four, ajusté à l'émail.
IMPORTANT : NE TREMPEZ PAS LA CLOISON DANS L'EAU. Vous risqueriez de l'endommager. Nettoyez-la uniquement avec un chiffon humide.
Dépose des panneaux internes de four
Retirez d'abord les grilles du four. Pour retirer les supports de grilles, soulevez-les pour les décrocher des deux trous de support et tirez vers vous (Fig. 6-4).
Les panneaux internes ne sont pas interchangeables, mais sont spécifiques droite et gauche.
Pour déposer les panneaux latéraux, soulevez le panneau et faites-le glisser vers vous (Fig. 6-5).
Remise en place des panneaux internes de four
La découpe doit être à la partie supérieure du panneau lors de la remise en place de celui-ci. Insérez le panneau vers le fond du four. Replacez ensuite les supports de grilles. Pour ce faire, insérez d'abord la partie inférieure du support dans l'encoche, puis les deux crochets à la partie supérieure.
Tableau nettoyage
Les produits nettoyants indiqués sont en vente dans les supermarchés ou les magasins d'accessoires électriques (Tableau 6-1).
Pour les surfaces émaillées, utilisez un produit nettoyant recommandé pour l'émail vitrifé.
Un nettoyage régulier est recommandé. Pour faciliter le nettoyage, essuyez les taches immédiatement.
Tableau 6-1
| Table de Cuisson | ||
| Composant | Finition | Méthode de Nettoyage Recommandée |
| Surface de la table de cuisson | Email ou acier inoxydable | Eau savonneuse chaude, chiffon doux. Frottez doucement avec un tampon à récurer en nylon pour éliminer les taches tenaces. |
| Table de cuisson céramique/ induction | Verre trempé | Eau savonneuse chaude, nettoyant crème/tampon à récurer si nécessaire. |
| Plaque à griller (selon les modèles) | Surface antiadhésive | Laissez refroidir. Lavez à l'eau savonneuse chaude. N'utilise pas de produits nettoyants/tampons abrasifs. Lave-vaiselle. |
| Zone de réchauffage (selon les modèles) | Verre trempé | Eau savonneuse chaude, nettoyant crème/tampon à récurer si nécessaire. |
| Exterieur de la Cuisinière | ||
| Composant | Finition | Méthode de Nettoyage Recommandée |
| Porte, pourtour de porte et extérieur du tiroir de rangement | Email ou peinture | Eau savonneuse chaude, chiffon doux.Frottez doucement les tâches tenaces avec un détergent liquide. |
| Acier inoxydable | Chiffon multi-uses en microfibre (supermarché). | |
| Côtés et plinthe | Surface peinte | Eau savonneuse chaude, chiffon doux. |
| Dosseret / Grille arrête | Email ou acier inoxydable | Eau savonneuse chaude, chiffon doux. Nettoyez soigneusement avec un produit nettoyant semi-liquide, si nécessaire. |
| Panneau de commande | Peinture, émail ou acier inoxydable | Eau savonneuse tiège. N'utilise pas de produits nettoyants abrasifs sur les caractères. |
| Boutons de commande/poignées et garnitures | Plastique/chrome ou cuivre | Eau savonneuse tiège, chiffon doux. |
| Laiton | Produit de polissage pour laiton (supermarché). | |
| Vitre de porte de four / Couvercle en verre | Verre trempé | Eau savonneuse chaude, nettoyant crème/tampon à récurer si nécessaire. |
| Four et Gril | ||
| Composant | Finition | Méthode de Nettoyage Recommandée |
| Parois, sole et voûte du four - PAS les PANNEAUX AUTONETTOYANTS (voir ci-dessous) | Tout produit nettoyant pour four utilisable avec l'émail.AKTENTION : PRODUITS NETTYANTS CORROSIFS/CAUSTIQUES POUR FOURS : SUIVEZ LES INSTRUCTIONS DU FABRICANT.Evitez tout contact avec les éléments du four. | |
| Panneaux autonettoyants de four (selon les modèles) | Email spécifique partiellement autonettoyant | Cette surface est autonettoyante à 200°C ou plus; vous pouvez également retarder les panneaux et les nettoyer à l'eau savonneuse chaude et avec une Brosse en nylon. |
| Grilles de four, Handyrack, grille de l'echefrite, Handygrill | Chrome | Tout produit nettoyant pour four utilisable avec le chrome. Tampon à récurer savonneux. Lave-vaiselle. |
| L'echefrite/Plat à viande (selon les modèles) | Eau savonneuse chaude. Tampon à récurer savonneux. Lave-vaiselle. | |
Installation
Une fois le travail terminé, vérifie que les alimentations de gaz et d'électricité sont correctement rebranchées.
7. Installation
Avant de commencer l'installation, veuillez remplir la fiche ci-dessous. Ceci permettra à votre client de vous contacter facilement en cas de problème relatif à l'installation.
| Nom de l'Installateur |
| Société de l'Installateur |
| Numéro de Telephone de l'Installateur |
| Numéro de Série d'Appareils |
Mesures et règlements de sécurité
Cette cuisinière doit être installée conformément aux instructions appropriées des présentes et à la réglementation nationale et locale en vigueur, ainsi qu'aux prescriptions des compagnies de gaz et d'électricité locales. Avant l'installation, vérifie que la cuisinière convient au type de gaz et à la tension d'alimentation électrique. Reportez-vous au badge technique. Cet appareil doit être installé conformément à la réglementation en vigueur, et uniquement dans un endroit bien ventilé. Lisez les instructions avant d'installer ou d'utiliser cet appareil. Dans votre intérêt et par souci de sécurité, légalement, tous les appareils à gaz doivent être installés par des personnes compétentes. Une installation incorrecte n'engage ni la responsabilité, ni la garantie du fabricant, et peut donner lieu à des poursuites. Cet appareil peut être modifié afin d'être utilisé avec d'autres types de gaz.
Ventilation
Cet appareil n'est pas raccordé à un dispositif d'évacuation des produits de combustion. Prêtez particulièrement attention à la réglementation en vigueur concernant la ventilation.
Emplacement de la cuisinière
La cuisinière peut être installée dans une cuisine/un salon-cuisine, mais PAS dans une pièce contenant une baignoire ou une douche.
REMARQUE: Un appareil utilisable avec du gaz de pétrole liquéfié (GPL) ne doit pas être installé dans une pièce ou un espace intérieur souterrain, par exemple dans un sous-sol.
Modification
L'appareil est placé pour :
G20 20 mbar
Cat II _2H3+
Cat II_2H + 3 +
Cat II2L3B/P
Cat II2E3B/P
Cat II2H3B/P
Cat II2ELL3B/P
À la livraison, cet appareil est réglé sur gaz naturel de type H (G20 à 20 millibars).
Un kit de modification permettant l'utilisation d'autres gaz est fourni avec la cuisine.
Si la cuisine doit être modifiée pour fonctionner avec un autre gaz, nous recommandons d'effectuer cette modification avant l'installation. Reportez-vous aux instructions fournies avec le kit de modification.
Après modification de l'appareil, veuillez apposer l'étiquette de modification sur la partie appropriée du badge technique, pour permettre d'identifier le type de gaz utilisé pour l'installation de la cuisine.
Installation
Une fois le travail terminé, vérifie que les alimentations de gaz et d'électricité sont correctement rebranchées.
L'installation de la cuisinière nécessitera l'emploi du matériel indiqué ci-dessous :
Dispositif stabilisateur : Un dispositif stabilisateur (équerre ou chaîne) doit être monté sur la cuisinière si celle-ci est alimentée en gaz par le biais d'un tuyau flexible.
Ce dispositif stabilisateur n'est pas fourni avec l'appareil mais est en vente dans la plupart des magasins de bricolage.
Manomètre. Tuyau flexible de gaz : Doit être conforme aux normes appropriées. Multimètre : Pour les contrôles électriques.
- Perceuse électrique
- Foret à maçonnerie (nécessaire seulement pour montage sur sol en pierre ou en béton)
- Chevilles Rawlplugs (nécessaires seulement pour montage sur sol en pierre ou en béton)
- Metre en acier
- Tournevis cruciforme
- Tournevis à lame plate
- Niveau à bulle
- Crayon
- Clé réglable
- Clé polygonale ou à douilles de 13 mm
- 4 mm et 3 mm clé hexagonale
Vérification des pièces :
| Clés hexagonales | 1x grille téléscopique sur toute la largeur avec glissières |
| 1x grille totalité du four et support | 1x plaque à pâtisseire |
| 3x grilles éco-énergie | Cloison éco-énergie |
| Plinthe | Kit d'extension de panneau latéral |
Installation
Une fois le travail terminé, vérifie que les alimentations de gaz et d'électricité sont correctement rebranchées.



Positionnement de la cuisinière
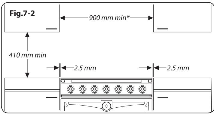
Le schéma indique les cotes minimales recommandées entre la cuisinière et les surfaces adjacentes (Fig. 7-1).
Ne placez pas la cuisinière sur un support.
Le pourtour de la table de cuisson doit être au niveau ou au-dessus de tout plan de travail adjacent. Laissez un espace de 75mm AU-DESSUS du niveau de la table de cuisson entre chaque côté de la cuisinière et toute surface verticale adjacente.
Pour les surfaces non combustibles (telles que le métal non poreux ou les carrelages), cette cote peut être de 25mm.
Laissez un espace de 650mm au minimum entre la partie supérieure de la table de cuisson et une surface horizontalement combustible.
La Fig. 7-2 indique les dégagements recommandés au-dessus de la cuisinière.
- Toute hotte de cuisinière doit être installée conformément aux instructions du fabricant de hotte.
Les surfaces des meubles et des murs de chaque côté et à l'arrière de l'appareil doivent être résistantes à la chaleur, aux éclaboussures et à la vapeur. Certains types de meubles de cuisine en vinyle ou en stratifié sont particulièrement susceptibles aux risques de dommages thermiques et de décoloration.
Nous déclinons toute responsabilité pour des dommages résultant d'une utilisation normale de la cuisinière et subis par des matériaux qui se décollent ou se décolorent à des températures de moins de 65°C au-dessus de la température ambiante.
Nous recommandons de laisser un espace de 905 mm entre les unités pour permettre le déplacement de la cuisinière. La cuisinière ne doit pas être encastrée - elle doit pouvoir être déplacée vers l'avant et vers l'arrière pour le nettoyage et l'entretien.
Déplacement de la cuisinière
N'essayez jamais de déplacer la cuisinière lorsque cette-ci est sous tension. La cuisinière est très lourde, faites très attention.
Nous recommandons de faire appel à deux personnes pour déplacer la cuisinière. Assurez-vous que le revêtement du sol est solidement fixé en place ou retirez-le afin de ne pas l'abîmer en déplaçant la cuisinière.
Deux galets d'arrêt de mise à niveau et deux supports avant vissables facilitent le déplacement de la cuisinière. Vous devrez utiliser l'outil de mise à niveau.
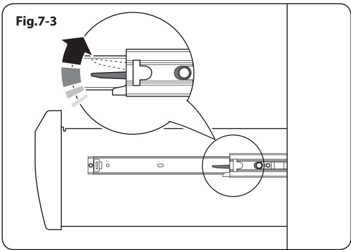
Retirer du tiroir de stockage
Tirez complètement le tiroir.
Poussez les extrémités des attaches en plastique (vers le bas du côté gauche et vers le haut du côté droit) pour relâcher les taquets qui retiennent le tiroir sur les rails latéraux (Fig. 7-3). En même temps, tirez le tiroir hors des rails latéraux.
Installation
Une fois le travail terminé, vérifie que les alimentations de gaz et d'électricité sont correctement rebranchées.
Par sécurité, repoussez les glissières du tiroir. Mettez le tiroir de côté en lieu sûr et attendez que l'installation soit terminée avant de le remettre en place.
Retirer la porte de four
Pour déposer la porte du four, ouvrez complètement la porte. Faites pivoter les clips en « U » vers l'avant pour les mettre sur la position de verrouillage (Fig.7-4). Agrippez les côtés de la porte, puis soulevez et faites glisser la porte vers l'avant (Fig.7-5).
Baissez les galets arrière
Pour ajuster la hauteur de l'arrière de la cuisinière, mettez d'abord une clé à douille ou à crochet de 13 mm dans l'écrou hexagonal d'ajustement (Fig. 7-6). Tournez l'écrou dans le sens horaire pour soulever et dans le sens antihoraire pour baisser.
Effectuez 10 tours complets (360^) en sens horaire.
Veillez à abaisser les DEUX GALETS ARRIERE.
Exécution du mouvement
Ouvrir le côté arrêté du plateau de base en carton. Agrippez la cuisinière sous le panneau de commande et soulevez légèrement l'avant de la cuisinière (Fig.7-7).
Poussez la cuisinière vers l'arête avec précaution pour la dégager de son socle d'emballage. Retirez le plateau d'emballage. Poussez la cuisinière après sa position finale, en laissant juste assez de place pour pouvoir avoir accès à l'arête (Fig.7-8).

N'utilisez pas les poignées de portes ou les boutons de commande pour déplacer la cuisinière.
Mise à niveau
Nous vous recommandons d'utiliser un niveau à bulle placé sur l'une des grilles de four pour vérifier le niveau.
Placez la cuisinière à l'emplacement prévu pour son installation, en veillant à ne pas exercer de force de torsion lorsque vous l'insérez entre les éléments de cuisine, pour ne pas l'endommager ou endommager les éléments.
Les supports avant et les galets arrêté réglables permettent la mise à niveau de la cuisinière. Pour régler la hauteur de l'arrière de la cuisinière, utilisez l'outil de mise à niveau fourni pour tourner les écrous de réglage aux coins avant inférieurs de l'appareil. Pour régler les supports avant, tournez les socles pour lever ou abaiser.
Montage de la grille d'évacuation
La grille d'évacuation est emballée séparément.
Le plus grand des trous latéraux est prévu pour l'accès du tournevis et doit être orienté vers l'arrière. Montez la grille à l'aide des vis et écrous fournis (Fig.7-9).
Attachez les extensions flexibles des conduits d'évacuation à la grille d'évacuation à l'aide des clips à l'intérieur de la grille (Fig.7-10).







Installation
Une fois le travail terminé, vérifie que les alimentations de gaz et d'électricité sont correctement rebranchées.
Fig.7-11
Fig.7-12 Support stabilisateur Fixation sol classique
Fig.7-13 Fixation mur classique
Fig.7-14
Fig.7-15
Fig.7-16
Fixation de l'équerre ou chaîne de stabilisation
Sauf indication contraire, une cuisinière raccordée à un tuyau flexible de gaz doit être fixée avec un dispositif stabilisateur adapté.
Les dispositifs stabilisateurs adaptés sont représentés en
Fig. 7-11, Fig. 7-12 et Fig. 7-13.
Si vous utilisez une chaîne de stabilisation (Fig.7-11), la chaîne devra alors être aussi courte que possible et fixée fermement à l'arrière de la cuisinière.
Si vous utilisez une équerre de stabilisation (Fig.7-12 et Fig.7-13), ajustez alors l'équerre de façon à avoir le moins de dégagement possible entre l'équerre et le rail de prise à l'arrière de la cuisinière.
Fixez l'équerre de sorte qu'elle s'encastre le plus loin possible dans le châssis.
En option supplémentaire
La cuisinière est livrée avec deux panneaux de rallonge. Ils s'installent sur la face latérale visible de la cuisinière. La rallonge doit être installée par un installateur de gaz qualifié, de préférence durant l'installation initiale (Fig. 7-14).
Contenu de la trousse :
Rallonge de panneau latéral 2 - Vis M5 4 - Écrou M5 4 - Grand anneau 4 - Rondelle autobloquante 4
Instructions d'installation
- Insérez une vis et une rondelle dans le trou supérieur du côté arrêté du panneau latéral de la cuisine. Ajoutez une rondelle autobloquante et insérez l'écrou sur les filets de la vis sans serrer pour la maintenir en place. Répétez avec l'autre trou (Fig.7-15).
- Glissez la rallonge latérale à partir du côté, derrière les rondelles (Fig.7-16).
- Resserrez les vis du dessus et du dessous pour fixer la rallonge latérale.
Installation
Une fois le travail terminé, vérifie que les alimentations de gaz et d'électricité sont correctement rebranchées.
Raccordement de l'alimentation en gaz
Doit être conforme aux normes appropriées. Le tuyau flexible (non fourni avec la cuisinière) doit être conforme aux normes en vigueur. Les tuyaux flexibles sont disponibles dans la plupart des magasins de matériel et de bricolage.
L'alimentation en gaz domestique doit être terminée par un raccord baïonnette orienté vers le bas.
Le raccord de l'appareil est situé juste au-dessous du niveau de la table de cuisson, à l'arrière de la cuisine. En cas de doute, contactez votre fournisseur.
Il est difficile de donner des cotes précises, étant donné que la hauteur de la cuisine est réglable et que chaque raccordement est différent.
Le raccord d'admission de la cuisinière est de type interne ISO 7-1. Si le raccordement doit être de type ISO 228-1, utilisez le raccord d'adaptation ISO 7-1-ISO 228-1 fourni dans le kit de modification (Fig. 7-17).
Vissez le raccord dans l'admission de la cuisinière en serrant à la main. À l'aide de deux outils appropriés, l'un placé au niveau de l'admission située sur la cuisinière pour veiller à en assurer la stabilité et l'autre sur le raccord, vissez le raccord dans l'admission.
Couple minimum 15 Nm. Couple maximum 20 Nm.
Raccordement du tuyau flexible au connecteur.
Vous pouvez utiliser un tuyau flexible de 900mm, mais un tuyau de 1250mm offre plus de flexibilité quant au positionnement du raccord baïonnette et facilite le déplacement de la cuisinière.
Montez le tuyau de façon à ce que les raccords d'admission et de sortie soient verticaux et que le tuyau pendente en forme de « U » (Fig.7-18). Vissez l'extrémité filée du tuyau flexible dans l'admission de gaz.
Lorsque le raccordement est terminé, effectuez un essai de pression pour contrôler l'étanchéité de la cuisinière.
Essai de pression
La pression de gaz peut être mesurée au niveau du point d’essai de pression qui se trouve sur le bloc de raccordement du gaz. Mettez en marche un des autres brûleurs de la table de cuisson.
Tournez et appuyez sur le bouton de commande du brûleur avec manomètre, pour permettre l'arrivée du gaz.
Reportez-vous au badge technique pour les pressions d'essais.


Installation
Une fois le travail terminé, vérifie que les alimentations de gaz et d'électricité sont correctement rebranchées.
Fig.7-19
Fig.7-20
Raccordement électrique
Cet appareil doit être installé par un électricien qualifié, conformément à la réglementation en vigueur et aux prescriptions de la Compagnie d'électricité locale.
Disjoncteurs différentiels
L'utilisation conjointe de votre cuisinière et d'autres appareils domestiques peut entraîner des disjonctions fortuites; par conséquent, nous recommandons de protéger la cuisinière par un disjoncteur différentiel.
EN CAS DE Doute, CONSULTEZ UN ELECTRICIEN QUALIFIE.
Mise en GARDE : cet appareil DOIT etre MIS a la TERRE.
Remarque: La cuisinière doit être raccordée à l'alimentation électrique correcte, indiquée sur l'étiquette de tension sur l'appareil, par le biais d'une unité de commande de cuisinière appropriée à interrupteur bipolaire (avec une séparation de contact de 3 mm au minimum entre les pôles).
A1 cette cuisinière ne doit pas être raccordée à une prise d'alimentation domestique ordinaire.
La charge électrique totale de cette cuisinière est de 3,6 kW approximativement. Le calibre du câble utilisé doit être approprié pour cette charge et soit conforme à toutes les règlementations locales.
Pour accéder au bornier d'alimentation secteur, retirez le boitier électrique sur le panneau arrière. Raccordez le câble d'alimentation secteur aux bornes correctes pour votre type d'alimentation électrique (Fig.7-19 et Fig.7-20). Vérifiez que les connecteurs sont montés correctement et que les vis des bornes sont bien serrées.
Fixez le câble d'alimentation secteur à l'aide du serre-câble.
Installation
Une fois le travail terminé, vérifie que les alimentations de gaz et d'électricité sont correctement rebranchées.
Installation des boutons de commande
La cuisinière est livrée avec 5 boutons de commande de brûleur pour la commande de gaz du côté gauche du panneau de commande (Fig.7-21).
Il y a également 2 boutons de commande du four (Fig.7-22).
Enforcez le bouton sélecteur de four multifonctions et le bouton de température sur les tiges de commande à la droite du panneau de commande.
Montage de la barre ornamentale
La barre fournie comprend deux embouts avec vis d'arrêt, deux coupelles de friction et la barre elle-même (Fig.7-23).
Tenez une coupelle de friction par les languettes sur une extrémité de la barre. Placez un embout sur la barre et insérez-le sur la barre au-dessus de la coupelle (Fig.7-24).
Retournez la barre et insérez l'autre embout, avec l'autre coupelle, en prenant soin de ne pas rayer ni endommager le premier embout et en vérifiant l'alignement des deux embouts.
Montez la barre à torchons assemblée sur les goujons de montage saillants sur le panneau de commande et fixez-la en vissant les vis d'arrêt. Les vis d'arrêt doivent être sur la face inférieure.
Montage de la poignée de porte
Montez la poignée de porte sur le socle de poignée et vissez-la sur les supports sur la porte du four. Serrez à main seulement – n'utilisez pas d'outils (Fig. 7-25).
Montage de la plinthe
Retirez les trois vis pour les supports de la plinthe sur le bord avant inférieur de la cuisinière (Fig. 7-26). Fixez la plinthe avec ces vis (des vis d'autres couleurs sont inclues dans le pack de pièces en vrac).






Installation
Une fois le travail terminé, vérifie que les alimentations de gaz et d'électricité sont correctement rebranchées.
Fig.7-27
Fig.7-28
Remise en place du tiroir
Faites glisser les rails latéraux jusqu'à ce qu'ils soient complètement étendus (Fig.7-27).
Levez le tiroir sur les côtés et placez l'un des rails du tiroir (environ 15 mm) sur l'un des rails latéraux à l'intérieur (Fig.7-28).
Tournez le tiroir pour placer le rail restant du tiroir sur le rail lateral opposé à l'intérieur.
Faites soigneusement glisser le tiroir dans la cavité. Vous sentirez éventuellement une certaine résistance alors que le tiroir se place entièrement sur les rails latéraux à l'intérieur.
Remettez la porte de four
Pour remonter la porte, insérez les charnières dans leurs encoches. Faites pivoter les clips en « U » pour les replacer sur les charnières.
Vérification de l'allumage des brûleurs
Vérifiez le fonctionnement de chaque brûleur. Un dispositif de sécurité coupe l'alimentation en gaz du brûleur en cas d'extinction de la flamme. En appuyant sur le bouton, le brûleur est mis en marche par le biais d'un système d'allumage par étincelle.
Pour chaque brûleur, appuyez sur un bouton et mettez-le sur le symbole « »
Le système d'allumage produit une étincelle et allume le gaz. Continuez d'appuyer sur le bouton pendant quelques secondes pour permettre l'arrivée du gaz dans le brûleur.
Si le brûleur s'éteint lorsque vous relâchez le bouton de commande, le dispositif de sécurité n'a pas été enclenché. Mettez le bouton de commande sur la position Arrêt [Off], et attendez une minute avant d'essayer de nouveau, cette fois, en appuyant sur le bouton pendant un peu plus longtemps.
Vérifications de four
Allumez le four et vérifiez que le ventilateur du four se met en marche et que le four commence à chauffer. Éteignez le four.
Éclairage de four
Appuyez sur l'interrupteur d'éclairage de four et vérifiez que l'éclairage fonctionne.
Remarque : Les ampoules de four ne sont pas inclues dans la garantie.
Assistance à la clientèle
Veuillez indiquer vos coordonnées dans le tableau qui se trouve à la fin de la section « Utilisation de Your Cuisinière » du présent Guide.
Veuillez indiquer au client comment faire fonctionner la cuisinière. Puis rangez ces instructions dans la chemise de couleur cornufé de la pochette d'instructions et remettez-les au client.
8. Entretien et pièces
Veuillez remplir la fiche technique ci-jointe et la conserver à des fins de référence ultérieure – cette information nous permettra d'identifier exactement votre cuisinière et de mieux répondre à vos besoins. Cette fiche vous fera gagner du temps et vous sera très utile plus tard en cas de problème concernant votre cuisinière. Nous vous conseillons également de conserver votre facture d'achat avec la présente brochure. Vous devrez peut-être partager cette facture pour valider une visite sur place dans le cadre de la garantie.
Cette information figure sur le badge technique de l'appareil. Il est situé dans la partie inférieure du logement du tiroir. Pour le retrait du tiroir, voir la section « Rangement » des instructions générées.
En cas de problème
Dans le cas où vous auriez un problème avec votre cuisine, veuillez d'abord suivre la suite de la présente brochure, en particulier la section « Dépannage », pour vérifier que l'appareil est utilisé correctement.
Si le problème persiste, contactez votre fournisseur.
Remarque
Si votre appareil n'est plus couvert par la garantie de trois ans, notre fournisseur de services d'entretien peut vous facturer cette visite.
Si vous devez faire appel à un technicien d'entretien et si le défaut n'est pas la responsabilité du fabricant, notre fournisseur de services d'entretien se réserve le droit de facturer son intervention.
Les rendez-vous non respectés par le client peuvent être facturés.
Après la période de garantie
Nous recommandons un entretien périodique de nos appareils pendant toute leur vie utile afin de garantir des performances et une efficacité optimales.
Les interventions d'entretien doivent être effectuées uniquement par des personnes techniquement compétentes et qualifiées.
Pièces de rechange
Pour garantir une performance optimale et sûre, nous recommandons l'utilisation exclusive de pièces d'origine. N'utilisez pas de commandes de gaz remises à neuf ou non autorisées. Contactez votre fournisseur.
| Type de Combustible |
| Nom de l'Appareil |
| Couleur |
| Numéro de Série de l'Appareil |
| Nom et Adresse du Détailleant |
| Date d'Achat |
| Nom et Adresse de l'Installateur |
| Date d'Installation |
Français 9. Schéma de Câblage
10. Fiche technique
LA CUISINIÈRE EST DE CATÉGORIE : Cat II 2H3B/P; Cat II 2H3+; Cat II 2E+3+; Cat II 2E3B/P; Cat II 2L3B/P; Cat II 2ELL3B/P.
Elle est fournie préréglée pour une utilisation avec du gaz naturel de type H. Un kit de modification pour utilisation avec d'autres types de gaz est fourni.
A L'INTENTION DE L'INSTALLATEUR : Veuillez placer ces instructions dans le livre d'instructions et les remettre à l'utilisateur.
EMPLACEMENT DU BADGE TECHNIQUE : Partie inférieure du logement du tiroir - retirez le tiroir. Pour le retrait du tiroir, reportez-vous aux instructions d'installation.
PAYS DE DESTINATION: GB, IE, FR, NL, DE, SE, DK, NO, IT, PT, ES, PL, RU, GR, RO, AT, BE, CH, LU.
Raccordements
| Gaz (Rp 1/2 au niveau du côte arrière droit) | Pression | |
| Gaz naturel | 20 mbar | 230/400V 50 HzMin 16 A/phasée |
| Propane | 37 mbar | |
| Butane | 29 mbar | |
Pour les pressions de contrôle, reportez-vous au badge technique de l'appareil.
Dimensions
| Hauteur hors-tout | minimum 915 mm | maximum 942 mm |
| Largeur hors-tout | 900 mm (Voir « Positionnement de la Cuisinière ») | |
| Profondeur hors-tout | 720 mm | |
| Emplacement prévu pour fixation | (Voir « Positionnement de la Cuisinière ») | |
| Espace minimum au-dessus de la table de cuisson | 800 mm | |
Puisances
| Four | Totalité | Moitié |
| Élement de ventilateur | 3,31 kW | 1,65 kW |
| Élement supérieur | 3,49 kW | 1,75 kW |
| Élement gratineur | 2,11 kW | 1,06 kW |
| Élement inférieur | 1,38 kW | 0,69 kW |
| Table de Cuisson | Gaz Naturel | Gaz de Pétrole Liquéfié (GPL) |
| Brûleurs central | 4 kW | 5 kW (357 g/h) |
| Grands brûleurs | 3 kW | 3 kW (214 g/h) |
| Brûleur avant droite | 1,7 kW | 1,7 kW (121 g/h) |
Efficacité du Four
| Catégorie d'éfficacité énergétique: Sur une échelle de A (plus efficace) à G (moins efficace) | A |
| Consommation d'énergie basée sur une charge standard | 0,99 kWh |
| Volume utilisable (litres) | 115 |
| Taille | Grande |
| Temps de cuisson – charge standard | 44 mins |
| Surface de cuisson | 2400 cm2 |
Puissance électrique totale maximale 230V (total approximatif, y compris ventilateur de four, etc.) : 3,6 kW.

La Cornue 1908
Ateliers La Cornue
14 rue du Bois du Pont
Z.I. les Béthunes
95310 Saint-Ouen-l'Aumône
FRANCE
Tél. : +33 (0) 134483636 - Fax : +33 (0) 134643265
E-mail: a.table@la-cornue.com
www.la-cornue.com
Téléscopiques kit tablette du four

La Cornue 1908
Albertine
www.lacorne.com
Instructions d'installation et d'entretien
F200015-01













La Cornue 1908
Ateliers La Cornue
14 bis rue du Bois du Pont
Z.I. les Béthunes
95310 Saint-Ouen-l'Aumône
FRANCE
Tél. : +33 (0)1 34 48 36 36 - Fax : +33 (0)1 34 64 32 65
E-mail: a.table@la-cornue.com
www.la-cornue.com


La Cornue 1908
Albertine 90
www.la-cornue.com
Plaque de mijotage 2
C'est l'élément de cuisson préféré des professionnels, en raison de sa polyvalence.

Il présente de nombreux avantages, notamment le fait de recréer le type de chaleur fourni par les anciens poêles en fonte ou les cuisinières à charbon.
Rien de n'a été inventé depuis!
Montage de la plaque de montage
La plaque de mijotage est donc pour remplaçer les deux grilles centrales.
Retirez les deux grilles centrales. Rangez-les en lieu sûr, au cas où vous voudriez les utiliser plus tard.

Retirez l'anneau central de la plaque de mijotage.

Veillez à ne pas faire tomber la plaque sur la table de cuisson, afin de ne pas endommager la finition de la table avec les supports de la plaque. Positionnez la plaque de mijotage avec précaution, de façon à ce que la marque La Cornue soit à l'avant. L'avant de la plaque de mijotage doit être à niveau avec l'avant des grilles extérieures.

La plaque doit être placée uniquement au-dessus du brûleur central - n'essayez pas de la placer au-dessus des autres brûleurs.
Replacez l'anneau central. La plaque de mijotage n'est pas conçue pour être utilisée sans l'anneau central.

Attention
La plaque de mijotage devient très chaude à l'usage et reste chaude pendant longtemps après usage.
Ne la touchez pas tant que vous n'êtes pas sûr qu'elle est froide.
Allumez le brûleur central. Appuyez sur le bouton central et mettez-le sur le symbole de flamme pleine (A).

Continuez d'appuyer sur le bouton pour permettre l'allumée du gaz dans le brûleur pendant quelques secondes. Le système d'allumage produit une étincelle et allume le gaz.

Si le brûleur s'éteint lorsque vous relâchez le bouton de commande, le dispositif de sécurité n'a pas été enclenché. Tournez le bouton de commande sur la position Arrêt et attendez une minute avant d'essayer de nouveau, en appuyant sur le bouton pendant un peu plus longtemps.
En cas de panne de courant, vous pouvez allumer le brûleur avec une allumette après avoir retiré l'anneau central de la plaque pour accéder au brûleur.
Allumez la plaque de mijotage avant de préparer vos ingrédients; un préchauffage de 15 minutes est recommandé.
Tournez le bouton pour régler la hauteur de flamme. Le symbole de contour de flamme indique le réglage minimum.

La grande surface de cuisson fournit des températures de cuisson variables.
Vous pouvez ainsi utiliser 3 ou 4 casseroles en même temps, sans avoir à manipuler le bouton.
Nous appelons cette surface le « piano du chef ».
Quelques exemples d'utilisation de la plaque de mijotage :
Légumes
Faites bouillir de l'eau salée sur l'un des brûleurs extérieurs, plongez-y les légumes, puis continuez la cuisson sur la plaque de mijotage.
Sauces et crèmes
Placez la casserole au centre de la plaque de mijotage et fouettez la sauce ou la crème ; lorsque celle-ci commence à épaissir, placez la casserole sur le bord, tout en continuant à mélanger.
Viande
Vous pouvez, par exemple, saisir des morceaux d'agneau ou de veau à feu vif, puis continuer leur mijotage ou cuisson sur la plaque.
Le contact entre la plaque de mijotage et votre réseau de cuisson est toujours uniforme, ce qui assure une répartition parfaitement uniforme de la chaleur.
Nettoyage de la plaque de mijotage
La finition émaillée de la plaque de mijotage est très résistante - mais peut être endommagée par certains produits de nettoyage.
N'utilisez jamais de solvants pour peinture, de cristaux de soude, de nettoyants caustiques, de poudres biologiques, d'eau de Javel, de nettoyants chlorés, de produits abrasifs à gros grain ou de sel. Ne mélangez pas plusieurs produits nettoyants, car ils risquent de réagir entre eux et d'avoir des effets nocifs.
Les acides peuvent endommager la finition. Essuyez dès que possible toute tache de vinaigre (acide acétique), de jus de fruit (acide citrique) etc.
N'utilise pas de nettoyeurs pour fours en aérosols, etc.
Comment nettoyer
Laissez refroidir complètement la plaque de mijotage avant de la nettoyer.
Nettoyez avec précaution. Si vous utilisez une éponge ou un chiffon humide pour essuyer des taches sur une surface chaude, prenez garde aux brûlures par la vapeur. Certains produits nettoyants peuvent produire des vapeurs nocives au contact d'une surface chaude.
Nettoyez toujours la plaque après usage. Elle doit être nettoyée uniquement avec un chiffon doux imbibé d'eau savonneuse chaude. Veillez à prévenir toute infiltration d'eau dans l'appareil. Essuyez avec un chiffon humide propre, puis lustrez à l'aide d'un chiffon sec. Pour les taches tenaces, vous pouvez utiliser une brosse à vaisselle en nylon et de l'eau savonneuse chaude.
Pour un nettoyage plus poussé, vous pouvez retirer la plaque de la table de cuisson. Laissez refroidir complètement la plaque avant de la retirer - attention, la plaque est lourde. Avant nettoyage, essuyez la plaque et replacez-la avec précaution sur la table de cuisson.
N'UTILISEZ JAMAIS DE PRODUITS NETTOYANTS CAUSTIQUES OU ABRASIFS QUI ABIMERONT LA SURFACE.

La cornue 1908
Ateliers La Cornue
14 rue du Bois du Pont
Z.I. les Béthunes
95310 Saint-Ouen-l'Aumône
FRANCE
Tel. : +33 (0)1 34 48 36 36 - Fax : +33 (0)1 34 64 32 65
E-mail: a.table@la-cornue.com
www.la-cornue.com
Ce guide renferme de nombreux messages de sécurité importants. Veuillez en prendre connaissance et les suivre attentivement. Installateur : Veuillez laisser ces instructions avec l'appareil.

La Cornue 1908
CornuFè & alberTine
www.la-corne.com
Le non-respect des instructions fournies dans le guide peut provoquer un incendie ou une explosion avec risque de dommages à la propriété, blessures ou décès.
N'entrepose pas d'essence ou des liquides ou gaz inflammables à proximité de la cuisinière ou de tout autre appareil.
S'IL Y A UNE ODEUR DE GAZ
N'allumez aucun appareil.
Ne touchez à aucun commutateur électrique
N'utilisez pas le téléphone de votre immeuble.
Utilisez le téléphone d'un voisin et appelez immédiatement votre fournisseur de gaz. Suivez les directives de votre fournisseur de gaz.
Si vous ne pouvez joindre votre fournisseur, appelez le service d'incendie.
L'installation et le service doivent être effectués par un installateur accrédité, une agence de service ou le fournisseur de gaz.
Mise en GARDE
Le dispositif antibasculement fourni avec la cuisinière doit être correctement monté durant l'installation. Il réduit le risque de basculement de l'appareil en cas d'utilisation non conforme ou de surcharge sur la porte du four.


Mise en GARDE!
TOUTES LES CUISINIÈRES PEUVENT BASCULER. ELLES PEUVENT CAUSER DES BLESSURES. INSTALLLEZ LE DISPOSITIF ANTIBASCULEMENT FOURNI AVEC LA CUISINIÈRE. CONSULTEZ LES INSTRUCTIONS D'INSTALLATION.

Entretien - mise en GARDE
Avant toute intervention d'entretien, coupe le gaz et l'électricité. Lorsque le travail est terminé, effectuez les vérifications de sécurité nécessaires.
Réglementation
L'installation de cette cuisinière doit être conforme aux codes locaux ou, en l'absence de tels codes, avec la dernière édition des normes nationales (Etats-Unis) pour le chauffage au gaz (National Fuel Gas Code) ANSI Z223.1/ NFPA.54
Au Canada, l'installation doit se conformer aux normes du Code d'installation du gaz naturel CAN/CGA-B149.1 ou du gaz propane CAN/CGA-B149.2 ainsi qu'aux codes locaux.
La conception de cette cuisinière a été certifiée CSA International conformément à la dernière édition des normes ANSI Z21.1 et de la dernière édition des normes CAN/CGA-22.2.
Lisez les instructions avant d'installer ou d'utiliser cet appareil. À chaque utilisation, la cuisinière devient chaude et les brûleurs de la table de cuisson produisent des gaz d'échappement. Prenez toutes les mesures de sécurité – lisez attentivement ce guide d'installation mais également les mises en garde de sécurité dans le Guide d'utilisation.
La cuisinière doit être mise à la terre conformément aux codes locaux ou, en l'absence de tels codes, conformément à la dernière édition du Code national d'électricité des États-Unis (ANSI/NFPA 70). Au Canada, la mise à la terre doit être effectuée conformément à la norme CSA C22.1 du Code canadien de l'électricité, Première partie, et aux codes locaux.
Important
- Observez tous les codes et règlements en vigueur.
- Cette cuisine ne doit être correctement mise à la terre.
- Conservez ces instructions à la disposition de l'inspecteur électrique local.
Pour votre sécurité
N'entreposez pas de matériaux combustibles, d'essence ou de liquides ou gaz inflammables à proximité de la cuisinière ou de tout autre appareil.
Gaz
Ouvrez les fenêtres. - Ne touchez pas aux interrupteurs. - Éteignez les flammes. Appeler immédiatement votre fournisseur de gaz.
Conversion au gaz propane
Cet appareil est livré pour utilisation avec gaz naturel. Une trousse de conversion permettant l'utilisation du gaz propane est fournie avec la cuisinière.
Si la cuisinière doit être modifiée, la modification doit s'effectuer avant l'installation. Celle-ci doit être effectuée par un installateur de gaz qualifié. Avec modification, l'installation doit être conforme aux réglementations applicables, ainsi qu'aux prescriptions de la compagnie d'électricité locale. Lisez les instructions avant d'effectuer une modification sur cet appareil.
Une modification incorrecte n'engage ni la responsabilité, ni la garantie du fabricant, et peut donner lieu à des poursuites.
Les générales instructions doivent être utilisées en association avec les autres instructions relatives à cet appareil, en particulier en ce qui concerne les informations sur les normes, l'emplacement de la cuisinière, le choix des tuyaux de raccordement appropriés, etc.
Avant d'effectuer l'entretien ou le remplacement de composants d'alimentation en gaz, débranchez le gaz avant le début de l'intervention et, au terme de celle-ci, effectuez les vérifications de sécurité nécessaires pour les appareils à gaz.
N'utilise pas de commandes de gaz remises à neuf ou non autorisées.
Gicleurs
Tête de brûleur
Diffuseur en laiton Base de brûleur Anneau de brûleur
Retirez les têtes de brûleur. Dévissez les gros écrous et retirez les diffuseurs ainsi que les anneaux.
Utilisez une clé à douille longue pour accéder aux gicleurs et les prisoner.
Ou:
Soulevez l'avant de la partie supérieure et maintenez-le en cette position. Retirez les gicleurs.
Conservez les gicleurs retirés de l'appareil pour utilisation ultérieure. Montez les nouveaux gicleurs.
| Gaz nature | Gaz propane | |
| Brûleur central | 205 | 118 |
| Grands brûleurs | 150 | 99 |
| Brûleur avant droit | 112 | 68 |
Entretien - mise en GARDE
Avant toute intervention d'entretien, coupe le gaz et l'électricité. Lorsque le travail est terminé, effectuez les vérifications de sécurité nécessaires.
Remplacez les anneaux sur les brûleurs. Vissez le diffuseur à tête hexagonale sans d'abord le serrer à fond pour faciliter l'installation des brûleurs extérieurs.
Une fois toutes les bases et tous les diffuseurs de brûleur en place, resserrez les écrous des diffuseurs.
Réglage du robinet
Enlevez tous les boutons de commande en les tirant vers vous.
Ouvrez les deux portes de four et retirez les vis de fixation sous le panneau de commande.
Le guide de refroidissement sur les modèles à un seul four, sous le panneau de commande, et ses 4 vis de fixation doivent être retirés pour avoir accès aux fixations du panneau de commande.
Enlevez les 3 vis de fixation dans le haut du panneau de commande.
Tirez le panneau de commande vers l'avant. Appuyez-le sur les portes de four ouvertes.
Conversion des robinets de commande
Dévissez la vis de dérivation du robinet.
Retirez délicatement la vis de dérivation à l'aide d'une pince à bec long et remplacez-la par la bonne vis.
Serrez la vis de fixation. Voir les diamètres de vis à utiliser ci-dessous.
Vis de Dérivation du Robinet
| Gaz nature | Gaz propane | |
| Table de cuisson | Dérivation | Dérivation |
| Brûleur central | 82 | 49 |
| Grands brûleurs | 70 | 38 |
| Brûleur avant droit | 53 | 31 |
Conservez les vis retirées de l'appareil pour utilisation ultérieure. Remontez le panneau de commande.
Remontage
Remettez le panneau de commande et fixez-le avec les vis. Remontez le panneau de commande et le guide de refroidissement, le cas échéant.

Entretien - mise en GARDE
Avant toute intervention d'entretien, coupe le gaz et l'électricité. Lorsque le travail est terminé, effectuez les vérifications de sécurité nécessaires.
Régulateur de gaz
Retirez le tiroir. Tirez-le jusqu'à la butée.

Soulevez l'extrémité des clips de fixation en plastique (un de chaque côté) pour défaire les dispositifs de maintien du tiroir sur les glissières latérales, tout en tirant le tiroir vers l'avant, en l'éloignant des glissières latérales. À des fins de sécurité, repoussez les glissières du tiroir.
Le régulateur est à présent accessible.
Type 1
Type 2
Le régulateur peut être de deux types.
Type 1
Dévissez l'écrou hexagonal à l'avant du régulateur. Un dispositif de conversion encliquetable en plastique se trouve sous l'écrou, retirez-le et remontez-le dans l'autre sens pour convertir le régulateur.

réglage sur le gaz naturel

réglage sur le gaz propane

Le convertisseur possède une marque indiquant quel gaz utiliser. Assurez-vous que le dispositif est bien assujetti dans le capuchon supérieur et remettez le capuchon sur le régulateur.
Type 2

Le régulateur est doté d'un capuchon à baionnette.
Utilisez une petite pièce de monnaie, enfoncez le capuchon et tournez-le pour le retirer.
Retournez le capuchon pour que les lettres LP soient visibles dans le creux du capuchon. Remontez le capuchon en vous assurant que les baïonnettes sont bien en place.
réglage sur le gaz naturel
réglage sur le gaz propane
Type 1
Type 2
Entretien - mise en GARDE
Avant toute intervention d'entretien, coupe le gaz et l'électricité. Lorsque le travail est terminé, effectuez les vérifications de sécurité nécessaires.
Étiquette autocollante
Collez l'étiquette « NOW ADJUSTED FOR LP GAS » (RÉGLÉ POUR UTILISATION AVEC GAZ DE PÉTROLE LIQUÉFIÉ) à côté de l'étiquette signalétique à l'intérieur de la cavité du tiroir pour indiquer le type de gaz réalisé utilisé.

Essai de pression
Raccordez la cuisine à l'alimentation en gaz. Vérifiez l'étanchéité de l'appareil.
La pression de gaz peut être mesurée au point d'essai de pression qui se trouve sur le côté du régulateur de pression.

Pour un bon fonctionnement, la pression du gaz de pétrole liquéfié fournie au régulateur doit se situer entre 25,4 cm (10 po) et 33 cm (13 po) de la colonne d'eau (2,49 - 3,24 kPa).
Lorsque le régulateur fonctionne correctement, la pression d'entrée est d'au moins 2,5 cm (1 po) (0,25 kPa) de plus que la pression (d'admission) de fonctionnement indiquée ci-dessus.
Le régulateur de pression situé à l'entrée de l'admission de la cuisinière doit demeurer dans la conduite d'alimentation quel que soit le type de gaz utilisé, naturel ou de pétrole liquéfié.
Remise en place du tiroir
Tirez sur les glissières latérales.


Poussez soigneusement le tiroir entre les glissières et déposez-le sur les glissières latérales.

En soutenant l'avant du tiroir de chaque côté, tirez sur la glissière latérale pour que les dispositifs de maintien s'enclenchent afin de rester le tiroir sur les glissières.
Attention : n'utilisez PAS de FLAMME pour vérifier s'il y a des fuiites.
Lorsque vous utilisez des pressions d'essai supérieures à 1/2 psig (3,5 kPa) pour tester le système d'alimentation de la résidence, débranchez la cuisinière et le robinet de sectionnement individuel de la conduite d'alimentation en gaz. Lorsque vous utilisez des pressions d'essai de 1/2 psig (3,5 kPa) ou moins pour tester le système d'alimentation, isolez simplement la cuisinière du système d'alimentation en gaz en fermant le robinet de sectionnement individuel.
Vérifiez le fonctionnement de tous les brûleurs.

La Cornue 1908
Ateliers La Cornue
14 rue du Bois du Pont
Z.I. les Béthunes
95310 Saint-Ouen-l'Aumône
FRANCE
Notice Facile