RT46K6200S9 - Réfrigérateur-congélateur SAMSUNG - Notice d'utilisation et mode d'emploi gratuit
Retrouvez gratuitement la notice de l'appareil RT46K6200S9 SAMSUNG au format PDF.
| Type de produit | Réfrigérateur combiné |
| Capacité totale | 460 litres |
| Dimensions approximatives | 1780 x 700 x 670 mm |
| Poids | 75 kg |
| Classe énergétique | A+ |
| Type de froid | No Frost |
| Nombre de tiroirs | 3 tiroirs au congélateur |
| Fonctions principales | Fonction de congélation rapide, éclairage LED |
| Entretien et nettoyage | Nettoyage intérieur avec un chiffon humide, dégivrage automatique |
| Pièces détachées et réparabilité | Disponibilité de pièces détachées via le service après-vente Samsung |
| Sécurité | Verrouillage de sécurité pour enfants |
| Informations générales | Garantie de 2 ans, service client disponible |
FOIRE AUX QUESTIONS - RT46K6200S9 SAMSUNG
Téléchargez la notice de votre Réfrigérateur-congélateur au format PDF gratuitement ! Retrouvez votre notice RT46K6200S9 - SAMSUNG et reprennez votre appareil électronique en main. Sur cette page sont publiés tous les documents nécessaires à l'utilisation de votre appareil RT46K6200S9 de la marque SAMSUNG.
MODE D'EMPLOI RT46K6200S9 SAMSUNG
Consignes de sécurité 3
Consignes de sécurité importantes et symboles : 6
Symboles d'avertissement importants concernant le transport et le lieu d'installation de l'appareil 7
Avertissements importants concernant l'installation 8
Installation en toute sécurité 12
Avertissements importants concernant l'utilisation 13
Utilisation en toute sécurité 19
Nettoyage en toute sécurité 22
Avertissements importants concernant la mise au rebut 24
Conseils complémentaires pour une utilisation appropriée 26
Conseils en matière d'économie d'énergie 27
Cet appareil est destiné à être utilisé dans les applications domestiques et similaires telles que : 28
Instructions concernant la réglementation DEEE 29
Installation 30
Présentation rapide du réfrigérateur 30
Étiquette de température (modèles applicables uniquement) 33
Installation étape par étape 34
Opérations 37
Panneau de commande 37
Fonctions spéciales 45
Entretien 51
Utilisation et entretien 51
Nettoyage 52
Replacement 53
Dépannage 54
Généralités 54
Annexe 56
Consignes de sécurité 56
Instructions d'installation 56
Consignes relatives à la température 57
Informations du modèle et commande de pièces de rechange 60
Consignes de sécurité
- Avant d'utiliser votre nouveau réfrigérateur Samsung, veuillez lire attentivement ce manuel afin de vous assurer que vous savez comment l'utiliser de manière sûre et efficace, ses différentes fonctionnalités.
- Cet appareil n'est pas destiné à être utilisé par des personnes (y compris des enfants) ayant des capacités physiques, sensorielles ou mentales réduites, ou ayant de cet appareil de la part d'une personne responsable de leur sécurité.
- Cet appareil n'est pas destiné à être utilisé par des enfants de moins de 8 ans ou par des personnes ayant des capacités physiques, sensorielles ou mentales réduites ou en toute sécurité de l'appareil et qu'elles comprennent les risques impliqués. Les enfants ne doivent pas jouer avec l'appareil. Le nettoyage et l'entretien de l'appareil par l'utilisateur ne doivent pas être effectués par des enfants sans surveillance. Les enfants âgés de 3 à 8 ans sont autorisés à remplir et vider les appareils de réfrigération.
- Les avertissements et les consignes importantes de sécurité contenus dans ce manuel ne prétendent pas couvrir toutes les situations susceptibles de se produire. Il est de votre responsabilité de faire preuve de bon sens et de prudence lors de l'installation, de l'entretien et du fonctionnement de l'appareil.
Consignes de sécurité
- Les consignes d'utilisation suivantes concernent plusieurs modèles ; il est donc possible que les caractéristiques de votre réfrigérateur soient légèrement différentes de celles spécifiées dans ce manuel et que certains symboles d'avertissement ne s'appliquent pas. Pour toute question, contactez le centre d'assistance le plus proche ou connectez-vous sur www.samsung.com.
- Le gaz réfrigérant utilisé est le R-600a ou R-134a. Vérifiez le gaz réfrigérant utilisé dans votre réfrigérateur sur l'étiquette du compresseur située à l'arrière de l'appareil ou sur l'étiquette signalétique située à l'intérieur du réfrigérateur. Lorsque ce produit contient du gaz inflammable (gaz réfrigérant R-600a), veuillez contacter les autorités locales pour obtenir des renseignements sur la mise au rebut en toute sécurité de votre appareil.
- Afin d'éviter la création d'un mélange gaz-air inflammable lorsqu'une fuite se produit dans le circuit frigorifique, la taille de la pièce où installer l'appareil dépend de la quantité de gaz réfrigérant utilisée.
- Ne démarrez jamais un appareil qui présente des signes d'endommagement. En cas de doutes, contactez votre revendeur. La pièce doit avoir un volume de 1m³ pour chaque 8 g de gaz réfrigérant R-600a à l'intérieur de l'appareil.
La quantité de gaz réfrigérant que votre appareil peut contenir est indiquée sur la plaque signalétique située à l'intérieur de l'appareil.
- Le gaz réfrigérant qui pourrait s'échapper des tuyaux risquerait z pas de flamme nue, éloignez tout objet inflammable de l'appareil et aérez immédiatement la pièce.
- Le non-respect de cette consigne risquerait de provoquer un incendie ou une explosion.
- Il est dangereux pour quiconque qui n'est pas un agent de maintenance/agréé d'entretenir cet apparéil.
- Pour éviter de contaminer les aliments, veuillez respecter les instructions suivantes :
- Ouvrir la portependant de longues périodes peut entraîner une hausse considérable de la température dans les compartments de l'appareil.
- Nettoyez régulièrement les surfaces pouvant entrer en contact avec des aliments et les systèmes de vidange accessibles.
- Nettoyez les réservoirs d'eau s'ils n'ont pas été utilisés depuis 48 h ; rincez le système d'eau relié à une source d'alimentation en eau si vous n'avez pas tiré d'eau depuis 5 jours.
- Placez la viande crue et le poisson dans des récipients adaptés à l'intérieur du réfrigérateur afin qu'ils n'entrent pas en contact avec d'autres aliments ou qu'ils gouttent dessus.
- Les compartiments à deux étoiles pour aliments surgelés sont adaptés pour stocker des aliments pré-congelés, pour ranger ou faire de la glace et pour créer des glaçons.
Consignes de sécurité
- Les compartiments à une, deux et trois étoiles ne sont pas adaptés pour congeler des aliments frais.
- Si l'appareil de réfrigération est laissé vide pendant de longues périodes, mettez-le hors tension, faites-le dégeler, nettoyez-le, laissez-le sécher et maintenez la porte ouverte afin d'éviter que des moisissures ne se développent à l'intérieur de l'appareil.

Avertissement : Risque d'incendie / matières inflammables

Avertissement
Pratiques inadaptées ou dangereuses susceptibles de causer des blessures graves, voire mortelles.

Attention
Pratiques inadaptées ou dangereuses susceptibles de causer des blessures légères ou des dommages matériels.
Ces symboles d'avertissement ont pour but d'éviter tout risque de blessure.
Respectez-les en toutes circonstances.
Lisez attentivement la présente section et conservez le guide en lieu sûr afin de pouvoir vous y reporter ultérieurement.
Avertissement
- Veillez à ce qu'aucune piece du circuit frigorifique ne soit endommagée pendant le transport ou l'installation de l'appareil.
- z pas de flamme nue ou de matière potentiellement inflammable et aérez la pièce pendant plusieurs minutes.
- Cet appareil contient une faible quantité de réfrigérant isobutane (R-600a), un gaz naturel représentant une compatibilité écologique élevée, mais qui est aussi un combustible. Veillez à ce qu'aucune pièce du circuit frigorifique ne soit endommagée pendant le transport ou l'installation de l'appareil.

Avertissement
- N'installez pas le réfrigérateur dans un lieu humide ou dans un lieu où il est susceptible d'être en contact avec de l'eau.
- Une dépréciation de l'isolement sur des composants électriques est susceptible de provoquer une électrocution ou un incendie.
- N'installez pas le réfrigérateur dans un endroit exposé à la lumière directe du soleil ou à proximité d'une cuisinière, d'un apparéil de chauffage ou d'autres apparéils.
- Ne branchez pas plusieurs appare lle figurant sur la plaque signalétique du réfrigérateur.
- Vous obtiendrez de plusieurs résultats et éviterez également une surcharge des circuits électriques (risque d'incendie à la suite d'une surchauffe des fils).
- Ne branche pas la fiche d'alimentation dans une prise murale mal fixée.
- Cela risquerait d'entraîner un choc électrique ou un incendie.
- N'utilisez pas de cordon dont la gaine est craquelée ou endommagée à chaque endroit ou à l'une de ses extrémités.
- Ne pliez pas le cordon d'alimentation à l'excès et ne posez pas d'objets lourds dessus.
- Ne tirez pas ou ne pliez pas excessivement le cordon d'alimentation.
- Ne tordez pas ou ne nouez pas le cordon d'alimentation.
- N'accrochez pas le cordon d'alimentation sur un objet métallique, ne placez pas un objet lourd sur le cordon d'alimentation, n'insérez pas le cordon d'alimentation entre des objets, ou n'enfoncez pas le cordon d'alimentation dans l'espace situé derrière l'appareil.
- Lorsque vous déplacez le réfrigérateur, assurez-vous qu'il ne roule pas sur le cordon d'alimentation, et prenez garde de ne pas endommager ce dernier.
- Risque d'électrique ou d'incendie.
- Ne débranchez jamais le réfrigérateur en tirant sur le cordon d'alimentation. Maintenez toujours fermement la fiche pour la débrancher de la prise de courant.
- Tout dommage causé au cordon est susceptible d'entraîner un court-circuit, un incendie et/ou un choc électrique.
- Dans cet apparéil, ne stockez pas de substances explosives telles que des aérosols avec un propulseur inflammable.
- N'installez pas cet appareil près d'une source de chaleur ni d'un matériel inflammable.
- N'installez pas cet appareil dans un endroit où des fuites de gaz sont susceptibles de se produire.
- Risque d'électrique ou d'incendie.
- Ce réfrigérateur doit être correctement situé et installé conformément aux instructions duprésent guide avant d'être utilisé.
Consignes de sécurité
- Branchez la fiche d'alimentation de façon à ce que le cordon pendente vers le bas.
- Si vous branchez la fiche d'alimentation à l'envers, le fil est susceptible de se rompre et de provoquer un incendie ou un choc électrique.
Assurez-vous que la fiche d'alimentation n'est pas écrasée ou endommagée par le dos du réfrigérateur. - Gardez les matériaux d'emballage hors de portée des enfants.
- Il y a un risque d'asphyxie si un enfant place les matériaux d'emballage sur sa tête.
- L'appareil doit être positionné de façon à ce que la fiche reste accessible après l'installation.
- Le non-respect de cette consigne risque
- N'installez pas cet appareil dans un lieu humide, houleux ou poussié
- Une dépréciation de l'isolement des composants électriques est susceptible de provoquer un choc électrique ou un incendie.
- Si vous constatiez des traces de poussière ou d'eau dans le réfrigérateur, débranchez la prise et contactez votre centre de service Samsung Electronics.
- Ne montez pas sur l'appareil et ne placez pas d'objets (tel que du linge, des bougies allumées, des cigaret
- Le non-respect de cette consigne risque d'entraî
- Vous doivent-retirer toutes les pellicules protectrices en plastique avant de brancher l'appareil pour la première fois.
- Les enfants ne doivent pas jouer ni avec les circlips utilisés pour le réglage de la porte ni avec les clips pour le tuyau d'eau.
- Il y a un risque d'asphyxie si un enfant avale un circlip ou un clip pour le tuyau d'eau. Tenez les circlips et les clips pour le tuyau d'eau hors de portée des enfants.
Le réfrigérateur doit être correctement mis à la terre.
- Veill elle partie de l'appareil. Les fuites électriques peuvent provoquer des chocs électriques graves.
- N'utilisez jamais de conduites de gaz, de fils téléphoniques ou d'autres éléments susceptibles d'attirer la foudre pour relier l'appareil à la terre.
- Le réfrigérateur doit être mis à la terre afin d'éviter les fuites électriques ou les électrocutions provoquées par les fuites de courant de l'appareil.
- Le non-respect de cette consigne risque d'entraîner une électrocution, un incendie, une explosion ou des problèmes avec l'appareil.
Consignes de sécurité
- Branchez fermement la fiche dans la prise murale. N'utilisez pas de fiche d'alimentation endommagée, de cordon d'alimentation endommagé ou de prise murale mal fixée.
- Risque d'électrisation ou d'incendie.
- Si le cordon d'alimentation est endommagé, demandez son remplacement immédiat par le fabricant ou ses fournisseurs de service.
- Le fusible du réfrigérateur doit être changé par un technicien qualifié ou une entreprise de dépannage. - Le non-respect de cette consigne risquerait de provoquer un choc électrique ou des blessures corporelles.
- Lorsque vous positionnez l'appareil, assurez-vous que le cordon d'alimentation n'est ni endommagé, ni coincé.
- Ne placez pas plusieurs prises portables ou alimentations électriques portables à l'arrière de l'appareil.
Attention
- Laissez un espace suffisant autour du réfrigérateur et installez celui-ci sur une surface plane.
- N'obstruez pas l'espace de ventilation à l'intérieur du réfrigérateur ou de son caisson.
- Laissez l'appareil reposer pendant 2 heures avant de charger les aliments à l'intérieur après son installation et sa mise sous tension.
- Nous vous recommendons fortement de faire appel à un technicien qualifié ou à une entreprise de dépannage pour installer votre réfrigérateur.
- Le non-respect de cette consigne risque d'entraîner un dysfonctionnement, un choc électrique, un incendie, une explosion ou des blessures corporelles.
- Une surcharge de l'une des portes peut provoquer le renversement du réfrigérateur et vous blesser.
Avertissement
- Ne branchez pas la prise d'alimentation si vous avez les mains mouillées.
- Cela pourrait causer un choc électrique.
- N'entreposez pas d'objets sur le dessus de l'appareil.
- Lors de l'ouverture ou de la fermeture de la porte, les objets peuvent tomber et provoquer des blessures corporelles et/ou des dommages matériels.
- Ne placez pas vos mains, vos pieds, ni des objets métalliques (baguettes métalliques, etc.) sous le réfrigerateur ou à l'arrête de celui-ci.
- Risque d'électrocution ou de blessures corporelles.
- Les bords coupants sont susceptibles de provoquer des blessures corporelles.
- Ne touchez pas les parois interieures du congélateur ni les produits qui y sont rangés si vous avez les mains mouillées.
- Risque de gelures.
Consignes de sécurité
- Ne placez pas de récipient rempli d'eau sur le réfrigérateur.
- En cas de renversement, cela pourrait entraîner un incendie ou un choc électrique.
- ol, éther, gaz liquéfié et toute autre substance similaire) dans le réfrigérateur.
- Le réfrigérateur a été créé exclusivement pour le rangement de produits alimentaires.
- Cela pourrait entraîner un incendie ou une explosion.
- Les enfants ne doivent pas utiliser l'appareil sans la surveillance d'un adulte.
- Maintenez les doigts éloignés des zones contenant des « points de pincement ». Le jeu entre les portes et l'armoire doit nécessairement être faible. Soyez attentif lorsque vous ouvrez les portes si des enfants se trouvent dans la zone.
- Ne laissez pas les enfants se suspendre à la porte de l'appareil ou aux bacs des portes. Ils risqueraient de se blesser.
- Ne laissez pas les enfants entrer dans le réfrigérateur. Ils risqueraient de rester emprisonnés.
- Ne placez pas vos mains sous l'appareil.
- Les bords coupants sont susceptibles de provoquer des blessures corporelles.
- Ne rangez pas de produits pharmaceutiques, chimiques ou sensibles aux températures dans le réfrigérateur.
- Les produits nécessitant un contrôle strict de la température ne doivent pas être entreprises dans le réfrigérateur.
- Ne placez pas et n'utilisez pas d'appareil électrique à l'intérieur du réfrigérateur/congélateur sauf s'il s'agit d'un type recommendé par le fabricant.
- Si l'appareil dégage une odeur chimique ou de la fumée, débranchez-le immédiatement et contactez votre centre de service technique Samsung Electronics.
- En cas de traces de poussière ou d'eau dans le réfrigérateur, débranchez la prise et contactez votre centre de service technique Samsung Electronics.
- Ne laissez pas les enfants monter sur un bac.
- Le bac risquerait de se casser et de provoquer leur chute.
- Ne laissez pas les portes du réfrigérateur ouvertes lorsque l'appareil n'est pas sous surveillance afin d'éviter qu'un enfant ne se glisse à l'intérieur de l'appareil.
- Ne laissez pas les jeunes enfants s'approcher du tiroir.
- Risque d'étouffement ou de blessures.
- Ne replissez pas trop le réfrigérateur.
- Lors de l'ouverture de la porte, un article pourrait tomber et provoquer des blessures corporelles ou des dommages matériels.
- Ne vaporisez pas de substance volatile telle qu'un insecticide sur la surface de l'appareil.
- Ces produits peuvent se reveler dangereux pour la santé et risquent en outre de provoquer une électrocution, un incendie ou un dysfonctionnement de l'appareil.
Consignes de sécurité
- N'utilisez pas ni n'entreposez pas de substances thermosensibles (ex.: pulvérulatisés ou objets inflammables, glace sèche, médicaments ou produits chimiques) à proximité ou à l'intérieur du réfrigérateur.
- N'utilisez pas de sèche-cheveux pour secher l'intérieur du réfrigérateur. Ne placez pas de bougie allumée à l'intérieur du réfrigérateur pour éliminer les mauvaises odeurs.
- Risque d'électrique ou d'incendie.
- Remplissez le réservoir et le bac à glaçons d'eau potable uniquement (eau minérale ou eau purifiée).
- Ne replissez pas le réservoir de thé, de jus de fruits ou de boissons énergisantes car cela risquerait d'endommager le réfrigérateur.
- Ne montez pas sur l'appareil et ne placez pas d'objets (tels que du linge, des bougies allumées, des cigarettes allumées, de la vaisselle, des produits chimiques, des objets métalliques, etc.) sur celui-ci. Le non-respect de cette consigne risque d'entraî
- En cas de renversement, cela pourrait entraîner un incendie ou un choc électrique.
- andés par le fabricant. N'endommagez pas le circuit frigorifique.
- Ne fixez jamais directement l'ampoule DEL UV pendant une période prolongée.
- Cela risquerait d’entraîner une fatigue oculaire due aux rayons ultraviolets.
- Ne placez pas les clayettes du réfrigérateur à l'envers. La butée des clayettes ne fonctionnerait pas.
- Cela pourrait provoquer des blessures dues à la chute de la clayette en verre.
- Maintenez les doigts éloignés des zones contenant des « points de pincement ». Le jeu entre les portes et l'armoire doit nécessairement être faible. Soyez attentif lorsque vous ouvrez les portes si des enfants se trouvent dans la zone.
- Si une fuite de gaz est détectée, évitez toute flamme nue ou source potentielle d'inflammation et aérrez pendant plusieurs minutes la pièce dans laquelle se trouve l'appareil.
- Ne touchez pas à l'appareil ou au cordon d'alimentation.
- N'utilisez pas de ventilateur.
- Une étincelle risquerait de provoquer une explosion ou un incendie.
Utilisez uniquement les ampoules DEL fournies par le fabricant ou son réparateur/agréé. - Serrez les bouteilles les unes contre les autres pour éviter qu'elles ne tombent. - Cet appareil est destiné au rangement des aliments dans un environnement domestique uniquement. - Ne tentez pas de réparer, démonter ou modifier le réfrigérateur vous-même.
- Des modifications non autorisées peuvent générer des problèmes de sécurité. Pour annuler une modification non autorisée, nous facturons le coût total des pieces et de la main d'oeuvre.
- N'utilisez aucun fuseible (tel que du cuivre, un fil d'acier, etc.) autre qu'un fuseible standard.
Consignes de sécurité
- Si le réfrigérateur doit être réparé ou réinstallé, contactez le centre de service le plus proche.
- Le non-respect de cette consigne risque d’entraî
- Veuillez prendre contact avec le centre de service le plus proche lorsque l'ampoule DEL interieure ou extérieure est grillée.
- Si le réfrigérateur dégage une odeur de brûlé ou de la fumée, débranchez-le immédiatement et contactez votre centre de service technique Samsung Electronics.
- Le non-respect de cette consigne risquerait de provoquer un incendie ou un choc électrique.
- Débranchez le réfrigérateur avant de remplacer les lampes intérieures.
- Sinon, il pourrait y avoir un risque de choc électrique.
- Contactez notre centre de service Samsung si vous éprouvez des difficultés à remplacer une ampoule (qui n'est pas une DEL).
- Si l'appareil est équipé d'ampoules DEL, ne démontez pas vous-même les caches des lampes et les ampoules.
- Contactez un centre de service Samsung.
- Branchez fermement la fiche dans la prise murale.
- N'utilisez pas de fiche d'alimentation endommagée, de cordon d'alimentation endommagé ou de prise murale mal fixée.
- Risque d'électrocution ou d'incendie.
Attention
- Ne recongelez pas un aliment qui a complètement décongelé. Ne mettez pas de boissons gazeuses dans le compartiment congélateur. Ne mettez pas de bouteilles ou de récipients en verre dans le congélateur.
- Si le contenu gèle, le verre est susceptible de se briser et de provoquer des blessures corporelles. Utilisez uniquement la machine à glaçons fournie avec le réfrigérateur. Pour un fonctionnement optimal de l'appareil :
- Ne placez pas d'aliments trop près des orifices de ventilation à l'arrière de l'appareil car ils pourraient empêcher la libre circulation de l'air dans la partie réfrigération.
- Emballez bien les aliments ou mettez-les dans des récipients hermétiques avant de les placer dans le réfrigérateur.
- Ne placez pas de bouteilles en verre ni de boissons gazeuses dans le congélateur. Elles pourraient congeler et se briser. Des contenants de boissons brisés peuvent vous blesser.
- Respectez les durées de congélation et les dates de péremption associées aux aliments surgelés.
- Ne placez pas de verre ou de bouteilles ni de boissons gazeuses dans le congélateur.
- Le récipient peut geler et se briser, ce qui peut entraîner une blessure.
Consignes de sécurité
- Ne mettez pas de boissons gazeuses dans le compartiment congélateur. Ne mettez pas de bouteilles ou de récipients en verre dans le congélateur.
- Si le contenu gèle, le verre est susceptible de se briser et de provoquer des blessures corporelles ou des dommages matériels.
- Garantie de réparation et modification.
- Les changements et modifications apportés à cet appare nt des modifications apportées par un tiers.
- N'obstruez pas les orifices de ventilation à l'intérieur du réfrigérateur.
- Si les orifices de ventilation sont obstrués, notamment par un sac en plastique, le réfrigérateur risque de trop refroidir. Une période de refroidissement trop longue risque d'endommager le filtré à eau et de provoquer des fuites.
Utilisez uniquement la machine à glacons fournie avec le réfrigérateur. - Essuyez l'excédent d'humidité à l'intérieur et laissez les portes ouvertes.
- Le non-respect de cette consigne pourrait engendrer le développement d'odeurs et de moisissure.
- Si le réfrigérateur est débranché de la prise d'alimentation, patientez au moins cinq minutes avant de le rebrancher.
- Si le réfrigérateur est mouillé par l'eau, débranchez la prise et contactez votre centre de service technique Samsung Electronics.
- Ne frappez pas une surface en verre ou n'y appliquez pas une force excessive.
- Du verre brisé pourrait entraîner des dommages corporels et/ou matériels.
- Remplissez le réservoir et le bac à glaçons d'eau potable uniquement (eau du robinet, eau minérale ou eau purifiée).
- Ne remplissez pas le réservoir avec du thé ou une boisson énergisante. Cela pourrait endommager le réfrigérateur.

- Soyez vigilant afin de ne pas vous pincer les doigts.
- Les lampes situées à l'intérieur du congélateur et du réfrigérateur peuvent être éteintes si les portes du congélateur et du réfrigérateur sont laissées ouvertes durant 2 secondes ou au-delà.
- Les lampes se rallument lorsque les portes sont fermées puis ouvertes à nouveau.
- En cas d'inondation, si votre appareil est entré en contact avec de l'eau, contactez le centre de service le plus proche.
- Risque de choc électrique ou d'incendie.
Consignes de sécurité
- récipient ouvert peut fuir et l'huile qui a coulé risque de faire fissurer le bac de la porte. Après avoir ouvert un récipient d'huile, le maître est de le conserver dans un endroit frais et à l'abri du soleil, comme un placard ou un cellier.
- Exemples d'huile végétale : huile d'olive, huile de maïs, huile de pépins de raisin, etc.
Attention
- Ne vaporisez pas directement de l'eau à l'intérieur ou à l'extérieur du réfrigérateur.
- Risque d'incendie ou de choc électrique.
- N'utilisez pas de sèche-cheveux pour sécher l'intérieur du réfrigérateur.
- Ne placez pas de bougie allumée à l'intérieur du réfrigérateur pour en éliminer les mauvaises odeurs.
- Risque d'électrique ou d'incendie.
- Ne vaporisez pas de produit de nettoyage directement sur l'écran.
- Les caractères imprimés risqueraient de s'effacer.
- Lorsqu'un corps étranger tel que de l'eau a pénétré dans l'appareil, débranchez ce dernier et contactez le centre de service le plus proche.
- Le non-respect de cette consigne pourrait de provoquer un incendie ou un choc électrique.
Utilisez un chiffon propre et sec pour éliminer toute poussière ou corps étranger des lames de la fiche d'alimentation. N'utilisez pas de chiffon mouillé ou humide lors du nettoyage de la prise.
- Sinon, il pourrait y avoir un risque d'incendie ou de choc électrique.
- Ne nettoyez pas l'appareil en vaporisant de l'eau directement dessus.
- N'utilisez pas de benzène, de diluant, d'eau de Javel ou de chlorure pour le nettoyage.
- Ces produits risquent d'endommager la surface de l'appareil et de provoquer un incendie.
- Ne mettez jamais les doigts ni d'autres objets dans l'orifice du distributeur.
- Cela pourrait provoquer des blessures corporelles ou des dommages matériels.
- Débranchez l'appareil de la prise murale avant de le nettoyer et d'en faire l'entretien.
- Le non-respect de cette consigne risquerait de provoquer un incendie ou un choc électrique.
- Utilisez une éponge propre ou un chiffon doux avec un nettoyant doux et de l'eau tiède pour nettoyer le réfrigérateur.
Consignes de sécurité
- étrole) sur les surfaces extérieures (portes et meuble), les pièces en plastique, les revêtements intérieurs et de la porte et sur les joints.
- Ces produits risquent de rayer ou d'endommager le matériel.
- Ne nettoyez pas les clayettes en verre ou les caches avec de l'eau tiède lorsqu'ils sont froids. Les clayettes en verre et les caches risquent de se casser s'ils sont exposés à des changements soudains de température ou à des chocs (coups ou chutes).
Avertissement
- Jetez le matériel d'emballage de cet appare ière du réfrigérateur n'est endommagé avant sa mise au rebut.
- Le gaz réfrigérant utilisé est le R-600a ou R-134a. Vérifiez le gaz réfrigérant utilisé dans votre réfrigérateur sur l'étiquette du compresseur située à l'arrière de l'appareil ou sur l'étiquette signalétique située à l'intérieur du réfrigérateur. Si ce produit contient du gaz inflammable (gaz réfrigérant R-600a), veuilles prendre contact avec les autorités locales pour obtenir des renseignements sur la mise au rebut en toute sécurité de votre apparéil.
- Lors de la mise au rebut de ce réfrigérateur, retirez la porte/les joints de porte ainsi que le loquet de la porte afin que des petits enfants ou des animaux ne puisse
- Les enfants risqueraient de se retrouver emprisonnés à l'intérieur, de se blesser et de s'asphyxier.
- écologique de mettre ce produit au rebut, veuillez prendre contact avec les autorités locales.
- Conservez les éléments d'emballage hors de portée des enfants, car ils peuvent être un danger pour ces derniers. - Un enfant pourrait suffoquer s'il met sa tête dans un sac.
Conseils complémentaires pour une utilisation appropriée
- En cas de coupure de courant, contactez le bureau local de votre fournisseur d'électricité afin de connaître la durée du problème.
- La plupart des coupures de courant qui sont corrigées dans l'heure ou dans les deux heures qui suivent n’effe
- Si la coupure de courant dure plus de 24 heures, retirez et jetez tous les aliments surgelés.
- iment d'aliments surgelés) s'il est placé pendant une longue période en dessous des températures ambiantes pour lesquelles il a été conçu.
- En cas d'aliments particuliers, les conserver réfrigérés peut avoir un effet négatif en raison de la préservation de ses propriétés.
- Voiture apparéil est équipé de la fonction de dégivrage automatique, ce qui peut dire que vous n'avez pas besoin de le dégivrer manuellement. Le dégivrage se fera automatiquement.
- L'augmentation de la température pendant le dégivrage reste conforme aux normes ISO. Si vous souhaitez éviter toute augmentation excessive de la température des alimentés surgelés pendant le dégivrage de l'appareil, emballez-les dans plusieurs couches de papier (un journal par exemple).
- Ne recongelez pas un aliment qui a complètement décongelé.
- La température du ou des compartments qui possèdent le symbole deux étoiles (**) est légèrement plus froide que celle régnant dans l'autre/les autres compartments du congélateur.
La ou les parties ou le ou les compartiments deux étoiles sont basées sur les instructions et/ou l'état lors de la livraison.
Conseils en matière d'économie d'énergie
- Installez l'appareil dans une pièce sèche et fraîche, correctement ventilée. Vérifiez qu'il n'est pas exposé à la lumière directe du soleil et ne le placez jamais à proximité d'une source de chaleur (un radiateur par exemple).
- Pour obtenir une meilleure efficacité énergétique, il est conseillé de ne pas bloquer les orifices de ventilation ou les grilles de l'appareil.
- Laissez refroidir les aliments chauds avant de les placer à l'intérieur de l'appareil.
Consignes de sécurité
- Placez les aliments surgelés dans le réfrigérateur pour les laisser décongeler. Les aliments surgelés peuvent ainsi servir à refroidir les aliments stockés dans le réfrigérateur.
- Veillez à refermer la porte rapidement lorsque vous mettez des aliments dans le réfrigérateur ou lorsque vous les en sortez. Moins la porte restera ouverte, moins il se formera d'accumulation de givre dans le congélateur.
- Il est recommandé d'installer le réfrigérateur en laissant un espace à l'arrière et sur les côtés. Ceci vous permettra de réduire sa consommation d'énergie et ainsi vos factures.
- Pour l'utilisation la plus optimale de l'énergie, veuillez laisser tous les accessoires internes tels que les paniers, les tiroirs, les clayettes sur leur position indiquée par le fabricant.
Cet appareil est destiné à être utilisé dans les applications domestiques et similaires telles que :
- les zones de cuisine du personnel dans les magasins, bureaux et autres environnements de travail;
- les fermes et clients d'hôts, moteliers et autres environnements de type résidentiels;
- l'environnement de type « chambres d'hôtes » ; les applications de restauration et collectives similaires.

Les bons gestes de mise au rebut de ce produit (Déchets d'équipements électriques et électroniques)
(Applicable aux pays disposant de systèmes de collecte séparés)
Ce symbole sur le produit, ses accessoires ou sa documentation indique que ni le produit, ni ses accessoires électroniques usagés (chargeur, casque audio, câble USB, etc.) ne peuvent être jetés avec les autres déchets ménagers. La mise au rebut incontrôlée des déchets représentant des risques environnementaux et de santé publique, veuillez séparer vos produits et accessoires usagés des autres déchets. Vous favoriserez ainsi le recyclage de la matière qui les compose dans le cadre d'un développement durable.
Les particuliers sont invités à contacter le magasin leur ayant vendu le produit ou à se renseigner auprès des autorités locales pour connaître les procédures et les points de collecte de ces produits en vue de leur recyclage.
Les entreprises et particuliers sont invités à contacter leurs fournisseurs et à consulter les conditions de leur contrat de vente. Ce produit et ses accessoires ne peuvent être jetés avec les autres déchets.
Pour plus d'informations sur les engagements de Samsung en matière d'environnement et les obligations légales relatives à l'appareil (par exemple, la directive REACH ou celles portant sur les DEEE et les batteries), consultez notre page relative au développement durable accessible via www.samsung.com.
(Uniquement pour les appareils commercialisés dans les pays européens et au Royaume-Uni)
Installation
Avant toute utilisation, respectez scrupuleusement ces consignes pour assurer une installation adéquate du réfrigérateur et éviter les accidents.
Avertissement
N'utilisez ce réfrigérateur que conformément à l'utilisation auquel il est destiné, en suivant scrupuleusement les instructions du manuel. Toute opération de maintenance doit être effectuée par un technicien qualifié. - Jetez le matériel d'emballage de cet appareil conformément aux règlementations locales.
Remarque
L'apparence réelle et les composants fournis avec le réfrigérateur peuvent varier en fonction du modèle et du pays.

01 Étagère du congélateur * 02 Machine à glaçons * 03 Zone fraîche * 04 Bac à œufs 05 Clayette coulissante 06 Désodorisant 07 Bac à légumes amovible * 08 Tiroir à légumes * 09 Bac du congélateur 10 Réservoir d'eau * 11 Panier multi-stockage 12 Casier à bouteilles * modèles applicables uniquement
Accessoires en option

Entretoise : Permet de maintenir le réfrigerateur froid.

Bloc réfrigérant : Permet de maintenir le réfrigerateur froid.

Bac à glaçons : Permet de produire des glaçons.

Machine à glaçons à fond amovible : Permet de produire des glaçons.
- Voiture réfrigérateur peut ne pas être doté des accessoires en option répertoriés ci-dessus. La disponibilité des accessoires en option dépend du modèle et du pays.
Pour augmenter l'espace de stockage dans le compartmenting congelateur
Retirez un ou plusieurs accessoires (ex.: bloc(s) réfrigérant(s), clayette(s), machine(s) à glaçons à fond amovible, réservoirs à glaçons et supports); tous ces objets peuvent être retirés manuellement sans aucun outil.
- Ces accessoires en option n'affectent pas les performances thermiques et mécaniques. Le volume de stockage nominal du congélateur ne tient pas compte de ces accessoires en option. Pour retirer les deux machines à glaçons, retirez d'abord celle de droite (pour les modèles Ice Max). Pour une efficacité énergétique optimale, veillez à ce que les clayettes, tiroirs et corbeilles soient placés dans leur position d'origine.
Ligne indiquant la limite de charge (modèles applicables uniquement)

Une ligne indiquant la limite de charge est apposée sur la partie supérieure droite du compartiment congélateur.
Attention
- Ne placez pas et ne conservez pas des aliments au-delà de cette ligne. Dans le cas contraire, l'efficacité énergétique peut être affectée.
Étiquette de température (modèles applicables uniquement)
Pour un réglage optimal de la température, le réfrigérateur est fourni avec une étiquette de température (fournie avec le guide d'utilisation) afin de vous permettre de contrôler la température moyenne dans la zone la plus froide. Si l'étiquette de température n'est pas fournie, veuillez en réclamer une à votre distributeur.
Reportez-vous aux illustrations suivantes pour fixer l'étiquette de température.

Remarque
L'utilisation de l'étiquette de température est destinée à ce réfrigérateur uniquement. Ne l'utilise pas avec un autre réfrigérateur ou pour d'autres fins.
Fixation de l'étiquette de température à l'intérieur du réfrigérateur

Vérifiez que la paroi de l'appareil est propre et sèche, puis fixez l'étiquette de température comme illustré sur la figure.
Contrôle de la température dans la zone la plus froide
Une fois l'étiquette de température fixée, vous pouvez procéder à des contrôles réguliers pour vous assurer que la température dans la zone la plus froide est correcte et, si nécessaire, pour régler le thermostat tel qu'indiqué dans le guide d'utilisation.
La température intérieure du réfrigérateur dépend de nombreux facteurs tels que la température ambiantede la pièce, de la quantité d'aliments stockés et du nombre d'ouvertures de la porte. Ces facteurs doivent être pris en compte lors du réglage de l'appareil.

A. Réglage correct B. Température trop élevée, réglez le thermostat
Pour maintenir une température correcte à l'intérieur de l'appareil, assurez-vous que l'étiquette de température est toujours bleue. Si l'étiquette de température devient blanche, la température est trop élevée. Dans ce cas, baissez le réglage du thermostat et patientez 12 heures avant de vérifier à nouveau l'étiquette de température. Lorsque des aliments sont entreposés, ou lorsque la porte reste ouverte pendant une certaine durée, il est normal que l'étiquette devienne blanche.
Exigences relatives au site :
installation sur une surface stable et plane sans moquette et sans revêtement de sol pouvant obstruer la ventilation; - emplacement éloigné de la lumière directe du soleil; espace adéquat pour ouvrir et fermer la porte; - emplacement éloigné d'une source de chaleur; - de l'espace suffisant pour effectuer des travaux de maintenance et d'entretien; - plage de température : entre 10°C et 43°C.
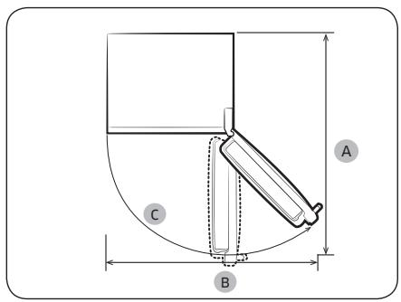
Espace
Pour connaître les exigences en matière d'espace d'installation, reportez-vous aux images et au tableau ci-dessous.

| Modèle | A | B | C |
| RT53K* | 1435 | 1170 | 115° |
| RT50K* | 1435 | 1170 | 115° |
| RT46K* | 1350 | 1045 | 115° |
| RT43K* | 1350 | 1045 | 115° |
(Unité : mm)
01 100 mm 02 Recommandation : supérieure à 50 mm

ÉTAPE 2 Espacement (modèles applicables uniquement)
ÉTAPE 3 Sol
- Ouvrez la porte et localisez les entreprises fournies (x2).
- Déballiez les deux épong ière et d'économiser l'énergie.
- er le sol, placez un grand morceau de carton sur chaque pied du réfrigerateur.
- Lorsque le réfrigerateur se trouve dans sa position finale, ne le déplacez plus sauf si cela est nécessaire pour protéger le sol. Si nécessaire, utilisez du carton épais ou un morceau de vieille moquette le long du chemin de transport.
Étape 4 régler les pieds de mise à niveau

Mettez le réfrigerateur à niveau en réglant ses pieds manuellement. Tournez les pieds de mise à niveau dans le sens horaire pour les abaisser ou dans le sens antihoraire pour les lever. Pour des raisons de sécurité, le côté avant doit être légèrement plus élevé que le côté arrière.

Laissez les pieds à 66 mm (A) du sol comme indiqué.
Étape 5 réglages initiaux
En suivant les étapes suivantes, le réfrigerateur doit fonctionner entièrement.
- Insérez la fiche d'alimentation dans la prise murale pour allumer le réfrigerateur.
- Ouvrez la porte et vérifiez si l'éclairage à l'intérieur s'allume.
- Réglez la température sur la valeur la plus BASSE et patientez une heure. Le congélateur est légèrement réfrigéré et le moteur tourne doucement.
- Attendez jusqu'à ce que le réfrigerateur atteigne la température régée. Le réfrigerateur est désormais prêt à l'emploi.
Lorsque l'installation est terminée, vérifie les points suivants :
Le réfrigerateur est branché sur une prise électrique et correctement mis à la terre. Le réfrigerateur est installé sur une surface plane et à une distance suffisante du mur ou de l'armoire. Le réfrigerateur est mis à niveau et positionné fermement au sol. - La porte s'ouvre et se ferme sans obstacles et l'éclairage intérieur s'allume automatiquement dès que vous ouvrez la porte.
Type bouton


01 Congélateur (Congélation rapide)
02 Freezer Convert / Ice On/ Off (Congélateur convertible / Activation/Désactivation glace) (modèles applicables uniquement)
03 Fridge (Power Cool) (Réfrigérateur (Refroidissement rapide))
Opérations
01 Congélateur (Congélation rapide)
| Freezer (Congélateur) | Le bouton Freezer (Congélateur) permet de régler la température du conge lateur entre -15 °C et -23 °C. À chaque pression du bouton, la température change dans l'ordre suivant: -23 °C → -15 °C → -17 °C → -19 °C → -21 °C → -23 °C ATTENTION · Afin d'éviter un dysfonctionnement du système ou une dégradation des alimentés, ne réglez pas la température sur -15 °C en été (température supérieure à 35 °C). · N'entreposez pas de bouteilles en verre contenant du liquide dans le conge lateur. Les bouteilles en verre peuvent se fissurer ou se briser en morceaux lorsque le liquide conge. |
| Power Freeze (Congélation rapide) | La fonction Power Freeze (Congélation rapide) accélère le processus de conçélation (ventilateur à vitesse maximale). Le conçélateur fonctionne à vitesse maximale durant plusieurs heures avant de revenir à la température précédente. · Pour activer la fonction Power Freeze (Congélation rapide), appuyez sur le bouton Freezer (Congélateur) pendant 3 secondes. Le voyant correspondant ( ① s'allume et le réfrigérateur accélère son processus de refroidissement. · Pour désactiver la fonction, appuyez à nouveau sur le bouton Freezer (Congélateur) pendant 3 secondes. Le conçélateur revient au réglage de température précédent. · Pour conGPLer une grande quantité d'aliments, activé la fonction Power Freeze (Congélation rapide) au moins 20 heures avant de placer les alimentés dans le conçélateur. · Le conçélateur fonctionne à vitesse maximale durant 50 heures avant de revenir à la température précédente. ® REMARQUE L'utilisation de la fonction Power Freeze (Congélation rapide) augmente la consommation électrique. Assurez-vous de l'éteindre et de remettre la température précédente si vous n'avez pas besoin de cette fonction. |
02 Congélateur convertible / activation/désactivation glace (modèles applicables uniquement)
| Freezer Convert (Congélateur convertible) | Vous peuvent utiliser la totalité du réfrigérateur en mode Fridge (Réfrigérateur) ou désactiver le conge lateur. Pour changer le mode Freezer (Congélateur) par défaut, appuyez sur Freezer Convert (Congélateur convertible) pendant 3 secondes pour passer en mode de sélection. Le mode change dans l'ordre suivant : Fridge (Réfrigérateur) → Off (Désactivé) → Freezer (Congélateur) → Fridge (Réfrigérateur) Mode de réglage. Si vous sélectionnez Fridge (Réfrigérateur), levoyant du réfrigérateur s'allume. Les fonctions Power Freeze (Congélation rapide) et Ice On (Activation glace) sont désactivés, si elles ont été activées. Si vous sélectionnez Off (Désactivé), levoyant Off (Désactivé) s'allume. Le conçélateur est désactivé. Si vous sélectionnez le mode de configuration Congélateur, les voyants de température du conçélateur s'allument pour sélection. Vos modifications sont configuées et activées après 10 secondes. Pour annuler ou remodelier le mode, appuyez à nouveau sur Freezer Convert (Congélateur convertible) pendant 3 secondes Puis, suivez les instructions comme indiqué ci-dessus. REMARQUE Si vous maintainez Freezer Convert (Congélateur convertible) enchocépendant 3 secondes en mode Freezer (Congélateur), le réfrigérateur passe en mode Fridge (Réfrigérateur) et vous pouvez sélectionner un mode (mode de sélection). Si vous appuyez sur Freezer Convert (Congélateur convertible) pendant 3 secondes dans un autre mode, le réfrigérateur passe en mode de sélection où vous pouvez appuyer sur Freezer Convert (Congélateur convertible) pour sélectionner un autre mode. Lorsque les fonctions de réfrigération ou de congélation sont en mode « Off » (Désactivation), la température du réfrigérateur ou du conçélateur reste inférieure à 15 °C pour éviter les moisissures et les mauvaises odeurs, en utilisant peu d'électricité. Le réfrigérateur ou le conçélateur ne peut pas être mis hors tension indépendamment. Ne stockez pas des alimentés ou des boisons dans le réfrigérateur lorsque les fonctions de réfrigération ou de congélation sont en mode « Off » (Désactivation). 15 °C n'est pas une température suffisamment froide pour éviter la détérioration. |
- N'entreposez pas de bouteilles en verre contenant du liquide dans le congélateur. Lorsque vous annulez la fonction Freezer Convert (Congélateur convertible), les bouteilles en verre peuvent se fissurer ou se briser dans le congélateur.
Opérations
Assurez-vous de retirer les aliments congelés du congélateur avant d'activer la fonction Freezer Convert (Congélateur convertible). Les aliments congelés risquent de fondre ou de se dégrader lorsque la température augmente (changement du mode Freezer (Congélateur) en mode Fridge (Réfrigérateur)). Assurez-vous de retirer les aliments refroidis du congélateur avant de désactiver la fonction Freezer Convert (Congélateur convertible). Les aliments refroidis peuvent congeler lorsque la température diminue (changement du mode Fridge (Réfrigérateur) en mode Freezer (Congélateur)).

Remarque
Si vous souhaitez utiliser la fonction Freezer Convert (Congélateur convertible), nous vous conseillons fortement d'utiliser des récipients en plastique pour stocker les aliments, en particulier les légumes.
| Ice On/Off (Activation/ déactualisation glace) | (Modèles applicables uniquement) Par défaut, cette fonction est activée et levoyant correspondant est étéint. Pour désactiver cette fonction, appuyez sur Ice On/Off (Activation/désactivation glace) pour l'éteindre. Nous vous recommendons de désactiver cette fonction dans les cas suivants: • Le bac à gaçons est rempli. • Vous souhaitez économiqueiser de l'énergie. • Le réserve d'eau est vide. |
| RemARQUE Si vous appuyez sur Freezer Convert (Congélateur convertible) pour sélectionner Fridge (Réfrigerateur) ou Off (Déactivé), le réfrigerateur passé en mode Ice Off (Déactualisation glace). |
03 Réfrigérateur (refroidissement rapide)
| Fridge (Réfrigérateur) | Pour régler la température du réfrigerateur, appuyez sur Fridge (Réfrigerateur) et scéléptionnez la température correspondante. Vous pouvez régler une température entre 1 °C et 7 °C. Avec la température réglée sur 1 °C, appuyez sur Fridge (Réfrigerateur) pour allumer levoyant Vacation (Absence). La barre de température s'éteint. Appuyez à nouveau dessus pour désactiver le mode Vacation (Absence). La barre de température affiche 7 °C. ATENTION • En hiver, ne placez pas la molette de contrôle sur 1 °C. Cela risquerait d'affector la performance de refroidissement. • En été, ne placez pas la molette de contrôle sur 5 à 7 °C. Cela risquerait également d'affector la performance de refroidissement. |
| Power Cool (Refroidissement rapide) | La fonction Power Cool (Refroidissement rapide) accélère le processus de refroidissement (ventilateur à vitesse maximale). Le réfrigérateur fonctionne à vitesse maximale durant plusieurs heures avant de revenir à la tempête préciédente. • Pour activer la fonction Power Cool (Refroidissement rapide), appuyez sur le bouton Fridge (Réfrigerateur) pendant 3 secondes. Le voyant correspondant ( ®) s/allume et le réfrigerateur accélère son processus de refroidissement. • Pour désactiver la fonction Power Cool (Refroidissement rapide), appuyez à nouveau sur le bouton Fridge (Réfrigerateur) pendant 3 secondes. Le réfrigerateur revient au réglage de tempête précédent. • Pour bien refroidir une grande quantité d'aliments, activez la fonction Power Cool (Refroidissement rapide) au moins 24 heures à l'avance. ®REMARQUE L'utilisation de la fonction Power Cool (Refroidissement rapide) augmente la consommation électrique. Assurez-vous de l'éteindre et de remettre la tempête préciédente si vous n'avez pas besoin de cette fonction. |
| Vacation (Absence) | Si vous partez en vacances ou en voyage d'affaires ou si vous n'avez pas besoin d'utiliser votre réfrigérateur pour une période prolongée, utilisez le mode Vacation (Absence). • Pour activer le mode Vacation (Absence), appuyez sur Fridge (Réfrigerateur) et sélectionnez levoyant 1 °C. Le voyage Vacation (Absence) (®) s/allume alors que l'affichage des Tempêtes du réfrigérateur s'esteint. La tempête du réfrigérateur peut être réglée en-dessous de 17 °C, mais le congélateur reste actif selon le réglage précédent. • Pour désactiver le mode Vacation (Absence), appuyez à nouveau sur Fridge (Réfrigerateur). ®REMARQUE Il est fortement conseilé de vider le compartment du réfrigérateur et de s'assurer que la porte est fermée. |
Type de molette
Réfrigérateur
Pour une performance optimale, nous vous conseillons de régler la température sur Optimal (Optimale) ou

Type A

Pour baisser la température pour un refroidissement renforcé, réglez la molette de contrôle sur 4 à 5. Pour augmenter la température pour un faible refroidissement, réglez la molette de contrôle sur 1 à 2.

Attention
- En hiver, ne placez pas la molette de contrôle sur le niveau 4 ou 5. Cela risquerait d'affector la performance de refroidissement.
- En été, ne placez pas la molette de contrôle sur le niveau 1 ou 2. Cela risquerait également d'affecter la performance de refroidissement.
Absence
Si vous partez en vacances ou en voyage d'affaires ou si vous n'avez pas besoin d'utiliser votre réfrigerateur pour une période prolongée, utilisez le mode Absence.



Remarque
Il est fortement conseillé de vider le compartiment du réfrigérateur et de s'assurer que la porte est fermée.
Pour activer le mode Absence, tournez la molette du réfrigerateur de façon à sélectionner Vacation (Absence) ou (niveau à utiliser en cas d'absence). La température du réfrigerateur sera régulée en dessous de 17°C, mais le congélateur reste actif selon le réglage précédent. Le mode Absence sera automatiquement désactivé si vous réglez la température du réfrigerateur.
Opérations
Congélateur
TYPE A

Pour baisser la température pour un refroidissement renforcé, réglez la molette de contrôle sur 4 à 5. Pour augmenter la température pour un faible refroidissement, réglez la molette de contrôle sur 1 à 2.
TYPE B

Attention
- En hiver, ne placez pas la molette de contrôle sur le niveau 4 ou 5. Cela risquerait d'affecter la performance de refroidissement.
- En été, ne placez pas la molette de contrôle sur le niveau 1 ou 2. Cela risquerait également d'affecter la performance de refroidissement.
Réfrigerateur (Convertible)
Pour activer le mode Réfrigérateur pour le congélateur, tournez la molette Contrôle de la température du congélateur sur Fridge (Convertible) (Réfrigérateur (Convertible)) ou sur le niveau 8.
Une fois la configuration terminée, la température du congélateur est réglée sur environ 3°C
Remarque
Il est fortement conseillé de vider le compartiment du réfrigérateur et de s'assurer que la porte est fermée.
Fonctions spéciales
L'apparence réelle et les fonctions spéciales du réfrigérateur peuvent varier en fonction du modèle et du pays.
Fabrication de glaçons (modèles applicables uniquement)
Machine à glaçons à fond amovible


Type bac

- Ouvrez la porte du congélateur et faites glisser le bac à glaçons pour l'ouvrir.
- Remplissez le bac d'eau jusqu'au niveau maximum (A) repéré sur la partie intérieure arrière du bac.
- Faites glisser le bac jusqu'à ce qu'il soit à nouveau en place.
Remarque
Le temps de fabrication de glaçons dépend de vos réglages de température.
Remarque
Assurez-vous que le réservoir à glaçons est placé sous le bac. Pour distribuer les glaçons, tournez la poignée du réservoir vers la droite, ce qui permet de vider la moitié des glaçons dans le réservoir. Puis, tournez-la vers la gauche afin de vider l'autre moitié. Sortez le réservoir en le tordant légèrement et en le tirant vers l'avant.
Pour fabriquer des glaçons, remplissez le bac d'eau jusqu'au niveau maximum (A) repéré sur la partie intérieure arrêté du bac.
Opérations

Pour vider le bac à glaçons, tenez-le sur les deux extrémités et tordez-le légèrement pour retirer les glaçons.
Distributeur d'eau (modèles applicables uniquement)
Grâce au distributeur d'eau, vous obtenez de l'eau fraîche sans ouvrir la porte du réfrigérateur.
Remarque
Si vous continuez à pousser le levier du distributeur pendant environ 1 minute, le distributeur s'arrête pour des raisons de performance. Pour distribuer plus d'eau, attendez quelques secondes, puis réessayez.
Pour remplir la réserve d'eau

Lors de la première utilisation, nettoyez l'intérieur du réservoir d'eau et séchez-le bien.
- Tenez les deux poignées situées sur le devant du réservoir, puis tirez ce dernier à l'extérieur comme indiqué.
- Ouvrez le couvercle avant (A) du capot ou le capot entier (B), puis remplissez le réservoir d'eau (5 L d'eau maxi.).

Attention
Ne dépassez pas la ligne maximale pour que l'eau ne déborde pas.
- Réinsérez le réservoir d'eau et fixez-le dans le mécanisme de distribution. Assurez-vous que le côté avant (avec le couvercle avant) du réservoir est orienté vers le devant.

Attention
Assurez-vous que le réservoir d'eau est correctement fixé dans la clayette. Dans le cas contraire, le réservoir d'eau peut ne pas fonctionner correctement. - N'utilisez pas le réfrigérateur sans avoir inséré le réservoir d'eau. Cela pourrait diminuer la performance de refroidissement. - Remplissez le réservoir d'eau potable uniquement (eau minérale ou eau purifiée). N'utilisez pas d'autres liquides. - Soyez vigilant lorsque vous déplacez le réservoir rempli. Vous risquez de vous blesser si vous faites tomber le réservoir. - Ne tentez pas de démonter la pompe interne vous-même. Si la pompe interne est endommagée ou débranchée du réservoir d'eau, le distributeur ne fonctionne pas correctement.
Lors de la première utilisation
- Poussez le levier du distributeur pendant 10 secondes pour évacuer l'air contenu dans les tuyaux du système d'alimentation d'eau. Jetez les six premiers verres d'eau pour éliminer les impuretés contenues dans le système d'arrivée d'eau.
Pour distribuer de l'eau
Placez un verre sous la sortie d'eau et poussez légèrement contre le levier du distributeur avec votre verre.
Attention
Veillez à ce que le verre soit aligné avec le distributeur afin d'éviter que l'eau ne vous éclabousse. - Si vous n'utilisez pas le distributeur d'eau pendant 2 à 3 jours, l'eau distribuée peut avoir une odeur ou un goût étrange. Il ne s'agit pas d'un dysfonctionnement du système. Jetez le premier et les 2 premiers verres d'eau.
Machine à glaçons automatique (modèles applicables uniquement)
Lors de la première utilisation

- Patientez 1 à 2 jours avant de vous servir de la machine à glaçons.
- Jetez le premier ou les 2 premiers bacs à glaçons pour retirer les impuretés contenues dans le système d'alimentation d'eau. Lorsque le bac à glaçons supérieur est rempli, utilisez le bac à glaçons inférieur.
Bouton de test

Si la machine à glaçons automatique ne fabrique pas de glaçons, retirez le bac à glaçons et appuyez sur Test (A) pour vérifier si la machine à glaçons automatique fonctionne correctement.
Le distributeur d'eau
Grâce au distributeur d'eau, vous obtenez de l'eau sans ouvrir la porte du réfrigérateur. Le réservoir d'eau doit être rempli d'eau potable avant toute utilisation.
Pour remplir d'eau potable le réservoir d'eau
Ouvrez la porte et localisez le réservoir d'eau situé dans la zone de l'étagère de la porte.



- Tenez les poignées sur les deux côtés du réservoir d'eau et soulevez pour le retirer.
- Remplissez le réservoir d'eau de 2,3 litres d'eau potable maximum. Vous pouvez retirer le cache supérieur ou le capot et verser de l'eau.
Remarque
Lors de la première utilisation, nettoyez l'intérieur du réservoir d'eau. 3. Réinsérez le réservoir d'eau et fermez la porte. Assurez-vous que la sortie d'eau du réservoir d'eau soit orientée vers l'avant.
Opérations

- Posez un verre d'eau sous la sortie d'eau du distributeur, et poussez légèrement le levier du distributeur pour faire s'écouler l'eau. Assurez-vous que le distributeur d'eau est déverrouillé.
Attention
- Le distributeur d'eau est donc pour délivrer de l'eau potable. Remplissez le réservoir d'eau d'eau potable. Ne le remplissez pas d'un autre liquide.
- Ne remplissez pas le réservoir d'eau de manière excessive, sinon cela peut déborder. N'essayez pas de remplir le réservoir d'eau sans le retirer de la porte. Assurez-vous que le réservoir d'eau est correctement installé. N'utilisez pas le réfrigérateur sans le réservoir d'eau. Cela peut réduire l'efficacité et la performance. Pour éviter toute éclaboussure, assurez-vous que le verre est aligné avec le distributeur d'eau.
Remarque
Pour un gain de place, vous pouvez utiliser le réservoir d'eau pour stocker des alimentaires. Dans ce cas, retirez le couvercle du réservoir.


Bacs de la porte

Retirez d'abord le bac à glaçons, puis soulevez la clayette du congélateur pour la retirer.
Pour retirer une clayette, ouvrez d'abord la porte entièrement. Tirez la clayette vers l'avant, soulevez-la, puis retirez-la. - Lorsque vous réinsérez la clayette, assurez-vous que l'étiquette « Front » (Avant) de la clayette est orientée vers le devant. N'essayez pas de placer la clayette en la tordant.
Soulevez légèrement et retirez le bac de la porte.
Attention
Pour éviter tout accident, videz les bacs de la porte avant de les retirer.
Nettoyage
Retirez régulièrement toutes les substances étrangères telles que la poussière ou l'eau des fiches de la prise électrique et des points de contact à l'aide d'un chiffon sec.
- Débranchez le cordon d'alimentation du réfrigerateur.
- Mouillez légèrement un chiffon doux non pelucheux ou une serviette en papier pour nettoyer l'intérieur et l'extérieur du réfrigerateur.
- Ensuite, utilisez un chiffon sec ou une serviette en papier pour bien sécher les surfaces.
- Branchez le cordon d'alimentation pour allumer le réfrigérateur.
Remarque
Si vous avez retiré des parties amovibles telles que les clayettes afin de les nettoyer, reportez-vous à la disposition générale de la section « Composants fournis » pour confirmer la réinsertion correcte.
Avertissement
- Ne nettoyez pas le réfrigérateur avec du benzène, du diluant ou du nettoyant domestique/pour voiture comme Clorox™. Ces produits risquent d'endommager la surface du réfrigérateur et de provoquer un incendie.
- Évitez de vaporiser de l'eau directement sur le réfrigérateur. Cela est susceptible de provoquer un choc électrique.
- Ne mettez pas les doigts ni d'autres objets dans l'orifice du distributeur.
Filtre désodorisant (modèles applicables uniquement)

Tenez les côtés supérieurs et inférieurs du logement du filtre et déverrouillez-le pour que le filtre désodorisant (A) devienne visible. Remplacez le filtre, puis réinsérez le logement.
Ampoules
Les ampoules ne peuvent pas être remplacées par l'utilisateur. Pour changer les ampoules du réfrigérateur, contactez votre centre de service Samsung local.
Ampoule (source de lumière)
Ce produit contient une source lumineuse de classe d'efficacité énergétique.
La ou les ampoule(s) et/ou le ou les mécanisme(s) de commande ne sont pas remplacables par l'utilisateur.
Pour remplacer la ou les ampoule(s) et/ou le ou les mécanisme(s) de commande de l'appareil, contactez un centre de service Samsung local.
Pour obtenir les instructions détaillées de remplacement pour la ou les ampoule(s) ou pour le ou les mécanisme(s) de commande de votre appareil, rendez-vous sur le site Internet de Samsung (http://www.samsung.com), allez dans Assistance > Assistance sur la page d'accueil, puis saisissez le nom du réseau.
Pour obtenir les instructions détaillées de démontage pour la ou les ampoule(s) et/ou pour le ou les mécanisme(s) de commande, suivez simplement les instructions de remplacement fournies, tel que décrit ci-dessus.
Dépannage
Lorsque vous avez un problème avec votre réfrigérateur, vérifiez d'abord le tableau ci-dessous et suivez les recommandations.
Généralités
| Symptôme | Action |
| Ne fonctionne pas ou ne refroidit pas. | • Assurez-vous que le cordon d'alimentation est correctement branché. • Assurez-vous que la température est correctement régée. • Assurez-vous que le réfrigerateur n'est pas exposé à la lumière directe du soleil et qu'il n'est pas à proximité d'une source de chaleur. Le non-respect de ces consignes peut afferter la performance de refroidissement. • Assurez-vous qu'il y a suffisamment d'espace entre le réfrigerateur et les murs arrêtés et latéraux ou l'armoire. Le non-respect de ces consignes peut affercer la performance de refroidissement. • Une quantité trop importante d'aliments peut bloquer la ventilation du réfrigerateur. Pour maintenir le bon fonctionnement du réfrigerateur, ne place pas trop d'aliments dedans. |
| Les aliments dans le réfrigerateur sont gelés. | • Vérifiez si la molette de contrôle est réglée sur la température la plus BASSE. Si c'est effectivement le cas, modifierie la température avec un réglage plus élevé ou optimal ou réglez-la sur **. • Cela peut se produit si la température ambiente est trop faible. Augmentez la température. • Vérifiez si des aliments à force teneur en eau sont stockés dans la partie la plus froide du réfrigerateur ou pres des grilles de refroidissement. Si c'est le cas, déplacez les aliments sur une autre clayette dans le réfrigerateur. |
| Émet des bruits. | • Assurez-vous que le réfrigerateur est installé sur une surface stable et plane. • Assurez-vous qu'il y a suffisamment d'espace entre le réfrigerateur et les murs arrêtés et latéraux ou l'armoire. • Veillez à ce qu'il n'y ait pas d'imputétés ou de corps étrangers à l'intérieur ou sous le réfrigerateur. • Unclistuetis provenant de l'intérieur du réfrigerateur peut être audible si les différentes parties amovibles se rétractent ou se distendant. Il ne s'agit pas d'un dysfonctionnement du système. |
| Les coins avant et latéraux deviennent chauds et forment de la condensation. | • Pour prévenir de la condensation, le réfrigerateur est équipède tuyaux résistants à la chaleur dans les coins avant. Lorsque la température ambiente augmente, cet équipèment peut ne pas fonctionner correctement. Il ne s'agit pas d'un dysfonctionnement du système. • De la condensation peut se former sur la surface extérieure du réfrigerateur si de l'air humide entre en contact avec la surface froide du réfrigerateur. |
| La machine à gaçons ne produit pas de glace. | • Vous doivent attendre 12 heures jusqu'à ce que le réfrigérateur produise de la glace. • Assurez-vous que la machine à gaçons n'est pas arrêtée pendant qu'elle produit de la glace. • Assurez-vous que la tempête du congealteur est réglée en-dessous de 0 °C (ou -5 °C lorsque l'air ambiant est chaud). • Assurez-vous que le réservoir d'eau est rempli d'eau. |
| Le distributeur d'eau ne fonctionne pas. | • Vérifiez si le réservoir d'eau est gelé. Si c'est le cas, Sélectionnez une tempête plus élevé du réfrigérateur. • Assurez-vous que le réservoir d'eau est rempli d'eau. • Assurez-vous que le réservoir d'eau est correctement installé. • Assurez-vous que le filtre à eau est correctement installé. |
| Produit des bruits de bouillonnement. | • Le réfrigérateur produit ce son lors du processus de refroidissement ; c'est normal. |
| Une mauvaise oedur provient du réfrigérateur. | • Vérifiez qu'il n'y a pas d'aliments périmés. Nous vous recommendons de nettoyer régulièrement le réfrigérateur et desterolir tout aliment périmé ou suspect. • Assurez-vous que les aliments à forté odeur sont emballés de manière hermétique. |
| Du gel se forme sur les parois intérieures. | • Assurez-vous qu'aucun aliment ne bloque les orifices de ventilation du réfrigérateur. Il est également important de désposer les aliments de manière homogène pour la ventilation. • Assurez-vous que la portec est correctement fermée. |
| De la condensation se forme sur les parois intérieures ou autour des légumes. | • Cela se produit si des aliments à forté teneur en eau sont stockés sans être couverts ou si la portec est restée ouvertependant une durée prolongée. • Assurez-vous de couvrir les aliments ou placez-les dans des éléments hermétiques. |
Consignes de sécurité
Pour garantir l'utilisation la plus optimale de l'énergie, veuillez laisser tous les accessoires internes tels que les paniers, les tiroirs, les clayettes et le bac à glaçons sur leur position indiquée par le fabricant. - Cet appareil de réfrigération n'est pas destiné à être utilisé comme appareil encastré.
Pour les appareils de réfrigération avec classe climatique
Selon la classe climatique, cet appareil de réfrigération est destiné à être utilisé dans une plage de températures ambiantes telle que spécifiée dans le tableau suivant.
La classe climatique figure sur la plaque signalétique. L'appareil peut ne pas fonctionner correctement s'il est utilisé à des températures situées en dehors de la plage spécifique.
La classe climatique figure sur l'étiquette apposée à l'intérieur de votre réfrigérateur.
Plage de température efficace
Le réfrigérateur a été créé pour un fonctionnement normal dans la plage de températures spécifique par sa classe énergétique nominale.
| Classe | Symbole | Plage de températures ambiente (°C) | |
| IEC 62552 (ISO 15502) | ISO 8561 | ||
| Climat tempéré étendu | SN | +10 à +32 | +10 à +32 |
| Climat tempéré | N | +16 à +32 | +16 à +32 |
| Climat subtropical | ST | +16 à +38 | +18 à +38 |
| Climat tropical | T | +16 à +43 | +18 à +43 |

Remarque
Les performances de refroidissement et la consommation électrique du réfrigerateur peuvent être affectées par la température ambiante, la fréquence d'ouverture de la porte et l'emplacement du réfrigerateur. Nous vous recommandons de régler les réglages de température comme approprié.
Température recommandée
Réglage de température optimal pour le stockage d'aliments :
- Réfrigérateur : 3°C Congélateur : -19°C
- Réfrigérateur avec Congélateur convertible : 3 °C
- Modèles à bouton : réglage de température optimal pour le stockage d'aliments
- Réfrigérateur : 3 niveaux (3 °C) / Congélateur : 3 niveaux (-19 °C)
Remarque
La température optimale de chaque compartiment dépend de la température ambiante. La température optimale ci-dessus a été déterminée pour une température ambiante de 25°C.
Refroidissement rapide
La fonction Refroidissement rapide accélère le processus de refroidissement avec le ventilateur à vitesse maximale. Le réfrigérateur continue de fonctionner à vitesse maximale pendant deux heures et demie, avant de revenir à la température précédente.
Congélation rapide
La fonction Congélation rapide accélère le processus de congélation avec le ventilateur à vitesse maximale. Le congélateur fonctionne à vitesse maximale durant 50 heures avant de revenir à la température précédente. Pour congeler une grande quantité d'aliments, activez la fonction Congélation rapide au moins 20 heures avant de placer les aliments dans le congélateur.
Remarque
Lorsque vous utilisez cette fonction, la consommation d'énergie du réfrigerateur augmente. N'oubliez pas de la désactiver lorsque vous n'en avez plus besoin et de régler à nouveau la température d'origine.
Conseils de stockage pour une préparation optimale (modèle applicables uniquement)
Recouvre les aliments afin de conserver leur humidité et éviter qu'ils ne recaptent les odeurs des autres alimentés. Pour une grande casserole contenant des alimentés tels que de la soupe ou un ragôt, veuillez répartir son contenu en plusieurs portions plus petites que vous mettrez dans des écipients peu profonds avant de les mettre au réfrigerateur. Pour un gros morceau de viande ou un poulet entier, veuillez le couper en morceaux de plus petite taille ou le placer dans des écipients peu profonds avant de le mettre au réfrigerateur.
Positionnement des alimentés
| Clayettes | Les clayettes sont régables afin de pouvoir les adapter aux divers emballages. |
Annexe
| Compartment spécialisé (modèles applicables uniquement) | Les tiroirs à légumes étanches offrent un environnement de stockage optimal pour les fruits et légumes. Les légumes requisérant un taux d'humidité élevé tandis que les fruits ont besoin d'un faible taux d'humidité. Les tiroirs à légumes sont équipés de dispositifs de contrôle permettant de réguler le taux d'humidité. (‘Selon le modele et les options disponibles) Un tiroir à viande à température réglable optimise le temps de stockage des viandes et fromages. |
| Stockage dans la porte | Ne stockez pas les denrées périssables dans la porte. Les øeufs doivent être stockés dans leur emballage en carton sur une clayette. La température des bacs de stockage de la porte fluctue davantage que celle dans le compartment. Maintenez la porte fermée le plus possible. |
| Compartment du congélateur | You pouvez stocker des alimentés surgelés, faire des glacons et congeler des alimentés frais dans le compartment du congélateur. |

Remarque
Congelez uniquement des aliments frais et non abimés. Conservez les aliments devant être congelés loin des aliments déjà congelés. Pour prévenir la perte de saveur ou le séchage des aliments, placez-les dans des récipients hermétiques.
Tableau des périodes de stockage au réfrigérateur et au congélateur
La durabilité de la fraîcheur des aliments dépend de la température et de l'exposition à l'humidité. Étant donné que les dates des produits n'indiquent pas comment utiliser les produits en toute sécurité, reportez-vous à ce tableau et suivez les conseils qui y figurent.
Produits laitiers
| Produit | Réfrigérateur | Congélateur |
| Lait | 1 semaine | 1 mois |
| Beurre | 2 semaines | 12 mois |
| Crème glacée | - | 2 à 3 semaines |
| Fromage naturel | 1 mois | 4 à 6 mois |
| Fromage à la crème | 2 semaines | Non recommendé |
| Yaourt | 1 mois | - |
Vande
| Produit | Réfrigérateur | Congélateur |
| Rôtis frais, steaks frais, côtelettes fraîches | 3 à 4 jours | 2 à 3 mois |
| Viande crue fraîche, bœuf à braiser | 1 à 2 jours | 3 à 4 mois |
| Bacon | 7 jours | 1 mois |
| Saucisses, viande crue de porc, bœuf, dinde | 1 à 2 jours | 1 à 2 mois |
Volaille / Œufs
| Produit | Réfrigérateur | Congélateur |
| Vande de volaille fraîche | 2 jours | 6 à 8 mois |
| Salade à la volaille | 1 jour | - |
| CEufs, frais dans leur coquille | 2 à 4 semaines | Non recommendé |
Poisson / Fruits de la mer
| Produit | Réfrigérateur | Congélateur |
| Poisson frais | 1 à 2 jours | 3 à 6 mois |
| Poisson cuit | 3 à 4 jours | 1 mois |
| Salade au poisson | 1 jour | Non recommendé |
| Poisson séché ou mariné | 3 à 4 semaines | - |
Fruits
| Produit | Réfrigérateur | Congélateur |
| Pommes | 1 mois | - |
| Pêches | 2 à 3 semaines | - |
| Ananas | 1SEMaine | - |
| Autres fruits frais | 3 à 5 jours | 9 à 12 mois |
Annexe
Légumes
| Produit | Réfrigérateur | Congélateur |
| Asperges | 2 à 3 jours | - |
| Broccoli, choux de Bruxelles, petits pois, championons | 3 à 5 jours | - |
| Chou, chou-fleur, céléri, concombre, laitue | 1 semaine | - |
| Carottes, betteraves, radis | 2 semaines | - |
Informations du modèle
Pour accéder à l'enregistrement EPREL du modèle :
- Allez sur le site Internet https://eprel.ec.europa.eu.
- Trouvez l'identifiant du modèle sur l'étiquette énergétique de l'appareil et saisissez-le dans le champ de recherche.
- Les informations relatives à l'étiquetage énergétique du modèle s'affichent.
Informations sur les pièces
- Période minimale de disponibilité des pièces de rechange nécessaires à la réparation de l'appareil
- 7 ans pour les thermostats, capteurs de température, cartes de circuit imprimé et sources d'éclairage, poignées de porte, charnières de porte, bacs, paniers (boîtes ou tiroirs)
- 10 ans pour les joints de porte La perte de minimale de garantie fournie par le fabricant pour l'appareil de réfrigération est de 24 mois.
- Informations pertinentes pour commander des pièces de rechange, directement ou via d'autres intermédiaires proposés par le fabricant, l'importateur ou le représentant agréé
- Vous trouvez des informations pour une réparation par des professionnelles sur le site Internet http://samsung.com/support. Vous trouvez le guide de réparation pour l'utilisateur sur le site Internet http://samsung.com/support.
Mémo
Comment contacter Samsung dans le monde
Si vous avez des suggestions ou des questions concernant les produits Samsung, veuillez contacter le Service Consommateurs Samsung.
| Pays | Centre d'appels | Site Internet |
| FRANCE | 01 48 63 00 00 | www.samsung.com/fr/support |



DA68-03383L-08
Notice Facile