L4030FHD - Téléviseur PROLINE - Notice d'utilisation et mode d'emploi gratuit
Retrouvez gratuitement la notice de l'appareil L4030FHD PROLINE au format PDF.
| Taille de l'écran | 40 pouces |
| Type d'écran | LED |
| Résolution | Full HD (1920x1080) |
| Format d'image | 16:9 |
| Connectivité HDMI | Oui, plusieurs ports |
| Connectivité USB | Oui |
| Compatibilité 3D | Non précisé |
| Smart TV | Non précisé |
| Audio | Stéréo intégré |
| Consommation électrique | Non précisé |
| Dimensions (LxHxP) | Non précisé |
| Poids | Non précisé |
| Type de télécommande | Standard |
| Fonction enregistrement | Non précisé |
| Entrée antenne | Oui |
| Langues du menu | Multilingue |
FOIRE AUX QUESTIONS - L4030FHD PROLINE
Questions des utilisateurs sur L4030FHD PROLINE
Si votre téléviseur PROLI NE L4030FHD démarre mais reste bloqué en boucle sur le logo, cela indique un problème de démarrage qui peut être lié au logiciel ou à une erreur matérielle. Voici plusieurs étapes à suivre pour tenter de résoudre ce problème :
1. Débrancher et redémarrer
- Éteignez votre téléviseur et débranchez-le de la prise électrique.
- Attendez environ 5 à 10 minutes pour permettre une décharge complète.
- Rebranchez-le puis rallumez-le pour voir si le problème persiste.
2. Vérifier les connexions externes
- Assurez-vous que tous les câbles (alimentation, HDMI, antenne) sont bien connectés et en bon état.
- Débranchez tous les périphériques externes (box TV, consoles, clés USB) puis tentez de démarrer le téléviseur sans eux.
3. Forcer une réinitialisation
- Appuyez sur le bouton d'alimentation du téléviseur et maintenez-le enfoncé pendant environ 10 secondes.
- Relâchez le bouton et attendez que l'appareil redémarre.
4. Mettre à jour le firmware
- Si vous parvenez à accéder au menu du téléviseur, vérifiez la présence d'une mise à jour du firmware.
- Installez toute mise à jour disponible, car cela peut corriger des bugs liés au démarrage.
5. Contacter le service après-vente
Si aucune de ces solutions ne fonctionne, il est possible que le problème soit matériel ou nécessite une intervention technique. Dans ce cas, contactez le service client PROLI NE ou un professionnel qualifié pour une assistance plus approfondie.
La fonction HDMI CEC (Consumer Electronics Control) permet de contrôler plusieurs appareils connectés via HDMI avec une seule télécommande. Pour associer cette fonction entre votre téléviseur PROLI NE L4030FHD et votre décodeur Orange, suivez les étapes ci-dessous :
1. Vérifiez la compatibilité
Assurez-vous que votre décodeur Orange et votre téléviseur PROLI NE L4030FHD prennent en charge la fonction HDMI CEC. Cette fonction peut porter différents noms selon les marques, mais elle est généralement disponible sur les téléviseurs récents.
2. Activez HDMI CEC sur le téléviseur PROLI NE L4030FHD
- Allumez votre téléviseur.
- Accédez au menu Paramètres ou Réglages via la télécommande.
- Recherchez une section liée aux paramètres HDMI ou à la gestion des périphériques.
- Activez l'option HDMI CEC. Sur certains modèles, cette fonction peut s'appeler CEC, HDMI Control ou un nom similaire.
3. Activez HDMI CEC sur le décodeur Orange
- Allumez votre décodeur Orange.
- Accédez au menu des Paramètres du décodeur à l'aide de sa télécommande.
- Dans les options HDMI ou système, activez la fonction HDMI CEC (parfois appelée EasyLink ou Contrôle HDMI).
4. Testez la connexion
Une fois les deux appareils configurés, testez la fonctionnalité :
- Utilisez la télécommande du décodeur Orange pour allumer ou éteindre le téléviseur.
- Vérifiez que le volume ou d'autres commandes fonctionnent également si la fonction est bien active.
Si la fonction ne fonctionne pas immédiatement, essayez de débrancher puis rebrancher les câbles HDMI, ou redémarrez les appareils. Assurez-vous aussi d'utiliser un câble HDMI compatible avec la fonction CEC.
Téléchargez la notice de votre Téléviseur au format PDF gratuitement ! Retrouvez votre notice L4030FHD - PROLINE et reprennez votre appareil électronique en main. Sur cette page sont publiés tous les documents nécessaires à l'utilisation de votre appareil L4030FHD de la marque PROLINE.
MODE D'EMPLOI L4030FHD PROLINE
Commandes de la partie principale 9
Vue avant. 9 Vue arrière et latérale. 10
Pour commencer 12
Fonctionnement de la télécommande 12 Mise en place des piles de la télécommande. 12 Changement des piles. 12
Branchements et installation 13
Branchements des câbles 13
Télécommande 14
Fonctions de base 16
GUIDE RAPIDE DE DEMARRAGE. 16 Allumer/eteindre le téléviseur. 16 Slection de programme. 17 Réglage du volume. 17 Changement de source d'entrée 17 Navigation dans les menus. 17
Menu Image 18 Menu Son 19 Menu Chaîne 20 Menu Verrouillage système 22 Menu Configuration 22 Mode USB 25
Touches importantes. 29
GUIDE DE PROGRAMMES 29 Liste des chaînes 29 Liste des favoris 29
Télétexte 30
Fonction têteixe 30
Guide de dépannage 31
Dépannage 31 Entretien 35
Fiche produit 36
Informations réglementaires
Cet appareil génère, utilise et peut émettre de l'énergie à haute fréquence. S'il n'est pas installé et utilisé d'une manière conforme au mode d'emploi du fabricant, il peut provoquer des interférences avec les communications radio. Cependant, la possibilité d'une interférence dans une installation donnée n'est pas entièrement exclue. Si cet équipement provoque des interférences nuisibles avec la réception radiophonique ou télévisuelle, interférences mises en évidence par la mise en marche et l'arrêt de l'appareil, vous pouvez essayer de les corriger en utilisant les méthodes suivantes:
- Changer l'orientation de l'antenne de réception.
- Éloigner l'appareil du récepteur.
- Brancher l'appareil sur une autre prise pour faire en sorte que l'appareil et le récepteur se trouvent sur différents circuits.
- Consulter le magasin d'achat ou un technicien radio/télévision expérimenté pour des suggestions supplémentaires.
Les changements ou modifications n’ayant pas été expressément approuvés par la partie responsable de la conformité peuvent annuler l’autorisation de l’utilisateur à manipuler cet équipement.
Attention
N'essayez pas d'apporter des modifications à ce produit sans autorisation écrite préalable du fournisseur. Toute modification non autorisée peut entraîner la perte du droit d'utilisation de ce produit. Il est déconseilé de garder à l'écran une image fixe sur une longue durée, ou d'afficher à l'écran une image extrêmement claire.
Lors de l'installation du téléviseur, laissez un espace d'au moins 10 cm entre le téléviseur et tout autre objet (mur, parois du meuble etc.) afin d'assurer une aération suffisante. Une aération insuffisante peut être à l'origine d'un incendie ou d'autres problèmes liés à la hausse de la température interne de l'appareil.
Température de fonctionnement: de 0°C à 40°C Humidité en fonctionnement: ≤80% Température de stockage: de -20°C à 60°C Humidité de stockage: ≤90%
Les chiffres et les illustrations du mode d'emploi sont disponibles à titre de référence seulement, et peuvent ne pas correspondre au produit effectif. Le design et les spécifications de l'appareil sont susceptibles d'être modifiés sans préavis.
Alimentation
Ce téléviseur est donc destiné à être alimenté par une prise de courant alternatif de 100-240V~50/60Hz. Toute autre source d'alimentation est susceptible de l'endommager. Avant de le brancher pour la première fois, vérifie que la plaque signalétique (située derrière) indique bien AC 100-240V. Le fabricant ne saurait être tenu responsable des dommages corporels ou matériels résultant du branchement de l'appareil sur une prise dont la tension est inadéquate.
Prise mâle
- Ce téléviseur est équipé d'une prise mâle standard.
- Si le câble d'alimentation est endommagé, il doit être remplacé par un câble de type et de spécifications identiques, pour des raisons de sécurité. Si vous nevez couper le câble pour quelque raison que ce soit, détruisez impérativement la prise ancienne car elle pourrait être dangereuse une fois insérée dans une prise de courant sous tension. Suivez attentivement les instructions de montage fournies avec la nouvelle prise. Si la prise est munie d'un fusible, enlevez-le avant de la jeter.
- Une prise avec fusible ne doit en aucun cas être utilisée sans le couvercle du fusible en place.
- La prise mâle sert à déconnecter l'appareil de l'alimentation et doit donc rester accessible en permanence.

Cet appareil contient des pièces sous haute tension pouvant représenter un risque d'électrocution.

Cet appareil est équipé d'une double isolation; il n'est donc pas indispensable de le relier à la terre.

Ce symbole indique que l'appareil est conforme aux normes européennes de sécurité et de compatibilité électromagnétique.

La documentation accompagnant cet appareil contient d'importantes instructions d'utilisation et d'entretien.
Utilisation et entretien du téléviseur en toute sécurité
Ce téléviseur a été créé et fabriqué conformément aux normes européennes de sécurité; néanmoins, comme pour tout appareil électrique, il est indispensable d'en prendre soin afin de garantir une utilisation optimale et sans danger. Suivez les recommandations ci-dessous. Lisez attentionivement le mode d'emploi avant d'utiliser le téléviseur pour la première fois.
Prenez soin du câble. Faites en sorte qu'il ne risque pas d'être piétiné, écrasé, coupé, déchiré ou coincé.
Coupez l'alimentation ou débranchez le téléviseur avant de le laisser sans surveillance sauf si son fonctionnement nécessite qu'il reste sous tension en
Évitez d'utiliser l'appareil dans un environnement difficile (pièces humides, mouillées ou très poussiéreuses, air très humide, fortes vibrations, températures très élevées ou très basses, emplacement trop ensoleillé).
N'essayez en aucun cas de monter le téléviseur sur un support ou socle improvisé.
Aucun objet ne doit être introduit dans les trous et les orifices de ventilation.
Afin d'éviter tout risque de choc électrique, n'enlevez aucun panneau de l'appareil.
L'écran LED chauffe lorsque l'appareil est allumé, ce phénomène est normal et n'indique pas un dysfonctionnement; ne touchez pas l'écran.
En cas de panne, n'essayez pas de réparer l'appareil par vous-même : faites examiner l'appareil par un réparateur qualifié.
Pendant les orages, débranchez l'appareil et déconnectez l'antenne.
Aération
Le téléviseur doit être placé sur une surface plane et dure, non exposée à la lumière du soleil et à l'écart de toute source de chaleur. S'il est installé dans un placard, laissez un espace de 10 cm tout autour. Faites en sorte que les ouvertures de ventilation ne risquent pas d'être obstruées par des tissus mous, notamment celles situées sous l'appareil.
La surchauffe augmente le risque d'incendie et raccourcit la durée de vie du téléviseur.
Nettoyage
Débranche l'appareil. Nettoyez-le avec un chiffon doux légèrement humide.
N'utilisez pas de solvants chimiques ou de détergents durs, vous risqueriez d'abîmer le boîtier ou l'écran.
Ne laissez en aucun cas des gouttes d'eau sur l'écran, car l'humidité peut causer des décolorations irréversibles.
Les tâches gratuites ne peuvent être enlevées qu'à l'aide de produits de nettoyage disponibles dans le commerce et spécifiquement conçus pour le nettoyage des écrans LED.
Fatigue oculaire
En cas d'utilisation de cet appareil comme moniteur d'ordinateur, les experts de la santé et de la sécurité conseillent de faire des pauses courtes et fréquentes que de longues pauses plus espacées. Ainsi, une pause de 5-10 minutes au bout d'une heure de travail continu sur l'écran est préférable à une pause de 15 minutes toutes les 2 heures seulement.
Orientez l'écran de manière à ce que les sources lumineuses (éclairage ou rayons du soleil) ne puissent pas frapper directement la face avant de l'écran.
Enlevez les piles avant de laisser la télécommande inutilisée pendant longtemps. Si les piles sont laissées dans l'appareil, celui-ci peut être endommagé par les fuites de liquide de pile corrosif; de tels dommages ne sont pas couverts par la garantie.
Afin de protégér l'environnement, faites en sorte que les piles usagées soient recyclées dans les centres prévus à cet effet.
Les piles usagées doivent être mises au rebut d'une manière conforme aux instructions.
ATTENTION: Il y a danger d'explosion si les piles sont insérées à l'envers. Les piles doivent toujours être remplacées par des piles du même type ou d'un type équivalent.
Branchement du câble d'alimentation
La plupart des appareils doivent de préférence être branchés sur un circuit à part, c'est-à-dire un circuit comportant une seule prise qui ne sert à alimenter que l'appareil en question et ne comporte aucune autre prise supplémentaire et aucun circuit secondaire.
Évitez de surcharger les prises de courant. Il est dangereux de surcharger les prises et d'utiliser des prises défaites ou endommagées, des rallonges, des câbles emmêlés ou des fils électriques dont la gaine isolante est fissurée ou endommagée. N'importe lequel de ces facteurs peut être à l'origine d'un incendie ou d'un choc électrique. Examinez régulièrement le câble de l'appareil, et s'il a l'air abîmé ou endommagé, arrêtez d'utiliser l'appareil, débranchez-le et faites changer le câble par un réparateur/agréé.
ATTENTION: Régalez le volume au minimum avant de brancher le casque, puis augmentez-le si nécessaire. L'écoute prolongée avec un casque à un volume élevé peut provoquer une perte d'acuité auditive.
Débranchement
La prise mâle est le principal moyen de déconnexion de l'appareil et doit donc rester accessible en permanence.
Attention
Cet appareil est exclusivement destiné à une utilisation domestique et ne doit pas être utilisé d'une autre manière ou pour d'autres applications, notamment dans un environnement non-domestique ou commercial. Si le fil est endommagé, il doit être remplacé par le fabricant, son agent de réparation ou une personne de qualification équivalente, pour des raisons de sécurité. L'appareil ne doit pas être exposé à des éclaboussures, ni à des gouttes d'eau. Ne placez pas d'objet contenant un liquide (ex: vase) sur l'appareil. Aucune source de flamme nue (ex: bougie allumée) ne doit être placée sur l'appareil. Veillez à ce que les ouvertures de ventilation ne soient jamais obstruées par quelque objet que ce soit (ex: journaux, nappe, rideaux etc.). ATTENTION: Afin d'éviter tout risque de blessure, cet appareil doit être solidement fixé au sol ou au mur de la manière indiquée dans la notice d'installation. Cet appareil ne convient pas pour une utilisation sous un climat tropical.
MISES en GARDE générales
- Ne placez pas l'appareil à proximité de sources de chaleur (radiateurs, grilles de distribution de chauffage, réchauds) ou de tout autre appareil produisant de la chaleur (y compris les amplificateurs).
- Pour réduire les risques d'incendie ou de choc électrique, n'exposez pas cet appareil à la pluie, ni à l'humidité.
- N'entravez pas la fonction de sécurité de la fiche si elle est polarisée ou compte une mise à la terre. Une prise polarisée compte deux broches, dont l'une plus large que l'autre. Une prise avec mise à la terre compte deux broches plus un contact de mise à la terre. La troisième broche ou lame large est fournie pour des raisons de sécurité. Si vous n'arrivez toujours pas à insérer la prise, contactez un électricien pour qu'il remplace la prise électrique obsolete.
- Disposez le câble de manière à ce qu’il ne puisse pas être piétiné ou écrasé, notamment au niveau de la prise mâle, de la prise de courant et du connecteur de branchement sur l’appareil.
- Utilisez uniquement les pièces de rechange/accessoires spécifiés par le fabricant.
- N'utilisez pas d'autre chariot, pied, support, trépied ou table que ceux spécifiés par le fabricant ou vendus avec l'appareil. En cas d'utilisation sur un chariot, soyez très vigilant lors du déplacement du chariot avec l'appareil dessus, afin d'éviter les blessures pouvant résulter d'une chute de l'appareil.
- Débranchez l'appareil pendant les orages et avant de le laisser inutilisé pendant longtemps (avant un départ en vacances, par exemple).
- Toute réparation doit être confiée à un réparateur qualifié. Faites réviser l'appareil s'il a été endommagé de quelque manière que ce soit, par exemple s'il a reçu des éclaboussures, s'il des objets sont tombés dedans, s'il a été exposé à la pluie ou à l'humidité, s'il a subi une chute, s'il ne fonctionne pas normalement ou si le câble ou la prise sont endommagés.
- Cet appareil est conçu pour fonctionner dans une température ambiantesituée entre 0 et 45°C.
- L'exposition à une décharge electrostatique peut causer un dysfonctionnement de l'appareil, que vous pourrez résoudre manuellement en l'éteignant puis en le rallumant.
Mise au rebut
- Ce produit ne doit pas être jeté avec les ordures ménagères.
- La mise au rebut de ce produit doit s'effectuer d'une manière conforme aux réglementations locales en vigueur.
Remarque
- Si le téléviseur est froid au toucher, il est possible que l'image vacille un instant lors de la mise sous tension. Ce phénomène est normal et n'indique pas un dysfonctionnement de l'appareil.
- Vous verrez peut-être parfois des pixels inactifs à l'écran, sous forme de points fixes bleus, rouges ou verts. Veuillez noter que ce phénomène n'affecte pas le fonctionnement de l'appareil.
- Évitez de toucher l'écran ou de poser vos doigts dessus pendant longtemps : cela peut produire une distorsion temporaire de l'image.
- Placez un objet mou et rembourré sur une surface plane ; ainsi, l'écran LED ne risquera pas d'être abimé.
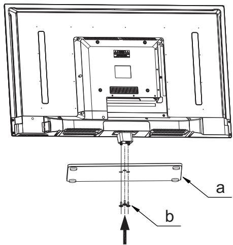
Puis posez le moniteur du téléviseur au-dessus, avec l'écran vers le bas, et fixez le socle à la colonne de la manière indiquée sur l'illustration ci-dessous.

- Fixez le socle à la colonne de support avec les trois vis fournies (4 x 12 mm), comme montré sur le schéma ci-dessus.
(Model: L4030FHD LED)

Montage mural
Ce téléviseur peut être monté sur un mur à l'aide d'un kit de montage mural VESA 200mm x 200mm vendu séparément.
Montez le téléviseur de la manière indiquée dans le mode d'emploi fourni avec le kit de montage. Faites attention à la présence éventuelle de câbles électriques ou de conduites d'eau ou de gaz dans le mur. En cas de doute, faites appel à un professionnel qualifié pour l'installation.
La longueur du filetage de la vis dans le téléviseur ne doit pas dépasser 10 mm pour les vis du bas et 13 mm pour les vis du haut.
Pour savoir où acheter le kit de montage VESA, renseignez-vous au magasin où vous avez acheté l'appareil.
Vue avant


- CH + / CH - : Changer de chaîne
- VOL-/VOL+: Régler le volume
- MENU : Accéder au menu
- : Choisir la source d'entrée
- Bouton marche/arrêt
- Capteur: Capteur infrarouge
- Alimentation: Témoin lumineux d'alimentation
Commandes de la partie principale
Vue arrière et latérale:
(Modèle: L4030FHD LED)

- AV (entrée de signal audio/video)
- SCART (prise Péritel)
- Audio PC/DVI
- Prise d'antenne
- Coaxial
- Périphérique USB
- Port pour carte CI
- HDMI 1, 2 et 3
- Prise de casque
- Entrée composite
Fonctionnement de la télécommande
Pour utiliser la télécommande, visez le capteur situé sur le téléviseur. Tout obstacle situé entre la télécommande et le capteur est susceptible de bloquer le signal.
Dirigez la télécommande vers le CAPTEUR INFRAROUGE situé sur le téléviseur. Si le téléviseur se trouve dans un endroit très éclairé, le CAPTEUR INFRAROUGE peut ne pas fonctionner correctement. La portée maximale de la télécommande est d'environ 7 mètres.
Mise en place des piles de la télécommande
- Faites coulisser vers l'arrière le couvercle des piles de la télécommande.
- Insérez deux piles de type AAA. (non fournies) Faites attention à bien respecter les indications de polarité (+/-).
- Remettez le couvercle en place.



Changement des piles
Une diminution significative de la portée de la télécommande est le signe que les piles sont bientôt épuisées et doivent donc être changées.
Remarques concernant l'utilisation des piles:
L'utilisation d'un type de piles incorrect peut entraîner une fuite de produit chimique et/ou une explosion. Veuillez noter les points suivants:
Les piles doivent impérativement être insérées avec les pôles + et - dans le bon sens, comme indiqué dans le compartiment des piles. Les piles de types différents ont des spécifications différentes. Ne mélangez pas des piles de types différents. Évitez d'utiliser conjointement des piles neuves et des piles usagées. Le fait d'utiliser conjointement des piles neuves et des piles usagées peut raccourcir la durée de vie des piles et/ou entraîner une fuite de produits chimiques. Changez les piles dès qu'elles ne marchent plus. Les fuites de produits chimiques des piles peuvent provoquer des irritations cutanées. Si du liquide chimique s'échappe des piles, essuyez-le immédiatement avec un chiffon sec. Les conditions de rangement peuvent raccourcir la durée de vie des piles. Enlevez les piles à chaque fois que vous anticipé que la télécommande ne va pas être utilisée pendant longtemps. Les piles ne doivent pas être exposées à une chaleur excessive (lumière du soleil, feu etc.).
Branchements des câbles
Veuillez lire attentivement cette section avant d'installer et d'utiliser l'appareil.
- Sortez le téléviseur de son emballage et placez-le sur une surface stable. Attendez que le téléviseur soit à la température ambiante de la pièce avant de le brancher.
Remarque:
Avant de brancher ou débrancher un téléviseur, un ordinateur ou un autre appareil, assurez-vous que celui-ci est déjà éteint ; pour débrancher le câble d'alimentation ou le câble de signal, tirez toujours sur la prise mâle (sa partie isolante), jamais sur le câble.
- La prise de sortie RF peut être reliée à la prise d'entrée RF du téléviseur.
- La prise de sortie AV du lecteur DVD peut être reliée à la prise d'entrée AV du téléviseur par l'intermédiaire d'un câble AV.
Remarque :
Les entrées AV et composite ne peuvent pas être utilisées en même temps car elles partagent la même entrée audio.
- La prise de sortie COMPOSITE (YPbPr) du lecteur DVD peut être reliée à la prise d'entrée COMPOSITE (YPbPr) du téléviseur par l'intermédiaire d'un cable AV.
- Connectez une extrémité du câble VGA au port VGA de votre ordinateur, reliez l'autre extrémité au port VGA du téléviseur et serrez les verrous à chaque bout du câble en les tournant dans le sens des aiguilles d'une montre.
Remarque :
Évitez de forcer lors du branchement de la prise VGA à 15 broches.
- Connectez une extrémité du câble HDMI au port de sortie HDMI, et reliez l'autre bout au port HDMI du téléviseur.
Remarque :
Évitez de forcer lors du branchement de la prise HDMI.
Quand vous branchez un câble HDMI et que le fichier est au format VGA ou DVI, vous devez brancher un câble PC/VGA pour obtenir le son.
- La prise Péritel permet de relier le téléviseur à un périphérique externe.
- La sortie audio numérique permet d'écouter le son du téléviseur sur des périphériques audio.
- Vérifiez que tous les câbles AV sont bien reliés aux ports correspondants.
- Branchez le câble d'alimentation sur une prise de courant alternatif de 100-240V-.
Remarque:
La gamme de puissance d'entrée du téléviseur est de 100-240V~, 50/60Hz. Evitez de connecter l'entrée d'alimentation du téléviseur à une alimentation CA dont la tension est supérieure à la gamme ci-dessus. Débranchez toujours le câble en tenant la prise mâle par sa partie isolante et évitez tout contact avec la partie métallique dudit câble.
Les boutons de la télécommande d'origine sont les suivants :

- O Allumer et éteindre le téléviseur.
- INFO: Afficher à l'écran les informations sur le programme en cours (dans le mode DTV), ou appuyez pour afficher les informations concernant le fichier image que vous êtes en train de visionner (dans le mode USB). 1: Accéder à la page de l'index.
- Couper et remettre le son.
- TOUCHES NUMÉRIQUES: Choisir une chaîne ou entrer le code secret.
- SOURCE : Sélectionner une source de signal. [2] : Afficher les informations cachées sur certaines pages télétexte.
- AUDIO (I/II) : Appuyez pour changer de langue audio dans le mode DTV.
- E : Choisir un format d'écran. E : Faire un zoom sur une page télétexte.
- → : Revenir au dernier programme visionné.
- MENU: Accéder à l'écran du menu des différents réglages.
- EXIT: Quitter le menu OSD.
- ENTER: Confirmer le besoin d'un paramètre sélectionné dans l'écran de menu.
- △ / ▽ / ◁ / ▷ : Appuyez sur la touche de navigation désirée pour sélectionner.
- VOL+/VOL-: Monter et baisser le volume.
- CH+/CH-: Passer à la chaîne suivante ou revenir à la chaîne précédente.
- SLEEP: Activer la mise en veille automatique. Une fois écoulée la durée réglée, le téléviseur se met en mode veille.
- LIST: Faire apparaître la liste des chaînes. Appuyer de nouveau pour quitter.
- EPG: Guide électronique des programmes (en mode DTV). Appuyer de nouveau pour quitter.
- Ouvrir et fermer la liste des programmes favoris.

Les touches rouge, verte, bleue et jaune peuvent avoir plusieurs fonctions ; suivez les instructions dans les messages qui s'affichent à l'écran.
- TOUCHES DE COULEUR: Touches rouge/verte/jaune/bleue (voir note de bas de page).
: Retour rapide (en mode USB). Avance rapide (en mode USB). : Précédent (en mode USB). : Suivant (en mode USB).
- STILL: Figer l'image.
E3: Verrouiller à l'écran une page télétexte; appuyer de nouveau pour déverrouiller. - Arrêt (en mode USB/PVR).
- : Accéder au mode télétexte; appuyer de nouveau pour accéder au mode MIX, puis une troisième fois pour quitter. II: Lecture/pause (en mode USB).
- Accéder au mode sous-titrage ou à une sous-page.
- RADIO: Passer d'un programme radio à un programme DTV lorsqu'une émission de radio est en cours (en mode DTV).
- Ex: Cacher la page télétexte à l'écran. Appuyer de nouveau pour la réactiver, puis de nouveau pour la quitter.
- • Lancer l'enregistrement (en mode DTV).
- DMP: Accéder à la source USB.
- Index: Accéder au menu rapide. (En mode USB) Accéder aux réglages PVR (en mode DTV).
- Branchements
- Branchez le téléviseur sur une prise de courant.
- Branchez le connecteur de l'antenne ou de la télé cablee sur la PRISE D'ANTENNE (ANT) située derrière le téléviseur.
Première installation
Lorsque le téléviseur est allumé pour la première fois, une série de messages s'affichent successivement pour vous guider dans la configuration des paramètres de base.
Allez sur Langue d'affichage à l'aide des touches /, puis utilisez les touches / pour choisir la langue OSD (affichage à l'écran) souhaitée.
Mode de configuration
Allez sur Mode à l'aide des touches ▲/▼, puis utilisez les touches ↓/▶ pour sélectionner le Mode maison ou le Mode magasin.
Si vous choisissez le mode maison, le mode magasin sera désactivé lors de la configuration initiale.
Le mode maison est recommandé pour des raisons d'économie d'énergie.
Si vous souhaitez utiliser le mode magasin, un message vous demandera de confirmer votre choix.
Pays
Allez sur Pays à l'aide des touches /, puis utilisez les touches / pour sélectionner le pays qui convient.
Type de réception
Allez sur Type de réception à l'aide des touches /, puis désélectionnez Antenne ou Câble à l'aide des touches /.
Recherche automatique
Allez sur Recherche automatique à l'aide des touches △ / ∇, puis utilisez les touches △ / ▽ pour sélectionner le type de recherche: DTV+ATV, DTV, ATV.
Allumer le téléviseur
Branchez le téléviseur sur une prise de courant. Pour allumer le téléviseur quand il est en mode veille, appuyez sur la touche de la télécommande.
- Eteindre le téléviseur
Pour permettre le téléviseur en veille, appuyez sur la touche de la télécommande. Pour éteindre complètement le téléviseur, débranchez-le.
Évitez de laisser le téléviseur en veille pendant très longtemps. Si vous ne levez laisser le téléviseur inutilisé pendant longtemps, il est conseillé de débrancher le cable d'alimentation et l'antenne.
Signal inexistant
Le message "Signal inexistant" apparait à l'écran lorsqu'aucun signal d'entrée n'est disponible. En mode ATV/DTV, le téléviseur s'eteint automatiquement au bout de 15 minutes sans signal reçu.
En mode PC, le téléviseur s'éteint automatiquement au bout de 5 minutes sans signal reçu.
Sélection de programme
- Touches CH+/CH- sur le téléviseur ou sur la télécommande:
Appuyez sur CH+ pour passer à la chaîne suivante.
Appuyez sur CH- pour revenir à la chaîne précédente.
- Touches numériques 0-9:
Vous pourriez entrer le numéro de la chaîne avec les touches 0 à 9. (en mode ATV et DTV)
- Exemple
Pour désirer une chaîne à 1 chiffre (ex: chaîne 5): Appuyez sur 5.
Pour désirer une chaîne à 2 chiffres (ex: chaîne 20): Appuyez sur 2 puis aussitôt après sur 0.
Réglage du volume
Le volume se règle avec les touches VOL+/- Pour couper le son, appuyez sur -. Pour quitter le mode silencieux, appuyez de nouveau sur - ou montez le volume.
Changement de source d'entrée
La touche SOURCE de la télécommande permet de choisir la source d'entrée.
Parcourez la liste des sources d'entrée à l'aide des touches /, puis appuyez sur ENTER pour confirmer votre choix.
Navigation dans les menus
Avant d'utiliser le téléviseur, lisez la section ci-dessous où vous apprendrez à naviguer dans les menus pour y trouver les fonctions souhaitées et effectuer différents réglages. Le mode d'accès dépend du menu choisi.
- Appuyez sur MENU pour afficher le menu principal.
- Utilisez les touches / pour parcourir les différents éléments du menu principal: Image, Son, Chaîne, Verrouillage système et Réglages.
- Utilisez les touches / pour aller sur le sous-menu choisi.
- Appuyez sur ENTER pour accéder au sous-menu.
- Utilisez les touches / / pour régler la valeur en question. Le mode de réglage à l'écran dépend du menu choisi.
- Appuyez sur MENU pour revenir au menu précédent.
- Appuyez sur EXIT pour quitter le menu.
Remarque:
Lorsqu'un élément du menu apparaît en gris, cela signifie que cet élément n'est pas disponible ou ne peut pas être réglé. Les boutons du téléviseur s'utilisent de la même manière que les boutons correspondants de la télécommande. Si vous avez perdu la télécommande ou si celle-ci ne marche pas, vous avez donc la possibilité de parcourir les menus à l'aide des boutons du téléviseur. Ce mode d'emploi porte sur l'utilisation de la télécommande.
Les fonctions de navigation des touches du panneau de contrôle du téléviseur sont les suivantes : CH+ permet de monter, CH- permet de baisser. VOL+ permet d'aller à droite et VOL- permet d'aller à gauche.
Certains éléments des menus peuvent être cachés selon le mode ou la source de signal utilisée.
Mode image
Permet de choisir le type d'image qui convient à vos préférences personnelles : Standard, Doux, Personnalisé ou Dynamique.
Luminosité
Permet de régler la luminosité de l'image.
- Contraste
Permet de régler la différence entre les zones les plus claires et les zones les plus sombres de l'image.

- Netteté
Permet de régler la netteté des objets apparaissant dans l'image.
- Saturation
Permet de régler l'intensité des couleurs.
- Teinte (en mode NTSC seulement)
Régler l'équilibre entre les niveaux de rouge et de vert.
Tempér. couleur
Permet de régler la température des couleurs de l'image:
Normal, Froid ou Chaud.
- Format image
Permet deCHOISIR le format d'image qui convient a vos préférences personnelles: Plein écran, Zoom 1, Zoom 2,16:9 et 4:3.
- Configuration PC (en mode PC)
Réglage automatique: Permet d'ajuster l'image automatiquement.
Pos. Hor.: Permet de centrer l'image en la décalant vers la gauche ou vers la droite.
Pos. Vert. : Permet de centrer l'image en la décalant vers le haut ou vers le bas.
Phase: Permet de minimiser la distorsion horizontale.
Horloge: Permet de minimiser les bandes verticales à l'écran.
Mode écran (en mode HDMI)
Allez sur Mode écran à l'aide des touches /, puis utilisez les touches pour sélectionner Auto, Video ou PC.
Paramètres avancés
NR: Réglage des options permettant de réduire le bruit vidéo.
MPEG NR: Réglage des options permettant de réduire le bruit MPEG.
Contraste Dynamique: Permet d'ajuster automatiquement les détails et la luminosité de l'image.
Mode son
Permet de choisir le mode sonore qui vous convient:
Standard, Musique, Personnel ou Film.
Aigus
Permet d'augmenter ou de diminuer l'intensité relative des sons plus aigus.
Permet d'augmenter ou de diminuer l'intensité relative des sons plus graves.

Balance
Permet de régler les volumes relatifs des haut-parleurs au niveau qui vous convient.
- Son surround
Permet d'activer ou de désactiver l'effet surround.
-Réglage égaliseur
Permet d'ajuster la courbe d'égalisation pour 7 types de musique.
Les options disponibles sont Off, Rock, Pop, Jazz, Utilisateur.
En mode utilisateur seulement, les paramètres suivants peuvent être régés.
120Hz/300Hz/500Hz/1.2KHz/3.0KHz/7.5KHz/10KHz: Réglage du niveau des
fréquences de bande passante spécifiques.
Vous avez la possibilité de régler certaines bandes de fréquences selon vos préférences. Il est cependant conseillé de faire le moins de changements possibles.
AVL
Permet d'activer et de désactiver l'option AVL (limitation automatique du volume).
Comme chaque station émettrice a ses propres signaux, l'ajustement de volume peut être nécessaire chaque fois que vous changez de chaîne. Ce dispositif vous permet de stabiliser le volume grâce à des ajustements automatiques.
- SPDIF
Permet de choisir un mode de sortie SPDIF: Off, Raw ou PCM.
- Description audio (en mode DTV)
La description audio est une piste de narration supplémentaire destinée aux personnes non voyantes et malvoyantes pour tous les médias visuels, comme la télévision et le cinéma. Cette option n'est disponible que si le diffuseur prend en charge cette piste de narration supplémentaire.
Allez sur Description audio à l'aide des touches /, puis appuyez sur pour accéder au sous-menu.
Allez sur Mode à l'aide des touches /, puis utilisez les touches / pour activer ou désactiver la fonction. Lorsque la fonction est activée, l'utilisateur peut régler le volume.
- Type de son (en mode DTV)
Allez sur Type de son à l'aide des touches /, puis utilisez les touches / pour désigner Stéréo, Dual I, Dual II ou Mixte.
Type de réception
Avant de commencer la mémorisation des chaînes disponibles, vous devez d'abord spécifier le type de réception connecté au téléviseur (antenne ou câble). Si le type de réception est incorrect, il est possible qu'aucune chaîne ne soit détectée.
Recherche automatique
Appuyez sur ENTER pour accéder au sous-menu.

Antenne comme type de réception:
Pays: Choisissez le pays correct à l'aide des touches /
Mode: Choisissez le mode à l'aide des touches / : DTV+ATV, DTV, ATV.
Démarrer : Appuyez sur ENTER pour lancer la recherche automatique.
Câble comme type de réception:
Pays : Choisissez le pays correct à l'aide des touches /
Mode: Choisissez le mode à l'aide des touches / : DTV+ATV, DTV, ATV.
Type de Rech. : Choisissez le type de recherche à l'aide des touches /
Avancée, Rapide, Complète.
ID Réseau : Choisissez l'identifiant réseau à l'aide des touches /
Automatique ou saisie de chiffres.
Fréquence: Choisissez la fréquence à l'aide des touches / : Automatique ou saisie de chiffres.
Débit de symboles: Choisissez le débit de symboles à l'aide des touches /
Automatique ou saisie de chiffres.
Démarrer : Appuyez sur ENTER pour lancer la recherche automatique.
Recherche manuelle
Appuyez sur ENTER pour accéder au sous-menu.
- Rech. manuelle TNT: Allez sur Recherche manuelle numérique à l'aide des touches /, puis appuyez sur ENTER pour accéder au sous-menu.
Antenne comme type de réception:
Recherche numérique: Choisissez le numéro de chaîne à l'aide des touches /
Démarrer: Appuyez sur ENTER pour lancer la recherche de chaîne.
Fréquence: Afficher la fréquence du signal TV en cours.
Force: Afficher la qualité du signal TV en cours.
Câble comme type de réception:
ID Réseau: Choisissez l'identifiant réseau à l'aide des touches / :
Automatique ou saisie de chiffres.
Fréquence: Saisir une fréquence définie par l'utilisateur.
Débit de symboles: Choisissez le débit de symboles à l'aide des touches /
Automatique ou saisie de chiffres.
Modulation: Choisissez la modulation à l'aide des touches : Automatique, 16QAM, 32QAM, 64QAM, 128QAM, 256QAM.
Démarrer: Appuyez sur ENTER pour lancer la recherche de chaîne.
Force: Afficher la qualité du signal TV en cours.
- Recherche manuelle Analogique : Allez sur Recherche manuelle analogue à
l'aide des touches /, puis appuyez sur ENTER pour accéder au sous-menu.
Recherche analogue: Choisissez Recherche analogue à l'aide des touches /
Chaîne à sauvegarder: Choisissez la chaîne à l'aide des touches /
Système Couleur: Choisissez le système de couleur à l'aide des touches /
Automatique, PAL ou SECAM.
Système Audio: Choisissez le système sonore à l'aide des touches /
Automatique, DK, BG, I ou L.
Contrôle automatique de fréquence (AFC) : Sélectionnez On ou Off à l'aide des touches /.
Démarrer: Appuyez sur ENTER pour lancer la recherche de chaîne.
Éditer chaîne
À l'aide des touches △ / ▽, allez sur la chaîne que vous souhaitez supprimer, sauter, renommer ou replacer; ensuite:
Appuyez sur le bouton rouge pour supprimer la chaine.
Appuyez sur le bouton vert pour sauter la chaine. (Le téléviseur sautera automatiquement cette chaine lorsque vous parcourez les chaînes avec les touches CH+/-.)
Appuyez sur le bouton jaune pour renommer la chaine (en mode ATV).
Mettez en surbrillance la chaîne que vous voulez déplacer, puis appuyez sur la touche bleue, puis choisissez le nouvel emplacement avec les touches /, et appuyez à nouveau sur la touche bleue. Vous pouvez également mettre une chaîne en surbrillance, appuyer sur la touche bleue, mettre une autre chaîne en surbrillance et appuyer à nouveau sur la touche bleue pour les intervertir.
- Interface commune (en mode DTV)
Cette fonction vous donne accès à certains services cryptés (payants).
Insérez la carte Cl dans le port PCMCIA, dans le sens de la flèche de la carte Cl.
Remarque :
Cette fonction n'est disponible que si le port CI est disponible. Évitez d'insérer ou de retirer la carte CI lorsque le téléviseur est en marche. Évitez d'insérer ou de retirer la carte CI trop fréquemment, vous éviterez ainsi d'endommager le téléviseur ou la carte elle-même. Pendant l'initialisation de la carte CI, évitez de manipuler le téléviseur.
Informations sur le signal (en mode DTV)
Affiche les informations sur le signal en cours : Nom du Réseau, Chaîne, Fréquence, Modulation, Puissance, Qualité.
Remarque : Avec un tuner de type antenne, le menu Informations Signal affiche la chaîne, mais il ne l'affiche pas avec un tuner de type cable.
Modification profil CICAM
Appuyez sur ENTER pour accéder au sous-menu.
Saisir mot de passe
Appuyez sur ENTER pour accéder au menu de verrouillage système, et saisissez un code secret.
Le code secret par défaut est 0000. Si vous avez oublié votre code secret, appelez le centre de services.
Veuillez noter que les options ci-dessous ne sont disponibles qu'une fois le code secret saisi correctement.

Activer
Le verrouillage de chaîne, le contrôle parental et le verrouillage des touches sont disponibles lorsque la fonction Activation est sur On.
Verrouillage chaînes
À l'aide des touches △ / ▽, allez sur la chaîne que vous souhaitez verrouiller puis appuyez sur ENTER pour la définir comme verrouillée.
- Contrôle parental (en mode DTV)
Allez sur Contrôle parental à l'aide des touches /, puis utilisez les touches / pour régler l'âge qui convient. Une fois cette option réglée, le système détecte les informations relatives au niveau de maturité des programmes et bloque l'accès aux programmes conformément au réglage d'âge que vous avez besoin.
Verrouillage clavier
L'option de verrouillage des touches permet d'empêcher les enfants d'utiliser les touches.
- Nouveau mot de passe
Allez sur Nouveau code secret à l'aide des touches /, saisissez un code secret à 4 chiffres puis saisissez-le à nouveau pour confirmer. Le message "Code secret modifié" apparaît à l'écran.
- Effacer verrouillage
Permet de réinitialiser tous les paramètres de verrouillage.
Menu configuration
Permet de choisir une langue OSD (affichage à l'écran) préférentielle.
- Langues audio (en mode DTV)
Permet de choisir une langue audio préférentielle. Cette option est disponible sur les chaînes numériques, pour les programmes diffusés dans plusieurs langues audio.
Allez sur Langues audio à l'aide des touches △ / ▽, puis appuyez sur ENTER pour accéder au sous-menu.
Vous pouvez maintenant choisir une langue audio principale et une langue audio secondaire.

-Sous-titre (en mode DTV)
Allez sur Sous-titres à l'aide des touches /, puis appuyez sur ENTER pour accéder au sous-menu.
Allez sur Mode à l'aide des touches /, puis utilisez les touches / pour activer ou désactiver les sous-titres.
Utilisez les touches / et / pour désirer la langue de sous-titrage principale et la langue de sous-titrage secondaire.
Allez sur Malentendants à l'aide des touches /, puis utilisez les touches pour activer ou désactiver cette fonction.
- Télétexte
Permet d'ajuster les paramètres de télétexte. Cette option n'est disponible qu'avec une source DTV ou ATV.
Allez sur Télétexte à l'aide des touches /, puis appuyez sur ENTER pour accéder au sous-menu.
En source DTV, utilisez les touches / pour désirer la langue télétexte numérique et la langue de la page de décodage.
En source ATV, utilisez les touches / pour désir la langue de la page de décodage.
Mode de configuration
Choisissez Mode magasin ou Mode maison à l'aide des touches /
Il est recommandé de régler le téléviseur en mode maison.
-Réglage horloge
Allez sur Réglages horloge à l'aide des touches /, puis appuyez sur ENTER pour accéder au sous-menu.
Durée OSD: Permet de régler la durée pendant laquelle l'OSD reste actif.
Minuterie de veille: Permet de régler la durée au bout de laquelle le téléviseur se met automatiquement en veille.
Mise en veille automatiqu si aucune manipulation n'est détectée.
Fuseau horaire: Permet de définir le fuseau horaire.
Date et heures: Allez sur Heure à l'aide des touches /, puis appuyez sur ENTER pour accéder au sous-menu. Si vous souhaitez régler l'heure manuellement, désactivez la fonction Synchronisation automatique.
Remarque: Après une coupure de courant, les réglages d'horloge seront perdus.
- Paramètres PVR (en mode DTV)
Allez sur Réglages PVR à l'aide des touches ▲/▼, puis appuyez sur ENTER pour accéder au sous-menu.
Une fois insérés, les périphériques USB sont détectés automatiquement.
Gestionnaire de fichiers : Cette option permet d'afficher la liste des enregistrements.
Relire: Appuyez sur le bouton rouge pour repasser une video.
Supprimer un: Appuyez sur le bouton vert pour supprimer la vidéo sélectionnée.
Supprimer tout: Appuyez sur le bouton jaune pour supprimer toutes les vidéos.
Zoom avant: Appuyez sur le bouton bleu pour faire un zoom sur une vidéo.
Liste des périphériques: Si plusieurs dispositifs d'enregistrement sont connectés au téléviseur, vous trouverez leur liste ici. Sélectionnez un dispositif d'enregistrement dans la liste.
Formater: Appuyez sur le bouton rouge pour formater un disque USB.
enregistrement programme: Cette option permet de régler les paramètres des enregistrements que vous souhaitez programmer.
Appuyez sur ENTER pour régler les paramètres d'enregistrement vidéo : fréquence, chaîne, heures de début et heures de fin.
Une fois l'enregistrement programme, vous pouvez revenir à l'écran précédent et effectuer les manipulations suivantes:
Supprimer un: Appuyez sur le bouton vert pour supprimer la vidéo sélectionnée.
Supprimer tout : Appuyez sur le bouton jaune pour supprimer toutes les videos.
Enregistrement de programmes numériques
- Insérez un disque USB et appuyez sur ● pour enregistrer le programme en cours.
Pendant l'enregistrement, utilisez la touche ● pour faire un Afficher/Cacher ou arrêter dans le menu d'enregistrement.
- Appuyez sur ■ pour arrêter l'enregistrement; la télévision s'affiche de nouveau normalement.
Remarque:
Le disque USB utilisé doit avoir une capacité d'au moins 4GB. Si l'enregistrement sur le disque USB inséré échoue, formatez le disque. Attention: ne déconnectez pas le périphérique alors que le formatage est en cours. Le formatage d'un périphérique entraîne la suppression de tous les fichiers stockés dessus. Sauvegardez vos fichiers avant d'effectuer tout branchement sur le téléviseur. Le fabricant ne saurait être tenu responsable des pertes de données ou des fichiers endommagés. Si le périphérique USB est partitionné, vous avez la possibilité de désigner la partition sur laquelle vous souhaitez effectuer l'enregistrement. Si le système d'enregistrement PVR est utilisé en permanence, le téléviseur quittera automatiquement le système PVR. Le périphérique USB connecté doit être compatible avec la vitesse 2.0. Certains types de périphériques USB non conventionnels peuvent ne pas être compatibles.
Première installation
Vous trouverez ici un guide pour la configuration du téléviseur.
Réinitialiser
Permet de réinitialiser tous les paramètres du système.
Cela ne supprime pas les chaînes.
- Utiliser/quitter le mode USB
- Connectez un périphérique USB.
- Appuyez sur SOURCE pour afficher le menu principal. Allez sur USB à l'aide des touches /, puis appuyez sur ENTER pour accéder au mode USB.
- Vous pouvez également quitter le mode USB par le biais du menu de sélection de source de signal.
Remarque:
Certains périphériques USB spéciaux peuvent ne pas être compatibles ou mal fonctionner. Charge maximale USB: DC5V 500mA
Formats de fichiers compatibles
| Catégories de multiméias | Extension de fichier | Décodeur | Remarques: | |
| Décodage matériel | Décodage audio | |||
| Vidéo | *.avi | MPEG-1 MPEG-2 MP MPEG-4 SP MPEG-4 ASP MPEG-4 XVID H.264(AVC) MP Niveau 4 H.264(AVC) HP@Niveau 4 | MPEG-1 couche 2 MPEG-1 couche 3 MPEG-2 couche 3 AC3 AAC-LC HE-AAC V1 HE-AAC V2 | MPGE1/MPEG2/MP EG4: jusqu'à 1080p @ 30F H.264: jusqu'à 1080p @ 25F AAC: AAC-LC(type 2), HE-AAC v1(type 5,SBR), HE-AAC v2(type 29,SBR+PS) |
| MPEG(*.mpeg, *.mpg, *.dat, *vob) | MPEG-1 MP MPEG-2 MP | |||
| MPEG-4(*.mp4) | MPEG-4 SP MPEG-4 ASP MPEG-4 XVID H.264(AVC) MP Niveau 4 H.264(AVC) HP Niveau 4 | |||
| TS(*.ts, *.trp, *tp) | MPEG-1 MPEG-2 MP H.264(AVC) MP Niveau 4 H.264(AVC) HP Niveau 4 | |||
| MKV(*.mkv) | MPEG-1 MPEG-2 MP MPEG-4 SP MPEG-4 ASP MPEG-4 XVID H.264(AVC) MP Niveau 4 H.264(AVC) HP Niveau 4 | |||
| *.flv | H.264(AVC) MP Niveau 4 H.264(AVC) HP Niveau 4 | |||
| Musique | *.mp3 | MPEG-1 couche 3 | Débit binaire: jusqu'à 320 KbpsDébit d'échantillonnage: 32KHz, 44.1KHz, 48KHz | |
| MPEG-2 couche 3 | ||||
| AAC(*.aac,*m4a) | AAC HE-AAC V1 HE-AAC V2 | |||
| *.wav | LPCM ADPCM | |||
| Photo | *.jpg *.jpeg | Mode ligne de base | 72x72 < Résolution ligne de base < 7680x4320 | |
| Mode progressif | Taille mode progressif <=1280x1024 Taille fisier <=10MB | |||
| Texte | *.txt | UTF-8 UNICODE ASCII | Taille fisier <=1MB | |
| Remarque: Chaque dossier peut containir jusqu'à 500 fisiers. | ||||
Remarque:
La fonction USB est incompatible ou fonctionne mal avec les documents utilisant un algorithme complexe. Les formats de fichiers compatibles sont énumérés ci-dessus. Si un fichier est dans un format non compatible, convertissez-le en un format compatible. - Interface d'utilisation principale

À l'aide des touches /, allez sur Photo, Musique, Film ou Texte. Appuyez sur ENTER pour accéder au sous-menu.
Photo
Dans le menu principal, sélectionnez Photo à l'aide des touches «/», puis appuyez sur ENTER pour confirmer.
Sélectionnez le disque souhaité à l'aide des touches «/», puis appuyez sur ENTER pour confirmer.
Utilisez les touches CH + / - pour changer de page.
Appuyez sur INDEX pour accéder au menu rapide. Ici, vous avez la possibilité de choisir la durée d'intervalle entre 2 photos, de régler le mode de répétition (1/Tout/Off) et d'activer ou désactiver la musique de fond. Si vous l'activez, vous devrez d'abord choisir le fichier dans le menu Musique.
Menu
Sélectionnez le dossier à l’aide des touches /, puis appuyez sur ENTER.
Sélectionnez un fichier à l'aide des touches /, puis appuyez sur pour lancer la lecture.
Appuyez sur pour arrêter la lecture du fichier.
Appuyez sur EXIT pour revenir au menu précédent.
Dans le menu principal, Sélectionnez Musique à l'aide des touches «/» puis appuyez sur ENTER pour confirmer.
Sélectionnez le disque souhaité à l'aide des touches /, puis appuyez sur ENTER pour confirmer.
Utilisez les touches / pour changer de page.
Appuyez sur INDEX pour accéder au menu rapide. Ici, vous avez la possibilité de régler le mode de répétition (Tous les titres/Un titre/Off) ainsi que la musique de fond. Si la musique de fond est désactivée, la musique s'arrête lorsque vous fermez le menu de lecture musicale ; si elle est activée, la musique continue même après la fermeture du menu et vous pouvez donc l'écouter tout en lisant des textes ou en regardant des photos dans le lecteur de photos.
Appuyez sur les touches CH+/CH- de la télécommande pour basculer entre le fichier audio et le lecteur audio.
Sélectionnez le dossier à l'aide des touches /, puis appuyez sur ENTER.
Sélectionnez un fichier à l'aide des touches /, puis appuyez sur ENTER pour lancer la lecture.
Appuyez sur pour arrêter la lecture du fichier.
Appuyez sur EXIT pour revenir au menu précédent.
Film
Dans le menu principal, sélectionnez Film à l'aide des touches △/▽, puis appuyez sur ENTER pour confirmer.
Sélectionnez le disque souhaité à l'aide des touches /, puis appuyez sur ENTER pour confirmer.
Utilisez les touches / pour changer de page.
Appuyez sur INDEX pour accéder au menu rapide. Ici, vous avez la possibilité de régler le mode de répétition (Répéter tout/Répéter Un/Off), d'activer ou désactiver la prévisualisation, et de désactiver le type de codage.
L'option Type de codage vous permet de régler le type de codage pour les sous-titres.
Sélectionnez le dossier à l'aide des touches /, puis appuyez sur ENTER.
Sélectionnez un fichier à l'aide des touches /, puis appuyez sur ou sur ENTER pour lancer la lecture.
Appuyez sur ■ pour arrêter la lecture du fichier.
Appuyez sur EXIT pour revenir au menu précédent.
Dans le menu principal, Sélectionnez Texte à l'aide des touches «/» puis appuyez sur ENTER pour confirmer.
Sélectionnez le disque souhaité à l'aide des touches /, puis appuyez sur ENTER pour confirmer.
Utilisez les touches / pour changer de page.
Appuyez sur INDEX pour accéder au menu rapide. Ici, vous avez la possibilité de régler le mode de répétition (Tout/Un/Off), d'activer ou désactiver la musique de fond, et de choisir le type de codage.
L'option Type de codage vous permet de régler le type de codage pour les fichiers textes.
Sélectionnez le dossier à l'aide des touches /, puis appuyez sur ENTER.
Sélectionnez un fichier à l’aide des touches /, puis appuyez sur ou sur ENTER pour lancer la lecture. Si le texte que vous lisez comporte plusieurs pages, vous avez la possibilité de passer directement à une page donnée en entrant le numéro de cette page.
Appuyez sur EXIT pour revenir au menu précédent.
GUIDE de programmes (en mode DTV)
Appuyez sur EPG pour accéder au menu GUIDE DES PROGRAMMES.

Appuyez sur / pour mettre en surbrillance le programme que vous pouvez enregistrer et appuyez sur pour définir les paramètres d'enregistrement. Vous devez ensuite choisir la fréquence d'enregistrement et vérifier que les autres paramètres (Heure de début, Heure de fin et Chaîne) sont corrects. N'oubliez pas de mémoriser. Sur l'écran du Guide Électronique des Programmes, un symbole d'enregistrement s'affiche à côté du programme dont l'enregistrement a été programmé. La programmation d'un enregistrement peut s'effectuer avec le téléviseur allumé ou en mode veille. Si l'enregistrement commence alors que le téléviseur est en veille, il n'y aura pas d'image ni de son, mais le voyant de veille clignote alternativement en rouge et en vert.
Appuyez sur le bouton rouge pour regarder le guide des programmes du jour précédent.
Appuyez sur le bouton vert pour regarder le guide du jour suivant.
Appuyez sur le bouton jaune pour afficher la liste EPG.
Appuyez sur le bouton bleu pour permettre un rappel pour un programme donné.
Appuyez sur EXIT pour quitter.
Liste des chaînes
Appuyez sur LIST pour afficher la liste des chaînes.
Choisissez une liste à l'aide des touches /. Appuyez sur ENTER pour accéder à la chaine.
Utilisez les touches / pour parcourir les pages de la liste des chaînes.
Appuyez sur EXIT pour quitter la liste des chaînes.
Liste des favoris
Appuyez sur ♥ pour afficher la liste des favoris.
Appuyez sur le bouton rouge pour supprimer le programme favori sélectionné.
Appuyez sur le bouton vert pour ajouter le programme en cours dans la liste des favoris.
Utilisez les touches / pour parcourir la liste.
Utilisez les touches / pour parcourir les pages de la liste des favorsis.
Appuyez sur ENTER pour accéder à la chaîne.
Appuyez sur EXIT pour quitter la liste des favoris.
- Affichage télétexte
- Sélectionnez une station TV avec fonction télétexte.
- Appuyez sur pour accéder au mode télétexte.
- Appuyez de nouveau sur [ ] pour accéder au mode mixte. Cette fonction vous permet d'afficher la page télétexte par-dessus le programme de télévision.
- Appuyez une fois de plus sur [ ] pour quitter le télétexte ou revenir au mode ATV/DTV normal.
Sélection de page
- Saisissez le numéro de la page (à trois chiffres) à l’aide des touches numériques. En cas de saisie erronée, vous devez d’abord finir de saisir le nombre à trois chiffres avant de recommencer à saisir le bon numéro.
- Utilisez les touches CH-/CH+ pour parcourir les pages.
Figer
Appuyez sur é pour figer une page, et appuyez une deuxième fois pour la déverrouiller.
Appuyez sur 1 pour accéder directement à la page principale de l'index.
Agrandissement de texte
Sur une page affichée à l'écran, vous avez la possibilité de doubler la taille du texte pour le rendre plus facile à.
- Appuyez sur pour agrandir la moitié supérieure de la page.
- Appuyez de nouveau sur pour agrandir la moitié inférieure de la page.
- Appuyez de nouveau sur pour rétablir l'affichage normal.
Mode d'affichage
Appuyez sur É pour afficher les informations cachées en mode télétexte (par exemple la réponse à un quiz ou à une énigme etc.). Appuyez de nouveau sur É pour enlever les informations de l'écran.
Certaines pages de télétexte peuvent contenir plusieurs sous-pages qui sont affichées automatiquement par la station TV.
- Vous avez la possibilité d'accéder à une sous-page donnée en appuyant directement sur puis en saisissant le numéro (à 4 chiffres) de la sous-page à l'aide des touches numériques. Par exemple, vous devez saisir le numéro "0003" pour accéder à la troisième sous-page.
- Appuyez de nouveau sur cette touche pour quitter le mode sous-page.
Touches de couleur (rouge, vert, jaune et bleu)
Ces touches permettent d'accéder directement aux pages de couleur correspondantes indiquées en bas de l'écran télétexte.
Dépannage
Avant de contacter le technicien de maintenance, veuillez vérifier les points suivants. Si le problème persiste, débranchez le téléviseur et demandez de l'aide.
| Son TV analogue | ||
| Symptômes | Causes possibles | Solution |
| Grésillements ou son déformé. | Interférences en provenance de voitures, de lumières phosphorescentes, d'un magnétoscope, d'une émission de radio, d'un PC ou de tout autre apparuel. | Éteignez les apparuils un par un pour voir si les interférences s'estompent. Consultez également la section concernant les interférences d'image. |
| Le son passe de stéréo à mono. | Signal trop faible ou diffusion en mono. | Vérifiiesz l'antenne et le signal. |
| Image TV analogue | ||
| Symptômes | Causes possibles | Solution |
| Image granuleuse(neigeuse) | Votre enregistreur video est peut-être défectueux.Problème de transmission.L'antenne a bougé, est endommagée ou est mal branchée. | Si vous avez un enregistreur video, essayez de brancher l'antenne directement sur le téléviseur.Si le défaut disparait, l'enregistreur video est sans doute à l'origine du problème.Faites examiner l'antenne. |
| Les objets de l'image apparaisent décalés (images fantômes) | L'antenne reçoit des signaux réfléchis par les collines ou les bâtiments.Antenne défectueuse | Essayez de symponiser un signal deILAilleure qualité à partir de la même station de télévision.Faites examiner l'antenne. |
| Taches ou bandes sur l'image. | Mauvaise réception de l'antenne.Interférences avec d'autres apparèils électriques (ex: moteurs, machine-ouil).Les régliages des apparèils video numériques ne sont pas adaptés aux specifications d'entrée VGA/HDMI du moniteur. | Essayez de symponiser un signal deILAilleure qualité à partir de la même station de télévision.Faites examiner l'antenne.Eloignez l'appareil à l'origine des interférences ou éteignez-le si possible.Modifiez les paramètres du taux d'actualisation ou de résolution de l'appareil numérique, si possible. |
| Interférences visuelles (lignes ondulées ou bandes sur l'image). Présence | Un autre apparéil utilise la même fréquence.Câble de mauvaise qualité | Mettez les autres apparèils en mode veille pour voir si les interférences |
Guide de dépannage
| possible d'interférences sonores. | entre le télévisuer et l'antenne.L'antenne recoit un signal parasite sur la même fréquence. | disparaisent; changez la fréquence de sortie de l'appareil à l'origine des interférences (voir mode d'emploi de cet apparéil). Procurez-vous un cable de touteonneuve qualité.Faites examiner l'antenne. |
| Caractères brouillés dans le télétexte | Mauvaise réception | Comme pour "image neigeuse" et "images fantômes". |
| Lorsque l'entrée RGB est utilisée, l'image est distordue ou inexistante. | Signal de synchronisation manquant. | Appuyez sur le bouton AV pour sélectionner l'entrée AV qui reçoit le signal de synchronisation. |
| Télévision numérique terrestre | ||
| Symptômes | Causes possibles | Solution |
| L'image se bloque ou se fige. | Mauvaise réception ou type d'antenne incorrect. | Essayez de régler à nouveau. L'antenne ne convient peut-être pas pour la télévision numérique. |
| Son discontinu | Une ou plusieurs fréquences numériques multiplex ne sont pas captées. | La réception TV numérique est peut-être mauvaise là où vous vous trouvez. Faites appel à un monteur d'antenne pour vérifier l'antenne. |
| Certaines chaînes manquent. | ||
| Un ou plusieurs des problèmes énumérés ci-dessus. | Interférences ou autre problème lié au passage d'un signal dans un autre apparIEL. | Essayez de branchier l'antenne directement sur le récepteur TV numérique, puis recommencez le réglage. Si un appareel comporte un modulateur de fréquence radio, éteignez-le ou changez la fréquence, puis recommencez le réglage de la télévision analogue. (Référez-vous au mode d'emploi de l'autre appareel pour cela.) |
Multiplex
Le DVB-T (Digital Video Broadcasting - Terrestrial, "diffusion de télévision numérique par liaisons hertziennes terrestres") est diffusé en groupes de chaînes partageant la même fréquence. Ce type d'arrangement est connu sous le nom de Multiplex. Le système DVB-T compte plusieurs multiplex, avec chacun son propre groupe de chaînes. Si le niveau de réception est mauvais pour une fréquence multiplex donnée, il est possible que vous perdiez l'ensemble des chaînes de ce multiplex.
| Généralités | ||
| Symptômes | Causes possibles | Solution |
| L'image n'est pas à laonne taille ou l'appareil source(ordinateur, lecteurDVD, décodeur etc.) nepermét pas de régler larésolution pixel pouvant êtreréproduite par l'écran. | L'appareil source n'a pas lules données de paramétrage de l'écran.Lé cable utilisé n'a pastoutes les connexionsrequises. | Évitez d'utiliser des vieuxcâbles et des adaptateurs.N'utilise que des câbles modernes.Redémarrez l'appareilsource après avoir connectéet rallumé l'écran.Changez la carte graphiquede votre ordinateur.Vérifiez les résolutionsvideo compatibles indiquéesdans ce mode d'emploi. |
| L'image semble étirée ouaplatie, bien que le formatd'image soit réglecorrectement (par exemple4:3 ou 16:9). | L'appareil alimentant l'écrann'est pas réglié sur le bonformat d'image. | Sur l'appareil alimentant le téléviseur,CHOISSEZ leformat de sortie quiconvient, par exemple 4:3-format conventionnel),16:9, 1280 x 720 ou 1920 x1080 pixels pour les grands écrans. |
| Pas d'image. | La luminosité et le contraste sont régliés au minimum. | Augmentez les réglages deluminosité et de contraste. |
| Pas de son | Le volume est régéau minimum.Léson est coupé. | Montez le volume.Appuyez sur la touchesilencieux pour remettre leson. |
| Télécommande | ||
| Symptômes | Causes possibles | Solution |
| Dysfonctionnements ou portée trop courte. | Piles épuisées. Présence d'un obstacle. | Mettez des piles neuves. Enlevez tous les obstacles sur le passage et dirigez la télécommande tout droit vers le capteur. |
| Alimentation | ||
| Symptômes | Causes possibles | Solution |
| La télévision semble "morte":aucun témoin ne s'allume et rien ne fonctionne. | L'appareil n'est pas sous tension.La prise de courant n'est pas sous tension.Disjoncteur déclenché ou fusible grillé. | Vérifiéz les boutons marche/arrêt du téléviseur et de la prise de courant.Assurez-vous que la prise est sous tension.Vérifiéz le fusible ou le disjoncteur dans le panneau électrique.Examinez les raisons possibles de la panne avant de changer ou de relancer le fusible. |
| La télécommande et les boutons de l'appareil sont inopérants.Le téléviseur reste bloqué en veille. | Dysfonctionnement du microcontrôleur lié à une perturbation électrique. | Coupez l'alimentation et attendez 5 minutes avant de réessayer.(Si le téléviseur ne marche toujours pas, laissez-le débranché et faites appel à un réparateur). |
| Certsains boutons de la télécommande ou du téléviseur sont inopérants. | Le verrouillage est activé (si applicable) pour les chaînes, l'st installation, les touches ou la sécurité enfant. | Référez-vous à la section correspondante du mode d'emploi. |
Entretien
Les dysfonctionnements prématurés peuvent être évités. Prenez du produit et nettoyez-le régulièrement afin de prolonger sa durée de vie. N'oubliez pas d'éteindre et de débrancher l'appareil avant toute manipulation de nettoyage.
Nettoyage de l'écran
- Voici un moyen pratique pour débarrasser votre écran de la poussière pour un bon moment. Mouillez un chiffon mou dans un mélange d'eau tiède et d'une petite quantité d'adoucissant ou de produit de vaisselle. Essorez le chiffon jusqu'à ce qu'il soit presque sec, puis utilisez-le pour essuyer l'écran.
- Enlevez toute l'eau de l'écran et laissez-le sécher naturellement avant de rallumer le téléviseur.
Nettoyage du boîtier
Pour enlever la saleté ou la poussière, essuyez le boîtier avec un chiffon doux, sec et non pelucheux. N'utilisez en aucun cas un chiffon mouillé.
Information à destination des utilisateurs dans l'ue
Ce symbole sur le produit ou sur son emballage signifie que l'appareil électrique en question ne doit pas être jeté avec les ordures ménagères à la fin de sa durée de vie.
Des systèmes de collecte séparée pour le recyclage existent dans l'Union Européenne. Pour plus de détails, renseignez-vous auprès des autorités locales ou du magasin où vous avez acheté le produit.

Specifications
| MODELE | L4030FHD LED | |
| Type d'affichage | Taille du panneau | 40" |
| Luminosité | 280 | |
| Rapport de contraste | 4000:1 | |
| Résolution max. | 1366x768 | |
| Connecteur I/O | Prise Cl | 1 |
| USB | 1 | |
| HDMI | 3 | |
| YPbPr | 1 | |
| ENTRÉE VIDÉO AUDIO | 1 | |
| ENTRÉE VIDÉO VGA/PC | 1 | |
| SORTIE COAXIALE | 1 | |
| CASQUE | 1 | |
| ENTRÉE ANTENNE | 1 | |
| Entrée Péritel | 1 | |
| Alimentation: | AC 100-240v~50/60Hz | |
| Consommation électrique | Max.75W, Standby<0.5W | |
| Dimensions (LxPxH) | 929x210x595 mm | |
| POIDS (net) | 8.7 kg | |
(Modèle: L4030FHD LED)
| Consommation d'électricité en mode veille (approx.) | < 0,50 W |
| Résolution d'écran | 1920 x 1080 pixels |
Notice Facile