ACM7035VN - Cuisiniere mixte AMICA - Notice d'utilisation et mode d'emploi gratuit
Retrouvez gratuitement la notice de l'appareil ACM7035VN AMICA au format PDF.
| Type de produit | Table de cuisson à induction |
| Nombre de foyers | 4 foyers induction |
| Dimensions approximatives | 60 cm x 52 cm x 5,5 cm |
| Poids | 10 kg |
| Alimentation électrique | 230 V / 50 Hz |
| Puissance totale | 7400 W |
| Fonctions principales | Boost, minuterie, contrôle tactile |
| Matériau de surface | Verre céramique |
| Entretien et nettoyage | Nettoyage facile avec un chiffon humide, pas de produits abrasifs |
| Sécurité | Arrêt automatique, protection contre la surchauffe, verrouillage enfant |
| Compatibilités | Compatible avec des ustensiles de cuisson adaptés à l'induction |
| Pièces détachées et réparabilité | Disponibilité des pièces détachées selon le réseau de service AMICA |
FOIRE AUX QUESTIONS - ACM7035VN AMICA
Questions des utilisateurs sur ACM7035VN AMICA
0 question sur cet appareil. Repondez a celles que vous connaissez ou posez la votre.
Poser une nouvelle question sur cet appareil
Téléchargez la notice de votre Cuisiniere mixte au format PDF gratuitement ! Retrouvez votre notice ACM7035VN - AMICA et reprennez votre appareil électronique en main. Sur cette page sont publiés tous les documents nécessaires à l'utilisation de votre appareil ACM7035VN de la marque AMICA.
MODE D'EMPLOI ACM7035VN AMICA
Consulter la notice avant d'installer et d'utiliser la cuisinière.
IO-CFS-1250/8504993
(06.2020 V2)
La cuisinière Amica combine à la perfection la capacité d'utilisation et une efficacité optimale. Après lecture de ce mode d'emploi, vous n'aurez aucun problème pour utiliser ses fonctionnalités.
À la sortie de l'usine, avant d'être emballée, la cuisinière a passé tous les tests de sécurité et de compatibilité.
Prière de lire attentivement ce mode d'emploi avant la première mise en marche de l'appareil. Respecter les indications vous permettra d'éviter toute utilisation incorrecte.
Conservez ce mode d'emploi dans un endroit accessible.
Le respect des recommandations de ce mode d'emploi vous préservera de risques importants.

N'utiliser l'appareil qu'après avoir lu ce mode d'emploi.
La cuisine a été conçue uniquement pour un usage domestique.
Le fabricant se réserve le droit d'effectuer des modifications sans conséquences sur le fonctionnement de l'appareil.
En cas de doute ou si vous ne comprenez pas toutes les instructions de ce mode d'emploi, vous pouvez contacter notre service consommateur qui vous guidera en tous points utiles. Le n° de téléphone est : 01.56.48.06.31.
Données techniques 48

Les principes et les dispositions contenus dans ce mode d'emploi doivent s'appliquer obligatoirement.
Ne pas permettre l'utilisation de la cuisinière aux personnes n'ayant pas pris connaissance de ce mode d'emploi.
En ce qui concerne les instructions d'installation de l'appareil et les raccordements électriques, référez-vous au paragraphe ci-après dans la notice.
Installation
- Les matériaux d'emballage (par ex. les films plastiques, les polystyrènes) représentent un danger pour les enfants - risque d'asphyxie! Conservez-les hors de portée des enfants.
- Cet appareil doit être installé conformément aux réglementations en vigueur, et utilisé seulement dans un endroit bien aéré. Consulter la notice avant d'installer et d'utiliser cet appareil.
- Avant l'installation, s'assurer que les conditions de distribution locale (nature du gaz et pression du gaz) et le réglage de l'appareil sont compatibles.
- Les conditions de réglage de cet appareil sont inscrites sur la plaque signalétique et dans cette notice.
- Cet appareil n'est pas raccordé à un dispositif d'évacuation des produits de la combustion. Il doit être installé et raccordé conformément aux règles d'installation en vigueur. Une attention particulière sera accordée aux dispositions applicables en matière de ventilation.
- Lorsqu'il est correctement installé, votre produit répond à toutes les exigences de sécurité prévues pour cette catégorie de produit. Cependant, une attention particulière doit être prise pour le dessous de l'appareil car il n'est ni conçu ni destiné à être touché et peut comporter des bords tranchants ou rugueux, qui peuvent causer des blessures.
- Cet appareil est lourd ; faites attention lors de son déplacement.
- Cet appareil est fragile. Transportez-le dans sa position d'utilisation, faites attention lors de son déplacement et installation.
- Lors du déballage, vérifie que l'appareil n'est pas endommagé. En cas de doute, ne l'utilise pas et contactez le magasin vendeur. Assurez-vous, après avoir installé l'appareil, que celui-ci ne repose pas sur le câble d'alimentation.
- Pour éviter tout risque (mobilier, immobilier, corporel,...), l'installation, les raccordements au réseau électrique, la mise en service et la maintenance de votre appareil doivent être effectués par un professionnel qualifié.

ments au réseau électrique, la mise en service et la maintenance de votre appareil doivent être effectués par un professionnel qualifié.
- Avertissement : Avant d'accéder aux bornes de raccordement, tous les circuits d'alimentation doivent être déconnectés.
- Si l'installation électrique de votre habitation nécessite une modification pour le branchement de votre appareil, faites appel à un Electricien qualifié.
- Dans le cas d'une installation fixe, le raccordement au réseau doit être effectué par l'intermédiaire d'un interrupteur à coupure omnipolaire assurant une coupure complète en cas de conditions de surtension de catégorie III.
- Il est interdit de relier l'installation de gaz à tout câble d'antenne, par exemple antenne radio.
- Instructions de mise à la Terre : Cet appareil doit être mis à la terre. Dans le cas d'un dysfonctionnement ou d'une coupure, la mise à la terre permet de réduire le risque de choc électrique en fournissant un accès au courant électrique de plus faible résistance. Cet appareil est équipé d'un cordon pourvu d'un conducteur de mise à la terre et d'une prise de mise à la terre. La prise doit être branchée dans une prise murale appropriée installée et mise à la terre en accord avec tous les codes et règles locaux.


MISE EN GARDE: Pour éviter le risque de basculement de l'appareil, le dispositif de stabilisation par les fixations anti-basculement doit être mis en place.
Aération
- ATTENTION: L'utilisation d'un appareil de cuisson au gaz conduit à la production de chaleur, d'humidité et de produits de combustion dans le local où il est installé. Veiller à assurer une bonne aération de la cuisine, notamment lors de l'utilisation de l'appareil : développer ouverts les orifices d'aération naturelle, ou installer un dispositif d'aération mécanique (hotte de ventilation mécanique).
- Une utilisation intensive et prolongée de l'appareil peut nécessiter une aération supplémentaire, par exemple en ouvrant une fenêtre, ou une aération plus efficace, par exemple en augmentant la puissance de la ventilation mécanique si elle existe.
Utilisation
- Cet appareil n'est pas destiné à être utilisé dans des applications domestiques et analogues telles que :

- des coins cuisines réservés au personnel des magasins, bureaux et autres environnements professionnels;
- des fermes;
- l'utilisation des clients des hôtels, motels et autres environnements à caractère résidentiel;
- des environnements du type chambres d'hôtes.
- Cet appareil doit être utilisé uniquement pour l'usage pour lequel il a été conçu, c'est-à-dire pour la cuisson domestique de denrées alimentaires. Tout autre usage de l'appareil serait considéré comme inapproprié et, par conséquent, dangereux. Le fabricant décline toute responsabilité pour tout dommage causé par un usage inapproprié ou incorrect de l'appareil.
- ATTENTION: Cet appareil sert uniquement à des fins de cuisson. Il ne doit pas être utilisé à d'autres fins, par exemple le chauffage d'un local.
- Il est interdit de modifier les caractéristiques techniques ou de tenter de modifier l'appareil de quelque façon que ce soit.
- Cet appareil peut être utilisé par des enfants à partir de 8 ans et par des personnes ayant des capacités physiques, sensorielles ou mentales réduites ou un manque d'expérience et de connaissances à condition qu'elles aient été placées sous surveillance ou qu'elles aient reçu des instructions concernant l'utilisation de l'appareil en toute sécurité et qu'elles comprennent les dangers encourus. Les enfants ne doivent pas jouer avec l'appareil. Le nettoyage et l'entretien par l'usager ne doit pas être effectué par des enfants sans surveillance.
- Il convient de surveiller les enfants pour s'assurer qu'ils ne jouent pas avec l'appareil.
- Surveiller les enfants durant l'utilisation de la cuisine. L'enfant peut être brûlé par les éléments par

particulièrement chauds, notamment les brûleurs de la plaque de cuisson, le four, la grille de la plaque de cuisson, la porte vitrée du four, les casseroles bouillantes...
- Si le cordon d'alimentation est endommagé, il doit être remplacé par un câble ou un ensemble spécial disponible auprès du fabricant ou de son service après-vente.
- Débranchez toujours l'appareil avant de procéder à son nettoyage; de changer la lampe d'éclairage; de déplacer l'appareil ou de nettoyer le sol sous l'appareil.
- Ne pas brancher l'appareil à une prise de courant non protégée contre les surcharges (fusible).
- Ne jamais utiliser de prises multiples ou de rallonges pour brancher l'appareil.
- Cet appareil n'est pas destiné à être mis en fonctionnement au moyen d'une minute extérieure ou par un système de commande à distance séparé.
- MISE EN GARDE: Maintenir dégagées les ouvertures de ventilation dans l'enceinte de l'appareil ou dans la structure d'encastrement.
- MISE EN GARDE : Cet appareil et ses parties accessibles deviennent chauds pendant leur utilisation. Il convient de veiller à ne pas toucher les éléments chauffants. Il convient de maintenir à distance les enfants de moins de 8 ans, à moins qu'ils ne soient sous une surveillance continue.
- Ne pas stocker dans cet appareil des substances explosives telles que des aérosols contenant des gaz propulseurs inflammables.

- Ne permettre en route la vanne du raccord du gaz ou la vanne de la bouteille de gaz qu'après avoir vérifié que tous les boutons sont en position « fermé »
- Afin d'empêcher des risques d'explosion et d'incendie, ne placez pas de produits inflammables ou d'éléments imbibés de produits inflammables à proximité ou sur l'appareil.
- Si votre cuisinière compte un couvercle, il convient d'enlever tout résidu de débordement avant de l'ouvrir.
- Si votre cuisinière compte un couvercle, il convient de laisser refroidir la table de cuisson avant de le fermer.
- Les foyers ne doivent pas être mis en marche à vide, sans casseroles.
- N'utilise jamais ce produit si le câble d'alimentation, le bandeau de commande ou toute autre partie sont endommagés de manière telle que l'intérieur de l'appareil est accessible.
- S'assurer que les petits appareils électroménagers ou leur câble d'alimentation n'entrent pas directement en contact avec le four chaud ou la plaque de cuisson, car leur isolation n'est pas résistante à hautes températures.
- Utiliser une batterie de cuisine adaptée et étant compatible avec votre appareil.
- Les liquides renversés doivent être nettoyés de la table de cuisson avant de la faire fonctionner.
- Prendre les précautions nécessaires pour ne pas inonder le brûleur lors de l'ébullition des liquides.
- MISE EN GARDE : Laisser cuire des aliments sans surveillance sur une table de cuisson en utilisant des matières grasses ou de l'huile peut être dangereux et déclencher un incendie.
- La préparation des mets dans des récipients en aluminium ou plastique sur les foyers chauds n'est pas permise. Ne déposez aucun objet en plastique ou en feuille d'aluminium sur le foyer. Lors de l'utilisation, l'appareil devient chaud. Il

Conviendra de veiller à ne pas toucher les éléments chauffants à l'intérieur du four.
- Éviter d'inonder ou de salir les brûleurs. Nettoyer et sécher les brûleurs encrassés immédiatement après leur refroidissement.
- Ne pas poser des casseroles directement sur les brûleurs,
- Ne pas provoquer de choc sur les boutons ou aux brûleurs.
- Il est interdit de souffler pour éteindre le feu du brûleur.
- Ne pas poser sur la porte du four ouverte des objets d'un poids supérieur à 15 kg et sur les grilles de la table de cuisson d'un poids supérieur à 10 kg par brûleur ou d'un poids total supérieur à 40 kilos pour la totalité de la grille.
- Il est interdit de ranger dans le tiroir des récipients ou d'autres éléments ainsi que des matériaux inflammables; la température à l'intérieur pouvant être très importante.
- La chaleur peut provoquer des fissures sur le couvercle en verre. Avant de le baisser, mettre hors fonction l'ensemble des brûleurs.

- NE JAMAIS essayer d'éteindre un incendie avec de l'eau, mais arrêter l'appareil puis couvrir les flammes par exemple avec un couvercle ou une couverture anti-feu.
- MISE EN GARDE : Risque d'incendie : ne pas entreposer d'objets sur les surfaces de cuisson.
- Ne pas utiliser de produits d'entretien très abrasifs ou de grattoirs métalliques durs pour nettoyer la porte en verre du four, au risque de rayer la surface et d'entrainer l'éclatement du verre.

- L'utilisation d'appareils de nettoyage fonctionnant à la vapeur est formellement proscrite en hygiène de cuisine.
- MISE EN GARDE: Utiliser uniquement les dispositifs de protection de table de cuisson conçus par le fabricant de l'appareil de cuisson ou indiqués par le fabricant de l'appareil dans les instructions d'utilisation comme adaptations ou les dispositifs de protection de table de cuisson intégrés à l'appareil. L'utilisation de dispositifs de protection non appropriés peut entraîner des accidents.
- ATTENTION : Le processus de cuisson doit être surveillé. Un processus de cuisson court doit être surveillé sans interruption.
- L'appareil ne doit pas être installé derrière une porte décorative, afin d'éviter une surchauffe.
Entretien
- Avant d'utiliser le nettoyage automatique par catalyse, les éclaboussures excessives doivent être enlevées. Se référer au paragraphe 'Nettoyage et entretien de la cuisinière' qui précise quels ustensiles doivent être laissés dans le four pendant le nettoyage.
- Ne pas utiliser d'appareil de nettoyage à la vapeur pour nettoyer la cuisinière ou la table de cuisson.
- Ne pas utiliser de produits d'entretien très abrasifs ou de grattoirs métalliques durs pour nettoyer la porte en verre du four, au risque de rayer la surface et d'entraîner l'éclatement du verre.

Service - réparations
- Il est dangereux de modifier ou d'essayer de modifier les caractéristiques de cet appareil.
- En cas de panne, n'essayez pas de réparer l'appareil vous-même. Les réparations effectuées par du personnel non qualifié peuvent provoquer des dommages. Contactez le service après-vente de votre revendeur. Exigez des pièces de rechange certifiées Constructeur.
- Lors d'une panne, la cuisinière ne peut être réutilisée qu'après sa remise en état par un professionnel né agréé.
- SI VOUS SUSPECTEZ UNE FUITE DE GAZ, IL EST INTERDIT : d'utiliser des allumettes, de fumer, de brancher ou d'éteindre des dispositifs électriques (sonnerie ou interrupteur d'éclairage), d'utiliser autres appareils électriques ou mécaniques qui pourrait provoquer l'apparition d'une étincelle électrique ou étincelle par percussion. Il est impératif de fermer immédiatement le robinet de la bouteille de gaz ou du réseau et de procéder à l'aération de la pièce. Ensuite, contacter une personne habituée afin d'éliminer la cause de l'incident.
- Dans le cas d'inflammation du gaz s'échappant par une fuite, couper immédiatement le robinet d'arrivée de gaz.
- Dans le cas d'inflammation d’une fuite du gaz au niveau du robinet de la bouteille, il faut couvrir la bouteille par une couverture humide pour abaisser sa température et fermer la vanne de la bouteille. Dès que la bouteille est refroidie, la transporter dehors, à l’air libre. Il est interdit de réutiliser une bouteille déteriorée.
- Il est interdit de procéder aux modifications de l'alimentation en gaz de la cuisinière, de la déplacer ou de modifier les installations d'alimentation par une personne non habilitée. Pour procéder à ces travaux, il est conseillé de se rapprocher d'un professionnel agréé.
- Lorsqu'un problème technique est rencontré, débrancher l'appareil de la source d'alimentation gaz et électrique et contacter le service après-vente.
- MISE EN GARDE: S'assurer que l'appareil est déconnecté de l'alimentation avant de replacer la lampe du four pour éviter tout risque de choc électrique.
- Dans le cas d'un arrêt prolongé de la cuisinière, fermer le robinet principal de l'installation de gaz ; dans le cas d'utilisation d'une bouteille de gaz, fermer le robinet après chaque utilisation.

Une utilisation responsable de l'énergie est une source d'économie mais aussi un geste très important pour notre environnement. Relevons le défi d'économie
d'énergie! Voici quelques conseils:
- Utiliser des récipients de cuisson adaptés.
Le diamètre du fond de la casserole doit couvrir complètement la couronne de la flamme du brûleur.
Assurez-vous de couvrir vos récipients par un couvercle, sinon la consommation d'énergie est quadruplée!
- Propreté des brûleurs, de la grille de la plaque de cuisson, de la plaque de cuisson.
Les résidus de saletés perturbent le transfert de la chaleur, et s'ils sont fortement calcinés nécessitent souvent l'utilisation de produits difficilement dégradables dans l'environnement. Il faut prêter une attention particulière à la propreté des ouvertures de la couronne du brûleur et des ouvertures des injecteurs.
- Éviter de soulever trop régulièrement le couvercle.
- Ne pas ouvrir trop souvent la porte du four.
Utiliser le four uniquement pour vos mets les plus volumineux.
La préparation d'une viande d'un poids inférieur à 1 kg est plus économique si vous utilisez la plaque de cuisson.
- Utilisation de la chaleur résiduelle du four.
Si le temps de cuisson est supérieur à 40 minutes, éteindre le four 10 minutes avant la fin de la cuisson ; la cuisson se terminera alors avec la chaleur résiduelle du four.
- Bien fermer la porte du four.
La chaleur s'échappe au travers des encrasements des joints de la porte. Il faut impérativement les nettoyer.
- Ne pas installer la cuisinière à proximité directe des réfrigerateurs/congélateurs.
La consommation d'électricité augmenterait inutilement.
Garder les zones de cuisson et les fonds des casseroles propres.
Les salissures empêchent le transfert de chaleur, les salissures fortement calcinées nécessitent souvent l'utilisation de produits difficilement dégradables pour l'environnement.

Pour la sécurité du transport, cet appareil a été emballe avec des protections. Veuillez recycler les éléments de cet emballage conformément aux normes de protection de l'environnement.
Tous les matériaux utilisés pour les emballages sont inoffensifs pour l'environnement et ils sont 100% recyclables et portent un symbole de tri approprié.
Note: Les matériaux d'emballage (sachets en polyéthylène, morceaux de polystyrène, etc.) doivent rester inaccessibles aux enfants durant le déballage.

Cet appareil est marqué du symbole du tri sélectif relatifs aux déchets d'équipements électriques et électroniques. Cela signifie que ce produit doit être pris en charge par un système de collecte sélective.
conformément à la directive européenne 2012/19/UE afin de pouvoir soit être recyclé, soit démantelé afin de réduire tout impact sur l'environnement.
Pour plus de renseignements, vous pouvez contacter votre administration locale ou régionale.
Les produits électroniques n'ayant pas fait l'objet d'un tri sélectif sont potentiellement dangereux pour l'environnement et la santé humaine en raison de la présence de substances dangereuses.
P: Programmateur électronique 1: Manette de réglage de la température du four 2: Manette des programmes du four 3, 4, 5, 6: Manettes de commande des brûleurs à gaz et de la plaque électrique 7 : Voyant (rouge) de contrôle du thermostat du four 8 : Voyant (orange) de fonctionnement de la plaque électrique 9: Brûleur rapide 10: Brûleur semi-rapide 11: Plaque de cuisson électrique (en fonte) 12: Brûleur auxiliaire 13: Couvercle
14: Poignée de la porte du four 15Tiroir 16: Thermocouple de sécurité 17: Allumage électronique
Ce tableau vous permettra de vous familiariser avec l'équipement de votre cuisinière
| Plaque de cuisson | Diamètre | Puisance |
| Brûleur semi-rapide arrière gauche | 6,5 cm | 1,75 kW |
| Brûleur rapide avant gauche | 9,0 cm | 3,00 kW |
| Plaque électrique en fonte arrière droit | 18,0 cm | 1,20 kW |
| Brûleur auxiliaire avant droit | 4,5 cm | 1,00 kW |
| Four | Puisance |
| Résistance supérieure | 0,9 kW |
| Résistance inférieure | 1,1 kW |
| Résistance de grill | 1,5 kW |
| Résistance circulaire | 2,1 kW |
Équipement de la cuisinière
Lèchefrite
Grille

Cette notice est destinée au spécialiste agréé chargé de l'installation de cet appareil. L'objectif de cette notice est d'assurer une installation et une maintenance optimales de l'appareil.

- Avant l'installation, s'assurer que les conditions de distribution locale (nature du gaz et pression du gaz) et le réglage de l'appareil sont compatibles.
- Les principes de réglage de cet appareil sont indiqués sur la plaque signalétique.
- Cet appareil n'est pas raccordé à un dispositif d'évacuation des produits de la combustion. Il doit être installé et raccordé conformément aux règles d'installation en vigueur. Une attention particulière sera accordée aux dispositions applicables en matière de ventilation.
Aménagement de la cuisine
- Le local de la cuisine doit être dépourvu de toute humidité et facile à aérer. Il doit disposer d'une ventilation en état de fonctionnement, conforme aux règlements techniques en vigueur. Veiller à assurer une bonne aération de la cuisine, notamment lors de l'utilisation de l'appareil : ouvrir les orifices d'aération naturelle, ou installer un dispositif d'aération mécanique (hotte de ventilation mécanique).
- Les hottes doivent être installées selon les recommandations de leurs modes d'emploi.
- Les conditions du local doivent également assurer une arrivée d'air qui est indispensable pour une combustion correcte du gaz. L'arrivée d'air ne doit pas être inférieure à 2m³/h par 1 kW de la puissance des brûleurs.
- L'air peut arriver directement de l'extérieur à travers un tuyau d'une section minimale de 100 cm² ou directement d'autres locaux équipés d'un système de ventilation vers l'extérieur.
- Si l'appareil est utilisé d'une manière prolongée et intense, il est nécessaire d'ouvrir une fenêtre pour améliorer la ventilation.
- Le gaz en bouteille est plus lourd que l'air, donc il a tendance à rester à proximité du sol. Les locaux où les bouteilles de gaz en bouteille sont installées doivent être installées ni stockées dans un sous-sol (par exemple : dans une cave). Les bouteilles ne doivent pas se couvrir à proximité de sources de chaleur (poêles, cheminées, fours, etc.) qui pourraient provoquer une augmentation de la température de l'intérieur de la bouteille supérieure à 50°C.
- La cuisine à gaz, du point de vue de la protection contre la surchauffe des superficies adjacentes, est un équipement de classe 1 ou classe 2 sous-classe 1.
- et en tant que tel peut être encastrée dans une suite de meubles uniquement jusqu'à la hauteur de la table de travail, c'est-à-dire à une hauteur approximative de 850 mm au-dessus du sol. Il n'est pas recommandé d'encastrer ce type d'appareil à une hauteur supérieure.
- Les meubles pour encastrage exigent l'utilisation de revêtements et de colles résistants à des températures de 100°C. Dans le cas contraire, la surface peut être déformée et le revêtement décollé. En cas de doute, nous recommandons d'équiper votre cuisine de meubles séparés entre eux de 2 cm. Les meubles situés à proximité de la cuisinière, d'une hauteur supérieure, doivent se couvrir à une distance minimale de 110 mm à partir du bord de la plaque de cuisson.
- Le mur se trouvant derrière la cuisinière doit être résistant à haute température. Lors de l'utilisation de la cuisinière, sa partie arrière peut atteindre des températures supérieures de 50°C par rapport à la température ambiante.
- Poser la cuisinière sur un sol dur et plat (ne pas poser sur un socle).
- Avant toute utilisation, la cuisine doit être mise à niveau, ceci est très important pour que la graisse soit distribuée de manière uniforme sur la poêle. Pour permettre l'appareil à niveau, utiliser les pieds de réglage accessibles après avoir enlevé le tiroir. Plage de réglage des pieds: + / - 5mm.



classe 2 sous-classe 1 classe 1
Montage de la fixation anti-basculement
Pour éviter le basculement de la cuisinière, installez la fixation fournie avec votre produit en procédant comme suit :
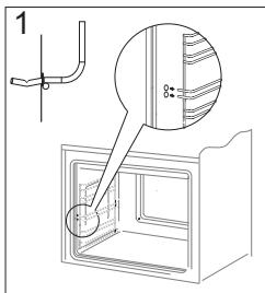
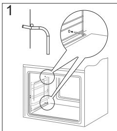
Sur le mur contre lequel sera installée la cuisinière, percez un trou à 6,0 cm du sol (A). Percez ensuite un deuxième trou à 10,3 cm du sol (B). À l'aide des 2 vis et chevilles fournies, fixez l'équerre au mur en alignant les trous de l'équerre avec ceux que vous venez de percez.



Raccordement de la cuisinière
La cuisinière doit être raccordée à une installation de gaz qui correspond à la famille de gaz prévue par le fabricant. Les informations du fabricant sur la famille de gaz adaptée à la cuisinière se trouvent sur la plaque signalétique. L'installation de la cuisinière doit se faire uniquement par un professionnel/agréé, seule personne habilitée à adapter la cuisinière à une autre famille de gaz.
Note à l'installateur
L'installateur doit :
- disposer d'une autorisation légale,
- prendre connaissance des informations représentées sur la plaque signalétique de la cuisinière concernant la famille de gaz à laquelle la cuisinière est adaptée et comparer ces informations avec les conditions locales de livraison du gaz.
- vérifier :
l'efficacité de l'aération, c'est-à-dire le taux de renouvellement d'air dans les pièces,
L'étanchéité des connexions de la robinetterie du gaz,
l'efficacité du bon fonctionnement de tous les éléments fonctionnels de la cuisine,
s'assurer que l'installation électrique dispose d'une mise à la terre.
- pour assurer un fonctionnement correct des allumeurs et du thermocouple, régler la position des boutons de commande de gaz, vérifier le fonctionnement des allumeurs et du thermocouple,
- dans le cas d'un fonctionnement incorrect, enlever la manette, utiliser un tournevis
pour régler le dispositif à côté de la tige du robinet,
- une fois le réglage effectué, protéger l'ensemble avec une rondelle de pression et remettre le bouton.
- remettre à l'utilisateur le certificat de raccordement de la cuisinière et lui expliquer son fonctionnement.
Le raccord qui permet l'acheminement du gaz à la cuisinière est un raccord filtre G1/2".


Raccordement à un conduit double en acier
Si la cuisinière est installée selon les recommandations de la classe 2, sous-classe 1, après son raccordement à l'installation de gaz, il est recommandé d'utiliser uniquement un conduitouple en acier, correspondant aux règlements nationaux. Le raccord qui permet l'acheminement du gaz à la cuisinière est un raccord filtré G1/2".
Le raccordement doit se faire uniquement par le biais des conduits et des joints correspondants aux normes en vigueur. La longueur maximale du conduitouple ne peut pas excéder 2 m.
Il est imperative de s'assurer que le raccord ne touche aucune partie mobile qui pourrait l'abîmer.
Raccordement à une tuyauterie rigide
La cuisine dispose d'un raccord fileté G1/2. Le raccordement à l'installation du gaz doit se faire de manière à ne créer de tension sur aucun point de l'installation, ni sur aucune pièce de l'appareil.
Un couple excessif lors du serrage (supérieur à 20 Nm) peut compromettre le branchement ou provoquer des fuites. Le raccordement au gaz doit être réalisé en utilisant un tuyau flexible avec embout mécanique (TFEM) conforme aux normes NF en vigueur. Les instructions de la notice du tuyau flexible avec embout mécanique (TFEM) doivent être scrupuleusement respectées.
Raccordement par tube flexible
Le raccordement par tube flexible est applicable uniquement dans les cas d'utilisation de gaz en bouteille.
Il est impératif d'utiliser un tube flexible correspondant aux normes déterminées par les règlements locaux. Si la cuisinière est alimentée par le gaz en bouteille, il est impératif d'utiliser un régulateur de pression (ou détendeur) correspondant aux normes déterminées par les règlements techniques locaux.
Après chaque remplacement du réducteur, il faut effectuer un contrôle technique de la cuisinière qui comprend les valves de gaz et le fonctionnement de la protection antiéchappement.
Note pour le branchement avec du gaz en bouteille : En tout cas, si vous technician opte pour un branchement avec un embout (non fourni avec cet appareil), celui-ci doit être certifié NF et il doit être utilisé avec un joint d'étanchéité conforme NF (non fourni avec cet appareil). Le tuyau flexible doit être également certifié NF et il doit être serré sur la tétine de l'embout au moyen d'un collier afin d'assurer une étanchéité parfaite. (Le raccordement au gaz naturel doit être obligatoirement réalisé en utilisant un tuyau flexible avec embout mécanique (TFEM).)
Les principales dispositions des normes techniques existantes prévoient que :
- le diamètre intérieur du tuyau doit être de 8 mm,
- pour fixer le tuyau, il est impératif d'utiliser un serrage standard,
- vérifier que le tuyau est bien ajusté aux deux extrémités,
- sur toute sa longueur, le tuyau ne doit pas être en contact avec les éléments brûlants de la cuisinière,
- La longueur du tuyau ne doit pas excéder 1,5 m, sur toute sa longueur, le tuyau ne doit pas être plié ni rester sous tension, il ne doit pas être tordu, ou coincé,
- le tuyau doit être accessible sur toute sa longueur pour pouvoir procéder aux contrôles de son état,
- dans le cas de détention d'une fuite, le tuyau doit être remplacé sur la totalité de sa longueur; il est interdit de réparer un tuyau représentant une fuite.
Le raccordement d'une cuisine à une bouteille de gaz ou à une installation existante doit être effectué par un professionnel agréé dans le respect de toutes les normes de sécurité.

Une fois la cuisine récordée à l'installation, il est impératif de vérifier l'étanchéité de tous les raccords en utilisant, par exemple, de l'eau savonneuse.
Il est interdit d'utiliser une flamme pour tester l'étanchéité!
Raccordement de la cuisinière à l'installation électrique
Le raccordement à l'installation électrique ne peut être réalisé que par un professionnel qualifié. Il est interdit de procéder aux transformations ou aux modifications de l'installation électrique.
Indications pour l'installateur
La cuisinière est donc pour une alimentation en courant alternatif triphasé (400V 3N~50Hz). La tension nominale des éléments chauffants est de 230V. Il est possible d'adapter la cuisinière à une alimentation par courant monophasé (230V) par une réduction appropriée (pont) réalisée au niveau du bornier, selon le schéma des connexions ci-après. Le schéma des connexions est aussi représenté à côté du raccordement de la cuisinière. Pour ouvrir le bornier, enlevez le couvercle et faites pression avec un tournevis plat afin de débloquer les languettes latérales. Adaptez bien le cordon d'alimentation
au type de raccordement et à la puissance nominale de la cuisinière.
Le cordon d'alimentation doit être fixé à l'arrêt de traction du boîtier de raccordement de la cuisinière
N'oubliez pas de brancher la prise de terre au bornier de la cuisinière marqué par le symbole 12. L'alimentation électrique de la cuisinière doit être dotée d'un disjoncteur d'arrêt d'urgence qui permet de couper l'électricité à tout moment. La distance minimale entre les contacts d'interrupteur d'arrêt d'urgence est de 3 mm.
Avant de brancher la cuisinière à l'installation électrique, consulter les informations de la plaque signalétique et du schéma de raccordement.
Note : l'installateur est dans l'obligation de remettre à l'utilisateur « un certificat de raccordement de la cuisine à l'installation électrique »
Tout raccordement différent de celui préconisé sur le schéma peut entraîner la dépréciation de l'appareil.

| SCHEME DES BRANCHEMENTS POSSIBLES Note: la tension des éléments chauffants est de 230V. Note: Dans tous les cas de raccordement, la prise de terre doit être reliée au bornier au niveau du symbole ± PE. | |||
| Type de cable de raccordement recommendé | |||
| 1 | Cas du réseau de 230 V: le raccordement monophasé avec un fil neutre, les Ponts raccordent les bornes 1-2-3 et 4-5, prise de terre sur ± | 1N~ | H05VV-F3G4 3X 4 mm² |
| 2 | Cas du réseau de 400/230 V raccordement biphasé avec fil neutre, les Ponts raccordent les bornes 2-3 et 4-5, prise de terre sur ± | 2N~ | H05VV-F4G2,5 4X 2,5 mm² |
| 3 | Cas du réseau de 400/230 V: raccordement triphasé avec un fil neutre, les Ponts raccordent les bornes 4-5, les fils de phase connectés à 1, 2 et 3, fils neutre à 4 et 5, prise de terre sur ± | 3N~ | H05VV-F5G2,5 5X 2,5 mm² |
| Fils de phase - L1, L2, L3; N - fil neutre; PE - prise de terre | |||
Adapter la cuisinière à une autre famille de gaz
Cette opération ne peut être réalisée que par un installateur agréé. Si le gaz d'alimentation de la cuisinière est différent de la famille de gaz prévue pour cet appareil dans sa version d'usine, c'est-à-dire G20/25 20/25 mbar, il est impératif de remplacer les injecteurs et procéder au réglage de la flamme.
Pour adapter la cuisinière à une autre famille de gaz, il est impératif de :
- changer les injecteurs (voir le tableau ci-après),
- régler la flamme « économique »
Les cuisinières livrées par le fabricant sont dotées de brûleurs adaptés d'usine pour brûler le gaz indiqué sur la plaque.
Si le remplacement n'est pas fait correctement, la garantie ne sera pas validée et le fabricant ne sera pas responsable des conséquences. Utilisez les injecteurs fournis avec la cuisine.
Brûleur de type Defendi (selon le marquage « DEFENDI » indiqué sur le corps du brûleur)
| Famille de gaz | Brûleur | ||
| AuxiliaireDiamètre de l'injecteur [mm] | Semi rapideDiamètre de l'injecteur [mm] | RapideDiamètre de l'injecteur [mm] | |
| Puisance thermique1,00 kW | Puisance thermique1,75 kW | Puisance thermique3,00 kW | |
| G20/G25 20/25 mbar | 0,77 | 0,97 | 1,29 |
| G30 31/28-30/37 mbar | 0,50 | 0,65 | 0,87 |
Pour procéder au réglage, il est impératif d'enlever les manettes de gaz.

Changement de l'injecteur du brûleur de la plaque de cuisson - dévisser l'injecteur à l'aide d'une clé d'un diamètre 7 et le remplacer par un injecteur adapté à la famille de gaz (voir tableau ci-dessus).
Mode d'opération dans le cas de modification de la famille de gaz
| Brûleur | Flamme | Modification : du gaz butane/propane au gaz naturel | Modification : du gaz naturel au gaz butane/ propane |
| plaque de cuisson | maximale | 1. Changer l'injecteur selon le tableau des injecteurs. | 1. Changer l'injecteur selon le tableau des injecteurs. |
| minimale | 2. Desserrer légèrement la vis de réglage et régler la hauteur de la flamme. | 2. Serrer légèrement la vis de réglage et vérifier la hauteur de la flamme. |
Les brûleurs de la plaque de cuisson n'exigent pas de réglage de l'air primaire. Une flamme correcte se présente sous forme d'un cône bien dessiné dont l'intérieur est de valeur bleu-vert. Une petite flamme sifflante ou une flamme haute, jaune et fumante, dépourvue d'une forme claire de cône, signifie que la qualité du gaz est incorrecte ou que le brûleur est abîmé ou encrassé. Pour vérifier la flamme, il est impératif de chauffer le brûleur durant approximativement 10 minutes avec une flamme maximale et ensuite tourner le bouton vers la flamme minimale. La flamme ne doit pas s'éteindre ni passer sur les injecteurs.
L'arrivée de gaz vers les brûleurs de la plaque de cuisson se fait et s'ajuste à l'aide des valves dotées du dispositif de coupure automatique du gaz. Le réglage des valves doit se faire le brûleur allumé, en position « flâme minimale », à l'aide d'un tournevis de réglage de 2,5 mm.
Réglage de la valve

Le réglage terminé, il est impératif de poser sur l'appareil un autocollant qui indique le type de gaz auquel la cuisinière a été adaptée.
Avant la première utilisation de la cuisinière
Enlever tous les éléments de l'emballage, vider le tiroir, nettoyer le four afin de supprimer tous les restes de produits utilisés pour le protéger, - enlever tous les accessoires du four et les nettoyer à l'eau chaude avec du produit nettoyant, - allumer la ventilation du local ou ouvrir une fenêtre, chauffer le four en mode convection naturelle, 250°C, sur une durée moyenne de 30 minutes, enlever toutes les salissures et laver soigneusement, - nettoyer l'intérieur du four soigneusement.
Laver l'intérieur du four uniquement avec de l'eau chaude et une petite quantité de produit nettoyant.
Avant la première utilisation d'une cuisine avec un couvercle de plaque de cuisson en acier inoxydable ; il est nécessaire d'effectuer un nettoyage précis. Il est impératif d'enlever soignement les restes de colle et du film plastique qui enveloppe les supports, et le cas échéant, les restes de bande adhésive utilisée pour emballer l'appareil.
Lorsque vous branchez cet appareil à l'alimentation électrique, ou suite à une coupure de courant, l'indication «0.00» apparaît sur l'écran électronique. Vous devrez alors régler l'horloge (voir le chapitre Réglage de l'horloge).
Si l'horloge n'est pas mise à l'heure, le four ne pourrait pas fonctionner.
Display TA1

OK - touche de sélection du mode de fonctionnement
- touche plus
- touche moins
- symbole prét
- symbole du minuteur A - symbole de la fin de cuisson U TO
Mise à l'heure du programmateur
Après le branchement ou le rebranchement, l'afficheur indique l'heure 0.00.
Appuyer et maintenir la touche OK (ou simultanément les touches < / > ) jusqu'à l'apparition du symbole sur l'afficheur, le point sous le symbole clignote. - Régler l'heure actuelle dans les 7 secondes avec les touches < />.
Après le réglage de l'heure, au bout de 7 secondes environ, les nouvelles données sont sauvegardées et le point sous le symbole cesse de clignoter.
La modification de l'heure peut être effectuée plus tard en appuyant simultanément sur les touches < / >, lorsque le point sous le symbole clignote, il est possible de modifier l'heure actuelle.
Minuteur
Vous pouvez activer le minuteur à tout moment sans tenir compte de l'état d'activation des autres fonctions du programmeur. La durée du temps à programmer est de 1 minute à 23 heures et 59 minutes.
Pour programmer le minuteur
- Appuyez sur la touche OK jusqu'à ce que le témoin commence à clignoter.
- Programmez le temps à l'aide des touches > et <. Le temps programme apparaît sur l'afficheur et le témoin est allumé. À l'issue de la durée programmée, le signal sonore se déclenche et le témoin commence à clignoter.
- Appuyez sur la touche OK, < et > afin de couper le signal ; le témoin clignote alors et l'heure actuelle apparaît sur l'afficheur.
Attention:
Si le signal n'est pas coupé manuellement, il est interrompu automatiquement après environ 7 minutes.
Fonctionnement semi-automatique
Si vous voulez que le four s'arrête à une heure précise :
- Positionnez la manette de fonctions du four et la manette de régulation de la température sur les positions désirées.
- Appuyez sur la touche OK jusqu'à ce que apparaisissent sur l'afficheur.
- Programmez le temps désiré à l'aide des touches < et >, entre 1 minute et 10 heures.
Le temps programme sera mémorisé après environ 7 secondes ; l'heure actuelle apparait alors sur l'afficheur et la fonction AUTO est allumé.
À l'issue de la durée programmée, le four s'arrête automatiquement, un signal sonore se déclenche et la fonction AUTO commence à clignoter.
- Mettez les manettes de fonctions du four et de régulation de la température sur la position « arrêt ».
- Appuyez sur la touche OK, < et > afin de couper le signal ; le témoin clignote alors et l'heure actuelle apparaît sur l'afficheur.
Fonctionnement automatique
Si vous voulez que le four fonctionne pendant une durée précise et s'arrête à une heure précise, vous devriez programmer la durée de fonctionnement et l'heure d'arrêt :
- Appuyez sur la touche OK jusqu'à ce que apparaisse sur l'afficheur.
- Programmez le temps désiré à l'aide des touches < et >, entre 1 minute et 10 heures.
- Appuyez sur la touche OK jusqu'à ce que apparaisse sur l'afficheur End.
- Programmez l'heure d'arrêt (fin de fonctionnement) à l'aide des touches < et >, le four doit s'arrêter dans les 23 heures et 59 minutes à partir du moment de programmation.
- Positionnez la manette de fonctions du four et la manette de régulation de la température sur les positions désirées.
La fonction AUTO est allumée, le four se mettra en marche à l'heure résultat de la différence entre le temps d'arrêt programmé et la durée de cuisson (ex. le four est programmé pour une heure et il doit s'arrêter à 14.00, donc il se mettra en marche à 13.00).
À l'issue de la durée programmée, le four s'arrête automatiquement, un signal sonore se déclenche et la fonction AUTO clignote,
- Mettez les manettes de fonctions du four et de régulation de la température sur la position « arrêt »
- Appuyez sur les touches OK, pour arrêter la sonnerie, la fonction AUTO s’éteindra et le programmateur montrera le temps courant.
Annulation des réglages
Dans chaque moment on peut annuler les réglages du minuteur ou de la fonction du travail automatique.
Annulation du travail automatique :
- Appuyer en même temps sur les touches < et >.
Annulation du minuteur :
- Avec la touche OK Choisissez la fonction du minuteur.
- Appuyez de nouveau sur les touches < et >.
Changement du ton du bip sonore
On peut changer le ton du bip sonore de la façon suivante :
- Appuyez en même temps sur les touches < et >.
- Choisissez avec le bouton OK la fonction « ton », les indications du programmeur seront pulsatoires ton I.
- Choisissez avec le bouton OK le ton de 1 à 3.
Display TA2

OK - touche de sélection du mode de fonctionnement
- touche plus
- touche moins
- symbole prét
- symbole du minuteur
- symbole de la durée
- symbole de la fin de cuisson
Réglage de l'heure actuelle
Après la connexion au réseau ou la reconnexion après une panne de courant, l'écran affiche le message 0.00 qui clignote.
Appuyer et maintenir la touche OK (ou simultanément les senseurs < I>) jusqu'à l'apparition du symbole sur l'afficheur, le point sous le symbole clignote. - Régler l'heure dans les 7 secondes qui suivront, en utilisant les touches < />.
Après le réglage de l'heure, au bout de 7 secondes environ, les nouvelles données sont sauvegardées et le point sous le symbole cesse de clignoter.
La modification de l'heure peut être effectuée plus tard en appuyant simultanément sur les touches < / >, lorsque le point sous le symbole clignote, il est possible de modifier l'heure actuelle.
Attention:
Le four peut être mis en marche après l'apparition du symbole sur l'afficheur.
Minuteur
Il est possible d'activer le minuteur à tout moment, indépendamment des autres fonctions activées ou non. Le décompte se fait de 1 minute à 23 heures 59 minutes.
Pour régler le minuteur, il faut :
Appuyer sur le touche OK, le symbole - Régler le minuteur à l'aide des touches < / >, l'afficheur indique le temps réglé sur le minuteur et la fonction activée ① une fois le temps réglé écoulé, un signal sonore est émis et le symbole clignote. - Appuyer et maintenir pressé le touche < / > ou OK pour désactiver le signal sonore, le symbole s'éteint et l'afficheur affichera l'heure actuelle après environ 7 secondes.
Attention:
Si le signal sonore n'est pas désactivé manuellement, il s'arrête automatiquement après environ 7 minutes.
Fonctionnement semi-automatique
Pour éteindre le four à une heure fixée au préalable, il faut :
- Régler les boutons régulateurs des fonctions du four et de la température sur les positions choisies du mode de fonctionnement du four.
- Appuyer sur le touche OK jusqu'à ce que l'afficheur affiche brièvement dur et le symbole commence à clignoter.
- Régler la durée de caisson requise à l'aide des touches < / >, dans une étendue de 1 minute à 10 heures.
Le temps réglé est sauvegardé après environ 7 secondes, l'afficheur indique de nouveau l'heure actuelle et le symbole est allumé. Une fois le temps réglé écoulé, le four s'éteint automatiquement, un signal sonore est émis et les symboles et clignotent.
- Régler les boutons régulateurs des fonctions du four et de la température sur la position éteint. Appuyer et maintenir pressé le touche < / > ou OK pour éteindre le signal sonore, les symboles et s'éteignent et après environ 7 secondes, l'afficheur affichera l'heure actuelle.
Fonctionnement automatique
Si le four doit s'emettre en marche pour une durée déterminée et s'eteindre à une heure fixe, régler la durée de cuisson et ensuite l'heure de la fin de cuisson :
Appuyer sur le touche OK jusqu'à ce que l'afficheur affiche brièvement End et le symbole commence à clignoter. - Régler la durée de cuisson requise à l'aide des touches < / > comme pour le mode semi-automatique. Appuyer sur le touche OK jusqu'à ce que l'afficheur affiche brièvement End et le symbole commence à clignoter. - Régler l'heure de la fin de cuisson à l'aide des touches < / >, l'heure peut être différée à 23 heures et 59 minutes au maximum. - Régler les boutons régulateurs des fonctions du four et de la température sur les positions choisies du mode de fonctionnement du four. Les symboles & \ & sont actifs, le four se met en marche selon la durée de cuisson et l'heure de la fin de cuisson régées (p. ex. la durée de cuisson est régée sur 1 heures et l'heure de la fin de cuisson sur 14:00, le four se met automatiquement en marche à 13:00).
Une fois la cuisson terminée (l'heure de la fin de cuisson atteinte), le four s'éteint automatiquement, un signal sonore est émis et les symboles et clignotent.
- Régler les boutons régulateurs des fonctions du four et de la température sur la
position éteinte.
Appuyer et maintenir pressé le touche < / > ou OK pour éteindre le signal sonore, les symboles s'éteignent, et après environ 7 secondes, l'afficheur affiche l'heure actuelle.
Suppression des réglages
Il est possible de supprimer le réglage du minuteur ou du mode automatique à tout moment.
Suppression des réglages du mode automatique :
Appuyer simultanément sur les touches < / >
Suppression des réglages du minuteur :
- À l'aide du touche OK, sélectionner la fonction du minuteur. Appuyer de nouveau sur les touches < /
Modification de la tonalité du signal sonore
La tonalité du signal sonore peut être modifiée de la manière suivante :
Appuyer simultanément sur les touches < / > - À l'aide du touche OK sélectionner la fonction tonalité, les indications sur l'afficheur clignotent ton I: - À l'aide des touches < / > désirs la tonalité : dans une étendue de 1 à 3 à l'aide du touche > - dans une étendue de 3 à 1 à l'aide du touche <.
Modification de la luminosité de l'afficheur
Il est possible de modifier la luminosité de l'afficheur dans une étendue de 1 à 9, où 1 correspond au réglage le plus souvent et 9 au
réglage le plus clair. Les nouvelles valeurs sont introduites si l'horloge n'est pas active (à savoir l'utilisateur n'a touché aucun senseur pendant au moins 7 secondes).
La luminosité de l'afficheur peut être modifiée de la manière suivante :
Appuyer simultanément sur les touches < / > - À l'aide du touche OK, Sélectionner la fonction bri (une première pression fait passer au mode tonalité et la deuxième au mode bri). - À l'aide des touches < / > désir le degré de luminosité :
Dans une étendue de 1 à 9, à l'aide du touche >
Dans une étendue de 9 à 1, à l'aide du touche <.
Attention :
Si l'horloge est activée, (à savoir l'utilisateur n'a touché aucun senseur pendant au moins 7 secondes), la luminosité est maximale.
Mode nocturne
Entre 22:00 et 6:00, l'afficheur diminue automatiquement la luminosité.
Mode d'utilisation des brûleurs de la plaque de cuisson
Pour les informations concernant la disposition des brûleurs et des manettes de commande correspondantes - voir le chapitre Caractéristiques de l'appareil.
Choix du récipient
Il est impératif de faire attention à ce que le diamètre du fond de la casserole soit toujours plus grand que la couronne de la flamme du brûleur et que le réseau soit couvert. Nous recommandons d'utiliser une casserole dont le fond a un diamètre supérieur de 2,5 à 3 fois au diamètre des brûleurs, c'est-à-dire pour un brûleur:
- d'appoint (auxiliaire) - un récipient au diamètre de 90 à 150 mm,
- moyen - récipients au diamètre de 160 à 220 mm, grand - récipient au diamètre de 200 à 240 mm. La hauteur de la casserole ne doit pas dépasser son diamètre
INCORRECT
CORRECT

Ne pas poser sur la plaque de cuisson des casseroles qui dépasseraient les bords de la table.
MISE EN GARDE: Utilisez uniquement des récipients à fond plat.
Attention: En cas d'utilisation de récipient à large fond, veillez à ne pas dépasser les bords de la table de cuisson et ainsi éviter une surchauffe au niveau du bandeau de commande.

Allumer un brûleur à l'aide de l'allumage 1 main
- enforcer la manette du brûleur sélectionné jusqu'à partir une résistance et la tourner à gauche, vers la position « flamme maximale » ♂,
- le tenir enfoncé jusqu'à ce que le brûleur s'allume
- le brûleur allumé, relâcher le bouton et régler l'intensité de la flamme.
Dans le cas de cuisinières équipées d'un thermocouple sur les brûleurs de la plaque de cuisson, le bouton doit être enfoncé en position « flamme maximale » pendant l'allumage durant environ 10 secondes pour que le dispositif se mette en marche. En cas de difficulté d'allumage suite à la modification de la famille du gaz et de sa composition, il est impératif de centrer correctement la couronne de brûleur par rapport à l'allumage électronique.
Choix de la flamme du brûleur
La flamme des brûleurs correctement réglés est d'une couleur bleu ciel ayant la forme d'un cône intérieur clairement défini. Le choix de la puissance de la flamme dépend du besoin de la position du bouton du brûleur :
flamme maximale - flamme minimale (appelée « économique ») - brûleur éteint (gaz coupé)
L'intensité de la flamme s'ajuste sans contraintes aux besoins de l'utilisateur.
INCORRECT
CORRECT

Il est interdit de régler la flamme dans l'intervalle entre brûleur éteint ● et flamme maximale
Principe de fonctionnement du dispositif de sécurité
Les brûleurs des cuisinières sont équipés d'un dispositif d'extinction automatique du gaz dans le cas d'une interruption accidentelle appelé thermocouple.
Ce système permet la protection contre une fuite de gaz dans le cas d'extinction de la flamme.
Pour rallumer le brûleur, une intervention manuelle est nécessaire ; remettre la manette sur la position ● au préalable et suivre le mode de mise en marche ci-après.
Mode d'utilisation de la plaque de cuisson
Pour les informations concernant la disposition des brûleurs et des manettes de commande correspondantes - voir le chapitre Caractéristiques de l'appareil.
Pour régler la puissance de la plaque, tournez progressivement la manette à droite ou à gauche. Lorsque vous allumez la plaque de cuisson, le voyant de contrôle orange (sur le bandeau de commande, au milieu) s'allume. Un récipient bien choisi permet d'économiser de l'énergie. Le fond du récipient devrait être écais et plat et son diamètre devrait être égal au diamètre du brûleur, c'est-à-dire 18 cm, car le passage de la chaleur est alors meilleur.





Positions indicatives de la manette
0 Arrêt MIN. Préchauffage 1 Légumes braisés, cuisson à puissance réduite Cuisson des potages, des plats en grande quantité 2 Friture à puissance réduite Grillage des viandes, des poissons 3 MAX. Chauffage rapide, cuisson et friture rapides

Veillez à la propreté de la plaque – une plaque sale perd sa puissance.
Protégez la plaque contre la corrosion.
Éteignez la plaque avant de retirer le récipient.
Ne laissiez pas sans surveillance les récipients contenant des aliments, préparés sur la graisse ou l'huile, sur une plaque allumée ; la graisse brûlante peut s'enflammer.
Les fonctions du four et de son utilisation.
Les informations concernant l'équipement du four et de ses éléments chauffants se trouvent dans le tableau du chapitre « Caractéristiques de l'appareil » selon le modèle du four.
Four avec circuit d'air force et fonction soft steam
Le four est chauffé par les éléments chauffants supérieur et inférieur, le grill et l'élement chauffant de la fonction Soft Steam. La commande du four se fait par le régulateur de température et le sélecteur du mode de fonctionnement du four. Le réglage se fait par la sélection du mode et de la température en tournant les sélecteurs sur la position voulue.
Pour éteindre - positionner les deux boutons sur „ • ” / „0".
La montée en température (de la résistance, etc.) s'effectue seulement après avoir sélectionné une des fonctions du four et la température.
Positions du bouton des fonctions du four
0 Réglage zéro

Montée en température rapide
Les éléments de chauffe inférieur et supérieur, gril et ventilateur allumés. Cette fonction permet un préchauffage rapide du four.

Super grill ventilé
L'utilisation de cette fonction permet d'accélérer la cuisson, de cuire de grandes quantités d'aliments et d'augmenter la saveur des mets.

Gril renforcé (gril et résistance de voûte)
La fonction « gril renforcé » permet de griller en utilisant en même temps la résistance de VOITE. Une température plus importante est obtenue dans la partie supérieure du four, afin de cuire des quantités plus importantes et de brunir les alimentés.

Gril simple
Cette fonction permet de griller les mets peu épais et placés au centre du four.

Résistance au soleil
Cette fonction déclenche uniquement la résistance de sole.
Cette fonction permet une cuisson complémentaire de la base de vos pâtisseries ou tartes.

Cette fonction permet de cuire les aliments sur un seul niveau.

Chaleur tournante
Cette fonction permet une cuisson ventilée par l'air forcé grâce au thermo-ventilateur situé au fond du four. Ce mode de cuisson permet une distribution uniforme de la chaleur autour des plats. Lors de l'utilisation de cette fonction, diminuer de 20°C à 40°C la température utilisée en convection naturelle.
Les avantages de cette fonction :
- la durée initiale de mise à température du four est diminuée via le raccourcissement de la phase de préchauffage,
- Elle permet de cuire sur deux niveaux à la fois,
- les viandes perdent moins de graisse et de jus, conservant ainsi une meilleure saveur.

Convection naturelle ventilée
Cette combinaison de fonction permet de cuire plus facilement les pizzas entre autres.

Sole pulsée
Cette fonction permet d'augmenter la température au niveau de la pâte des pâtisseries pour qu'elles soient plus croustillantes.

Fonction soft steam
Le four est équipé d'un élément chauffant supplémentaire qui permet la production de vapeur lors de la cuisson initiale. La vapeur a un impact positif sur le levage de la pâte et facilite la préparation de plats tendres et à la fois croustillants.
Activation de la fonction :
1. Ouvrir la porte du four. 2. Remplir le fond de la chambre de cuisson avec de l'eau courante.
Attention : verser l'eau lorsque le four est froid.
3. Régler la fonction Soft Steam sur le sélecteur. 4. Tourner le régulateur pour régler la température souhaitée. 5. Après le réchauffement du four pendant 5-10 min, placer le plat à l'intérieur et fermer la porte. 6. Pour éteindre le four, tourner le régulateur de la température et le sélecteur des modes sur la position « éteint ». 7. Éliminer l'eau du four.
Attention: Avant d'éliminer l'eau du four, s'assurer que le four est froid.

Mode de cuisson ECO
Cette fonction permet de chauffer les plats de manière optimisée pour permettre d'économiser de l'énergie. Le temps de cuisson peut être allongé. Sur cette position, l'éclairage du four reste éteint.
Voyants de contrôle
Quand le four est allumé, deux voyants s’éclairent, un voyant orange et un voyant rouge. Le voyant orange indique que le four est activé. Le voyant rouge s’éteint lorsque le four a atteint la température indiquée. Si la recette prévoit que le plat soit mis dans un four déjà chaud, attendre que le voyant rouge s’éteigne une première fois. Durant la cuisson, le voyant s’éteindra et s’allumera régulièrement (maintien de la température stable du four).
Important!
- Aucune plaque de cuisson ou autres éléments ne faisant pas partie de l'équipement du four ne peuvent se couvrir dans la chambre de cuisson au moment de la chauffe rapide. Il est déconseillé d'utiliser la fonction de chauffe rapide avec le programmateur activé. L'apparition de la condensation sur le contour interieur de la porte et sur les parois du four est liée à la présence de la vapeur dans la chambre de cuisson. Une fois la cuisson terminée, essuyer l'eau condensée.
- Prendre toutes les précautions et s'écartera de l'appareil lors de l'ouverture de la porte pendant la cuisson, car la vapeur se dégageant de l'intérieur du four peut être dangereuse.
Utilisation du grillette
Les plats sont grillés par rayons infrarouges émis par la résistance incandescente du grill. Pour allumer le grill, il faut :
tourner la manette sur la position - monter le four en température durant approximativement 5 minutes (porte du four fermée). insérer la lèchefrite avec votre plat au niveau correspondant. Si vous utilisez la broche, besoinir le niveau plus bas que le niveau de la broche pour y déposer une lèchefrite afin de récapérez la graisse. fermer la porte du four.
Pour les températures correspondant à l'utilisation du grill, voir Cuisson au four - Conseils pratiques
Utiliser le grill avec la porte du four fermée.
Lors d'utilisations du grill, les parties accessibles du four peuvent venir brûlantes. Tenir les enfants à l'écart.
Pâtisseries
- pour la préparation de vos pâtisseries/gâteaux, nous vous recommandons l'utilisation de la léchefrite livrée avec l'appareil ou de la plaque à pâtisserie posée sur la grille
- Il est également possible d'utiliser les moules et l'échefrites achetés dans le commerce. Il faut les poser sur la grille. Nous vous recommendons, pour vos pâtisseries, d'utiliser les échefrites noires qui conduisent moins la chaleur et raccourcissent le temps de cuisson,
- Si vous utilisez la chaleur tournante, il n'est pas obligatoire de préchauffer le four. Dans le cas contraire, il est nécessaire de le préchauffer avant de mettre les pâtisseries dans le four,
- Avant de sortir les pâtisseries/gâteaux du four, il faut vérifier la qualité de la cuisson avec une tige en bois (si la pâte est cuite, la tige enfoncée dans le gâteau ressort sèche et propre),
- Il est conseillé de laisser votre pâtisserie/gâteau dans le four, après l'avoir éteint, pendant environ 5 minutes, la température de cuisson avec la fonction chaleur tournante étant approximativement 20 à 30 degrés inférieure par rapport à une cuisson conventionnelle (utilisation des résistances supérieure et inférieure),
- Les indications sur le tableau de cuisson ci-dessous sont approximatives et chaque utilisateur peut les modifier selon ses expériences et préférences culinaires,
- Si les informations suggérées dans le livre de recettes sont très différentes des valeurs représentées dans ce mode d'emploi, veuillez suivre les indications du mode d'emploi.
Cuisson et rôtissage des viandes
- Le four est destiné à la préparation des portions de viande dont le poids est supérieur à 1 kg. Nous recommandons la préparation des parts plus petites sur la plaque de cuisson,
- Nous recommandons l'utilisation de récipients résistants à la chaleur. Leurs poignées devront être également résistantes aux hautes températures,
- dans le cas d'utilisation d'un support grille ou d'une broche, nous recommandons de poser au niveau inférieur une lèchefrite incluant une petite quantité d'eau. normalement, la viande doit être retournée au minimum une fois à la moitié du temps de cuisson. Le rôti doit également être arrosé de sa sauce ou d'eau chaude salée. Il ne faut pas asperger le rôti avec de l'eau froide.
Mode de cuisson ECO
- en utilisant le mode ECO, la cuisson est optimisée par un programme spécifique qui se met en route pour économiser de l'énergie lors de la préparation des plats.
- La durée de cuisson ne sera pas réduite par un réglage plus élevé de la température, le préchauffage du four avant la cuisson n'est pas nécessaire.
- durant le processus de cuisson, veiller à ne pas modifier le réglage de la température ni ouvrir la porte.
Paramètres recommandés lors de l'utilisation du mode de cuisson ECO
| Type de cuissons Plat | Fonction du four | Température (°C) | Niveau | Durée (min.) |
| Tarte biscotte | ECO | 180 - 200 | 2 - 3 | 50 - 70 |
| Tarte traditionnelle | ECO | 180 - 200 | 2 | 50 - 70 |
| Poisson | ECO | 190 - 210 | 2 - 3 | 45 - 60 |
| Bœuf | ECO | 200 - 220 | 2 | 90 - 120 |
| Porc | ECO | 200 - 220 | 2 | 90 - 160 |
| Poulet | ECO | 180 - 200 | 2 | 80 - 100 |
Cuisson dans le FOUR - conseils pratiques
| Type de plat/ cuisson | Fonction du four | Température (°C) | Niveau | Temps (min.) |
| Tarte biscotte | □ | 160 - 200 | 2 - 3 | 30 - 50 |
| Muffins | □ | 160 - 1701) | 3 | 25 - 402) |
| Muffins | □ | 155 - 1701) | 3 | 25 - 402) |
| Pizza | □ | 200 - 2301) | 2 - 3 | 15 - 25 |
| Poisson | □ | 210 - 220 | 2 | 45 - 60 |
| Poisson | □ | 160 - 180 | 2 - 3 | 45 - 60 |
| Poisson | □ | 190 | 2 - 3 | 60 - 70 |
| Saucisses | □ | 220 | 4 | 14 - 18 |
| Bœuf | □ | 225 - 250 | 2 | 120 - 150 |
| Bœuf | □ | 160 - 180 | 2 | 120 - 160 |
| Porc | □ | 160 - 230 | 2 | 90 - 120 |
| Porc | □ | 160 - 190 | 2 | 90 - 120 |
| Poulet | □ | 180 - 190 | 2 | 70 - 90 |
| Poulet | □ | 160 - 180 | 2 | 45 - 60 |
| Poulet | □ | 175 - 190 | 2 | 60 - 70 |
| Légumes | □ | 190 - 210 | 2 | 40 - 50 |
| Légumes | □ | 170 - 190 | 3 | 40 - 50 |
1) Préchauffer le four vide 2) Les durées sont indiquées pour des produits dans de petits moules Attention : Les paramètres sont indiqués dans le tableau à titre indicatif et peuvent être modifiés selon votre propre expérience et préférences.
Sauf indication contraire, les durées sont indiquées pour un four non préchauffé. Raccourcir les durées d'environ 5-10 minutes pour un four préchauffé.
Cuisson de gâteaux
| Type de plat | Accessoires | Niveau | Fonctions de cuisson | Température (°C) | Temps de cuisson 2) (min.) |
| Petits gâteaux | Plaque pour pain | 4 | ☐ | 160 1) | 28 - 32 2) |
| Plaque pour pain | 3 | ☐ | 155 1) | 23 - 26 2) | |
| Plaque pour pain | 3 | ☐ | 150 1) | 26 - 30 2) | |
| Plaque pour pain Plaque pour rôti | 2 + 42 - plaque pour pain ou pour rôti4 - plaque pour pain | ☐ | 150 1) | 27 - 30 2) | |
| Pâte brisée (bandes) | Plaque pour pain | 3 | ☐ | 150 - 160 1) | 30 - 40 2) |
| Plaque pour pain | 3 | ☐ | 150 - 170 1) | 25 - 35 2) | |
| Plaque pour pain | 3 | ☐ | 150 - 170 1) | 25 - 35 2) | |
| Plaque pour pain Plaque pour rôti | 2 + 42 - plaque pour pain ou pour rôti4 - plaque pour pain | ☐ | 160 - 175 1) | 25 - 35 2) | |
| Généaise sansGRAISSE | Grille + moule pour gâteau revêtu de noirØ 26 cm | 2 | ☐ | 170 - 180 1) | 38 - 46 2) |
| Tarte aux pommes | Grille + deux moules pour gâteau revêtus de noirØ 20 cm | 2Les moules ont été disposés sur la grille en diagonale, droite arrête, gauche avant | ☐ | 180 - 200 1) | 50 - 65 2) |
1) Préchauffer le four vide, ne pas utiliser la fonction de réchauffement rapide pendant environ 5 minutes. 2) Sauf indication contraire, les durées sont indiquées pour un four non préchauffé.
Mode grill
| Type de plat | Accessoires | Niveau | Fonctions de cuisson | Température (°C) | Durée (min.) |
| Pain blanc grillé | Grille | 4 | 2201) | 1,5 - 2,5 | |
| Grille | 4 | 2202) | 2 - 3 | ||
| Hamburgers de bœuf | Grille + plaque pour rôti (pour récapérez les égout-tages) | 4 - grille 3 - plaque pour rôti | 2201) | 1 page 10 - 152 page 8 - 13 |
1) Préchauffer le four vide en l'allumant pour 5 minutes, ne pas utiliser la fonction de réchauffement rapide. 2) Préchauffer le four vide en l'allumant pour 8 minutes, ne pas utiliser la fonction de réchauffement rapide.
Cuisson
| Type de plat | Accessoires | Niveau | Fonctions de cuisson | Température (°C) | Durée (min.) |
| Poulet entier | Grille + plaque pour rôti (pour récapére les égoutages) | 2 - grille 1 - plaque pour rôti | 180 - 190 | 70 - 90 | |
| Grille + plaque pour rôti (pour récapére les égoutages) | 2 - grille 1 - plaque pour rôti | 180 - 190 | 80 - 100 |
Sauf indication contraire, les durées sont indiquées pour un four non préchauffé. Raccourcir les durées d'environ 5-10 minutes pour un four préchauffé.
Afin de prolonger la vie utile de la cuisine et l'utilisation correcte de ses éléments chauffants, l'utilisateur doit l'entretenir correctement et effectuer la maintenance préconisée qui lui permettront, en plus, de faire des économies.
Avant de commencer le nettoyage ou d'autres travaux d'entretien, il est impératif de toujours débrancher l'appareil de sa source d'alimentation (sortir la fiche de la prise). Le nettoyage ne peut commencer que lorsque la plaque de cuisson est froide.
Foyers, grille de la plaque de cuisson, parties métalliques de la cuisinière
- Enlever les brûleurs et la grille encrassés et les laver dans de l'eau chaude avec du produit nettoyant et dégraissant. Les sécher soigneusement. Une fois la grille enlevée, il faut laver soigneusement la plaque de cuisson, la sécher avec un torchon sec et doux. Il est impératif de faire particulièrement attention à la propreté des orifices de l'anneau du brûleur – voir l'image ci-après. Nettoyer les ouvertures des injecteurs à l'aide d'un fil fin en cuivre. Ne pas utiliser un fil en acier, ne pas aléser les trous.

Tous les éléments du brûleur doivent toujours rester secs. Les particules d'eau peuvent diminuer le débit de gaz et provoquer une mauvaise combustion.
Il faut s'assurer que toutes les pièces du brûleur ont été bien repositionnées après le nettoyage.
Une mauvaise position du chapeau du brûleur peut causer des dommages irréversibles au brûleur.



- Pour nettoyer les surfaces en émail, utiliser les produits non agressifs. Ne pas utiliser de produits nettoyants fortement abrasifs tels que les poudres à recycler contenant des agents abrasifs, pâtes abrasives, pierres abrasives, pierres ponces, éponges en acier, etc.
- Avant toute première utilisation, il faut laver la cuisinière et le couvercle de la plaque de cuisson en acier inoxydable. Il faut enlever soigneusement les restes de colle et du film plastique qui enveloppe les supports, et le cas échéant, les restes de bande adhésive utilisée pour emballer l'appareil. La cuisinière doit être nettoyée après chaque utilisation. Il est impératif d'éviter un fort encrassement de la plaque de cuisson, en particulier, d'éviter de brûler les liquides ayant débordé. Veillez à la propriété de la plaque – une plaque sale perd sa puissance.
Protégez la plaque contre la corrosion. Éteignez la plaque avant de retirer le récipient. Ne laissez pas sans surveillance les récipients contenant des aliments, préparés sur la graisse ou l'huile, sur une plaque allumée; la graisse brûlante peut s'enflammer.
Four
Le four doit être nettoyé après chaque utilisation. Pour plus de visibilité, nettoyer le four avec l'éclairage allumé. - Laver l'intérieur du four uniquement avec de l'eau chaude et une petite quantité de produit nettoyant. - Après avoir nettoyé le four, il faut l'essuyer soigneusement.

Pour nettoyer et entretenir les portes vitrées, ne pas utiliser de produits abrasifs.
- Les gradins du four sont facilement démontables. Pour les nettoyer, soulever le crochet avant de la glissière, l'écartrer légèrement et enlever le crochet arrêté. Après le nettoyage des gradins, il faut les replacer dans les trous de fixation et faire entrer les crochets.

Déinstallation des glissières


- Détartrage du four à l'aide de la fonction Soft Steam:
- verser dans la fente du fond du four environ 250 ml 6 % de vinaigre sans herbes, - laisser le vinaigre agir pendant 30 minutes pour que les dépôts de tartre se dissolvent,
-nettoyer la fente à l'aide d'eau tiède et d'un chiffon doux.
Attention: Il est conseillé de procéder au nettoyage tous les 5-10 cycles, en utilisant la fonction Soft Steam.
Le four est doté d'un jeu de parois recouvertes d'un émail spécifique, auto-nettoyant. Grâce à cet émail, les encrassures, graisses ou les restes de cuisson seront éliminés automatiquement, à condition qu'ils ne soient pas desséchés ou carbonisés. Afin d'éviter un long nettoyage par catalyse du four, les restes de nourriture et les graisses doivent être nettoyés au plus tôt, avant qu'ils ne soient desséchés ou carbonisés. Pour procéder à l'auto-nettoyage du four, le laisser allumé pendant 1 heures et régler la température à 250°C. Si l'encrassement n'est pas important, la durée peut être raccourcie.
Important!
Le nettoyage par catalyse implique une grande consommation d’énergie, nous recommandons donc de vérifier, avant d’y procéder, le niveau d’encrassement. Si l’utilisateur constate la baisse de rendement des plaques en émail catalytique, il peut les remplacer via le service après-vente. Si vous désisissez une méthode traditionnelle de nettoyage, n’oubliez pas que l’émail auto-nettoyant n’est pas résistant à la friction, il faut éviter l’utilisation de nettoyants abrasifs ou de chiffons durs.
Désinstallation des parois catalytiques
Afin d'éviter une électrocution, avant de changer l'ampoule, s'assurer que l'appareil est éteint.
- Positionner toutes les manettes sur ‘’/‘0’ et débrancher l'appareil de sa source d'alimentation.
- choisissant une ampoule identique et résistante aux hautes températures (300^) - ayant les caractéristiques suivantes:
- tension 230 V
- puissance 25 W - culot E14.
- Bien positionner l'ampoule dans la douille et la visser correctement. Fixer le couvercle.

Retrait de la porte
Vous pouvez retirer la porte du four pour avoir un meilleur accès à la cavity lors du nettoyage. Pour ce faire, il faut ouvrir la porte et soulever le dispositif de verrouillage dans la charnière (fig. A). Soulevez légèrement la porte et tirez-la vers vous sous l'angle d'environ par rapport au niveau horizontal. Afin de remonter la porte, procédez dans l'ordre inverse. Faites attention à mettre correctement le cran de la charnière sur l'ergot de la porte-charnière. Après avoir remis la porte du four, baissez obligatoirement le dispositif de verrouillage. Si vous ne le faites pas, vous risqueriez d'endommager la charnière lors de la fermeture de la porte.
Écartement des dispositifs de verrouillage des charnières
Démontage de la vitre intérieure
- Retirer la plinthe supérieure de la porte. (fig. B, C)


- Décrochez la vitre intérieure de sa fixation (en partie inférieure de la porte). Extraire la vitre intérieure (schéma D).
- Laver la vitre à l'eau chaude avec un peu de produit de nettoyage.
La répose de la vitre se fait dans l'ordre inverse des opérations du démontage. La partie lisse doit se trouver en haut.
Attention! Il ne faut pas pousser simultanément la plinthe supérieure des deux côtés de la porte. Afin de placer correctement la plinthe supérieure de la porte, il faut en premier placer l'extrémité gauche de la plinthe sur la porte et enfonce l'extrémité droite jusqu'à ce qu'un « clic » se fasse entendre. Ensuite, il faut enfonce la plinthe du côté gauche jusqu'à ce qu'un « clic » se fasse entendre.
Démontage de la vitre intérieure
Dans chaque situation d'urgence, il faut :
fermer les manettes de la cuisinière - débrancher l'appareil de la source d'alimentation - contacter le service après-vente
Des petits dysfonctionnements peuvent être solutionnés par les utilisateurs à l'aide du tableau ci-après. Avant de contacter le service client ou le service après-vente, consultez ce tableau :
| PROBLÈME | RAISON | SOLUTION |
| 1. Le brûleur ne s'allume pas | orifices de flamme bouchés | Fermer le robinet de gaz,fermer les manettes debrûleurs, aérer le local, sortirle brûleur, le nettoyer et pur-ger les orifices de flamme. |
| 2. L'allumeur ne fonctionne pas | interruption d'alimentationélectrique | vérifier le fusible du tableaudistributeur de la maison, lerebrancher ou replacer |
| interruption d'alimentationdu gaz | Ouvrir le robinet du gaz | |
| l'allumage électronique du gaz encrassé (graisse) | nettoyer l'allumage élec-tronique | |
| Le bouton n'a pas été enfon-cé suffisamment longtemps | Maintenir le bouton jusqu'àce que la flamme apparais-se tout au long du tube dechauffe | |
| 3. La flamme s'éteint lors de l'allumage | La manette est libérée trop vite | Tenir la manette enforcéeplus longtemps en position« flamme maximale » |
| 4. L'électronique ne fon-cionne pas | interruption d'alimentationélectrique | vérifier le fusible du tableaudistributeur de la maison, lerebrancher ou replacer |
| 5. l'éclairage du four ne fon-cionne pas | ampoule dévissee ou grilée | visser l'ampoule ou la rem-placer(voir le chapitre N-toyage et maintenance) |
| Tension nominale | 230/400V~50 Hz |
| Puisance nominale | 4,8 kW |
| Charge thermique | 5,75 kW |
| Catégorie d'appareil | FR III1c2E+3+ |
| BE II2E+3+ | |
| Dimensions de la cuisinière (auteur/largeur/profondeur) | 85 / 60 / 60 cm |
L'appareil est conforme aux normes EN 60335-1, EN 60335-2-6, EN-30-1-1 en vigueur dans l'Union europeenne.
Les données sur l'étiquetage énergétique des fours électriques sont indiquées conformément à la norme EN 60350-1/CEI 60350-1. Ces données sont définies pour des charges standard avec les fonctions actives : éléments chauffants inférieur et supérieur (mode conventionnel) et réchauffement avec l'assistance du ventilateur (si ces fonctions sont accessibles).
La classe d'efficacité énergétique est définie selon les fonctions accessibles dans le produit conformément à la priorité ci-dessous :
| Circuit d'air forcé ECO (chaleur tournante + ventilateur) | ECO |
| Circuit d'air forcé ECO (élément chauffant inférieur + supérieur + grill + ventilateur) | ECO |
| Mode conventionnel ECO (élément chauffant inférieur + supérieur) | ECO |
Pour définir la consommation d'énergie, démonter les glissières télescopiques (si le produit dispose de cet équipement).
Déclaration du fabricant:
Le fabricant déclare que ce produit répond aux exigences essentielles des directives européennes suivantes:
Directive «asse tension» 2014/35/CE - Directive de compatibilité électromagnétique 2014/30/CE Règlement (UE) 2016/426 du Parlement européen et du Conseil Directive « Éco-conception » 2009/125/CE,
et, par conséquent, le produit est marqué CE et a obtenu une déclaration de conformité mise à la disposition des autorités de surveillance du marché.
SIDEME sa
BP 200
F-92306 Levallois-Perret Cedex

Tous les papiers se recyclent, pensez au tri.

A RECYCLER
Pour en savoir plus : www.quefairedemesdechets.fr
Notice Facile