RBCP3183 - Réfrigérateur-congélateur ROSIERES - Notice d'utilisation et mode d'emploi gratuit
Retrouvez gratuitement la notice de l'appareil RBCP3183 ROSIERES au format PDF.
| Type d'appareil | Réfrigérateur combiné encastrable |
| Capacité totale | Non précisé |
| Capacité réfrigérateur | Non précisé |
| Capacité congélateur | Non précisé |
| Classe énergétique | Non précisé |
| Type de froid | Non précisé |
| Dimensions (HxLxP) | Non précisé |
| Type d'installation | Encastrable |
| Nombre de portes | 2 |
| Type de dégivrage | Non précisé |
| Consommation électrique annuelle | Non précisé |
| Niveau sonore | Non précisé |
| Type de commande | Non précisé |
| Matériau extérieur | Non précisé |
| Couleur | Non précisé |
| Poids | Non précisé |
| Garantie | Non précisé |
FOIRE AUX QUESTIONS - RBCP3183 ROSIERES
Questions des utilisateurs sur RBCP3183 ROSIERES
0 question sur cet appareil. Repondez a celles que vous connaissez ou posez la votre.
Poser une nouvelle question sur cet appareil
Téléchargez la notice de votre Réfrigérateur-congélateur au format PDF gratuitement ! Retrouvez votre notice RBCP3183 - ROSIERES et reprennez votre appareil électronique en main. Sur cette page sont publiés tous les documents nécessaires à l'utilisation de votre appareil RBCP3183 de la marque ROSIERES.
MODE D'EMPLOI RBCP3183 ROSIERES
Pour accéder au panneau de commande, il suffit d'ouvrir la porte supérieure du réfrigérateur.

Congelation avec le refrigerateur a DOUBLE compresseur
Pour réduire considérablement les temps de congélation, il est possible de retirer temporairement le tiroir ***. Sur le panneau de commande du freezer sur la fonction SUPER, le témoin orange s'allumera (voir figure 1). Après 24 heures, posez directement les aliments sur la grille métallique. La congélation sera terminée au bout de 24 heures; le tiroir pourra alors être remis en place et les aliments redistribués dans le congélateur. Au bout de 50 heures environ, la carte électronique se réglera automatiquement sur la dernière température intermédiaire réglée. La quantité maximale d'aliments pouvant être congélée est indiquée sur la plaque de données (voir figure 2). Pour les essais de congélation et de conservation, retirez tous les tiroirs sauf celui du bas.
Congelation avec le refrigerateur a compresseur UNIQUE
Gardez suffisamment d'espace pour accueillir la quantité d'aliments devant être congelée, aliments qui doivent être répartis uniformément sur la clayette. Après quelques heures, placez les aliments devant être congelés dans le congélateur. La congélation est terminée après 24 heures. Afin d'éviter le refroidissement excessif des aliments placés dans le réfrigérateur au cours de la phase de congélation, descendez légèrement le thermostat au moment où vous placez les aliments devant être congelés. Une fois le procédé de congélation terminé, repositionnez le thermostat à sa position d'origine. Afin d'évaluer les réglages de congélation et d'entreposage, retirez tous les tiroirs excepté celui du bas. La quantité maximale d'aliments pouvant être congélée figure sur la plaque signalétique (voir image 2).
Boitier de commande du réfrigérateur
Pour allumer le réfrigerateur et modifier sa température, il est nécessaire d'actionner le bouton de réglage du thermostat. Le boîtier du thermostat se trouve à l'intérieur du réfrigerateur, en haut à droite. Le réfrigerateur est allumé si le bouton de réglage est sur „0". Les positions 2-3 sont conseillées.
ATTENTION: Si l'appareil est équipé de 2 compresseurs, il est possible d'éteindre le congélateur directement à partir du panneau de commande de ce dernier.

Degivrage
(Figure 2)
Le dégivrage du réfrigérateur se fait automatiquement durant la pause du compresseur. La présence d'une fine couche de givre ou de gouttes d'eau durant le fonctionnement de l'appareil est normale. Il est important que la conduite d'évacuation sorte toujours propre et d'éviter que les alimentés touchent la paroi du compartiment. Il est conseillé de dégivrer le congélateur lorsque la couche de givre dépasse 3 mm d'épaisseur.
N. B. Plaque de données de l'appareil, à communiquer à l'assistance technique en cas de panne.
Important: si la température ambience est très élevée, l'appareil pourrait fonctionner en continu, provoquant la formation anormale de givre sur la paroi de fond du réfrigérateur. Dans ce cas, il est nécessaire de régler le thermostat du réfrigérateur sur des numéros plus bas (1 - 2).

Évacuation de l'eau
Le condensateur est doté d'un système d'évacuation de l'eau de dégivrage.
Ce système est constitué par :
Un levier, à retarder durant le dégivrage pour permettre à l'eau de s'écouler.
Un bac d'évacuation (non fourni).
Inversion du SENS d'ouverture des PORTES
Retirez la tige et sa douille de la traverse supérieure.
Démontez la porte du haut.
Démontez le gond central et ses rondelles.
Démontez la porte du bas.
Retirez la tige du gond inférieur droit et remontez-le sur le gond inférieur gauche.
Placez le cache enclenché sur l'équerre de l'autre côté de l'appareil.
Remontez les gonds et les portes de bas en haut 1 2 3

Installation de l'appareil dans la colonne
Fixez le joint fourni avec l'appareil du côté opposé aux gonds.

Insérez l'appareil dans la colonne, contre le côté opposé aux gonds.

Faites adhérer parfaitement l'équerre du haut de l'appareil à la colonne.

Fixez le haut de l'appareil à la colonne avec les vis fournies.

Fixez le bas de l'appareil avec les vis fournies

Enclenchez la grille d'aération.

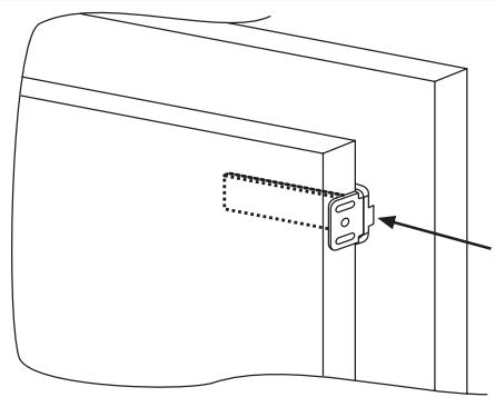
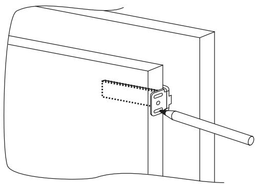
Desserrez les vis de fixation du gond central droit.

Positionnez la plaque près de la colonne.

Fixez l'équerre à la colonne avec les vis fournies.

Serrez les vis de fixation du gond central droit.

Faites de même avec l'équerre centrale gauche.

Couplage des PORTES de la colonne et des PORTES de l'appareil
L'appareil est doté de dispositifs de couplage des portes de l'appareil et des portes de la colonne (glissières à tirette).
Fixez la glissière à l'intérieur de la porte de la colonne à la hauteur voulue et à environ 20 mm du bord extérieur de la porte.

Ouvrez les portes de la colonne et du réfrigérateur. Placez la tirette sur la glissière, puis faites-la adhérer à la porte du réfrigérateur.

Marquez les emplacements des vis et percez avec un foret de 2,5 mm de diamètre.

Couplez la porte de l'appareil et la porte de la colonne en vous référant aux trous de la tirette.

Precautions à prendre pour assurer le BON fonctionnement de l'appareil
L'appareil encastre, placez l'arrière de la colonne en contact avec la paroi de manière à empêcher l'accès au compartiment du compresseur. Pour que l'appareil fonctionne correctement, il est indispensable que l'air puisse circuler librement afin de refroidir le condenseur situé à l'arrière de l'appareil.
La colonne doit être pourvue, à l'arrière, d'une cheminée d'aération, dont le haut ne doit pas être obstrué, et à l'avant, d'une fente qui sera recouverte d'une grille d'aération.
Dimensions des découpes de la colonne.
Dimensions de l'espace à laisser entre la colonne et le plafond.
Notice Facile