NEST - Climatiseur FABER - Notice d'utilisation et mode d'emploi gratuit
Retrouvez gratuitement la notice de l'appareil NEST FABER au format PDF.
| Type d'appareil | Climatiseur |
| Mode de fonctionnement | Refroidissement et chauffage |
| Installation | Plafond ou mural |
| Contrôle | Non précisé |
| Capacité de refroidissement | Non précisé |
| Capacité de chauffage | Non précisé |
| Source d'alimentation | Électrique |
| Type de filtre | Non précisé |
| Niveau sonore | Non précisé |
| Dimensions | Non précisé |
| Poids | Non précisé |
| Fonction déshumidification | Oui |
| Fonction ventilation | Oui |
| Matériau du boîtier | Non précisé |
| Couleur | Non précisé |
| Garantie | Non précisé |
FOIRE AUX QUESTIONS - NEST FABER
Questions des utilisateurs sur NEST FABER
0 question sur cet appareil. Repondez a celles que vous connaissez ou posez la votre.
Poser une nouvelle question sur cet appareil
Téléchargez la notice de votre Climatiseur au format PDF gratuitement ! Retrouvez votre notice NEST - FABER et reprennez votre appareil électronique en main. Sur cette page sont publiés tous les documents nécessaires à l'utilisation de votre appareil NEST de la marque FABER.
MODE D'EMPLOI NEST FABER
Manuel d'Instructions
Sommaire
CONSIGNES DE SÉCURITÉ. 3
CHARACTERISTIQUES 6
INSTALLATION 20
UTILISATION 30
NETTOYAGE ET ENTRETIEN 32
(1)
Pour votre sécurité et pour garantir le fonctionnement correct de l'appareil, veuillez lire attentivement ce manuel avant d'installer et de mettre en fonction l'appareil. Toujours conserver ces instructions avec l'appareil, même en cas de cession ou de transfert à une autre personne. Il est important que les utilisateurs connaissent toutes les caractéristiques de fonctionnement et de sécurité de l'appareil.

La connexion des câbles doit être effectuée par un technicien compétent.
- En aucun cas le fabricant ne peut être tenu pour responsable d'éventuels dommages dus à une installation ou à une utilisation impropre.
- La distance de sécurité minimum entre le plan de cuisson et la hotte aspirante est de 650 mm (certains modèles peuvent être installés à une hauteur inférieure; voir le paragraphe concernant les dimensions de travail et l'installation).
- Si les instructions d'installation du plan de cuisson à gaz spécifient une distance supérieure à celle indiquée ci-dessus, veuillez impérativement en tenir compte. Assurez-vous que la tension du secteur correspond à celle indiquée sur la plaque des caractéristiques apposée à l'intérieur de la hotte.
- Les dispositifs de sectionnement doivent être montés dans l'installation fixe conformément aux normes sur les systèmes de câblage.
- Pour les appareils de Classe I, s'assurer que l'installation électrique de votre intérieur dispose d'une mise à la terre ajustée.
- Reliez l'aspirateur du conduit de cheminée avec un tube ayant un diamètre minimum de 120mm. Le parcours des fumées doit être le plus court possible.
- Respecter toutes les normes concernant l'évacuation de l'air.
- Ne reliez pas la hotte aspirante aux conduits de cheminée qui acheminent les fumées de combustion (par ex. de chaudières, de cheminées, etc.).
- Si vous utilisez l'aspirateur en même temps que des appareils non électriques (par ex. fonctionnant au gaz), veillez à ce que la piè eils non alimentés à l'électricité, la pression négative dans la pièce ne doit pas dépasser 0,04 mbar, afin d'éviter que les fumées soient réaspirées dans la pièce où se trouve la hotte.
- Ne pas évacuer l'air à travers une conduite utilisée pour l'évacuation des fumées des appareils de combustion alimentés au gaz ou avec d'autres combustibles.
- Si le cordon d'alimentation est endommagé, faites-le remplacer par le fabricant ou par un technicien d'un service après-vente agréé.
- Branchez la fiche à une prise conforme aux normes en vigueur et dans une position accessible.
- En ce qui concerne les dimensions techniques et de sécurité à adopter pour l'évacuation des fumées, veuillez vous conformer scrupuleusement aux règlements établis par les autorités locales.
AVERTISSEMENT: Avant d'instruire la hotte, retirer les films de protection.
- Utilisez exclusivement des vis et des petites fournitures du type adapté pour la hotte. AVERTISSEMENT : toute installation de vis et de dispositifs de fixation non conformes à ces instructions peut entraîner des risques de décharges électriques.
- Ne pas observer directement avec des instruments optiques (jumelles, lentilles grossissantes...).
- Ne flambez pas des mets sous la hotte : sous risque de développer un incendie.
- Surveillez les enfants. Assurez-vous qu'ils ne jouent pas avec l'appareil.
- Cet appareil peut être utilisé par des enfants de plus de 8 ans et par des personnes dont les capacités physiques, sensorielles ou menta eil en toute sécurité et sur les dangers que cela comporte. Assurez-vous que les enfants ne jouent pas avec cet appareil. Le nettoyage et l'entretien de la part de l'utilisateur ne doivent pas être effectués par des enfants, à moins qu'ils ne soient surveillés.
- Cet appareil n'est pas destiné à être utilisé par des personnes (enfants compris) dont les capacités physiques, sensorielles ou mentales sont diminuées ou ayant une expérience et des connaissances insuffisantes, à moins que celles-ci ne soient attentivement surveillées et instruites.
Les parties accessibles peuvent devenir très chaudes pendant l'utilisation des appareils de cuisson.
- Nettoyer et/ou remplacer les filtres après le début indiqué (DANGER d'incendie). Voir le paragraphe Nettoyage et Entretien.
- Veillez à ce que la pièce bénéficie d'une ventilation adéquate lorsque la hotte fonctionne en même temps que des appareils utilisant du gaz ou d'autres combustibles (non applicable aux appareils qui évacuent l'air uniquement dans la pièce).
- Le symbole marqué sur le produit ou sur son emballage indique que ce produit ne peut pas être éliminé comme déchet ménager normal. Lorsque ce produit doit être éliminé, veuillez le remettre à un centre de collecte prévu pour le recyclage du matériel électrique et électronique. En vous assurant que cet appareil est éliminé correctement, vous participez à prévenir des conséquences potentiellement négatives pour l'environnement et pour la santé, qui risqueraient de se déclench ez acheté ce produit.
Composants (modèle zoom)
| Réf. | Q.té | Composants du produit |
| 1 | 1 | Corps hotte équipé de : Commandes, lumière, filtres, moteur. |
| 2 | 1 | Plaque support hotter |
| 4 | 1 | Passe-câble |
| 14 | 1 | Clique fin de course |
| Réf. | Q.té | Composants de l'installation |
| 11 | 4 | Chevilles Ø 10 |
| 12h | 4 | Vis M5 x 70 |
| 12g | 1 | Vis pour cliquet |
| Q.té | Documentation | |
| 1 | Manuel d'instructions |
ZOOM (15 kg)

Composants (Modèles Chic-Vanilla)
| Réf. | Q.té | Composants du produit |
| 1 | 1 | Corps hotte équipé de : Commandes, lumière, filtres, moteur. |
| 2 | 1 | Plaque support hotte (avec douille) |
| 4 | 1 | Passe-câble |
| 5 | 3 | Vitres |
| 6 | 3 | Plaques fixation vitre |
| 14 | 1 | Clique fin de course |
| Réf. | Q.té | Composants de l'installation |
| 11 | 4 | Chevilles ø 10 |
| 12h | 4 | Vis M5 x 70 |
| 12d | 6 | Vis M4 x 20 |
| 12e | 6 | Vis M4 x 10 |
| 12g | 1 | Vis pour clique |
| 22 | 12 | Rondelles en caoutchouc |
| Q.té | Documentation | |
| 1 | Manuel d'instructions |


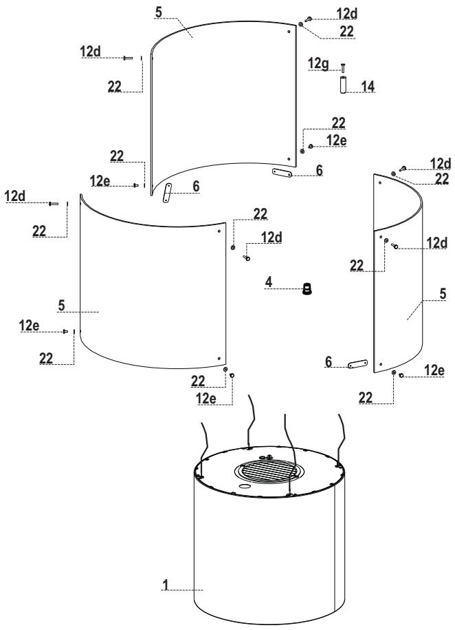
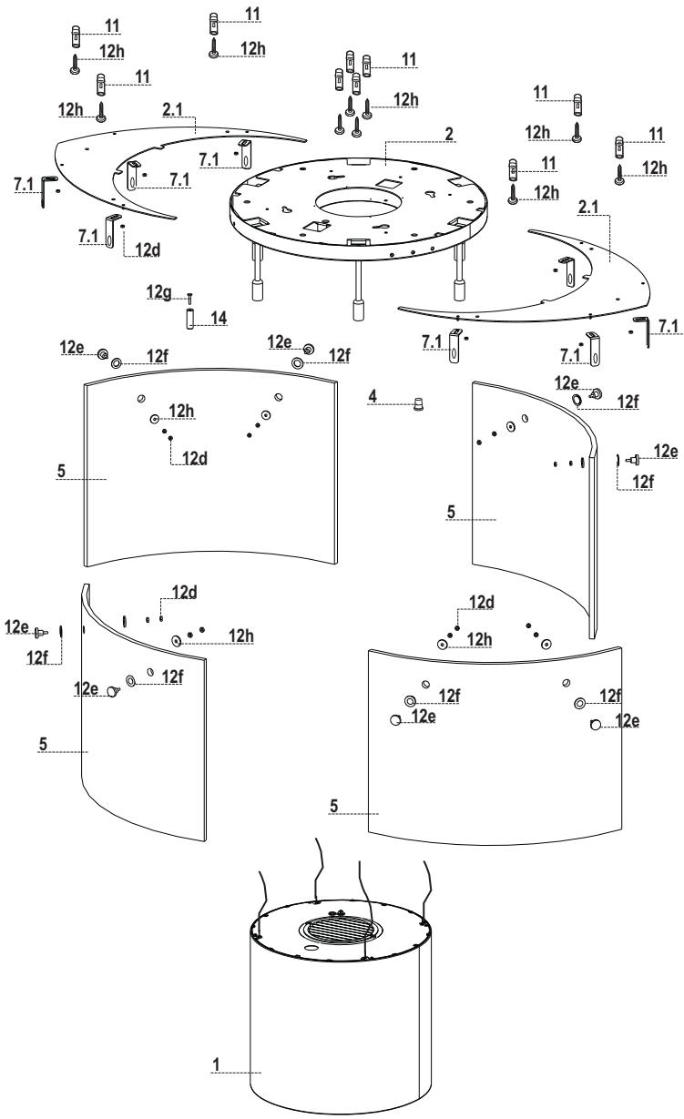
Composants (modèles nest)
| Réf. | Q.té | Composants du produit |
| 1 | 1 | Corps hotte équiné de : Commandes, lumière, filtres, moteur. |
| 2 | 1 | Plaque support hotter (avec douilles) |
| 2.1 | 2 | Rallonge plaque support hotter |
| 4 | 1 | Passe-câble |
| 5 | 4 | Vitres (Vitres produits manuellement) |
| 14 | 1 | Clique fin de course |
| Réf. | Q.té | Composants de l'installation |
| 7.1 | 8 | Étriers fixation vitre avec bague |
| 11 | 10 | Chevilles Ø 10 |
| 12h | 10 | Vis M5 x 70 |
| 12d | 24 | Écrou M4 (fixation brides à la rallonge de la plaque) |
| 12e | 8 | Pommeaux fixation vitre |
| 12f | 8 | Garnitures protection vitre |
| 12g | 1 | Vis pour clique |
| 12h | 8 | Garnitures protection vitre |
| Q.té | Documentation | |
| 1 | Manuel d'instructions |

Composants (modèle vertigo)
| Réf. | Q.té | Composants du produit |
| 1 | 1 | Corps hotte équiné de : Commandes, lumière, filtres, moteur. |
| 2 | 1 | Plaque support hotte (avec douilles) |
| 4 | 1 | Passe-câble |
| 5 | 1 | Vitres ou panneaux d'un autre matériel |
| 14 | 1 | Cliquet fin de course |
| Réf. | Q.té | Composants de l'installation |
| 11 | 4 | Chevilles ø 10 |
| 12h | 4 | Vis M5 x 70 |
| 12d | 4 | Pivot/Vis chromée de fixation vitre |
| 12g | 1 | Vis pour cliquet |
| Q.té | Documentation | |
| 1 | Manuel d'instructions |


Composants (modèle kaleidos)
| Réf. | Q.té | Composants du produit |
| 1 | 1 | Corps hotte équiné de : Commandes, lumière, filtres, moteur. |
| 2 | 1 | Plaque support hotte (avec douilles) |
| 4 | 1 | Passe-câble |
| 5 | 1 | Vitres ou panneaux d'un autre matériel |
| 14 | 1 | Cliquet fin de course |
| Réf. | Q.té | Composants de l'installation |
| 11 | 4 | Chevilles ø 10 |
| 12h | 4 | Vis M5 x 70 |
| 12d | 4 | Pivot/Vis chromée de fixation vitre |
| 12g | 1 | Vis pour cliquet |
| Q.té | Documentation | |
| 1 | Manuel d'instructions |
KALEIDOS (18 Kg)
Composants (modèle luxia)
| Réf. | Q.té | Composants du produit |
| 1 | 1 | Corps hotte équiné de : Commandes, lumière, filtres, moteur. |
| 2 | 1 | Plaque support hotte (avec douilles) |
| 4 | 1 | Passe-câble |
| 5 | 1 | Vitres |
| 14 | 1 | Cliquet fin de course |
| Réf. | Q.té | Composants de l'installation |
| 11 | 4 | Chevilles ø 10 |
| 12h | 4 | Vis M5 x 70 |
| 12d | 4 | Pivot/Vis chromée de fixation vitre |
| 12g | 1 | Vis pour cliquet |
| Q.té | Documentation | |
| 1 | Manuel d'instructions |
LUXIA (30 Kg) 4 12g 14 11 12h





CHIC / VANILLA
VERTIGO
NEST
Cette hotte est prévue pour être installée au plafond/étagère, au-dessus (650 mm min.) d'un plan de cuisson en filot en :
- Version aspirante Évacuation à l'extérieur.
- Version filtrante Recirculation intérieure.
Attention: La hotte F-Light est un système composé de hotte + lustre, c'est pourquoi il faudra prévoir deux cablages électriques séparés, un pour la hotte et un pour le lustre.
Le modèle Zoom est sans lampadaire.
Séquence d'opérations d'installation
- Préparation à l'installation
- Perçage plafond/étagère et fixation plaque de support
- Connexions
- Montage du corps de hotte
- Contrôle fonctionnel
- Élimination des emballages

Montage cliquef fin de course


- Desserrer les 3 vis qui unissent les parties de la plaque (de différentes formes et/ou dimensions) à l'aide de la clé fournie.
- Preindre le clique et le fixer à la plaque sur l'étrier avec la vis fournie, dans la position indiquée dans la figure.
- Si présents, prendre les douilles et les emboîter sur les étriers prévus, reconnaissables à leur forme fourchues sur l'extrémité.
Attention: ne pas couper les colliers qui fixent les fils.
- Serrer la vis de fixation des douilles à l'étrier, de manière à prendre ce dernier entre les 2 rondelles.
- Le modèleZoom est sans lampadaire.



Percage plafond/etagere
- À l'aide d'un fil à plomb, ramenez sur le plafond/étagère de support le centre du plan de cuisson.
- Appuyer la plaque sur le plafond/étagère, en veillant à ce que le rail fin de course que vous venez de monter soit maintenu en position frontale par rapport à l'installateur et au plan de cuisson (ne confonde pas le rail fin de course avec les 4 autres de fixation des câbles en acier pour le déplacement de la hotte).
- Marquer les centres des trous de la plaque.
- Percer les points suivants :
- Plafond en béton massif : selon les chevilles pour béton employées.
- Plafond en béton et, chambre à air, avec une épaissure résistante de 20 mm : Percer Ø 10 mm (insérer tout de suite les chevilles 11 fournies).
- Plafond en poutres de bois : selon les vis pour bois employées (non fournies).
- Étagère en bois, avec une épaissur résistante de 15mm : Percer 7mm. Passage du câble électrique d'alimentation : Percer 10mm.
(ATTENTION: en cas de hotte munie d'un lustre, il y aura une ligne électrique directe pour l'alimentation de la hotte et une ligne avec interrupteur pour le lustre).
- Sortie air (version aspirante): selon le diamètre de la liaison au tuyau de l'évacuation extérieure.
- Serrer en diagonale et en laissant 4 - 5 mm du plafond les deux vis :
- pour béton massif, les chevilles pour béton, non fournies.
- pour béton avec, chambre à air, avec une épaisseur résistante d'environ 20 mm, vis 12h fournies.
- pour poutres de bois, vis pour bois, non fournies.
- pour étagères de bois, vis avec rondelles et écrous non fournies.
Fixation PLAQUE
- Soulever la plaque de fixation en veillant à ce que le cliquet fin de course soit positionné frontalement.
- Emboîter les trous sur les deux vis précédemment prévues au plafond et tourner jusqu'au centre du trou de réglage.
- Serrer les deux vis et visser les deux autres fournies ; avant de serrer définitivement les vis, vous pouvez effectuer des réglages en tournant la pièce, en faisant attention à ce que les vis ne sortent pas du siège du trou de réglage.
- La fixation doit être sûre aussi bien par rapport au poids de la hotte qu'aux contraintes provoquées par des poussées latérales occasionnelles à l'appareil monté. À la fin de la fixation, vérifier que la plaque est stable.
- Au cas où le plafond ne serait pas suffisamment robuste dans le point de suspension, l'installateur devra le renforcer à l'aide de plaques et de contre-plaques opportunes ancrées sur des parties structurellement résistantes.


Fixation rallonge PLAQUE (MODELE NEST)
- Prendre les 2 rallonges 2.1 et les accrocher dans les trous à cet effet de la plaque 2 déjà montée.
- Marquer les centres des trous des plaques.
- Retirer les rallonges.
- Percer 10mm (insérer tout de suite les chevilles 11 fournies).
- Accrocher de nouveau les rallonges et les fixer avec les vis 12h fournies.


Connexion CABLES hotte-plaque
N. B. Avant de commencer l'installation, il est nécessaire d'amener la hotte à une hauteur d'au moins 650 mm du plan de cuisson, avec un support ou en se faisant aider par une seconde personne. Cette mesure est fondamentale, puisque les câbles de la hotte devant être branchés à la plaque montée au plafond, il est impératif d'éviter que le poids de la hotte puisse peser sur la structure.
- Le système de fixation des 4 câbles est formé de 3 parties :
- clef filetée (a) déjà montée sur la plaque au plafond.
- Vis serre-câble (b) fournie.
- Pommeau de sécurité (c) fourni.


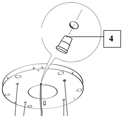
- Passer les 4 cables (accrochés au corps de la hotte) dans leurs trous correspondants sur le couvercle plaque précédemment démontré.
- Insérer le passage-câble
4 dans le trou sur le couvercle plaque et y passer le câble d'alimentation de la hotte.
Attention: ne pas casser ni retirer le collier qui fixe le câble d'alimentation de la hotte.

- Faire attention au sens d'orientation de la plaque fixée au plafond (le cliquet de fin de course de la plaque possède son trou correspondant sur le couvercle plaque et sur le corps hotte).


- Enfiler les pommeaux de sécurité (c) sur leurs câbles correspondants, en veillant à ce que le filetage soit orienté vers le haut.
- Enfiler les vis serre-cable (b) sur leurs câbles correspondants.
- Faire passer les câbles dans les trou



- Maintenant, les 4 câbles sont reliés à la plaque.
Mettre les câbles sous tension en les poussant vers le haut de manière à ce qu'ils coulissent dans la vis serre-cable et hors du trou du cliquet fileté.
Cela est possible car le système présent dans la vis serre-câble permet au câble de coulisser dans un seul sens à son intérieur, en bloquant le coulissement dans l'autre sens.
Veiller à ce que les câbles aient tous la même longueur pour faciliter l'opération de nivellement final.
Le câble avant gauche ne doit pas être plus long que les autres.
- Il est nécessaire d'effectuer le nivellement du corps mobile de la hotte pour permettre le fonctionnement correct du mouvement.
- Pour niveler la hotte, intervenir sur les cliquets de sécurité.

Appuyer un niveau sur la hotte.
- Pour débloquer le mouvement du câble, exercer une pression vers le haut, sur les pommeaux de sécurité. Insérer ou extraire le câble de la vis serre-câble pour effectuer les réglages qui permettent de niveler le corps mobile de la hotte.
- Après avoir nivelé la hotte selon nécessité, serrer les pommeaux de sécurité.

Attention :
- Vérifier que tous les 4 câbles de soutien sont tendus.
- Vérifier que tous les 4 câbles de soutien n'ont subi aucun dommage durant l'installation.
- N'oubliez pas que la distance minimale entre la hotte et le plan de cuisson de la cuisine doit être de 650 mm.
- Le corps mobile (corps hotter) doit avoir une course d'au maximum 900mm en configuration filtrante et de 750mm avec l'installation du kit d'aspiration.
SORTIE air version aspirante
Pour l'installation de la hotte version aspirante, voir les instructions continues dans le kit d'aspiration spécifique pour la hotte.
SORTIE De l'air version filtrante
- Ouvrir le groupe d'éclairage en le tirant sur l'encoche prévue à cet effet.
- Retirer le filtre à graisse.
- S'assurer de la présence des filtres anti-odeur à charbon actif.
Fixation du cable d'alimentation
- Tendre le câble d'alimentation et le fixer à la bride sur la plaque de plafond, en utilisant la languette déjà montée avec 2 vis.
- Emboîter le passage-câble en caoutchouc déjà enfilé sur le câble d'alimentation dans le trou, pour éviter tout endommagement futur.
- Brancher la hotte à l'alimentation de secteur en intercalant un interrupteur bipolaire ayant une ouverture des contacts d'au moins 3 mm.
- Retirer les filtres à graisse (voir par. « Entretien ») et s'assurer que le connecteur du câble d'alimentation est correctement branché dans la prise de l'aspirateur.
- À ce point, vous pouvez couper le collier qui bloque le câble d'alimentation au corps de la hotte.

- Vous pouvez maintenant effectuer le branchement électrique de la hotte et, si présent, du lustre, à leurs lignes de courant respectives.
Montage du couvercle de la PLAQUE
- Fermer la plaque avec le couvercle plaque, à l'aide des vis précédemment retirées et de la clé fournie.

Montage VITRES modeles chic-vanilla
- Prendre les lampes et les enfiler dans les douilles.
- Les enfiler seulement jusqu'au fond, sans les serrer.
- Fixer les vitres 5 à la plaque avec les vis 12d et les rondelles 22 dans la partie supérieure.
- Fixer les vitres entre elles dans la partie inférieure en utilisant les plaques de fixation de la vitre 6 avec les vis 12e et les rondelles 22

Montage VITRES modèle NEST
- Prendre les lampes et les enfiler dans les douilles.
- Les enfiler seulement jusqu'au fond, sans les serrer. Fixer les écrous 7.1 à la plaque avec les écrous 12d.
- Insérer la garniture 12f dans le pommeau 12e, enfiler ensuite le verre 5 et l'autre garniture 12h, en fixant le tout avec un écrou 12d.
- Enfiler l'extrémité du pommeau 112e dans la fente des équerres 7.1 et fixer le tout avec le deuxième écrou 12d.
- Desserrer les écrous 12d serrés sur la bride pour effectuer de petits réglages du verre.


Montage VITRES modeles vertigo-kaleidos-luxia
- Prendre les lampes et les enfiler dans les douilles.
- Les enfiler seulement jusqu'au fond, sans les serrer.
- Fixer la ventilation (ou autre matériel) 5 aux équerres, avec les pommeaux de fixation 12d


Tableau des commandes

| Touche | Fonction | Affichage |
| L | Allume/Éteint les lumières | - |
| T1 | Hotte basse Appuyer pendant 2 secondes pour remonter la hotte. Appui bref On/Off moteur | Branché/Débranché |
| Hotte haute Premier appui : La hotte descend. Deuxième appui : Stop hotte. À la fin du mouvement, le moteur se branche à la deuxième vitesse. | Débranché/Débranché |
Attention : Les commandes de la hotte commandent uniquement les fonctions de la hotte, le lustre possède une alimentation et un interrupteur complètement indépendants de la hotte.
L'électronique reconnaît deux types d'anomalies et donne le signal correspondant
| Led T1 | |
| Clignotement lent | Dépassement du seuil d'absorption de courant: En présence d'une condition de surcharge, l'anomalie est signalée par le clignotement, toutes les 2 secondes, de la led T1 située sur le clavier. Vérifier l'absence de tout empêchement durant le mouvement de la hotte. Ce signalalement demeure actif jusqu'à ce qu'une nouvelle commande d'ouverture/fermeture de la hotte soit donnée. |
| Clignotement rapide | Intervention du microswitch de sécurité en ouverture: En cas d'intervention du microswitch de sécurité, l'anomalie est signalée par le clignotement rapide de la led T1 (toutes les 250ms), indiquant que la hotte a dépassé le fin de course...... Contacter le service après vente! En présence de cette anomalie, l'accès aux fonctions de la hotte (lumières et moteur) est toujours possible. Si le moteur est branché, la led T1 continuea à clignoter, signalant que l'anomalie est toujours présente. |
Telecommande
Cet appareil peut être commandé via une télécommande, alimentée avec une batterie 3 V type CR2032 (non fournie).
- Ne pas ranger la commande à proximité de sources de chaleur.
- Ne pas jeter les batteries dans la nature, mais les déposer dans les bornes de collecte.

Tableau des commandes
| Branche/Débranche le moteur. | - | ||
| Hotte fermée: - En appuyant brièvement sur la touche la hotte commence à descendre - À la pression suivante, elle s'arrête. Lorsque le mouvement est terminé, le moteur se branche à la 2ème vitesse. | - | ||
| Hotte ouverte: - Appuyer pendant 2 secondes pour activer le mouvement de remontée qui s'arrête avec le fin de course. - Appuyer (brièvement) pour arrêter le mouvement (avant le fin de course). - Appuyer encore brièvement, on/off moteur. - Garder appuyé pendant 2 secondes pour activer le mouvement de re-montée. - Si le moteur est branché, d'abord le moteur s'arrête, puis le moteur démarre. | - | ||
| ↑ | - | - | |
| % | - | - | |
| Branche/Débranche les lumières de la hotte. | - | ||
| INTENSIVE - Activable seulement lorsque la hotte est descendue et lorsque le delay ou le 24h ne sont pas actifs. - Active la vitesse intensive à partir de n'importequelle vitesse. Pour la débrancher, appuyer de nouveau sur cette même touche ou éteindre le moteur. - La vitesse intensive est temporisée à 6 minutes. À la fin des 6 minutes le système returne automatiquement à la vitesse précédemment pro-grammée. | La led présente sur la touche moteur (des commandes hotter) clignote 1 fois par seconde). | ||
| Appuyer brièvement sur la fonction Delay: Activable seulement lorsque l'Intensive ou le 24h ne sont pas actifs. Branche et débranche le mode d'arrêt total de la hotte (moteur+lumières) après 30 minutes: Pour invalider le Delay, appuyer de nouveau sur la même touche ou éteindre le moteur. | La led présente sur la touche moteur (des commandes hotter) clignote toutes les 0,5 seconde). | ||
| Appuyer pendant 2 sec sur la fonction 24h: ActivableONLY lorsque l'Intensive ou le Delay ne sont pas actifs. Branche et débranche la fonction 24 pendant 10 minutes par heures, pendant 24 heures. À l'expiration, la fonction se désactive. | La led présente sur la touche moteur (des commandes hotter) clignote toutes les 2 seconde). | ||
| + | Augmente la vitesse du moteur. | - | |
| - | Diminue la vitesse du moteur. | - | |
Filtre à graisse métallique
Il est lavable même au lave-vaiselle. Il doit être lavé environ tous les 2 mois d'utilisation ou plus fréquemment en cas d'utilisation particulièrement intensive.
Nettoyage filtré à graisse metallique
- Ouvrir le groupe d'éclairage en le tirant sur l'encoche prévue à cet effet.
- Retirer le filtre, en le poussant vers l'arrière du groupe, tout en tirant en même temps vers le bas.
- Laver le filtre en évitant de le plier et le laisser sécher avant de le remonter.
- Le remonter en veillant à ce que la poignée soit toujours vers la partie visible externe.
- Refermer le groupe d'éclairage.

Filtres anti-odeur à charbon actif (version filtrante)
Il n'est ni livrable ni régénérable, le remplacer après environ 4 mois d'utilisation ou plus fréquemment en cas d'utilisation particulièrement intense.
Reemplacement
- Ouvrir le groupe d'éclairage.
- Retirer le filtre à graisse.
- Enlever les filtres anti-odeur à charbon actif satures, comme indiqué (A).
- Monter les nouveaux filtres, comme indiqué (B).
- Remonter le filtre à graissé et le groupe d'éclairage.

Éclairage
- Pour le remplacement, contacter le Service après-vente (« Pour l'achat, s'adresser au service après-vente »).
Éclairage lustre
| Chic | G9 – Basse consommation 9W |
| Vanilla | G9 – Basse consommation 9W |
| Luxia | G9 – Haute consommation 40W |
| Kaleidos | G9 – Basse consommation 9W |
| Nest | G9 – Haute consommation 40W |
| Vertigo | G9 – Basse consommation 9W |
Attention: Les lampes ne sont pas fournies.
- Ouvrir le groupe d'éclairage en le tirant sur l'encoche prévue à cet effet.
- Appliquer sur la hotte l'étiquette, indiquant le type de lustre, de la manière indiquée dans la figure (Réf. A).

Marché à suivre en cas d'anomalies du mouvement
- Vérifier que le fusible est correctement inséré et qu'il n'est pas brûlé. S'il y a lieu de le remplacer, ouvrir le groupe d'éclairage et desserrer le porte-fusible en le remplaçant par un autre représentant les mêmes caractéristiques (Réf. B).
- Vérifier que le corps-hotte est installé au bon niveau (l'utilisation d'un niveau est conseillée).
- Vérifier que les quatre câbles sont tous tendus de la même manière. Le câble avant gauche ne doit pas être plus lâche que les autres. Si les opérations précédentes n'ont pas résolu le problème, contacter l'Assistance Technique.
Notice Facile