BKH 110 GL2 - Hotte de cuisine BERBEL - Notice d'utilisation et mode d'emploi gratuit
Retrouvez gratuitement la notice de l'appareil BKH 110 GL2 BERBEL au format PDF.
| Intitulé | Détails |
|---|---|
| Type de produit | Hotte de cuisine |
| Caractéristiques techniques principales | Hotte murale, extraction d'air, design moderne |
| Alimentation électrique | 230 V |
| Dimensions approximatives | Largeur : 110 cm, Profondeur : 50 cm, Hauteur : 15 cm |
| Poids | Environ 15 kg |
| Débit d'air | Jusqu'à 800 m³/h |
| Niveaux de puissance | 3 niveaux de puissance + mode intensif |
| Éclairage | LED intégrées |
| Fonctions principales | Filtration des odeurs, éclairage de la zone de cuisson |
| Entretien et nettoyage | Filtres métalliques lavables au lave-vaisselle |
| Pièces détachées et réparabilité | Disponibilité de pièces de rechange sur demande |
| Sécurité | Protection contre les surcharges, conforme aux normes de sécurité |
| Informations générales utiles | Installation murale, garantie de 2 ans |
FOIRE AUX QUESTIONS - BKH 110 GL2 BERBEL
Questions des utilisateurs sur BKH 110 GL2 BERBEL
0 question sur cet appareil. Repondez a celles que vous connaissez ou posez la votre.
Poser une nouvelle question sur cet appareil
Téléchargez la notice de votre Hotte de cuisine au format PDF gratuitement ! Retrouvez votre notice BKH 110 GL2 - BERBEL et reprennez votre appareil électronique en main. Sur cette page sont publiés tous les documents nécessaires à l'utilisation de votre appareil BKH 110 GL2 de la marque BERBEL.
MODE D'EMPLOI BKH 110 GL2 BERBEL
FR Manuel d'utilisation et de montage des modèles
■ BIH 110 EG
Informations sur les documents
Manuel d'utilisation et de montage pour :
Hotte ilot Ergoline BIH 110 EG E02
- Manuel d'origine.
Partie du produit.
- Protégé par les droits d'auteur.
- Reproduction, copie et transmission uniquement avec autorisation.
- Sous réserve de modifications.
Consignes de sécurité
DANGER!
Les indications suivies du mot DANGER signalement une situation dangereuse qui peut entraîner la mort ou des blessures graves.
AVERTISSEMENT!
Les indications suivies du mot AVERTISSEMENT signalent une situation dangereuse qui peut entrainer la mort ou des blessures graves.
PRUDENCE!
Les indications suivies du mot PRUDENCE signalent une situation dangereuse qui peut entraîner des blessures légères ou modérées.
ATTENTION!
Les indications suivies du mot ATTENTION signaient une situation dangereuse qui peut entraîner des dommages matériels ou atteintes environnementales.
Présentation des symboles dans le texte
Appel à l'action
- Énumération
Récurrence à d'autres endroits dans ce document
Référence à d'autres documents, qui doivent être observés
Présentation des symboles dans les illustrations

Mise en évidence des éléments d'action avec surfaces
- Étapes à suivre avec numérotation
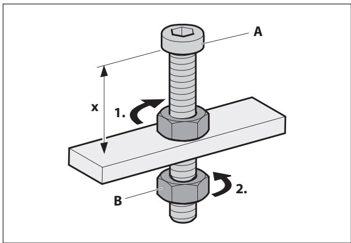
A Désignations des pieces en majuscules
x Dimensions en minuscules ou unités en mm
G Flèches de mouvement et de direction
Sommaire
1. Informations relatives à la sécurité 4
1.1 Utilisation conforme 4
1.2 Groupes cibles autorisés 4
1.3 Consignes de sécurité generales 4
2. Informations sur le produit 5
2.1 Principé de fonctionnement 5
2.2 Modes de fonctionnement. 5
2.2.1 Mode recyclage d'air 5
2.2.2 Mode evacuation d'air vicié 5
2.2.3 Modehybrid
2.3 Présentation du produit 6
2.4 Etendue de livreaison 7
2.5 Caracteristiques techniques 7
3. Montage 8
3.1 Consignes de sécurité relatives au montage. 8
3.2 Exigences relatives au lieu de montage. 8
3.3 Exigences relatives aux modes de fonctionnement . 9
3.3.1 Exigences relatives au mode recyclage d'air . .9
3.3.2 Exigences relatives au mode évacuation d'air vicié. 9
3.3.3 Exigences relatives au mode hybride...9
3.4 Exigences relatives à la conduite d'évacuation d'air vicié (uniquement en mode évacuation d'air vicié ou hybride) 9
3.5 Étapes de montage 10
3.5.1 Préparation du montage 10
3.5.2 Déballage de l'appareil 10
3.5.3 Retrait de l'enveloppe inférieure, du bord de protection contre les chocs et du Capillar Trap. 10
3.5.4 Determination de la position de suspension. 11
3.5.5 Accrochage de la colonne de cheminée .... 13
3.5.6 Accrochage du corps de hotte 14
3.5.7 Raccordement des accessoires 15
3.5.8 Branchement de l'alimentation electrique... 16
3.5.9 Installation des toles de cheminée laterales . 17
3.5.10 Installation du panneau arrête 17
3.5.11 Installation de l'embout BackFlow 18
3.5.12 Positionnement du filtré (en mode recyclage d'air et en mode hybride) 18
3.5.13 Raccordement de la conduite d'évacuation d'air vicié (en mode évacuation d'air vicié et en mode hybride) ... 19
3.5.14 Installation du panneau frontal. 19
3.5.15 Installation du Capillar Trap, du bord de protection contre les chocs et de l'enveloppe inférieure 20
3.5.16 Execution du contrôle et de la mise en service 20
4. Utilisation 21
4.1 Consignes de sécurité relatives à l'utilisation. 21
4.2 Commande de l'appareil 22
4.2.1 Fonctionnement normal 22
4.2.2 Commutation mode evacuation d'air vicié/recyclage d'air 23
4.2.3 Affichage de contrôle du replissage du filtré. 23
4.2.4 Éclairage de la plaque de cuisson 23
4.2.5 Fonction arrêt temporisé 24
4.2.6 Interrupteur de contact de fenetre 24
4.2.7 AutoRun 24
4.3 Configuration de l'appareil 25
5. Nettoyage 26
5.1 Consignes de sécurité relatives au nettoyage . . . . .26
5.2 Consignes de nettoyage 26
6. Réparation 28
6.1 Consignes de sécurité relatives à la réparation 28
6.2 Entretien 28
6.2.1 Remplacement des ampoules 28
6.2.2 Remplacement du replissage du filtré (en mode recyclage d'air et en mode hybride). 28
6.2.3 Resserrage des charnières des panneaux frontaux 30
6.3 Elimination des defaults 31
7. Demontage 32
8. Elimination 33
8.1 Elimination de l'emballage 33
8.2 Elimination de l'appareil. 33
9. Annexe 34
9.1 Fiche technique du produit 34
9.2 Contact 35
1. Informations relatives à la sécurité
1.1 Utilisation conforme
L'appareil sert à aspirer les vapeurs de cuisson.
L'appareil est exclusivement concu pour une utilisation menagère.
L'appareil doit exclusivement etre utilisé avec les filtres d'origine du fabricant.
L'appareil doit uniquement être utilisé en parfait état technique et après un montage correct.
Toute autre utilisation est consideree comme non conforme.
Par utilisation conforme, on entend également la lecture et le respect de ce manuel.
1.2 Groupes cibles autorisés
Travaux électrotechniques effectuels uniquement par des électriciens qualifiés selon la DIN VDE 0100. Exigences relatives aux électriciens qualifiés :
- Connaissance des bases de l'électrotechnique.
- Connaissances des dispositions et normes nationales (en Allemagne par ex. DIN VDE 0100, partie 701).
- Connaissance des exigences de sécurité en vigueur.
- Connaissances des dispositions légales en vigueur pour les installations au gaz (en Allemagne par ex. les règles techniques d'installations au gaz TRGI).
- Connaissance de ce manuel.
Montage et réparation uniquement par des spécialistes qualifiés. Exigences relatives aux spécialistes qualifiés :
- Connaissances des dispositions sur la sécurité du travail.
- Connaissances dans la technique de fixation.
- Connaissances de base dans la technique de ventilation.
- Experience dans l'utilisation d'outillages électriques et mécaniques.
- Connaissances dans la lecture de plans techniques.
- Connaissance de ce manuel.
Commande, nettoyage et réparation par l'utilisateur.
Exigences relatives aux utilisateurs :
- Connaissance de ce manuel.
Les exigences particulières s'appliquent pour les utilisateurs suivants :
- Enfants à partir de 8 ans et plus.
- Personnes avec des capacités physiques, sensorielles ou mentales réduites.
- Personnes avec un manque d'expérience et de savoir.
Ces utilisateurs doivent uniquement participer à la commande, au nettoyage et à l'entretien. Exigences particulières :
- Les utilisateurs sont encadrés.
- Les utilisateurs ont été instruits concernant l'utilisation sure de l'appareil.
- Les utilisateurs comprennent les dangers liés à l'appareil.
- Les enfants ne doivent pas jouer avec l'appareil.
1.3 Consignes de sécurité générales
AVERTISSEMENT!
Danger en cas de non-respect du manuel d'utilisation et de montage!
Ce manuel comporte des informations importantes pour une utilisation sère de l'appareil. Les évventuels dangers font l'objet d'une mention particulière.
Veuillez dire attentivement ce manuel.
Suivez les consignes de sécurité dans ce manuel.
Conserve ce manuel dans un endroit accessible.
Les flammes peuvent endommager l'appareil et provoquer des incendies.
- Fonctionnement au gaz uniquement avec flamme de gaz courte (pas au-dessus du fond de la casserole).
- Ne pas faire flamber sous l'appareil.
- Ne pas faire frire sans contrôle sous l'appareil.
L'utilisation de l'appareil est interdite dans les cas suivants :
- Lorsque les dispositifs de sécurité nécessaires sont absents (par ex. en cas d'utilisation simultanée d'un lieu de combustion dépendant de l'air ambiant).
- Lorsque les autorisations nécessaires font défaut (par ex.: par un ramoneur).
- Dans les environnements explosifs.
- En cas d'endommagement de l'appareil ou de différents composants.
- En cas de transformations arbitraires ou de modifications de l'appareil.
Lorsque du liquide pénétre dans l'appareil. - En cas de fort encrassement.
- Pour les enfants de moins de 8 ans et les personnes qui ne peuvent pas évaluer les dangers relatifs à l'utilisation de l'appareil.
Dans les cas suivants, le fabricant n'est pas responsable des dommages :
- En cas de non-respect de ce manuel.
- En cas d'utilisation non conforme de l'appareil.
- En cas de montage et de manipulation incorrects de l'appareil.
- En cas d'utilisation de l'appareil par des groupes cibles non autorisés.
- En cas de contournement des dispositifs de sécurité sur l'appareil.
- En cas d'utilisation de pieces de rechange (par ex.: cable d'alimentation) qui n'ont pas eté fabriquées ou autorisées par le fabricant.
Les consignes de sécurité figurent dans les chapitres correspondants dans ce manuel.
« 3.1 Consignes de sécurité relatives au montage » (page 8).
« 4.1 Consignes de sécurité relatives à l'utilisation » (page 21).
« 5.1 Consignes de sécurité relatives au nettoyage » (page 26).
« 6.1 Consignes de sécurité relatives à la réparation » (page 28).
2. Informations sur le produit
2.1 Principe de fonctionnement

Force centrifuge
- Les vapeurs de cuisson sont aspirées par un interstice dans la hotte, accélérées et déviées en arc.
- La force centrifuge projette les particules de saleté (par ex.: particules de graisse et d'huile) générées dans l'air.
- Les particules de saleté sont séparées et collectées sur l'enveloppe supérieure et inférieure et sur le tamis collecteur (« Capillar Trap »).
Technologie BackFlow (en option)
- Une ventilation de la partie inférieure du capot permet d'eviter la formation d'eau de condensation ou de gouttes sur la hotte aspirante (ex. en cas de contact entre la vapeur d'eau et une surface froide).
- Une partie du volume d'air vicié est soufflée sur les côtes par la partie inférieure de la hotte aspirante, puis dirigée de manière ciblée sur la fente d'aspiration.
2.2 Modes de fonctionnement
L'appareil est adapté pour les modes de fonctionnement suivants :
Mode recyclage d'air
Mode evacuation d'air vicié
Modehybrid
2.2.1 Mode recyclage d'air
Le contenu du filtré à recyclage d'air neutralise les odeurs presents. L'air ambiant épure, sans odeurs, est réintroduit dans lapiece.L'humiidityde l'air dans la piece peut être réduite par une alimentation en air frais.
En mode recyclage d'air, l'utilisation de la fonction arrêt temporisé est nécessaire pour que l'appareil puisse absorber les odeurs résiduelles. La fonction arrêt temporisé permet d'accroître la durée de vie du replissage du filtré. Le replissage du filtré doit être renouvelé régulièrement.
2.2.2 Mode evacuation d'air vicié
L'air ambiant épure est évacué vers l'extérieur à l'air libre par la construction (par ex.: conduits, cheminée).
En mode évacuation d'air vicié, une alimentation suffisante en air frais est nécessaire. L'appareil peut uniquement évacuer vers l'extérieur la quantité d'air disponible ou compensée.
2.2.3 Modehybride
En mode hybride, il est possible de commuter facilement entre le mode recyclage d'air et le mode évacuation d'air vicié.
En mode évacuation d'air vicié, l'air ambienté épuéré est évacué vers l'extérieur par le caisson mural à ouverture automatique. Le mode évacuation d'air vicié est recommendé en été ou en cas de cuisson particulièrement intensive.
En mode recyclage d'air, le caisson mural reste fermé. Le replissage du filtré en mode hybride neutralise les odeurs générées. L'air ambiant épuré, sans odeurs, est réintroduit dans la pièce.
Le mode recyclage d'air est recommendé en hiver lorsque l'air ambient chaud ne doit pas être evacué vers l'extérieur.
2.3 Présentation du produit

A Colonne de cheminée avec revêtement
B Panneau de commande
C Corps de hotte
D Enveloppe supérieure avec bord de protection contre les chocs (amovible)
E Panneau frontal
F Enveloppe inférieure (amovible)
G Capillar Trap (amovable) - derrière l'enveloppe inférieure
H Plaque signalétique – à l'intérieur du panneau frontal
I Éclairage de la plaque de cuisson

A Tôle de fixation au plafond
B Prise de raccordement pour le cable d'alimentation (Wieland)
C Raccords d'angle avec réglage en hauteur
D Embout BackFlow (en cas d'utilisation de la technologie BackFlow)
E Plaque signalétique de la colonne de cheminée
F Fixations pour toles de revêtement laterales
G Écrou moité pour panneau frontal
H Câble d'alimentation avec connecteur Wieland et fiche mâle
I Douilles de raccordement pour accessoires
J Raccords de cable
K Fixations pour panneau arrête
L Fixations pour panneau frontal
2.4 Étendue delivraison






H



A Colonne de cheminée
B 2 toles de cheminée laterales
C Panneau arrête
D Panneau frontal avec cable d'arrêt
E Embout BackFlow²
F Gabarit de perçage
G Connecteur Wieland (inséré dans la colonne de cheminée)
H Corps de hotte
I 4 chevilles d'ancrage en acier galvanisé 8 mm avec écrous (SW13)
J 4 vis à tête bombée M5 x 6 mm
K Manuel d'utilisation et de montage
1 Les grilles d'airation sont disponibles uniquement sur les modèles pour le mode recyclage d'air et hybride.
2 Montage uniquement en cas d'utilisation de la technologie BackFlow.
Le matériel de fixation est uniquement adapté pour une construction massive.
D'autres accessoires peuvent être nécessaires en fonction du mode de fonctionnement.
2.5 Caracteristiques techniques
| BIH 110 EG E02 | |
| Tension de raccordement | 230 V / 50 Hz |
| Puisance nominale | 192 W |
| Consommation électric du ventilateur | 170 W |
| Ampoule | LED 21,2 W, 430 lx |
| Température de luminière de l'éclairage de plaque de cuisson, réglable | 2700 - 6500 K |
| Largeur | 1100 mm |
| Profondeur | 605 mm |
| Hauteur en mode recyclage d'air avec filtré de recyclage d'air BUF 150 + | 930 - 1180 mm |
| Hauteur en mode recyclage d'air avec filtré de recyclage d'air permalyt | 1030 - 1180 mm |
| Hauteur en mode évacuation d'air vicié | 830 - 1180 mm |
| Hauteur en mode hybride | 1130 - 1180 mm |
| Poids net | 59 kg |
Les données relatives à la consommation d'énergie sont indiquées sur la fiche technique du produit.
« 9.1 Fiche technique du produit » (page 34).
Les données sur le modele (par ex. numero de série, année de construction) se trouvent sur la plaque signaletique.
« 2.3 Présentation du produit » (page 6).
3. Montage
3.1 Consignes de sécurité relatives au montage
AVERTISSEMENT!
Danger en cas de non-respect des instructions de montage!
Ce chapitre comporte des informations importantes pour un montage sur de l'appareil.
Lisez attentivement ce chapitre avec le montage.
Observer les consignes de sécurité.
Exécutez l'entretien comme décrit.
- Montage uniquement par des spécialistes qualifiés.
« 1.2 Groupes cibles autorisés » (page 4). -
Travaux électrotechniques effectués uniquement par des électriciens qualifiés.
« 1.2 Groupes cibles autorisés » (page 4). -
Le montage doit uniquement être effectué par deux personnes.
- Lors des travaux en hauteur, il faut veiller à une position stable (par ex.: échelle stable).
- La plaque de cuisson et les autres pieces exposes doivent être refroidies avant le montage.
- Le film et autres parties de l'emballage doivent être maintainus hors de portée des enfants.
- L'appareil ne doit pas être endommagé pour le montage et doit être en parfait état.
- Les câbles ne doivent pas être coudés, coincés ou endommages.
Le carter du ventilateur ne doit jamais etre ouvert. - La fixation d'autres composants (par ex.: obturateurs, conduits d'air) sur l'appareil est interdite.
- La tension secteur nécessaire doit correspondre à la tension indiquée sur la plaque signalétique. « 2.5 Caracteristiques techniques » (page 7).
- Avant le montage, il faut s'assurer que l'alimentation électrique est coupée. L'alimentation électrique a uniquement lieu lorsque cette est indiquedans l'étape de montage correspondante.
3.2 Exigences relatives au lieu de montage
AVERTISSEMENT!
Danger de mort en cas de montage incorrect!
Le non-respect des conditions ambantes peut entraîner des situations dangereuses, par ex.: lors de la manipulation de courant ou de gaz.
S'assurer que les exigences relatives au lieu de montages sont bien respectées.
- Pas de montage dans les environnements explosifs.
-
En cas d'utilisation simultanée d'un lieu de combustion à air ambient (par ex.: cheminée), dans la même composition d'air :
-
Un dispositif de sécurité est indispensable.
- Le dispositif de sécurité doit empêcher que les gaz soient aspirés dans la pierce.
- Il faut s'assurer que la sous-pression dans la piece du lieu de combustion n'est pas supérieure à 4 Pa.
-
Une autorisation de mise en service (par ex.: par le ramoneur) doit être présente.
-
Le montage est uniquement autorisé sur les éléments de bâtiment porteurs (mur en dur).
- Le plafond doit être plan et horizontal.
- Si une ouverture dans le mur est nécessaire : Une ouverture dans le mur influence la statique du bathtub, il existe un risque d'effondrement. L'ouverture doit uniquement etre effectuee par une entreprise spécialisée.
- En cas de montage au-dessus d'un foyer pour combustibles solides (par ex.: poèle à charbon):
- Le foyer doit posseder un couvercle fermé, non amovable. Il existe un risque d'incendie par ex. par projections de flammèches, le cas échéant. Les directives légales et nationales appropriées doivent être observées.
- L'air qui circule doit pouvoir être evacué sans entraves. Pas d'obstruction du flux d'air, ex.: en raison du montage d'objets sur ou au niveau de l'appareil.
- L'installation électrique du[bâtiment doit disposer d'une prise de terre appropriée.
- La tension secteur presente doit correspondre à la tension indiquée sur la plaque signalétique.
- Un cable de raccordement d'env. 80 cm de long pour l'alimentation électrique doit être fourni côté client dans la zone de montage de la cheminée.
- La fiche secteur doit être accessible après le montage. Un dispositif de séparation sur tous les pôles doit, en alternative, être fourni côté installation (ouverture de contact min. 3 mm).
Les dispositions légales nationales doivent être observées.
3.3 Exigences relatives aux modes de fonctionnement
D'autres accessoires peuvent être nécessaires en fonction du mode de fonctionnement.
3.3.1 Exigences relatives au mode recyclage d'air
- Filtre de recyclage d'air sur la sortie du ventilateur.
- Sections de la grille d'aération de la structure du haut supérieures à 300 cm².
- Remplissage du filtré facilement accessible pour le remplacement.
3.3.2 Exigences relatives au mode évacuation d'air vicié
- Conduite d'évacuation d'air vicié sur la sortie du ventilateur.
« 3.4 Exigences relatives à la conduite d'évacuation d'air vicié (uniquement en mode évacuation d'air vicié ou hybride) » (page 9). - Diamètre de la conduite d'évacuation d'air vicié de minimum 150 mm (correspond à une surface d'env. 177 cm²).
-
Une alimentation en air suffisante est garantie par le montage des accessoires nécessaires.
-
Interrupteur de contact de fenêtre.
- Caisson mural BMK-F / BMK-Z.
3.3.3 Exigences relatives au mode hybride
- Filtre hybride sur la sortie du ventilateur.
- Raccordement de la conduite d'évacuation d'air vicié sur le filtré hybride.
« 3.4 Exigences relatives à la conduite dévacuation d'air vicié (uniquement en mode évacuation d'air vicié ou hybride) » (page 9).
- Sections de la grille d'aération de la structure du haut supérieures à 300 cm².
- Diamètre de la conduite d'évacuation d'air vicié de minimum 150 mm (correspond à une surface d'env. 177 cm²).
- Remplissage du filtré facilement accessible pour le remplacement.
-
Une alimentation en air suffisante est garantie par le montage des accessoires nécessaires.
-
Interrupteur de contact de fenêtre.
Caisson mural BMK-F / BMK-Z.
3.4 Exigences relatives à la conduite d'évacuation d'air vicié (uniquement en mode évacuation d'air vicié ou hybride)
AVERTISSEMENT!
Risque d'incendie et d'asphyxie en cas de montage incorrect!
En cas d'utilisation de la conduite d'évacuation d'air vicié avec d'autres apparèils ou en cas de raccordement aux conduits d'évacuation d'air vicié (par ex.: cheminée), des gaz ou fumées peuvent être aspirés dans la piece.
S'assurer que les exigences relatives à la conduite d'évacuation d'air vicié sont bien respectées.
- La conduite d'évacuation d'air vicié est exclusivement utilisée par cet apparéil.
- La conduite d'évacuation d'air vicié est composée d'un matériel non inflammable conformément à DIN 4102 classe 1.
-
En cas d'utilisation d'une cheminée comme conduite d'évacuation d'air vicié :
-
La cheminée ne doit pas être utilisée par d'autres apparèils.
- Introduction de l'air aspiré dans la cheminée avec un coude à 90^ dirigé vers le haut.
-
Autorisation par le ramoneur.
-
En cas de guidage de la conduite d'évacuation d'air vicié par le toit ou le mur extérieur:
-
La section de la sortie du ventilateur n'est pas atteinte.
- Montage d'un collecteur d'eau de condensation dans la conduite d'évacuation d'air vicié pour éviter les dégats des eaux dans l'appareil. Le collecteur d'eau de condensation doit être suffisamment dimensionné.
La section, la longueur, la nature et le positionnement de la conduite d'évacuation d'air vicié ont une influence sur l'efficacité d'aspiration. Un changement brutal de direction de l'air entraîne des pertes de performance et du bruit.
Pour une performance optimale de l'appareil :
- La conduite d'évacuation d'air vicié est la plus courte et directe possible vers l'extérieur.
- La section prescrite de la conduite d'évacuation d'air vicié est respectée.
« 3.3 Exigences relatives aux modes de fonctionnement » (page 9).
- Utilisation exclusive de tubes et coudes avec une surface lisse à l'intérieur.
Pour éviter les tourbillonnements ou reflux de l'air transporte - il faut éviter d'utiliser des :
Tuyaux flexibles en spirale.
- Flexible.
- Pièces de renvoi plates.
Conduits d'évacuation d'air vicié à arêtes vives.
Avant le montage de l'appareil, la conduite d'évacuation d'air vicié doit être fournie côté client.
3.5 Étapes de montage
Brève presentation :
- Préparation du montage
- Déballage de l'appareil
- Retrait de l'enveloppe inférieure, du bord de protection contre les chocs et du Capillar Trap
- Détermination de la position de suspension
- Accrochage de la colonne de cheminée
- Accrochage du corps de hotter
- Raccordement des accessoires
- Branchement de l'alimentation électrique
- Installation des toles de cheminée laterales
- Installation du panneau arrête
- Installation de l'embout BackFlow
- Positionnement du filtré (en mode recyclage d'air et en mode hybride)
- Raccordement de la conduite d'évacuation d'air vicié (en mode évacuation d'air vicié et en mode hybride)
- Installation du panneau frontal
- Installation du Capillar Trap, du bord de protection contre les chocs et de l'enveloppe inférieure
- Execution du contrôle et de la mise en service
3.5.1 Préparation du montage
Se familiariser avec la situation de montage et les documents correspondants.
- Appareil et manuel.
- Accessoires.
- Lieu de montage.
Mode de fonctionnement prévu.
Rassembl les outils et matérielles nécessaires :
- Échelle stable
- Mètre pliant ou règle
Crayon - Niveau à bulle
- Fil à plomb
- Tournevis cruciforme PH2
- Clé Allen 2,5 mm
- Tournevis plat SL 2,5 x 0,4
- Clé 13 mm
- Mèche à pierre Ø 8 mm
Perceuse a percussion
Lame de cutter - Matériau de protection (par ex.: carton épais) pour plaque de cuisson et plan de travail
Veiller à ce que la zone de montage soit exemple d'objets qui peuvent générer ou être endommages.
Veiller à ce que la plaque de cuisson et autres pieces exposées soient refroidies.
Protégér la plaque de cuisson et autres surfaces dans la zone de montage (par ex.: avec du carton épais).
S'assurer que l'alimentation electrique est coupée et protégée contre tout démarrage intempéstif. L'alimentation electrique a uniquement lieu lorsque cela est indiquedans l'étape de montage correspondante.
Lorsqu'un accessoire (par ex.: caisson mural, interrupteur de contact de porte) fait partie de la situation de montage :
Les instructions relatives à l'accessoire doivent être observées.
S'assurer que l'accessoire est correctement monté et prét à être raccordé.
S'assurer que le cable de raccordement de l'accessoire est correctement posé et accessible.
3.5.2 Déballage de l'appareil
ATTENTION!
Risque de bris de verre ou autres dommages en cas de manipulation incorrecte!
L'appareil et sa surface peuvent être endommagés lors du déballage ou du transport.
Ne pas couper dans le cartonnage de protection.
Se tener à distance des objets qui peuvent rayer l'appareil (par ex.: outils, boucles de ceinture).
Déballer l'appareil et toutes les pièces emballées avec prudence.
Poser l'appareil sur une surface de protection solide et propre (par ex.: carton épais).
^出 Controller l'appareil et toutes les pieces fournies en termes de dommages.
Contrôle l'intégrité de la livraison.
« 2.4 Étendue de livreaison » (page 7).
Lorsque des pieces manquent ou sont endommagées :
S'adresser à votre revendeur spécialisé ou au service après-venture.
Retirer les matériaux d'emballage et les films de protection.
« 8.1 Élimination de l'emballage » (page 33).
3.5.3 Retrait de l'enveloppe inférieure, du bord de protection contre les chocs et du Capillar Trap
ATTENTION!
Risque de dommages en cas de chute de pieces!
Lors du déplacement de l'appareil, le panneau frontal peut s'ouvoir et les pieces interieures peuvent tomber.
Retirer les pieces interieures avant le montage.
L'enveloppe inférieure est maintainue dans l'appareil par des aimants.

Ouvr le panneau frontal.
Rabattre l'enveloppe inférieure en position centrale.
Tirer l'enveloppe inférieure vers l'avant.
Le bord de protection contre les chocs est inséré et maintainu dans l'appareil par des aimants.

Tirer le bord de protection contre les chocs de l'enveloppe supérieure.
Le Capillar Trap est inséré et maintainu en position au moyen d'une fixation laterale dans l'appareil.

Saisir lateralement le Capillar Trap des deux mains.
Tirer le Capillar Trap vers le bas.
Retirer le Capillar Trap.
3.5.4 Determination de la position de suspension
L'appareil est concu pour l'accrochage aux plafonds.
En cas de fixation sur un plafond en dur :
S'assurer de la force portante du plafond.
Utiliser le matériel de fixation fourni.
En cas d'autres conditions de montage :
Étudier les possibités de montage alternatives avant le montage (par ex.: auprès de votre architecte).
Utiliser du matériel de fixation approprié au plafond.
Le panneau frontal, le panneau arrière et les tôles de cheminée laterales ont été ajustés en usine à la hauteur de plafond correspondante. La colonne de cheminée est premontée en usine à une hauteur de 750 mm.
Afin d'adapter la hauteur de la colonne de cheminée à la situation de montage, les étapes suivantes sont requises :

Desserrer les vis et les écrous des raccords d'angle.
Régler la hauteur souhaitée par pas de 50 mm.
Fixer à nouveau les raccords d'angle avec les vis et les écrous.
S'assurer que la colonne de cheminée est visée à fond.
Vue de l'avant

Distance de sécurité (x):
- Recommendation 700~mm
- Profondeur minimale de 600mm pour les plaques de cuisson électriques.
Min. 650 mm pour les plaques de cuisson au gaz.
Les instructions pour les appareils de cuisine doivent etre respectees (par ex. : en cas de montage au-dessus d'un foyer pour combustibles solides).
S'assurer que la distance de sécurité est respectée.
Vue du haut

Déterminer la position de suspension.
Marquer le point central de l'appareil au plafond.
AVERTISSEMENT!
Danger mortel d'explosions ou de chic electrique!
Le perçage de conduites de gaz, d'eau ou électriques peut entraîner des situations dangereuses.
S'assurer qu'aucune conduite dans le plafond ne se trouve sur les points de fixation.

Aligner le gabarit de perçage de manière parallèle par rapport à l'avant de l'appareil.
Déterminer et marquer les points de fixation avec le gabarit de perçage.

Percer les trouss dans le plafond.

Insérer les chevilles d'ancrage dans les troucs perçés.
S'assurer que les chevilles d'ancrage sont fixées dans les trous percés.

Tourner les écrous et les rondelles sur la cheville d'ancrage à l'emplacement des deux trouss de verrouillage.
S'assurer qu'il y a un écart d'env. 6 mm entre le plafond et la rondelle.
3.5.5 Accrochage de la colonne de cheminée
AVERTISSEMENT!
Risque de blessures en cas de manipulation incorrecte! La taille et le poids de l'appareil nécessitant beaucoup de force lors de l'accrochage. Si l'appareil tombe, des blessures graves sont possibles.
Accrocher l'appareil à deux personnes.
Veiller à la stabilité lors de l'accrochage.
S'assurer que personne d'autre ne se trouve dans la zone de travail.
ATTENTION!
Risque de dommages en cas de manipulation incorrecte!
La taille et le poids de l'appareil nécessitant beaucoup de force lors de l'accrochage. Si l'appareil tombe, ici peut endommager l'appareil, le mobilier de cuisine et autres objets.
Recouvrir la plaque de cuisson refroidie.
Libérer la zone de montage.

Aligner la colonne de cheminée avec l'avant par rapport à l'avant de la zone de cuisson.
Soulever la colonne de cheminée.
Placer la colonne de cheminée au plafond avec les chevilles d'ancrage.
Tournier la colonne de cheminée de manière à ce qu'elle soit maintainue par les écrous à la position des trous de verrouillage.
S'assurer que la colonne de cheminée est maintainue en position.

Aligner l'avant de la colonne de cheminée de manière parallèle par rapport à l'avant de la zone de cuisson.
Serrer les écrous sur les trous de verrouillage à fond.
Visser les écrous et les rondelles sur les deux autres chevilles d'ancrage et serrer les écrous à fond.
S'assurer que tous les écrous sont vissés correctement.
Les câbles du corps de hotte sont protégés pour le transport.
Avant la suspension, retirer la fixation de transport du cable.
3.5.6 Accrochage du corps de hotte
AVERTISSEMENT!
Risque de blessures en cas de manipulation incorrecte! La taille et le poids de l'appareil nécessitant beaucoup de force lors de l'accrochage. Si l'appareil tombe, des blessures graves sont possibles.
Accrocher l'appareil à deux personnes.
Veiller à la stabilité lors de l'accrochage.
S'assurer que personne d'autre ne se trouve dans la zone de travail.
ATTENTION!
Risque de dommages en cas de manipulation incorrecte!
La taille et le poids de l'appareil nécessitent beaucoup de force lors de l'accrochage. Si l'appareil tombe, ici peut endommager l'appareil, le mobilier de cuisine et autres objets.
Recouvrir la plaque de cuisson refroidie.
Libérer la zone de montage.

Aligner le corps de hotte avec l'avant par rapport à l'avant de la zone de cuisson.
Lever le corps de hotte par le bas sur la colonne de cheminée jusqu'à ce que les quatre pinces métalliques s'enclenchent.
S'assurer que le corps de hotte est maintainu dans cette position.

Fixer le corps de hotte avec les vis sur les fixations de la colonne de cheminée.

Brancher le cable du panneau de commande dans le raccord sur la colonne de cheminée.

Brancher le cable de l'éclairage de la plaque de cuisson dans le raccord sur la colonne de cheminée.
3.5.7 Raccordement des accessoires
Selon la situation de montage, l'accessoire disponible est raccordé à la hotte, par ex.:
Caisson mural
- Interrupteur de contact de fenêtre
- Volet
- Filtre de recyclage d'air permalyt
Les instructions relatives à l'accessoire doivent être observées.
ATTENTION!
Risque de dommages en cas de raccordement incorrect!
La tension appliquée ou les raccords incorrectly peuvent entrainer des dommages de l'électronique.
S'assurer que l'alimentation électrique est coupée et protégée contre tout démarrage interpestif.
Veiller à l'affection correcte des raccordements.
S'assurer que les connecteurs de l'accessoire sont branchés correctement.

A Prise Jack - pour le raccordement du caisson mural, du volet ou du filtré de recyclage d'air permalyt.
B Douille creuse - pour le raccordement de l'interrupteur de contact de fenêtre.
C Douille de raccordement (RJ45) - interface BUS pour le raccordement avec l'accessoire spécial du fabricant. La connexion à un PC ou aux autres appareils est interdite.
Caisson mural
- Le caisson mural est fermé si le contact d'amorçage est ouvert.
- Le caisson mural est ouvert si le contact d'amorçage est fermé.
Interrupteur de contact de fenêtre
- Le ventilateur de la hotte est uniquement prêt à être mise en service si la fenêtre est ouverte.
Dispositif de sécurité
- Le ventilateur de la hotte est uniquement prét à être mis en service lorsqu'aucune sous-pression critique dans lapiece n'est observée.
Raccordez tous les accessoires disponibles.
Poser le cable de manière à ce qu'il ne soit pas coudé, coincide ou endommagé ou qu'il ne génne pas lors du remplacement du replissage du contrôle.
3.5.8 Branchement de l'alimentation électrique
AVENTISSEMENT!
Danger de mort du à l'électrocution!
Le contact avec les composants conducteurs peut entrainer des électrocutions, des blessures ou la mort.
S'assurer que l'alimentation électrique est coupée et protégée contre tout démarrage intempéstif.
Observer la tension indiquée sur la plaque signalétique.

Brancher le cable de raccordement pour l'alimentation électrique sur le connecteur Wieland.

Brancher le cable de raccordement avec le connecteur Wieland à la prise femelle Wieland du cable d'alimentation.

S'assurer que la fiche male du refroidisseur est branchée dans le cable d'alimentation au niveau du carter de ventilateur.
S'assurer qu'il sera possible, après le montage, de déconnecter l'appareil de l'alimentation électrique sur tous les pôles.
3.5.9 Installation des toles de cheminée laterales
ATTENTION!
Risque de dommages en cas de manipulation incorrecte
Le corps de la hotte et la cheminée peuvent être endommagés en cas de mouvements pendant le montage.
Maintenir une distance entre la cheminée et le corps de la hotte.
Se tener à distance des objets qui peuvent rayer l'appareil (par ex.: outils, boucles de ceinture).

Desserrer les vis de fixation sur la colonne de cheminée.
S'assurer qu'il y a un écart d'env. 3 mm de large entre la tôle de cheminée et la tête de vis.
Introduire la tôle de cheminée sur la colonne de cheminée par le côté.
Pousser les brides d'arrêt sous les têtes de vis.

Resserrer les vis de fixation à fond.
3.5.10 Installation du panneau arrête

Introduire le panneau arrête avec le bord inférieur dirigé vers la colonne de cheminée.
Insérer les fixations sur le bord inférieur dans les boulons de fixation sur la colonne de cheminée.
Enconcer le panneau arriere du tiers supérieur dans la colonne de cheminée.

Fixer le panneau arrête avec une vis de l'intérieur.
S'assurer que le panneau arrêté est visse à fond.
3.5.11 Installation de l'embout BackFlow
L'embout BackFlow est monté dans les modes de fonctionnement suivants :
Mode recyclage d'air
Mode evacuation d'air vicié avec technologie BackFlow
Modehybrid
L'utilisation de l'embout BackFlow a des répercussions sur l'efficacité énergétique de l'appareil.
« 2.1 Principé de fonctionnement » (page 5).

Placer l'embout BackFlow sur la sortie du ventilateur sur la colonne de cheminée.
Fixer l'embout BackFlow en le tournant brievement à droite.
3.5.12 Positionnement du filtrre (en mode recyclage d'air et en mode hybride)
Pour le montage du filtré, l'embout BackFlow (Ø 150 mm) est situé sur le carter de ventilateur comme auxiliaire de guidage. Le filtré est correctement installé lorsque le bord inférieur du filtré est parallele à la surface du carter de ventilateur et que l'interstice est large d'environ 3 mm.
Si l'accessoire est raccordé, le filtré doit être positionné de manière légèrement inclinée pour éviter les perturbation des connecteurs de l'accessoire lors de l'installation.
Mode recyclage d'air

Placer le filtr de recyclage d'air par le haut sur l'embout BackFlow.
S'assurer que le filtré de recyclage d'air est correctement monté.
Modehybrid

Placer le filtré hybride par le haut sur l'embout BackFlow.
S'assurer que le filtré hybride est correctement monté.
3.5.13 Raccordement de la conduite d'évacuation d'air vicié (en mode évacuation d'air vicié et en mode hybride)
Mode évacuation d'air vicié sans technologie BackFlow L'embout BackFlow n'est pas utilisé.

Réalisez un chanfrein à l'intérieur de la conduite d'évacuation d'air vicié.
Placer la conduite d'évacuation d'air vicié par le haut directement sur la sortie du carter de ventilateur.
Mode évacuation d'air vicié avec technologie BackFlow L'embout BackFlow est utilisé.
« 3.5.11 Installation de l'embout BackFlow » (page 18).

Placer la conduite d'évacuation d'air vicié par le haut sur l'embout BackFlow.
Coller le passage entre la conduite d'évacuation d'air vicié et l'embout BackFlow avec un ruban d'étanchéité (accessoire).

Modehybrid
Placer la conduite d'évacuation d'air vicié par le haut sur la collerette du filtré hybride.
Toutes les variantes
S'assurer que la conduite d'évacuation d'air vicié est correctement montée.
3.5.14 Installation du panneau frontal
Dessrerer I'ecrou moleté de la colonne de cheminée.
S'assurer que le verrouillage sur le panneau frontal est ouvert.

Placer le panneau frontal en bas sur le boulon au niveau du corps de hotte.
Insérer l'extrémité libre de la fixation de cable dans le boulon filtré de la colonne de cheminée.
Visser fermement à la main l'écrou moleté à la colonne de cheminée.
Enfonce le panneau frontal en haut entre les parties laterales jusqu'à ce que le verrouillage s'énclenché de manière audible. Au besoin, le verrouillage peut être réajusté à l'aide des trous oblongs.
3.5.15 Installation du Capillar Trap, du bord de protection contre les chocs et de l'enveloppe inférieure
Les pièces interieures doivent être remises en place après le montage.

Placer le Capillar Trap avec deux mains dans le bac de réception.
Pousser le Capillar Trap jusqu'à enclenchement vers le haut.

Mettez en place le bord de protection contre les chocs dans l'enveloppe supérieure.
Vérifiez que le bord de protection contre les chocs est installé correctement et maintenu par les aimants.

Pousser l'enveloppe inférieure dans l'appareil à l'horizontal.
Vérifier que l'enveloppe inférieure est installée correctement et qu'elle est maintainue par les aimants de maintien.

Fermer le panneau frontal.
3.5.16 Execution du contrôle et de la mise en service
ATTENTION!
Risque de perturbations en cas d'humidité dans l'appareil !
Si vous déplacez l'appareil d'un endroit froid à un environnement chaud, de l'humidité peut se condenser à l'intérieur de l'appareil.
Attendre 2 à 3 heures avant demettre l'appareil en marche.
Retirer les films de protection disponibles de l'appareil.
Vérifier que la fiche secteur est facilement accessible ou qu'un dispositif de séparation sur tous les pôles (ouverture de contact minimum 3 mm) est disponible.
Vérifier que le cable de raccordement électrique n'est pas coudé, coince ou endommagé.
S'assurer que les sorties d'aération ne sont pas fermées ou recouvertes.
S'assurer que les grilles d'aération sont libres dans les apparèils de recyclage d'air.
S'assurer que les films de protection sont retirés.
L'appareil est opérationnel ensuite après l'établissement de l'alimentation électrique.
Vérifier le fonctionnement de l'appareil.
« 4. Utilisation » (page 21).
4. Utilisation
4.1 Consignes de sécurité relatives à l'utilisation
AVERTISSEMENT!
Danger en cas de non-respect des instructions d'utilisation!
Ce chapitre compte des informations importantes pour une utilisation sère de l'appareil.
Lire attentivement ce chapitre avant utilisation.
Observer les consignes de sécurité.
Utilisation uniquement par des utilisateurs autorisés.
« 1.2 Groupes cibles autorisés » (page 4).
- Pas de commande par les enfants de moins de 8 ans et les personnes qui ne peuvent pas évaluier les dangers relatifs à l'utilisation de l'appareil.
- La hotte aspirante ne doit pas etre utiliser sans surveillance.
- Utilisation interdite en cas d'incendie ou en cas de risque imminent d'incendie (par ex.: odeur de gaz).
- Fonctionnement au gaz uniquement avec flamme de gaz courte (pas au-dessus du fond de la casserole). Les flammes peuvent endommager l'appareil et provoquer des incendies.
- Ne pas faire flamber sous l'appareil. Risque d'incendie.
- Ne pas faire frire sans contrôle sous l'appareil.
- Lors de l'utilisation, la plaque de cuisson et les autres pieces exposées peuvent être très chaudes. Il existe un risque de brûlures.
- Les résidus de graisses doivent être éliminés. Les résidus de graisses représentent un risque d'incendie.
- Pas d'humidité dans l'appareil.
- Les gouttelettes ou projections d'eau doivent être évitées.
-
Les recipients avec des liquides (par ex.: vases, bouteilles) ne doivent pas'être posés sur l'appareil.
-
Pas d'obstruction du flux d'air.
-
Pas d'obstruction du conduit d'air sur la partie inférieure de l'appareil.
- Utilisation uniquement possible avec le Capillar Trap intégré et une enveloppe inférieure fermée.
- En mode recyclage d'air : Pas de recouvrement des sorties d'aération (par ex. : verres/assiettes sur ou devant les grilles d'aération). L'air qui circule doit pouvoir etre evacué sans entraves par les grilles d'aération, un reflux peut se former le cas échéant. Lorsque les vapeurs de cuisson ne peuvent plus etre aspirées, il existe un risque d'accordie.
- En mode évacuation d'air vicié ou hybride : Une alimentation suffisante en air frais doit être garantie.
Mesures pour une alimentation suffisante en air frais :
Ouvr les fenêtres.
Ouvr les portes.
S'assurer que l'interrupteur de contact de fenètre et le caisson mural sont installés et fonctionnels.
Avec un lieu de combustion à air ambient (par ex.: cheminée), dans la même composition d'air: S'assurer que le dispositif de sécurité prescrit fonctionne.
Lorsque vous démarrez l'appareil et observez un bruit de ventilateur anormalement élevé :
Nettoyer l'appareil.
Observer les instructions de nettoyage.
« 5. Nettoyage » (page 26).
Lorsque vous démarrez l'appareil et observerze une odeur :
Remplacer le remplissage de filtré.
Observer les instructions de remplacement du replissage de contrôle.
« 6.2.2 Remplacement du replissage du filtre (en mode recyclage d'air et en mode hybride) » (page 28).
Lorsque l'affichage de contrôle pour le replissage du filtre clignote :
Remplacer le remplissage de filtré.
Observer les instructions de remplacement du replissage de contrôle.
« 6.2.2 Remplacement du replissage du filtre (en mode recyclage d'air et en mode hybride) » (page 28).
4.2 Commande de l'appareil
L'appareil est commandé au moyen du panneau de commande.

C. H^ + -ATPase
·s
- 实验原理
2
3
P
16 × 25
(1)
berbel
La position du panneau de commande est visible à tout moment sur le boîtier de la touche MARCHÉ/ARRÊT. Les autres touches s'allument lorsqu'ell'appareil est allumé.
- Touche qui éclaire beaucoup = fonction active
- Touche qui éclaire faiblement = fonction pas active
| Touche | Fonction |
| MARCHE / ARRÊT, accès au mode configuration | |
| Mode recyclage d'air, affichage de contrôle du remplissage du filtre | |
| Éclairage de la plaque de cuisson | |
| Éclairage d'effet (aucune fonction) | |
| 1 | Niveau de puissance 1 |
| 2 | Niveau de puissance 2 |
| 3 | Niveau de puissance 3 |
| P | Niveau de puissance POWER |
| Fonction arrêt temporisé | |
| Touche multifonctions (aucune fonction) |
Après le démarrage de l'alimentation secteur, l'appareil a besoin de quelques secondes pour s'adapter aux conditions ambientes. Aucune arrivée n'est possible durant ce temps. La procédure est terminée lorsque les touches s'allument de manière faible.
4.2.1 Fonjectionnement normal

AVERTISSEMENT!
Risque d'incendie à cause des résidus de graisses!
Pendant le fonctionnement, des résidus de graisses s'accumulent dans et sur l'appareil et sont facilement inflammables.
Nettoyer correctement l'appareil.
« 5. Nettoyage » (page 26).
Afin d'atteindre un résultat optimal lors de l'élimination des vapeurs de cuisson :
Allumer l'appareil 1 à 2 minutes avant le début de cuisson. Le flux d'air peut semettre en place et la hotte peut aspirer les vapeurs de façon anticipée.
Activer la hotte pendant la cuisson à un niveau de puissance adapté à l'intensité des vapeurs de cuisine :
- Niveau de puissance 1 - Puissance minimale du ventilateur
- Niveau de puissance 2 - Puissance moyenne du ventilateur
- Niveau de puissance 3 - Puissance élevée du ventilateur
Activer la hotte à un niveau de puissance supérieur si l'intensité des vapeurs de cuisine ne diminue pas.
Pendant la cuisson, en faisant revenir, commuter l'appareil au niveau max de puissance. L'appareil returne automatiquement au niveau de puissance 3 après 6 minutes.
Pour activer le niveau de puissance Power en permanence, rappuyer sur la touche correspondante. L'appareil ne change alors plus de niveau.
Veiller régulierèment à une alimentation en air frais.
Utilisez votre hotte d'aspiration pour réduire les autres odeurs génantes. comme par exemple de:
Oignons et aill
Four, micro-ondes ouétuveur
Fondue et raclette
Après la fin de la cuisson, utiliser la fonction arrêt temporisé en marche.
Éteindre l'appareil après utilisation. Lorsque la fonction arrêt temporisé automatique est activée, le délambda d'arrêt (10 minutes) démarre en niveau de puissance 1.
En cas d'utilisation de la technologie BackFlow, lorsqu'un niveau de puissance est actif, un faible flux d'air survient du conduit d'air de la partie inférieure de l'appareil à l'arrivée d'air avant. Cette circulation d'air est souhaitee. Le conduit d'air sur la partie inférieure de l'appareil ne doit jamais etre fermé.
Après 12 heures de fonctionnement sans utilisation, l'appareil s'arrête automatiquement (y compris éclairage).
4.2.2 Commutation mode evacuation d'air vici/ recyclage d'air
Lorsque l'appareil est configuré pour le mode hybride, il est possible de commuter à tout moment entre évacuation d'air vicié et recyclage d'air après activation de la fonction de commutation.
L'activation de la commutation a lieu en mode configuration.
« 4.3 Configuration de l'appareil » (page 25).
| Touche | Fonction |
| Lorsque la commutation est activée : Appuyer 1 fois sur la touche. | |
| Touche qui éclaire faiblement : • L'appareil fonctionne en mode évacuation d'air vicié. • Le caisson mural est ouvert. • L'air épure est evacué à l'air libre. | |
| Touche qui éclaire beaucoup : • L'appareil fonctionne en mode recyclage d'air. • Le caisson mural est fermé. • L'air épure est dirigé dans la piece. |
4.2.3 Affichage de contrôle du replissage du filtré
L'appareil dispose d'un affichage de contrôle pour rappeler le remplacement du replissage du filtré. L'affichage de contrôle ne joue aucun role si le filtré de recyclage d'air n'est pas utilisé.
La fonction est régée de manière à ce que la touche clignote toutes les 1 000 heures de service du ventilateur (durée du clignotement 120 secondes) dés que la hotte aspirant est désactivée. Le compteur hora est redémarré en cas d'arrêt de l'affichage de contrôle.
| Touche | Fonction |
| Touche qui clignote : Le replissage du filtre doit être remplaced. → « 6.2.2 Remplacement du replissage du filtre (en mode recyclage d'air et en mode hybride) » (page 28). → Maintenir la touche enforcée (>1 sec.) afin de redémarrer le compteur hora. |
4.2.4 Éclairage de la plaque de cuisson
L'éclairage de la plaque de cuisson estirquépéd'un gradateur et d'un éclairage LED économique en énergie. L'éclairage peut être utilisé indépendamment du ventilateur.
L'activation est possible lorsque l'appareil est en marche.
La déactivation est possible à tout moment.
La température de lumière peut être modifiée.
| Touche | Fonction |
| Gradateur. Appuyer 1 fois sur la touche pour activer ou désactiver l'éclairage de la plaque de cuisson. Maintenir la touche enforcée (>1 sec.) pour démarrer le gradateur. L'éclairage de la plaque de cuisson reste dans la luminosité après le relâchement de la touche. Après la désactivation, l'éclairage de la plaque de cuisson redémarre en luminosité maximale lors de la prochaine activation. | |
| Température de lumière. Appuyer 1 fois sur la touche. Rappuyer sur la touche dans l'espace d'une demi-seconde et la tener enforcée pour démarrer le cycle de couleurs. L'éclairage de la plaque de cuisson est activé, le cycle de couleurs démarre. Relâcher la touche lorsque la température de lumière souhaitée est atteinte. Le cycle de couleurs s'arrête et la température de lumière sélectionnée est enregistrée. |
4.2.5 Fonction arrêt temporisé
L'appareil dispose d'une fonction arrêt temporisé. En utilisant cette fonction, l'appareil continue à fonctionner pendant 10 minutes après la désactivation.
En mode recyclage d'air, l'utilisation de la fonction arrêt temporisé est nécessaire pour que l'appareil puisse absorber les odeurs résiduelles. La fonction arrêt temporisé permet d'accroître la durée de vie du replissage du filtré. Le replissage du filtré doit être renouvelé régulièrement.
La fonction arrêt temporisé peut être activée manuelle ou automatiquement. À la livraison, la fonction arrêt temporisé automatique est activée et le réglage correspondant est effectué en mode configuration.
« 4.3 Configuration de l'appareil » (page 25).
| Touche | Fonction |
| L'appareil est allumé.Lorsque la fonction arrêt temporisé est activée:Appuyer 1 fois sur la touche.L'appareil s'éteint.Le salarié d'accrit (10 minutes) démarre automatiquement dans le niveau de puissance 1.La touche du niveau de puissance 1 s'allume.La touche de la fonction arrêt temporisé clignote. Il est possible de basculer entre les niveaux de puissance.Rappuyer sur la touche pour désactiver totallyment l'appareil. | |
| L'appareil est activé, un niveau de puissance au besoin est sélectionné.Appuyer 1 fois sur la touche.Le salarié d'accrit (10 minutes) démarre dans le niveau de puissance sélectionné.La touche du niveau de puissance actif s'allume.La touche de la fonction arrêt temporisé clignote. Il est possible de basculer entre les niveaux de puissance.Rappuyer sur la touche pour arrêtter la fonction arrêt temporisé. |
4.2.6 Interrupteur de contact de fenêtre
Si un interrupteur de contact de fenêtre est raccordé sur l'appareil, il est contrôle si la fenêtre correspondante est ouverte ou fermée. L'aspiration a lieu uniquement avec la fenêtre ouverte ou dans le mode recyclage d'air.
| Touche | Fonction |
| Touche qui clignote : • Un interrupteur de contact de fenêtre est raccordé à l'appareil. • La fenêtre est fermée. • L'appareil n'aspire pas. | |
| Ouvrir la fenêtre. • L'aspiration peut être utilisé. |
4.2.7 AutoRun
Les apparêls équipés du module AutoRun démarrent automatiquement quand la plaque de cuisson est mise en marche. Lors de l'arrêt de la plaque de cuisson, l'appareil bascule sur
la fonction arrêt temporisé avant de se désactiver.
Le mode automatique pour AutoRun peut être régé en mode configuration.
« 4.3 Configuration de l'appareil » (page 25).
4.3 Configuration de l'appareil
| Touche | Fonction |
| L'appareil est allumé. Appuyer 1x sur la touche pendant plus de 5 secondes et la tener enforcée jusqu'à ce que les étapes de configuration soient terminées. Toutes les touches clignotent. L'appareil commute en mode configuration. Le mode de configuration est activé. Pour quitter le mode configuration : Relâcher la touche. Les réglages sont enregistrrés. L'appareil est de nouveau en mode normal. |
En mode configuration, les fonctions suivantes peuvent etre configuées en cas de contact de la touche correspondante.
| Touche | Fonction |
| 1 | AutoRun.À la livraison, la fonction est activée. |
| Appuyer 1 fois sur la touche.Touche qui éclaire beaucoup :Le mode Automatique d'AutoRun est activé. | |
| Appuyer 1 fois sur la touche.Touche qui clignote :Le mode Automatique d'AutoRun est déactivé. | |
| Commutation mode évacuation d'air vicié/recyclage d'air.Ala livraison, la fonction est déactivée. | |
| Appuyer 1 fois sur la touche.Touche qui éclaire beaucoup :La commutation est activée. | |
| Appuyer 1 fois sur la touche.Touche qui éclaire faiblement :La commutation est déactivée. | |
| Réinitialisation du compteur horaireL'affichage de contrôle pour le changementdu replissage de filtrtre clignote toutesles 1 000 heures de service du ventilateur.Le compteur horaire est remis à zéro par une réinitialisation.Maintenir la touche enforcée (>1 sec.).Le compteur horaire redémarrez.Les touches 1, 2, 3 et P clignotent rapidement,le mode configuration est quitté. |
| Touche | Fonction |
| Fonction arrêt temporisé. À la livraison, la fonction est activée. | |
| Appuyer 1 fois sur la touche. Touché qui éclaire beaucoup: La fonction arrêt temporisé est activée. | |
| Appuyer 1 fois sur la touche. Touché qui clignote: La fonction arrêt temporisé est désactivée. |
5. Nettoyage
5.1 Consignes de sécurité relatives au nettoyage
AVERTISSEMENT!
Danger en cas de non-respect des instructions de nettoyage!
Ce chapitre comporte des informations importantes pour un nettoyage sur de l'appareil.
Lire attentivement ce chapitre avec le nettoyage.
Observer les consignes de sécurité.
- Nettoyage uniquement par des utilisateurs autorisés.
« 1.2 Groupes cibles autorisés » (page 4). - Pas de nettoyage par les enfants de moins de 8 ans et les personnes qui ne peuvent pas évaluer les dangers relatifs à l'utilisation de l'appareil.
- Àprousutilisation,la plaque de cuisson et les autres pièces exposées peuvent être encore chaudes. Il existe un risque de brûlures.
- Les résidus de graisses doivent être éliminés. Les résidus de graisses représentent un risque d'incendie.
L'appareil doit être régulièrement nettoyé :
- Panneau de commande, surface, enveloppe supérieure, bord de protection contre les chocs et enveloppe inférieure après chaque cuisson.
- Capillar Trap en cas d'usage quotidien au bout de 8-10 semaines maximum.
5.2 Consignes de nettoyage
L'appareil aspire les particules de saleté (par ex.: particules de graisse et d'huile) générées dans l'air ambient. Les particules de saleté sont séparées et collectées dans l'enveloppe supérieure, sur le bord de protection contre les chocs, dans l'enveloppe inférieure et dans le Capillar Trap.
Avant chaque nettoyage :
Eteindre l'appareil.
Veiller à ce que la plaque de cuisson et autres pièces exposées soient refroidies.
ATTENTION!
Risque de dommages en cas de nettoyage incorrect!
Les objets tranchants, produits abrasifs ou produits de nettoyage inappropriés peuvent endommager l'appareil. Les produits de nettoyage suivants sont inappropriés et ne doivent pas été utilisés :
Acetone
- Trichloroethylene
- Solutions à base de nitro (par ex.: diluant nitro)
Diluant à base de résine synthétique
- Produkt abrasif
- Vernis contenant de la silicone
Vernis contenant de I'huile
Cire
Vapeur d'eau
- Sur surfaces vernies : chiffon microfibres
Se tener à distance des objets qui peuvent rayer l'appareil (par ex.: bagues).
Utiliser des produits de nettoyage doux (par ex. nettoyants universels non alcalins, à ph neutre).
Utiliser un chiffon doux et humide.
Nettoyer sans trop appuyer.
Les instructions et informations sur les produits de nettoyage doivent être observées.
Panneau de commande
Nettoyer le panneau de commande avec un chiffon légèrement humide qui ne peluche pas (par ex.: un chiffon microfibres).
Secher le panneau de commande avec un chiffon doux qui ne peluche pas.
Surfaces
Nettoyer les surfaces avec un chiffon doux et humide et un produit menager doux.
Secher les surfaces avec un chiffon doux.
Enveloppe inférieure
L'enveloppe inférieure est maintainue dans l'appareil par des aimants.

Rabattre le panneau frontal vers le bas.

Tirer l'enveloppe inférieure vers l'avant.
Nettoyer la partie inférieure du corps de hotte supérieure avec un chiffon doux et humide.
Nettoyer l'enveloppe inférieure avec un chiffon doux et humide ou dans le lave-vaisselle.
Sécher l'enveloppe inférieure avec un chiffon doux.
Enveloppe supérieure et bord de protection contre les ch
L'enveloppe supérieure est raccordée de manière fixe avec l'appareil.
Le bord de protection contre les chocs est inséré et maintainu dans l'appareil par des aimants.

Tirer le bord de protection contre les chocs de l'enveloppe supérieure.
Nettoyer l'enveloppe supérieure avec un chiffon doux et humide.
Nettoyer le bord de protection contre les chocs, par ex. dans le lave-vaiselle.
S'assurer que le bord de protection contre les chocs est totallyment sec.
Sécher l'enveloppe supérieure avec un chiffon doux.
Capillar Trap
Le Capillar Trap est inséré et maintainu en position au moyen d'une fixation laterale dans l'appareil.

Saisir lateralement le Capillar Trap des deux mains.
Tirer le Capillar Trap vers le bas.
Retirer le Capillar Trap.
Nettoyer le Capillar Trap p.ex. dans le lave-vaisselle.
Nettoyer les surfaces et bords sur le bac de réception du Capillar Trap avec un chiffon doux et humide.
S'assurer que le Capillar Trap est totalement sec.
Les pièces interieures doivent être remises en place après le nettoyage.
« 3.5.15 Installation du Capillar Trap, du bord de protection contre les chocs et de l'enveloppe inférieure » (page 20).
6. Réparation
6.1 Consignes de sécurité relatives à la réparation
AVERTISSEMENT!
Danger en cas de non-respect des instructions de réparation!
Ce chapitre compte des informations importantes pour une réparation sère de l'appareil.
Lire attentivement ce chapitre avec les travaux de réparation.
Observer les consignes de sécurité.
Exécuter la réparation comme décrit.
- Travaux de réparation effectuels uniquement par des spécialistes qualifiés.
« 1.2 Groupes cibles autorisés » (page 4). - Travaux électrotechniques effectuels uniquement par des électriciens qualifiés.
« 1.2 Groupes cibles autorisés » (page 4). - Réparation effectue uniquement par des utilisateurs autorisés.
« 1.2 Groupes cibles autorisés » (page 4). - Pas de réparation par les enfants de moins de 8 ans et les personnes qui ne peuvent pas évaluer les dangers relatifs à l'utilisation de l'appareil.
- Lors des travaux en hauteur, il faut veiller à une position stable (par ex.: échelle stable).
- La plaque de cuisson et les autres pieces exposées doivent être refroidies.
Le carter du ventilateur ne doit jamais etre ouvert.
6.2 Entretien
6.2.1 Remplacement des ampôules
L'appareil est équipé d'un éclairage LED sans entretien.
Lorsqu'un défaut survient :
S'adresser à votre revendeur spécialisé ou au service après-venture.
6.2.2 Remplacement du replissage du filtré (en mode recyclage d'air et en mode hybride)
Les odeurs sont liées au replissage du filtré en mode recyclage d'air ou hybride. L'air ambient épure, sans odeurs, est réintroduit dans lapiece.
Les filtres de recyclage d'air et hybride sont sans entretien pendant deux ans maximum.
Le replissage du filtré doit ensuite être renouvelé régulièrement.
Intervalles de remplacement
- Lorsque l'affichage de contrôle clignote toutes les 1000 heures de service du ventilateur.
« 4.2.3 Affichage de contrôle du replissage du contrôle » (page 23). - En cas d'odeurs dans l'air qui circule.
- En cas d'usage quotidien au bout de 24 mois maximum.
- En cas d'usage occasionnel au bout de 36 mois maximum.
ATTENTION!
Risque de dommages en cas de chute de pieces!
Lors des travaux sur l'appareil, des pieces ou outils peuvent tomber et entraîner des dommages des éléments de cuisine.
Protégéra plaque de cuisson refroidie et autres surfaces dans la zone de cuisson (par ex.: avec du carton épais).
Bouger les composants de l'appareil avec une grande prudence.

Pousser en haut sur le panneau frontal dans la zone du verrouillage jusqu'à ce que celui-ci s'énclenché de manière audible. Le panneau frontal peut être légèrement incliné vers l'avant.
Détacher l'écrou mojeté et le cable de fixation de la colonne de cheminée.

Détacher le panneau frontal en bas des boulons au niveau du corps de hotte et retarder le panneau frontal.
Démontage du filtré de recyclage d'air

Soulever le filtré d'au moins 30 mm.
Sortir le filtrer vers l'avant.

Démontage du filtré hybride
Enlever la conduite d'évacuation d'air vicié du filtré hybride.
Soulever le filtré d'au moins 30 mm.
Sortir le filtrer vers l'avant.
Le remplacement du replissage de filtrer a lieu comme décrit dans le manuel correspondant.
Remplacer le remplissage de filtré.
Nettoyer le filtrde l'extérieur (par ex. en l'aspirant avec un aspirateur).
Remetre le filtré.
« 3.5.12 Positionnement du filtrre (en mode recyclage d'air et en mode hybride) » (page 18).
Monter le panneau frontal.
« 3.5.14 Installation du panneau frontal » (page 19).
Éteindre l'affichage de contrôle sur le panneau de commande.
« 4.3 Configuration de l'appareil » (page 25).
6.2.3 Resserrage des charnières des panneaux frontaux
Si le panneau frontal se rabat vers les bas trop facilement, les charnières doivent etre resserrées.
ATTENTION!
Risque de dommages en cas de chute de pieces.
Lors des travaux sur l'appareil, des pieces ou outils peuvent tomber et entraîner des dommages des éléments de cuisine.
Protégér la plaque de cuisson refroidie et autres surfaces dans la zone de cuisson (par ex.: avec du carton épais).

Ouvrir le panneau frontal.
Desserer et retirer les vis de blocage laterales.
Retirer la plaque de recouvrement.
Serrer la vis centrale de manière régulière des deux côtes.
S'assurer que le panneau frontal s'ouvre lentement vers le bas.

Installer la plaque de recouvrement.
Installer les vis de blocage laterales.
Visser les vis de blocage laterales fermement.
Fermer le panneau frontal.
6.3 Élimination des défauts
Les défauts possibles sont décrits ci-après : Description du défaut.
Le ventilateur et l'éclairage ne fonctionnent pas.
- Pas d'alimentation électrique.
Vérifier si l'interrupteur d'alimentation est raccordé sur tous les pôles.
Mettre l'interrupteur sous tension.
Le fusible de sécurité s'est déclenché ou est défectueux.
Vérifier si leFuseble de sécurities est déclenché.
En cas de présence d'un coupe-circuit automatique, l'enclencher.
Pour les autres types deFuse, s'adresser à un électricien qualifié.
Le ventilateur ne fonctionne pas.
Lappareil n'est pas en circuit.
Vérifier tous les niveaux de puissance.
« 4.2.1 Fonctionnement normal » (page 22).
- L'appareil est raccordé à un contact de fenêtre et la fenêtre est fermée.
Ouvrir la fenetre.
- L'appareil est raccordé à un dispositif de sécurité. Le dispositif de sécurité déetecte une dépression critique.
Ouvrir une fenêtre.
Attendre que la pression de l'air se normalise.
L'éclairage ne fonctionne pas.
Le logiciel de l'appareil doit être redémarré.
Interrompore l'alimentation électrique pendant env. 10 secondes.
Lampoule est defectueuse.
S'adresser à votre revendeur spécialisé ou au service après-venture.
Présence d'odeurs pendant le fonctionnement.
- Le replissage du filtré est satured.
Remplacer le replissage de filtré.
« 6.2.2 Remplacement du replissage du filtre (en mode recyclage d'air et en mode hybride) » (page 28).
Le panneau de commande ne réagit pas malgré plusieurs pressions.
Le panneau de commande est encrassé.
Nettoyer le panneau de commande.
« 5. Nettoyage » (page 26).
Le logiciel de l'appareil doit être redémarré.
Interrompre l'alimentation électrique pendant env. 10 secondes.
Mauvais rendement de l'appareil.
Le filtr de recyclage d'air est obstrue.
Remplacer le replissage du filtré de recyclage d'air.
« 6.2.2 Remplacement du replissage du filtre (en mode recyclage d'air et en mode hybride) » (page 28).
- Le filtré hybride est obstrué.
Remplacer le remplissage du filtré hybride.
« 6.2.2 Remplacement du replissage du filtre (en mode recyclage d'air et en mode hybride) » (page 28).
- La conduite d'évacuation d'air vicié a été incorrectement raccordée ou installée.
S'adresser à votre revendeur spécialisé ou au service après-venture.
Humidité dans l'appareil.
- Des gouttelettes ou projections d'eau ont pénétré dans l'appareil.
- Du liquide (par ex. de vases, bouteilles sur l'appareil) à pénétré dans l'appareil.
Couper immédiatement l'alimentation électrique en enlevant le fusible.
S'assurer que l'alimentation électrique de l'appareil n'est pas rétablie par mégarde. Placer par ex. quelqu'un qui empêchera la mise sous tension du fusible.
S'assurer qu'aucun autre liquide ne peut pénétre dans l'appareil.
Laisser secher l'appareil.
Faire vérifier l'appareil par du personnel qualifié avant d'utiliser de nouveau l'appareil.
Lorsqu'un défaut ne peut pas être éliminé :
S'adresser à votre revendeur spécialisé ou au service après-vente.
7. Démontage
AVERTISSEMENT!
Risque de blessures en cas de manipulation incorrecte!
La taille et le poids de l'appareil nécessitant beaucoup de force lors du décrochage. Si l'appareil tombe, des blessures graves sont possibles.
Décrocher l'appareil à deux personnes.
Veiller à la stabilité lors du décrochage.
S'assurer que personne d'autre ne se trouve dans la zone de travail.
ATTENTION!
Risque de dommages en cas de manipulation incorrecte!
La taille et le poids de l'appareil nécessitent beaucoup de force lors du décrochage. Si l'appareil tombe, ceci peut endommager l'appareil, le mobilier de cuisine et autres objets.
Recouvrir la plaque de cuisson refroidie.
Libérer la zone de montage.
Couper l'alimentation électrique sur tous les pôles de l'appareil.
Pousser en haut sur le panneau frontal dans la zone du verrouillage jusqu'à ce que celui-ci s'énclenché de manière audible. Le panneau frontal peut être légèrement incliné vers l'avant.
Détacher l'écrou mojeté et le cable de fixation de la colonne de cheminée.
Enlever le panneau frontal.
En mode recyclage d'air et en mode hybride :
Retirer le filtrte.
En mode évacuation d'air vicié et en mode hybride :
Retirer la conduite d'évacuation d'air vicié.
Desserrer le vissage du panneau arrêté à l'intérieur de la colonne de cheminée.
Soulever le panneau arrière de l'appareil.
^思 Desserrer le vissage des pieces laterales.
Soulever les pieces laterales de l'appareil.
Debrancher le connecteur Wieland de la colonne de cheminée.
Détacher les cables du raccord de cable sur la colonne de cheminée.
Retirer le câblage du corps de hotte.
Si disponible :
Retirer le cable de raccordement disponible de l'accessoire.
Desserrer le vissage des toles laterales sur le conduit de cheminée.
Rabattre les tôles de revêtement vers le bas.
Retirer les toles de revêtement.
Desserrer le vissage du corps de hotte sur la colonne de cheminée.
Protégér le corps de hotte contre la chute à l'aide d'une deuxieme personne.
Desserrer les pinces métalliques du corps de hotte sur la colonne de cheminée.
Tirer le corps de hotte vers le bas.
Placer le corps de hotter sur une surface solide et protectrice.
Desserrer les écrous sur les chevilles d'ancrage.
Retirer uniquely les écrous sur les trouxs oblongs.
Tournier la colonne de cheminée de manière à pouvoir la retirer par les écrous sur les trous de verrouillage.
Retirer la colonne de cheminée.
Retirer la cheville d'ancrage du plafond.
8. Élimination
8.1 Elimination de l'emballage
ATTENTION!
Risque d'atteintes environnementales en cas d'élimination incorrecte de l'emballage!
Ne pas eliminer l'emballage avec les ordures menagères.
Retourner l'emballage pour un recyclage approprié et ecologique.
L'emballage sert de protection contre les dommages causés pendant le transport.
Seul l'emballage d'origine garantit une protection suffisante pendant le transport.
Maintenir l'emballage hors de portée des enfants.
Les matériaux d'emballage sont selectionnés pour leur compatibilité environnementale et fabriqués en matériaux recyclables. Les matériaux d'emballage peuvent être returnés dans le circuit des matières premières aprèsutilisation. Les matières premières essentielles peuvent ainsietre réservées.
L'emballage extérieur est en carton.
- Le matériel de replissage et les éléments de rembourse sont en carton ou polyéthylène (PE).
- Les films de protection et sacs sont en polyéthylène (PE).
Éliminer l'emballage de manière écologique en triant les matériaux.

8.2 Elimination de l'appareil
ATTENTION!
Risque d'atteintes environnementales en cas d'élimination incorrecte de l'appareil!
L'appareil est soumis à la directive européenne 2012/19/UE et ne doit pas être mis au rebut avec les déchets menagers.
Ne pas éliminer l'appareil avec les ordures menagères à la fin de sa durée d'utilisation.
Contacter les autorités urbaines ou communales pour en savoir plus sur les possibilités de recyclage écologique et correct ou d'élimination de l'appareil.
Apre's le demontage, rendre l'appareil inutilisable, par ex.: en coupant le cable d'alimentation hors tension.
Éliminer l'appareil conformément aux dispositions légales par l'inté médiaire d'une entreprise spécialisée ou de votre service d'évacuation des apparèils usages de votre commune.

9.1 Fiche technique du produit
Conformément à l'article 3 alinéa 1 b n° ii de l'ordonnance (UE) N° 65/2014
Les indications sur le label énergétique sont applicables pour l'aspiration en mode évacuation d'air vicié sans technologie BackFlow.

BIH 110 EG E02
| BIH 110 EG E02 | |
| Consommation d'énergie annuelle en kWh | 40,6 |
| Indice d'efficacité énergétique (EEI) | 54,7 |
| Classe EEl Hood | A |
| FDE Hood | 33,3 |
| Classe FDE Hood | A |
| LE Hood | 20,3 |
| Classe LE Hood | B |
| GFE Hood | 87,8 |
| Classe GFE Hood | B |
| Débit volumétrique en mode évacuation d'air vicié en m3/h | |
| Niveau min. à max. | 270/380/500 |
| Niveau Power/Intensif | 640 |
| Débit volumétrique en mode recyclage d'air en m3/h | |
| Niveau min. à max. | 210/310/420 |
| Niveau Power/Intensif | 530 |
| Puisance acoustique en mode évacuation d'air vicié en db(A) | |
| Niveau min. à max. | 46/51/56 |
| Niveau Power/Intensif | 67 |
| Puisance acoustique en mode recyclage d'air en db(A) | |
| Niveau min. à max. | 55/59/69 |
| Niveau Power/Intensif | 72 |
| Consommation électrique en veille en Watt (W) | 0,5 |
| Consommation électrique à l'arrêt en Watt (W) | 0,4 |
9.2 Contact
En cas de doute ou de question, nous contacter de la manière suivante :
Lun. à jeu.: 8h00 - 17h30
et ven. : 8h00 - 16h30
Fax: +49 (0) 5971/80 80 9-10
Internet: www.berbel.de
E-mail : info@berbel.de
Contacter le service après-venture du fabricant
Notre service après-vente peut être contacté de différentes manières. Nous contacter des manières suivantes :
Telephone: +49 (0) 5971/80 80 9-0
Lun.àjeu.:8h00-17h00
et ven. : 8h00 - 15h00
Fax: +49 (0) 5971/80 80 9-10
E-mail: service@berbel.de
Notice Facile