ES8433DN - Imprimante couleur laser OKI - Notice d'utilisation et mode d'emploi gratuit
Retrouvez gratuitement la notice de l'appareil ES8433DN OKI au format PDF.
| Type de produit | Imprimante laser couleur A3 |
| Technologie d'impression | Laser |
| Résolution d'impression | 1200 x 1200 dpi |
| Vitesse d'impression | Jusqu'à 30 pages par minute (ppm) |
| Capacité du bac d'alimentation | 250 feuilles (standard), extensible jusqu'à 1 450 feuilles |
| Connectivité | USB 2.0, Ethernet, Wi-Fi |
| Compatibilité des systèmes d'exploitation | Windows, Mac OS, Linux |
| Dimensions approximatives | 600 x 600 x 400 mm |
| Poids | Environ 30 kg |
| Fonctions principales | Impression, copie, numérisation, fax (en option) |
| Entretien et nettoyage | Nettoyage régulier des rouleaux et de l'intérieur de l'imprimante recommandé |
| Pièces détachées et réparabilité | Cartouches de toner, tambours, pièces de maintenance disponibles |
| Sécurité | Fonctionnalités de sécurité réseau, protection par mot de passe |
| Garantie | 1 an (extension possible) |
| Consommables | Cartouches de toner OKI, capacité de 5 000 pages (noir) et 3 000 pages (couleur) |
FOIRE AUX QUESTIONS - ES8433DN OKI
Questions des utilisateurs sur ES8433DN OKI
0 question sur cet appareil. Repondez a celles que vous connaissez ou posez la votre.
Poser une nouvelle question sur cet appareil
Téléchargez la notice de votre Imprimante couleur laser au format PDF gratuitement ! Retrouvez votre notice ES8433DN - OKI et reprennez votre appareil électronique en main. Sur cette page sont publiés tous les documents nécessaires à l'utilisation de votre appareil ES8433DN de la marque OKI.
MODE D'EMPLOI ES8433DN OKI
Ce manuel convient aux modèles suivants.
C813n
C823n/C823dn
C833n/C833dn
C843n/C843dn
ES8433
ES8443
Ce manuel contient des précautions relatives à l'utilisation du produit en toute sécurité.
Avant d'utiliser ce produit, assurez-vous de lire le présent manuel.
Tout a été mis en œuvre pour que les informations contenues dans ce document soient complètes, précises et à jour. Le fabricant décline toute responsabilité quant aux conséquences d'erreurs échappant à son contrôle. Le fabricant ne peut en outre garantir que les changements éventuellement apportés aux logiciels et matériels mentionnés dans ce guide par leurs fabricants respectifs n'affectent pas la validité de ces informations. Les références faites dans ce document à des logiciels d'autre provenance ne constituent pas un accord de la part du fabricant.
Toutes les mesures ont été prises pour que ce document vous apporte une aide précieuse, toutefois, nous ne pouvons garantir qu'il traite dans son intégralité toutes les informations contenues.
Tous droits réservés par Oki Electric Industry Co., Ltd. Vous n'êtes pas autorisé à copier, transférer, traduire, etc. le contenu ci-inclus sans autorisation. Vous devez obtenir l'accord écrit d'Oki Electric Industry Co., Ltd. avant de réaliser l'une des opérations susmentionnées.
OKI est une marque déposée d'Oki Electric Industry Co., Ltd.
Energy Star est une marque de United States Environmental Protection Agency (Agence de protection de l'environnement des États-Unis).
Microsoft, Windows, Windows Server et Windows Vista sont des marques déposées de Microsoft Corporation.
Apple, Mac et OS X sont des marques déposées d'Apple Inc.
D'autres noms de produits et noms de fabricants sont des marques déposées ou marques déposées de leur propriétaire.

Ce produit est conforme aux directives européennes 2014/30/EU (EMC), 2014/35/EU (LVD), 2014/53/EU (RED), 2009/125/EC (ErP) et 2011/65/EU (RoHS), relatives à l'harmonisation des lois des pays membres de l'Union Européenne en matière de compatibilité électromagnétique, de basse tension, d'équipement radio et de télécommunication, de produits consommateurs d'énergie, de limitation de l'utilisation de certaines substances dangereuses dans les équipements électriques et électroniques.
Les câbles suivants ont été utilisés pour évaluer ce produit pour la directive EMC 2014/30/EU et des configurations différentes pourraient affecter cette conformité.
| Type de cable | Longueur (mètres) | Âme | Blindage |
| Alimentation | 1,8 | X | X |
| USB | 5,0 | X | ✓ |
| LAN (Réseau local) | 15,0 | X | X |
Les pays cibles du programme ENERGY STAR sont les États-Unis, le Canada et le Japon.
Le programme ne s'applique pas aux autres pays.
Ce produit est conforme à ENERGY STAR v2.0 uniquement.
Premiers soins d'urgence
Soyez vigilant quant à la poudre de toner:

En cas d'ingestion, administrer de petites quantités d'eau fraîche et faire appel à un médecin. NE PAS tenter de faire vomir le patient.
En cas d'inhalation, emmener le patient au grand air. Consultez un médecin.
En cas de contact avec les yeux, rincer abondamment les yeux à l'eau froide pendant au moins 15 minutes, en maintenant les paupières ouvertes avec les doigts. Consultez un médecin.
Les éclaboussures doivent être traitées avec de l'eau froide et du savon pour éviter les taches sur la peau ou les vêtements.
Informations relatives à l'environnement

Pour votre sécurité, lisez le mode d'emploi avant d'utiliser le produit.

Avertissement
Cette indication donne des informations supplémentaires à respecter pour éviter tout risque d'accident corporel.

Attention
Cette indication donne des informations supplémentaires à respecter pour éviter des dysfonctionnements de la machine.
Précautions générales
| A VERTISSEMENT | |||
| Ne touche pas l'interrupteur de suturet se trouvant à l'intérieur de l'imprimante. Cela pourrait provoquer un choc électrique en cas de haute tension. De plus, les parties rotatives pouraient entrainer des blessures. | Ne vaporise pas de produits très inflammables à proximité de l'imprimante. Cela pourrait entraîner un incendie car certaines parties de l'imprimante sont chaudes. | Débranchez le cordon d'alimentation et contactez le service après-vente si le couvercle est inhabituellement chaud, s'il y a de la fumée, une oedur de brûlé ou des bruits bizarres. En cas contraire un incendie pourrait se développer. | |
| Débranchez le cordon d'alimentation et contactez le service après-vente si un liquide tel que de l'eau pénétre à l'intérieur de l'imprimante. En cas contraire un incendie pourrait se développper. | Débranchez le cordon d'alimentation et retirez tout matériel étranger tel que du papier tombé à l'intérieur de l'imprimante. En cas contraire cela pourrait provoquer un choc électrique et/ou un incendie, et des blessures. | Ne pas utiliser l'imprimante et/ou la démonter autrement que selon les instructions du mode d'emploi. En cas contraire cela pourrait provoquer un chic électrique et/ou un incendie, et des blessures. | |
| Débranchez le cordon d'alimentation et contactez le service après-vente si l'imprimante tombe ou que le couvercle est endommagé. En cas contraire cela pourrait provoquer un choc électrique et/ou un incendie, et des blessures. | Périodiquement débranchez le cordon d'alimentation pour nettoyer les bornes de la fiche et la surface entre les bornes. Si le cordon d'alimentation reste branché pendant une période prolongée, la base de la fiche se recouvre de poussière et cela peut provoquer un court-circuit et un incendie. | Ne nettoyez pas le toner renversé avec un aspirateur. L'utilisation d'un aspirateur pourrait entraîner un incendie à cause des étincelles se formant au moment du contact électrique. Éliminez le toner renversé sur le sol avec un chiffon humide. | |
| N'introduissez pas de matériel dans l'évent. Cela pourrait provoquer un choc électrique et/ou un incendie, et des blessures aux personnes. | Ne posez pas de tasse pleine d'eau, par exemple, sur l'imprimante. Cela pourrait provoquer un choc électrique et/ou un incendie, et des blessures aux personnes. | Ne touche pas le dispositif de fusion et les autres parties lorsque vous ouvrez le couvercle de l'imprimante. Cela pourrait entraîner des brûlures. | |
| Ne jetez pas les cartouches de toner et de tambour au feu. Cela pourrait provoquer une explosion de poussière et provoquer des brûlures. | N'utilise pas de cordon d'alimentation, de cable ou de fil de mise à la terre autres que ceux indiqués dans le mode d'emploi. Cela pourrait provoquer un incendie. | Le fonctionnement à l'aide d'un onduleur (alimentation sans coupure) ou d'un inverseur n'est pas garantit. N'utilise pas de système d'alimentation sans coupure ni d'inverseur. Cela pourrait provoquer un incendie. | |

Attention

Ne vous approchez pas de la zone de sortie du papier lorsque l'alimentation est en marche et pendant l'impression.
Vous pourriez vous blesser.

Ne touchez pas l'écran à cristaux liquides s'il est endommagé.
Si du liquide (cristal liquide) ayant fui de l'écran à cristaux liquides pénètre dans vos yeux ou dans votre bouche, rincez à grande eau. Si nécessaire, conformez-vous aux instructions d'un médecin.
Composition du manuel
Les manuels suivants sont fournis avec ce produit.
Mode d'emploi (installation) --- Le présent document
Il décrit les opérations de base pour aider à la compréhension de l'imprimante. Les descriptions de la configuration initiale, y compris le placement de l'imprimante et la configuration initiale du réseau, sont indiquées ainsi que les procédures de dépannage et de maintenance.
Terminologie utilisée dans le présent document
Les termes suivants sont utilisés dans ce manuel.
Remarque
- Indique des informations importantes relatives aux opérations. Assurez-vous de lire les sections importantes avec ce symbole.
Mémo
- Indique des informations complémentaires relatives aux opérations. Vous devriez lire les sections importantes où ce symbole est présent.
Reference
- Indique l'emplacement que vous devez consulter si vous souhaitez obtenir davantage de détails ou des informations connexes.
Avertissement
- Cette indication donne des informations supplémentaires à respecter pour éviter tout risque d'accident corporel.
Attention
- Cette indication donne des informations supplémentaires à respecter pour éviter des dysfonctionnements de la machine.
Symboles utilisés dans le présent document
Les symboles suivants sont utilisés dans ce manuel.
| Symboles | Description |
| [ ] | • Indique le nom des menus affichés à l'écran. • Indique le nom des menus, des fenôtres et des boîtes de dialogue affichés sur l'ordinateur. |
| « » | • Indique des messages et du texte saisi à l'écran. • Indique le nom des fichiers sur l'ordinateur. • Indique les titres de ↔reference. |
| Touche < > | Indique une touche matérielle du panneau de commande ou une touche du clavier de l'ordinateur. |
| > | Indique comment accéder à l'élement de votreouchait dans le menu de l'imprimante ou de l'ordinateur. |
| Votre imprimante | Indique l'imprimante que vous souhaitez utiliser ou selectionner. |
Notation utilisée dans le présent manuel
Les notations suivantes peuvent être utilisées dans le présent manuel.
- C813n→C813
- C823n/C823dn→C823
- C833n/C833dn→C833
- C843n/C843dn→C843
- Émulation PostScript3 PSE, POSTSCRIPT3 Emulation, POSTSCRIPT3 EMULATION
- Système d'exploitation Microsoft® Windows® 10 édition 64 bits→ Windows 10 (version 64 bits) *
- Système d'exploitation Microsoft® Windows® 8.1 édition 64 bits→ Windows 8.1 (version 64 bits) *
- Système d'exploitation Microsoft® Windows® 8 édition 64 bits→ Windows 8 (version 64 bits) *
- Système d'exploitation Microsoft® Windows® 7 édition 64 bits→ Windows 7 (version 64 bits) *
- Système d'exploitation Microsoft® Windows Vista® édition 64 bits→ Windows Vista (version 64 bits) *
- Système d'exploitation Microsoft® Windows Server® 2012 R2 édition 64 bits→ Windows Server 2012 R2 *
- Système d'exploitation Microsoft® Windows Server® 2012 R2 édition 64 bits→ Windows Server 2012 *
- Système d'exploitation Microsoft® Windows Server® 2008 R2 édition 64 bits→ Windows Server 2008 *
- Système d'exploitation Microsoft® Windows Server® 2008 édition 64 bits→ Windows Server 2008 (version 64 bits) *
- Système d'exploitation Microsoft® Windows® 10 → Windows 10 *
- Système d'exploitation Microsoft® Windows® 8.1→ Windows 8.1 *
- Système d'exploitation Microsoft® Windows® 8 → Windows 8 *
- Système d'exploitation Microsoft® Windows® 7 → Windows 7 *
- Système d'exploitation Microsoft® Windows Vista® → Windows Vista *
- Système d'exploitation Microsoft® Windows Server® 2008→ Windows Server 2008 *
- Nom générique de Windows 10, Windows 8.1, Windows 8, Windows Server 2012, Windows 7, Windows Vista, et Windows Server 2008→ Windows
- S'il n'y a pas de description particulière, la version 64 bits est incluse dans Windows 10, Windows 8.1, Windows 8, Windows 7, Windows Vista, et Windows Server 2008. (Version 64bit et Windows Server 2008 R2 est inclus dans Windows Server 2008, Windows Server 2012 R2 est inclus dans Windows Server 2012.)
S'il n'y a pas de description particulière, Windows 7 est utilisé en tant que Windows, Mac OS X 10.11 est utilisé en tant que Mac OS X et C833dn est utilisé en tant qu'imprimante pour les exemples du présent document.
Il est possible que la description diffère selon votre système d'exploitation, votre modèle ou votre version.
La diffusion de la poussière, de l'ozone, du styrene, du benzene, du TVOC, et des particules ultrafines est conforme à Eco Mark 155, les critères de certification d'émission des substances de l'« Imprimante ». (Le toner était testé en effectuant l'impression noir sur blanc et couleur avec les cartouches de toner authentiques OKI selon l'annexe S-M de la méthode d'essai Blue Angel RAL UZ-171 : 2012.)
À propos de la garantie du produit. 2 ENERGY STAR 3 Premiers soins d'urgence 3 Informations relatives à l'environnement 3 À titre d'information 4 Composition du manuel 6 À propos de ce manuel
1. Configuration 11
Vérification des produits 12
Vérification du contenu de l'emballage 12
Panneau de commande 13
Comment utiliser le clavier numérique. 14 Utilisation de la touche de fonction 14 Nom des pièces 15 Options disponibles 16
Vérification de l'environnement de l'emplacement. 17
Environnement de l'emplacement 17 Emplacement 17
Préparation de l'imprimante. 18
Déballage 18 Installation des consommables 18 Chargement du papier 20 Mise en marche/arrêt de l'imprimante 22 Installation des options 25 Test d'impression depuis l'imprimante 33
Connexion à un ordinateur 34
Connexion réseau 35 Connexion au Réseau local sans fil (Mode AP) (Optionnel) 44 Connexion USB 46 Ajout d'options 50
2. Opération d'impression de base 52
Papier pris en charge 52
Méthode d'impression depuis le bac 57
Méthode d'impression depuis le bac multifonctions 59
Impression en formats personnalisés 63
Sortie du papier 67
Fonctions d'impression pratiques 68
Annulation de l'impression 69
Configuration de la durée avant d'entrée en mode d'économie d'énergie..... 70
Réglage du temps qui s'écoule avant l'entrée en mode veille profonde...... 71
Contraintes en mode veille profonde 72
Paramètres destinés à l'extinction automatique (Mise hors tension autom.)… 74
Configuration du mode Arrêt automatique 74
Configuration de la durée avant d'entrée en mode de mise hors tension automatique...... 75
Configuration de l'avertisseur sonore 76
3. Résolution des problèmes 77
Lorsqu'un message d'erreur s'affiche sur l'écran (lorsque le témoin ATTENTION s'allume/clignote) 77
Lorsque des bourrages papier surviennent/lorsqu'un message d'erreur ne s'efface pas, même après la suppression d'un bourrage papier. 78
Lorsqu'un message de remplacement des consommables ou de maintenance de l'appareil s'affiche 89
Lorsqu'un message de remplacement de papier ou d'erreur de format de papier s'affiche. 92
Autres messages d'erreur 93
Si vous ne pouvez pas imprimer depuis le bac MF. 98
Autres problèmes 99
Impossible d'imprimer depuis l'ordinateur 99
Impossible d'installer un pilote d'imprimante avec succès 102
Contraintes propres au système d'exploitation 103
Problèmes relatifs à la qualité d'image 104
Problèmes d'alimentation 108
Problèmes relatifs à la machine 109
4. Maintenance 112
Remplacement des consommables et maintenances des unités 112
Remplacement des cartouches de toner 113 Remplacement du tambour 117 Remplacement de la courroie 121 Remplacement de l'unité de fusion 123
Nettoyage 126
Nettoyage de la surface de l'imprimante 126 Nettoyage des rouleaux d'alimentation en papier 126 Nettoyage des têtes DEL 129
Déplacement ou transport de l'imprimante 130
Avant la mise au rebut de la machine 133
5. Annexe 134
Liste des écussons du panneau de commande 134
Vérification de l'objet de l'imprimante grâce à l'écran 134 Liste des éus du panneau de commande 135
Caractéristiques 142
1. Configuration
La méthode de configuration est expliquée dans ce chapitre.
1. Vérification des produits
- Vérification du contenu de l'emballage
- Vérification des noms du panneau de commande et de la méthode d'utilisation
- Vérification du nom des parties du produit
- Vérification des options

2. Vérification de l'environnement de l'emplacement
- Vérification de l'environnement de l'emplacement
- Vérification de l'emplacement

3. Préparation d'une imprimante
- Déballage
- Retrait des garnitures d'emballage
- Installation des consommables
- Chargement du papier
- Mise en marche/arrêt de l'imprimante
- Installation des options
- Test d'impression depuis l'imprimante

4. Connexion à un ordinateur
| Connexion via un réseau | Connexion via USB | ||
| Pour Windows | Pour Macintosh | Pour Windows | Pour Macintosh |
| Connexion via Bonjour | |||
| Spécification de l'adresse IP depuis le panneau de commande | |||
| Connexion à un ordinateur | |||
| Installation d'un pilote d'imprimante sur un ordinateur | |||
| Ajout d'imprimantes sur un ordinateur | Ajout d'imprimantes sur un ordinateur | ||
| Test d'impression depuis un ordinateur | |||
Vérification des produits
Cette section vous offre un synopsis de l'imprimante.
Vérification du contenu de l'emballage
Vérifiez que vous disposez de tous les éléments indiqués ci-dessous.
Risques de blessures!

- Au moins deux personnes sont nécessaires pour soulever l'imprimante en toute sécurité, car son poids est d'environ 37 kg ou 40 kg.
Référence
Pour plus de détails sur la méthode d'ouverture de l'emballage, reportez-vous à « Déballage » P.18. - Imprimante

- Quatre tambours d'image (noir, jaune, magenta et cyan)
- Quatre cartouches de toner de démarrage (noir, jaune, magenta et cyan)
Remarque
- Pour les modèles C, les cartouches de toner de démarrage seront installées dans les tambours, lesquels sont mis en place dans l'imprimante avant l'expédition.
- La cartouche de toner du démarreur n'est pas installée dans les modèles ES. Installez la cartouche de toner incluse dans cette machine. Rapportez-vous à « Remplacement du tambour » p.117.

- Guide rapide
- Software DVD-ROM

Cordon secteur
Remarque
- Aucun câble Ethernet ou USB n'est fourni avec l'imprimante. Vous devez vous les procurer séparément.
- Les matérielles et les garnitures d'emballage sont nécessaires lorsque vous transportez l'imprimante. Ne les jetez pas.
Panneau de commande
Cette section indique les noms et les fonctions des composants du panneau de commande et la méthode de saisie de texte.

| N° | Nom | Fonction |
| 1 | Écran d'affichage | Affiche les instructions d'utilisation et le statut de l'imprimante. |
| 2 | Bouton <ON LINE (EN LIGNE)> | Commute entre les modes en ligne et hors ligne. |
| 3 | Bouton <CANCEL (ANNULER)> | Annule immédiatement l'impression en cours. |
| 4 | Bouton <ENTER (ENTRÈE)> | Confirme l'élement en surbrillance. |
| 5 | Bouton <SCROLL (DéFILEMENT)> | Sélectionne le menu ou fait défilier l'écran. |
| 6 | Bouton <BACK (RETOUR)> | Revient à l'écran précédent. |
| 7 | Bouton <HELP (AIDE)> | Affiche l'écran d'aide. Pour fermer, appuyez sur le bouton <HELP (AIDE)>, <BACK (RETOUR)> ou <CANCEL (ANNULER)>. |
| 8 | Bouton <POWER SAVE (ÉCONOMIE D'ENERGIE)> | • Accède au mode d'économie d'énergie ou le quitter. • Quitte le mode veille profonde. S'allume en vert en mode d'économie d'énergie et clignote en vert en mode veille profonde. |
| 9 | Clavier numérique | • Permet de saisir des nombres. • Permet de saisir des caractères alphanumériques et des symboles. Un mot de passer peut être saisi uniquement à l'aide d'un clavier numérique. |
| 10 | Bouton <Fn> | Affiche l'écran du menu de configuration de l'appareil à l'aide d'une fonction de raccourci. |
| 11 | Bouton <CLEAR (EFFACER)> | Exécute les actions suivantes en fonction des articles entrés lorsque vous appuyez sur ce bouton ou que vous le maintainez enforcé. • Réduit une valeur; • Définit une valeur sur zéro. • Supprime un caractère. • Annule un élément sélectionné. Revient aux paramètres précédents. Non disponible lors de la saisie d'une adresse IP. |
| 12 | Témoin <READY (PRÊT)> | S'allume en vert en mode en ligne et s'éteint en mode hors ligne. |
| 13 | Témoin <ATTENTION> | S'allume ou clignote en orange lorsqu'une erreur survient au niveau de l'appareil. |
Comment utiliser le clavier numérique
Utilisez le clavier pour saisir des nombres et des caractères.
À chaque pression sur une touche numérique, les nombres ou les caractères saisis changent de manière cyclique dans l'ordre suivant :
<1>: 1 < 2> : 2 a b c A B C 2 <3>: 3 → d → e → f → D → E → F → 3 <4>: 4 → g → h → i → G → H → I → 4 <5>: 5 → j → k → l → J → K → L → 5 < 6> : 6 m n o M N O 6 <7>: 7 → p → q → r → s → P → Q → R → S → 7 <8>: 8 → t → u → v → T → U → V → 8 <9>: 9 → w → x → y → z → W → X → Y → Z → 9 <0>: 0
Les fonctions des touches <※> et <C> sont les suivantes:
<※> : Touche de fonction (Disponible uniquement lorsque l'écran de veille est affiché.) <C> : Supprime un caractère lors de la saisie d'un mot de passe.
Par exemple, pour saisir « abc », appuyez sur le bouton <2> <2> bouton <2> <2> <2> bouton <2> <2> <2> <2> <2> bouton.
Utilisation de la touche de fonction
Appuyez sur les touches numériques après avoir appuyé sur la touche < Fn> lorsque le message « Prêt à imprimer » s'affiche à l'écran. Le menu de fonction correspondant au numéro saisi s'affiche.
Appuyez sur la touche Fn

2 Appuyez sur les touches numériques (0-9) pour afficher la fonction souhaitée, puis sur le bouton.

3 L'écran de configuration de la fonction sélectionnée s'affiche. Vérifiez ou modifiez les paramètres.

Liste du menu de fonction
| Numero de la fonction | Menu de la fonction |
| 1 | Impression partagée |
| 2 | Impression privée |
| 10 | Format de papier (Bac 1) |
| 11 | Dimension X (Bac 1) |
| 12 | Dimension Y (Bac 1) |
| 13 | Type de support (Bac 1) |
| 14 | Grammage Papier (Bac 1) |
| 20 | Format de papier (Bac 2)* |
| 21 | Dimension X (Bac 2)* |
| 22 | Dimension Y (Bac 2)* |
| 23 | Type de support (Bac 2)* |
| 24 | Grammage Papier (Bac 2)* |
| Nombre de la fonction | Menu de la fonction |
| 30 | Format de papier (Bac 3)* |
| 31 | Dimension X (Bac 3)* |
| 32 | Dimension Y (Bac 3)* |
| 33 | Type de support (Bac 3)* |
| 34 | Grammage Papier (Bac 3)* |
| 40 | Format de papier (Bac 4)* |
| 41 | Dimension X (Bac 4)* |
| 42 | Dimension Y (Bac 4)* |
| 43 | Type de support (Bac 4)* |
| 44 | Grammage Papier (Bac 4)* |
| 80 | Alimentation Papier |
| 90 | Format de papier (Bac MF) |
| 91 | Dimension X (Bac MF) |
| 92 | Dimension Y (Bac MF) |
| 93 | Type de support (Bac MF) |
| 94 | Grammage Papier (Bac MF) |
| 95 | Utilisation du Bac (Bac MF) |
| 100 | Configuration |
| 101 | Réseau |
| 102 | Rapport d'utilisation |
| 103 | Journal des erreurs |
| 200 | Delai de mise en veille |
| 201 | Délai de veille profonde |
| 202 | Délai hors tension auto. |
| 210 | Journal des erreurs |
| 220 | Désaxement (Bac MF) |
| 221 | Désaxement (Bac 1) |
| 222 | Désaxement (Bac 2)* |
| 223 | Désaxement (Bac 3)* |
| 224 | Désaxement (Bac 4)* |
| 230 | Réglage noir papier |
| 231 | Réglage couleur papier |
| 232 | Réglage noir trans. |
| 233 | Réglage couleur trans. |
| 234 | Réglage SMR |
| 235 | Réglage BG |
| 236 | Nettoyage du tambour |
| 237 | Hex Dump |
| 300 | Ajuster la densité |
| 301 | Ajuster le repérage |
| 302 | Modèle de réglage des couleurs d'impression |
| 310 | Densité Cyan |
| 311 | Densité Magenta |
| 312 | Densité Jaune |
| 313 | Densité Noir |
- Une erreur survient lorsque l'élément de l'option sélectionnée n'est pas installé.
Nom des pièces

| N° | Nom |
| 1 | Capot avant |
| 2 | Levier d'ouverture du capot avant |
| 3 | Panneau de commande |
| 4 | Interrupteur d'alimentation |
| 5 | Bac de sortie |
| 6 | Bac multifonction |
| 7 | Bac 1 |
| 8 | Orifices d'aération |

| N° | Nom |
| 9 | Bouton d'ouverture du bac de sortie |
| 10 | Cartouche de toner Tambour (K: noir) |
| 11 | Cartouche de toner Tambour (Y: jaune) |
| 12 | Cartouche de toner Tambour (M: magenta) |
| 13 | Cartouche de toner Tambour (C: cyan) |
| 14 | Unité de fusion |
| 15 | Tête DEL (quatre têtes) |
Remarque
- Pour les modèles ES, les cartouches de toner ne sont pas installées dans les tambours.

| N° | Nom |
| 16 | Bac multifonction |
| 17 | Capot du papier |
| 18 | Couvercle du module du réseau local sans fil |

| N° | Nom |
| 19 | Bac de sortie arrêté |
| 20 | Prise secteur |
| 21 | Interface |
| 22 | Capot d'accès |
| 23 | Unité Recto-Verso (uniquement pour le modele dont le nom compte dn ou ES) |
- Interface

| N° | Nom |
| 24 | Connecteur pour accessoire |
| 25 | Connexion de l'interface USB |
| 26 | Connexion de l'interface réseau |
Options dispensables
Les options suivantes sont disponibles pour l'imprimante :
- Bac supplémentaire (bac 2/3/4)
- RAM supplémentaire (256 ou 512 Mo) Kit de carte mémoire SD de 16 Go
- Module du réseau local sans fil
Référence
- Pour plus de détails sur la méthode d'installation des options, reportez-vous à « Installation des options » p. 25.
- Un kit de carte mémoire SD est utilisé pour des fonctions telles que le stockage destiné au tampon lors de la copie des secteurs, de l'enregistrement des données d'impression sécurisée/cryptée ou en tant que destination de stockage destinée à des données de formulaire. Pour plus d'informations sur les fonctions d'impression sécurisée, d'impression sécurisée cryptée et de stockage des données de formulaires, veuillez vous reporter au mode d'emploi (avancé).
Remarque
- C813/C823 est disponible uniquement Bac2.
Environnement de l'emplacement
L'imprimante doit être placée dans
L'environnement suivant:
Température: 10 à 32 °C
Humidité: 20 à 80 % HR
humidité: (humidité relative)
Température
maximale à
thermométre
mouillé:
Environnement
recommendé:
25℃
17 à 27 °C, 50 à 70 % HR
Remarque
- Soyez vigilant quant à la condensation. Elle pourrait provoquer un dysfonctionnement.
- Si vous placez l'imprimante dans un endroit où l'humidité de l'air est inférieure à 30% HR, utilisez un humidificateur ou un tapis antistatique.
Avertissement
- Ne l'installez pas à proximité d'une source de chaleur élevée ou de feu.
- Ne l'installez pas dans un endroit où ont lieu des réactions chimiques (laboratoires, etc.).
- Ne l'installez pas à proximité de solutions inflammables, telles que de l'alcool ou des diluants.
- Ne l'installez pas dans des endroits à portée d'enfants en bas âge.
- Ne l'installez pas dans des endroits instables (support soumis à des vibrations, endroits en pente, etc.).
- Ne l'installez pas dans un endroit où règne une forte humidité, poussiéreux ou exposé à la lumière directe.
- Ne l'installez pas dans un environnement à atmosphère saline ou à gaz corrosifs.
- Ne l'installez pas dans un endroit soumis à d'importantes vibrations.
- Ne l'installez pas dans un endroit où l'orifice d'aération de l'imprimante est bloqué.

Attention
- Ne l'installez pas sur une couverture ou un tapis à poils longs.
- Ne l'installez pas dans une pièce fermée où la ventilation et la circulation de l'air sont mauvaises.
- Si vous utilisez l'imprimante dans une petite pièce pendant une période prolongée, assurez-vous de l'aérer.
- Installez-la à l'écart des champs magnétiques et des sources de bruit intenses.
- Installez-la à l'écart des moniteurs ou des téléviseurs.
Emplacement
Placez l'imprimante sur une surface plane suffisamment large pour que les pieds de l'imprimante reposent fermement dessus.
Laissez suffisamment d'espace autour de l'imprimante, comme indiqué sur les images ci-dessous.
- Vue supérieure

- Vue périale

Préparation de l'imprimante
Cette section explique comment déballer l'imprimante et l'allumer ou l'éteindre.
Attention
- Au moins deux personnes sont nécessaires pour soulever l'imprimante en toute sécurité, car son poids est d'environ 37 kg ou 40 kg.
Remarque
- Veillez à utiliser de préférence des consommables ou des unités de maintenance fournis avec cette imprimante. Sinon, la durée de vie des consommables ou des unités de maintenance pourrait ne pas s'afficher correctement ou vous pourriez ne pas être en mesure de les utiliser par la suite.
- Le tambour (tube vert) est très délicat. Manipulez-le avec précaution.
- N'exposez pas le tambour à la lumière directe du soleil ou à des sources de lumière intérieures très intenses (supérieures à 1500 lux environ). Même dans des conditions d'éclairage intérieur normales, ne le laissez pas exposé plus de 5 minutes.
- Les matériaux et les garnitures d'emballage sont nécessaires lorsque vous transportez l'imprimante. Ne les jetez pas.
1 Retirez l'imprimante de la boîte ainsi que toutes les garnitures d'emballage et le sac en plastique de l'imprimante. 2 Retirez les deux bandes adhésives de protection (1) situées à l'arrière de l'imprimante.

Installation des consommables
1 Introduisez le doigt dans le creux situé du côté droit de l'imprimante et tirez le levier d'ouverture du capot avant (1) pour ouvrir le capot avant (2) vers l'avant.
Remarque
- Ouvrez-le en douceur. Si vous l'ouvrez rapidement, il est possible que le bac multiformat s'ouvre.

2 Appuyez sur le bouton d'ouverture du bac de sortie (3) et ouvrez le bac de sortie (4).

3 Retirez les quatre tambours de l'imprimante.

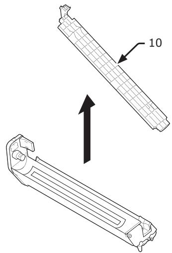
Retirez les feuilles de protection des quatre tambours.
(1) Placez un tambour sur un journal. Retirez l'adhésif (6) collé sur la feuille de protection (5) et ouvrez-la.

(2) Retirez la feuille de protection dans la direction indiquée par la flèche.

Remarque
- Ne tournez pas le levier bleu de la cartouche de toner.
5 Remettez les quatre tambours dans l'imprimante.

6 Tournez le levier bleu (7) de la cartouche de toner vers l'arrière jusqu'à ce que sa partie supérieure s'aligne sur la marque .
Faites pivoter les leviers des 4 cartouches de toner.

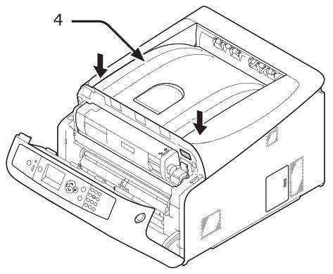
7 Fermez le bac de sortie (4) en poussant fermement les deux côtés du couvercle.

Remarque
- Le capot avant ne peut pas être fermé à fond si le bac de sortie n'est pas fermé.
- Lorsque le message d'erreur indiquant que le capot supérieur ou avant est ouvert ne s'affiche pas sur l’écran d’affichage du panneau de commande, assurez-vous qu’il est bien fermé.

Référence
- Veuillez vous reporter à « Papier pris en charge » p.52 pour plus d'informations sur la méthode de chargement du papier dans l'imprimante.

2 Réglez la numérotation du format de papier afin de la faire correspondre au format du papier chargé.
Réglez la numérotation sur [A4 ] lors du chargement de papier au format A4 en orientation paysage.

Faites glisser le guide papier (3) et la butée du papier (4) en fonction de la taille du papier à charger.

Remarque
- Lors du chargement de papier au format A6, déplacez la butée du papier (4) vers l'avant et retirez-la, puis remettez-la en place sur la partie métallique.

4 Courbez le papier en avant et en arrière, puis aérez-le. Alignez les bords de la pile de papier sur une surface égale.

5 Chargez le papier, face à imprimer dirigée vers le bas et appuyez-dessus.
Remarque
- Ne chargez pas de papier au-delà du repère [▼] (5) du guide papier.

Fixez bien le papier chargé à l'aide du guide papier. 7. Vérifiez si le format du papier chargé correspond au réglage de la numération du format de papier. 8. Remettez le bac à papier dans l'imprimante.
- Si vous chargez du papier dont vous ne pouvez pas sélectionner le format à l'aide des options de numérotation du format de papier, réglez la numérotation sur [Autres], puis réglez un format de papier sur le panneau de commande.
Critères d'alimentation électrique
L'alimentation électrique doit répondre aux critères suivants:
Tension: 110 à 127 V c. a. (Plage de 99 à 140 V c. a.)
220 à 240 V c. a. (Plage de 198 à 264 V c. a.)
Fréquence: 50 / 60Hz ± 2%
Remarque
- Si l'alimentation électrique est instable, utilisez un régulateur de tension.
- La consommation électrique maximale de cette imprimante est de 1 400 W. Assurez-vous que l'alimentation est suffisante pour l'utiliser.
- Le fonctionnement n'est pas garanti dans le cas de l'utilisation d'un système d'alimentation sans coupure (onduleur) ou d'un inverseur. N'utilisez pas de système d'alimentation sans coupure (onduleur) ni d'inverseur.
| AVERTISSEMENT | Vous risqueriez de subir une secousse électrique et/ou de provoquer un incendie. | |
| Veillez à couper l'interrupteur d'alimentation lors du branchement ou du débranchement du cordon secteur et du fil de mise à la terre. Veillez à connecter le fil de mise à la terre sur une borne dédiée. You ne devez connecter sousaucen prétexte le fil de mise à la terre à une canalisation d'eau ou de gaz, à un cable téléphonique ni à un paratonnerre ou autre élément similaire. Assurez-vous de le connecter à la borne de mise à la terre avant de brancher le cordon d'alimentation sur la fiche d'alimentation. Veillez à brancher et à débrancher le cordon d'alimentation en le tenant par la fiche d'alimentation. Rebranche fermement la fiche d'alimentation sur la prise secteur. Ne branchez et ne débranchez jamais le cordon d'alimentation avec les mains humides. Installez le cordon d'alimentation dans un endroit où l'on ne risque pas de marcher dessus et ne posez rien dessus. Ne regroupez pas les cordons en faisceaux. N'utilise pas de cordon d'alimentation endommagé. N'utilise jamais de prises multiples. Ne branchez pas l'imprimaTE avec d'autres apparciels électriques sur la même prise secteur. En particulier, si elle est branchée simultanément avec d'autres apparciels tels qu'un climatiseur, un photocopieur ou une déchiqueteuse, elle pourrait être victime d'un dysfonctionnement provoqué par des interférences. S'il est inévitable de proceder à un branchement sur la même prise secteur, veuillez utiliser un filtré ou un transformateur antiparasites disponibles dans le commerce. Utilisez le cordon d'alimentation fourni et branchez-le directement sur la borne de mise à la terre. N'utilise pas le cordon d'alimentation d'un autre apparéil pour l'imprimaTE. N'utilise pas de rallonge électrique. S'il est inévitable d'en utilisér, faites en sorte qu'elle soit d'une intensité nominale supérieure à 15 A. Si vous utilisez une rallonge, il est possible que l'imprimaTE ne fonctionne pas normalement suite à une chute de tension. Lors de l'impression, ne coupez pas l'alimentation et ne débranchez pas le cable d'alimentation. Débranchez le cordon d'alimentation si vous n'utilise pas l'imprimaTE pendant une période prolongée telle que des vacances ou un voyage. N'utilise pas le cordon d'alimentation fourni avec d'autres apparéils. | ||
Mise en marche de l'imprimante
1 Branchez le cordon d'alimentation (1) sur la prise d'alimentation de l'appareil.

2 Branchez le cordon d'alimentation sur la prise d'alimentation. 3 Maintenez l'interrupteur d'alimentation (2) enfoncé pendant 1 seconde pour allumer l'imprimante.

Le témoin DEL de l'interrupteur d'alimentation s'allume lorsque l'imprimante est sous tension.
Le message « Prêt à imprimer » s'affiche sur le panneau de commande une fois l'imprimante prête à imprimer.
Arrêt de l'imprimante
1. Maintenez l'interrupteur d'alimentation (1) enfoncé pendant une seconde. Le message « Extinction. Veuillez patienter. L'imprimante s'éteindra automatiquement. » s'affiche sur le panneau de commande et le témoin de l'interrupteur d'alimentation clignote 1 fois par seconde. Puis, l'imprimante s'éteint automatiquement ainsi que le témoin d'alimentation.
Remarque
- L'extinction de l'imprimante peut prendre environ 5 minutes. Veuillez patienter jusqu'à ce qu'elle s'éteigne.
- Maintenez l'interrupteur d'alimentation enfoncé pendant plus de 5 secondes pour forcer l'extinction de l'imprimante. N'utilisez cette procédure qu'en cas de problème. Pour les problèmes d'imprimante, reportez-vous à « Autres problèmes » P.99.

Si vous n'utilisez pas l'imprimante pendant une période prolongée
Si vous n'utilisez pas l'imprimante pendant une période prolongée pour cause de jours fériés ou de vacances, ou lorsque vous changez ou montez des pièces suite à des réparations ou une maintenance, débranchez le cordon d'alimentation.
Mémo
- L'imprimante ne subit pas de dysfonctionnement, même si elle est laissée débranchée pendant une période prolongée (plus de 4 semaines).
Mode d'économie d'énergie et mode veille profonde
Un système d'économie d'énergie à deux phases vous permet de réduire la consommation électrique de l'imprimante.
Mode économie d'énergie
Si l'imprimante n'est pas utilisée pendant un certain temps, elle entre automatiquement en mode économique d'énergie afin de réduire la consommation électrique.
Vous pouvez entrer manuellement en mode d'économie d'énergie en appuyant sur le bouton du panneau de commande.
Le bouton s'allume en vert dans ce mode.

Mémo
- L'intervalle avant d'entrée en mode d'économie d'énergie est configuré sur 1 minute dans les paramètres d'usine. Pour la méthode de modification de la durée avant que l'imprimante n'entre en mode économique d'énergie, reportez-vous à « Configuration de la durée avant d'entrer en mode d'économie d'énergie » P.70.
Mode veille profonde
L'imprimante passe du mode économique d'énergie au mode veille profonde après une durée déterminée.
Le bouton clignote en mode veille profonde.
Remarque
- L'imprimante n'entre pas en mode veille profonde si une erreur survient.
Mémo
- L'intervalle avant d'entrée en mode veille profonde est configuré sur 15 minutes dans les paramètres d'usine. Pour changer le temps qui s'écoule avant que l'imprimante entre en mode veille profonde, rapportez-vous à « Réglage du temps qui s'écoule avant l'entrée en mode veille profonde » P.71.
Reference
- Pour plus d'informations sur le mode veille profonde, veuillez vous reporter au Mode d'emploi (Avancé).
Sortie de l'imprimante du mode d'économie d'énergie
Pour faire sortir l'imprimante du mode d'économie d'énergie ou du mode veille profonde, appuyez sur le bouton du panneau de commande.
Mémo
- Lorsque l'imprimante reçoit un travail d'impression d'un ordinateur ou d'autres périphériques, elle sort automatiquement du mode.
Fonction de mise hors tension auto.
L'imprimante s'éteint automatiquement une fois une certaine durée écoulée après l'impression.
Mémo
- La durée avant l'extinction automatique de l'imprimante est réglée sur 4 heures dans les paramètres d'usine.
- Pour la méthode de modification de la durée avant que l'imprimante ne s’éteigne automatiquement, reportez-vous à « Paramètres destinés à l’extinction automatique (Mise hors tension autom.) » P.74.
Remarque
- Dans le réglage d'usine par défaut, le mode d'extinction automatique est désactivé pendant la connexion au réseau. Pour activer le mode d'extinction automatique pendant la connexion au réseau, reportez-vous à « Paramètres destinés à l'extinction automatique (Mise hors tension autom.) » P.74.
Installation des options
Cette section explique comment installer des options sur l'imprimante. Vous avez le besoin parmi les options suivantes :
- Bac supplémentaire (bac 2/3/4)
- RAM supplémentaire (256 ou 512 Mo) Kit de carte mémoire SD de 16 Go
- Module du réseau local sans fil
Remarque
- Avant d'installer les options, veillez à éteindre l'imprimante et à débrancher le cordon d'alimentation ainsi que le câble Ethernet ou USB. Installer des options alors que l'imprimante est allumée pourrait endommager celles-ci et l'imprimante.
Mémo
- Après l'installation des options, configurez leurs paramètres à l'aide du pilote d'imprimante. Reportez-vous à « Ajout d'options » p.50.
Installation d'un bac supplémentaire
Installez un bac supplémentaire optionnel lorsque vous souhaitez augmenter la capacité en papier de l'imprimante. Vous pouvez installer jusqu'à trois bacs supplémentaires. Après l'installation, vous devez configurer les paramètres du pilote de l'imprimante.
N35110A
Référence
- Pour les spécifications du bac supplémentaire, reportez-vous à « Papier pris en charge » p.52.
Risques de blessures !

- Au moins deux personnes sont nécessaires pour soulever l'imprimante en toute sécurité, car son poids est d'environ 37 kg ou 40 kg.
1 Éteignez l'imprimante et débranchez le cordon d'alimentation ainsi que le câble Ethernet ou USB.
Référence
Arrêt de l'imprimante. P.23
2 Empilez les bacs supplémentaires en alignant l'arrière de chacun d'eux.

3 Placez le bac sur l'imprimante en l'alignant doucement sur l'arrière de celle-ci.

4 Branchez le cordon d'alimentation et le câble Ethernet ou USB sur l'imprimante et mettez l'interrupteur d'alimentation en marche.
- N'appuyez pas le bac de sortie de l'imprimante avec force lorsqu'il est ouvert.

- Ne pas appuyer avec force sur le couvercle supérieur de l'imprimante lorsque celui-ci est ouvert.

- Ne pas appuyer avec force sur l'imprimante depuis l'arrière lorsque le bac à papier est déplié vers l'extérieur.

Installation de RAM supplémentaire
Installez la RAM supplémentaire pour augmenter la capacité mémoire de l'imprimante si par exemple des erreurs de saturation mémoire ou d'impression assemblée surviennent. L'imprimante prend en charge 256 et 512 Mo de RAM.

Remarque
- Utilisez uniquement des produits pour données de marque OKI. Les performances ne sont pas garanties en cas d'utilisation d'autres produits.
- L'électricité statique peut endommager des pièces. Déchargez votre corps de son électricité statique en touchant des parties métalliques mises à la terre, etc., avant de travailler.
- Pour C843/ES8443, il est nécessaire de remplacer la RAM de 256 Mo installée par la RAM de 512 Mo.
Mémo
- L'installation de mémoire supplémentaire est recommandée pour l'impression de bannières.
1 Éteignez l'imprimante et débranchez le cordon d'alimentation ainsi que le câble Ethernet ou USB.
Reference
Arrêt de l'imprimante » P.23
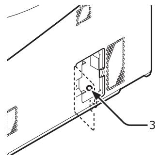
Ouvrez le capot d'accès (1) situé sur le côté droit de l'imprimante.

3 Faites glisser la plaque métallique (2) vers le haut pour l'ôter.
Remarque
- Si le support de carte mémoire SD est fixé, retirez la carte mémoire SD.
(1) Posez le doigt dans le creux de la plaque métallique (2) et faites-la glisser vers le haut.

(2) Pincez la partie inférieure de la plaque métallique (2), et tirez-la vers le haut.

4 Assurez-vous que la DEL (3) indiquée par la flèche est éteinte. Si elle est allumée, attendez qu'elle s’éteigne.

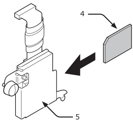
5 Insérez la RAM supplémentaire (4) dans l'emplacement et fixez-la en la poussant vers l'imprimante.
Remarque
- Veillez à vérifier l'orientation de la RAM supplémentaire. La RAM supplémentaire possède de petites encoches sur son connecteur qui correspondent au connecteur de l'emplacement.

Installez la plaque métallique (2).
(1) En premier lieu, insérez la partie supérieure de la plaque métallique (2) dans l'imprimante, puis installez-la.

Tout en maintenant la partie inférieure de la plaque métallique (2), faites-la glisser vers le bas et fixez-la.

Remarque
Fixez le support de la carte mémoire SD avant d'installer la plaque métallique si celui-ci était fixé sur l'imprimante.
7 Fermez le capot d'accès (1).

8 Branchez le cordon d'alimentation et le câble Ethernet ou USB sur l'imprimante et mettez l'interrupteur d'alimentation en marche. 9 Appuyez sur le bouton de déroulement ou sur le panneau de commande.

10 Appuyez sur le bouton de déroulement pour sélectionner [Configuration (Configuration)] et appuyez sur le bouton <ENTER (ENTREE)>.

11 Système (System)], puis sur le bouton.

Appuyez plusieurs fois sur le bouton de défilament pour sélectionner [RAM (RAM)], puis sur le bouton.

13 Vérifiez que la valeur de [RAM (RAM)] a augmenté.

- Pour une mémoire étendue de 256 Mo, elle vaut [512 Mo (512 MB)] ; et pour une de 512 Mo, [768 Mo (768 Mo)].
Remarque
- Si la valeur de [RAM] n'a pas augmenté, éteignez l'imprimante et débranchez le cordon d'alimentation ainsi que le câble Ethernet et USB, puis réinstallez la RAM supplémentaire.
Appuyez sur le bouton.



Installation du kit de carte mémoire SD de 16 go
Installez le kit de carte mémoire SD pour stocker des données d'impression ou pour une impression sécurisée.

Carte mémoire SD Support de mémoire SD
Mémo
- Le support de carte mémoire SD est fixé à la carte mémoire SD.
Remarque
- Utilisez uniquement des produits pour données de marque OKI. Les performances ne sont pas garanties en cas d'utilisation d'autres produits.
- L'électricité statique peut endommager des pièces. Déchargez votre corps de son électricité statique en touchant des parties métalliques mises à la terre, etc., avant de travailler.
- Vous ne pouvez pas utiliser la carte mémoire SD si le commutateur de protection en écriture est verrouillé. Veillez à déverrouiller le commutateur.
1 Éteignez l'imprimante et débranchez le cordon d'alimentation ainsi que le câble Ethernet ou USB.
Référence
Arrêt de l'imprimante. P.23
Ouvrez le capot d'accès (1).

3 Retirez la plaque métallique (2) en la faisant glisser vers le haut.
(1) Posez le doigt dans le creux de la plaque métallique (2) et faites-la glisser vers le haut.

(2) Pincez la partie inférieure de la plaque métallique (2), et tirez-la vers le haut.

4 Assurez-vous que la DEL (3) indiquée par la flèche est éteinte. Si elle est allumée, attendez qu'elle s'éteigne.

5 Installez la carte mémoire SD (4) dans le support prévu à cet effet (5).

6 Installez le support pour carte mémoire SD à l'aide de la vis (6) et de la languette (7) prévues à cet effet et fixez le connecteur (8).

Installez la plaque métallique (2).
(1) En premier lieu, insérez la partie supérieure de la plaque métallique (2) dans l'imprimante, puis installez-la.

(2) Tout en maintenant la partie inférieure de la plaque métallique (2), faites-la glisser vers le bas et fixez-la.

8 Fermez le capot d'accès (1).

9 Branchez le cordon d'alimentation et le câble Ethernet ou USB sur l'imprimante et mettez l'interrupteur d'alimentation en marche.
10 Appuyez sur le bouton de déroulement ou sur le panneau de commande.

11 Appuyez sur le bouton de déroulement pour sélectionner [Configuration (Configuration)] et appuyez sur le bouton <ENTER (ENTREE)>.


12 Système (System)], puis sur le bouton.


13 Carte SD (SD Card)], puis sur le bouton.


14 Vérifiez que la valeur de [Carte SD (SD Card)] est de [16 Go (16 GB)].

Remarque
- Il est possible que [15 Go] s'affiche dans [Carte SD]. Il ne s'agit pas d'une erreur.
- Si la valeur de [Carte SD] n'a pas augmenté, éteignez l'imprimante et débranchez le cordon d'alimentation ainsi que le câble Ethernet et USB, puis réinstallez la carte mémoire SD.
Appuyez sur le bouton.

Installation du module du réseau local sans fil
1 Éteignez l'imprimante et débranchez le cordon d'alimentation. 2 Ouvrez le couvercle du module du réseau local sans fil (1) situé sur le côté droit de l'imprimante.

3 Retirez le connecteur et branchez-le sur le module du réseau local sans fil.

4 Installez le module du réseau local sans fil.

5 Fermez le couvercle du module du réseau local sans fil.

6 Branchez le cordon CA. 7 Mettez l'imprimante en marche tout en appuyant sur le bouton. 8 Appuyez sur le bouton. 9 Entrer le mot de passe de l'administrateur et appuyer sur. Le mot de passe par défaut est « 999999 » 10 Appuyez sur le bouton de déroulement pour sélectionner [Module sans fil], et appuyez sur le bouton. 11 Appuyez sur le bouton de déroulement pour sélectionner [Activer], et appuyez sur le bouton. 12 Appuyez sur le bouton.
Test d'impression depuis l'imprimante
Vérifiez que vous pouvez imprimer à l'aide de l'imprimante. Vérifiez les paramètres détaillés et l'état de l'imprimante en imprimant le contenu des paramètres (Configuration).
Remarque
- Lorsque l'imprimante est en mode d'économie d'énergie, appuyez sur le bouton pour sortir du mode.
Appuyez sur la touche <Fn> du panneau de commande.

2 Saisissez « 100 » à l'aide du clavier numérique et appuyez sur le bouton.

3 Appuyez sur le bouton lorsque [Exécuter (Execute)] est sélectionné.

La configuration d'impression est terminée une fois l'impression des paramètres de l'imprimante terminée.
Reference
- Vous pouvez également imprimer des rapports et des listes pour chaque fonction. Reportez-vous au mode d'emploi (avancé).
Connexion à un ordinateur
Cette section explique comment connecter l'imprimante à un ordinateur et installer un pilote d'imprimante à l'aide du « Software DVD-ROM » fourni.
Préparez un ordinateur doté d'un lecteur de DVD.
Méthode de connexion
Vous pouvez opter pour l'une des méthodes de connexion suivantes:
- « Connexion réseau » p. 35
- Connexion USB. P.46
Configuration minimale requise
L'imprimante prend en charge les systèmes d'exploitation suivants:
- Windows 10/Windows 10 (version 64 bits)
- Windows 8.1/Windows 8.1 (version 64 bits)
- Windows 8/Windows 8 (version 64 bits)
- Windows 7/Windows 7 (version 64 bits)
- Windows Vista/Windows Vista (version 64 bits)
- Windows Server 2012 R2
- Windows Server 2012
- Serveur Windows 2008 R2
- Windows Server 2008/Windows Server 2008 (version x64) Mac OS X 10.8.5 à 10.11
Types de pilotes
Les types de pilotes qui peuvent être installés sont les suivants.
- Pour Windows
| Type | Description |
| PCL | Le pilote d'imprimante PCL convient aux documents commerciaux. |
| PS | Le pilote d'imprimante PS convient à l'impression de documents compétant des polices PostScript et des données EPS. |
- Pour Mac OS X
| Type | Description |
| PS | Le pilote d'imprimante PS peut également être utilisé pour l'impression normale. Le pilote d'imprimante PS ne prend pas en charge C813/C823. |
| PCL | Le pilote d'imprimante PCL peut également être utilisé pour l'impression normale. Le pilote d'imprimante PCL prend uniquement en charge C813/C823. |
Remarque
- La description peut différer selon la version du pilote d'imprimante, de Windows ou de Mac OS X.
Connexion réseau
Utilisez la procédure suivante pour connecter l'imprimante à un ordinateur via un réseau.
Connexion d'un câble ethernet
Veillez à connecter l'imprimante au réseau à l'aide d'un câble Ethernet avant l'installation du pilote.
Préparez un cable Ethernet (catégorie 5 à paire torsadée et direct) et un concentrateur distinct.
Préparez un câble Ethernet (catégorie 5 à paire torsadée et direct) et un concentrateur distinct.

2. Eteignez l'imprimante et l'ordinateur.
Rerence
Arrêt de l'imprimante. P.23
3. Branchez une extrémité du câble Ethernet sur le connecteur d'interface réseau (3) à l'arrière de l'imprimante. 4. Branchez l'autre extrémité du câble Ethernet sur le concentrateur (2).

Remarque
- Dans un environnement à réseau local sans fil, la machine passée en mode Veille, mais pas en mode Veille profonde.
- Ne placez pas d'appareils (particulièrement les fours à micro-ondes ou des téléphones numériques sans fil) qui émettent des ondes électromagnétiques faibles près de la machine.
- Installez la machine après un point d'accès du réseau local sans fil ou d'un appareil sans fil sans obstacle entre eux (la distance doit être dans les 30 m).
- Les connexions sans fil peuvent être difficiles en présence de fenêtres aux cadres en métal ou aluminium, ou de murs en béton renforcé entre la machine et le point d'accès du réseau local sans fil.
- Les connexions du réseau local sans fil peuvent avoir des vitesses de transmission plus lentes, selon l'environnement, que les connexions câblées du réseau local ou les connexions USB. Nous vous recommandons d'utiliser un réseau local câblé ou une connexion USB pour imprimer de grandes quantités de données, telles que les photographies.

Pour choisir une passerelle par défaut valide
1 Appuyez sur le bouton de déroulement plusieurs fois pour sélectionner [Configuration admin.], et appuyez sur le bouton. 2 Saisissez le mot de passe administrateur à l'aide des touches numériques (0 à 9), puis sur le bouton. Le mot de passe par défaut est « 999999 ». 3 Appuyez sur le bouton de déroulement plusieurs fois pour sélectionner [Paramètres réseau], et appuyez sur le bouton. 4 Appuyez sur le bouton de déroulement plusieurs fois pour sélectionner [Activation de la Passerelle par défaut], et appuyez sur le bouton. 5 Appuyez sur le bouton à dérouler pour sélectionner [Sans-fil (infrastructure)]. 6 Appuyez sur le bouton.
Connexion avec WPS
Si le point d'accès du réseau local sans fil prend en charge WPS, la connexion du réseau local sans fil peut être facilement effectuée à l'aide du bouton de configuration facile (bouton WPS).
Suivez la procédure ci-dessous pour la configuration.
1 Confirmez la position du bouton de configuration facile et le moment d'appuyer sur le bouton en vous rapportant au mode d'emploi du point d'accès du réseau local sans fil. 2 Confirmez que le point d'accès du réseau local sans fil a été activé et fonctionne normalement. 3 Mettez l'imprimante sous tension. 4 Appuyez sur le bouton de déroulement plusieurs fois pour sélectionner [Paramètres (Infrastructure) sans fil], et appuyez sur le bouton. 5 Saisissez le mot de passe administrateur à l'aide des touches numériques (0 à 9), puis sur le bouton. Le mot de passe par défaut est « 999999 ». 6 Appuyez sur le bouton de déroulement plusieurs fois pour sélectionner [Installation auto (WPS)], et appuyez sur le bouton. 7 Sélectionnez [WPS-PBC], et appuyez sur le bouton. 8 Sélectionnez [Oui], et appuyez sur le bouton.
9 L'imprimante se met à rechercher des points d'accès du réseau local sans fil. Pendant 2 minutes, appuyez sur le bouton de configuration facile pour le point d'accès du réseau local sans fil pendant quelques secondes.
Une fois que l'écran « Connexion réussie. » s'affiche, il indique que la configuration du réseau local sans fil est terminée.
Si « La connexion a échoué. » s'affiche, répétez la procédure depuis l'étape 4.
Si une antenne apparait sur le coin supérieur droit du panneau de commande, cela indique que la connexion a bien été établie.
- Connexion via un point d'accès du réseau local sans fil depuis le panneau de commande
Si le point d'accès du réseau local sans fil ne prend pas en charge WPS, vous pouvez vous connecter en sélectionnant le point d'accès du réseau local sans fil que vous souhaitez utiliser parmi ceux que la machine a détecté. Pour ce faire, une clé de chiffrement est requise.
1 Confirmez et écrivez le SSID et la clé de chiffrement en vous rapportant au manuel d'utilisateur du point d'accès du réseau local sans fil.
Mémo
- Un SSID est également appelé nom de réseau ESSID ou ESS-ID.
- La clé de chiffrement est également appelée clé de réseau, clé de sécurité, mot de passe ou clé prépartagée.
2 Confirmez que le point d'accès du réseau local sans fil a été activé et fonctionne normalement. 3 Mettez l'imprimante sous tension. 4 Paramètres (Infrastructure) sans fil], et appuyez sur le bouton. 5 Saisissez le mot de passe administrateur à l'aide des touches numériques (0 à 9), puis sur le bouton. Le mot de passe par défaut est « 999999 »
6 Choix du réseau sans fil], et appuyez sur le bouton. 7 L'imprimante se met à chercher des points d'accès du réseau local sans fil. Veuillez patienter. 8 Une liste de SSID des points d'accès du réseau local sans fil disponibles s'affiche. Appuyez sur ▲ ou ▼, sélectionnez un point d'accès du réseau local sans fil et appuyez sur le bouton.
Remarque
- Si seul [Configuration manuelle] s'affiche ou le SSID du réseau local sans fil désiré n'est pas affiché, suivez la procédure dans « Connexion via une Configuration manuelle à partir du panneau de commande » pour régler les paramètres.
Un écran s'ouvre où vous devez saisir la clé de chiffrement appropriée à la méthode de chiffrement pour le point d'accès du réseau local sans fil sélectionné ; entrez la clé de chiffrement.
Mémo
- La clé de chiffrement différente en fonction du point d'accès et de la sécurité du réseau local sans fil. Si [Clé pré-partagée WPA] s'affiche
| Élément | Explication |
| Méthode de chiffrement | WPA/WPA2-PSK |
| Clé de chiffrement | Entrez la clé pré-partagée. |
Si [Clé WEP] s'affiche
| Élément | Explication |
| Méthode de chiffrement | WEP |
| Clé de chiffrement | Entrez la clé WEP. |
Autres paramètres
| Élément | Explication |
| Méthode de chiffrement | Désactiver |
| Clé de chiffrement | La saisie n'est pas nécessaire. |
10 Le SSID sélectionné à l'étape 7 et la méthode de chiffrement à l'étape 8 sont affichés pour la sécurité sur l'écran de confirmation. Si le SSID est le même que celui configuré à l'étape 1, désélectionnez [ENTER]: Execute et appuyez sur le bouton.
Une fois que l'écran « Connexion réussie. » s'affiche, il indique que la configuration du réseau local sans fil est terminée.
Si « La connexion a échoué. » s'affiche, répétez la procédure depuis l'étape 4.
Si une antenne apparait sur le coin supérieur droit du panneau de commande, cela indique que la connexion a bien été établie.
- Connexion via la configuration manuelle à partir du panneau de commande
Configurez manuellement les informations sur le point d'accès du réseau local sans fil (SSID, méthode de chiffrement et clé de chiffrement) pour connecter le réseau local sans fil.
1 Vérifiez et écrivez le SSID, la méthode de chiffrement et la clé de chiffrement en vous référant au manuel d'utilisateur du point d'accès du réseau local sans fil.
Remarque
- Lorsque la méthode de chiffrement est WPA-EAP ou WPA2-EAP, configurez à partir de la page Web.
Mémo
- Un SSID est également appelé nom de réseau ESSID ou ESS-ID.
- La clé de chiffrement est également appelée clé de réseau, clé de sécurité, mot de passe ou clé prépartagée.
2 Confirmez que le point d'accès du réseau local sans fil a été activé et fonctionné normalement. 3 Mettez l'imprimante sous tension. 4 Appuyez sur le bouton de déroulement plusieurs fois pour sélectionner [Paramètres (Infrastructure) sans fil], et appuyez sur le bouton. 5 Entrer le mot de passer de l'administrateur et appuyer sur le bouton <ENTER (ENTREE)}. Le mot de passer par défaut est « 999999 »
6 Choix du réseau sans fil], et appuyez sur le bouton. 7 L'imprimante se met à chercher des points d'accès du réseau local sans fil. Veuillez patienter. 8 Une liste de SSID des points d'accès du réseau local sans fil disponibles s'affiche. Appuyez sur ▲ ou ∇, sélectionnez [Configuration manuelle] à la fin de la liste et appuyez sur le bouton. 9 Entrez le SSID enregistré à l'étape 1 et appuyez sur le bouton.
Remarque
- Sensible au lacke. Veuillez le saisir correctement.
10 Sélectionnez la méthode de chiffrement confirmée à l'étape 1 et appuyez sur le bouton.
Mémo
- La clé de chiffrement diffère en fonction du point d'accès et de la sécurité du réseau local sans fil. 11 Entre la clé de chiffrement enregistrée à l'étape 1 et appuyez sur le bouton. 12 Appuyez sur le bouton.
Une fois que l'écran « Connexion réussie. » s'affiche, il indique que la configuration du réseau local sans fil est terminée.
Si « La connexion a échoué. » s'affiche, répétez la procédure depuis l'étape 4.
Si une antennaparrait sur le coin supérieur croit du panneau de commande, ILA indique que la connexion a bien ete tablishie.
Installation d'un pilote d'imprimante (pour windows)
Pour terminer la connexion réseau avec un ordinateur sous Windows, commencez par configurer les adresses IP de l'imprimante, puis installez un pilote d'imprimante sur l'ordinateur.
S'il n'y a pas de serveur DHCP sur le réseau, vous devez configurer manuellement l'adresse IP sur l'ordinateur ou l'imprimante.
Si vous êtes administrateur réseau ou votre prestataire de services internet indique une adresse IP unique pour l'ordinateur et l'imprimante, vous devez la configurer manuellement.
Remarque
- Vous devez terminer la configuration du réseau de l'ordinateur avant cette procédure.
- Pour terminer cette procédure, vous devez ouvrir une session en tant qu'administrateur.
- Si vous configurez manuellement l'adresse IP, demandez à l'administrateur réseau ou au prestataire de services internes quelle adresse IP utiliser. Si l'adresse IP est mal configurée, il est possible que le réseau tombe en panne ou que l'accès à Internet soit désactivé.
- Si vous configurez un petit réseau qui se compose uniquement de l'imprimante et d'un ordinateur, configurer les adresses IP comme indiqué ci-dessous (conformément à la norme RFC1918).
Pour l'ordinateur
Adresse IP: 192.168.0.1~254
Masque de sous-réseau: 255.255.255.0
Passerelle par défaut: non utilisée
Serveur DNS: non utilisé
Pour l'imprimante
| Réglage d'adresse IP: | manuel |
| Adresse IP: | 192.168.0.1~254 (sélectionnez une valeur différente de celle de l'ordinateur) |
| Masque de sous- réseau: | 255.255.255.0 |
| Passerelle par défaut: | 0.0.0.0 |
| Échelle du réseau: | petite |
- Pour configurer [Vitesse du réseau], appuyez sur le bouton de déroulement ou puis sélectionnez [Configuration admin.] > [Paramètres réseau] > [Vitesse du réseau].
- Commencez par configurer l'adresse IP de l'imprimante. 1 Mettez l'imprimante sous tension. 2 Appuyez sur le bouton de déroulement ou sur le panneau de commande.

3 Appuyez plusieurs fois sur le bouton de défilement ▽ pour sélectionner [Configuration admin. (Admin Setup)], puis sur le bouton.

4 Saisissez le mot de passe administrateur à l'aide des touches numériques (0 à 9). Le mot de passe d'usine est « 999999 ». Appuyez sur le bouton après chaque caractère que vous saisissez.

5 Appuyez sur le bouton.

6 Vérifiez que [Paramètres réseau (Network Setup)] est sélectionné et appuyez sur le bouton.

7 Appuyez sur pour selectionner [Réglage d'adresse IP (IP Address Set)], puis sur le bouton <ENTER (ENTREE)}.

8 Si vous configurez manuellement l'adresse IP, appuyez sur le bouton de défilement et sélectionnez [Manuel (Manual)], puis appuyez sur le bouton. Passez à l'étape 9.

Si vous obtenez automatiquement l'adresse IP, vérifiez que [Auto (Auto)] est sélectionné et appuyez sur le bouton.
Passez à l'étape 15.

9 Appuyez sur le bouton jusqu'à ce que [Paramètres réseau (Network Setup)] s'affiche. Appuyez sur le bouton de défilément ↓ pour sélectionner [Address IPv4 (IPv4 Address)], puis sur le bouton.

10 Saisissez l'adresse IP à l'aide des touches numériques (0 à 9), puis appuyez sur le bouton.
Pour passer à la case suivante, appuyez sur le bouton.

11 Appuyez sur le bouton jusqu'à ce que [Paramètres réseau (Network Setup)] s'affiche. Appuyez sur le bouton de défilament ↓ pour sélectionner [Masque de sous-réseau (Subnet Mask)], puis sur le bouton.

12 Saisissez le masque de sous-réseau de la même manière que l'adresse IP. Pour passer à la case suivante, appuyez sur le bouton.

13 Appuyez sur le bouton jusqu'à ce que [Paramètres réseau (Network Setup)] s'affiche. Appuyez sur le bouton de défilément ↓ pour sélectionner [Adresse de passerelle (Gateway Address)], puis sur le bouton.

14 Saisissez l'adresse de la passerelle par défaut et appuyez sur le bouton.
Pour passer à la case suivante, appuyez sur le bouton.
Après avoir saisi tous les paramètres, appuyez sur le bouton.

Lorsque l'écran du menu de configuration s'affiche, appuyez sur le bouton pour terminer la configuration du réseau.

Ensuite, installez le pilote d'imprimante sur l'ordinateur.
1. Insérez le « DVD-ROM de logiciel » inclus dans l'ordinateur. 2. Quand la fenêtre [Lecture automatique] s'affiche, cliquez sur [Exécuter Setup.exe].

Mémo
- Si la boîte de dialogue [Contrôle du compte de l'utilisateur] s'affiche, cliquez sur [Oui].
3 Sélectionnez une langue dans la liste déroulante. 4 Lisez l'accord de licence, puis cliquez sur [Accepter]. 5 Lisez [Conseils sur l'environnement], et cliquez sur [Suivant]. 6 Sélectionnez [Réseau] selon la méthode de connexion de la machine et de l'ordinateur et cliquez sur [Suivant].
7 Sélectionnez le nom de modèle de la machine et cliquez sur [Suivant].

8 Cliquez sur [Installer le logiciel optionnel].

L'installation démarre.
Mémo
- Le logiciel suivant est installé.
- Pilote d'imprimante PCL6 (Y compris l'extension du réseau et l'utilitaire Color Swatch)
- FAQ
- Installez d'autres logiciels à partir de la fonction Installation personnalisée
Assurez-vous que le calcul est bien installé, puis cliquez sur [Test d'impression].
Sélectionnez l'imprimante pour le test d'impression test et cliquez sur [Test d'impression].
Assurez-vous que le test d'impression a réussi, puis cliquez sur [OK].

11 Cliquez sur [suivant].
![OKI ES8433DN - Cliquez sur [suivant]. - 1](/content/2026/01/223639/images/ef421d87575daaaba522964b107395b734f5e6086636fb92f0a78c1ba0aaae2e.jpg)
Si la boîte de dialogue suivante s'affiche, cliquez sur [Oui].
![OKI ES8433DN - Cliquez sur [suivant]. - 2](/content/2026/01/223639/images/61a02dc0c1d3641c43135543748c78726fe00d47f3dc3bd73d3692c9982b8009.jpg)
![OKI ES8433DN - Cliquez sur [suivant]. - 3](/content/2026/01/223639/images/b3f7dd9726478ddfb3579c5c48bd2201b8a64c20057adae709f3ceb19f0dba71.jpg)
Installation d'un pilote d'imprimante (pour mac OS x)
Pour terminer la connexion au réseau avec le système d'exploitation Mac, installez un pilote d'imprimante sur l'ordinateur et configurez l'imprimante en tant qu'imprimante réseau.
Remarque
- Désactivez l'antivirus avant de démarrer cette procédure.
Installer le pilote d'imprimante mac OS x PS. (excepté c813/c823)
Lorsque l'installation est terminée, imprimez la page test à l'étape 14.
1 Assurez-vous que la machine et un ordinateur sont connectés et que la machine est allumée. 2 Insérez le « DVD-ROM de logiciel » dans l'ordinateur. 3 Double-cliquez sur l'icone [OKI] sur le bureau. 4 [Pilotes] > [PS] > Double-cliquez sur [Installateur pour OSX]. 5 Entrez le mot de passe d'administrateur et cliquez sur [OK]. Suivez les instructions à l'écran pour terminer l'installation. 6 Sélectionnez [Préférences du système] dans le menu Apple. 7 Cliquez sur [Imprimantes & Scanners]. 8 Cliquez sur [+] Sélectionnez [Ajouter une imprimante ou un scanner] lorsque le menu est affiché.

9 Cliquez sur [Par défaut].
10 Sélectionnez la machine où [Nature] est [Bonjour], et sélectionnez [OKI C833 PS] à partir de [Utilisation].
| Connexion | Nom de l'imprimante | Type |
| Réseau | OKI-C833 (6 derniers chiffres de l'adresse MAC) | Bonjour |
| USB | OKI DATA CORP C833 | USB |

- Pour changer le nom, entrez un nouveau nom dans [Nom :].

11 Cliquez sur [Ajouter]. 12 Si l'écran de configuration des options installables est affiché, cliquez sur [OK]. 13 Assurez-vous que la machine est ajoutée à [Imprimantes] et [OKI C833 PS] s'affiche pour [Nature].
! Remarque
- Si [OKI C833 PS] ne s'affiche pas pour [Nature] correctement, cliquez sur [-], supprimez la machine de [Imprimantes], et suivez à nouveau les étapes 8 à 12.
14 Cliquez sur [Ouvrir la liste d'attente d'impression...]. 15 Sélectionnez [Page de test d'impression] dans le menu [Imprimante].
Installez le pilote d'imprimante Mac OS X PCL (C813/C823 uniquement)
Lorsque l'installation est terminée, imprimez la page test à l'étape 14.
1 Assurez-vous que la machine et un ordinateur sont connectés et que la machine est allumée. 2 Insérez le « DVD-ROM de logiciel » dans l'ordinateur. 3 Double-cliquez sur l'icone [OKI] sur le bureau. 4 [Pilotes] > [PCL] > [C823] > Double-cliquez sur [Installateur pour OSX]. 5 Entrez le mot de passe d'administrateur et cliquez sur [OK]. Suivez les instructions à l'écran pour terminer l'installation. 6 Sélectionnez [Préférences du système] dans le menu Apple. 7 Cliquez sur [Imprimantes & Scanners]. 8 Cliquez sur [+] Sélectionnez [Ajouter une imprimante ou un scanner] lorsque le menu est affiché.

9 Cliquez sur [Par défaut]. 10 Sélectionnez la machine où [Nature] est [Bonjour], et sélectionnez [OKI C823 PCL] à partir de [Utilisation].
| Types de nom | Affiché dans la connexion | Liste des métodes |
| Réseau | OKI-C823 (6 derniers chiffres de l'adresse MAC) | Bonjour |
| USB | OKI DATA CORP C823 | USB |
Mémo
- Pour changer le nom, entrez un nouveau nom dans [Nom:].

11 Cliquez sur [Ajouter]. 12 Si l'écran de configuration des options installables est affiché, cliquez sur [OK]. 13 Assurez-vous que la machine est ajoutée à [Imprimantes] et [OKI C823 PCL] s'affiche pour [Nature].

Remarque
- Si [OKI C823 PCL] ne s'affiche pas pour [Nature] correctement, cliquez sur [-], supprimez la machine de [Imprimantes], et suivez à nouveau les étapes 8 à 12.
14 Cliquez sur [Ouvrir la liste d'attente d'impression...]. 15 Sélectionnez [Page de test d'impression] dans le menu [Imprimante].
Connexion au réseau local sans fil (mode AP) (optionnel)
Le réseau local (Mode AP) sans fil connecte directement à une terminal sans fil (ordinateur, tablette, smartphone, etc.) sans utiliser un point d'accès du réseau local sans fil.
Remarque
- Vous ne pouvez pas activer Réseau local sans fil (Infrastructure) et Réseau local sans fil (Mode AP) simultanément.
- Ne placez pas d'appareils (particulièrement les fours à micro-ondes ou des téléphones numériques sans fil) qui émettent des ondes électromagnétiques faibles près de la machine.
- Les connexions sans fil peuvent être difficiles en présence de fenêtres aux cadres en métal ou aluminium, ou de murs en béton renforcé entre la machine et le terminal sans fil (ordinateur, tablette, smartphone, etc).
- Les connexions du réseau local sans fil peuvent avoir des vitesses de transmission plus lentes que les connexions USB ou de réseau local câblé selon l'environnement. Nous vous recommandons d'utiliser un réseau local câblé ou une connexion USB.
Préparations pour l'utilisation du réseau local (mode AP) sans fil
La machine devient un simple point d'accès sans fil et les terminaux sans fil (ordinateur, tablette, smartphone, etc.) ne peuvent pas se connecter directement.
Avant de commencer, confirmez que le périphérique sans fil utilisé prend en charge l'environnement suivant.
| Élément | Valeur |
| Standard | IEEE 802.11 b/g/n |
| Sécurité | WPA2-PSK(AES) |



Configuration automatique (bouton-poussoir)
Si le terminal sans fil (ordinateur, tablette, smartphone, etc.) prend en charge WPS-PBC (bouton-poussoir), vous pouvez utiliser le bouton WPS pour connecter via le (mode AP) sans fil.
Pour établir la connexion, suivez la procédure suivante.
1 Confirmez la position du bouton WPS dans le mode d'emploi fourni avec le terminal sans fil (ordinateur, tablette, smartphone, etc.) 2 Mettez l'imprimante sous tension. 3 Appuyez sur le bouton de déroulement plusieurs fois pour sélectionner [Paramètres sans-fil (mode AP)], et appuyez sur le bouton. 4 Saisissez le mot de passe administrateur à l'aide des touches numériques (0 à 9), puis sur le bouton. (Le mot de passe par défaut est 999999.) 5 Sélectionnez [Activer], puis appuyez sur le bouton <ENTER (ENTREE)>. 6 Appuyez sur le bouton de déroulement pour sélectionner [Configuration automatique (bouton-poussoir)], et appuyez sur le bouton. 7 Sélectionnez [Oui], et appuyez sur le bouton. 8 Démarrez WPS-PBC (bouton-poussoir) sur le terminal sans fil (ordinateur, tablette, smartphone, etc.).
Connexions manuelles
Si le terminal sans fil (ordinateur, tablette, smartphone, etc.) ne prend pas en charge WPS-PBC (bouton-poussoir), vous pouvez saisir le SSID de la machine et le mot de passe dans le terminal sans fil (ordinateur, tablette, smartphone, etc.) pour vous connecter.
Pour établir la connexion, suivez la procédure suivante.
1 Mettez l'imprimante sous tension. 2 Appuyez sur le bouton de déroulement plusieurs fois pour sélectionner [Paramètres sans-fil (mode AP)], et appuyez sur le bouton. 3 Saisissez le mot de passe administrateur à l'aide des touches numériques (0 à 9), puis sur le bouton. (Le mot de passe par défaut est 999999.) 4 Sélectionnez [Activer], puis appuyez sur le bouton <ENTER (ENTREE)>. 5 Appuyez sur le bouton de déroulement plusieurs fois pour sélectionner [Configuration manuelle], et appuyez sur le bouton. 6 Confirmez le [SSID] et le [Mot de passe] affichés sur l'imprimante. 7 Entrez le [SSID] de l'imprimante et le [Mot de passe] confirmés à l'étape 7 pour le terminal sans fil (ordinateur, tablette, smartphone, etc.).
Connexion USB
Utilisez la procédure suivante pour connecter l'imprimante à un ordinateur via USB.
Connexion d'un câble USB
Préparez un câble USB.
Aucun câble USB n'est fourni avec l'imprimante. Préparez un câble USB 2.0 distinct.

Mémo
- Utilisez un câble USB 2.0, Hi-Speed, pour une connexion USB 2.0 Hi-Speed.
2. Eteignez l'imprimante et l'ordinateur.
Référence
Arrêt de l'imprimante. P.23
3. Branchez une extrémité du câble USB sur le connecteur d'interface USB (2) à l'arrière de l'imprimante. 4. Branchez l'autre extrémité du câble USB sur l'interface du connecteur USB de l'ordinateur.

Remarque
- Ne branchez pas le câble USB sur le connecteur de l'interface réseau. Cela pourrait provoquer un dysfonctionnement.
Remarque
- Vous devez avoir ouvert une session en tant qu'administrateur pour réaliser cette procédure.
1. Insérez le « DVD-ROM de logiciel » inclus dans l'ordinateur. 2. Quand la fenêtre [Lecture automatique] s'affiche, cliquez sur [Exécuter Setup.exe].

Mémo
- Si la boîte de dialogue [Contrôle du compte de l'utilisateur] s'affiche, cliquez sur [Oui].
3 Sélectionnez une langue dans la liste déroulante. 4 Lisez l'accord de licence, puis cliquez sur [Accepter]. 5 Lisez [Conseils sur l'environnement], et cliquez sur [Suivant]. 6 Sélectionnez [USB] selon la méthode de connexion de la machine et de l'ordinateur et cliquez sur [Suivant].
7 Sélectionnez le nom de modèle de la machine et cliquez sur [Suivant].

8 Cliquez sur [Installer le logiciel optionnel].

L'installation démarre.
Mémo
- Le logiciel suivant est installé.
- Pilote d'imprimante PCL6 (Y compris Color Swatch Utility)
- FAQ
- Installez d'autres logiciels à partir de la fonction Installation personnalisée.
Assurez-vous que le calcul est bien installé, puis cliquez sur [Test d'impression].
Sélectionnez l'imprimante pour le test d'impression test et cliquez sur [Test d'impression].
Assurez-vous que le test d'impression a réussi, puis cliquez sur [OK].
10 Cliquez sur [Terminé].

11 Cliquez sur [Suivant].

Si la boîte de dialogue suivante s'affiche, cliquez sur [Oui].

Cliquez sur [Quitter].

Remarque
- Désactivez l'antivirus avant de démarrer cette méthode.
Installer le pilote d'imprimante mac OS x PS (excepté c813/c823)
Lorsque l'installation est terminée, imprimez la page test à l'étape 14.
1 Assurez-vous que la machine et un ordinateur sont connectés et que la machine est allumée. 2 Insérez le « DVD-ROM de logiciel » dans l'ordinateur. 3 Double-cliquez sur l'icone [OKI] sur le bureau. 4 [Pilotes] > [PS] > Double-cliquez sur [Installateur pour OSX]. 5 Entrez le mot de passe d'administrateur et cliquez sur [OK].
Suivez les instructions à l'écran pour terminer l'installation.
6 Sélectionnez [Préférences du système] dans le menu Apple. 7 Cliquez sur [Imprimantes & Scanners]. 8 Cliquez sur [+]. Sélectionnez [Ajouter une imprimante ou un scanner] lorsque le menu est affiché.

9 Cliquez sur [Par défaut]. 10 Sélectionnez la machine où [Nature] est [USB], et sélectionnez [OKI C833 PS] à partir de [Utilisation].
| Connexion | Nom de l'imprimante | Type |
| Réseau | OKI-C833 (6 derniers chiffres de l'adresse MAC) | Bonjour |
| USB | OKI DATA CORP C833 | USB |
Mémo
- Pour changer le nom, entrez un nouveau nom dans [Nom :].

11 Cliquez sur [Ajouter]. 12 Si l'écran de configuration des options installables est affiché, cliquez sur [OK]. 13 Assurez-vous que la machine est ajoutée à [Imprimantes] et [OKI C833 PS] s'affiche pour [Nature].

Remarque
- Si [OKI C833 PS] ne s'affiche pas pour [Nature] correctement, cliquez sur [-], supprimez la machine de [Imprimantes], et suivez à nouveau les étapes 8 à 12.
14 Cliquez sur [Ouvrir la liste d'attente d'impression...]. 15 Sélectionnez [Page de test d'impression] dans le menu [Imprimante].
Lorsque l'installation est terminée, imprimez la page test à l'étape 14.
1 Assurez-vous que la machine et un ordinateur sont connectés et que la machine est allumée. 2 Insérez le « DVD-ROM de logiciel » dans l'ordinateur. 3 Double-cliquez sur l'icone [OKI] sur le bureau. 4 [Pilotes] > [PCL] > [C823] > Double-cliquez sur [Installateur pour OSX]. 5 Entrez le mot de passe d'administrateur et cliquez sur [OK].
Suivez les instructions à l'écran pour terminer l'installation.
6 Sélectionnez [Préférences du système] dans le menu Apple. 7 Cliquez sur [Imprimantes & Scanners]. 8 Cliquez sur [+] Sélectionnez [Ajouter une imprimante ou un scanner] lorsque le menu est affiché.

9 Cliquez sur [Par défaut]. 10 Sélectionnez la machine où [Nature] est [USB], et sélectionnez [OKI C823 PCL] à partir de [Utilisation].
| Types de nom | Affiché dans la connexion | Liste des méthodes |
| Réseau | OKI-C823 (6 derniers chiffres de l'adresse MAC) | Bonjour |
| USB | OKI DATA CORP C823 | USB |
Mémo
- Pour changer le nom, entrez un nouveau nom dans [Nom :].

11 Cliquez sur [Ajouter]. 12 Si l'écran de configuration des options installables est affiché, cliquez sur [OK]. 13 Assurez-vous que la machine est ajoutée à [Imprimantes] et [OKI C823 PCL] s'affiche pour [Nature].

Remarque
- Si [OKI C823 PCL] ne s'affiche pas pour [Nature] correctement, cliquez sur [-], supprimez la machine de [Imprimantes], et suivez à nouveau les étapes 8 à 12.
14 Cliquez sur [Ouvrir la liste d'attente d'impression...]. 15 Sélectionnez [Page de test d'impression] dans le menu [Imprimante].
Ajout d'options
Si des options telles qu'un bac supplémentaire et/ou un kit de carte mémoire SD est installé, utilisez les procédures suivantes pour modifier les paramètres du pilote d'imprimante.
Pour le pilote PCL windows
1 Cliquez sur [Démarrer] > [Périphériques et imprimantes]. 2 Cliquez sur l'icône [OKI C833] avec le bouton droit de la souris et sélectionnez [Propriétés de l'imprimante]. (Si vous avez installé plusieurs pilotes d'imprimante, sélectionnez [Propriétés de l'imprimante] > [OKI C833 PCL6].) 3 Sélectionnez l'onglet [Options du périphérique (Device Options)]. 4 Si vous utilisez une connexion réseau, sélectionnez [Paramètres de l'imprimante (Get Printer Settings)]. Si vous utilisez une connexion USB, saisissez le nombre total de bacs en incluant bac multifonction dans [Bacs à papier installés (Installed Paper Trays)]. Par exemple, si trois bacs optionnels sont installés, saisissez « 4 » car les bacs 1, 2, 3 et 4 sont disponibles.

5. Cliquez sur [OK (OK)].
Pour le pilote PS windows
1 Cliquez sur [Démarrer] > [Périphériques et imprimantes]. 2 Cliquez sur l'icône [OKI C833] avec le bouton droit de la souris et sélectionnez [Propriétés de l'imprimante]. (Si vous avez installé plusieurs pilotes d'imprimante, sélectionnez [Propriétés de l'imprimante] >[OKI C833 PS].) 3 Sélectionnez l'onglet [Paramètres du périphérique (Device Settings)]. 4 Si vous utilisez une connexion réseau, sélectionnez [Installer automatiquement les options (Get installed options automatically)] dans [Options Installables (Installable Options)], puis cliquez sur [Configuration (Setup)]. Si vous utilisez une connexion USB, sélectionnez le nombre de bacs approprié [Bacs Disponibles] dans [Options Installables].

Cliquez sur [OK (OK)].
Pour le pilote mac OS x
1 Sélectionnez [Préférences Système] dans le menu Apple. 2 Cliquez sur [Imprimantes et scanners]. 3 Sélectionnez le nom de l'imprimante et cliquez sur [Options et fournitures]. 4 Sélectionnez l'onglet [Options].
5 Sélectionnez le nombre de bacs disponibles dans [Bacs à papier installés (Available Tray)], puis cliquez sur [OK (OK)].

2. Opération d'impression de base
Ce chapitre explique comment imprimer des documents depuis un ordinateur.
Types de papier pris en charge
Pour une impression de qualité élevée, veillez à utiliser des types de papier qui répondent aux exigences telles que la qualité, le grammage et la finition de surface des matériaux. Veuillez utiliser du papier d'impression pour photo numérique.
Si vous n'utilisez pas le papier recommandé, veuillez vérifier la qualité du papier et son mouvement assez longtemps à l'avance pour vous assurer qu'il n'y a pas de problèmes. L'imprimante prend en charge les types de papiers suivants.
| Type de papier | Format du papier mm (pouce) | Grammage papier | |
| Papier ordinaire | A3 | 297 x 420 | 64 à 256 g/m2Pour l'impression recto-verse, 64 à 220 g/m2! RemarqueSi le format de papier est configuré sur A6 ou A5, ou si la largeur du papier est inférieure à 148 mm(largeur A5), l'impression est plus lente. |
| A4 | 210 x 297 | ||
| A5 | 148 x 210 | ||
| A6 | 105 x 148 | ||
| B4 | 257 x 364 | ||
| B5 | 182 x 257 | ||
| B6 | 128 x 182 | ||
| B6 Half | 64 x 182 | ||
| Tabloïd | (11 x 17) | ||
| Letter | 215,9 x 279,4(8,5 x 11) | ||
| Legal 13" | 215,9 x 330,2(8,5 x 13) | ||
| Legal 13,5" | 215,9 x 342,9(8,5 x 13,5) | ||
| Legal 14" | 215,9 x 355,6(8,5 x 14) | ||
| Executive | 184,2 x 266,7(7,25 x 10,5) | ||
| Statement | (5,5 x 8,5) | ||
| 8,5"SQ | (8,5 x 8,5) | ||
| 8K(260 x 368 mm) | 260 x 368 | ||
| 8K(270 x 390 mm) | 270 x 390 | ||
| 8K(273 x 394 mm) | 273 x 394 | ||
| 16K(184 x 260 mm) | 184 x 260 | ||
| 16K(195 x 270 mm) | 195 x 270 | ||
| 16K(197 x 273 mm) | 197 x 273 | ||
| Format personnelisé | Largeur:64 - 297Longueur:90 - 1321 | 64 à 256 g/m2 | |
| Enveloppe | Nagagata #3 | 120 x 235 | Les enveloppes doivent être en papier 24 lb et le rabat doit être replié |
| Nagagata #4 | 90 x 205 | ||
| Nagagata #40 | 90 x 225 | ||
| Yougata #0 | 120 x 235 | ||
| Yougata #4 | 105 x 235 | ||
| Kakugata #2 | 240 x 332 | ||
| Kakugata #3 | 216 x 277 | ||
| C4 | 229 x 324 | ||
| C5 | 162 x 229 | ||
| DL | 110 x 220 | ||
| Com-10 | 104,8 x 241,3 | ||
| Carte index | Carte index | 76,2 x 127(3 x 5) | |
| Photo | Photo (4 x 6 pouces) | (4 x 6) | |
| Photo (5 x 7 pouces) | (5 x 7) | ||
| Hagaki | Hagaki | 100 x 148 | |
| Oufuku Hagaki | Oufuku Hagaki | 148 x 200 | |
Utilisez un papier conforme aux conditions suivantes *1 :
- Papier conforme aux critères de papier ordinaire.
- L'encre utilisée pour l'impression partielle est résistante à la chaleur (230^).
Remarque
- Lors de la spécification de la zone d'impression, veuillez tenir compte des différences suivantes de position d'impression : Position d'impression de départ : ± 2mm, obliquité du papier : ± 1mm / 100mm, étirement de l'image : ± 1mm / 100mm (quand le poids de la rame de papier est de 70kg)
- L'imprimante ne peut pas imprimer sur de l'encre.
Utilisez un papier conforme aux conditions suivantes:
- Le pigment ou l'encre utilisé sur du papier couleur est résistant à la chaleur (230^).
- Papier ayant les mêmes caractéristiques avec un papier léger et utilisé pour une imprimante photo électronique.
Recommandations concernant le papier
Votre imprimante acceptera une diversité de supports d'impression, y compris une gamme de grammages et de formats de papier.
Cette section fournit des conseils généraux sur le besoin de supports et explique comment utiliser chaque type.
Vous obtiendrez une performance optimale en utilisant du papier standard 75-90 g/m² pour les photocopieurs et les imprimantes laser.
L'utilisation de papier très gaufré, ou de papier granuleux, très rugueux n'est pas recommandée.
Le papier préimprimé peut être utilisé mais l'encre ne doit pas causer de maculages lors de son exposition à la haute température de l'unité de fusion lors de l'impression.

Attention
- Les enveloppes ne doivent pas être tordues, enroulées ou avoir subi toutes autres déformations. Elles doivent comporter également des rabats rectangulaires dont la colle reste intacte lorsqu'elle est soumise à la fusion par pression du cylindre chaud qu'utilise ce type d'imprimante. Les enveloppes à fenêtre ne sont pas adaptées.
- Les étiquettes doivent être également adaptées aux photocopieurs et imprimantes laser, dans lesquelles la feuille de support des étiquettes est entièrement couverte d'étiquettes. Les autres types d'étiquettes risquent d'abimer l'imprimante, étant donné que les étiquettes se décolleraient durant l'impression.
Stockage du papier
Stockez le papier dans les conditions suivantes pour en préserver la qualité.
- À l'intérieur d'une armoire ou dans un autre endroit sec etombre
- Sur une surface plane
- Humidité: 50 % HR (humidité relative)
Ne le stockez pas dans les emplacements suivants.
- Directement sur le sol
- Exposé à la lumière directe du soleil
- Sur une surface inégale
- Dans un endroit où de l'électricité statique est susceptible d'être générée
- Dans des endroits excessivement chauds ou soumis à des variations rapides de température
- À proximité d'un photocopieur, d'un climatiseur, d'un chauffage ou d'un conduit
Remarque
- Ne déballez pas le papier tant que vous ne l'utilisez pas.
- Ne laissez pas le papier déballé pendant une période prolongée. Cela pourrait diminuer la qualité d'impression.
- Selon le support que vous utilisez, les conditions d'utilisation et de stockage, une diminution de la qualité du papier et/ou des ondulations du papier peuvent se produire.
Papier chargé dans le bac
L'imprimante dispose de deux bacs intégrés (bac 1 et bac multifonctions) et d'un bac supplémentaire (bac 2/3/4). Reportez-vous à la liste ci-dessous pour vérifier le papier pris en charge ainsi que la capacité de chaque bac.
Remarque
- L'impression recto-verso n'est pas réalisable sur le papier responsable un astérisque (^*).
| Bac | Format de papier pris en charge | Capacité en papier | Grammage du papier |
| Bac 1 | • A3 • A4 • A5 • A6 • B4 • B5 • B6 • Tabloïd • Letter • Légal 13" • Légal 13,5" • Légal 14" • Executive • Statement* • 8,5"SQ • Folio • 8K (260 x 368 mm) • 8K (270 x 390 mm) • 8K (273 x 394 mm) • 16K (184 x 260 mm) • 16K (195 x 270 mm) • 16K (197 x 273 mm) • Format personnelé | 300 feuilles (dans le cas de papier de 80 g/m2) | • Léger (64 à 82 g/m2) • Léger moyen (83 à 90 g/m2) • Moyen (91 à 105 g/m2) • Lourd (106 à 128 g/m2) • Très lourd1 (129 à 188 g/m2) • Très lourd2 (189 à 220 g/m2) |
| Bac 2/3/4 (en option) | • A3 • A4 • A5 • B4 • B5 • Tabloïd • Letter • Légal 13" • Légal 13,5" • Légal 14" • Executive • 8,5"SQ • Folio • 8K (260 x 368 mm) • 8K (270 x 390 mm) • 8K (273 x 394 mm) • 16K (184 x 260 mm) • 16K (195 x 270 mm) • 16K (197 x273 mm) • Format personnelé | 530 feuilles (dans le cas de papier de 80 g/m2) | • Léger (64 à 82 g/m2) • Léger moyen (83 à 90 g/m2) • Moyen (91 à 105 g/m2) • Lourd (106 à 128 g/m2) • Très lourd1 (129 à 200 g/m2) !Remarque • Le poids du papier chargé dans le bac supplémentaire est de 64 à 176 g/m2. • Le grammau du papier spécifique de ultra épais est indiqué de 129 à 188 g/m2, mais le grammae imprimable est au maximum de 176 g/m2. |
| Bac multif格式 | • A3 • A4 • A5 • A6* • B4 • B5 • B6 • B6 Half* • Tabloid • Letter • Légal 13" • Légal 13,5" • Légal 14" • Executive • Statement* • 8,5"SQ • Folio • 8K (260 x 368 mm) • 8K (270 x 390 mm) • 8K (273 x 394 mm) • 16K (184 x 260 mm) • 16K (195 x 270 mm) • 16K (197 x 273 mm) • Carte index* • Photo (4 x 6 pouces)* • Photo (5 x 7 pouces)* • Format personnelisé • C4* • C5* • DL* • Com-10* • Hagaki* • Oufuku Hagaki* | • 100 feuilles (dans le cas de papier de 80 g/m2) • 10 enveloppes | • Léger (64 à 82 g/m2) • Léger moyen (83 à 90 g/m2) • Moyen (91 à 105 g/m2) • Lourd (106 à 128 g/m2) • Très lourd1 (129 à 188 g/m2) • Très lourd2 (189 à 220 g/m2) • Très lourd3 (221 à 256 g/m2) |
Méthode d'impression depuis le bac
La procédure suivante explique la méthode de chargement du papier dans le bac 1 dans les bacs 2/3/4 (en option).
Memo
- Cette procédure explique la méthode de chargement du papier dans le bac 1. La même procédure s'applique aux bacs 2/3/4.
1 Tirez le bac à papier (1).

Réglez la numérotation du format de papier (2) afin de la faire correspondre au format du papier à charger.
Réglez la numérotation sur [A4] lors du chargement de papier au format A4 en orientation horizontale.

Faites glisser le guide papier (3) et la butée du papier (4) en fonction de la taille du papier à charger.

! Remarque
- Lors du chargement de papier au format A6, déplacez la butée du papier (4) vers l'avant et retirez-la, puis remettez-la en place sur la partie métallique.

4 Courbez le papier en avant et en arrière, puis aérez-le. Alignez les bords de la pile de papier sur une surface égale.

5 Chargez le papier, face à imprimer dirigée vers le bas, et appuyez-dessus.
Remarque
- Ne chargez pas de papier au-delà du repère [▼] (5) du guide papier.

Fixez bien le papier chargé à l'aide du guide papier. 7 Vérifiez si le format du papier chargé correspond au réglage de la numération du format de papier. 8 Remettez le bac à papier dans l'imprimante.
Mémo
- Si vous chargez du papier dont vous ne pouvez pas sélectionner le format à l'aide des options de numérotation du format de papier, réglez la numérotation sur [Autres], puis réglez un format de papier sur le panneau de commande. Ouvrez le fichier que vous souhaitez imprimer et imprimez-le.
Méthode d'impression depuis le bac multifonctions
Cette procédure explique la méthode de chargement du papier dans le bac multifonctions.
Remarque
- Ne chargez pas de papier de différents formats ou types en même temps. Lorsque vous ajoutez du papier, retirez le papier du bac multifonctions et redressez les bords des deux piles de papier, puis chargez-les à nouveau.
- Ne mettez rien d'autre que du papier d'impression dans le bac multifonctions.
1 Ouvrez le bac multifonction (1) en insérant les doigts dans le creux frontal (2).

2 Retirez le support du papier (3) en le tenant par la partie centrale.

Déployez le support secondaire (4).

4 Ouvrez le capot du papier (5).

5 Réglez le guide papier d'alimentation manuelle (6) en fonction de la largeur du papier à charger.

6 Insérez le papier, la face à imprimer dirigée vers le haut.
Remarque
- Ne chargez pas de papier au-delà du repère [▼] (7) du guide papier.

Lors du chargement vertical ou horizontal du papier
Com-10, DL, C5


Mémo
- Lors du chargement d'enveloppes dans le bac multifonctions, chargez-les la face dirigée vers le haut, selon l'orientation indiquée ci-dessous.
- Le format Com-10, DL et C5 est chargé avec le volet rabattu et celui-ci doit être dirigé vers le côté supérieur dans la direction de l'alimentation.
- Le format C4 est chargé avec le volet rabattu et celui-ci doit être dirigé vers la gauche dans la direction d'alimentation.
Remarque
- Il est possible que le papier soit bombé ou ondulé après l'impression. Utilisez un papier qui a été stocké dans des conditions de température et d'humidité appropriées. N'utilisez pas de papier ondulé à cause de l'humidité.
- N'imprimez pas sur le verso de papier sur lequel une autre imprimante a procédé à l'impression.
- Des ondulations sur une carte postale ou une enveloppe peuvent provoquer des problèmes d'absorption de l'encre. Utilisez du papier non ondulé. Rectifiez la position papier en 2 mm.
- L'impression sur une enveloppe dont le volet adhésif est courbé peut provoquer des problèmes d'absorption de l'encre.
Ouvrez le capot du papier (5).

Si vous imprimez toujours sur du papier de même format ou de même type depuis le bac multifonctions, enregistrez le papier depuis le panneau de commande. Si vous imprimez une seule fois, passez à l'étape 18.
Remarque
- Lorsque l'imprimante est en mode d'économie d'énergie, appuyez sur le bouton pour sortir du mode.
Assurez-vous que le message « Pré à imprimer » est affiché sur le panneau de commande. Si le message n'est pas affiché, appuyez sur le bouton <ON LINE (EN LIGNE)>.
Appuyez sur le bouton <Fn>

9 Saisissez « 90 » à l'aide du clavier numérique et appuyez sur le bouton.

10 Lorsque [Format de papier (Paper Size)] s'affiche, sélectionnez le format du papier chargé, puis appuyez sur le bouton.


Référence
- Si [Personnalisé] est sélectionné pour [Format de papier], vous devez enregistrer le format personnalisé. Pour la méthode d'enregistrement du format personnalisé, reportez-vous à « Impression en formats personnalisés » P.63.
11 Appuyez sur le bouton jusqu'à ce que [Configuration Bac MF (MPTray Config)] s'affiche.


12 Appuyez sur le bouton de défilament▼ pour sélectionner [Type de support (Media Type)], puis appuyez sur le bouton.


13 Appuyez sur le bouton ▼ pour sélectionner le type de papier chargé, puis sur le bouton.


14 Appuyez sur le bouton jusqu'à ce que [Configuration Bac MF (MPTray Config)] s'affiche.


15 Appuyez sur le bouton de défilament pour sélectionner [Grammage Papier (Media Weight)], puis appuyez sur le bouton.


16 Appuyez sur le bouton ∇ pour sélectionner le poids du papier charge, puis sur le bouton.

17 Appuyez sur le bouton pour quitter le mode menu.

18 Ouvrez le fichier que vous souhaitez imprimer, et imprimez-le en suivant la procédure ci-dessous.
Pour le pilote d'imprimante PCL windows
1 Dans le menu [Fichier], sélectionnez [Imprimer]. 2 Cliquez sur [Préférences]. 3 Dans l'onglet [Configuration], sélectionnez un format de papier dans [Format]. 4 Sélectionnez [Bac multifonction] dans [Source]. 5 Démarrez l'impression.
Pour le pilote d'imprimante PS windows
1 Dans le menu [Fichier], sélectionnez [Imprimer]. 2 Cliquez sur [Préférences]. 3 Sélectionnez l'onglet [Papier/qualité]. 4 Sélectionnez [Bac multifonction] dans [Source de papier]. 5 Cliquez sur [Avancé]. 6 Cliquez sur [Format de papier] et sélectionnez un format de papier dans la liste déroulante. 7 Cliquez sur [OK]. 8 Démarrez l'impression.
Pour le pilote d'imprimante PS mac OS x
1. Dans le menu [Fichier], sélectionnez [Imprimer]. 2. Sélectionnez un format de papier dans [Taille du papier]. 3. Sélectionnez [Alimentation Papier] dans le menu du volet. 4. Sélectionnez [Tout], puis [Bac multifonction]. 5. Démarrez l'impression.
Mémo
- Si les détails de configuration ne sont pas affichés dans la boîte de dialogue d'impression, cliquez sur [Afficher les détails] au bas de la boîte de dialogue.
Pour le pilote d'imprimante PCL mac OS x
1 Dans le menu [Fichier], sélectionnez [Imprimer]. 2 Sélectionnez un format de papier dans [Taille du papier]. 3 Sélectionnez [Configuration] dans le menu du volet.
4 Sélectionnez [Bac multifonction] dans [Source de papier]. 5 Démarrez l'impression.
Mémo
- Si les détails de configuration ne sont pas affichés dans la boîte de dialogue d'impression, cliquez sur [Afficher les détails] au bas de la boîte de dialogue.
-Impression en formats personnalisés
Pour charger un papier au format personnalisé, vous devez enregistrer la largeur et la longueur du papier avant l'impression. Les formats proposés varient en fonction du bac à papier.
| Bac | Formats proposés |
| Bac 1 | Largeur:105 à 297 mm (4,1 à 11,7 pouces)Longueur:148, 182 à 431 mm(5,8, 7,2 à 17,0 pouces) |
| Bac2/3/4 (enoption) | Largeur:148 à 297 mm (5,8 à 11,7 pouces)Longueur< :hs> :182 à 431 mm (7,2 à 17,0 pouces) |
| Bac MF | Largeur:64 à 297 mm (2,5 à 11,7 pouces)Longueur:90 à 1 321 mm (3,5 à 52 pouces) |
Remarque
- [Personnalisé] s'affiche uniquement lorsque [Format de papier] est configuré sur [Personnalisé].
- Les formats proposés pour l'impression recto-verso sont les mêmes que pour le bac 2/3/4.
Appuyez sur le bouton de déroulement ou sur le panneau de commande.

2 Appuyez plusieurs fois sur le bouton de déroulement ∇ pour sélectionner [Menus (Menus)], puis sur le bouton.

3 Vérifiez que [Configuration des bacs (Tray Configuration)] est sélectionné et appuyez sur le bouton.

4 Appuyez à plusieurs reprises sur le bouton pour sélectionner [Configuration du Bac (Tray Config)] du bac à papier dans lequel vous avez chargé du papier, puis appuyez sur le bouton.

5 Vérifiez que [Format de papier (Paper Size)] est sélectionné et appuyez sur le bouton.

6 Appuyez plusieurs fois sur le bouton de défilament▼ pour sélectionner [Personnalisé (Custom)], puis sur le bouton.

Appuyez sur le bouton.

Appuyez sur le bouton de défilament ∇ pour sélectionner [Dimension X (X Dimension)], puis appuyez sur le bouton.


9 Saisissez la valeur de la largeur du papier à l'aide du clavier numérique et appuyez sur le bouton.

10 Appuyez sur le bouton.

11 Appuyez sur le bouton de défilament ↓ pour sélectionner [Dimension Y (Y Dimension)], puis appuyez sur le bouton.

12 Saisissez la valeur de la longueur du papier à l'aide du clavier numérique et appuyez sur le bouton.

13 Appuyez sur le bouton pour quitter le mode menu.

14 Entrez une valeur personnalisée selon les procédures suivantes.
Pour le pilote d'imprimante PCL windows
1 Cliquez sur [Démarrer] et sélectionnez [Périphériques et imprimantes]. 2 Cliquez avec le bouton droit de la souris sur l'icône Notre imprimante et sélectionnez le type de pilote que vous souhaitez spécifique dans [Options d'impression]. 3 Dans l'onglet [Configuration], cliquez sur [Options d'alimentation du papier]. 4 Cliquez sur [Format personnalisé]. 5 Saisissez le nom et les dimensions.
a Saisissez un nom pour le nouveau format dans la zone [Nom]. b Saisissez ses dimensions dans les zones [Largeur] et [Longueur].
6 Cliquez sur [Ajouter] pour enregistrer le format de papier personnalisé dans la liste et cliquez sur [OK]. Vous pouvez utiliser jusqu'à 32 formats personnalisés. 7 Appuyez sur [OK] jusqu'à ce que la boîte de dialogue [Options d’impression] se ferme. 8 Ouvrez le fichier à imprimer. 9 Sélectionnez le format de papier enregistré et lancez l'impression dans la boîte de dialogue.
Pour le pilote d'imprimante PS windows
1 Cliquez sur [Démarrer] et sélectionnez [Périphériques et imprimantes]. 2 Cliquez avec le bouton droit de la souris sur l'icône Notre imprimante et sélectionnez le type de pilote que vous souhaitez spécifique dans [Options d'impression]. 3 Dans l'onglet [Mise en page], cliquez sur [Avancée].
4 Cliquez sur [Format de papier] et sélectionnez [Format de Page Personnelisé PostScript] dans la liste déroulante. 5 Saisissez ses dimensions dans les zones [Largeur] et [Hauteur], et cliquez sur [OK]. Remarque
- [Décalages Relatifs à la Direction d'Alimentation du Papier] n'est pas disponible.
6 Appuyez sur [OK] jusqu'à ce que la boîte de dialogue [Options d’immission] se ferme. 7 Ouvrez le fichier à imprimer depuis l’application. 8 Sélectionnez [Format de Page Personnelisé PostScript] pour un format de papier et lancez l’impression dans le pilote d’imprimante.
Remarque
- Dans le pilote d'imprimante pour Mac OS X, il est possible de configurer la plage disponible des formats de papier de sortie, mais l'image ne s'imprime pas correctement. Configurez le format de papier dans la plage disponible.
1 Ouvrez le fichier à imprimer. 2 Dans le menu [Fichier], sélectionnez [Imprimer]. 3 Sélectionnez [Gérer les Formats personnalisés] dans [Format de papier]. 4 Cliquez sur [+]$ pour ajouter un élément à la liste des formats de papier personnalisés. 5 Double-cliquez sur [Sans titre] et saisissez un nom pour le format de papier personnalisé. 6 Saisissez les dimensions dans les zones [Largeur] et [Hauteur]. 7 Cliquez sur [OK]. 8 Configurez les autres paramètres si nécessaire, puis relancez l'impression. © Mémo
- Si les détails de configuration ne sont pas affichés dans la boîte de dialogue d'impression, cliquez sur [Afficher les détails] au bas de la boîte de dialogue.
Ouvrez le fichier que vous souhaitez imprimer, et imprimez-le selon les procédures suivantes.
Pour le pilote d'imprimante PCL windows
1 Dans le menu [Fichier], sélectionnez [Imprimer]. 2 Cliquez sur [Préférences] ou [Properties]. 3 Dans l'onglet [Configuration], sélectionnez un format de papier dans [Format]. 4 Sélectionnez [Bac multifonction] dans [Source]. 5 Démarrez l'impression.
Pour le pilote d'imprimante PS windows
1 Dans le menu [Fichier], sélectionnez [Imprimer]. 2 Cliquez sur [Préférences] ou [Properties]. 3 Sélectionnez l'onglet [Papier/qualité]. 4 Sélectionnez [Bac multifonction] dans [Source de papier]. 5 Cliquez sur [Avancé]. 6 Cliquez sur [Format de papier] et sélectionnez un format de papier dans la liste déroulante. 7 Cliquez sur [OK]. 8 Démarrez l'impression.
Pour le pilote d'imprimante PS mac OS x
1 Dans le menu [Fichier], sélectionnez [Format d'impression]. 2 Sélectionnez un format de papier dans [Format de papier], puis cliquez sur [OK]. 3 Dans le menu [Fichier], sélectionnez [Imprimer]. 4 Sélectionnez [Alimentation Papier] dans le menu du volet. 5 Sélectionnez [Tout], puis [Bac multifonction]. 6 Démarrez l'impression.
Pour le pilote d'imprimante PCL mac OS x
1 Dans le menu [Fichier], sélectionnez [Format d'impression]. 2 Sélectionnez un format de papier dans [Taille du papier], puis cliquez sur [OK]. 3 Dans le menu [Fichier], sélectionnez [Imprimer]. 4 Sélectionnez [Configuration] dans le menu du volet. 5 Sélectionnez [Bac multifonction] dans [Source de papier]. 6 Démarrez l'impression.
Sortie du papier
Votre imprimante sort les imprimés par le bac de sortie ou le bac de sortie arrière. Les types de papiers qui peuvent être sortie dans chacun des bacs sont les suivants.
| Bac de sortie | Types de papiers pris en charge | Capacité de sortie du papier |
| Bac de sortie | • Papier ordinaire • Papier recyclé | • 200 feuilles (dans le cas de papier de poids inférieur à 80 g/m2) |
| Bac de sortie arrêtè | • Papier ordinaire • Papier recyclé • Enveloppe • Carte index • Étiquette | • 100 feuilles (dans le cas de papier de poids inférieur à 80 g/m2) • 10 feuilles (papier extra lourd et enveloppes) |
Remarque
- N'ouvrez ni ne fermez le bac de sortie pendant l'impression, ce qui entraînerait un bourrage de papier.
Utilisation du bac de sortie
Le papier est sorti face imprimée vers le bas, empilé dans l'ordre d'impression.
Remarque
- Vérifiez que le bac de sortie arrêté (1) sur le côté arrêté de la machine est fermé. Si le bac de sortie arrêté est ouvert, le papier sortait parfois par le bac de sortie arrêté.

Mémo
- Ouvrez le support de papier (2) afin que les feuilles imprimées ne tombent pas du bac de sortie.

Utilisation du bac de sortie arrêté
Le papier est sorti face imprimée vers le haut, empilé dans l'ordre inverse d'impression.
1 Tirez le bac de sortie arrêté (1) situé à l'arrière de l'imprimante et ouvrez-le.

2 Dépliez le support à papier (2).

3 Ouvrez le support secondaire (3).

Fonctions d'impression pratiques
Les fonctions d'impression pratiques suivantes sont disponibles. Pour plus de détails, reportez-vous au mode d'emploi (avancé).
Impression sur des cartes postales, des cartes postales-réponses ou des enveloppes Impression sur des étiquettes Impression sur du papier de format personnalisé
Vous pouvez enregistrer des formats de papier personnalisés dans le pilote d'imprimante afin de pouvoir imprimer sur du papier non standard tel que des bannières.
- Impression sur du papier de format personnalisé

Modification de la mise en page
Vous pouvez modifier la mise en page pour des impressions multiples, des impressions de brochures, de posters, etc.
- Impression multiple
| 1 | 2 |
| 3 | 4 |
- Impression de brochures

- Impression de posters

■ Impression recto verso
Vous pouvez imprimer sur les deux faces d'une feuille de papier.
- Impression recto-verso

Mise à l'échelle des pages
Vous pouvez imprimer des données formées pour un format de page sur une page de format différent sans modifier les données d'impression.
■ Impression de données couleur en monochrome ■ Modification de la qualité d'impression (résolution)
Vous pouvez modifier la qualité d'impression pour l'adapter à vos besoins.
Économie de toner
Vous pouvez économiser du toner en réduisant la densité d'impression. Vous pouvez configurer l'économie de toner selon 3 niveaux.
Lors de l'impression 100% noir, vous pouvez également sélectionner le réglage sans économie de toner. Il est possible d'économiser une certaine quantité de toner sans affecter la lisibilité des petits caractères.
Économie de toner

Mémo
- Il existe de nombreuses fonctions d'impression pratiques autres que celles décrites ci-dessus. Reportez-vous au mode d'emploi (avancé).
Annulation de l'impression
Appuyez sur le bouton du panneau de commande pour annuler les travaux d'impression en cours d'impression ou en préparation.



Lorsque vous appuyez sur le bouton, le message suivant s'affiche.


Pour annuler l'impression, sélectionnez [Oui (Yes)], puis appuyez sur le bouton.
Pour réaliser l'impression, sélectionnez [Non (No)] et appuyez sur le bouton.
Si l'imprimante n'est pas utilisée pendant 3 minutes environ alors que ce message est affiché, celui-ci s'efface et l'impression démarre.
Remarque
Lorsque l'imprimante est en mode d'économie d'énergie, appuyez sur le bouton pour sortir du mode. - Vérifiez si le message « Prêt à imprimer » est affiché. Si le message n'est pas affiché, appuyez sur le bouton.
Appuyez sur le bouton Fn du panneau de commande.

2 Saisissez « 200 » à l'aide du clavier numérique et appuyez sur le bouton.

3 Appuyez sur le bouton de défilament ou ▲ pour spécifier la durée, puis appuyez sur le touche.


Appuyez sur le bouton.



Mémo
- Vous pouvez sélectionner la durée avant économique d'énergie parmi les options suivantes:
- [1 minutes]
- [2 minutes]
- [3 minutes]
- [4 minutes]
- [5 minutes]
- [10 minutes]
- [15 minutes]
- [30 minutes]
- [60 minutes]
- Jusqu'à 30 minutes pour C813/C823.
Remarque
Lorsque l'imprimante est en mode d'économie d'énergie, appuyez sur le bouton pour sortir du mode. - Vérifiez si le message « Prêt à imprimer » est affiché. Si le message n'est pas affiché, appuyez sur le bouton.
Appuyez sur le bouton Fn du panneau de commande.

2 Saisissez « 201 » à l'aide du clavier numérique et appuyez sur le bouton.

3 Appuyez sur le bouton de défilament ou ▲ pour spécifier la durée, puis appuyez sur la touche.


Appuyez sur le bouton.



Mémo
- Vous pouvez sélectionner la durée avant la mise en veille parmi les options suivantes:
- [1 minutes]
- [2 minutes]
- [3 minutes]
- [4 minutes]
- [5 minutes]
- [10 minutes]
- [15 minutes]
- [30 minutes]
- [60 minutes]
- Jusqu'à 30 minutes pour C813/C823.
Contraintes en mode veille profonde
Cette section décrit les contraintes en mode veille profonde.
Il est possible que l'imprimante n'entre pas en mode veille profonde si une erreur survient.
Contraintes relatives à l'utilitaire du pilote d'imprimante
Lorsque l'imprimante entre en mode veille profonde, les contraintes suivantes s'appliquent au pilote d'imprimante et aux fonctions utilisables.
Lorsque l'imprimante entre en mode veille profonde, appuyez sur le bouton du panneau de commande et vérifiez que le message « Prêt à imprimer ».
Si le message « Prêt à imprimer » s'affiche, les contraintes suivantes ne s'appliquent pas.
| Système d'exploitation | Nome du logiciel | Contraintes en mode veille profonde | Méthode de résolution sans appuyer sur le bouton <POWER SAVE (ÉCONOMIE D'ENERGIE)> |
| Windows | Programme d'installation du pilote | S'il existe une connexion au réseau, vous ne pouvez pas récapierer automatiquement les informations optionnelles de l'imprimante lors de l'installation d'un pilote. | - |
Contraintes relatives aux fonctions du réseau
En mode veille profonde, les contraintes suivantes s'appliquent aux fonctions du réseau.
N'entre pas en mode veille profonde
Dans les cas suivants, l'imprimante n'entre pas en mode veille profonde.
- IPSec est désactivé
- Une connexion TCP est établie
Une connexion est établie avec Telnet ou un FTP.
Lorsque le temps de transition pour se mettre en mode Veille ou en mode Veille profonde depuis le mode Economie d’énergie s’écoule et la connexion est désactivée, la machine se met en mode Veille.
- La réception du courriel est activée. Le réseau local sans fil est activé.
- Google Cloud Print est activé
- LLTD est activé
- L'état du lien du CONCENTRATEUR est 1000BASE-T
- L'adresse globale IPv6 est attribuée
Impossible d'imprimer
En mode veille profonde, vous ne pouvez pas imprimer avec les protocoles suivants.
- NBT
Impossible de rechercher/ impossible de spécifier les paramètres
En mode veille profonde, vous ne pouvez pas procéder à une recherche ni spécifier des paramètres avec les fonctions ou les protocoles suivants.
- NBT PnP-X UPnP MIB
- Vous pouvez réaliser un référencement via des MIB pris en charge en mode veille profonde (commande Get).
Les protocoles avec les fonctions client ne fonctionnent pas
En mode veille profonde, les protocoles suivants avec les fonctions client ne fonctionnent pas.
- Alertes par courrier électronique*1
- SNMP Trap WINS*2
- SNTP*3
1 La durée écoulée en mode veille profonde n'est pas incluse dans l'intervalle pour la notification périodique d'alerte par courrier électronique. 2 La durée écoulée en mode veille profonde n'est pas incluse dans les intervalles entre les mises à jour WINS. Les mises à jour WINS régulières ne sont pas effectuées en mode veille profonde, de sorte que les noms enregistrés sur le serveur peuvent être supprimés. *3 La durée écoulée en mode veille profonde n'est pas incluse dans l'intervalle entre les mises à jour pour les serveurs NTP.
Remarque
- Dans les paramètres d'usine, l'imprimante n'entre pas en mode de mise hors tension automatique lorsqu'elle est connectée au réseau.
Configuration du mode arrêt automatique
Pour activer le mode de mise hors tension automatique lorsque l'imprimante est connectée au réseau, conformez-vous à la procédure suivante.
Appuyez sur le bouton de déroulement ou sur le panneau de commande.

2 Appuyez plusieurs fois sur le bouton de défilament pour sélectionner [Configuration admin. (Admin Setup)], puis sur le bouton.

3 Saisissez le mot de passe administrateur à l'aide des touches numériques (0 à 9). Le mot de passe d'usine est « 999999 ». Appuyez sur le bouton à chaque fois que vous saisissez un caractère.

Appuyez sur le bouton.

Appuyez plusieurs fois sur le bouton de défilament pour sélectionner [Réglage alimentation (Power Setup)], puis sur le bouton.

6 Mise hors tension autom. (Auto Power Off)], puis sur le bouton.

7 Appuyez sur le bouton de défilament ou ▲ pour sélectionner [Activer (Enable)], et appuyez sur le bouton.

8 Appuyez sur le bouton pour quitter le mode menu.



Remarque
- Lorsque l'imprimante est en mode d'économie d'énergie, appuyez sur le bouton pour sortir du mode.
- Vérifiez si le message « Pré à imprimer » est affiché. Si le message n'est pas affiché, appuyez sur le bouton <ON LINE (EN LIGNE)>.
1 Appuyez sur le bouton <Fn> du panneau de commande.

2 Saisissez « 202 » à l'aide du clavier numérique et appuyez sur le bouton.

3 Appuyez sur le bouton de défilament ou ▲ pour spécifier la durée, puis appuyez sur le touche.


Appuyez sur le bouton.



Mémo
- Vous pouvez selectionner la durée avant la mise hors tension automatique parmi les options suivantes:
- [1 heures]
- [2 heures]
- [3 heures]
- [4 heures]
- [8 heures]
- [12 heures]
- [18 heures]
- [24 heures]
- Configuration de l'avertisseur sonore
Vous pouvez régler le volume du ronfleur en cas de bourrage papier.
Appuyez sur le bouton de déroulement ou sur le panneau de commande.

2 Appuyez plusieurs fois sur le bouton de déroulement pour sélectionner [Configuration admin. (Admin Setup)], puis sur le bouton.

3 Saisissez le mot de passe administrateur à l'aide des touches numériques (0 à 9). Le mot de passe d'usine est « 999999 ». Appuyez sur le bouton à chaque fois que vous saisissez un caractère.

Appuyez sur le bouton.

5 Appuyez plusieurs fois sur le bouton de défilament ∇ pour sélectionner [Configuration sonore (Buzzer Setup)], puis sur le bouton.

6 Appuyez à plusieurs reprises sur le bouton ↓ pour sélectionner [Volume de la sonnerie d'erreur de bourrage papier (Paper Jam Error Buzzer Volume)], puis appuyez sur le bouton.

7 Appuyez à plusieurs reprises sur le bouton ↓ pour sélectionner le niveau sonore, puis appuyez sur le bouton.

Appuyez sur le bouton pour quitter le mode menu.

3. Résolution des problèmes
Ce chapitre offre des solutions aux problèmes que vous pourriez rencontrer lors de l'utilisation de l'imprimante.
Mémo
Signification des symboles dans les messages d'erreur:
- « %COLOR% » signifie Cyan (C), Magenta (M), Jaune (Y) ou Noir (K)
- « %TRAY% » représente bac 1, bac 2, bac 3, bac 4 ou le bac multifonctions
- « %COVER% » représenté un capot avant ou le bac de sortie.
- « %CODE% » représente un numéro de code affiché sous une forme de 1 à 3 chiffres. Le numéro de code change en fonction de l'erreur.
- « %MEDIA_SIZE% » représenté le format du papier
- « %MEDIA_TYPE% » représente le type de papier
- Si le message « Voir l'AIDE pour les détails » s'affiche à l'écran, vous pouvez consulter un code d'erreur et la corriger en appuyant sur le bouton sur le panneau de commande.
Lorsqu'un message d'erreur s'affiche sur l'écran (lorsque le témoin attention s'allume/clignote)
Lorsqu'un problème d'imprimante survient, un message d'erreur s'affiche à l'écran et le témoin du panneau de commande s'allume ou clignote. Consultez le message d'erreur et résolvez le problème conformément à la procédure appropriée.
Si « Voir l'AIDE pour les détails » s'affiche à l'écran, appuyez sur le bouton pour afficher une solution.

Écran affiché après avoir appuyé sur le bouton

Lorsque des bourrages papier surviennent/lorsqu'un message d'erreur ne s'efface pas, même après la suppression d'un bourrage papier
Lorsque du papier est coincé à l'intérieur de l'imprimante ou lorsqu'un message d'erreur ne s'efface pas, même après la suppression du bourrage papier, un message d'erreur s'affiche à l'écran.
Appuyez sur le bouton pour afficher une solution. Retirez le papier coincé conformément à la solution affichée ou à la procédure appropriée décrite dans la liste suivante.

Écran affiché après avoir appuyé sur le bouton
Faites défiler l'affichage vers le bas
| État | Message à l'écran | Message affché après avoir appuyé sur le bouton <HELP(AIDE)> | Page de référence | |
| Code d'erreur | ||||
| Bourrages papier | 1ère ligne2e ligne3e ligne | Ouvrir cassetteBourrage papier%TRAY% | 391, 392, 393, 394 | page 87 |
| 1ère ligne2e ligne3e ligne | Ouvrir capotBourrage papierCapot avant | 372 | page 80 | |
| 1ère ligne2e ligne3e ligne | Ouvrir capotBourage papierCapot avant | 380 | page 81 | |
| 1ère ligne2e ligne3e ligne | Ouvrir capotBourage papierCapot avant | 390 | page 86 | |
| 1ère ligne2e ligne3e ligne | Ouvrir capotBourage papierBac de sortie | 381, 385 | page 82 | |
| Bourrages papier | 1ère ligne2e ligne3e ligne | Ouvrir capotBourrage papierBac de sortie | 382, 383 | page 83 |
| 1ère ligne2e ligne | Vérifier Recto-VersoBourrage papier | 370, 371, 373 | page 79 | |
| 1ère ligne2e ligne3e ligne | Vérifier papierErreur format papier%TRAY% | 400 | page 81 | |
| 1ère ligne2e ligne3e ligne | Vérifier papierDéparts multiple du papier%TRAY% | 401 | page 81 | |
| En cas de bourrage, le support imprimé restedans l'appareil. | 1ère ligne2e ligne3e ligne | Ouvrir cassettePapier restant%TRAY% | 631, 632, 633, 634 | page 87 |
| 1ère ligne2e ligne3e ligne | Ouvrir capotPapier restantCapot avant | 637 | page 86 | |
| 1ère ligne2e ligne3e ligne | Ouvrir capotPapier restantBac de sortie | 638 | page 82 | |
| 1ère ligne2e ligne3e ligne | Ouvrir capotPapier restantBac de sortie | 639, 640 | page 83 | |
| 1ère ligne2e ligne | Vérifier Recto-VersoPapier restant | 641, 642 | page 79 | |
Code d'erreur 370, 371, 373 641, 642
Un bourrage papier s'est produit aux environs de l'unité recto-verse.
1 Retirez l'unité recto-verse (1) en tirant obliquement vers le haut tout en tenant le creux central situé à l'arrière de l'imprimante.

2 Repérez le papier coince à l'intérieur de l'imprimante. S'il reste du papier coince, retirez-le.

3 Repérez le papier coincé à l'intérieur de l'unité recto-verse. S'il reste du papier coincé, tirez-le doucement.

4 Ouvrez le capot supérieur de l'unité recto-verse (2) et vérifiez la présence de papier coincé. S'il reste du papier coincé, tirez-le doucement et refermez le capot.

5 Remettez l'unité recto-verse (1) dans l'imprimante.

La tâche est terminée.
Code d'erreur 372
Un bourrage papier s'est produit au niveau du capot avant.
1 Introduisez le doigt dans le creux situé du côté droit de l'imprimante et tirez le levier d'ouverture du capot avant (1) pour ouvrir le capot avant (2) vers l'avant.

2 Retirez doucement le papier coincié dans la direction indiquée par la flèche si vous pouvez voir le bord du papier coincié, puis passez à l'étape 8. Si vous ne trouvez pas le papier coincié, passez à l'étape 3.

3 Retirez l'unité recto-verso (3) en tirant obliquement vers le haut tout en tenant le creux central situé à l'arrière de l'imprimante.

4 Repérez le papier coincé à l'intérieur de l'imprimante. S'il reste du papier coincé, retirez-le.

5 Repérez le papier à l'intérieur de l'unité recto-verse. S'il reste du papier coincé, tirez-le doucement.

6 Ouvrez le capot supérieur de l'unité recto-verse (4) et vérifiez la présence de papier coincé. S'il reste du papier coincé, tirez-le doucement et refermez le capot.

7 Remettez l'unité recto-verse (3) dans l'imprimante.

8 Fermez le capot avant (2).

Code d'erreur 380, 400, 401, 637
Un bourrage papier s'est produit au niveau du capot avant.
Introduisez le doigt dans le creux situé du côté droit de l'imprimante et tirez le levier d'ouverture du capot avant (1) pour ouvrir le capot avant (2) vers l'avant.

2 Si vous pouvez voir le bord du papier coincé, retirez-le doucement dans la direction indiquée par la flèche.

Fermez le capot avant (2).

La tâche est terminée.
Code d'erreur 381, 385, 638
Un bourrage papier s'est produit sous un tambour.
1 Introduisez le doigt dans le creux situé du côté droit de l'imprimante et tirez le levier d'ouverture du capot avant (1) pour ouvrir le capot avant (2) vers l'avant.

Appuyez sur le bouton d'ouverture du bac de sortie (3) et ouvrez le bac de sortie (4).

Risque de brûlure.

- L'unité de fusion est extrêmement chaude. Ne la touchez pas.

3 Retirez les quatre tambours et posez-les sur une surface plane.

Recouvrez les tambours retirés à l'aide de papier afin de ne pas les exposer à la lumière.

5 Si vous pouvez voir le bord du papier coincé, tirez-le vers l'arrière de l'imprimante (dans la direction de la flèche).

Si vous pouvez voir le bord du papier coincé, tirez-le doucement tout en soulevant le levier de libération (5) de l'unité de fusion.
Si le bord du papier demeure encore à l'intérieur de l'unité, tirez doucement sur le papier à l'arrière de l'imprimante.

Remarque
- En cas d'erreur 385, sortez l'unité de fusion et retirez entièrement le papier.
6 Remettez soigneusement les quatre tambours dans l'imprimante.

7 Fermez le bac de sortie (4) en poussant fermement les deux côtés du couvercle.

8 Fermez le capot avant (2).
Remarque
- Le capot avant ne peut pas être fermé à fond si le bac de sortie n'est pas bien fermé.

La tâche est terminée.
Codes d'erreur 382, 383, 639, 640
- Un bourrage papier s'est produit aux environs de l'unité de fusion.
1 Introduisez le doigt dans le creux situé du côté droit de l'imprimante et tirez le levier d'ouverture du capot avant (1) pour ouvrir le capot avant (2) vers l'avant.

Appuyez sur le bouton d'ouverture du bac de sortie (3) et ouvrez le bac de sortie (4).

Risque de brûlure.

- L'unité de fusion est extrêmement chaude. Ne la touchez pas.

3 Retirez les quatre tambours et posez-les sur une surface plane.

Recouvrez les tambours retirés à l'aide de papier afin de ne pas les exposer à la lumière.

5 Retirez le papier coincide qui reste à l'intérieur de l'unité.

6 Soulevez vers l'avant le levier de verrouillage de gauche (5) de l'unité de fusion.

7 Tenez la poignée de l'unité de fusion (6) et soulevez l'unité de fusion hors de l'imprimante.

8 Soulevez les leviers de libération (7) de l'unité de fusion et tirez doucement vers l'avant le papier coincé.

9 Tenez la poignée de l'unité de fusion (6) et placez l'unité de fusion dans l'imprimante.

10 Poussez vers l'arrière le levier de verrouillage de gauche (5) de l'unité de fusion.

11 Remettez soigneusement les quatre tambours dans l'imprimante.

12 Fermez le bac de sortie (4) en poussant fermement les deux côtés du couvercle.

13 Fermez le capot avant (2).
Remarque
- Le capot avant ne peut pas être fermé à fond si le bac de sortie n'est pas fermé.

La tâche est terminée.
Code d'erreur 390, 637
Un bourrage papier s'est produit lors de l'alimentation en papier depuis l'un des bacs à papier.
1 S'il y a du papier dans le bac multifonctions, soulevez le capot du papier (1) et sortez-le.

2 Introduisez le doigt dans le creux situé du côté droit de l'imprimante et tirez le levier d'ouverture du capot avant (2) pour ouvrir le capot avant (3) vers l'avant.

Retirez doucement le papier coincé en tirant sur le bord.

Retirez doucement le papier par l'arrière si vous ne pouvez pas en voir le bord.

Fermez le capot avant (3).

5 Si vous chargez du papier dans le bac multifonctions, soulevez le capot du papier (1) et placez le papier avec la face à imprimer dirigée vers le haut.

6 Abaissez le couvercle du papier (1).

La tâche est terminée.
Codes d'erreur 391, 392, 393, 394, 631, 632, 633, 634
Un bourrage papier s'est produit lors de l'alimentation en papier depuis un des bacs à papier.
Remarque
- Si des bourrages papier se produisent fréquemment, nettoyez les rouleaux d'alimentation papier. Pour plus de détails, reportez-vous à « Nettoyage des rouleaux d'alimentation en papier » P.126.
Cette procédure utilise le bac 1 à titre d'exemple.
Tirez doucement le bac (1) de l'imprimante pour lequel une erreur est survenue.

3 Remettez le bac (1) dans l'imprimante.

4 Introduisez le doigt dans le creux situé du côté droit de l'imprimante et tirez le levier d'ouverture du capot avant (2) pour ouvrir le capot avant (3) vers l'avant.


Mémo
- Ouvrez et fermez le capot avant après avoir retiré le papier coincé, sinon l'indication d'erreur ne s'effacera pas.
Lorsqu'un message de remplacement des consommables ou de maintenance de l'appareil s'affiche
Lorsqu'il est temps de remplacer les consommables ou de procéder à la maintenance de l'appareil et qu'un remplacement est nécessaire, le message «... faible », «... proche de fin de vie », «... vide », « Durée... », « Installer... », « Remplacer... », « Changer... » s'affiche à l'écran et le témoin du panneau de commande s'allume ou clignote.
Consultez le message, remplacez les consommables et procédez à la maintenance de l'appareil.

Écran affiché après avoir appuyé sur le bouton

Faites défiler l'affichage vers le bas

- « xxx » décrit dans la liste ci-dessous change en fonction de l'état de l'imprimante.
| État | Message à l'écran | Message affché depuis avoir appuyé sur le bouton <HELP (AIDE)> | Page de référence ou solution | |
| Code d'erreur | ||||
| Cartouche de toner | 1ère ligne2e ligne | xxxCommanderToner %COLOR% | - | Préparez une nouvelle cartouche de toner et remplacez l'ancienne par une neue après l'affichage du message de remplacement des consommables ou de maintenance de l'unité. |
| 1ère ligne2e ligne | xxxToner %COLOR% vide | - | page 113 | |
| 1ère ligne2e ligne | Installer toner%COLOR% | 410, 411, 412 | page 115 | |
| 413 | page 113 (Toner noir) | |||
| Tambour | 1ère ligne2e ligne | xxxCommander tambour %COLOR% | - | Préparez un nouveau tambour et remplacez l'ancien par un neuf après l'affichage du message de remplacement des consommables ou de maintenance de l'unité. |
| 1ère ligne2e ligne | xxxFin de vie tambour%COLOR% | - | page 117 | |
| 1ère ligne2e ligne | xxxDurée de vie tambour%COLOR%, %nnn% pge(s) rest. | - | page 117Le nombre de pages que vous pouvez imprimer s'affiche sous la forme « nnn » . | |
| 1ère ligne2e ligne3e ligne | Installer tambour neufFin de vie tambour%COLOR% | 350, 351, 352, 353 | page 117S'il reste du toner, vous pouvez poursuivre l'impression en ouvrant et en fermant le capot avant. Cependant, remplacezrapidement le tambour. Sinon, cela pourrait provoquer une diminution de la qualité d'impression. | |
| 1ère ligne2e ligne3e ligne | Installer tambour neufFin de vie tambour%COLOR% | 560, 561, 562, 563 | page 117 | |
| 1ère ligne2e ligne3e ligne4e ligne | Installer tambour neufFin de vie tambour%COLOR%Pr prolonger durée de vie, app. sur le bouton ONLINE | 564, 565, 566, 567 | page 117 | |
| 1ère ligne2e ligne3e ligne | Installer tambour neufImpress. désact. car faible seuil durée vie tambour.%COLOR% | 680, 681, 682, 683 | page 117 | |
| Unité de fusion | 1ère ligne2e ligne | xxxCommander four | - | Préparez une nouvelle unité de fusion et remplacez l'ancienne par une neue après l'affichage du message de remplacement des consommables ou de maintenance de l'unité. |
| 1ère ligne2e ligne | xxxChanger four | - | page 123 | |
| 1ère ligne2e ligne | Installer nouveau fourFin de vie four | 354 | page 123Vous pouvez continuer à imprimer en ouvrant ou en fermant le capot avant pendant un moment. Cependant, remplacezrapidement le four. Sinon, cela pourrait provoquer une erreur d'imprimante ou un bourrage papier. | |
| Courroie | 1ère ligne2e ligne | xxxCommander courroie | - | Préparez une courroie et remplacez l'ancienne par une neue après l'affichage du message de remplacement des consommables ou de maintenance de l'unité. |
| 1ère ligne2e ligne | xxxChanger courroie | - | page 121 | |
| 1ère ligne2e ligne | Installer nouvelle courroiedurée courroie | 355 | page 121Vous pouvez continuer à imprimer en ouvrant ou en fermant le capot avant pendant un moment. Cependant, remplacezrapidement la courroie. Sinon, cela pourrait provoquer une erreur d'imprimante. | |
Lorsqu'un message de remplacement de papier ou d'erreur de format de papier s'affiche
Lorsque le type de support ou le format de support charge dans un bac ne correspond pas aux paramètres spécifiques dans le pilote d'imprimante, le message « Changer papier... » ou « Vérifier papier... » s'affiche sur l'écran et le témoin clignote.
Consultez le message et résolvez le problème. Vérifiez le format du papier et les paramètres, reportez-vous à « Méthode d'impression depuis le bac » P.57 ou « Méthode d'impression depuis le bac multifonctions » P.59.

Écran affiché après avoir appuyé sur le bouton
Faites défiler l'affichage vers le bas
| État | Message à l'écran | Message affché après avoir appuyé sur le bouton<HELP (AIDE)> | |
| Code d'erreur | |||
| Changez le papier | 1ère ligne2e ligne3e ligne4e ligne | Changer papier dans %TRAY%%MEDIA_SIZE%%MEDIA_TYPE%Appuyer sur ONLINE | 661, 662, 663, 664 |
| 1ère ligne2e ligne3e ligne4e ligne | Changer papier dans bac MF%MEDIA_SIZE%%MEDIA_TYPE%Appuyer sur ONLINE | 660 | |
| Le format du papier ne correspond pas auxdonnées d'impression. | 1ère ligne2e ligne3e ligne4e ligne | Changer papier dans %TRAY%%MEDIA_SIZE%%MEDIA_TYPE%Appuyer sur ONLINE | 461, 462, 463, 464 |
| 1ère ligne2e ligne3e ligne4e ligne | Changer papier dans bac MF%MEDIA_SIZE%%MEDIA_TYPE%Appuyer sur ONLINE | 460 | |
Autres messages d'erreur
Cette section explique les causes et les remèdes aux messages d'erreur et la fonction du témoin. Un message d'erreur s'affiche sur l'écran du panneau de commande.
Pour afficher le code d'erreur, appuyez sur le bouton du panneau de commande.
Messages d'erreur
| Code d'erreur | Message | Témoin <ATTENTION> | Cause/solution |
| 420 | Appuyer sur ONLINE pour reprise | Clignote | La mémoire est saturaée. Réduire la quantité de données. Si cela ne fonctionne pas, réduisez la taille des données d'impression. |
| 310 | %COVER% Ouvert. | Clignote | Le capot est ouvert. Refermez-le. |
| 311 | Voir AIDE pour détails | 310: Bac de sortie | |
| 311: Capot avant | |||
| 320 | Vérifier four | Clignote | L'unité de fusion est mal installée. |
| 348 | Voir AIDE pour détails | Installes correctement l'unité de fusion dans l'imprimante. | |
| Vérification Données Erreur d'écriture des données %> | S'allume | L'écriture des données de message à charger sur l'imprimante a échoué. | |
| 610 | Toner non installé | Clignote | La cartouche de toner de la couleur indiquée n'est pas installée correctement. Installes correctement la cartouche toner. |
| 611 | %COLOR% | 610: Jaune (J) | |
| 612 | Voir AIDE pour détails | 611: Magenta (M) | |
| 613 | 612: Cyan (C) | ||
| 613: Noir (N) | |||
| 544 | Vérifier cartouche toner | Clignote | La cartouche de toner de la couleur indiquée n'est pas verrouillée correctement. |
| 545 | Position levier incorrecte | Tournez le levier bleu situé sur le côté droit de la cartouche jusqu'à ce qu'il se bloque. | |
| 546 | %COLOR% | 544: Jaune (J) | |
| 547 | Voir AIDE pour détails | 545: Magenta (M) | |
| 546: Cyan (C) | |||
| 547: Noir (N) | |||
| 540 | Erreur capteur toner | Clignote | Il y a un problème au niveau du capteur de toner de la couleur indiquée ou le tambour n'est pas correctement installé. |
| 541 | %COLOR% | Installes correctement la cartouche de toner ou le tambour de la couleur indiquée. | |
| 542 | Voir AIDE pour détails | 540: Jaune (J) | |
| 541: Magenta (M) | |||
| 543 | 542: Cyan (C) | ||
| 543: Noir (N) | |||
| 430 431 432 433 440 441 442 | Installer la cassette papier %TRAY% Voir AIDE pour détails | Clignote | La cassette papier n'est pas dans le bac indiqué. Insérez la cassette papier du bac indiqué. Si la cassette papier est déjà insérée dans l'imprimante, retirez-la et replacez-la pour la positionner correctement. 430, 440: Bac1 431, 441: Bac2 432, 442: Bac3 433: Bac4 |
| 356 | Installer nouvelle couroie Durée couroie Voir AIDE pour détails | Clignote | La couroie est en fin de vie. Remplacez-la par une nouvelle couroie. |
| Système de fichiers saturaé | S'allume | Le système de fichiers est saturaé. | |
| Sys. de fichiers protégé en écrit. | S'allume | Le système de fichiers dans lequel vous essayez d'écrire est protégé en écriture. | |
| 330 | Vérifier couroie Voir AIDE pour détails | Clignote | La couroie est mal installée. Réinstallé-la correctement. |
| Suppression des donnéesées | S'allume | Les données d'impression des travaux privés sont supprimées. | |
| Restriction sur l'impression. Travail rejeté Appuyer sur ONLINE | S/allume | Un travail d'impression envoyé par un utilisateur qui n'est pas autorisé à imprimer est supprimé. | |
| Restriction sur la couleur. Travail rejeté Appuyer sur ONLINE | S/allume | Un travail d'impression couleur envoyé par un utilisateur qui n'est pas autorisé à imprimer en couleur est supprimé. | |
| Restriction sur la couleur. Impression mono. Appuyer sur ONLINE | S/allume | Un travail d'impression couleur envoyé par un utilisateur qui n'est pas autorisé à imprimer en couleur est imprimé en mode d'impression monochrome. | |
| Espace mémoire des donnéesées effacées plein | S/allume | Le filchier secret à effacer est saturaé. | |
| 491 492 493 494 490 | Installer papier %TRAY% %MEDIA_SIZE% Voir AIDE pour détails | Clignote | Le bac indiqué est vide. Chargez du papier au format indiqué. 491: Bac1 492: Bac2 493: Bac3 494: Bac4 490: Bac MF |
| Effacement de filchier | S/allume | Effacement d'un filchier secret. | |
| Erreur Postscript | S'éteint | Une erreur PostScript s'est produit. | |
| 694 695 696 697 | Tambour non installé %COLOR% Voir AIDE pour détails | Clignote | Le tambour de la couleur indiquée n'est pas installé correctement. Installé correctement le tambour. 694: Jaune (J) 695: Magenta (M) 696: Cyan (C) 697: Noir (N) |
| 340 341 342 343 | Vérifier tambour %COLOR% Voir AIDE pour détails | Clignote | Le tambour de la couleur indiquée n'est pas installé correctement. Installé correctement le tambour. 340: Jaune (J) 341: Magenta (M) 342: Cyan (C) 343: Noir (N) |
| Patientez Redémarrage <n> | S'allume | L'imprimante redémarre. Veuillez patienter. | |
| Erreur capteur Toner %COLOR% | S'allume | Il y a un problème au niveau du capteur de toner de la couleur indiquée ou le tambour n'est pas correctement installé.Installez correctement la cartouche de toner ou le tambour de la couleur indiquée. | |
| Toner %COLOR% noninstalled | S'allume | La cartouche de toner de la couleur indiquée n'est pas installée correctement. Installez correctement la cartouche toner. | |
| %TRAY% vide | S'allume | Le bac indiqué est vide.Chargez du papier. | |
| Le pérophérique USB détecté est non supportéVeuillez le déconnecter | S'eteint | Un pérophérique USB non pris en charge par l'imprimante est connecté. Retirez le pérophérique. | |
| Installer papierBac MF%MEDIA_SIZE%Appuyer sur ONLINE | S'eteint | L'impression manuelle à partir du bac MF est spécifiée. Chargez du papier au format indiqué dans le bac MF, puis appuyez sur le bouton <ON LINE (EN LIGNE)>. | |
| Toner usagé %COLOR% plein. Remplacez toner. | S'allume | La poubelle à toner est pleine. Remplacez-la par une nouvelle cartouche de toner de la couleur indiquée. | |
| Echec assemblage : trop de pagesAppuyer sur ONLINE | S'eteint | Une erreur d'impression assemblée s'est produit.Réduisez la quantité de données. Si cela ne fonctionne pas, réduisez la taille des données d'impression. | |
| Echec système de fichiersAppuyer sur ONLINE | S'allume | Une erreur d'accès au fichier s'est produit. | |
| Eteindre et patienter126:Err. condensation | Clignote | De la condensation s'est formée à l'intérieur de l'imprimante. Éteignez-la et rallumez-la un peu plus tard. | |
| Données d'impression invalides reçuesAppuyer sur ONLINE | S'allume | Une tâche est supprimée car il a été détecté que ses données ont été correspues pendant l'impression des travaux privés. | |
| Hub USB non-supportéVeuillez le déconnecter | S'eteint | Un concentrateur USB non pris en charge par l'imprimante est connecté. Retirez le concentrateur. | |
| Journal plein. Tâche rejetéeAppuyer sur ONLINE | S'allume | Les données d'impression sont supprimées car le tampon du journal des comptes est saturé. Contactez l'administrateur de l'imprimante et supprimez le tampon du journal. | |
| 360 | Installer Recto-VersoVoir AIDE pour détails | Clignote | L'unité recto-verso est mal installée.Installez correctement l'unité recto-versodans l'imprimante. Si l'unité recto-versosté déjà installée, retirez-la et réinstallé-la. |
| nnn* | Appeler assistance nnn: Erreur | Clignote | Une erreur s'est produit à l'intérieur de l'imprimante. Éteignez-la et rallumez-la. Écrivez le code d'erreur et contactez votre fournisseur si la même erreur survient à nouveau. |
| nnn* | Eteindre et Rallumer nnn:Erreur | Clignote | Une erreur fatale s'est produit dans l'imprimante. Mettez la machine en arrêt/marche. Contactez votre fournisseur si la même erreur survient à nouveau. |
| Une erreur PDL s'est produit | Change | Indique qu'une erreur de traitement interne est survenue dans l'émulation PDL.C'est une averissement clair. L'utilisateur doit appuyer sur le bouton ENTRREE pour effacer l'ajtestissement. | |
| Les fichiers sauvégardés ont été supprimés Appuyer sur ONLINE | S/allume | Indique qu'une tâche applicable a été automatiquement supprimée car la période de rétention pour les travaux privés a expiré. | |
| Une erreur de décodage s'est produit Appuyer sur ONLINE | Change | Indique qu'une erreur est survenue pendant l'analyse de la saisie des données d'image depuis une source externe. Cela se produit quand une erreur est survenue pendant l'analyse des données TIFF ou JPEG en mode Impression depuis mémoire USB, Impression directe, Impression d'e-mail. | |
| Le document ne peut être lu Appuyer sur ONLINE | Change | Indique que la mémoire USB est déconnectée pendant l'exçuction du mode Impression depuis mémoire USB. La lecture du fichier d'image a été annulée. | |
| Cartouche de toner couleur vide. Travail annulé Appuyer sur ONLINE | Change | Notifie l'utilisateur que le toner de couleur est écuisé et la tâche des données de couleur reçue est annulée. | |
| L'impression recto-verso a échoué Appuyer sur ONLINE | S/allume | Pour la configuration du papier où une impression recto-verso n'est pas possible, l'impression était recto. | |
| Réception d'e-mail annulée Appuyer sur ONLINE | S/allume | Indique que la réception des e-mails a été annulée. Elle présente les possibilités suivantes. - Le format de l'e-mail reçu est illégal ou n'est pas pris en charge. - Le fichier joint est illégal ou n'est pas pris en charge. - Le fichier joint reçu est trop grand, par exemple, la taille du fichier dépasse 8MB, - La connexion du réseau a été déconnectée. | |
| Données non valides Appuyer sur ONLINE | Change | Des données incorrectes ont été reçues. Appuyez sur l'interrupteur En ligne et éliminez l'avertissement. S'affiche lorsque la commande PDL n'est pas supportée est reçue ou une commande de mise en attente est reçue sans carte SD. | |
| Erreur PDF Appuyer sur ONLINE | Change | S'affiche quand un fichier PDF contient une erreur de syntaxe. | |
| Mot de passer non valide Appuyer sur ONLINE | Change | Indique que le mot de passer saisi ne correspond pas au mot de passage définiti sur le PDF chiffré. Le fichier ne sera pas imprimé si les mots de passage ne correspond pas. | |
| Erreur d'écriture cache du PDF Appuyer sur ONLINE | Change | Indique que l'écriture d'un fichier PDF sur le cache a échéué. Lorsqu'une carte SD n'est pas utilisée, ajoutez une carte mémoire ou une carte SD. Lorsqu'une carte SD est utilisée, augmentez l'espace libre de la carte SD. | |
| Le type du travail est restreint Travail rejeté Appuyer sur ONLINE | Change | Un travail issu d'une violation des paramètres de limitation des travaux est reçu et est indiqué pendant l'élimination du travail. | |
| Changez la carte mémoire SD | S/allume | Indique que la machine demande à l'utilisateur d'échanger l'ancien dispositif de carte SD par un nouveau car le dispositif de carte SD est en fin de vie. | |
| 415 416 | Remplacer le toner Poubelle Toner %COLOR% pleine Voir AIDE pour détails | Clignote | Indique que la poubelle de toner représentée par %COLOR% est pleine et doit être remplaçée. Erreur 415 : Magenta Erreur 416 : Cyan (Ne survient pas pour Noir/Jaune.) |
| 480 | Retirer le papier Bac de sortie Voir AIDE pour détails | Clignote | Le papier imprimé déborde dans l'empileur de papier de l'unité d'impression. Erreur 480 : Bac de sortie |
| 519 | Appuyez sur le bouton EN LIGNE pour restaurer Tempo réception données Voir AIDE pour détails | Clignote | Lors de la réception des données par Port9100, LPR, FTP, IPP, WSD, ou E-mail, une temporisation est survenue. |
| L'adresse IPv4 est en conflit IPv4 Adresse ändern | Change | L'adresse IPv4 est en conflit. | |
| Éché de récapération de l'adresse IP cible. Vérifiez les paramètres DHCP. | Change | Indique que le serveur DHCP n'est pas trouvéd. | |
| Veuillez patienter Initialisation du réseau | Change | Cela apparait lorsque l'initialisation du NIC survient quand les paramètres ont été changés. | |
| Veuillez patienter Écriture de la configuration du réseau | Clignote | Cela apparait pendant le stockage des données de configuration du NIC dans la mémoire Flash, quand les paramètres sont changés. | |
| 709 | Attention, Consumable inconnu détecté Consultez le manuel d'utilisateur, dans la rubrique « diagnostics des pannes », afin de permettre à la machine de fonctionner de nouveau | Clignote | Vous pouvez utiliser n'arrête quels Consumable dans toute machine, mais vous doivent accepter les risques liés à l'utilisation de consommables non authentiques. Si l'utilisation de consommables entraîne l'endommagement du produit ou son dysfonctionnement, ces dommages ou effets sur le produit ne sont pas couverts par la garantie. Si en début des points susmentionnés, vous foulez quand même utiliser un Consumable inconnu, effectuez les opérations suivantes;1. Mettez l'appareil hors tension2. Appuyez et maintainez le bouton <CANCEL (ANNULER)> et allumez votre machine3. Àpres le démarriage, relâchéz le bouton <CANCEL (ANNULER)}. ! Remarquel'Historique de l'opération sera enregistrédans l'appareil. |
- Si vous ne pouvez pas imprimer depuis le bac MF
Si vous imprimez depuis le bac MF sans abaisser le capot papier, le message « Installer papier Bac MF » s'affiche à l'écran.
Consultez le message et résolvez le problème. Reportez-vous à « Méthode d'impression depuis le bac multifonctions » p.59.

Autres problèmes
Cette section décrit les problèmes que vous pourriez rencontrer lors de l'utilisation de l'imprimante et la manière de les résoudre.
Mémo
- Si les points suivants ne permettent pas de résoudre le problème, contactez votre distributeur.
- Pour les problèmes provoqués par une application, contactez le développement de l'application.
Communes à windows et à mac OS x
| Cause | Solution | Référence |
| L'imprimante est éteinte. | Mettez l'imprimante sous tension. | page 23 |
| Un cable Ethernet ou USB est débranché. | Vérifiez que le cable est correctement branché sur l'imprimante et sur l'ordinateur. | - |
| Il y a un problème au niveau du cable. | Remplacez-le par un neuf. | - |
| L'imprimante est hors ligne. | Appuyez sur le bouton <ON LINE (EN LIGNE)}. | - |
| Un message d'erreur s'affiche sur l'écran du panneau de commande. | « Messages d'erreur » ou appuyez sur le bouton <HELP(AIDE)> du panneau de commande. | page 93 |
| Le paramètre de l'interface est désactivé. | Vérifiez le paramètre utilisé de l'interface sur le panneau de commande. | Avancé |
| La fonction d'impression a un problème. | Vérifiez si vous pouvez imprimer le contenu des paramètres. | page 33 |
Pour windows
| Cause | Solution | Référence |
| L'imprimante n'est pas configurée comme imprimante par défaut. | Configurez l'imprimante comme imprimante par défaut. | - |
| Le port de sortie du pilote d'imprimante est incorrect. | Sélectionnez le port de sortie sur lequel le cable Ethernet ou USB est connecté. | - |
| Un travail d'impression provenant d'une autre interface est en cours. | Patientez jusqu'à ce que le travail d'impression soit terminé. | - |
| « Données incorrectly » s'affiche à l'écran et l'impression est impossible. | Appuyez sur le bouton de déroulement▼ ou ▲ et sélectionnez [Menuus] > [Configuration Système] > [Temporisation travail], et sélectionnez pendant une période plus longue. Le paramètre par défaut est de 40 secondes. | - |
| Le travail d'impression est automatiquement annulé. | Si vous utilisez le Print Job Control, la tâche d'impression n'est pas autorisée à imprimer. | Avancé |
Problèmes de connexion au réseau
Communs à Windows et à Mac OS X
| Cause | Solution | Référence |
| Utilisation d'un cable croisé. | Utilisez un cable droit. | - |
| L'imprimante est allumée avant que le cable ne soit connecté. | Connectez les cables avant d'allumer l'imprimante. | page 35 |
| Le concentrateur et l'imprimante sont incompatibles ou ont le même problème. | Appuyez sur le bouton de déroulement▼ ou ▲ et sélectionnez [Configuration admin.] > [Paramètres réseau] > [Hub Link Setting], et sélectionnez [10Base-T Half]. | - |
| Non connecté à un point d'accès du réseau local sans fil. | · Lorsque l'appareil est connecté à un réseau local (mode Infrastructure) sans fil, désactiver le réseau local (mode AP) sans fil. · Vérifié que l'alimentation du point d'accès du réseau local sans fil est activée. · Vérifié les paramètres du point d'accès du réseau local sans fil et exécutez les paramètres manuels ou les paramètres automatiques. · Redémarrez la fonction du réseau local sans fil. · Sélectionnez [Reconnexion sans fil] dans [Paramètres de connexion sans-fil (Infrastructure)]. · Placez l'appareil dans une position d'affichage clair après du point d'accès du réseau local sans fil. (La distance recommends est de 30m ou moins) · S'il y a un mur, un élément en métal ou unurreillementant des ondes radio entre ceturreille et le point d'accès du réseau local sans fil, une panne de communication peut survenir. | - |
Pour Windows
| Cause | Solution | Référence |
| L'adresse IP est incorrecte. | • Vérifie que la même adresse IP est configurée pour l'imprimante et le paramètre du port de l'imprimante sur l'ordinateur. • Si vous utilisez l'utilitaire LPR, vérifie le paramètre de l'adresse IP dans l'utilitaire LPR. | - |
Problèmes de connexion USB
Communs à Windows et à Mac OS X
| Cause | Solution | Référence |
| Un cable USB non pris en charge est utilisé. | Utilisez un cable USB 2.0. | - |
| Un concentrateur USB est utilisé. | Reliez directement l'imprimante à l'ordinateur. | page 46 |
| Le pilote d'imprimante n'est pas installé correctement. | Réinstallé le pilote d'imprimante. | page 46, page 48 |
Pour Windows
| Cause | Solution | Référence |
| L'imprimante est hors ligne. | Faites un cling droit sur l'icône [OKI C833 *) sur le dossier [Périphériques et imprimantes], puis sélectionnez [Voir les tâches d'impression] (si les icônes sont groupées, sélectionnez [Voir les tâches d'impression] > [OKI C833 *]).* Indique le type de pilote. (ex. PCL6/PS/XPS).Dans la boîte de dialogue, sélectionnez le menu [Imprimante] puis décochez [Utiliser l'imprimante hors ligne]. | - |
| Un commutateur, un tampon, un cable d'extension ou un concentrateur USB est utilisé. | Reliez directement l'imprimante à l'ordinateur. | page 46 |
| Un pilote destiné à une imprimante différente qui utilise une connexion USB est installé. | Supprimez l'autre pilote d'imprimante de l'ordinateur. | - |
Mémo
- Si les points suivants ne permettent pas de résoudre le problème, contactez votre distributeur.
- Pour les problèmes provoqués par une application, contactez le développement de l'application.
Problèmes de connexion USB
Pour Windows
| Cause | Solution | Référence |
| Aucune icône d'imprimante n'est créé dans le dossier [Périphéques et imprimantes]. | Le pilote d'imprimante n'est pas installé correctement. Réinstallé correctement le pilote d'imprimante. | page 46 |
| Seul le premier pilote d'imprimante est installé, même si plusieurs pilotes sont sélectionnés pour installation. | Suivez la procédure ci-dessous pour installer le second pilote d'imprimante et les suivants: 1. Insérez le « DVD-ROM de logiciel » dans l'ordinateur. 2. Quand la fenêtre [Lecture automatique] s'affiche, cliquez sur [Run setup.exe]. Mémo • Si la boîte de dialogue [Contrôle du compte de l'utilisateur] s'affiche, cliquez sur [Oui]. 3. Sélectionnez une langue dans la liste déroulante. 4. Lisez l'accord de licence, puis cliquez sur [Acceptor]. 5. Lisez les conseils sur l'environnement pour les utilisateurs et cliquez sur [Suvant]. 6. Sélectionnez [Réseau] ou [USB] correspondant à votre environnement de connexion et cliquez sur [Suvant]. Si la boîte de dialogue [Alerte de sécurité Windows] s'affiche, cliquez sur [Autoriser l'accès]. 7. Sélectionnez le nom de modèle de cette machine, puis cliquez sur [Suvant]. 8. Cliquez sur [Installation personnelisée]. 9. Cliquez sur [Installation séparée]. 10. Cliquez sur un pilote à installer. L'in installation démarre. | - |
| Le message d'erreur « Impossible dinstaller le pilote d'imprimante » s'affiche. | Utilisez le Plug-and-Play. Suivez la procédure ci-dessous. 1. Assurez-vous que l'imprimante et l'ordinateur sont éteints. 2. Connectez un cable USB. 3. Mettez l'imprimante sous tension. 4. Allumez l'ordinateur. 5. Lorsque l'assistant Nouveau matériel trouvé s'affiche, suivez les instructions à l'écran pour procéder à la configuration. | - |
Contraintes propres au système d'exploitation
Contraintes propres à Windows
| Éléments | Symptôme | Cause/solution |
| Pilotes d'imprimante | [Aide] n'est pas affchéé. | La fonction [Aide] n'est pas prise en charge par les pilotes d'imprimantes PS. |
| La boîte de dialogue [Contrôle de compte d'utilisateur] s'affiche. | Lorsque vous lancez un programme d'installation ou un utilitaire, il est possible que la boîte de dialogue [Contrôle de compte d'utilisateur] s'affiche. Cliquez sur [Oui] ou [Continuer] pour exécuter le programme d'installation ou l'utilitaire en tant qu'administrateur. Si vous cliquez sur [Non], le programme d'installation ou l'utilitaire ne démarre pas. | |
| Utilitaire Colour Correct | La boîte de dialogue [Contrôle de compte d'utilisateur] s'affiche. | Lorsque vous lancez un programme d'installation ou un utilitaire, il est possible que la boîte de dialogue [Contrôle de compte d'utilisateur] s'affiche. Cliquez sur [Oui] ou [Continuer] pour exécuter le programme d'installation ou l'utilitaire en tant qu'administrateur. Si vous cliqueze sur [Non], le programme d'installation ou l'utilitaire ne démarre pas. |
| La boîte de dialogue [Assistant de Capacité de Programme] s'affiche. | Si la boîte de dialogue [Assistant de Capacité de Programme] s'affiche après l'installation (y compris si vous avez interrompu l'installation avant la fin), voirlez à cliquer sur [Ce programme s'est installé correctement]. | |
| PS Gamma Adjuster | La boîte de dialogue [Contrôle de compte d'utilisateur] s'affiche. | Lorsque vous lancez un programme d'installation ou un utilitaire, il est possible que la boîte de dialogue [Contrôle de compte d'utilisateur] s'affiche. Cliquez sur [Oui] ou [Continuer] pour exécuter le programme d'installation ou l'utilitaire en tant qu'administrateur. Si vous cliqueez sur [Non], le programme d'installation ou l'utilitaire ne démarre pas. |
| La boîte de dialogue [Assistant de Capacité de Programme] s'affiche. | Si la boîte de dialogue [Assistant de Capacité de Programme] s'affiche après l'installation (y compris si vous avez interrompu l'installation avant la fin), voirlez à cliquer sur [Ce programme s'est installé correctement]. |
Mémo
- Si les points suivants ne permettent pas de résoudre le problème, contactez votre distributeur.
| Symptôme | Point à vérifier | Solution | Référence |
| Des lignes verticales apparaissant. | Le niveau de toner est faible. | Remplacez la cartouche de toner. | page 113 |
| La cartouche du tambour est endommagée. | Remplacez la cartouche du tambour. | page 117 | |
| Des corps étrangers peuvent avoir pénétré dans le tambour. | Remplacez la cartouche du tambour. | page 117 | |
| Le film protecteur contre la lumière du tambour est sale. | Essuyez le film avec un chiffon mince et doux. | - | |
| Le tambour est mal installé. | Installez correctement le tambour. | page 117 | |
| Les images imprimées palissent du haut vers le bas. | Les têtes DEL sont sales. | Essuyez les têtes DEL avec un chiffon mince et doux. | page 129 |
| Le niveau de toner est faible. | Replacez la cartouche de toner. | page 113 | |
| Le papier est inapproprié. | Utilisez le papier pris en charge. | page 52 | |
| Les images imprimées sont pâles. | L'économie de toner est activée. | Modifiez les paramètres de l'économie de toner. | - |
| La cartouche de toner n'est pas correctement installée. | Installez correctement la cartouche toner. | page 113 | |
| Le niveau de toner est faible. | Remplacez la cartouche de toner. | page 113 | |
| Le papier est humide. | Utilisez un papier qui a été stocké à la température et dans des conditions d'humidité appropriées. | page 52 | |
| Le papier est inapproprié. | Utilisez le papier pris en charge. | page 52 | |
| Le papier est inapproprié. Les paramètres du type de support sont incorrects. | Appuyez le bouton de déroulement▼ ou ▲ et Sélectionnez [Menu] > [Configuration des bacs] > la configuration du bac à papier que vous utilisez, puis Sélectionnez les valeurs appropriées pour [Type de support] et [Grammage Papier]. Ou Sélectionnez une valeur plus grande pour [Grammage Papier]. | page 52 | |
| Le papier est recyclé. Le paramètre de grammaige papier est inapproprié. | Appuyez sur bouton à dérouler▼ ou ▲ et Sélectionnez [Menu] > [Configuration des bacs] > le bac à papier que vous utilisez et Sélectionnez une valeur plus élevé pour [Grammage Papier]. | page 52 | |
| Les images impriméespalièssent. Des points etdes lignes apparaissant. | Le papier est humide ou sec. | Utilisez un papier qui a été stockéà la température et dans desconditions d'humidité appropriées. | page 52 |
| [Réglage noir papier] ou[Réglage couleur papier] estmal configuré. | Appuyez le bouton de déroulement▼ ou ▲ et Sélectionnez [Mensus] >[Ajustement de l'impression]et changez la valeur de[Réglage noir papier] ou[Réglage couleur papier]. | - | |
| [Réglage noir trans.] ou[Réglage couleur trans.] est mal configuré. | Appuyez le bouton de déroulement▼ ou ▲ et Sélectionnez [Mensus] >[Ajustement de l'impression]et changez la valeur de[Réglage noir trans.] ou [Réglage couleurtrans.]. | - | |
| Des lignes horizontaleset des pointsapparaissent parfois.Sens d'alimentationdu papier | Si l'intervalle entre les lignesou les points est d'environ94 mm (4 pouces), cela signifiéque le tambour (tube vert) estendommagé ou sale. | Essuyez doucément le tambour àl'aide d'un chiffon mince et léger.Remplacez le tambour s'il estendommagé. | page 117 |
| Si l'intervalle des lignes ou despoints est d'environ 40 mm(2 pouce), il est possible que descorps étrangers soientopsisents dans le tambour. | Ouvrez et fermez le bac de sortieet reliancez l'impression. | - | |
| Si l'intervalle des lignes ou despoints est d'environ 143 mm,l'unité de fusion est endommagée. | Remplacez l'unité de fusion. | page 123 | |
| Le tambour a été exposé à lalumière. | Remettez le tambour dansl'imprimante et laissez-le pendantquelques heures. Si cela ne résoutpas la problèmes, remplacez-le. | page 117 | |
| Le trajet de l'alimentation enpapier est sale. | Imprimez quelques épréuves test. | - | |
| Une zone blanche dupapier est légèrementtachée.A | La papier est chargé d'électricitéstatique. | Utilisez un papier qui a été stockéà la température et dans desconditions d'humidité appropriées. | page 52 |
| Le papier est trop épais. | Utilisez du papier plus fin. | - | |
| Le niveau de toner est faible. | Replacez la cartouche de toner. | page 113 | |
| Le contour des lettresest flou.A | Les têtes DEL sont sales. | Essuyez les têtes DEL avec unchiffon mince et doux. | page 129 |
| Le papier est inapproprié. | Utilisez le papier recommendé. | - | |
| Le papier est humide. | Remplacez-le par un neuf. | page 52 | |
| Toute la zone du papierest légèrement teintéelors de l'impression surenveloppe ou papiercouché.A | Il est possible que du toneradhère à la totalité de la zone del'enveloppe ou du papier couché. | Il ne s'agit pas d'undysfonctionnement del'imprimante.Lepapier couché n'est pasrecommendé. | - |
| Le toner s'enlève quand il est frotte. | Les paramètres du type de support sont incorrects. | Appuyez le bouton de déroulement▼ ou ▲ et Sélectionnez [Menu] > [Configuration des bacs] > la configuration du bac à papier que vous utilisez, puis Sélectionnez les valeurs appropriées pour [Type de support] et [Grammage Papier]. Ou sélectionnez un grammape plus important dans [Grammage Papier]. | page 52 |
| Le papier est recyclé. Le paramètre de grammape papier est inapproprié. | Appuyez sur le bouton à dérouler▼ ou ▲ et Sélectionnez [Menu] > [Configuration des bacs] > la configuration du bac à papier que vous utilisez et Sélectionnez un grammape plus élevé [Grammage Papier]. | page 52 | |
| Le brillant n'est pas uniforme. | Les paramètres du type de support sont incorrrets. | Appuyez le bouton de déroulement▼ ou ▲ et Sélectionnez [Menu] > [Configuration des bacs] > la configuration du bac à papier que vous utilisez, puis Sélectionnez les valeurs appropriées pour [Type de support] et [Grammage Papier]. Ou sélectionnez un grammape plus important dans [Grammage Papier]. | page 52 |
| La couleur de l'image imprimée n'est pas celle que vous espériez. | Le niveau de toner est faible. | Replacez la cartouche de toner. | page 113 |
| Le réglage de [Finition noir] n'est pas adapté à l'application. | Sur le pilote d'imprimante, sélectionnez [Noir composite (CMJN)] ou [Vrai noir (N)] pour [Finition noir]. | Avancé | |
| Le réglage des couleurs a été modifié. | Procedez à la correspondance des couleurs depuis le pilote d'imprimante. | Avancé | |
| La balance des couleurs est hors réglage. | Appuyez le bouton de déroulement▼ ou ▲ et Sélectionnez [Calibration] > [Ajuster la densité]. | Avancé | |
| L'enregistrement des couleurs est désaligné. | Ouvrez et fermez le bac de sortie. Ou, appuyez le bouton de déroulement▼ ou ▲ et Sélectionnez [Calibration] puis sur [Ajuster le repérage]. | Avancé | |
| L'impression pleine de CMJ 100 % est trop pâle. | [Densité 100 % CMJ] est configuré sur [Déscientiver]. | Appuyez sur le bouton de déroulement▼ ou ▲ et Sélectionnez [Configuration admin.] > [Configuraton couleur] > [Densité 100 % CMJ], et sélectionnez [Activer]. | - |
| Des points apparaisent. | Le papier est inapproprié. | Utilisez le papier pris en charge. | page 52 |
| Si l'intervalle entre les points est d'environ 94 mm (4 pouces), cela signifie que le tambour (tube vert) est endommagé ou sale. | Essuyez doucément le tambour à l'aide d'un chiffon mince et léger. Remplacez le tambour s'il est endommagé. | page 117 | |
| Des tâches sont imprimées. | Le papier est humide. | Remplacez-le par un neuf. | page 52 |
| Le papier est inapproprié. | Utilisez le papier pris en charge. | page 52 | |
| L'arrière-plan de la page imprimée estASFÈRE ou sale. | Il est possible que l'imprimante soit victime d'un dysfonctionnement. | Contactez votre distributeur. | Couverture arrêtée |
| Rien n'est imprimé. | Deux feuilles de papier ou plus sont introduites simultanément. | Ventilez le papier et rechargez-le. | page 57, page 59 |
| Il est possible que l'imprimante soit victime d'un dysfonctionnement. | Contactez votre distributeur. | - | |
| Des motifs apparaisent. | Le papier est humide. | Remplacez-le par un neuf. | page 52 |
| Le papier est inapproprié. | Utilisez le papier pris en charge. | page 52 |
Mémo
- Si les points suivants ne permettent pas de résoudre le problème, contactez votre distributeur.
| Symptôme | Point à vérifier | Solution | Référence |
| • Les bourages papier sont fréquents.• Plusieurs feuilles de papier sont alimentées simultanément.• Le papier est introduis en biais. | L'imprimante est inclinée. | Posez l'imprimante sur une surface plane. | page 17 |
| Le papier est trop léger ou trop lourd. | Utilisez un papier approprié à l'imprimante. | page 52 | |
| Le papier est humide ou est chargé d'électricité statique. | Utilisez un papier qui a été stocké à la température et dans des conditions d'humidité appropriées. | page 52 | |
| Le papier est humide ou sec. | Utilisez un papier approprié à l'imprimante.Arrangez le papier ondulé. | page 52 | |
| Quelque chose est déjà imprimé au verso du papier. | Avec les bacs 1/2/3/4, vous ne pouvez pas utiliser du papier déjà imprimé.Chargez-le dans le bac MF pour l'impression. | page 59 | |
| Les bords du papier ne sont pas égaux. | Aérez le papier et égalisez les bords. | page 57, page 59 | |
| Il n'y a qu'une seule feuille de papier dans le bac. | Chargez plusieurs feuilles de papier. | page 57, page 59 | |
| Voues avez ajouté davantage de papier à celui déjà chargeé dans le bac. | Retirez le papier qui est déjà chargeé, faites une pile avec le nouveau papier, égalisez les bords et chargez-le, l'ancien papier étant en haut de la pile. | page 57, page 59 | |
| Le papier est chargeé en biais. | Pour les bacs 1/2/3/4, ajustez le guide de largeur du papier et la butée sur le papier.Pour le bac MF, ajustez le guide de largeur du papier sur le papier. | page 57, page 59 | |
| Les enveloppopes ne sont pas correctement chargées. | Chargez-les enveloppopes correctement. | page 59 | |
| Le papier, les enveloppopes ou lesétiquettes de grammaqqe comprés entre 177 et 220 g/m2 sont charges dans les bacs 1 et 2. | Chargez le papier, les enveloppopes ou lesétiquettes d'un grammaqqe comprés entre 177 et 220 g/m2 dans le bac MF, et utilisez le bac face en haut. | page 52, page 59 | |
| Le papier n'est pas alimenté dans l'imprimante. | Le paramètre de [Source] dans le pilote d'imprimante n'est pas correctement spécifique. | Vérifiez le bac à papier et Sélectionnez le bac approprié dans [Source] dans le pilote d'imprimante. | - |
| Voues avoir spécifié une alimentation manuelle dans le pilote d'imprimante. | Dans le pilote d'imprimante, déscochez [Utilisation du chargeur multifonction en mode manuel] dans [Options d'alimentation du papier]. | Avancé | |
| L'imprimante ne commence pas le traitement, même si vous avez retiré le papier coince. | - | Ouvrez et fermez le bac de sortie. | - |
| Le papier se plie ou se froisse. | Le papier est humide ou est chargé d'électricité statique. | Utilisez un papier qui a été stocké à la température et dans des conditions d'humidité appropriées. | page 52 |
| Le papier est léger. | Appuyez le bouton de déroulement▼ ou ▲ et Sélectionnez [Menu] > [Configuration des bacs] > [Config %TRAY%] > [Grammage Papier]. Puis, spécifique un grammaigne inférieur. | page 52 | |
| Le papier s'enroule ajustur des rouleaux de l'unité de fusion. | Les paramètres de grammaige et de type du papier sont incorrects. | Appuyez sur le bouton de déroulement▼ ou ▲ et sélectionnez [Menu] > [Configuration des bacs] > [Config %TRAY%] > [Type de support]/ [Grammage Papier]. Puis, spécifique les valeurs appropriées. Ou spécifique un grammage plus important dans [Grammage Papier]. | page 52 |
| Le papier est léger. | Utilisez un papier plus lourd. | - | |
| Il y a une image ou du texte sur le bord de tête de la feuille de papier. | Ajoutez une marge sur le bord de tête de la feuille de papier. Pour l'impression recto-verse, laissez une marge sur les bords de tête et du bas. | - |
Problèmes relatifs à la machine
| Symptôme | Point à vérifier | Solution | Référence |
| Vous avez allumé l'imprimante, mais rien ne s'affiche à l'écran. | Le cordon d'alimentation est débranché. | Éteignez l'imprimante et branchez fermement le cordon d'alimentation. | - |
| L'alimentation est coupée. | Vérifiez si l'alimentation est fournie par la prise électrique. | - | |
| L'imprimante ne fonctionne pas. | Le cordon d'alimentation n'est pas fermement branché. | Branchez fermement le cordon d'alimentation. | - |
| L'imprimante est étente. | Mettez l'imprimante sous tension. | page 23 | |
| L'imprimante s'éteint automatiquement grâce à la fonction de mise hors tension automatique. | Désactivez la fonction de mise hors tension automatique. | page 74 | |
| L'imprimante ne répond pas. | Maintenez l'interrupteur d'alimentation,enforcé pendant plus de 5 secondes pour forcer l'extinction de l'imprimante. | - | |
| L'imprimante ne démarre pas l'impression. | Une erreur s'affiche sur le panneau. | Consultez le code d'erreur et suivez les instructions à l'écran. | page 93 |
| Le cable Ethernet ou USB est débranché. | Branchez fermement le cable Ethernet ou USB. | page 35, page 46 | |
| Il y a un problème au niveau du cable Ethernet ou USB. | Utilisez un autre cable Ethernet ou USB. | - | |
| L'imprimante ne prend pas en charge votre cable Ethernet ou USB. | • Utilisez un cable compatible USB 2.0. • Utilisez un cable compatible Ethernet 10BASE-T/100BASE-TX/1000BASE-TX. | - | |
| La fonction d'impression a un problème. | Appuyez sur le bouton de déroulement▼ ou ▲ et sélectionnez [Imprimer informations] > [Configuration] > et imprimez les contenus des paramètres pour vérifier la fonction d'impression. | page 33 | |
| L'interface est désactivée. | Appuyez sur le bouton de déroulement▼ ou ▲ et sélectionnez [Imprimer informations] > [Configuration] > et activé l'interface que vous utilisez. | - | |
| Le pilote d'imprimante n'est pas sélectionné. | Configurez le pilote d'imprimante comme imprimante par défaut. | - | |
| Le port spécifique du pilote d'imprimante est incorrect. | Spécifiez le port sur lequel le cable Ethernet ou USB est connecté. | - | |
| L'écran reste vierge. | L'imprimante est en mode de veille profonde. | Vérifiez si le bouton <POWER SAVE (ÉCONOMIE D'ENERGIE)> s'allume et appuyez sur le bouton <POWER SAVE (ÉCONOMIE D'ENERGIE)> pour allumer l'imprimante. | page 24 |
| Les données d'impression ne sont pas envoyées à l'imprimante. | Le cable Ethernet ou USB est cassé. | Connectez un nouveau cable. | - |
| Le décai configuré sur l'ordinateur a expiré. | Configurez un décai plus important. | - | |
| Un son anormal se fait entendre. | L'imprimante est inclinée. | Posez l'imprimante sur une surface plane. | - |
| Du papier ou un corps étranger se trouve à l'intérieur de l'imprimante. | Vérifiez l'intérieur de l'imprimante et retirez tout objet qui s'y trouve. | - | |
| Le bac de sortie ouvert. | Fermez le bac de sortie. | - | |
| Un bourdonnement se fait entendre. | L'imprimanteIMPRESUR du papier écais ou mince alors que la température interieure est élevée. | Il ne s'agit pas d'un dysfonctionnement. Vous pouvez poursuivre l'utilisation. | - |
| Un certain temps est nécessaire au démarrage l'impression. | Il est possible que l'imprimante soit en train de nettoyer le tambour. | Veuillez patienter quelques instants. | - |
| L'imprimante est en train d'ajuster la température de l'unité de fusion. | Veuillez patienter quelques instants. | - | |
| L'imprimante est en train de traîter des données provenant d'une autre interface. | Veuillez attendre la fin du processus. | - | |
| Un travail d'impression s'est arrêté en cours de route. | Suite à des travaux d'impression continus pendant une période prolongée, l'intérieur de l'imprimanteCHAUFFE. L'imprimante est en train de refroidir. | Veuillez patienter quelques instantss.Lorsque l'unité de fusion arerfroidi, l'impression redémarreautomatiquement. | - |
| Suite à des travaux d'impression continus pendant une période prolongée, l'intérieur de l'imprimante surchauffe. L'imprimante est en train de refroidir. | Veuillez patienter quelques instantss.Lorsque l'imprimante a refroidi,l'impression redémarreautomatiquement. | - | |
| Lorsque le traitement d'impression est surcharge via l'impression surle port WSD, il est possible que l'ordinateur interrompe l'envoi. | Réessayez d'envoyer les donnéesés depuis l'ordinateur. S'il erreur n'estpas corrigée, utilisez un autre portréseau. | - | |
| La mémoire estinsuffisante. | L'imprimante est à court de mémoirecar les données d'impression sont trop volumineuses. | Réduisez les données d'impression àl'aide du pilote d'imprimante. | Avancé |
| Un certain tempsest nécessaire àl'achèvement del'impression. | La vitesse de traitement del'ordinateur peut ralentir le travaild'impression. | Utilisez un ordinateur avec unevitesse de traitement supérieure. | - |
| Vous avez sélectionné [Fin/Détail(1200x1200)] ou [ProQ/Hautequalité] dans l'onglet [Options de travail] du pilote d'imprimante. | Sélectionnez [Normal (600 x 600)]sur l'onglet [Options de travail] dupilote d'imprimante. | - | |
| Les données d'impression sanscomplexe. | Simplifiez les données. | - | |
| Le papier est étroit (moins de230 mm). | Modifiez le mode. | Avancé | |
| Le piloted'imprimante ne s'affiche pascorrectement sousMac OS X. | Il est possible que le piloted'imprimante ne fonctionne pascorrectement. | Déinstallé le pilote d'imprimante etréinstallé-le. | Avancé |
| Le papier estondulé. | Vous utilisez du papier mince. | Configurez un grammage de papierappropié ou sélectionnez [Modehumidité évée]. | Avancé |
| Le papier esthumide sur le bord. | Vous utilisez du papier humide. | Sélectionnez [Contrôle d'humidité]. | Avancé |
| Le témoin à DELdu commutateurd'alimentationclignote rapidémentpendant environ0,3 secondes. | Il est possible que l'imprimante soitvictime d'un dysfonctionnement. | Débranchez immédiatement lecordon d'alimentation. | - |
4. Maintenance
Ce chapitre explique comment remplacer les consommables et procéder à la maintenance des unités, nettoyer, déplacer ou transporter l'imprimante.
- Remplacement des consommables et maintenances des unités
Cette section explique comment remplacer les consommables.
| A VERTISSEMENT | ||
| Ne jetez pas le toner ou la cartouche de toner au feu. Le toner pourrait giclér et provoquer des brûlures. | Ne laissez pas la cartouche de toner à proximé du feu. Elle pourrait s'enflammer et provoquer un incendie ou des brûlures. | N'aspirez pas la poudre de toner répandue. Si vous l'aspirez, cela pourrait provoquer un départ de feu dû aux étincelles provenant des contacts électriques. Le toner répandu sur le sol doit être essuyé à l'aide d'un chiffon humide. |
| ATTENTION | ||
| L'appareil comporte des pieces soumises à des températures élevées. Ne touche pas la périphérique de l'étiquette « Attention Température élevé», car vous pourriez vous brûler. | Laissez la cartouche de toner hors de portée des enfants. Si des enfants avert de la poudre de toner, suivez immédiatement les instructions d'un médecin. | En cas d'inhalation de la poudre de toner, il convient de se gargariser avec de grandes quantités d'eau et de déplacer la personne dans une zone dégagée pour qu'elle puisse respirer de l'air frais. Si nécessaire, suivez les instructions d'un médecin. |
| Si vous avez de la poudre de toner collée sur la peau, par exemple sur les mains, lavez-la avec du savon. | Si du toner pénétre dans les yeux, lavez-les immédiatement à grande eau. Si nécessaire, suivez les instructions d'un médecin. | Si vous avalez de la poudre de toner, buvez de grandes quantités d'eau afin d'en atténuer les effets. Si nécessaire, suivez les instructions d'un médecin. |
| Lorsque vous retirez du papier coincide ou que vous remplacez une cartouche de toner, veillez à ne pas vous salir les mains ou les vêtements. Si de la poudre de toner tache vos vêtements, lavez-les à l'eau froide. Si vous les lavez à l'eau chaude, le toner pourrait imbiber le vêtement, lequel pourrait être difficile à nettoyer. | Ne démontez pas la cartouche de toner. La poudre de toner pourrait s'envoler et vous pourriez l'inhaler ou vous salir les mains ou les vêtements. | Laissez la cartouche de toner usagée dans un sac afin que la poudre de toner ne s'envole pas. |
Remarque
- Utilisez uniquement des consommables de marque OKI pour assurer une qualité optimale.
- Des services destinés à des problèmes provenant de l'utilisation de consommables autres que de marque OKI généreront des frais, même pendant la période de garantie ou la période du contrat de maintenance.
Remarque
- La poudre de toner pourrait se repandre si vous retirez la cartouche avant que le toner ne soit épuisé.
Durée de vie d'une cartouche de toner
Lorsque le message « Commander Toner %COLOR% » (ou « %COLOR% » signifie C (cyan), M (magenta), Y (jaune) ou K (noir)) s'affiche à l'écran, préparez une cartouche de toner de remplacement. Vous pouvez continuer à imprimer plusieurs centaines de pages jusqu'à ce que le message suivant apparaisse.
Le nombre de pages d'impression dépend de l'utilisation.
Lorsque « Toner %COLOR% vide » s'affiche et que l'impression s'arrête, vous devez remplacer la cartouche de toner.
Mémo
- Même si les cartouches de toner cyan (bleu), magenta (rouge) ou jaune sont épuisées, vous pouvez imprimer en noir et blanc en sélectionnant [Monochrome] ou [Nuances de gris]. Cependant, veuillez replacer rapidement la cartouche de toner après son épuisement, car cela pourrait endommager le tambour.
Remarque
- La durée de vie réelle de la cartouche de toner varie en fonction de l'utilisation.

Remarque
- Ayez une nouvelle cartouche d'impression en réserve, car la qualité d'impression diminue après plus d'un an après la rupture du sceau.
- Si vous remplacez la cartouche de toner/le tambour en cours d'utilisation, la quantité de toner utilisée ne sera pas comptée normalement.
- En ouvrant et en fermant le bac de sortie après l'affichage du message « Cartouche de toner couleur vide. » vous pouvez imprimer environ 100 copies au format A4 de mire ISO (environ 20 pages, cinq fois). Cependant, aucune impression n'est possible après cela. Veuillez remplacer la cartouche de toner, sinon vous pourriez endommager le tambour.
Mémo
- Lors du remplacement des cartouches de toner C, M, Y, veuillez vous reporter à « Procédure de remplacement (pour les cartouches de toner C (cyan), M (magenta), Y (jaune)) » P.115.
1 Préparez une nouvelle cartouche de toner [K]. 2 Introduisez le doigt dans le creux situé du côté droit de l'imprimante et tirez le levier d'ouverture du capot avant (1) pour ouvrir le capot avant (2) vers l'avant.

3 Tournez le levier bleu (3) de la cartouche de toner.

4 Soulevez la cartouche de toner (4) à partir du côté droit, et retirez-la de l'imprimante.
| AVERTISSEMENT | Risque de brûlure. | |
| • Ne jetez pas une cartouche de toner usagée au feu. Elle pourrait explodeer et le toner qui se trouve à l'intérieur pourrait s'envoler et provoquer des brûlures. | ||
Remarque
- Si la poudre de toner adhère à la zone d'alimentation en papier à l'intérieur de l'imprimante, essuyez-la à l'aide d'un chiffon humide bien essoré.

Laissez la cartouche de toner de remplacement dans son sac, secouez-la doucement verticalement et horizontalement, puis déballez-la.

6 Retirez l'adhésif (5) de la cartouche de toner.

7 Insérez la nouvelle cartouche de toner (6) en alignant l'indentation de son côté gauche (7) sur la saillie (8) du tambour, afin d'aligner la cartouche de toner et l'étiquette de couleur [K] du tambour. Puis, mettez fermement en place le côté droit.
Remarque
- N'insérez pas la cartouche de toner sans ôter l'adhésif.

8 Tournez le levier bleu (3) de la cartouche de toner vers l'arrière jusqu'à ce que sa partie supérieure s'aligne sur la marque .

9 Fermez le capot avant (2).
Remarque
- Le capot avant ne peut pas être fermé à fond si le bac de sortie n'est pas bien fermé.

Mémo
- Si vous devez jérer une cartouche de toner, mettez-la dans un sac en plastique ou dans un conteneur similaire et yetez-la conformément aux réglementations ou aux directives de votre municipalité.
Mémo
- Lors du remplacement de la cartouche de toner K, veuillez vous reporter à « Procédure de remplacement (pour la cartouche de toner K (noir)) » P.113.
Préparez les nouvelles cartouches de toner. Introduisez le doigt dans le creux situé du côté droit de l'imprimante et tirez le levier d'ouverture du capot avant (1) pour ouvrir le capot avant (2) vers l'avant.

Appuyez sur le bouton d'ouverture du bac de sortie (3) et ouvrez le bac de sortie (4).

ATTENTION
Risque de brûlure.

- L'unité de fusion est extrêmement chaude. Ne la touchez pas.

4 Identifie la cartouche de toner vide grâce à la couleur de son étiquette (5).

5 Faites glisser le levier bleu de droite (6) de la cartouche de toner tout en appuyant dessus pour la déverrouiller.

6 Soulevez la cartouche de toner (7) à partir du côté droit, et retirez-la de l'imprimante.
| AVERTISSEMENT | Risque de brûlure. | |
| ·Ne jetez pas une cartouche de toner usagée au feu. Elle pourrait explodeer et le toner qui se trouve à l'intérieur pourrait s'envoler et provoquer des brûlures. | ||

7 Déballez la cartouche neuve et secouez-la doucement verticalement et horizontalement.

8 Retirez l'adhésif (8) de la cartouche de toner.

9 Insérez la nouvelle cartouche de toner (9) en alignant l'indentation de son côté gauche (10) sur la saillie (11) du tambour, afin d'aligner la cartouche de toner et les étiquettes de couleur du tambour. Puis, mettez fermement en place le côté droit.
Remarque
- N'insérez pas la cartouche de toner sans ôter l'adhésif.

10 Tournez le levier bleu (6) de la cartouche de toner vers l'arrière jusqu'à ce que sa partie supérieure s'aligne sur la marque .

11 Fermez le bac de sortie (4) en poussant fermement les deux côtés du couvercle.

12 Fermez le capot avant (2).

Remarque
- Le capot avant ne peut pas être fermé à fond si le bac de sortie n'est pas bien fermé.
Veuillez recycler les cartouches de toner.
Mémo
- Si vous devez changer une cartouche de toner, mettez-la dans un sac en plastique ou dans un conteneur similaire et jetez-la conformément aux réglementations ou aux directives de votre municipalité.
Durée de vie du tambour
Lorsque le message « %COLOR% Tambour image en fin de vie. » s'affiche à l'écran, préparez un tambour de remplacement.
Si vous continuez l'impression, le message
« Durée de vie tambour %COLOR% »
s'affiche et l'impression s'arrête.
Il est recommandé de remplacer le tambour toutes les 30 000 pages environ pour du papier au format A4 (en impression recto). Cependant, ce nombre de pages correspond à des conditions ordinaires (3 pages à la fois). L'impression d'une page à la fois réduit la durée de vie du tambour de moitié environ.
Le nombre réel de pages imprimées peut être réduit de moitié par rapport à ces recommandations en fonction des conditions d'impression.
Si vous poursuivez l'impression au-delà de la limite indiquée ci-dessus, l'imprimante force l'arrêt de l'impression.
Remarque
- Le nombre réel de pages que vous pouvez imprimer avec le tambour dépend de la façon dont vous l'utilisez. La recommandation ci-dessus peut être réduite de plus de la moitié en fonction des conditions d'impression.
- Bien que l'ouverture et la fermeture du bac de sortie puissent prolonger la durée de vie du tambour pour un certain temps, il est recommandé de le remplacer aussitôt après l'affichage de « Installer tambour neuf ».
- La qualité d'impression peut se déterminer lorsqu'il s'est écoulé plus d'un an après le déballage de la cartouche de toner. Remplacez-la par une neue.
- Appuyez sur le bouton à dérouler ou et Sélectionnez [Configuration admin.] > [Installation du panneau] > [Status fin de vie] si ce paramètre est réglé sur [Désactiver], le message « %COLOR% Toner image en fin de vie. » ne s'affiche pas.
Remarque
- Si vous utilisez un nouveau tambour avec les cartouches de toner en cours d'utilisation, l'indication de la quantité restante des cartouches de toner ne s'affiche pas correctement. Les messages « %COLOR% Tambour image en fin de vie. » ou « Durée de vie tambour %COLOR% » peuvent également s'afficher aussi tôt après le remplacement.
- Le tambour (tube vert) est très délicat. Manipulez-le avec précaution.
- N'exposez pas le tambour à la lumière directe du soleil ou à des sources de lumière intérieure très intenses (supérieures à 1500 lux environ). Même dans des conditions d'éclairage intérieur normales, ne le laissez pas exposé plus de 5 minutes.
- Pour que l'imprimante fonctionne au niveau de ses performances, veuillez utiliser des consommables de marque OKI.
- Des services destinés à des problèmes provenant de l'utilisation de consommables autres que de marque OKI généreront des frais, même pendant la période de garantie ou la période du contrat de maintenance. (L'utilisation de consommables différents de ceux de marque OKI ne provoque pas systématiquement des problèmes, mais la prudence est recommandée lorsque vous les utilisez.)
- Il y a une cartouche pour chaque couleur sur le tambour.
1 Préparez un tambour neuf. 2 Introduisez le doigt dans le creux situé du côté droit de l'imprimante et tirez le levier d'ouverture du capot avant (1) pour ouvrir le capot avant (2) vers l'avant.

Appuyez sur le bouton d'ouverture du bac de sortie (3) et ouvrez le bac de sortie (4).

Risque de brûlure.

- L'unité de fusion est extrêmement chaude. Ne la touchez pas.

4 Identifie la cartouche de toner vide grâce à la couleur de son étiquette (5).

5 Retirez le tambour (6) de l'imprimante dans le sens indiqué par la flèche et placez-le sur une surface plane.

6 Tournez le levier bleu de droite (7) de la cartouche de toner vers l'avant tout en appuyant dessus pour la déverrouiller.

7 Soulevez la cartouche de toner (8) à partir du côté droit, et retirez-la du tambour.

Risque de brûlure.

- Ne jetez pas le tambour et les cartouches de toner usagées au feu. Ils pourraient exploser et le toner qui se trouve à l'intérieur pourrait s'enrouler et provoquer des brûlures.

Retirez les feuilles de protection. Placez le nouveau tambour (9) sur une surface plane.

9 Retirez le capot du toner (10).

10 Insérez la cartouche de toner (8) que vous avez retirée à l'étape 7 dans le tambour (9) en alignant l'indentation qui se trouve du côté gauche (11) sur la saillie (12) du tambour, puis mettez fermement en place le côté droit.

11 Tournez le levier bleu (7) de la cartouche de toner vers l'arrière jusqu'à ce que sa partie supérieure s'aligne sur la marque .

12 Vérifiez la couleur de l'étiquette du nouveau tambour (9) et placez-le dans l'imprimante.

13 Fermez le bac de sortie (4) en poussant fermement les deux côtés du couvercle.

14 Fermez le capot avant (2).
Remarque
- Le capot avant ne peut pas être fermé à fond si le bac de sortie n'est pas bien fermé.

Veuillez recycler les tambours.
- Si vous devez taper un tambour, mettez-le dans un sac en plastique ou dans un conteneur similaire et jetez-le conformément aux réglementations ou aux directives de votre municipalité.
- Si le mince film de protection du tambour se salit, essuyez-le conformément à la procédure ci-dessous.
(1) Ouvrez le capot avant. (2) Ouvrez le bac de sortie. (3) Retirez le tambour. (4) Essuyez le mince film de protection avec un chiffon mince et doux.

(5) Remettez le tambour dans l'imprimante. (6) Fermez le bac de sortie en poussant fermement les deux côtes du couvercle. (7) Fermez le capot avant.
Durée de vie de la courroie
Lorsque le message « Courroie en fin de vie. » s'affiche à l'écran, préparez une courroie de remplacement. Vous pouvez encore imprimer environ 2000 pages avant l'affichage du message suivant.
Lorsque le message « Changer la courroie. » s'affiche, remplacez la courroie.
La durée de vie prévue de la courroie est d'environ 80 000 pages pour une impression recto verso A4 (trois pages par travail).
Remarque
- Le nombre réel de pages que vous pouvez imprimer avec la courroie dépend de la façon dont vous l'utilisez.
Remarque
- Bien que l'ouverture et la fermeture du bac de sortie puissent prolonger légèrement la durée de vie de la courroie, vous devez la remplacer dès que le message « Changer la courroie. » s'affiche afin d'éviter tout dysfonctionnement.
- Si vous remplacez la courroie, utilisez-la jusqu'à la fin de sa durée de vie. Si vous retirez la courroie avant la fin de sa durée de vie, que vous en installez une autre et que vous l'utilisez, la durée de vie ne s'affichera pas correctement.
- Appuyez sur le bouton à dérouler ou et Sélectionnez [Configuration admin.] > [Installation du panneau] > [Status fin de vie]. Si ce paramètre est réglé sur [Désactiver], le message « Courroie en fin de vie. » ne s'affiche pas.
Remarque
- Le tambour (tube vert) est très délicat. Manipulez-le avec précaution.
- N'exposez pas le tambour à la lumière directe du soleil ou à des sources de lumière intérieure très intenses (supérieures à 1500 lux environ). Même dans des conditions d'éclairage intérieur normales, ne le laissez pas exposé plus de 5 minutes.
1 Préparez une courroie neuve.

2 Éteignez l'imprimante en appuyant sur l'interrupteur d'alimentation.
Référence
Arrêt de l'imprimante. P.23
Introduisez le doigt dans le creux situé du côté droit de l'imprimante et tirez le levier d'ouverture du capot avant (1) pour ouvrir le capot avant (2) vers l'avant.

Appuyez sur le bouton d'ouverture du bac de sortie (3) et ouvrez le bac de sortie (4).
| ATTENTION | Risque de brûlure. | |
| L'unité de fusion est extrémement chaude. Ne la touchez pas. | ||

5 Retirez les quatre tambours de l'imprimante et placez-les sur une surface plane.

Recouvrez les tambours reliés à l'aide de papier afin de ne pas les exposer à la lumière.

7 Tournez les leviers bleus (5) de chaque côté de la courroie dans la direction indiquée par la flèche pour la déverrouiller.

8 Retirez la courroie en tenant le levier bleu (6).

9 Tenez la poignée de la nouvelle courroie d'une main et soutenez la partie inférieure de l'autre main. Remettez la courroie dans l'imprimante.


10 Tournez les leviers bleus (5) de chaque côté de la courroie dans la direction indiquée par la flèche.

11 Remettez les quatre tambours dans l'imprimante.

12 Fermez le bac de sortie (4) en poussant fermement les deux côtés du couvercle.

13 Fermez le capot avant (2).
Remarque
- Le capot avant ne peut pas être fermé à fond si le bac de sortie n'est pas bien fermé.

Veuillez recycler la courroie.
Mémo
- Si vous devez jeter une courroie, mettez-la dans un sac en plastique ou dans un conteneur similaire et jetez-la conformément aux réglementations ou aux directives de votre municipalité.
Durée de vie de l'unité de fusion
Lorsque le message « Four en fin de vie. » s'affiche à l'écran, préparez une unité de fusion de remplacement. Vous pouvez encore imprimer environ 2500 pages avant l'affichage du message suivant.
Lorsque le message « Changer le four. » s'affiche, remplacez l'unité de fusion.
La durée de vie prévue de l'unité de fusion est d'environ 100 000 pages pour une impression recto verso A4.
Remarque
- Le nombre réel de pages que vous pouvez imprimer avec l'unité de fusion de la façon dont vous l'utilisez.
Remarque
- Bien que l'ouverture et la fermeture du bac de sortie puissent prolonger légèrement la durée de vie de l'unité de fusion, vous devez la remplacer dès que le message « Changer le four. » s'affiche afin d'éviter tout dysfonctionnement.
- Si vous remplacez l'unité de fusion, utilisez-la jusqu'à la fin de sa durée de vie. Si vous retirez l'unité de fusion avant la fin de sa durée de vie et que vous en installez une autre et que vous l'utilisez, la durée de vie ne s'affichera pas correctement.
- Appuyez sur le bouton à dérouler ou et Sélectionnez [Configuration admin.] > [Installation du panneau] > [Status fin de vie] si ce paramètre est régé sur [Désactivé], le message « Four en fin de vie. » ne s'affiche pas.
Remarque
- N'exposez pas le tambour à la lumière directe du soleil ou à des sources de lumière intérieure très intenses (supérieures à 1500 lux environ). Même dans des conditions d'éclairage intérieur normales, ne le laissez pas exposé plus de 5 minutes.
1 Préparez une unité de fusion neuve.

2 Éteignez l'imprimante en appuyant sur l'interrupteur d'alimentation.
Référence
Arrêt de l'imprimante. P.23
Introduisez le doigt dans le creux situé du côté droit de l'imprimante et tirez le levier d'ouverture du capot avant (1) pour ouvrir le capot avant (2) vers l'avant.

Appuyez sur le bouton d'ouverture du bac de sortie (3) et ouvrez le bac de sortie (4).

Risque de brûlure.

- Comme l'unité de fusion devient très chaude, soyez prudent lors de l'opération, et, lorsque vous la soulevez, vous devez la tenir par la poignée. N'essayez pas de la tenir lorsqu'elle est chaude. Attendez qu'elle ait refroidi, puis procédez à l'opération.

5 Poussez vers l'avant le levier de verrouillage de gauche (5) de l'unité de fusion pour la déverrouiller.

6 Tenez la poignée de l'unité de fusion (6) et soulevez l'unité de fusion hors de l'imprimante.

7 Tenez la poignée de l'unité de fusion (6) et placez l'unité de fusion dans l'imprimante.

8 Repoussez le levier de verrouillage de gauche (5) de l'unité de fusion pour la verrouiller.

9 Fermez le bac de sortie (4) en poussant fermement les deux côtés du couvercle.

10 Fermez le capot avant (2).
Remarque
- Le capot avant ne peut pas être fermé à fond si le bac de sortie n'est pas bien fermé.

Veuillez recycler l'unité de fusion.
Mémo
- Si vous devez jeter une unité de fusion, mettez-la dans un sac en plastique ou dans un conteneur similaire et jetez-la conformément aux réglementations ou aux directives de votre municipalité.
Nettoyage
Cette section explique comment nettoyer chaque partie de l'imprimante.
Remarque
- N'utilisez pas de benzine, diluants ou alcool comme agent nettoyant. Ils pourraient endommager les parties en plastique de l'imprimante.
- Ne lubrifiez pas l'imprimante avec de l'huile.
Éteignez l'imprimante en appuyant sur l'interrupteur d'alimentation.
Arrêt de l'imprimante. P.23
2. Essuyez la surface de l'imprimante avec un chiffon doux légèrement imbibé d'eau ou d’un détergent neutre. 3. Séchez la surface de l'imprimante à l’aide d’un chiffon doux et sec.
Nettoyage des rouleaux d'alimentation en papier
Nettoyez les rouleaux d'alimentation en papier si des bourrages papier se produisent fréquemment.
Remarque
- Vous devez remplacer les rouleaux d'alimentation en papier si des bourrages papier continuent à se produire même après les avoir nettoyés.
Mémo
- Les images de cette procédure utilisent le bac 1 à titre d'exemple, mais la même procédure s'applique aux bacs 2/3/4.
1 Tirez le bac (1).

2 Essuyez les deux rouleaux d'alimentation en papier (2) à l'intérieur de l'imprimante à l'aide d'un chiffon humide bien essoré.

3 Retirez le papier chargé dans le bac. 4 Essuyez le rouleau d'alimentation en papier (3) du bac à l'aide d'un chiffon humide bien essoré.

5 Chargez du papier dans le bac. 6 Remettez le bac dans l'imprimante.
Pour le bac MF
Ouvrez le bac multifonction (1) en insérant les doigts dans le creux frontal (2).

2 Libérez la languette (3) du capot des rouleaux d'alimentation en papier en appuyant sur le bras de droite (4) vers l'intérieur tout en soulevant légèrement le bac MF (1).

3 Appuyez également sur le bras de gauche (4) vers l'intérieur tout en soulevant légèrement le bac MF (1) afin de libérer la languette (3) du capot des rouleaux d'alimentation en papier.

4 Ouvrez le capot du papier (5) jusqu'à ce qu'il touche l'imprimante.

5 Essuyez les deux rouleaux d'alimentation en papier (6) à l'aide d'un chiffon humide bien essoré.

6 Ouvrez le capot des rouleaux de séparation (7) vers l'avant tout en appuyant sur la partie centrale du bac MF. Essuyez les deux rouleaux de séparation (8) à l'aide d'un chiffon humide bien essoré.

7 Refermez le capot des rouleaux de séparation (7).

8 Abaissez le capot du papier (5).

9 Accrochez une languette (3) du capot des rouleaux d'alimentation en papier et en appuyant sur le bras de droite (4) vers l'intérieur tout en soulevant légèrement le bac MF (1).
Remarque
- Si vous fermez le bac MF sans avoir remis la languette en position correcte, il est possible que le capot du papier se casse. Veillez à remettre la languette dans sa position d'origine.

10 Accrochez également l'autre languette (3) du capot des rouleaux d'alimentation en papier et en appuyant sur le bras de gauche (4) vers l'intérieur tout en soulevant légèrement le bac MF (1).
Remarque
- Si vous fermez le bac MF sans avoir remis la languette en position correcte, il est possible que le capot du papier se casse. Veillez à remettre la languette dans sa position d'origine.

Fermez le bac MF (1).
Si vous ne pouvez pas fermer le bac MF, remettez le capot du papier dans la position correcte en appuyant vers le bas sur la partie de chargement du papier du bac MF.

Nettoyage des têtes DEL
Nettoyez les têtes DEL si des lignes verticales apparaisent, si les images s'estompent verticalement ou si le contour des lettres est flou sur les épreuves. De la saleté sur les têtes DEL peut également provoquer des bouchons papier.
Remarque
- N'utilisez pas d'alcool méthylique ou de diluant comme agent de nettoyage. Ils pourraient endommager les têtes DEL.
- N'exposez pas le tambour à la lumière directe du soleil ou à des sources de lumière intérieure très intenses (supérieures à 1500 lux environ). Même dans des conditions d'éclairage intérieur normales, ne le laissez pas exposé plus de 5 minutes.
Éteignez l'imprimante en appuyant sur l'interrupteur d'alimentation.
Référence
Arrêt de l'imprimante. P.23
2 Introduisez le doigt dans le creux situé du côté droit de l'imprimante et tirez le levier d'ouverture du capot avant (1) pour ouvrir le capot avant (2) vers l'avant.

3 Appuyez sur le bouton d'ouverture du bac de sortie (3) et ouvrez le bac de sortie (4).
| ATTENTION | Risque de brûlure. | |
| L'unité de fusion est extrémement chaude. Ne la touchez pas. | ||

4 Essuyez doucement les lentilles (5) des têtes DEL avec un chiffon doux et mince.

5 Fermez le bac de sortie (4) en poussant fermement les deux côtés du couvercle.

6 Fermez le capot avant (2).
Remarque
- Le capot avant ne peut pas être fermé à fond si le bac de sortie n'est pas bien fermé.

Déplacement ou transport de l'imprimante
Cette section explique comment déplacer ou transporter l'imprimante.
Risques de blessures !

- Au moins deux personnes sont nécessaires pour soulever l'imprimante en toute sécurité, car son poids est d'environ 37 kg ou 40 kg.
Éteignez l'imprimante en appuyant sur l'interrupteur d'alimentation.
Référence
Arrêt de l'imprimante. P.23
2 Débranchez tous les câbles.
Cordon d'alimentation et fil de mise à la terre - Câble Ethernet ou USB
3. Enlevez le papier des bacs à papier. 4. Soulevez l'imprimante et déplacez-la jusqu'à son nouvel emplacement.
Risques de blessures!

- Au moins deux personnes sont nécessaires pour soulever l'imprimante en toute sécurité, car son poids est d'environ 37 kg ou 40 kg.
Risque de brûlure.

- L'unité de fusion est extrêmement chaude. Ne la touchez pas.
Remarque
- Le tambour (tube vert) est très délicat. Manipulez-le avec précaution.
- N'exposez pas le tambour à la lumière directe du soleil ou à des sources de lumière intérieure très intenses (supérieures à 1500 lux environ). Même dans des conditions d'éclairage intérieur normales, ne le laissez pas exposé plus de 5 minutes.
Éteignez l'imprimante en appuyant sur l'interrupteur d'alimentation.
Référence
Arrêt de l'imprimante. P.23
2 Débranchez tous les câbles.
- Cordon d'alimentation et fil de mise à la terre.
- Câble Ethernet ou USB.
Enlevez le papier des bacs à papier. Introduisez le doigt dans le creux situé du côté droit de l'imprimante et tirez le levier d'ouverture du capot avant (1) pour ouvrir le capot avant (2) vers l'avant.

5 Appuyez sur le bouton d'ouverture du bac de sortie (3) et ouvrez le bac de sortie (4).
| ATTENTION | Risque de brûlure. | |
| L'unité de fusion est extrémement chaude. Ne la touchez pas. | ||

6 Tenez les cartouches de toner à deux mains et retirez-les des tambours. Retirez toutes les cartouches de toner et les tambours et placez-les sur une surface plane.

Fixez chaque cartouche de toner sur chaque tambour à l'aide de ruban adhésif (5).

8 Remettez toutes les cartouches de toner et les tambours dans l'imprimante.

9 Fermez le bac de sortie (4) en poussant fermement les deux côtes du couvercle.

10 Fermez le capot avant (2).
Remarque
- Le capot avant ne peut pas être fermé à fond si le bac de sortie n'est pas bien fermé.

11 Retirez le bac supplémentaire optionnel de l'unité principale s'il est installé.

12 Protégez l'imprimante avec les matériaux d'emballage. 13 Soulevez l'imprimante et déposez-la dans une boîte.
Remarque
Utilisez les matériaux d'emballage de l'imprimante lors de l'achat. - Apportez le transport ou lors de la nouvelle mise en place, retirez le ruban adhésif utilisé pour fixer les tambours et les cartouches de toner
Avant la mise au rebut de la machine
Avant de mettre cette machine au rebut, il est recommandé d'effacer les données confidentielles enregistrées et les données enregistrées.
Les données enregistrées dans la machine sont indiquées ci-dessous.
- Mot de passe de l'administrateur
- Paramètres enregistrés dans différents menus
- Données d'impression privée
- Différents enregistrements
- Contrôle d'accès, données de gestion de l'utilisateur (utilisateur local, cache de l'utilisateur externe [LDAP, Kerberos])
1 Appuyez sur le bouton de déroulement ou sur le panneau de commande. 2 Appuyez plusieurs fois sur le bouton de défilement▼ pour sélectionner [Configuration admin.], puis sur le bouton. 3 Entrez le mot de passe d'administrateur. 4 Sélectionnez [Autres configurations] > [Eff. données gratuites]. 5 Si [Étes-vous sûr?] s'affiche, sélectionnez [Oui], et appuyez sur le bouton. 6 Si [Voulez-vous vraiment?] s'affiche, sélectionnez [Oui], et appuyez sur le bouton.
Redémarrez la machine pour effacer les données.
Remarque
- Une fois l'action exécutée, les données effacées ne peuvent pas être restaurées. Pour annuler la suppression, sélectionnez [Non] à l'étape 5 ou l'étape 6.
5. Annexe
Ce chapitre décrit les spécifications de votre imprimante.
Vérification de l'état de l'imprimante grâce à l'écran
En appuyant sur le bouton ou ▽ sur le panneau de commande, vous pouvez vérifier l'état de votre imprimante.

Vérification de l'état de l'appareil
Vous pouvez vérifier la quantité restante de consommables, les informations sur le compte, les paramètres réseau et les informations système sur l'écran.
1 Appuyez sur le bouton ▼ du panneau de commande pour ouvrir le menu état.

2 Appuyez sur le bouton de défilement ▼ pour sélectionner l'élément que vous souhaitez consulter, puis sur le bouton.
Liste des menus du panneau de commande
Le numéro de fonction est décrit à droite de chaque élément.









Caractéristiques
| Modèle | Numéro de modèle |
| C813/C823/C833/ES8433 | N35100A, N35100B |
| C843/ES8443 | N35101A, N35101B |
Spécification générales
| C813/C823 | C833/ES8433 | C843/ES8443 | ||
| Proesseur | PowerPC464FP, 800 MHz | |||
| Mémoire (Maximum 768 Mo) | Résidente | 256 Mo | 512 Mo | |
| Option | 256 Mo/512 Mo | 512 Mo | ||
| Mémoire Flash | Mémoire du système : 128MB | |||
| Périphrérique de stockage | Kit de carte mémoire SD • Facultatif 16 Go | |||
| Poids | 37 kg (avec consommables et sans unité recto-verse), 40 kg (consommables fournis avec l'unité recto-verse) | |||
| Dimensions | 449 (L) x 552(P) x 360(H) mm | |||
| Alimentation secteur | N35100A, N35101A: 110 - 127 V c.a. (Plage 99 - 140 V c.a.), 50/60 Hz ± 2% N35100B, N35101B: 220 - 240 V c.a. (Plage 198 - 264 V c.a.), 50/60 Hz ± 2% | |||
| Consommation de courant | Fonctionne- ment typique | 700 W | ||
| Attente | 100 W | |||
| Pointe | 1 400 W | |||
| Mode veille profonde | Tension 110 - 127 V c.a.: Inférieure à 0,7 W Tension 220 - 240 V c.a.: Inférieure à 1,0 W | |||
| Mode Économie d'énergie | Inférieure à 12 W | |||
| Mode hors tension | Tension 110 - 127 V c.a: Inférieure à 0,1 W Tension 220 - 240 V c.a.: Inférieure à 0,15 W | |||
| Interface | USB 2.0 (Hi-Speed), Ethernet 10BASE-T/100BASE-TX/1000BASE-TX, IEEE802.11 a/b/g/n (Optionnel) | |||
| Affichage | Écran graphique 60(W) x 32,6(H) mm, 128 x 64 points | |||
| S.E. pris en charge | • Windows 10, Windows 8.1, Windows 8, Windows 7, Windows Vista, Windows Server 2012 R2, Windows Server 2012, Windows Server 2008 R2, Windows Server 2008 • Mac OS X 10.8.5 à 10.11 Veuillage vous reporter à la configuration requise pour plus de détails. | |||
■ Spécifications d'impression
| C813/C823 | C833/ES8433 | C843/ES8443 | ||
| Méthode d'impression | Méthode d'enregistrement électrophotographique à sec à DEL (diode électroluminescente) | |||
| Langage d'émulation | PCL6 (XL3.0 et PCL5c), EPSON FX, IBM ProPrinter, XPS | PCL6 (XL3.0 et PCL5c), PostScript 3, IBM ProPrinter, EPSON FX, XPS | ||
| Polices résidentes | PCL: 91 polices européennes | PCL: 91 polices européennes | ||
| PS: 80 polices européennes | ||||
| Résolution | 600 x 600 ppp, 600 x 1 200 ppp, 600 x 600 ppp 2 bits | 1 200 x 1 200 ppp, 600 x 600 ppp | ||
| Couleur | Jaune, magenta, cyan, noir | |||
| Vitesse d'impression (A4) | Recto: 23 ppm | Recto: 35 ppm | ||
| Recto-verse: 19 ppm | Recto-verse: 27 ppm | |||
| Format de papier | Bac 1 | Legal 13/13,5/14, letter, executive, tabloid, A3, A4, A5, B5, B4, A6, B6, Statement, 8,5SQ, Folio, Format personnelisé, 8K (260 x 368 mm, 270 x 390 mm, 273 x 394 mm), 16K (197 x 273 mm, 195 x 270 mm, 184 x 260 mm) | ||
| Bac 2/3/4 (en option)* | Legal 13/13,5/14, letter, executive, tabloid, A3, A4, A5, B4, B5, B5, A6, B6, B6 Half, 8,5SQ, Folio, 4 x 6 pouces, 5 x 7 pouces, Nagagata #3, Nagagata #4, Nagagata #40, Youkei #0, Youkei #4, Kakugata #2, Kakugata #3, Hagaki, Oufuku Hagaki, C4, C5, DL, Com-10, carte index (3 x 5 pouces), format personnelisé, 8K (260 x 368 mm, 270 x 390 mm, 273 x 394 mm), 16K (197 x 273 mm, 195 x 270 mm, 184 x 260 mm) | |||
| Bac MF | Legal 13/13,5/14, letter, executive, tabloid, A3, A4, A5, B4, B5, B6, 8,5SQ, Folio, 8K (260 x 368 mm, 270 x 390 mm, 273 x 394 mm), 16K (197 x 273 mm, 195 x 270 mm, 184 x 260 mm) | |||
| Impression recto versso | Legal 13/13,5/14, letter, executive, tabloid, A3, A4, A5, B4, B5, B6, 8,5SQ, Folio, 8K (260 x 368 mm, 270 x 390 mm, 273 x 394 mm), format personnelisé (148 - 297 mm (l) x 182 - 431 mm (L)) | |||
| Format personnelisé | • Bac 1 105, 128 - 297 mm (l), 148, 182 - 431 mm (L) (4,1, 5,0 - 11,7 pouces (l), 5,8, 7,2 - 17,0 pouces (L)) • Bac 2/3/4 (en option)* 148 - 297 mm (l), 182 - 431 mm (L) (5,8 - 11,7 pouces (l) 7,2 - 17,0 pouces (L)) • Bac MF 64, 128 - 297 mm (l), 90, 182 mm - 1312, 431 mm (L) (2.5, 5.0 - 11,7 pouces (l), 3,5, 7,2 inches - 52,0, 17,0 pouces (L)) | |||
| Type de support | Papier ordinaire (64 g/m2 - 256 g/m2), en-tête, transparence, étiquette, lien, recycler, stock de cartes, mat, brillant. | |||
| Méthode d'alimentation | Alimentation automatique depuis le bac 1, le bac MF et les bacs supplémentaires (optionnels), alimentation manuelle depuis le bac MF | |||
| Capacité de chargement du papier | • Bac 1 300 feuilles de papier ordinaire /80 g/m2, épaissur totale de 30 mm ou moins. • Bac MF 100 feuilles de papier standard /80 g/m2 et épaissur total de 10 mm ou moins, 10 enveloppées/poids de 85 g/m2. • Bac supplémentaire (optionnel) 530 feuilles de papier ordinaire /80 g/m2, épaissur totale de 53 mm ou moins. | |||
| Méthode de sortie | Face en haut/Face en bas | |||
| Capacité de sortie du papier | • Face en haut 100 feuilles (moins de 80 g/m2), 10 feuilles (ultra-lourd/enveloppés) • Face vers le bas 200 feuilles (moins de 80 g/m2) | |||
| Zone d'impression garantie | 6,35 mm ou plus depuis le bord du papier (non applicable aux supports spéciaux tels que les enveloppées) | |||
| Précision d'impression | Début d'impression:± 2 mm, biais du papier:± 1 mm/100 mm, extension de l'image:± 1 mm/100 mm (80 g/m2) | |||
| C813/C823 | C833/ES8433 | C843/ES8443 | |
| Temps de chauffage | Depuis la mise sous tension32 secondes (à température ambiente de 25 °C, tension nominale)Depuis le mode d'économie d'énergie27 secondes (à température ambiente de 25 °C, tension nominale) | ||
| Environnement de fonctionnement | En fonctionnement10 - 32°C / Humidité relative de 20 - 80 % (Température maximale de thermomètre mouillé de 25°C, température maximale de thermomètre sec de 2°C)Au repos0 - 43°C / Humidité relative de 10 - 90 % (Température maximale de thermomètre mouillé de 26,8°C, température maximale de thermomètre sec de 2°C) | ||
| Conditions de garantie de la qualité d'impression | Plage de fonctionnementTempérature 10°C, humidité 20 à 80 % HRTempérature 32°C, humidité 20 à 60 % HRHumidité 20 % HR, température 10 à 32°CHumidité 80 % HR, température 10 à 27°CPlage de qualité garantie en pleine couleurTempérature 17 à 27°C, humidité 50 à 70 % HR | ||
| Consommables, maintenance de l'unité | Cartouches d'encre, tambour, courroie, unité de fusion, jeu de rouleaux d'alimentation | ||
C813/C823 est disponible uniquement Bac2.
■ Spécifications réseau
| C813/C823 | C833/ES8433 | C843/ES8443 | |
| Interface | Ethernet 10BASE-T/100BASE-TX/1000BASE-TX, IEEE802.11 a/b/g/n (Optionnel) | ||
| Protocole | TCP/IPv4&v6, NetBIOS over TCP, DHCP, DHCPv6, BOOTP, HTTP, HTTPS, DNS, DDNS, WINS, UPNP, Bonjour, SMTP, SMTPS, POP3, POP3S, SNMPv1&v3, SNTP, IPP, IPPS, WSD Print, LLTD, IEEE802.1X, LPR, Port9100, Telnet, FTP, FTPS, IPSec, Secure Protocol Server, LDAP, LDAPS, Google Cloud Print | ||
Spécifications du réseau local sans fil (option)
| Élément | |
| Norme de réseau local sans fil | IEEE802.11a/b/g/n conformité (2,4 GHz / 5 GHz) |
| Sécurité | Désactiver, WEP, WPA-PSK, WPA2-PSK, WPA-EAP, WPA2-EAP |
Instructions réglementaires relatives au réseau local sans fil
Instructions - FCC
- Déclaration IC
- Déclaration de conformité Europe-CE.
Instruction FCC
Avertissement FCC
Tout changement ou modification non expressément approuvé par la partie responsable de la conformité peut invalider l'autorisation de l'utilisateur à utiliser l'équipement.
Remarque : Cet appareil a été testé et est conforme aux limites pour un périphérique numérique de classe B, suivant la section 15 des Règles FCC. Ces limites sont établies dans le but de fournir une protection raisonnable contre les interférences dangereuses pour une installation dans un environnement domestique. Cet appareil génère, utilise et peut émettre de l'énergie de fréquence radio, et, s'il n'est pas installé et utilisé conformément aux instructions, peut causer des interférences dangereuses avec les communications radio. Cependant, il n'est pas garanti qu'une interférence ne survienne pas dans une installation particulière. Si cet appareil cause des interférences dangereuses avec la réception radio ou la réception d'émissions de télévision, ce que vous pouvez déterminer en éteignant et rallumant l'appareil, il vous est recommandé d'essayer de corriger l'interférence à l'aide de l'une ou plusieurs des mesures suivantes :
- Réorientez ou relocalisez l'antenne de réception.
- Augmentez la distance entre l'appareil et le récepteur.
- Branchez l'appareil sur une prise de courant avec un circuit différent de celui du récepteur.
- Contactez votre fournisseur ou un technicien expérimenté de la radio/télévision pour obtenir une assistance.
Ce transmetteur ne doit pas être placé ou utilisé avec une autre antenne ou un autre transmetteur.
Conformité IC
Le périphérique est conforme à la section 15 des Régles FCC et aux normes RSS d'Industrie Canada applicables aux appareils exempts de licence. Le fonctionnement est soumis aux deux conditions suivantes : (1) ce périphérique peut ne pas causer d'interférence, et (2) ce périphérique doit accepter toute interférence, y compris les interférences susceptibles de causer un fonctionnement non désiré.
Le présent appareil est conforme à la partie 15 des règles de la FCC et CNR d'Industrie Canada applicables aux appareils radio exempts de licence. L'exploitation est autorisée sous les deux conditions suivantes : (1) L'appareil ne doit pas produire de brouillage, et (2) L'utilisateur de l'appareil doit accepter tout brouillage radioélectrique subi, même si le brouillage est susceptible d'en compromettre le fonctionnement.
Cet appareil numérique de la classe [B] est conforme à la norme NMB-003 du Canada.
Cet appareil numérique de la classe [B] est conforme à la norme NMB-003 du Canada.
Attention (fcc/ic) :
La bande 5,15-5,25 GHz est réservée uniquement aux fonctionnements d'intérieur.
La bande 5150-5250 MHz est restreinte à une utilisation à l'intérieur.
Cet équipement est conforme aux limites d'exposition aux radiations fixées pour un environnement non contrôlé et respecte les directives d'exposition aux radiofréquences (RF) FCC ainsi que le CNR-
102 relatif aux d'exposition aux es radiofréquences (RF) IC. Cet équipement doit être installé et utilisé avec le radiateur placé à au moins 20 cm ou plus du corps.
Cet équipement est conforme aux limites d'exposition aux rayonnements énoncées pour un environnement non contrôlé et respecte les règles radioélectriques (RF) de la FCC lignes directrices d'exposition et d'exposition aux fréquences radioélectriques (RF) CNR-102 de l'IC. Cet équipement doit être installé et utilisé en gardant une distance de 20 cm ou plus entre le dispositif rayonnant et le corps.
Déclaration de conformité Europe - CE

Cet équipement est conforme aux exigences fondamentales de la Directive de l'Union européenne 2014/53/EU.
Les fonctionnalités de télécommunications de ce produit peuvent être utilisées dans les pays de l'Union Européenne et de l'AELE suivants : Autriche, Belgique, Bulgarie, Chypre, République Tchèque, Danemark, Estonie, Finlande, France, Allemagne, Grèce, Hongrie, Islande, Irlande, Italie, Lettonie, Liechtenstein, Lituanie, Luxembourg, Malte, Pays-Bas, Norvège, Pologne, Portugal, Roumanie, Slovaquie, Slovénie, Espagne, Suède, Suisse, Turquie et Royaume-Uni.
Dimensions de l'imprimante
VUE SUPérieURE
VUE LATERALE

Autres messages d'erreur... 93
Bac à papier 55, 63
Bac de sortie. 67
Bac de sortie arrêt 67
Bac multiformat 59
Bourrage de papier. 78
Bouton POWER SAVE 24
Cartouche de toner 113
Configuration minimale requise 34
Courroie. 121
Critères d'économie d'énergie 22
Emplacement. 17
Enveloppe 53
Environnement de l'emplacement. 17 Étiquette. 53
Format du papier..... 52, 55, 63
Formats personnalisés. 63
François www.oki.com/fr
Notice Facile