LYBRA - Climatiseur FABER - Notice d'utilisation et mode d'emploi gratuit
Retrouvez gratuitement la notice de l'appareil LYBRA FABER au format PDF.
| Type d'appareil | Climatiseur |
| Mode de fonctionnement | Refroidissement et chauffage |
| Capacité de refroidissement | Non précisé |
| Capacité de chauffage | Non précisé |
| Type d'installation | Murale ou plafond |
| Alimentation électrique | Non précisé |
| Consommation énergétique | Non précisé |
| Niveau sonore | Non précisé |
| Dimensions (LxHxP) | Non précisé |
| Poids | Non précisé |
| Type de fluide frigorigène | Non précisé |
| Filtre | Oui, lavable |
| Commande | Non précisé |
| Fonctions supplémentaires | Non précisé |
| Garantie | Non précisé |
FOIRE AUX QUESTIONS - LYBRA FABER
Questions des utilisateurs sur LYBRA FABER
0 question sur cet appareil. Repondez a celles que vous connaissez ou posez la votre.
Poser une nouvelle question sur cet appareil
Téléchargez la notice de votre Climatiseur au format PDF gratuitement ! Retrouvez votre notice LYBRA - FABER et reprennez votre appareil électronique en main. Sur cette page sont publiés tous les documents nécessaires à l'utilisation de votre appareil LYBRA de la marque FABER.
MODE D'EMPLOI LYBRA FABER
Manuel d'Instructions
Pour votre sécurité et pour garantir le fonctionnement correct de l'appareil, veuillez lire attentivement ce manuel avant d'instructuer et de mettre en fonction l'appareil. Toujours conserver ces instructions avec l'appareil, même en cas de cession ou de transfert à une autre personne. Il est important que les utilisateurs connaissent toutes les caractéristiques de fonctionnement et de sécurité de l'appareil.

La connexion des câbles doit être effectuée par un technicien compétent.
- En aucun cas le fabricant ne peut être tenu pour responsable d'éventuels dommages dus à une installation ou à une utilisation impropre.
- La distance de sécurité minimum entre le plan de cuisson et la hotte aspirante est de 650 mm (certains modèles peuvent être installés à une hauteur inférieure; voir le paragraphe concernant les dimensions de travail et l'installation).
- Si les instructions d'installation du plan de cuisson à gaz spécifient une distance supérieure à celle indiquée ci-dessus, veuillez impérativement en tenir compte. Assurez-vous que la tension du secteur correspond à celle indiquée sur la plaque des caractéristiques apposée à l'intérieur de la hotte.
- Les dispositifs de sectionnement doivent être montés dans l'installation fixe conformément aux normes sur les systèmes de câblage.
- Pour les appareils de Classe I, s'assurer que l'installation électrique de votre intérieur dispose d'une mise à la terre adaptée.
- Reliez l'aspirateur du conduit de cheminée avec un tube ayant un diamètre minimum de 120 mm. Le parcours des fumées doit être le plus court possible.
- Respecter toutes les normes concernant l'évacuation de l'air.
- Ne reliez pas la hotte aspirante aux conduits de cheminée qui acheminent les fumées de combustion (par ex. de chaudières, de cheminées, etc.).
- Si vous utilisez l'aspirateur en même temps que des appareils non électriques (par ex. fonctionnant au gaz), veillez à ce que la pièce soit adéqua eils non alimentés à l'électricité, la pression négative dans la pièce ne doit pas dépasser 0,04 mbar, afin d'éviter que les fumées soient réaspirées dans la pièce où se trouve la hotte.
- Ne pas évacuer l'air à travers une conduite utilisée pour l'évacuation des fumées des appareils de combustion alimentés au gaz ou avec d'autres combustibles.
- Si le cordon d'alimentation est endommagé, faites-le remplacer par le fabricant ou par un technicien d'un service après-vente/agréé.
- Branchez la fiche à une prise conforme aux normes en vigueur et dans une position accessible.
- En ce qui concerne les dimensions techniques et de sécurité à adopter pour l'évacuation des fumées, veuillez vous conformer scrupuleusement aux règlements établis par les autorités locales.
AVERTISSEMENT: Avant d'installer la hotte, retirer les films de protection. - Utilisez exclusivement des vis et des petites fournitures du type adapté pour la hotte. AVERTISSEMENT toute installation de vis et de dispositifs de fixation non conformes à ces instructions peut entraîner des risques de décharges électriques. - Ne pas observer directement avec des instruments optiques (jumelles, lentilles grossissantes...). - Ne flambez pas des mets sous la hotte : sous risque de développer un incendie. - Cet appareil peut être utilisé par des enfants de plus de 8 ans et par des personnes dont les capacités pourvu que ce soit sous la surveillance attentive d'une personne responsable et après avoir reçu des instructions sur la manière d'utiliser cet appareil en toute sécurité et sur les dangers que cela comporte. Assurez-vous que les enfants ne jouent pas avec cet appareil. Le nettoyage et l'entretien de la part de l'utilisateur ne doivent pas être effectués par des enfants, à moins qu'ils ne soient surveillés. - Surveillez les enfants. S'assurer qu'ils ne jouent pas avec l'appareil.
- Cet appareil n'est pas destiné à être utilisé par des personnes (enfants compris) dont les capacité à moins que celles-ci ne soient attentivement surveillées et instruites.
Les parties accessibles peuvent devenir très chaudes pendant l'utilisation des appareils de cuisson.
- Nettoyer et/ou remplacer les filtres après le début indiqué (DANGER d'incendie). Voir le paragraphe Nettoyage et Entretien.
- Veillez à ce que la pièce bénéficie d'une ventilation adéquate lorsque la hotte fonctionne en même temps que des appareils utilisant du gaz ou d'autres combustibles (non applicable aux appareils qui évacuent l'air uniquement dans la pièce).
- Le symbole marqué sur le produit ou sur son emballage indique que ce produit ne peut pas être éliminé comme déchet ménager normal. Lorsque ce produit doit être éliminé, veuillez le remettre à un centre de collecte prévu pour le recyclage du matériel électrique et électronique. En vous assurant que cet appareil est éliminé correctement, vous participez à prévenir des conséquences potentiellement négatives pour l'environnement et pour la santé, qui risqueraient de se ez acheté ce produit.

Composants
| Réf. | Q.té | Composants du produit |
| 1 | 1 | Corps de hotte équipé de : commandes, lumière, filtres, moteur. |
| 2 | 1 | Plaque support hotter |
| 3 | 4 | Vitres |
| Réf. | Q.té | Composants de l'installation |
| 11 | 4 | Chevilles Ø 10 |
| 12a | 4 | Vis 4,2 x 44,4 |
| 12b | 8 | Vis 4 x 8 |
| 12c | 8 | Écrous |
| 12d | 8 | Rondelles D.4,3 x 10 |
| Q.té | Documentation | |
| 1 | Manuel d'instructions |

Cette hotte est prévue pour être installée au plafond/étagère, au-dessus (650 mm min.) d'un plan de cuisson en filot en :
- Version aspirante: évacuation à l'extérieur.
- Version filtrante: recirculation intérieure.
Séquence des opérations d'installation
- Préparation à l'installation
- Perçage plafond/étagère et fixation plaque de support
- Connexions Montage du corps de hotte
- Contrôle fonctionnel
- Élimination des emballages

Ouverture de la plaque et préparation à son montage
- Desserrer les vis qui unissent la plaque à son couvercle.
- Prendre la plaque et la placer dans le sens correct comme indiqué dans la figure. Le cliquet doit se trouver en face de l'installateur.




Percage plafond/étagère
- À l'aide d'un fil à plomb, reporter sur le plafond/étagère de support le centre du plan de cuisson.
- Appuyer la plaque au plafond/étagère en veillant à la positionner dans le bon sens, comme indiqué dans la figure.
- Marquer les centres des trous de la plaque.
- Percer les points suivants:
- Plafond en béton massif : selon les chevilles pour béton employées.
- Plafond en béton et, chambre à air, avec une épaisseur résistante de 20 mm : percer à 10 mm (insérer tout de suite les chevilles 11 fournies).
- Plafond en poutres de bois : selon les vis pour bois employées (non fournies).
- Étagère en bois, avec une épaisseur résistante de 15mm : percer 7mm. Passage du câble électrique d'alimentation : percer 10 mm.
- Sortie air (version aspirante) : selon le diamètre de la liaison au tuyau de l'évacuation extérieure.
- Serrer en diagonale et en laissant 4 - 5 mm du plafond les deux vis :
- pour béton massif, les chevilles pour béton, non fournies.
- pour béton avec, chambre à air, avec une épaisseur résistante d'environ 20 mm, vis 12a fournies.
- pour poutres de bois, vis pour bois, non fournies.
- pour étagère de bois, vis avec rondelles et écrous non fournies.
Fixation PLAQUE
- Soulever la plaque de fixation, emboîter les trous sur les deux vis précédemment prévues au plafond et tourner jusqu'au centre du trou de réglage.
Attention: le sens de la plaque doit être celui indiqué dans la figure.
- Serrer les deux vis et visser les deux autres fournies ; avant de serrer définitivement les vis, vous pouvez effectuer des réglages en tournant la pièce, en faisant attention à ce que les vis ne sortent pas du siège du trou de réglage.
- La fixation doit être sûre aussi bien par rapport au poids de la hotte qu'aux contraintes provoquées par des poussées latérales occasionnelles lorsque l'appareil est monté. À la fin de la fixation, vérifier que la plaque est stable.
- Au cas où le plafond ne serait pas suffisamment robuste dans le point de suspension, l'installateur devra le renforcer à l'aide de plaques et de contreplaques opportunes ancrées aux parties structurellement résistantes.
- Vérifier le niveau de la plaque au plafond.


Connexion CABLES hotte-plaque
N. B. Avant de commencer l'installation, il est nécessaire d'amener la hotte à une hauteur d'au moins 650 mm du plan de cuisson, avec un support ou en se faisant aider par une autre personne. Prendre garde de ne pas dépasser la cote maximum d'extension de la hotte indiquée dans le croquis coté. Cette mesure est fondamentale, puisque les câbles de la hotte doivent être branchés à la plaque montée au plafond, il est impératif d'éviter que le poids de la hotte puisse peser sur la structure.
Le système de fixation des 4 câbles est formé de 3 parties :
- Cliquet filtré (a) déjà monté sur la plaque de plafond.
- Vis serre-câble (b) fournie.
- Pommeau de sécurité (c) fourni.

- Insérer le câble d'alimentation de la hotte dans le trou prévu sur le couvercle.
Attention: ne pas casser ni retirer le collier qui fixe le cable d'alimentation de la hotte.

- Passer les 4 câbles (accrochés au corps de hotte) dans les trous correspondants du couvercle de la hotte, précédemment déposé, en veillant à ce que le sens soit le même que celui de la plaque accrochée au plafond.

- Faire attention au sens d'orientation de la plaque fixée au plafond (le cliquet de fin de course de la plaque présente son trou correspondant sur le couvercle de la plaque et sur le corps de hotte).


Enfiler les pommeaux de sécurité (c) dans leurs câbles correspondants, en veillant à ce que le filetage soit orienté vers le haut. - Enfiler les vis serre-câble (b) dans leurs câbles respectifs.
- Faire passer les câbles dans les trous des cliquets filetés (a) et serrer les vis serre-câble (b) à ces mêmes cliquets.
- À la fin de l'opération, le résultat doit être celui représenté dans la figure pour tous les 4 câbles.


Mettre les câbles sous tension en les poussant vers le haut de manière à ce qu'ils coulissent dans la vis serre-câble et hors du trou du cliquet fileté.
Cela est possible, car le système présent dans la vis serre-câble permet au câble de coulisser dans un seul sens à son intérieur, en bloquant le coulissement dans l'autre sens.
Veiller à ce que les câbles aient tous la même longueur pour faciliter l'opération de nivellement final. Faire attention à ce que le câble avant gauche ne soit pas plus mou que les autres.
Nivellement de la HOTTE
- Il est nécessaire d'effectuer le nivellement du corps de hotte.
- Le nivellement de la hotte s'effectue en intervenant sur les cliquets de sécurité C. Appuyer un niveau sur la hotte.


- Pour « débloquer » le mouvement du câble, exercer une pression vers le haut, sur les pommeaux de sécurité. Insérer ou extraire le câble de la vis serre-câble pour effectuer les réglages qui permettent de niveler le corps mobile de la hotte.
- Après avoir nivelé la hotte selon nécessité, serrer les pommeaux de sécurité.
Attention :
- Vérifier que tous les 4 câbles de soutien sont tendus.
- Vérifier que tous les 4 câbles de soutien n'ont subi notamment dommage durant l'installation.
- N'oubliez pas que la distance minimum entre la hotte et le plan de cuisson de la cuisine doit être de 650 mm. Prendre garde de ne pas dépasser la cote maximum d'extension de la hotte indiquée dans le croquis coté.
SORTIE air version aspirante
Pour l'installation de la hotte version aspirante, voir les instructions continues dans le kit d'aspiration spécifique pour la hotte.
SORTIE De l'air version filtrante
- Ouvrir le groupe d'éclairage en le tirant sur l'encoche prévue à cet effet.
- Retirer le filtre à graisse. S'assurer de la présence des filtres anti-odeur à charbon actif.
Fixation du cable d'alimentation
- Tendre le câble d'alimentation et le fixer à la bride sur la plaque de plafond, en utilisant la languette déjà montée avec 2 vis.
- Emboîter le passe-câble en caoutchouc déjà enfilé sur le câble d'alimentation dans le trou, pour éviter tout endommagement futur.
- Brancher la hotte à l'alimentation de secteur en intercalant un interrupteur bipolaire ayant une ouverture des contacts d'au moins 3mm
- Retirer les filtres à graisse (voir par. « Entretien ») et s'assurer que le connecteur du câble d'alimentation est correctement branché dans la prise de l'aspirateur.
- À ce point, vous pouvez couper le collier qui bloque le câble d'alimentation au corps de hotte.

Montage du couvercle de la PLAQUE
- À l'aide des vis précédemment retirées, revisser le couvercle à la plaque.

Fixation des VITRES
Accrocher les 4 vitres au corps de hotte en enfilant les ailettes sur les trous prévus à cet effet. - Niveler les 4 vitres manuellement en effectuant de petits réglages sur ces mêmes vitres.

- En passant par la partie supérieure, fixer les 4 vitres avec les vis 12b et les rondelles 12d fournies, en vous assurant de conserver le nivellement entre elles.

- En passant par la partie inférieure, fixer définitivement les 4 vitres avec les écrous 12c fournis, en vous assurant de conserver le nivellement entre elles.


Attention
Vérifier que les vitres de la hotte sont parfaitement alignées et nivelées. Si cela n'est pas, vous pouvez effectuer des réglages en desserrant les écrous 12c ou les vis 12b de manière qu'en déplaçant les vitres, celles-ci s'alignent parfaitement.
Tableau des commandes

| Touche | Fonction | Affichage |
| L | Allume/Éteint les lumières | - |
| T1 | Hotte basseAppuyer pendant 2 secondes pour remonter la hotte.Appui bref On/Off moteur | Branché/Débranché |
| Hotte hautePremier appui : La hotte descend.Deuxième appui : Stop hotte.A la fin du mouvement, le moteur se branche à la deuxième vitesse. | Débranché/Débranché |
L'électronique reconnaît deux types d'anomalies et donne le signal correspondant
| Led T1 | |
| Clignotement lent | Dépassement du seuil d'absorption de courant: En présence d'une condition de surcharge, l'anomalie est signalée par le clignotement, toutes les 2 secondes, de la led T1 située sur le clavier. Vérifier l'absence de tout empêchement durant le mouvement de la hotte. Ce signalement demeure actif jusqu'à ce qu'une nouvelle commande d'ouverture/fermeture de la hotte soit donnée. |
| Clignotement rapide | Intervention du microswitch de sécurité en ouverture: En cas d'intervention du microswitch de sécurité, l'anomalie est signalée par le clignotement rapide de la led T1 (toutes les 250ms), indiquant que la hotte a dépassé le fin de course...... Contacter le service après vente! En présence de cette anomalie, l'accès aux fonctions de la hotte (lumières et moteur) est toujours possible. Si le moteur est branché, la led T1 continuera à clignoter, signalant que l'anomalie est always présente. |
Telecommande
Cet appareil peut être commandé via une télécommande, alimentée avec une batterie 3 V type CR2032 (non fournie).
- Ne pas ranger la commande à proximité de sources de chaleur.
- Ne pas jeter les batteries dans la nature, mais les déposer dans les bornes de collecte.

Tableau des commandes

| Branche/Débranche le moteur. | - | ||
| Hotte fermée: - En appuyant brievement sur la touche la hotte commence à descendre - A la pression suivante, elle s'arrête. Lorsque le mouvement est terminé, le moteur se branche à la 2ème vi-tesse. | - | ||
| Hotte ouverte: - Appuyer pendant 2 secondes pour activer le mouvement de remon-tée qui s'arrête avec le fin de course. - Appuyer (brièvement) pour arrêtier le mouvement (avant le fin de course). - Appuyer encore brievement, on/off moteur. - Garder appuyé pendant 2 secondes pour activer le mouvement de re-montée. - Si le moteur est branché, d'abord le moteur s'arrêté, puis le moteur démarre. | - | ||
| % | - | - | |
| Branche/Débranche les lumières de la hotte. | - | ||
| INTENSIVE - Activable seulement lorsque la hotte est descendue et lorsque le delay ou le 24h ne sont pas actifs. - Active la vitesse intensive à partir de n'importequelle vitesse. Pour la débrancher, appuyer de nouveau sur cette même touche ou éteindre le moteur. - La vitesse intensive est temporisée à 6 minutes. À la fin des 6 minu-tes le système returne automatiquement à la vitesse précédemment programmée. | La led présente sur la touche moteur (des commandes hotter) clignote 1 fois par seconde). | ||
| Appuyer brievement sur la fonction Delay: Activable seulement lorsque l'Intensive ou le 24h ne sont pas actifs. Branche et débranche le mode d'arrêt total de la hotte (mo-teur+lumières) après 30 minutes. Pour invalider le Delay, appuyer de nouveau sur la même touche ou éteindre le moteur. | La led présente sur la touche moteur (des commandes hotter) clignote tous-tes les 0,5 seconde). | ||
| Appuyer pendant 2 sec sur la fonction 24h: Activable seulement lorsque l'Intensive ou le Delay ne sont pas actifs. Branche et débranche la fonction 24 pendant 10 minutes par heures, pendant 24 heures. À l'expiration, la fonction se désactive. | La led présente sur la touche moteur (des commandes hotter) clignote tous-tes les 2 secondes). | ||
| + | Augmente la vitesse du moteur. | - | |
| = | Diminue la vitesse du moteur. | - | |
Filtre à graisse métallique
Il est lavable même au lave-vaiselle. Il doit être lavé environ tous les 2 mois d'utilisation ou plus fréquemment en cas d'utilisation particulièrement intensive.
Nettoyage FILTR a graisse metallique
- Ouvrir le groupe d'éclairage en le tirant sur l'encoche prévue à cet effet.
- Retirer le filtre, en le poussant vers l'arrière du groupe, tout en tirant en même temps vers le bas.
- Laver le filtre en évitant de le plier et le laisser sécher avant de le remonter.
- Le remonter en veillant à ce que la poignée soit toujours vers la partie visible externe.
- Refermer le groupe d'éclairage.

Filtres anti-odeur à charbon actif (version filtrante)
Il n'est ni livrable ni régénérable, le remplacer après environ 4 mois d'utilisation ou plus fréquemment en cas d'utilisation particulièrement intense.
Reemplacement
Ouvrir le groupe d'éclairage. - Retirer le filtre àGRAISE. - Enlever les filtres anti-odeur à charbon actif saturés, comme indiqué (A). - Monter les nouveaux filtres, comme indiqué (B). - Remonter le filtre àGRAISSE et le groupe d'éclairage.

Éclairage
- Pour le remplacement, contacter le Service après-vente (« Pour l'achat, s'adresser au service après-vente »).

Procédure d'intervention en cas d'anomalies sur le mouvement
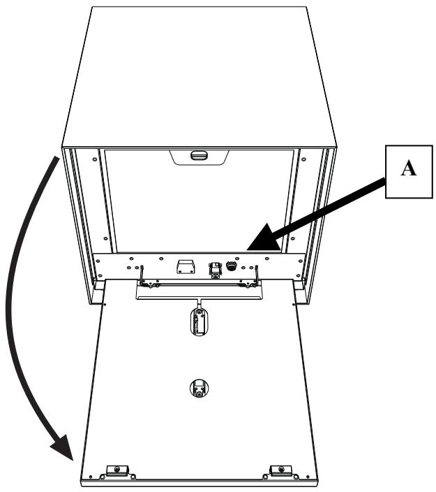
- Vérifier que le fusible est correctement inséré et qu'il n'est pas brûlé. En cas de nécessité de remplacement, ouvrir le groupe d'éclairage et desserrer le portefusible visible sur la gauche du groupe moteur, en le remplaçant par un autre fusible ayant les mêmes caractéristiques (Réf. A).
- Vérifier que le corps de hotte est installé à niveau (l'utilisation d'un niveau est conseillée).
- Vérifier que les quatre câbles sont tendus, tous les quatre, de la même manière.
Si les actions précédentes n'ont pas résolu le problème, contacter le service après-vente.
(1)
Notice Facile