BCB331011M - Réfrigérateur combiné AEG-ELECTROLUX - Notice d'utilisation et mode d'emploi gratuit
Retrouvez gratuitement la notice de l'appareil BCB331011M AEG-ELECTROLUX au format PDF.
| Type d'appareil | Four encastrable |
| Capacité | Non précisé |
| Type de cuisson | Chaleur tournante, convection naturelle |
| Puissance maximale | Non précisé |
| Nombre de fonctions | Plusieurs fonctions de cuisson |
| Type de commande | Manettes et/ou boutons |
| Affichage | Non précisé |
| Type de porte | Porte vitrée avec poignée |
| Nettoyage | Non précisé (probablement pyrolyse ou catalyse) |
| Consommation énergétique | Non précisé |
| Dimensions (HxLxP) | Non précisé |
| Poids | Non précisé |
| Couleur | Acier inoxydable ou noir |
| Accessoires inclus | Grille, lèchefrite |
| Sécurité | Verrouillage enfant possible |
FOIRE AUX QUESTIONS - BCB331011M AEG-ELECTROLUX
Questions des utilisateurs sur BCB331011M AEG-ELECTROLUX
0 question sur cet appareil. Repondez a celles que vous connaissez ou posez la votre.
Poser une nouvelle question sur cet appareil
Téléchargez la notice de votre Réfrigérateur combiné au format PDF gratuitement ! Retrouvez votre notice BCB331011M - AEG-ELECTROLUX et reprennez votre appareil électronique en main. Sur cette page sont publiés tous les documents nécessaires à l'utilisation de votre appareil BCB331011M de la marque AEG-ELECTROLUX.
MODE D'EMPLOI BCB331011M AEG-ELECTROLUX
Merci d'avoir choisi ce produit AEG. Nous l'avons conçu pour qu'il vous offre des performances irréprochables pendant de nombreuses années, en intégrant des technologies innovantes vous simplifierant la vie - fonctions que vous ne trouverez peut-être pas sur des appareils ordinaires. Veuillez prendre quelques instants pour dire cette notice afin d'utiliser au mieux votre apparéil.
Consultez notre site pour :

Obtenir des conseils d'utilisation, des brochures, un dépanneur, des informations sur le service et les réparations :
www.aeg.com/support
Enregistrer votre produit pour un meilleur service :
www.registeraeg.com


Acheter des accessoires, consommables et pièces de rechange d'origine pour votre apparéil :
www.aeg.com/shop
SERVICE ET ASSISTANCE À LA CLIENTÉLE
N'utilisez que des pieces de rechange d'origine.
Avant de contacter notre centre de service agreeé, assurez-vous de/disposer des informations suivantes : Modèle, PNC, numéro de série.
Ces informations figurent sur la plaque signalétique.
Avertissement/Consignes de sécurité
Informations generales et conseils
Informations environnementales
Sousreserve de modifications.
TABLE DES MATIÈRES
- INFORMATION SUR LA SECURITE 3
- CONSIGNES DE SECURITE 4
- INSTALLATION 7
4.DESCRIPTION DE L'APPAREIL 9
5.BANDEAU DE COMMANDE 9 - AVANT LA PREMIÈRE UTILISATION 10
- UTILISATION QUOTIDIENNE 10
- FONCTIONS DE L'HORLOGE 12
- UTILISATION DES ACCESSOIRES 13
- FONCTIONS SUPPLEMENTAIRES 14
- CONSEILS ET ASTUCES 14
- ENTRETIEN ET NETTOYAGE 23
- DEPANNAGE 26
- RENDEMENT ÉNERGÉTIQUE 27
- EN MATIÈRE DE PROTECTION DE L'ENVIRONNEMENT 28
1. INFORMATION SUR LA SECURITE
Avant d'instructor et d'utiliser cet apparéil, lisez soigneusement les instructions fournies. Le fabricant ne pourra être tenu pour responsable des blessures et dégâtés resultant d'une mauvaise installation ou utilisation. Conservez toujours les instructions dans un lieu sur et accessible pour vous y référer ultérieurement.
1.1 Sécurité des enfants et des personnes vulnérables
- Cet apparéil peut être utilisé par des enfants âgés d'au moins 8 ans et par des personnes ayant des capacité physiques, sensorielles ou mentales réduites ou dénuées d'expérience ou de connaissance, s'ils sont correctement surveillés ou si des instructions relatives à l'utilisation de l' apparéil en toute sécurité leur ont été données et s'ils comprendtent les risques encourus. Les enfants de moins de 8 ans et les personnes ayant un handicap très important et complexe doivent être tenus à l'écart de l' apparéil, à moins d'être surveillés en permanence.
Veillez à ce que les enfants ne jouent pas avec l'appareil. - Ne laisserez pas les emballages à la portée des enfants et jetez-les convenablement.
- AVERTISSEMENT : tenez les enfants et les animaux éloignés de l'appareil lorsqu'il est en cours de fonctionnement ou lorsqu'il refroidit. Les parties accessibles deviennent chaudes en cours d'utilisation.
- Si l'appareil est équipé d'un dispositif de sécurité enfants, nous vous recommendons de l'activer.
- Le nettoyage et l'entretien par l'usage ne doit pas etre effectués par des enfants sans surveillance.
1.2 Sécurité générale
-
Cet apparéil doit être installé et le cable remplace unquètement par un professionnel qualifié.
-
N'utilisez pas l'appareil avant de l'avoir installé dans la structure encastrée.
- Débranche l'appareil de l'alimentation électrique avant toute opération d'entretien.
- Si le cable d'alimentation est endommagé, il doit être remplaçé par le fabricant, un service de maintenance agrée ou un technicien qualifié afin d'éviter tout danger lié à l'électricité.
- AVERTISSEMENT: Assurez-vous que l'appareil est étéint et débranché avant de replacer l'éclairage afin d'eviter tout risque de chocolélectrique.
- AVERTISSEMENT: L'appareil et ses parties accessibles deviennent chauds pendant son fonctionnement. Veillez à ne pas toucher les éléments chauffants.
Utilisez toujours des gants de cuisine pour retarder ou enfoirner des accessoires ou des plats allant au four. - Pour-retirer les supports de grille, tirez d'abord sur l'avant de ceux-ci, puis sur l'arrière, pour les écarter des parois extérieures. Réinstallez les supports de grille en repétant cette procédure dans l'ordre inverse.
- N'utilisez pas de nettoyeur vapeur pour nettoyer l'appareil.
- N'utilisez pas de produits abrasifs ni de racloirs pointus en métal pour nettoyer la porte en verre car ils peuvent rayer sa surface, ce qui peut briser le verre.
2. CONSIGNES DE SECURITÉ
2.1 Installation

AVERTISSEMENT!
L'appareil doit être installé uniquement par un professionnel qualifié.
- Retirez l'intégralité de l'emballage.
- N'installez pas et ne branchez pas un apparéil endommagé.
- Suivez scrupuleusement les instructions d'installation fournies avec l'appareil.
- Soyez toujours vigilants lorsque vous déplacez l'appareil car il est lourd. Utilisez
toujours des gants de sécurité et des chaussures fermées.
- Ne tirez jamais l'appareil par la poignée.
- Installez l'appareil dans un lieu sur et adapté répondant aux exigences d'installation.
- Respectez l'espacement minimal requis par rapport aux autres apparéils et éléments.
Avant de monter l'appareil, vérifiez si la portedu four s'ouvre sans retenue. - L'appareil est équipé d'un système de refroidissement électrique. Il doit être utilisé avec l'alimentation électrique.
| Hauteur minimale du meublen (Hauteur minimale du meublesous le plan de tr'avail) | 590 (600) mm |
| Largeur du meuble | 560 mm |
| Profondeur du meuble | 550 (550) mm |
| Hauteur de l'avant de l'ap-pareil | 594 mm |
| Hauteur de l'arrière de l'ap-pareil | 576 mm |
| Largeur de l'avant de l'ap-pareil | 595 mm |
| Largeur de l'arrière de l'ap-pareil | 559 mm |
| Profondeur de l'appareil | 569 mm |
| Profondeur d'encastrementde l'appareil | 548 mm |
| Profondeur avec porto ou-verte | 1022 mm |
| Dimensions minimales del'ouverture de ventilation.Ouverture placée sur lapartie inférieure de la facearrière | 560x20 mm |
| Longueur du câble d'alienation secteur. Le câble est placédans le coindroit de la face arrière | 1500 mm |
| Vis de montage | 4x25 mm |
2.2 Branchement électrique

AVERTISSEMENT!
Risque d'incendie ou d'électrocution.
- Tous les raccordements électriques doivent être effectuels par un électricien qualifié.
L'appareil doit etre relié à la terre.
Assurez-vous que les paramètres figurant sur la plaque signalétique correspondent aux données électriques nominale de l'alimentation secteur.
Utilisez toujours une prise de courant de sécurité correctement installée. - N'utilisez pas d'adaptateurs multisrpise et de rallonges.
Veillez à ne pas endommager la fiche secteur ni le cable d'alimentation. Le remplacement du cable d'alimentation de l'appareil doit être effectué par notre service après-vente agréé.
- Ne laissiez pas les cables d'alimentation entre en contact ou s'approcher de la porte de l'appareil ou de la niche d'encastrement sous l'appareil, particulièrement lorsqu'il est en marche ou que la porte est chaude.
- La protection contre les chocs des parties sous tension et isolées doit être fixée de telle manière qu'elle ne puisse pas'être enlevée sans outils.
- Ne branche la fiche secteur dans la prise secteur qu'a la fin de l'installation. Assurez-vous que la prise secteur est accessible après l'installation.
- Si la prise secteur est détachée, ne branchez pas la fiche secteur.
- Ne tirez pas sur le cable secteur pour débrancher l'appareil. Tirez toujours sur la fiche de la prise secteur.
- N'utilisez que des systèmes d'iso1ation appropriés : des coupe-circuits, des fusibles (les fusibles à visser doivent être reliérés du support), un disjoncteur différentiel et des contacteurs.
- L'installation électrique doit composer un dispositif d'isoaction qui vous permet de déconnecter l'appareil du secteur à tous les pôles. Le dispositif d'isolement doit avoir une largeur d'ouverture de contact de 3 mm minimum.
- Cet apparéil est fourni avec une fiche électrique et un cable d'alimentation.
Types de cables compatibles pour l'installation ou le remplacement pour l'Europe :
H07 RN-F, H05 RN-F, H05 RRF, H05 VV-F, H05 V2V2-F (T90), H05 BB-F
Pour la section du cable, consultez la puissance totale sur la plaque signalétique. Vous pouvez également consulter le tableau :
Puisance totale (W) Section du cable (mm^2)
| maximum 1 380 | 3 x 0.75 |
| Puisance totale (W) | Section du cable(mm2) |
| maximum 2 300 | 3 x 1 |
| maximum 3 680 | 3 x 1.5 |
Le fil de terre (câble vert/jaune) doit être 2 cm plus long que les câbles de phase et neutre (câbles bleu et marron).
2.3 Utilisation

AVERTISSEMENT!
Risque de blessures, de brûlures, d'électrocution ou d'explosion.
- Cet apparéil est exclusivement à usage domestique (en intérieur).
- Ne modifies pas les specifications de cet apparéil.
Assurez-vous que les orifices d'expiration ne sont pas obstrués. - Ne laïsez pas l'appareil sans surveillance durant son fonctionnement.
- Éteignez l'appareil après chaque utilisation.
- Soyez prudent lors de l'ouverture de la porte de l'appareil lorsque celui-ci fonctionne. De l'air chaud peut se dégager.
- N'utilisez pas l'appareil avec des mains mouillées ou en contact avec de l'eau.
- N'exercez pas de pression sur la porte ouverte.
- N'utilise pas l'appareil comme plan de travail ou comme espace de rangement.
- Ouvrez la porte de l'appareil avec précaution. L'utilisation d'ingréductents avec de l'alcool peut provoquer un mélange d'alcool et d'air.
- Ne laissez pas des étincelles ou des flammes{nues entrer en contact avec l'appareil lorsque vous ouvrez la porte.
- Ne placez pas de produits inflammables ou d' éléments imbibés de produits inflammables à l'intérieur, à proximité ou au-dessus de l'appareil.

AVERTISSEMENT!
Risque d'endommagement de l'appareil.
Pour éviter tout endommagement ou décoloration de l'email :
- ne posez pas de plats allant au four ou d'autres objets directement dans le fond de l'appareil.
- ne placez jamais de feuilles d'aluminium directement sur le fond de la cavité de l'appareil.
- ne versez pas d'eau directement dans l'appareil chaud.
- ne conservez pas de plats et de nourriture humides dans l'appareil après avoir terminé la cuisson.
- Installez ou retirez les accessoires avec précautions.
La décoloration de l'émail ou de l'acier inoxydable est sans effet sur les performances de l'appareil.
Utilisez un plat à rôtir pour des gâteaux moelleux. Les jus de fruits provoquent des taches qui peuvent être permanentes.
- Cet apparéil est exclusivement destiné à un usage culinaire. Il ne doit pas être utilisé à autres fins, par exemple pour chauffer unepiece.
Cuisinez toujours avec la porte du four fermée.
Si l'appareil est installe derriere la paroi d'un meuble (par ex. une porte), veuillez a ce que la porte ne soit jamais fermée lorsque l'appareil fonctionne. La chaleur et l'humidite peuvent s'accumuler derriere la porte fermée du meuble et provoquer d'importants dégats sur l'appareil, votre logement ou le sol. Ne fermez pas la paroi du meuble tant que l'appareil n'a pas refroidi complètement.
2.4 Entretien et Nettoyage

AVERTISSEMENT!
Risque de blessure, d'incendie ou de dommages matériels sur l'appareil.
- Avant toute opération d'entretien, éteignez l'appareil et débranchez la fiche de la prise secteur.
- Vérifiez que l'appareil est froid. Les panneaux de verre risquent de se briser.
-
Remplacez immédiatement les vitres de la porte si elles sont endommagées. Contactez le service après-vente agrée.
-
Soyez prudent lorsque vous retirez la porte de l'appareil. La porte est lourde!
Nettoyez régulièrement l'appareil afin de maintainir le revêtement en bon état. - Nettoyez l'appareil avec un chiffon doux humide. Utilisez uniquement des produits de lavage neutres. N'utilisez pas de produits abrasifs, de tampons à récurer, de solvants ni d'objets métalliques.
- Si vous utilisez un spray pour four, suivez les consignes de sécurité figurant sur son emballage.
- Ne nettoyez pas l'émail catalytique avec des détergents.
2.5 Éclairage interieur

AVERTISSEMENT! Risque d'electrocution !
- Concernant la/les lampe(s) à l'intérieur de ce produit et les lampes de rechange vendues séparément: Ces lampes sont conçues pour résister à des conditions physiques extrêmes dans les apparils électroménagers, telles que la température, les vibrations, l'humidité, ou sont conçues pour signaler des informations sur le statut opérationnel de l'appareil. Elles ne sont pas destinées à
3. INSTALLATION

AVERTISSEMENT!
Reportez-vous aux chapitres concernant la sécurité.
etre utilisées dans d'autres applications et ne convennent pas à l'éclairage des pieces d'un logement.
Utilisez uniquement des ampoules ayant les mêmes specifications.
2.6 Maintenance
Pour réparer l'appareil, contactez un service après-vente/agréé.
Utilisez exclusivement des pieces d'origine.
2.7 Mise au rebut

AVERTISSEMENT! Risque de blessure ou d'asphyxie.
- Contactez votre service municipal pour obtenir des informations sur la marche à suivre pourmettre l'appareil au rebut.
- Débranche l'appareil de l'alimentation électrique.
- Coupez le cable d'alimentation au ras de l'appareil et mettez-le au rebut.
- Retirez le dispositif de verrouillage du hublot pour empêcher les jeunes et les animaux de s'enfermer dans l'appareil.
3.1 Encastrement

YouTube
www.youtube.com/electrolux
www.youtube.com/aeg
3.2 Fixation du four au meuble

4. DESCRIPTION DE L'APPAREIL
4.1 Vue d'ensemble

4.2 Accessoires
Grille métallique Pour les plats à roti, à gratin et les moules à gâteau/pâtisserie.
- Plat multi-uses
1 Bandeau de commande
2 Manette de selection des modes de cuisson
3 Voyant / symbole de mise sous tension
4 Affichage
5 Thermostat
6 Indicateur / symbole de température
7 Élement chauffant
8 Éclairage
9 Ventilateur
Support de grille, amovable
1 Position des grilles
Pour les gâteaux et les biscuits. Pour cuire et griller ou à utiliser comme plat pour recueillir laGRAisse.
5. BANDEAU DE COMMANDE
5.1 Manettes rétractables
Pour utiliser l'appareil, appuyez sur la manette. La manette sort alors de son logement.
| — | Pour régler l'hourre. |
| ① | Pour régler une fonction de l'horloge. |
| + | Pour régler l'hourre. |
5.3 Affichage

A. Fonctions de l'horloge
B. Minuteur
6. AVANT LA PREMIÈRE UTILISATION

AVERTISSEMENT!
Reportez-vous aux chapitres
concernant la sécurité.
6.1 Avant la première utilisation
Une odeur et de la fumée peuvent s'échapper du four durant le préchauffage. Assurez-vous que la pièce est ventilée.

Étape 1

Étape 2

Étape 3
| Réglez l'horloge. | Nettoyez le four | Préchauffez le four à vide | ||
| 1. | - appuyez pour régler l'heure. Àprouès environ 5 s, le symbole)cesse de clignoter et l'heure s'affiche. | 1. Retirez du four les accessoires et les supports de grille amovi-bles. | 1. Réglez la température maxima-le pour la fonction : Durée : 1 h. | 2. Réglez la température maxima-le pour la fonction : Durée : 15 min. |
| 2. Nettoyez le four et les accessoires avec un chiffon doux, de l'eau tiède et un détergent doux. | 3. Réglez la température maxima-le pour la fonction : Durée : 15 min. | |||
Eteignez le four et attendez qu'il soit froid. Placez les accessoires et les supports de grille amovibles dans le four.
7. UTILISATION QUOTIDIENNE

AVERTISSEMENT!
Reportez-vous aux chapitres
concernant la sécurité.
7.1 Comment régler : Mode de cuisson
Étape 1 Tournez la manette des modes de cuisson pour sélectionner un mode de cuisson.
Étape 2 Tournez la manette pour sélectionner la température.
Étape 3 Une fois la cuisson terminée, tournez les manettes sur la position Arrêt pour être indre le four.
7.2 Modes de cuisson
Mode de cuisson
Application
Le four est eteint.
Position Arrêt

Chaleur tournante
Pour faire cuire sur 3 niveaux en même temps et pour secher des alimentés.
Diminuées les températures de 20 à 40^ par rapport à la Chauffage Haut/Bas.

Chaleur tournante humide
Cette fonction est concise pour economiser de l'énergie en cours de cuisson. Lorsque vous utilise cette fonction, la temperature à l'intérieur de la cavité peut différer de la temperature sélectionnée. La puissance peut être réduite. Pour plus d'informations, consultez la partie sur les remarques du chapitre « Utilisation quotidienne ». Chaleur tournante humide.

Décongélation
Pour décongeler des alimentés (fruits et légumes). Le temps de décongélation dépend de la quantité et de la grosseur des plats surgelés.
Mode de cui- Application son

Grid
Pour faire griller des aliments peu écais et du pain.

Gril rapide
Pour faire griller des alimentés peu écais en grandes quantités et pour griller du pain.

Fonction Pizza
Pour cuire des pizzas. Pour faire dorer de façon intensive et obtenir un dessous croustillant.

Chauffage Haut/ Bas / Catalyse
Pour cuire et rôtir des alimentés sur un seul niveau.
Reportez-vous au chapitre « Entretien et nettoyage » pour obtenir plus d'informations sur le nettoyage catalytique.
7.3 Remarques sur : Chaleur tournante humide
Cette fonction était utilisée pour se conformer à la classe d'efficacité énergétique et aux exigences Ecodesign selon les normes EU 65/2014 et UE 66/2014. Tests conformément à la norme EN 60350-1.
La porte du four doit être fermée pendant la cuisson pour que la fonction ne soit pas interrompue et que le four fonctionne avec la plus grande efficacité énergétique possible.
Pour consulter les instructions de cuisson, reportez-vous au chapitre « Conseils », Chaleur tournante humide. Pour obtenir des recommendations générales sur l'économie d'énergie, reportez-vous au chapitre « Éfficacité énergétique », « Économie d'énergie »
8. FONCTIONS DE L'HORLOGE
8.1 Fonctions de l'horloge
| Fonction de l'horloge | Utilisation |
| Heure | Pour régler, changer ou vérifier l'hour. |
| Durée | Pour régler la durée de fonctionnement du four. |
| Minuteur | Pour régler la minuteorie. Cette fonction est sans effet sur le fonctionnement du four. Vous pouvez régler cette fonction à tout moment, même quand le four est étient. |
8.2 Comment régler : Fonctions de l'horloge
Comment régler: Heure
- clignote lorsque vous branchez le four à l'alimentation électrique, lorsqu'il y a eu une coupure de courant ou que le minuteur n'est pas réglé.
十一-appuyez pour régler l'heure.
Après environ 5 s, le symbole cessé de clignoter et l'heure s'affiche.
Comment modifier:Heure
Étape 1 ① - appuyez à plusieurs reprises pour modifier l'heure actuelle. ② - commence à clignoter.
Étape 2 +, — appuyez pour régler l'heure.
Après environ 5 s, le symbole)cesse de clignoter et l'houre s'affiche.
Comment régler:Durée
Étape 1 Sélectionnéz la fonction et la température du four.
Étape 2 - appuyez à plusieurs reprises. ||_- commence à clignoter.
Étape 3 +, - appuyez pour régler la durée.
L'affichage indique: | |
- clignote lorsque la durée définie est ecoulée. Le signal sonore retentit et le four s'eteint.
Étape 4 Appuyez sur n'importe qu'elle touche pour arrêter le signal sonore.
Étape 5 Tournez la manette sur la position Arrêt.
Comment régler : Minuteur
Étape 1 - appuyez à plusieurs reprises. - commence à clignoter.
Étape 2 +, — appuyez pour régler l'heure.
La fonction démarre automatique au bout de 5 s.
Lorsque la durée définie s'est écoulée, un signal sonore retentit.
Étape 3 Appuyez sur n'importe qu'elle touche pour arrêté le signal sonore.
Étape 4 Tournez la manette sur la position Arrêt.
Comment annuler : Fonctions de l'horloge
Etape 1 - appuyez plusieurs fois jusqu'à ce que le symbole de la fonction horloge se mette à clignoter.
Étape 2 Maintenez la touche —.
La fonction horloge est désactivée au bout de quelques secondes.
9. UTILISATION DES ACCESSOIRES

AVERTISSEMENT!
Reportez-vous aux chapitres concernant la sécurité.
9.1 Insertion des accessoires
Une petite indentation sur le dessus apporte plus de sécurité. Les indentations sont
égarlement des dispositifs anti-bascule. Le rebord élevé de la grille empêche les ustensiles de cuisine de glisser.
Grille métallique:
Poussez la grille entre les barres de guidage des supports de grille et assurez-vous que les pieds sont orientés vers le bas.

Lèchefrite:
Poussez le plateau entre les rails du support de grille.

Grille métallique, Lèchefrite:
Poussez le plateau entre les rails du support de grille et glissez la grille métallique entre les rails se trouvant juste au-dessus.

10. FONCTIONS SUPPLEMENTAIRES
10.1 Ventilateur de refroidissement
Lorsque le four fonctionne, le ventilateur de refroidissement se met automatiquement en marche pour refroidir les surfaces du four. Si vous éteignez le four, le ventilateur de refroidissement continue à fonctionner jusqu'à ce que le four refroidisse.
10.2 Thermostat de sécurité
Un mauvais fonctionnement du four ou des composants défectueux peuvent cause une
surchauffe dangereuse. Pour éviter cela, le four dispose d'un thermostat de sécurité interrompant l'alimentation électrique. Le four se remet automatiquement en fonctionnement lorsque la température baisse.
Reportez-vous aux chapitres concernant la sécurité.
11.1 Consels de cuisson
Le four dispose de cinq niveaux de grille.
Comptez les niveaux de grille à partir du bas du four.
Votre four peut cuire les alimentes d'une maniere complètement différente de celle de votre ancien four. Les tableaux ci-dessous vous indiquent les réglages standard pour la température, le temps de cuisson et le niveau du four.
Si vous ne trouvez pas les réglages appropriés pour une recette spécifique,cherche-en une qui s'en rapproche.
Le four est doté d'un système spécial qui permet à l'air de circuler et qui recycle perpétuelles le vapeur. Dans cet environnement, ce système permet de cuisiner des plats tout en maintainant ceux-ci tendres à l'intérieur et croquants à l'extérieur. Le temps de cuisson et la consommation énergétique sont donc réduits.
Cuisson de gâteaux
N'ouvre la porte du four qu'aux 3/4 du temps de cuisson défini.
Si vous utilisez deux plaques de cuisson en même temps, laissez un niveau libre entre les deux.
La fonction Convection naturelle avec la température par défaut est idéale pour cuire du pain.
Cuisson de viande et de poisson
Pour les alimentés très gras, utilisez un plat à rôtir pour éviter de salir le four de manière irréversible.
Avant de couper la viande, laissez-la reposer pendant environ 15 minutes afin d'eviter que le jus ne s'écoule.
Pour éviter qu'une trop grande quantité de fumée ne se forme dans le four, ajoutez de l'eau dans le plat à rôtir. Pour éviter que la fumée ne se condense, ajoutez à nouveau de l'eau dans le plat à rôtir à chaque fois qu'il n'en contient plus.
Temps de cuisson
Le temps de cuisson varie selon le type d'aliment, sa consistance et son volume.
Au départ, surveillez la cuisson lorsque vous cuisine. Ainsi, vous trouvrez les mêleurs réglages (fonction, temps de cuisson, etc.) pour vos ustensiles, vos recettes et les quantités lorsque vous utiliserez l'appareil.
11.2 Rôtissage et cuisson
| TEAUX GÂ- | Chauffage Haut/ Bas | Chaleur tournante | (min) | |||
| (°C) | (°C) | (°C) | (°C) | |||
| Recettes avec un fouet | 170 | 2 | 160 | 3 (2 et 4) | 45 - 60 | Moule à gâteau |
| Pâté sblée | 170 | 2 | 160 | 3 (2 et 4) | 20 - 30 | Moule à gâteau |
| Cheesecake au babeurre | 170 | 1 | 165 | 2 | 60 - 80 | Moule à gâteau, Ø 26 cm |
| Strudel | 175 | 3 | 150 | 2 | 60 - 80 | Plateau de cuisson |
| Tarte à la confiture | 170 | 2 | 165 | 2 | 30 - 40 | Moule à gâteau, Ø 26 cm |
| Gâteau de Noël, préchauffer le four à vide | 160 | 2 | 150 | 2 | 90 - 120 | Moule à gâteau, Ø 20 cm |
| Gâteau aux prunes, préchauffer le four à vide | 175 | 1 | 160 | 2 | 50 - 60 | Moule à pain |
| Muffins | 170 | 3 | 140 - 150 | 3 | 20 - 30 | Plateau de cuisson |
Préchauffez le four à vide.
| TEAUX GÂ- | Chauffage Haut/ Bas | Chaleur tournante | (min) | |||
| (°C) | (°C) | (°C) | (°C) | |||
| Muffins, deux ni-veaux | - | - | 140 - 150 | 2 et 4 | 25 - 35 | Plateau de cuisson |
| Muffins, trois ni-veaux | - | - | 140 - 150 | 1, 3 et 5 | 30 - 45 | Plateau de cuisson |
| Biscuits | 140 | 3 | 140 - 150 | 3 | 30 - 35 | Plateau de cuisson |
| Biscuits, deux ni-veaux | - | - | 140 - 150 | 2 et 4 | 35 - 40 | Plateau de cuisson |
| Biscuits, trois ni-veaux | - | - | 140 - 150 | 1, 3 et 5 | 35 - 45 | Plateau de cuisson |
| Meringues | 120 | 3 | 120 | 3 | 80 - 100 | Plateau de cuisson |
| Meringues, deux niveaux, préchauf-fer le four à vide | - | - | 120 | 2 et 4 | 80 - 100 | Plateau de cuisson |
| Petits pains, préchauffer le four à vide | 190 | 3 | 190 | 3 | 12 - 20 | Plateau de cuisson |
| Éclairs | 190 | 3 | 170 | 3 | 25 - 35 | Plateau de cuisson |
| Éclairs, deux ni-veaux | - | - | 170 | 2 et 4 | 35 - 45 | Plateau de cuisson |
| Tartes sur plateau | 180 | 2 | 170 | 2 | 45 - 70 | Moule à gâ-teau, Ø 20 cm |
| Gâteau avec beaucoup de fruits | 160 | 1 | 150 | 2 | 110 - 120 | Moule à gâ-teau, Ø 24 cm |
| PAIN ET PIZZA | Chauffage Haut/ Bas | Chaleur tournante | (min) | i | ||
| (°C) | ← | (°C) | ← | |||
| Pain blanc, 1 à 2 pièces, 0,5 kg chacune | 190 | 1 | 190 | 1 | 60 - 70 | - |
| Pain de seigle, le préchauffage n'est pas nécessaire | 190 | 1 | 180 | 1 | 30 - 45 | Moule à pain |
| Petits pains, 6 - 8 pe-tits pains | 190 | 2 | 180 | 2 (2 et 4) | 25 - 40 | Plateau de cuisson |
| PIZZA | PAIN ET | Chauffage Haut/ Bas | Chaleur tournante | (min) | i | ||
| (°C) | (°C) | (°C) | (°C) | ||||
| Pizza | 230 - 250 | 1 | 230 - 250 | 1 | 10 - 20 | Plaque émail-lée | |
| Scones | 200 | 3 | 190 | 3 | 10 - 20 | Plateau de cuisson | |
Prechauffez le four à vide.
Utilisez le moule à gâteaux.
| PREPARATIONS À BASE D'OEUS | Chauffage Haut/ Bas | Chaleur tournante | (min) | ||
| (°C) | ← | (°C) | ← | ||
| Flan de pâtes, le préchauffage n'est pas nécessaire | 200 | 2 | 180 | 2 | 40 - 50 |
| Flan de légumes, le préchauffa- ge n'est pas nécessaire | 200 | 2 | 175 | 2 | 45 - 60 |
| Quiches | 180 | 1 | 180 | 1 | 50 - 60 |
| Lasagne | 180 - 190 | 2 | 180 - 190 | 2 | 25 - 40 |
| Cannellonis | 180 - 190 | 2 | 180 - 190 | 2 | 25 - 40 |
Utilisez le deuxième niveau de la grille.
Utilisez la grille métallique.
| VIANDE | Chauffage Haut/ Bas (℃) | Chaleur tournan- te (℃) | (min) | ||
| Bœuf | 200 | 190 | 50 - 70 | ||
| Porc | 180 | 180 | 90 - 120 | ||
| Veau | 190 | 175 | 90 - 120 | ||
| Rôti de bœuf, saignant | 210 | 200 | 50 - 60 | ||
| Rôti de bœuf, cuit à point | 210 | 200 | 60 - 70 | ||
| Rôti de bœuf, bien cuit | 210 | 200 | 70 - 75 | ||
| VIANDE | Chauffage Haut/ Bas | Chaleur tournante | (min) | ||
| (°C) | ← | (°C) | ← | ||
| Paulette de porc, avec couenne | 180 | 2 | 170 | 2 | 120 - 150 |
| Jarret de porc, 2 morceaux | 180 | 2 | 160 | 2 | 100 - 120 |
| Gigot d'agneau | 190 | 2 | 175 | 2 | 110 - 130 |
| Poulet entier | 220 | 2 | 200 | 2 | 70 - 85 |
| Dinde entière | 180 | 2 | 160 | 2 | 210 - 240 |
| Canard entier | 175 | 2 | 220 | 2 | 120 - 150 |
| Oie entière | 175 | 2 | 160 | 1 | 150 - 200 |
| Lapin, en morceaux | 190 | 2 | 175 | 2 | 60 - 80 |
| Lièvre, en morceaux | 190 | 2 | 175 | 2 | 150 - 200 |
| Faisan entier | 190 | 2 | 175 | 2 | 90 - 120 |
Utilisez le deuxieme niveau de la grille.
| POISSON | Chauffage Haut/ Bas (℃) | Chaleur tournante (℃) | (min) |
| Truite / Dorade, 3 - 4 poissons | 190 | 175 | 40 - 55 |
| Thon / Saumon, 4 - 6 files | 190 | 175 | 35 - 60 |
11.3 Gril
Prechauffez le four à vide.
Utilisez le quatrième niveau de la grille.
Réglez le grin à la température maximale.
| GRIL | (kg) | (min) 1ère face | (min) 2e face |
| Filets de bœuf, tranches, 4 morceaux | 0,8 | 12 - 15 | 12 - 14 |
| Steak de bœuf, 4 morceaux | 0,6 | 10 - 12 | 6 - 8 |
| Saucisses, 8 | - | 12 - 15 | 10 - 12 |
| Côtelettes de porc, 4 morceaux | 0,6 | 12 - 16 | 12 - 14 |
| Poulet, demi, 2 | 1 | 30 - 35 | 25 - 30 |
| Brochettes, 4 | - | 10 - 15 | 10 - 12 |
| Blanc de poulet, 4 morceaux | 0,4 | 12 - 15 | 12 - 14 |
| Hamburgers, 6 | 0,6 | 20 - 30 | - |
| Filet de poisson, 4 morceaux | 0,4 | 12 - 14 | 10 - 12 |
| Sandwiches toastés, 4 - 6 | - | 5 - 7 | - |
| Toasts, 4 - 6 | - | 2 - 4 | 2 - 3 |
11.4 Décongélation
| (kg) | Durée de décon-gélation (min) | Décongélation com- plémentaire (min) | i | |
| Poulet | 1 | 100 - 140 | 20 - 30 | Placez le poulet sur une sous-tasse returnée, po- sée sur une grande assist- te. Retournez à la moitié du temps. |
| Viande | 1 | 100 - 140 | 20 - 30 | Retournez à la moitié du temps. |
| 0,5 | 90 - 120 | |||
| Crème | 2 x 0,2 | 80 - 100 | 10 - 15 | La crème fraîche peut aussi être battue même si elle n'est pas complète- ment décongelée. |
| Truite | 0,15 | 25 - 35 | 10 - 15 | - |
| Fraisés | 0,3 | 30 - 40 | 10 - 20 | - |
| Beurre | 0,25 | 30 - 40 | 10 - 15 | - |
| Gâteau | 1,4 | 60 | 60 | - |
11.5 Déshydration - Chaleur tournante
Couvrez les plateaux avec du papier sulfurisé ou du papier de cuisson.
Pour de plusieurs résultats, arrêtez le four à mi-cuisson, ouvrez la porte et laissez-la refroidir pendant une nuit pour terminer le séchage.
Pour un plateau, utilisez le troisième niveau de la grille.
Pour deux plateaux, utilisez les premier et quatrième niveaux de la grille.
Réglez la température sur 60 - 70 °C.

LEGUMES

(°C)

(h)
| Haricots | 60 - 70 | 6 - 8 |
| Poivrons | 60 - 70 | 5 à 6 |
| Légumes pourSoupe | 60 - 70 | 5 à 6 |
| Champignons | 50 - 60 | 6 - 8 |
| Herbes | 40 - 50 | 2 à 3 |

FRUITS

(h)
Prunes
8à10
Abricots
8à10
Tranches de pommes
6-8
Pois
6à9
11.6 Chaleur tournante humide - accessoires recommendés
Utilisez les mouses et recipients foncés et non refléchissants. Ils offrent une(Meilleure) absorption de la chaleur que les plats refléchissants de couleur claire.

Plaque à pizza

Plat de cuisson

Ramequins

Moule pour fond de tarte
Sombre, non refléchissant
Diametre de 28 cm
Sombre, non réfléchissant
Diametre de 26 cm
Ceramique
8 cm de diamètre,
5 cm de hauteur
Sombre, non refléchissant
Diametre de 28 cm
11.7 Chaleur tournante humide
Pour de plusieurs résultats, suivez les suggestions indiquées dans le tableau ci-dessous.
| °C) | (°C) | (min) | |
| Petits pains sucrés, 12 pièces | Plateau de cuisson ou plat à rôtir | 175 | 3 |
| Petits pains, 9 pièces | Plateau de cuisson ou plat à rôtir | 180 | 2 |
| Pizza, surgelée, 0,35 kg | grille métallique | 180 | 2 |
| Gâteau roulé | Plateau de cuisson ou plat à rôtir | 170 | 2 |
| Brownie | Plateau de cuisson ou plat à rôtir | 170 | 2 |
| Sousflé, 6 pièces | ramequins en céramique sur une grille métallique | 190 | 3 | 45 - 55 |
| Fond de tarte en gé-noise | moule à tarte sur une grille métallique | 180 | 2 | 35 - 45 |
| Généoise Victoria | Plat de cuisson sur la grille métallique | 170 | 2 | 35 - 50 |
| Poisson.POché, 0,3kg | Plateau de cuisson ou plat à rôtir | 180 | 2 | 35 - 45 |
| Poisson entier, 0,2kg | Plateau de cuisson ou plat à rôtir | 180 | 3 | 25 - 35 |
| Filet de poisson, 0,3kg | plaque à pizza sur la grille mé-tallique | 170 | 3 | 30 - 40 |
| VandePOCHée, 0,25kg | Plateau de cuisson ou plat à rôtir | 180 | 3 | 35 - 45 |
| Chachlyk, 0.5kg | Plateau de cuisson ou plat à rôtir | 180 | 3 | 40 - 50 |
| Cookies, 16 pièces | Plateau de cuisson ou plat à rôtir | 150 | 2 | 30 - 45 |
| Macarons, 20 pièces | Plateau de cuisson ou plat à rôtir | 180 | 2 | 45 - 55 |
| Muffins, 12 pièces | Plateau de cuisson ou plat à rôtir | 170 | 2 | 30 - 40 |
| Pâtisserie salée, 16 pièces | Plateau de cuisson ou plat à rôtir | 170 | 2 | 35 - 45 |
| Biscuits à pâte brisée, 20 pièces | Plateau de cuisson ou plat à rôtir | 150 | 2 | 40 - 50 |
| Tartelettes, 8 pièces | Plateau de cuisson ou plat à rôtir | 170 | 2 | 30 - 40 |
| Légumes, pochés, 0.4kg | Plateau de cuisson ou plat à rôtir | 180 | 2 | 35 - 45 |
| Omelette végétarien-ne | plaque à pizza sur la grille mé-tallique | 180 | 3 | 35 - 45 |
| Légumes mediterra-néens, 0.7kg | Plateau de cuisson ou plat à rôtir | 180 | 4 | 35 - 45 |
11.8 Informations pour les instituts de test
Tests conformément à la norme IEC 60350-1.
| Petits gâteaux, 20 par plateau | Chauffage Haut/ Bas | Plateau de cuisson | 3 | 170 | 20 - 30 | - |
| Petits gâteaux, 20 par plateau | Chaleur tour-nante | Plateau de cuisson | 3 | 150 - 160 | 20 - 35 | - |
| Petits gâteaux, 20 par plateau | Chaleur tour-nante | Plateau de cuisson | 2 et 4 | 150 - 160 | 20 - 35 | - |
| Tourde aux pommes, 2 moules Ø20 cm | Chauffage Haut/ Bas | Grille métal-lique | 2 | 180 | 70 - 90 | - |
| Tourde aux pommes, 2 moules Ø20 cm | Chaleur tour-nante | Grille métal-lique | 2 | 160 | 70 - 90 | - |
| Génoise, moule à gâteau de 26 cm | Chauffage Haut/ Bas | Grille métal-lique | 2 | 170 | 40 - 50 | Préchauffez le four pendant 10 minutes. |
| Génoise, moule à gâteau de 26 cm | Chaleur tour-nante | Grille métal-lique | 2 | 160 | 40 - 50 | Préchauffez le four pendant 10 minutes. |
| Génoise, moule à gâteau de 26 cm | Chaleur tour-nante | Grille métal-lique | 2 et 4 | 160 | 40 - 60 | Préchauffez le four pendant 10 minutes. |
| Sablé | Chaleur tour-nante | Plateau de cuisson | 3 | 140 - 150 | 20 - 40 | - |
| Sablé | Chaleur tour-nante | Plateau de cuisson | 2 et 4 | 140 - 150 | 25 - 45 | - |
| Sablé | Chauffage Haut/ Bas | Plateau de cuisson | 3 | 140 - 150 | 25 - 45 | - |
| Toasts, 4 - 6 morceaux | Grl | Grille métal-lique | 4 | max. | 2 à 3 minutes sur la première face; 2 à 3 minutes sur la seconde face. | Préchauffez le four pendant 3 minutes. |
| Steak ha-ché, 6 pièces, 0,6 kg | Grl | Grille métal-lique et léchefrite | 4 | max. | 20 - 30 | Placez la grille métallie sur le quatrième niveau et la léchefrite sur le troisième niveau du four. Tournez les aliments à mi-cuisson. Préchauffez le four pendant 3 minutes. |
12. ENTRETIEN ET NETTOYAGE

AVERTISSEMENT!
Reportez-vous aux chapitres concernant la sécurité.
12.1 Remarques concernant l'entretien

Agents nettoyants
Nettoyez la façade du four avec un chiffon doux, de l'eau tiède et un détergent doux. Nettoyez et contrôle le joint de la porte autour du cadre de la cavité.
Utilisez une solution de nettoyage pour nettoyer les surfaces métalliques.
Nettoyez les taches avec un détergent doux. Ne l'appliquez sur les surfaces catalytiques.

Utilisation quotidienne
Nettoyez la cavité après chaque utilisation. L'accumulation degraisse ou d'autres résidus peut provoquer un incendie.
De l'humidité peut se déposer dans l'enceinte du four ou sur les vitres de la porte. Pour diminuer la condensation, laissez fonctionner le four pendant 10 minutes avant la cuisson. Ne conserve pas les alimentés dans le four pendant plus de 20 minutes. Sécher la cavité avec un chiffon deux après chaque utilisation.

Accessoires
Après chaque utilisation, lavez tous les accessoires et séchez-les. Utilisez un chiffon doux avec de l'eau tiède et un détergent doux. Ne lavez pas les accessoires au lave-vaiselle.
Ne nettoyez pas les accessoires antiadhésifs avec un produit nettoyant abrasif ou des objets tranchants.
12.2 Comment enlever : Supports de grille / panneaux catalytiques
Retirez les supports de grille / panneaux catalytiques pour nettoyer le four.
Étape 1 Éteignez le four et attendez qu'il soit froid.
| Étape 2 | Écartez l'avant du support de grille de la paroi latérale. Tenez l'arrêté du support de grille et du panneau catalytique en place. Les panneaux catalytiques ne sont pas fixés sur les pa- rois du four. Ils peuvent tomber lors-què vous retirez les supports de grille. |

| Étape 3 | Écartez l'arrêté du support de grille de la paroi latérale et retirez le support. |
| Étape 4 | Réinstalléz les supports de grille en répétant cette procédure dans l'ordre inverse. |

12.3 Comment utiliser : Nettoyage catalytique
La cavité est dotée de panneaux catalytiques. Elle absorbe la graisse pendant la catalyse.
Les taches ou la décoloration du revêtement catalytique n'ont aucune incidence sur le nettoyage.
| Avant le nettoyage catalytique | ||
| Éteignez le four et attendez qu'il soit froid. | Retirez les accessoires. | Nettoyez le sol du four et la vitre in-terne de la porte avec de l'eau tiège, un chiffon doux et un détergent doux. |
| Nettoyage du four par catalyse | ||
| Étape 1 | Étape 2 | Étape 3 |
| Réglez la fonction et la tempéatu- re du four : ☐ 250 °C Durée : 1 h | Après le nettoyage, tournez la manette des modes de cissson sur la position d'arrêt. | Lorsque le four est froid, nettoyez la cavité avec un chiffon doux et humide. |
12.4 Comment démonter et installer : Porte
La portedou four est dotée de deux panneaux de verre. Vous pouze retarder la portedou four ainsi que le panneau de verre interieur afin de le nettoyer. Lisez toutes les instructions du chapitre « Retrait et installation de la porte » avant de retarder les panneaux de verre.

ATTENTION!
N'utilisez pas le four sans les panneaux en verre.
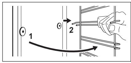
Étape 1 Ouvrez complètement la porte et saisissez les 2 charnières de porte.
| Étape 2 | Soulevez et faites tourner les leviers sur les 2 charnières. |

| Étape 3 | Fermez la portedou four à la première posi- tion d'ouverture (mi-parcours). Puis soulevez et tirez la portevers l'avant et retirez-la de son logement. | |
| Étape 4 | Déposez la portesur une surface stable re- couverte d'un tissu doux. | |
| Étape 5 | Tenez la garniture de porteb sur le bord supérieur de la portedes deux côtés et poussez vers l'intérieur pour libérer le joint du clip. | |
| Étape 6 | Tirez la garniture de portevers l'avant pour la déposer. | |
| Étape 7 | Prenez le panneau de verre de la portepar son bord supérieur et tirez-le doucement. Assurez-vous que la vitrere glisse entière- hors de ses supports. | |
| Étape 8 | Nettoyez les panneaux de verre avec de l'eau savonneuse. Sèchez soigneusement les panneaux de verre. Ne nettoyez pas les panneaux de verre au lave-vaisselle. | |
| Étape 9 | Après le nettoyage, installez le panneau de verre et la portedou four. | |
| La zone imprimée doit faire face à l'intérieur de la por- te. Àprès l'installation, vérifie que la surface du pan- neau de verre où se trouve la zone imprimée est lisse au toucher (le relief doit être de l'autre côté). Lorsque le cadre de la portead est installé correctement, il émet un clic. Veillez à installerer correctement le panneau de verre intérieur dans son logement. | ||
12.5 Comment replacer : Éclairage

AVERTISSEMENT!
Risque d'électrocution.
L'éclairage peut être chaud.
Tenez toujours l'ampoule halogène avec un chiffon afin d'éviter que des résidus deGRAISSENe brULENT sur I'ampoule.
Avant de replacer l'éclairage :
| Étape 1 | Étape 2 | Étape 3 |
| Éteignez le four. Attendez que le four ait refroidi. | Débranchez le four de l'alimentation secteur. | Placez un chiffon au fond de la cavi-té. |
Lampe arrête
Étape 1 Tournez le diffuseur en verre pour le retirer.
Étape 2 Nettoyez le diffuseur en verre.
Étape 3 Remplacez l'éclairage par une ampoule adaptée résistant à une température de 300^ .
Étape 4 Remettez en place le diffuseur en verre.
13. DÉPANNAGE

AVERTISSEMENT!
Reportez-vous aux chapitres concernant la sécurité.
13.1 Que faire si...
Dans tous les cas ne figurant pas dans ce tableau, veuillage contacter un service après/agree.
| Problème | Vérifiez si... |
| Le four nechauffe pas. | Le fusible a disjoncté. |
| Le joint de la porteste est endommagé. | N'utilise pas le four.Contactez un service après-vente agréé. |
| L'affichage indique « 12.00 » . | Une coupure de courant s'est produit. Pour régler l'heure. |
Problème
Vérifiez si...
L'éclairage ne fonctionne pas.
L'ampoule est grillée.
13.2 Données de maintenance
Si vous ne trouvez pas de solution au problème, veuillez contacter votre revendeur ou un service après-vente/agréé.
Les informations à fournir au service après vente figurent sur la plaque signaletique. La plaque signaletique se trouve sur l'encadrement avant de la cavite du four. Ne retirez pas la plaque signaletique de la cavite du four.
Nosyourevecommandondesnotercesinformationscici:
Modèle (MOD.)
Nous vous recommendons de noter ces informations ici :
Référence du produit (PNC)
.
Numero de série (S.N.)
14. RENDEMENT ÉNERGÉTIQUE
14.1 Informations produit et Fiche d'informations produit*
| Nom du fournisseur | AEG |
| Identification du modele | BCB331011M 949496337 |
| Index d'efficacité énergétique | 95.3 |
| Classe d'efficacité énergétique | A |
| Consommation d'énergie avec charge standard et mode traditionnel | 0.95 kWh/cycle |
| Consommation d'énergie avec charge standard et mode air pulsé | 0.81 kWh/cycle |
| Nombre de cavités | 1 |
| Source de chaleur | Électricité |
| Volume | 72 l |
| Type de four | Four encasable |
| Masse | 30.9 kg |
- Pour l'Union européen conformément aux Règlements UE 65/2014 et 66/2014.
Pour la République de Biélorussie conformément à STB 2478-2017, Annexe G; STB 2477-2017, Annexes A et B.
Pour l'Ukraine conformément à 568/32020.
La classe d'efficacité énergétique n'est pas applicable pour la Russie.
EN 60350-1 - Appareils de cuisson domestiques électriques - Partie 1 : Plages, jours, jours à vapeur et grils - Méthodes de mesure des performances.
14.2 Économie d'énergie

Ce four est doté de
caracteristiques qui vous
permèttent d'économiser de
l'énergie lors de votre cuisine au
quotidien.
Lorsque le four est en marche, assurez-vous que la porte est bien fermée. Évitez d'ouvrir la portetropsoonventpendantla cuisson.
Nettoyez régulierement le joint de porte et assurez-vous qu'il est bien en place.
Utilisez des plats en métal pour accroître les économies d'énergie.
Dans la mesure du possible, ne préchauffez pas le four avant la cuisson.
Lorsque you préparez plusieurs plats à la fois, faites en sorte que les pauses entre les ciussons soient aussi courtes que possible.
Cuisson avec ventilation
Si possible, utilisez les fonctions de cuisson avec la ventilation pour economiser de I'energie.
Chaleur résiduelle
Si la cuisson doit durer plus de 30 minutes, réduisez la température du four au minimum 3 à 10 minutes avant la fin de la cuisson. La chaleur résiduelle à l'intérieur du four poursuivra la cuisson.
Utilisez la chaleur résiduelle pour réchauffer d'autres plats.
Maintien des aliments au chaud
Selectionnez la température la plus BASSE possible pour utiliser la chaleur résiduelle et maintainir le repas au chaud.
Chaleur tournante humide
Fonction concue pour economiser de l'énergie en cours de cuisson.
15. EN MATIÈRE DE PROTECTION DE L'ENVIRONNEMENT
Recyclez les matériaux portant le symbole Deposez les emballages dans les conteneurs prevus a cet effet. Contribuez a la protection de l'environnement et a votre sécurité,recyclez vos produits electriques et electroniques.Nejetez pas les appareils
portant le symbole avec les ordures menagères. Emmenez un tel produit dans voire centre local de recyclage ou contactez vos services municipaux.
FR Concerne la France uniquement :

FR
Cet apparel, ses accessories et cordons se recyclent
REPRISE À LA LIVRAISON

A DEPOSER EN MAGASIN

A DEPOSER EN DECHETERIE

Points de collecte sur www.quefaideresmedesche.fr Privilegiae la réparation ou le don de cette appellé



C E
Notice Facile