PAC 3550 PRO - Climatiseur portable TROTEC - Notice d'utilisation et mode d'emploi gratuit
Retrouvez gratuitement la notice de l'appareil PAC 3550 PRO TROTEC au format PDF.
| Type de produit | Climatiseur mobile |
| Capacité de refroidissement | 3,5 kW |
| Alimentation électrique | 230 V / 50 Hz |
| Dimensions approximatives | 700 x 380 x 320 mm |
| Poids | 30 kg |
| Fonctions principales | Refroidissement, déshumidification, ventilation |
| Niveau sonore | 65 dB(A) |
| Débit d'air | 400 m³/h |
| Réfrigérant | R290 |
| Entretien et nettoyage | Filtres lavables, nettoyage régulier recommandé |
| Pièces détachées et réparabilité | Disponibilité des pièces de rechange sur demande |
| Consommation énergétique | Classe énergétique A |
| Accessoires inclus | Tuyau d'évacuation, télécommande |
| Garantie | 2 ans |
| Informations générales | Idéal pour des pièces jusqu'à 100 m² |
FOIRE AUX QUESTIONS - PAC 3550 PRO TROTEC
Questions des utilisateurs sur PAC 3550 PRO TROTEC
0 question sur cet appareil. Repondez a celles que vous connaissez ou posez la votre.
Poser une nouvelle question sur cet appareil
Téléchargez la notice de votre Climatiseur portable au format PDF gratuitement ! Retrouvez votre notice PAC 3550 PRO - TROTEC et reprennez votre appareil électronique en main. Sur cette page sont publiés tous les documents nécessaires à l'utilisation de votre appareil PAC 3550 PRO de la marque TROTEC.
MODE D'EMPLOI PAC 3550 PRO TROTEC
Indications sur le manuel d'utilisation 2
Normes de sécurité 2
Informations sur l'appareil 4
Transport et stockage 5
Montage et installation 6
Utilisation 10
Défauts et pannes 14
Maintenance 16
Annexe technique 20
Élimination des déchets 21
Indications sur le manuel d'utilisation
Symboles

Avertissement relat à la tension électrique
Ce symbole indique que la tension électrique cause des risques pour la vie et la santé des personnes.

Avertissement
Cette mention d'ajretissement indique un risque moyen qui peut entraîner des blessures graves ou mortelles s'il n'est pas évité.

Attention
Cette mention d'advertissement indique un risque faible qui peut entraîner des blessures benignes ou moyennes s'il n'est pas évité.
Remarque
Cette mention d'ajretissement indique des informations importantes (par ex. dommages matériels), maisaucun danger.

Info
Les indications représentant ce symbole vous aident à executer vos tâches rapidement et en toute sécurité.

Observer le mode d'emploi
Les indications représentant ce symbole vous indiquent qu'il est nécessaire de respecter le manuel d'utilisation.
Vous pouvez télécharger la dernière version du manuel d'utilisation et la déclaration de conformité UE sous le lien suivant :


PAC 3550 PRO
https://hub.trotec.com/?id=41283
Normes de sécurité
Veuillez tire attentivement leprésent manuel avant la mise en service ou l'utilisation de l'appareil et conservez-le à proximate immediate de l'endet d'installation ou de l'appareil même !

Avertissement
Lire toutes les consignes de sécurité et toutes les instructions.
Le non-respect des consignes de sécurité risque de causer une électrocution, de provoquer un incendie et/ ou de causer des blessures graves.
Conservez toutes les consignes de sécurité et toutes les instructions pour pouvoir vous y reporter ultérieurement.
Les enfants de plus de 8 ans et toute personne ayant des capacités physiques, sensorielles ou mentales réduites ou ne possédant pas l'expérience et/ou les connaissances nécessaires peuvent utiliser l'appareil pour autant qu'ils bénéficient d'une supervision ou ont reçu une instruction adequate relative à une utilisation sure de l'appareil et qu'ils ont compris les dangers liés à cette utilisation.
Les enfants ne sont pas autorisés à jouer avec l'appareil. Il est interdit aux enfants d'effectuer le nettoyage et l'entretien de l'appareil sans surveillance.
- N'utilise pas l'appareil dans des locaux représentant un risque d'explosion.
- N'utilisez pas l'appareil dans des atmosphères agressives.
- Installez l'appareil debout et de façon stable.
- Faites sécher l'appareil après un nettoyage à l'eau. Ne le faites pas fonctionner mouillé.
- Ne touchez ou n'utilisez pas l'appareil les mains humides ou mouillées.
- Ne pas exposer l'appareil à un jet d'eau direct.
- Ne pas introduire de corps étrangers ni de membres du corps à l'intérieur de l'appareil.
-
Ne couvrez pas l'appareil et ne le transportez pas pendant le fonctionnement.
-
Ne pas s'asseoir sur l'appareil.
- L'appareil n'est pas un jouet. Tenez les enfants et les animaux à l'écart. Utilisez l'appareil uniquement sous surveillance.
- Avant chaque utilisation, vérifie le bon état de l'appareil, des accessoires et des pieces de raccordement. N'utilise pas l'appareil si celui-ci ou une des pieces qui le composent présente un defaulted.
- Protégez tous les câbles électriques en dehors de l'appareil contre les endommagements (par ex. par des animaux). N'utilise jamais l'appareil lorsque le cordon électrique ou la fiche sont déteriorés!
- La prise d'alimentation électrique doit correspondre aux indications données au chapitre Caracteristiques techniques.
- Raccordez la fiche de l'appareil à une prise de courant protégée selon les règles de l'art.
- Choisissez la rallonge de cable électrique conformément aux indications containues dans les données techniques. Déroulez complètement la rallonge électrique. Évitez toute surcharge électrique.
- Retirez le cable électrique de l'appareil de la prise en tirant sur la fiche avant l'entretien, la maintenance ou les réparations.
- Éteignez l'appareil et tirez le cable électrique de la prise lorsque l'appareil n'est pas utilisé.
- N'utilisez jamais l'appareil si vous remarquez des définuts au niveau de la prise ou du cable de raccordement secteur.
Si le cordon secteur de cet apparéil est endommagé, il doit être remplaced par le fabricant, son service après-vente ou par une personne de qualification équivalente afin d'éviter tous risques.
Les câbles électriques défectueux représentent un danger sérieux pour la santé.
- Lors de l'installation, il faut respecter les distances minimales requises par rapport aux murs et aux autres objets ainsi que les conditions d'entroposage et de fonctionnement conformément aux indications figurant dans le chapitre Données techniques.
Assurez-vous que I'entrée et la sortie d'air sont dégagées. -
Ne retirez aucun signe de sécurité, autocollant ou étiquette de l'appareil. Tous les signes de sécurité, les autocollants et les étiquettes doivent être conservés de manière à rester lisibles.
Assurez-vous que le côté aspiration soit toujours exempt de saleté et de corps étrangers. -
Veuillez transporter l'appareil exclusivement en position verticale et après avoir vidé préalablement le bac de récapuration des condensats ou le tuyau d'évacuation.
- Avant l'entreposage ou le transport, videz les condensats accumulés. Ne les buvez pas. Risques pour la santé !
Utilisation conforme
Veuillez utiliser l'appareil exclusivement pour refroidir, ventiler et déshumidifier l'air ambiant à l'intérieur, tout en respectant les caractéristiques techniques.
Utilisation non conforme
- Veuillez ne pas installer l'appareil sur un support mouillé ou inondé.
- Veuillez ne déposer aucun objet, comme p.ex. des vêtements, sur l'appareil.
- Veuillez ne pas utiliser l'appareil à l'extérieur.
- Toute modification constructive, transformation ainsi que tout ajust arbitraire au niveau de l'appareil est strictement interdit.
- Un autre fonctionnement ou une autre utilisation que ceux décrits dans ce manuel sont non conformes. En cas de non-respect, le fabricant décline toute responsabilité en cas d'endommagement et toutes les demandes de garantie sont annulées.
Qualification du personnel
Toute personne utilisant le presente appareil doit :
- être conscience des risques associés aux apparciels électriques en environnement humide.
- avoir lu et compris le manuel d'utilisation, et notamment le chapitre Normes de sécurité.
Toute activités de maintenance nécessitant l'ouverture du carter est à effectuer par une entreprise spécialisée dans le génie frigorifique et climatique ou par la société Trotec.
Risques résiduels

Avertissement relat à la tension électrique
Toute intervention au niveau des composants électriques est à réaliser exclusivement par une entreprise spécialisée !

Avertissement relat à la tension électrique
Retirez la fiche d'alimentation de la prise secteur avant toute intervention sur l'appareil.
Débranche le cordon d'alimentation de la prise murale en tirant sur la fiche secteur.

Avertissement
L'utilisation de l'appareil peut composer un risque s'il est utilisé par des personnes non compétentes, en cas d'utilisation non conforme ou non conventionnelle!
Veuillez respecter les exigences relatives à la qualification du personnel !

Avertissement
L'appareil n'était pas un jouet, il n'est pas adapté aux enfants.

Avertissement
Danger de suffocation!
Veuillez ne pas laisser trainer les emballages vides. Ils pourraient etre dangereux pour les enfants.
Remarque
N'utilisez jamais l'appareil sans filtré à air! Sans filtré à air, l'intérieur de l'appareil se salit enormément, ce qui peut réduire la capacité de déshumidification et déterminer l'appareil.
Comportement en cas d'urgence
- Éteignez l'appareil.
- En cas d'urgence, coupez immédiatement l'alimentation électrique de l'appareil. Débranchez le cordon d'alimentation de la prise murale en tirant sur la fiche secteur.
- Ne rebranchez jamais un apparéil endommagé.
Informations sur l'appareil
Description de l'appareil
L'appareil est destiné au rafraîchissement des pieces. En outre, il filttre et humidifie l'air, ce qui cree ainsi un climat agreable.
L'appareil refroidit au moyen de deux tuyaux d'air séparés l'un de l'autre. L'air frais provient de l'extérieur et non de l'air se trouvant dans la piece. Il n'y a pas de dépression dans lapiece, l'air chaud ne pénétre pas de l'extérieur, mais de l'air frais est introduit en permanence dans le climatiseur et le ventilateur le répartit dans la piece.
Les climatiseurs dotés d'une technique à double tuyau sont plus efficaces de 25% .
Si nécessaire, l'appareil peut également ne fonctionner qu'vec un tuyau d'évacuation, I'air introduit dans l'appareil sera evacué vers I'extérieur.
Lorsque l'appareil fonctionne avec un tuyau d'évacuation, il refroidit l'air de la piece en lui extrayant de la chaleur. La chaleur absorbée est évacuée vers l'extérieur par le tuyau d'évacuation, l'air refroidi est introduit dans la piece d'installation par un ventilateur.
L'eau de condensation produit s'écoule de l'évaporateur sur le condenseur brûlant, s'y évapore, puis est transporte à l'extérieur par le tuyau d'évacuation.
En mode Ventilation, l'appareil permet de faire circuler l'air dans la piece sans le refroidir.
En mode Déshumidification, de l'humidité est extraite de l'air ambient.
L'appareil fonctionne de manière entièrement automatique et offre de nombreuses options supplémentaires. Par exemple, il est possible de faire s'allumer ou s'éteindre automatiquement l'appareil au moyen de la fonction minuterie.
L'appareil se commande via le panneau de commande ou la télécommande infrarouge fournie.
L'appareil est concu pour une utilisation universelle et flexible.
Grçà à ses dimensions compactes, il peut être transporte facilement et utilisé aisément à l'intérieur.

Représentation de l'appareil





| N° | Désignation |
| 1 | Sortie d'air avec volets de ventilation |
| 2 | Panneau de commande |
| 3 | Roulettes de transport |
| 4 | Compartment pour télécommande |
| 5 | Entrée d'air avec filtre à air |
| 6 | Raccord du tuyau d'alimentation en air |
| 7 | Raccord du tuyau d'évacuation d'air |
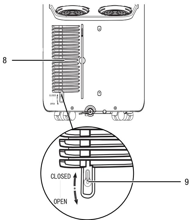
| 8 | Entrée d'air |
| 9 | Bouton de contrôle de l'entrée d'air |
| 10 | Évacuation de condensat avec couvercle et bouchon en cauchoc |
| 11 | Télécommande |
| 12 | Tuyau d'air (tuyau d'évacuation et d'alimentation) |
| 13 | Filtre à air pour l'entrée d'air |
| 14 | Filtre à air pour l'entrée d'air |
| 15 | Buse plate |
| 16 | Fixation du cable électrique |
| 17 | Poinnée de transport |
Transport et stockage
Remarque
L'appareil peut s'endommager si vous le transportez ou l'entreposer de manière inappropriée.
Observe les informations relatives au transport et à l'entreposeage de l'appareil.
Transport
Pour facilitier le transport, l'appareil est pourvu de roulettes de transport.
Pour facilitier le transport, l'appareil est pourvu d'une poignée.
Veuillez observer les consignes suivantes avant chaque transport :
- Éteignez l'appareil.
- Débranche le cordon d'alimentation de la prise murale en tirant sur la fiche secteur.
- Veuillez ne pas utiliser le cordon électrique pour tirer l'appareil.
- Videz les condensats résiduels contenus dans l'appareil
- Ne faites rouler l'appareil que sur des surfaces planes et stables.
Veuillez observer les consignes suivantes après chaque transport :
- Installez l'appareil à la verticale après l'avoir transporte.
- Laissez reposer l'appareil de 12 à 24 heures pour que le réfrigerant s'accumule dans le compresseur. Veuillez attendre de 12 à 24 heures avant de remettre l'appareil en marche! Sinon, cela pourrait endommager le compresseur et l'appareil ne fonctionnerait plus. Nous déclinons toute responsabilité dans ce cas.
Entreposage
Veuillez respecter les consignes suivantes avant chaque entreprises :
- Videz les condensats résiduels contenus dans l'appareil
- Débranchez le cordon d'alimentation de la prise murale en tirant sur la fiche secteur.
Observe les conditions de stockage suivantes lorsque vous n'utilise pas l'appareil :
au sec et protégé du gel et de la chaleur
- début, dans un endroit protégé de la poussière et de l'exposition directe au soleil
- le cas échéant, protégé de la poussière par une housse
- ne placez aucun autre apparéil ou aucun object sur l' apparéil, afin d'éviter de le déterminer
- Retirer les piles de la télécommande
Montage et installation
Contenu de la livraison
1 apparelil
2 tuyaux d'air
1 rail pour fenêtre coulissante
2 caches pour fenetre coulissante
1 télécommande
- 2 buses plates
10 vis de fixation
1 mode d'emploi
Déballer l'appareil
- Ouvrez le carton et sortez l'appareil.
- Retirez entiement l'emballage de I'appareil.
- Déroulez complètement le cable électrique. Assurez-vous que le cable électrique n'est pas endommagé et ne le déterrioz pas en le déroulant.
Mise en service
Lors de l'installation de l'appareil, il faut respecter les distances minimales requises par rapport aux murs et aux autres objets conformément aux indications figurant dans le chapitre Caracteristiques techniques.

- Avant la remise en service de l'appareil, vérifie l'état du cable d'alimentation. En cas de doute relatif à son parfait état, contactez le service après-vente.
- Installez l'appareil debout et de façon stable.
- En particulier lorsque l'appareil est place au centre de la piece, veillez à ce que le cordon secteur et tout autre cable électrique soit posé de sorte à éviter tout risque de trèbuchement. Utilisez des couvre-câbles.
Assurez-vous que les rallonges de cable soient entierement déroulées.
Veillez à ce que les sorties et les entrées d'air, ainsi que le raccordement du tuyau d'évacuation soient libres.
Veillez à ce qu'aucun rideau ni aucun autre objet ne bloque le flux d'air.
Mise en place du filtrre à air
Remarque
N'utilisez jamais l'appareil sans filtré à air! Sans filtré à air, l'intérieur de l'appareil se salit enormément, ce qui peut réduire la capacité de déshumidification et déterminer l'appareil.
- Avant la mise en marche, assurez-vous que les deux filtres à air sont bien mis en place.

Raccordement des tuyaux d'alimentation en air et d'évacuation de l'air
- Raccordez la buse plate (15) à une extrémité du tuyau d'air (12).
- Reliez l'autre extrémité du tuyau d'air à l'adaptateur de tuyau.
- Vissez l'adaptateur de tuyau dans le sens de la flèche (voir illustration ci-dessous) dans le raccord du tuyau d'évacuation (7) ou d'alimentation en air (6) du climatiseur.

- Vérifiez la position du bouton de contrôle de l'entrée d'air (9). Ce dernier doit se couver en position Closed lorsque le tuyau d'alimentation en air est raccordé. Les fentes d'aération de l'entrée d'air (8) sont fermées. Si le tuyau d'air amené n'est pas connecté, le bouton de contrôle de l'entrée d'air (9) doit se couver en position Open. Les fentes d'aération de l'entrée d'air (8) sont ouvertes.

Alimentation en air par le tuyau d'alimentation
- L'air d'alimentation peut être introduit de l'extérieur afin qu'aucune dépression ne soit créé dans la pierce.
- L'extrémité du tuyau d'alimentation en air peut être installée dans l'ouverture d'une fenêtre. Fixez la fenêtre en position ouverte, si nécessaire avec des outils appropriés, pour que l'extrémité de la gaine ne puisse pas glisser.
- L'extrémité du tuyau d'alimentation en air peut être installée dans une fenêtre entrouverte.
Dans ce cas, l'utilisation d'un calfeurage de fenêtre est recommendée (en option).
- En outre, il faut vérifier si les fentes d'aération de l'entrée d'air (8) sont fermées. Au cas où les fentes d'aération sont ouvertes, procédez de la manière suivante :
- Poussez le bouton de contrôle de l'entrée d'air (9) sur la position Closed.
Les fentes d'aération de l'entrée d'air (8) sont fermées.
Évacuation de l'air de sortie
- L'air évacué de l'appareil contient la chaleur extraite de la piece à refroidir. Pour cette raison, nous recommendons d'évacuer l'air vers l'extérieur.
- L'extrémité du tuyau d'évacuation peut être installée dans l'ouverture d'une fenêtre. Fixez la fenêtre en position ouverte, si nécessaire avec des accessoires appropriés, de manière à ce que l'extrémité de la gaine ne puisse pas glisser.
- L'extrémité du tuyau d'évacuation peut être accrochée dans une fenêtre basculée.
Dans ce cas, l'utilisation d'un calfeurage de fenêtre est recommandée (en option). Lors de la pose du calfeurage de fenêtre, il faut respecter un écart minimum de 30 cm entre les 2 tuyaux.
- Le tuyau d'évacuation doit être installé en pente ascendante dans le sens de la circulation de l'air.
Utilisation des rails
Fixez les rails dans l'entrebaillure de la fenetre et ajustez la longueur, si nécessaire. Si nécessaire, utilisez des rails de rallonge.
Raccordez la buse plate avec le rail :


- Si vous utilisez le deuxième tuyau d'air, connectez-le également avec le rail. Veillez à ce que la buse plate soit fermement connectée avec le rail.
- Refermez la fenêtre jusqu'à ce que le rail soit fixé fermement.
Exemple avec tuyaux d'évacuation et d'alimentation :


Exemple d'installation du tuyau d'évacuation :

Observe les indications suivantes pour la pose du tuyau d'évacuation :




- Évitez de plier le tuyau d'évacuation d'air. Les piures provoquent l'accumulation de l'air humide expulsé, l'appareil surchauffe et s'arrêté.
- Les dimensions du tuyau d'évacuation d'air sont spécialement adaptées à l'appareil. Ne le remplacez pas par un autre tuyau et n'utilise pas un tuyau supplémentaire pour le pallonger. Cela pourrait provoquer un dysfonctionnement de l'appareil.
Réglage des volets de ventilation
- Avant demettre l'appareil en marche, ouvre les volets de ventilation de la sortie d'air (1).

Branchement du cable secteur
- Raccordez la fiche de l'appareil à une prise de courant protégée selon les règles de l'art.
Utilisation
- Évitez de laisser les portes et les fenêtres ouvertes.
Éléments de commande

| N° | Désignation | Fonction |
| 18 | Touche Timer | Fonction minuterie Mise en marche automatique par pas de 1 h (de 1 h à 24 h) Fonction minuterie Arrêt automatique par pas de 1 h (de 1 h à 24 h) |
| 19 | Touche Régime de ventilation | Réglage de la vitesse du ventilateur sur 3 niveaux (bas, moyen, élevé). Fonctionne uniquement dans les modes refroidissement et ventilation. |
| 20 | Touche augmentation | Pour augmenter la température cible (de 17° à 30 °C) ou le nombre d'heures de la minuterie (de 1 à 24 h). |
| 21 | Affichage 7-segments | En fonctionnement, indication de la température ambiente désirée En mode veille, indication de la température ambiente actuelle Affichage de la minuterie Affichage du régime de ventilation : F3 = régime élevé F2 = régime moyen F1 = régime bas Affichage du code d'erreur |
| 22 | Touche diminution | Pour diminuer la température cible (de 17° à 30 °C) ou le nombre d'heures de la minuterie (de 1 à 24 h). |
| 23 | Touche Mode de fonctionnement | Sélection du mode de fonctionnement : Refroidissement Ventilation Déshumidification |
| N° | Désignation | Fonction |
| 24 | Touche Marché/ arrêt | Mise en marche ou arrêt de l'appareil |
| 25 | Affichage Régime de ventilation | Indique le niveau de ventilation : HIGH = vitesse élevée MID = vitesse moyenne LOW = vitesse BASSE |
| 26 | Affichage Timer | S'allume lorsque la minuterie est activée |
| 27 | Affichage du mode de fonctionnement | Indiquent le mode sélectionné : COOL = Refroidissement FAN = Ventilation DRY = Déshumidification |
Mise en marche de l'appareil
- Laissez reposer l'appareil un certain temps.
- ÀpRES avoir installé l'appareil en suivant la description du chapitre « Mise en service », vous pouvez le mettre en marche.
- Appuyez sur la touche Marche/arret (24).
L'appareil démarre en mode refroidissement à 22^ et avec le niveau de ventilation le plus élevé (première mise en service). L'appareil enregistre les derniers régles sélectionnés en mode de veille. Lorsque l'appareil est débranché du réseau électrique, les régles ne sont pas méorisés.
L'appareil s'éteint automatiquement lorsque le bac de récapération de l'eau de condensation est plein. La mention FL apparait à l'écran.
Sélection du mode de fonctionnement
L'appareil dispose des modes de fonctionnement suivants :
- Refroidissement
- Ventilation
- Déshumidification
Refroidissement
En mode Refroidissement, la piece est refroidie jusqu'à une température prééglée.
- Au moyen de la touche mode de fonctionnement (23), sélectionnez le mode refroidissement.
COOL apparait dans l'affichage mode de fonctionnement (27).
L'affichage 7-segments (21) Indique la température cible réglée actuèlement.
L'affichage Régime de ventilation (25) indique le niveau de ventilation actuellement défini.
- Appuyez sur la touche augmentation (20) ou diminution (22) pour définir la température cible désirée. La température peut être régée entre 17^ et 30^ .
- Sélectionnez avec la touche Régime de ventilation (19) le niveau de ventilation souhaïte.
La température cible et le régime de ventilation s'affichent à l'écran.

Info
Si l'appareil est utilisé dans un environnement très humide, il est nécessaire de vider le condensat régulierement (voir au chapitre Vidange du condensat).
Ventilation

Info
Retirez le tuyau d'évacuation d'air pendant le mode Ventilation.
En mode Ventilation, l'air ambiant est brasse et il n'y a pas de refroidissement.
L'affichage Régime de ventilation (25) indique le niveau HIGH/MID/LOW, tandis que ce niveau est indiqué sur l'affichage 7-segments (21) par la mention correspondante F3/F2/F1. Il n'est pas possible de régler la température.
- Au moyen de la touche mode de fonctionnement (23), sélectionnez le mode Ventilation.
FAN apparait dans l'affichage mode de fonctionnement (27).
L'affichage Régime de ventilation (25) indique le niveau de ventilation actuellement défini.
- Sélectionnez avec la touche Régime de ventilation (19) le niveau de ventilation souhaité.
L'affichage Régime de ventilation (25) indique le niveau HIGH/MID/LOW, tandis que ce niveau est indiqué sur l'affichage 7-segments (21) par la mention correspondante F3/F2/F1.
Déshumidification
En mode Déshumidification, l'appareil réduit l'humidité relative de la pierce.
L'affichage Régime de ventilation (25) indique LOW, tandis que ce niveau est indiqué sur l'affichage 7-segments (21) par la mention correspondante F1.
Lorsque la température ambiante atteint 15^ , le comprésse démarre. Si la température ambiante tombe en-dessous de 15^ , le comprésse s'arrête et redémarre lorsque celle-ci atteint de nouveau 15^ , avec une temporisation de 3 min environ.

Info
Pendant le mode déshumidification, retirez les tuyaux d'entrée et de sortie d'air, sinon la déshumidification est trop faible et FL s'affiche sur l'écran.
- Au moyen de la touche mode de fonctionnement (23), sélectionnez le mode Déshumidification.
DRY apparait dans l'affichage mode de fonctionnement (27).
Dans ce mode de fonctionnement, la température et le niveau de ventilation (LOW - bas) sont prérgliées et ne peuvent pas être modifiés.

Info
Si l'appareil est utilisé dans un environnement très humide, il est nécessaire de vider le condensat régulierement (voir vidange manuelle du condensat au chapitre maintenance).
Réglage de la minuterie
La minuterie possede deux fonctions :
- mise en marche automatique après un nombre d'heures prédéfini,
arrêt automatique après un nombre d'heures prédéfini.
Il est possible d'activer la fonction dans chacun des modes, même en mode veille.
Le nombre d'heures peut être compris entre 1 et 24 et être régèle par pas de 1h.
Remarque
L'appareil ne doit pas fonctionner sans surveillance dans une piece dont l'accès est libre lorsque la minuterie est activée.
Mise en marche automatique
√ L'appareil est eteint.
- Appuyez sur la touche Timer (18).
L'affichage Timer (26) apparait a I'écran.
Le mode de fonctionnement actuel (COOL, FAN ou DRY), le niveau de ventilation sont visibles à l'écran, ainsi que le nombre d'heures jusqu'à la mise en marche qui clignote.
- Appuyez sur la touche augmentation (20) ou diminution (22) pour définir le nombre d'heures souhaité jusqu'à la mise en marche.
Le nombre d'heures clignote dans l'affichage 7-segments (21). - Au besoin, modifiez le réglage du mode de fonctionnement et du niveau de ventilation.
- Attendez environ 5 secondes jusqu'à ce que l'affichage de l'écran s'assombrisse et que vos réglages soient enregistrés.
L'affichage Régime de ventilation (25) indique le niveau HIGH/MID/LOW, tandis que ce niveau est indiqué sur l'affichage 7-segments (21) par la mention correspondante F3/F2/F1. De plus, le mode de fonctionnement (27) et l'affichage Timer (26) sont visibles à l'écran.
Remarques relatives à la mise en marche automatique :
- La mise en marche manuelle de l'appareil désactive la mise en marche automatique.
- Si vous sélectionnez le nombre d'heures 0, la minuterie est désactivée.
Arret automatique
L'appareil est en marche.
- Au moyen de la touche mode de fonctionnement (23), sélectionnez le mode désiré.
- Appuyez sur la touche Timer (18).
L'affichage Timer (26) apparait a I'ecran.
- Appuyez sur la touche augmentation (20) ou diminution (22) pour définir le nombre d'heures souhaité jusqu'à l'arrêt de l'appareil.
Le nombre d'heures clignote dans l'affichage 7-segments (21).
- Attendez 5 secondes pour que les réglages s'enregistrrent.
L'écran revient à l'affichage précédENT.
L'affichage Timer (26) est present en permanence et confirme ainsi l'arrêt automatique.
Remarques concernant I'arrêt automatique :
- Une pression sur la touche marche/arrêt (24) désactive l'arrêt automatique.
Mode nuit
Le mode nuit fonctionne uniquement en mode refroidissement. En mode nuit, les réglages suivants sont définis :
- Au bout de 2 heures, la température préRéglée augmente de 1^ .
- Au bout de 2 heures supplémentaires, la température est encore augmentée de 1^ , donc, au total, la température prérégée est augmentée de 2^ en l'espace de 4 heures. Ensuite, la température resteinchangée.
- Le régime de ventilation se règle automatiquement sur le niveau le plus bas et ne peut pas être modifié manuellement.
- Au besoin, il est possible d'activer la fonction swing depuis la télécommande.
Procedez de la façon suivante pour activer le mode nuit :
- Au moyen de la touche mode de fonctionnement (23), sélectionnez le mode refroidissement.
- Appuyez simultanément sur les touches Timer (18) et diminution (22).
Le régime de ventilation se règle automatiquement sur le niveau le plus bas.
Le mode nuit ne s'affiche pas à l'écran.
- Pour désactiver le mode nuit, appuyez à nouveau simultanément sur les touches Timer (18) et diminution (22).
Télécommande
Vous pouvez régler tous les paramètres de l'appareil à partir de la télécommande fournie.
Mettez en place les piles adaptées dans la télécommande (voir chapitre annexe technique).

Info
La télécommande se met en mode veille après une période d'inactivité prolongée. Une pression sur la touche POWER de la télécommande permet de quitter le mode veille. Veuillez notes que l'appareil enregistre automatiquement les réglages actuels de la télécommande.

| N° | Désignation | Signification |
| 18 | Touche TIMER | Fonction minuterie Mise en marche automatique par pas de 1 h (de 1 h à 24 h) Fonction minuterie Arrêt automatique par pas de 1 h (de 1 h à 24 h) |
| 19 | Touche FAN | Réglage du régime de ventilation sur 3 niveaux : élevé, moyen et bas Ne fonctionne que dans les modes refroidissement et ventilation. |
| 20 | Touche UP | Pour augmenter la/tempature cible (de 17° à 30 °C) ou le nombre d'heures de la minuterie (de 1 à 24 h). |
| 21 | Affichage 7-segments | En fonctionnement, indication de la température ambiente actuelle Lors du réglage de la température cible, indication de la température souhaitée Affichage de la minuterie Affichage du code d'erreur |
| N° | Désignation | Signification |
| 22 | Touche DOWN | Pour diminuier la température cible (de 17° à 30 °C) ou le nombre d'heures de la minuterie (de 1 à 24 h). |
| 23 | Touche MODE | Touche de sélection du mode de fonctionnement Refroidissement Ventilation Déshumidification |
| 24 | Touche POWER | Touche marche/arrêt : Mise en marche ou arrêt de l'appareil |
| 26 | Affichage Timer | Minuterie active |
| 28 | Affichage Pile | État de charge des piles de la télécommande |
| 29 | Affichage du mode de fonctionnement | Cool = Refroidissement Fan = Ventilation Dry = Déshumidification |
| 30 | Affichage Régime de ventilation | bas = - moyen = - élevé = - élevé = - |
| 31 | Touche °C/°F | Pour faire passer l'affichage de température de °C à °F |
| 32 | Touche SWING | Pour régler la position des volets de ventilation |
| 34 | Symbole Transmission | Signale la transmission à l'appareil en cas d'appui sur une touche |
| 35 | Émetteur/recepteur de la télécommande | Communication entre l'appareil et la télécommande |
Changement d'unité °C/°F
La température peut s'afficher en °C ou en °F dans l'affichage 7-segments (21).
Procedez de la manière suivante pour changer l'unité de température :
- Appuyez simultanément sur les touches augmentation (20) et diminution (22).
Il est également possible d'appuyer sur la touche ^ C / F (31) de la télécommande.
La température est alors indiquée dans l'autre unité.
Fonction swing
La fonction swing peut uniquement etre activee depuis la télécommande.
La fonction swing permet d'adapter la position des volets de ventilation ou d'en activer le mouvement continu.
- Appuyez sur la touche SWING (32).
Les volets de ventilation se déplacent continulement vers le haut et vers le bas.
L'affichage de la fonction swing (36) apparait.
- Appuyez de nouveau sur la touche SWING (32) afin d'arrêter les volets de ventilation dans une position précise ou de désactiver la fonction swing.
L'affichage de la fonction swing (36) disparaît.
Dégivrage automatique
Aux températures ambiantes basses, l'évaporateur peut givre. L'appareil effectue alors un dégivrage automatique.
Le compresseur s'eteint et le ventilateur continue de fonctionner jusqu'à ce que le dégivrage soit terminé. La durée du dégivrage peut varier.
N'éteignez pas l'appareil durant le processus de dégivrage automatique. Ne retirez pas la fiche d'alimentation de la prise secteur.
Mise hors service

Avertissement relat à la tension électrique
Ne touchez jamais la fiche d'alimentation avec des mains humides ou mouillées.
- Arrêtez l'appareil.
- Débranche le cordon d'alimentation de la prise murale en tirant sur la fiche secteur.
- Si nécessaire, videz le bac de récapération des condensats.
- Le cas échéant, retirez le flexible de vidange des condensats, ainsi que le liquide résiduel qui s'y trouve.
- Nettoyez l'appareil conformément aux indications figurant au chapitre Maintenance.
Stockez l'appareil conformément aux indications figurant dans le chapitre Stockage.
Défauts et pannes
Dans le cadre de sa production, le bon fonctionnement de l'appareil a eté controlé à plusieurs reprises. Malgré tout, si l'appareil avaitprésent des dysfonctionnements, contrôle-le en vous conformant à la liste suivante.
L'appareil ne se met pas en marche :
- Vérifiez le raccordement au secteur.
- Vérifiez le bon état du cable électrique et de la fiche secteur.
- Vérifiez le fusible ou le disjoncteur secteur.
- Observe la température de fonctionnement admissible indiquée dans le chapitre des données techniques.
- Vérifiez le niveau de replissage du bac de récepération des condensats et, le cas échéant, videz-le. La mention FL (bac de récepération des condensats plein) ne doit pas apparaitre à l'écran.
- Attendez 10 minutes avant de redémarrer l'appareil. Si l'appareil ne démarre pas, faites réviser l'appareil par une entreprise spécialisée ou par la société Trotec.
L'appareil fonctionne sans refroidir ou la puissance de refroidissement est réduite :
- Vérifiez si le mode Refroidissement est activé.
- Verifiez la position du tuyau d'évacuation. Si le tuyau d'évacuation est pié ou bouché, l'air ne peut pas être evacué. Assurez-vous que le chemin d'évacuation de l'air soit libre.
- Vérifiez la position des volets de ventilation. Les volets de ventilation doivent être ouverts autant que possible.
- Vérifiez la bonne installation du tuyau d'air amné. Si le tuyau d'air amné est plié ou bouché, l'air amné ne peut pas pénétrer. Assurez-vous que l'arrivée de l'air soit libre.
- Vérifiez la propriété du ou des filtres. Si nécessaire, nettoyez ou remplaceze le ou les filtres à air.
- Vérifiez les distances minima par rapport aux murs et aux autres objets. Le cas échéant, placez l'appareil plus loin dans la pierce.
- Vérifiez la fermeture de la fenêtre et/ou de la porte de la piece. Le cas échéant, fermez-la. Toutefois, veuillez noter qu'une fenêtre doit rester ouverte pour le tuyau d'évacuation.
- Vérifiez le réglage de température de l'appareil. Réduisez la température paramétrée si elle est supérieure à la température de la pierce.
L'appareil est bruyant ou il vibre :
- Vérifiez si l'appareil est stable et bien installé en position verticale.
Le condensat fuit :
- Vérifiez si l'appareil présente des fuites.
Le compresseur ne se met pas en marche :
- Vérifiez si la protection anti-surchauffe du compresseur s'est déclenchée. Débranchez l'appareil et laissez-le refroidir pendant 10 minutes environ avant de le rebrancher sur le secteur.
- Vérifiez si la température ambiente correspond à la température cible (en mode refroidissement). Le comprésseur se met en marche uniquement lorsque cette température est atteinte.
- Le compresseur démarre avec un retard de 3 min, car il est équipé d'une protection interne contre la remise en marche directe.
L'appareil est très chaud, il est bruyant ou il perd de la puissance :
- Vérifiez si les entrées d'air et le filtré à air sont encrassés. Nettoyez la saleté extérieure.
- Contrôlez l'extérieur de l'appareil pour détecter d'eventuels encrasements (voir chapitre Maintenance). Faites nettoyer l'intérieur de l'appareil encrassé par une entreprise spécialisée dans le génie frigorifique et climatique ou par la société Trotec.
L'appareil ne réagit pas à la télécommande infrarouge :
- Vérifiez que la distance entre la télécommande et l'appareil n'est pas trop élevé et diminuez-la si nécessaire.
Assurez-vous qu'aucun d'obstacle ne se trouve entre l'appareil et la télécommande, par ex. des meubles ou des murs. Veillez a assurer un « contact visuel » entre l'appareil et la télécommande. - Vérifiez l'etat de charge des piles et remplacez-les si nécessaire.
- Vérifiez que la polarité des piles est respectée, au cas où les piles viennent d'être replacées; changez la polarité, si cela est nécessaire.
Remarque
Attendez au moins 3 minutes à la fin de tous les travaux de maintenance et de réparation. Puis remettez l'appareil en marche.
Meme après vérification, l'appareil ne fonctionne toujours pas parfaitement ?
Contactez le service après-vente. Le cas échéant, faites réparer l'appareil par une entreprise spécialisée dans le domaine de la technique frigorifique et climatique ou par la société Trotec.
Codes d'erreur
Les messages d'erreur suivants peuvent s'afficher sur l'écran :
| Code d'erreur | Cause | Dépannage |
| FL | Réservoir de récapération des condensats plein | Vider le condensat (vidage manuel) selon le chapitre Maintenance. |
| E1 | Bobine du capteur de température défectueuse | Débranchez pour une courte durée l'appareil. Si l'erreur se présente encore après la remise en marche, contactez le service après-vente. |
| E2 | Capteur de température ambiente défectueux | Débranchez pour une courte durée l'appareil. Si l'erreur persiste après la remise en marche, contactez le service après-vente. |
| E4 | Protection contre le gel | Lorsque la température de la bobine est inférieure à 0 °C, l'appareil s'arrête automatiquement. Dès que la température de la bobine remonte à 8 °C au minimum, la protection contre le gel s'éteint et l'appareil refonctionne. |
Maintenance
Intervalles de maintenance
| Intervalle de maintenance et d'entretien | avant chaque mise en service | en cas de besoin | au moins toutes les 2 semaines | au moins toutes les 4 semaines | au moins tous les 6 mois | au moins une fois par an |
| Contrôle des bouches d'aspiration et de sortie pour détecter les encrasements ou les corps étrangers, nettoyage le cas échéant | x | x | ||||
| Nettoyage extérieur | x | x | ||||
| Contrôle visuel de l'intérieur de l'appareil pour détecter les encrasements | x | x | ||||
| Contrôle du filtre à air pour détector d'éventuels encrasements ou corps étrangers, nettoyage ou remplacement le cas échéant | x | x | ||||
| Remplacement du filtre à air | x | |||||
| Contrôle des déterriorations évientuelles | x | |||||
| Contrôle des vis de fixation | x | x | ||||
| Test | x | |||||
| Vidange du bac de récapération de l'eau de condensation et du tuyau d'évacuation | x |
Protocole de maintenance et d'entretien
Type d'appareil :
Numéro de série :
| Intervalle de maintenance et d'entretien | 1 | 2 | 3 | 4 | 5 | 6 | 7 | 8 | 9 | 10 | 11 | 12 | 13 | 14 | 15 | 16 |
| Contrôle des pouches d'aspiration et de sortie pour détecter les encrasements ou les corps étrangers, nettoyage le cas échéant | ||||||||||||||||
| Nettoyage extérieur | ||||||||||||||||
| Contrôle visuel de l'intérieur de l'appareil pour détecter les encrasements | ||||||||||||||||
| Contrôle du filtré à air pour détector d'éventuels encrasements ou corps étrangers, nettoyage ou remplacement le cas échéant | ||||||||||||||||
| Remplacement du filtré à air | ||||||||||||||||
| Contrôle des déterriorations évientuelles | ||||||||||||||||
| Contrôle des vis de fixation | ||||||||||||||||
| Test | ||||||||||||||||
| Vidange du bac de récapération des condensats et du tuyau d'évacuation | ||||||||||||||||
| Remarques | ||||||||||||||||
| 1. Date : Signature : | 2. Date : Signature : | 3. Date : Signature : | 4. Date : Signature : |
| 5. Date : Signature : | 6. Date : Signature : | 7. Date : Signature : | 8. Date : Signature : |
| 9. Date : Signature : | 10. Date : Signature : | 11. Date : Signature : | 12. Date : Signature : |
| 13. Date : Signature : | 14. Date : Signature : | 15. Date : Signature : | 16. Date : Signature : |
Avant toute opération de maintenance

Avertissement relat à la tension électrique
Ne touchez jamais la fiche d'alimentation avec des mains humides ou mouillées.
- Éteignez l'appareil.
- Débranchez le cordon d'alimentation de la prise murale en tirant sur la fiche secteur.

Avertissement relat à la tension électrique
Tout travail nécessitant l'ouverture du boîtier est à réaliser par une entreprise spécialisée homologuee ou par la société Trotec.
Circuit de réfrigérant
- Tout le circuit réfrigérant est un système hermétiquement clos qui ne nécessite pas d'entretien ; seules une entreprise spécialisée dans le génie frigorifique et climatique ou l'entreprise Trotec sont autorisées à en effectuer la maintenance et la réparation.
Nettoyer le carter
Nettoyez le boîtier avec un chiffon humide, doux et sans peluches. Veillez à ce que de l'humidité ne pénétre pas dans le carter. Veillez à ce qu'aucune humidité ne puisse entrairen contact avec les composants électriques. N'utilise pas de déterments agressifs, comme les aérosols de nettoyage, les solvants, les nettoyants à base d'alcool ou les produits abrasifs pour humidifier le chiffon.
Contrôle visuel de l'intérieur de l'appareil pour détecter des encrassements
- Retirez le filtré à air.
- Munissez-vous d'une lampe de poche pour éclairer l'intérieur de l'appareil.
- Examinez l'intérieur de l'appareil pour détecter des encrassements.
-
Si vous déetectez une épaisse couche de poussière, faites nettoyer l'intérieur de l'appareil par une entreprise spécialisée dans le génie frigorifique et climatique ou par la société Trotec.
-
Remettez le filtré à air en place.

Nettoyer le filtré à air
Il est nécessaire de nettoyer les filtres à air des qu'ils sont sales. Cela se traduit, par exemple, par une capacité réduite (voir chapitre Défauts et pannes).

Avertissement
Veuillez vous assurer que les filtres à air ne soient ni usés ni endommages. Les coins et les arêtes des filtres à air ne doivent être ni déformés ni arrondis. Avant de remettre le filtre à air en place, vuillez vous assurer que ceux-ci sont intacts et secs!
1. Retirez le filtré à air de l'appareil.


- Nettoyez les filtres avec un chiffon doux légèrement humide non pelucheurs. Si les filtres sont très encrassés, nettoyez-les avec de l'eau chaude mélangée à un produit de nettoyage neutre.
- Laissez les filtres sécher complètement. N'insérez pas de filtrer mouillé dans l'appareil.
4. Insérez à nouveau le filtré à air dans l'appareil.


Vider le condensat (vidage manuel)
Les modes Refroidissement et Déshumidification produit des condensats qui s'évacuent en grande partie avec l'air sortant.
Le reste du condensat est collecté dans le bac situé à l'intérieur de l'appareil. Il est nécessaire de vider régulièrement le condensat.
Lorsqu'une trop grande quantité de condensat s'est accumulée, l'appareil s'éteint et signale cet état dans l'affichage 7-segments par la mention FL (21).
- Transportez ou faites rouler l'appareil prudemment vers un endroit approprié, afin d'évacuer le condensat (par exemple un écoulement) ou placez un bac collecteur approprié sous l'évacuation des condensats.
- Retirez le bouchon en caoutchouc de l'évacuation des condensats.

- Laissez le condensat s'écouler.
- Replacez le bouchon en caoutchouc sur l'évacuation des condensats. Assurez-vous que le bouchon en caoutchouc soit maintainu fermement, sinon cela pourrait entrainer uneuite d'eau non contrôle.
L'indication FL (21) s'esteint sur l'affichage 7-segments des que le condensat a eté vide.
Activités après la maintenance
Si vous désirez continuer d'utiliser l'appareil :
- Laissez reposer l'appareil de 12 à 24 heures pour que le réfrigérant s'accumule dans le compresseur. Veuillez attendre de 12 à 24 heures avant de remettre l'appareil en marche! Sinon, cela pourrait endommager le comprisseur et l'appareil ne fonctionnerait plus. Nous déclinons toute responsabilité dans ce cas.
- Rebranche l'appareil en mettant la fiche dans la prise secteur.
Si vous n'utilisez pas l'appareil pendant une longue durée :
- Stockez l'appareil conformément aux indications figurant au chapitre Stockage.
Annexe technique
Données techniques
| Paramètre | Valeur |
| Modèle | PAC 3550 PRO |
| Puissance de refroidissement | 3,5 kW |
| Capacité de déshumidification | 1,3 l/h |
| Température de fonctionnement | 7 °C à 35 °C |
| Plage de réglage de la température | 17 °C à 30 °C |
| Débit volumique d'air max. | 380 m³/h |
| Raccordement secteur | 1/N/PE~ 230 V / 50 Hz |
| Courant nominal | 5,7 A |
| Puissance absorbée | 1,3 kW |
| Niveau max de pression sonore | 55 dB(A) |
| Réfrigérant | R-410A |
| Quantité de réfrigérant | 685 g |
| Facteur GWP | 2 088 |
| Équivalent CO2 | 1,43 t |
| Dimensions (longueur x largeur x hauteur) | 430 x 470 x 840 mm |
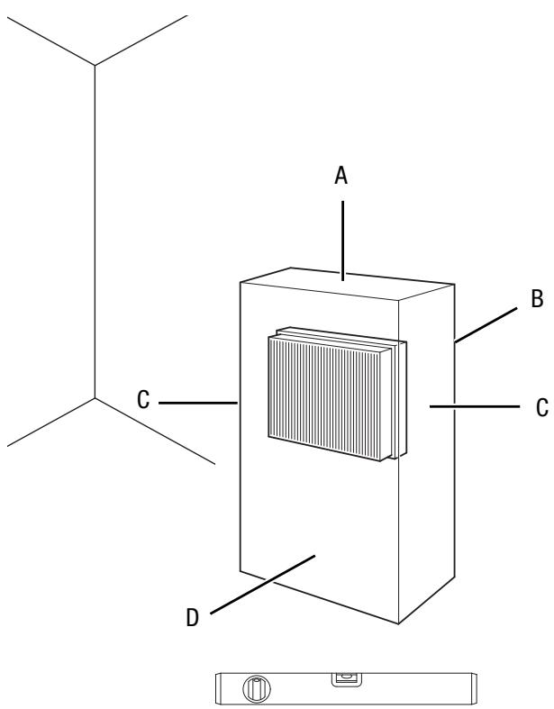
| Distance minimale par rapport aux murs et aux objets : vers le haut (A) : vers l'arrière (B) : vers les côtés (C) : vers l'avant (D) : | 50 cm 50 cm 50 cm 50 cm |
| Poids | 34 kg |
| Piles télécommande | Type LR03 / AAA - 1,5 V (2 pieces) |
Élimination des déchets

Le pictogramme représentant une poubelle barrée, apposé
sur un apparéil électrique ou électronique, signifie que celui-ci ne doit pas être éliminé avec les ordures menagères. Des points
de collecte Gratis pour les apparciels électriques ou
électroniques usages sont à votre disposition à proximité de
chez vous. Les autorités de votre ville ou de votre commune
peuvent vous en fournir les adresses. Notre site Internet
www.trotec24.com you informé également sur les autres
possibilities de return que nous proposons.
La collecte séparée des apparciels électriques et électroniques usages permet leur réutilisation évientuelle, le recyclage des matériaux constitutifs et les autres formes de recyclage tout évitant les conséquences négatives pour l'environnement et la santé des produits dangereux qu'ils sont susceptibles dezersir.
L'appareil fonctionne avec un gaz à effet de serre fluoré qui peut être dangereux pour l'environnement et peut contributor au rechauffement global de la terre s'il pénétre dans l'atmosphère.
Vous trouvrez des informations supplémentaires sur la plaque signalétique.
Évacuez le réfrigérant contenu dans l'appareil de manière appropriée et conformément à la législation nationale en vigueur.
Les piles usagées et les batteries ne doivent pas être jetées avec les ordures menagères, mais doivent éliminées conformément
à la directive européenne 2006/66/CE DU PARLEMENT ET DU
CONSEIL EUROPEEN du 6 septembre 2006 relative aux piles, aux piles rechargeables, aux accumulateurs et aux batteries.
Veuiliez éliminer les piles et les batteries conformément aux
dispositions légales en vigueur.
Notice Facile