MODE D'EMPLOI TIMP60.3WH THOMSON
CUISINIÈRE ÉLECTRIQUE
AVEC PLAQUE À INDUCTION

Consulter la notice avant d'insteller et d'utiliser la cuisineire.
CHER(S) CLIENT(S),
Merci d'avoir acheté cette cusinière à induction, nous espérons que ses performances et sa facilité d'utilisation vous donneront entière satisfaction.
Avant d'utiliser votre cusinière pour la première fois, veuilles lire ce mode d'emploi afin de vous familiariser avec les fonctionnalités de votre produit et de prendre connaissance des instructions à respecter pour une utilisation en toute sécurité.
À la sortie de l'usine, avant d'être emballée, cette cuisinière a passé tous les tests de sécurité et de compatibilité requis.
Conservez ce mode d'emploi dans un endroit accessible afin de pouvoir vous y reférer ultérieurement en cas de besoin.

Note!
Cette cuisine a ete conue uniquement pour un usage domestique.
Le fabricant se reserve le droit d'effectuer des modifications sans conséquences sur le fonctionnement de l'appareil
TABLES DES MATIÈRES
Informations generales 2
Mises en garde importantes 4
Consignes de sécurité 7
Conseils d'économie d'énergie 10
Fin de vie de l'appareil 11
Description de l'appareil 12
Caracteristiques de I'appareil 14
Installation 15
Raccordement de la cuisine à l'installation électrique 16
Utilisation 18
Fonctionnement duprogrammateur 19
Utilisation de la plaque de cuisson 22
Utilisation du four 33
Cuisson au four - conseils pratiques 36
Nettoyage et entretien 38
Situations d'urgence 44
Données techniques 46
Fiche du produit 47
Informations sur le produit 48
Mises en garde importantes
- Cet apparteil est destiné à un usage domestique uniquement. Toute utilisation autre que cette prévue pour cet apparteil, ou pour une autre application que cette prévue, par exemple une application commerciale, est interdite.
- Cet apparéil peut être utilisé par des enfants âgés de 8 ans et plus, par des personnes dont les capacities physiques, sensorielles ou mentales sont réduites ou des personnes dénuées d'expérience ou de connaissance, si elles ont pu bénéficier d'une surveillance ou d'instructions préalables concernant l'utilisation de l' apparéil en toute sécurité et avoir compris les dangers impliqués. Les enfants ne doivent pas journé avec l' apparéil. Le nettoyage et la maintenance ne doit pas été réalisés par les enfants sans surveillance.
- Si le cable d'alimentation est endommagé, il doit être remplace par le fabricant, son service après-vente ou des personnes de qualification similaire afin d'éviter un danger.
- MISE EN GARDE: L'appareil et ses parties accessibles peuvent devenir très chauds durant l'utilisation. Attention à ne jamais toucher les éléments chauffants. Les enfants de moins de 8 ans doivent être maintainus à l'écart sauf s'ils sont constamment supervisés.
- MISE EN GARDE: Les parties accessibles peuvent devenir très chaudes durant l'utilisation. Les enfants doivent être maintainus à l'écart.
-
MISE EN GARDE: Danger de feu: Ne jamais placer d'objets sur la plaque de cuisson.
-
MISE EN GARDE: Une cuisson, sans surveillance, utilisant de l'huile ou autre matière grasse, sur une plaque de cuisson peut être dangereuse et déclencher un incendie. NE JAMAIS essayer d'etreindre un feu avec de l'eau mais déconnecter l'appareil de l'alimentation et couvir les flammes, par exemple, à l'aide d'un couvercle ou d'une couverture ignifugée.
- Cet apparéil n'est pas destiné à être mis en fonctionnement au moyen d'une minuteurie extérieure ou par un système de commande à distance séparé.
- MISE EN GARDE: S'assurer que l'appareil est déconnecté de l'alimentation avant de replacer la lampe pour éviter tout risque de chocolélectrique.
- Ne pas utiliser d'appareil de nettoyage à la vapeur.
- Lors de son utilisation, l'appareil devient chaud. Faire attention à ne pas toucher les éléments chauffants situés à l'intérieur du four.
- MISE EN GARDE: Si la surface est fêlée, déconnecter l'appareil de l'alimentation pour éviter un risque de chocolélectrique.
- Ne pas utiliser de produits d'entretien abrasifs ou de grattoirs métalliques durs pour nettoyer la porte en verre du four, ce qui pourrait érafler la surface et entraîner l'éclatement du verre.
- Les éclaboussures excessives doivent être enlevées avant le nettoyage.
-
Il est recommendé de ne pas déposer d'objets metalliques tels que couteaux, fourchettes, cuillères et couvercles sur le plan de cuisson, car ils peuvent devenir chauds.
-
Àprousutilisation,arrêtelefonctionnementde la tablede cuisson au moyen de son dispositif de commande et ne pas compter sur le détecteur de casseroles.
- Àprous un cycle de cuisson, le ventilateur de refroidissement continue de fonctionner pendant un certain temps, afin de garantir un refroidissement plus rapide et une meilleure fiabilité du four.
- Toutes les cuissons se font porte fermée de préférence.
- Ne pas accrocher de linge ou de torchon à la poignée du four.
- Ne recouvre pas l'intérieur du four de papier aluminium pour économiqueur un nettoyage : en provoquant une surchauffe, vous endommageriez l'émail qui recouvre la cavité.
- MISE EN GARDE: S'assurer que l'appareil est déconnecté de l'alimentation avant de replacer la lampe pour éviter tout risque de chocolélectrique.
- Le four doit être mis hors tension avant desteroler la protection du ventilateur. Cette derniere doit être remise en place après le nettoyage conformément aux instructions.

Veillez à respecter les instructions contenues dans ce mode d'emploi.
Installation
- Les matériaux d'emballage (par ex. les films plastiques, les polystyrenes) représentent un danger pour les enfants - risque d'asphyxie!
Conservez-les hors de portée des enfants
- Lorsqu'il est correctement installé, votre produit répond à toutes les exigences de sécurité prévues pour cette catégorie de produit. Cependant une attention particulière doit être prise pour le dessous de l'appareil car il n'est ni conscience ni destiné à être touché et peut partager des bords tranchants ou rugueux, qui peuvent cause des blessures.
- Cet apparéil est lourd ; faites attention lorsque vous le déplacez.
- Cet apparéil est fragile. Transportez-le en position verticale uniquement.
- Lors du déballage, vérifie que l'appareil n'est pas endommagé. En cas de doute, ne l'utilise pas et contactez le magasin vendeur.
- Àprous avoir installé l'appareil, vérifiez qu'il ne repose pas sur le cable d'alimentation.
- Pour éviter tout risque (mobiliar, immobilier, corporel,...), l'installation, les raccordements au réseau électrique, la mise en service et la maintenance de votre apparéil doivent être effectuels par un professionneliel qualifié.
- Avertissement : Avant d'acceder aux bornes de raccordement, tous les circuits d'alimentation doivent être déconnectés.
- Si l'installation électrique de votre habitation nécessite une modification pour le branchement de votre apparéel, faites appel à un électricien qualifié.
- Dans le cas d'une installation fixe, le raccordement au réseau doit être effectué par l'intermédiaire d'un interrupteur à coupure omnipolaire assurant une coupure complète en cas de conditions de surtension de catégorie III.
- Instruction de mise à la terre : Cet apparéil doit être mis à la terre. Dans le cas d'un dysfonctionnement ou d'une coupure, la mise à la terre permet de réduire le risque de chic électrique en fournissant un accès au courant électrique de plus faible résistance. Cet apparéil est équipé d'un cordon pourvu d'un conducteur de mise à la terre et d'une prise de mise à la terre. La prise doit être branchée dans une prise murale appropriée installée et mise à la terre en accord avec tous les codes et règes locaux.
Utilisation
- Cét apparéil doit être utilisé uniquement pour l'usage pour lequel il a été concu, c'est à dire pour la cuisson domestique de denrées alimentaires. Tout autre usage

de l'appareil serait considéré comme inapproprié et, par conséquent, dangereux. Le fabricant decline toute responsabilité pour tout dommage causé par un usage inapproprié ou incorrect de l'appareil.
- Il est interd it de modifier les caractéristiques techniques ou de tenter de modifier l'appareil de chaque façon que ce soit.
- Il convient de surveiller les enfants pour s'assurer qu'ils ne jouent pas avec l'appareil.
- Ne branchez pas l'appareil à une prise de courant non protégée contre les sur-charges (fusible).
- N'utilisez jamais de multiprise ou de rallonge pour brancher l'appareil.
- MISE EN GARDE: Maintenir dégagées les ouvertures de ventilation dans l'enceinte de l'appareil ou dans la structure d'encastrement.
- Ne stockez pas dans cet apparéil des substances explosives telles que des aérosols contenant des gaz propulseurs inflammables.
- Afin d'empêcher des risques d'explosion et d'incendie, ne placez pas de produits inflammables ou d'éléments imbibés de produits inflammables à proximé ou sur l'appareil.
- Les foyers ne doivent pas'être mis en marche à vide, sans casseroles.
N'utilisez pas votre cuisine pour chauffer une piece.
- Ne rayez pas la plaque de cuisson avec des objets pointus. N'utilisez pas la table comme surface de travail.
- N'utilisez jamais ce produit si le cable d'alimentation, le bandeau de commande, la vitre sont endommagés de telle sorte que l'intérieur de l'appareil est accessible.
Assurez-vous que les petits apparciels electroménagers ou leur cable d'alimentation n'entrent pas directement en contact avec le four chaud ou la plaque de cuisson, car leur isolation ne résiste pas aux températures élevées.
- Utilisez uniquement une batterie de cuisine adaptée et compatible avec votre apparéil (pour plus d'informations, reportez-vous au chapitre Choix du écipient).
- Avant demettre la plaque de cuisson en fonctionnement, nettoyez les liquides ou résidus qui ont ete renverses.
- Le sucre chauffé à haute température, en particulier, entrant en contact avec la plaque à induction peut provoquer des dommages irréversibles.
- La préparation des mets dans des recipients en aluminium ou plastique sur les foyers chauds n'est pas permise. Ne déposezaucun objet en plastique ou en feuille d'aluminium sur le foyer chaud.

- Évitez de poser sur la plaque de cuisson à induction des recipients humides, car ils peuvent provoquer des dommages irréversibles sur celle-ci (taches indélébiles).
- Ne pas poser sur la porte du four ouverte des objets d'un poids supérieur à 15 kg et sur la table de cuisson d'un poids supérieur à 25 kg.
- Ne rangez pas de recipients ni de matérielux inflammables dans le tiroir sous le four; la température à l'intérieur du tiroir peut en effet être très élevé et vous risquez de provoquer un incendie.
- ATTENTION: Ne laissez pas d'objets lourds ou tranchants tomber sur la plaque de cuisson.
- ATTENTION: les personnes possédant des objets électro-médiaux métalliques dans le corps (pacemaker, pompé à insuline, implants cochliéaires...) ne doivent pas s'approcher de la table de cuisson à induction en cours de fonctionnement afin de ne pas interférer avec ces apparèils; ces personnes doivent demander l'avis de leur médecin avant d'utiliser la table de cuisson.
Entretien
- Avant de lancer un cycle de nettoyage du four par pyrolyse, retirez les éclaboussures excessives. Pour des informations plus détaillées, reférez-vous au chapitre «Nettoyage et entretien».
Service - réparations
- En cas de panne, n'essayez pas de réparer l'appareil vous-même. Les réparations effectuees par du personnel non-qualifié peuvent provoquer des dommages et ne sont pas couvertes par la garantie. Contactez le service après-vente de votre revendeur et exigez des pieces de rechange certifiées Constructeur.

Une utilisation responsable de l'énergie est une source d'économie mais aussi un geste très important pour notre environnement. Relevons le défi d'économie
d'énergie! Voici quelques conseils:
Utiliser des recipients de cuisson adaptés
Des cassetoles à fond plat et épais permettent d'économiser jusqu'à 1/3 d'énergie. N'oubliez pas d'utiliser les couvercles, sinon la consommation d'énergie est quadrupleée!
- Choisir une casserole adaptée à la surface du foyer
Le diamètre du fond de la casserole doit couvir complètement la zone de cuisson.
Garder les zones de cuisson et les fonds des casseroles propres
Les salissures empêchent le transfert de chaleur, les salissures fortement calcinées nécessitent souvent l'utilisation de produits difficilement dégradables pour l'environnement.
-
Éviter deSoulever trop souvent le couvercle
-
Eviter d'ouvrir trop souvent la porte du four
-
Terminer la cuisson en utilisant la chaleur résiduelle de la plaque de cuisson Si le temps de cuisson est long, éteignez le foyer 5 à 10 minutes avant la fin de la cuisson; la cuisson se terminera alors avec la chaleur résiduelle de la plaque de cuisson. Ceci vous permet d'économiser jusqu'à 20% d'énergie.
Utiliser le four uniquement pour vos mets les plus volumineux
La préparation d'une viande d'un poids inférieur à 1 kg est plus économique si vous utilise la plaque de cuisson.
- Terminer la cuisson en utilisant la chaleur résiduelle du four
Si le temps de cuisson est supérieur à 40 minutes, éteignez le four 10 minutes avant la fin de la cuisson ; la cuisson se terminera alors avec la chaleur résiduelle du four.
Note: Si vous utilisez la minuterie, programmez un temps de cuisson plus court.
- Bien fermer la porte du four
La chaleur s'échappe au travers des encrasements des joints de la porte. Il faut imperativement les nettoyer.
- Ne pas encastrer la cusinière à proximé directe des réfrigérateurs / congélateurs
La consommation d'électricité augmenteait inutillement.

Pour la sécurité du transport, cet apparéil a été emballed avec des protections. Veuillez recycler les éléments de cet emballage conformément aux normes de protection de l'environnement.
Tous les matériaux utilisés pour les emballages sont inoffensifs pour l'environnement et ils sont 100% recyclables et portent un symbole de tri approprié.
Note: Les matériaux d'emballage (sachets en polyéthylène, morceaux de polystyrene, etc.) peuvent représentier un danger. Conservées hors de portée des enfants.

Cet apparéil est marqué du symbole du tri sélectif relatif aux déchets d'équipements électriques et électroniques. Cela signifie que ce produit doit être pris en charge par un système de collecte sélectif
conformément à la directive européenne 2012/19/UE afin de pouvoir soit être recyclé soit demantélé afin de réduire tout impact sur l'environnement.
Pour plus de renseignements, vous pouvez contacter votre administration locale ou régionale.
Les produits électroniques n'ayant pas fait l'objet d'un tri sélectif sont potentiellement dangereux pour l'environnement et la santé humaine en raison de la présence de substances dangereuses.

P:Programmateur electronique
1: Manette de réglage de la température du four
2: Manette des programmes du four
3 : Voyant de contrôle du thermostat
4 : Voyant de fonction du four
5 : Voyant de fonction du verrouillage de la porte du four
6: Plaque à induction
7: Poignée de la porte du four
8:Tiroir
9:Commandes tactiles de la table à induction
Foyer à induction + booster (avant droit) 0 260
Foyer à induction (arrière gauche) 0 180
Foyer à induction + booster (avant gauche) 220

- Touche sensitive marche/arrêt de la plaque
- Touche sensitive plus
- Indicateur du foyer
- Touche sensitive moins
- Touche sensitive deCHOIX du foyer
- Indicateur de minuterie
CARACTERISTIQUES DE L'APPAREIL
Ce tableau vous permettra de vous familiariser avec l'équipement de votre cuisineire
| Plaque de cuisson | Diamètre | Puisance |
| Foyer arrêté gauche | 18,0 cm | 1,2 kW / 1,4 kW |
| Foyer avant gauche | 22,0 cm | 2,3 kW / 3,0 kW |
| Foyer droit | 26,0 cm | 2,3 kW / 3,0 kW |
| Four | Puisance |
| Résistance supérieure | 0,9 kW |
| Résistance inférieure | 1,1 kW |
| Résistance de grill | 2,0 kW |
| Résistance circulaire | 2,0 kW |
Équipement de la cuisine


Broche et son support


Plaque à patisserie
Gradins


Grattoir
Aménagement de la cuisine
Veilz à ce que la piece dans laquelle la cuisine est installée soit bien aérée. Les éléments de commande doivent rester facilement accessibles.
- Les meubles pour encastrement exigent l'utilisation de revêtements et de colles résistant à des températures de 100^ . Dans le cas contraire, la surface peut être déformée et le revêtement décollé.
- Installez la cusinière sur une surface rigide et plane.
- Les hottes doivent être installées selon les recommendations de leurs modes d'emploi.
- Avant toute utilisation, la cusinière doit être mise à niveau, ce qui est très importante pour que laGRAisse soit distribuée de manière uniforme sur la poèle.
Pour une mise à niveau parfaite de l'appareil, utilisez les pieds de réglage, accessibles après avoir enlevé le tiroir. La hauteur des pieds réglibres est de 5mm.
Montage de la fixation anti basculement
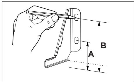
Pour éviter le basculement de la cuisine, installez la fixation fournie avec votre produit en procédant comme suit :
Sur le mur contre lequel sera installée la cuisineire, percez un trou à 6,0 cm du sol (A). Percez ensuite un deuxième trou à 10,3 cm du sol (B). À l'aide des 2 vis et chevilles fournies, fixez l'équerre au mur en alignant les trou des l'équerre avec ceux que vous venez de percer.



Raccordement de la cusinière à l'installation électrique
Note :
Le raccordement à l'installation électrique ne peut être réalisé que par un professionnel né agréé. Il est interdit de procéder aux transformations ou aux modifications de l'installation électrique.
Note :
N'oubliez pas de brancher la prise de terre au bornier de la cusinière marqué par le symbole 日日 . L'alimentation électrique de la cusinière doit être dotée d'un disjoncteur d'arrêt d'urgence qui permet de couper l'électricité à tout moment. La distance minimale entre les contacts d'interrupteur d'arrêt d'urgence est de 3 mm.
Indications pour l'installateur
La cusinière est donc pour une alimentation en courant alternatively triphase (400V 3N~50Hz). La tension nominale des éléments chauffants est de 230V. Il est possible d'adapter la cusinière à une alimentation par courant monophasé (230V) par une réduction appropriée (pont) réalisée au niveau du bornier, selon le schéma des connexions ci-après. Le schéma des connexions est aussi représenté à côté du raccordement de la cusinière. Pour ouvrir le bornier, enlevez le couvercle et faites pression avec un tournevis plat afin de débloquer les languettes latérales. Adaptez bien le cordon d'alimentation au type de raccordement et à la puissance nominale de la cusinière.
Le cordon d'alimentation doit être fixé à l'arrêt de traction du boitier de raccordement de la cuisineire

Avant de brancher la cuisine à l'installation électrique, consulter les informations de la plaque signalétique et du schéma de raccordement.
Note : l'installateur est dans l'obligation de remettre à l'utilisateur « un certificate de raccordement de la cuisine à l'installation électrique »
Tout raccordement différent de celui préconisé sur le schéma peut entraîner la dépréciation de l'appareil.
| SCHEME DES BRANCHEMENTS
POSSIBLES
Note: la tension des éléments chauffants est
de 230V.
Note: Dans tous les cas de raccordement, la prise
de terre doit être reliée au le bornier au niveau du
symbole ± PE. |
| Type de cable
de raccor-
dement
recommandé |
| 1 | Cas du réseau de 230 V: le raccorde-
ment monophasé avec un fil neutre,
les Ponts raccordent les bornes 1-2-3
et 4-5, prise de terre sur ± | 1N~ | H05VV-F3G4
3X 4 mm² |
| 2 | Cas du réseau de 400/230 V raccorde-
ment biphasé avec fil neutre, les Ponts
raccordent les bornes 2-3 et 4-5,
prise de terre sur ± | 2N~ | H05VV-F4G2,5
4X 2,5 mm² |
| 3 | Cas du réseau de 400/230 V: raccor-
dement triphasé avec un fil neutre, les
ponts raccordent les bornes 4-5, les
fil de phase connectés à 1, 2 et 3, fils
neutre à 4 et 5, prise de terre sur ± | 3N~ | H05VV-F5G1,5
5X 1,5 mm² |
| Fils de phase - L1=R, L2=S, L3=T; N - fil neutre; PE - prise de terre |

Avant la première utilisation de la cuisineire
enlever tous les éléments de l'emballage, vider le tiroir, nettoyer le four afin de supprimer tous les restes de produits utilisés pour le protégger,
- enlever tous les accessoires du four et les nettoyer à l'eau chaude avec du produit nettoyant,
mettre en marche la ventilation mecanique ou aérer en ouvrant une fenêtre,
chauffer le four en mode convection naturelle, 250^ , sur une durée moyenne de 30 minutes, enlever toutes les salissures,
- nettoyer l'intérieur du four soigneusement.
Laver l'intérieur du four uniquement avec de l'eau chaude et une petite quantité de produit nettoyant.
Note :
Lorsque you branchez cet apparéil à l'alimentation électrique, ou suite à une coupure de courant, l'indication «0.00» apparait sur l'écranlectronique. Vous devrez alors régler l'horloge (voir le chapitre Réglage de l'horloge).
Si I'horloge n'est pas mise à l'heure, le four ne pourrait pas fonctionner.
Fonctionnement du programmeur
Symboles affichés sur l'écran
空 空 空 - symboles correspondant aux differentes fonctions
OK - touche de besoin de fonctions du programmeur
< - touche _."
Réglage de l'horloge
L'heure « 0.00 » clignote après branchement de l'appareil à l'électricité ou après une coupure de l'alimentation électrique.

Pour régler l'horloge, procéder comme suit :
- appuyer sur OK, le symbole apparaître à l'écran,
- mesure l'horloge à l'heure à l'aide des touches < et >.
7 secondes après la mise à l'heure de l'horloge, les nouvelles données sont mémorisées et l'écran)cesse de clignoter.
Pour modifier l'heure, appuyer simultanément sur les touches < et > , afin de faire clignoter l'heure indiquée à l'écran. Il est possible alors de corriger l'heure à l'aide des touches < et > .
Note: Le four peut être mis en fonctionnement après apparition du symbole sur l'écran.
Minuterie
La minuterie peut etre activée a tout moment.
Elle peut se regler de 1 minute a 23 heures et
59 minutes.Pour regler la minuterie,proceder
como suit:
- appuyer sur OK. Le symbole clignotera à l'écran:

regler le temps de la minuterie a l'aide des touches < et>, Le temps de minuterie selectionné apparait à l'écran ainsi que le symbole , indiquant que la fonction de minuterie est activée.
Lorsque le temps est ecoulé, une sonnerie retentit et le symbole clignote.
appuyer sur les touches OK, < ou > pour couper le signal sonore, le symbole 4 disparaît et l'écran indique l'heure.
Note :
Si le signal sonore n'est pas eteint manuellement, il s'eteindra automatiquement après environ 7 minutes.
Fonctionnement semi-automatique
Si le four doit s'arrête après une durée de cuisson donnée, procéder comme suit :
- régler la manette de fonction du four et la manette de réglage de la température sur les paramètres de cuisson désirés,
- appuyer sur la touche OK jusqu'à ce que les indications de l'écran se mettent à clignoter

- Régler la durée de cuisson désirée à l'aide des touches < et > dans un intervalle de 1 minute à 10 heures.
La durée可以选择 sera mémorisée après 7 secondes environ, l'écran indiquera à nouveau l'heure et le symbole AUTO apparaitra à l'écran, indiquant que la fonction est activée.
Une fois le temps seLECTIONné écoué, le four s'arrête automatiquement, le signal sonore se déclenché et le symbole AUTO se met à clignoter,
tournier les manettes de fonctions du four et de réglage de température jusqu'en position éteinte,
- appuyer sur les touches OK, < ou > pour couper le signal sonore, le symbole AUTO s'éteint et l'écran indique l'heure réelle.
Fonctionnement automatique
Si le four doit arrêter la cuisson à une heures donnée, procéder comme suit :
- appuyer sur la touche OK jusqu'à ce que les indications de l'écran se mettent à clignoter :

- régler la durée de cuisson à l'aide des touches < et > comme pour le fonctionnement semi-automatique :
- appuyer à nouveau sur la touche OK jusqu'à ce que les indications de l'écran se mettent à clignoter :

- selectionner l'heure de fin de cuisson souhaitation à l'aide des touches < et >.
- tourner la manette du four et la manette de réglage de la température sur les paramétres de cuisson désirés. Le symbole AUTO apparaitra, indiquant que la fonction est activée. Le four calculera l'heure à laquelle la cuisson doit démarrer, en fonction de la durée de cuisson et de l'heure à de fin de cuisson que vous avez définies : par exemple, si vous avez paramétré une durée de cuisson de 1 heures et programme l'heure de fin de cuisson pour 14h00, le four s'allumera automatiquement à 13h00.
Fonctionnement automatique (suite)
À l'heure de la fin de cuisson, le four s'arrête automatiquement, le signal sonore se déclenché et le symbole AUTO se met à clignoter,
tourner la manette de fonction du four et la manette de réglage de température en position éteinte,
- appuyer sur les touches OK, < ou > pour couper le signal sonore, le symbole AUTO s'éteint et l'écran indique l'heure réelle, par exemple 12h35.

Effacement des paramètres
Les paramètres enregistrés pour la minuterie ou le fonctionnement automatique et semi-automatique peuvent être supprimés à tout moment.
Pour effacer les paramètres du fonctionnement automatique ou semi-automatique, procédé comme suit :
appuyer simultanément sur les touches < et>
Pour effacer les paramètres de la minuterie, procéder comme suit :
choisir la fonction minuterie à l'aide de la touche OK,
- appuyer à nouveau sur les touches < et >.
Régler la tonalité du signal sonore
La tonalité du signal sonore peut être modifiée de la manière suivante :
appuyer simultanément sur les touches < et >
- appuyer sur OK et, désir la fonction « ton ». L'indication suivante clignotera sur l'écran :

- à l'aide de la touche >, désirsir le niveau de la tonalité sur une échelle de 1 à 3.
Fonction pyrolyse
La durée de nettoyage par pyrolyse peut être réglée sur un intervalle de 1 à 2 heures:
- tourner la manette de fonctions du four sur la position [P],
- régler le temps de nettoyage par pyrolyse à l'aide des touches OK, < et >.

Note : Avant de mettre en route la pyrolyse, lore les instructions de la section « Nettoyage et entretien »
Utilisation de la plaque de cuisson.
Pour les informations concernant les différents types de foyers, voir le chapitre Caracteristiques techniques.
Principe de fonctionnement du foyer par induction

Le générateur électrique alimenté un inducteur situé à l'intérieur de l'appareil. Cet inducteur cree des champs magnétiques : ainsi, dés qu'un réciipient à fond métallique est posé sur la plaque, des courants induits sont transmis au réciipient.
Ces courants font du recipient le veritable conducteur de chaleur, tandis que la surface vitrée de la plaque reste froide.
Ce système nécessite l'utilisation de recipients dont le fond est réceptif à l'action des champs magnétiques.
La technologie de l'induction possede deux avantages :
- du fait que celui le recipient de cuisson émet de la chaleur, son utilisation a le plus haut rendement possible,
- il n'y a pas d'inertie thermique, puisque la cuisson commence automatiquement lors l'instant où le recipient est place sur la plaque et s'arrête lors qu'il en est terminé.
Ventilateur : il sert à protégé et à refroidir les éléments de commande et d'alimentation. Il peut tourner à deux vitesses et son fonctionnement est automatique. Le ventilateur se met en route lorsque les foyers sont éteints et s'arrêté lorsque le système électronique à suffisamment refroidi.
Après un cycle de cuisson, le ventilateur de refroidissement continue de fonctionner pendant un certain temps, afin de garantir un refroidissement plus rapide et une meilleure fiabilité du four.
Transistor: La température des éléments électroniques est mesure en permanence par le biais d'une sonde. Si la chaleur augmente dangereusement, ce dispositif déconnecte automatiquement les foyers se trouvant au plus pres des éléments électroniques surchauffés.
Déteur de présence de récipient sur le foyer à induction
Un détector de présence de récipient est installé dans les plaques générant un champ à induction. Lorsque la plaque est allumée, il déclenché automatiquement l'émission de chaleur dans le foyer de cuisson lorsqu'un récipient est posé sur la plaque, ou interrompt l'émission des le retrait du récipient. Ce système garantit des économies d'énergie.
- L'induction nécessite des recipients particuliers, munis d'un fond constitué d'un matériel magnétique - voir tableau.
S'il n'y a peu nécipient sur le foyer de cuisson ou si un récipient inadapté y a été posé, l'écran affiche le symbole 12 et le foyer ne s'allume pas. Si dans les 10 minutes suivantes, peu nécipient n'est détecté, l'allumage de la plaque est annulé.

Le détector de récipient n'est pas une touche sensitive d'illumage/extinction de la plaque.
N'appuyez jamais sur plus d'une touche sensitive à la fois lors de l'allumage, de l'extinction de la plaque ou du réglage de la puissance de chauffe. Si plusieurs touches sensitives sont touchées en même temps (sauf horloge), le système ne prend pas en compte les commandes, et si vous appuyez sur une touche sensitive pendant une durée trop longue, un signal d'erreur est émis.
À la fin de l'utilisation d'un foyer, ne comptez pas sur le détecteur de récipient : éteignez impératifement le foyer avec la touche sensitive correspondante.
Pour que la plaque induction puisse fonctionner de manière efficace, vous doivent utiliser des recipients adaptations.
Choix des recipients de cuisson pour le foyer à induction

- Il convient d'utiliser toujours des recipients de haute qualité avec un fond parfaitement plat : de cette manière, on évite d'obtenir des points trop chauds auxquels la nourriture pourrait adhérer pendant la cuisson. Les cassetoles et poèles à fond épais assurent une diffusion de chaleur parfaite.
- Veiller à ce que le dessous des récipiens soit sec (notamment lors du remplissage du récipient ou si le récipient sort du réfrigérateur). Ceci permet d'eviter de salir la surface de la plaque.
- Couvrir le écipient pour éviter que la chaleur ne s'échappe, le temps de cuisson sera réduit, tout comme la consommation d'énergie.
L'énergie est transmise au besoin lorsque la taille du écipient correspond à celle de la zone de chauffe.
Les diamètres minimum et maximum, qui dépendent de la qualité du recipient, sont indiqués dans le tableau ci-dessous
| Foyer à induction | Diamètre du fond du salarié pour la cuisson par induction |
| Diamètre (mm) | Minimum (mm) | Optimal (mm) |
| 260 | 210 | 260 |
| 220 | 140 | 220 |
| 180 | 90 | 180 |

En cas d'utilisation d'un récipient dont le diamètre est inférieur au diamètre minimal requis, il se peut que les foyers à induction ne s'allument pas.

Pour assurer un contrôle optimal de la température par le module à induction, désir des recipients à fond plat.
Un fond de récipient concave ou portant le logo du fabricant imprimé en creux peut affecter le contrôle de la température par le module à induction et cause une surchauffe des récipients.
Ne pas utiliser de récipiens endommagés, ayant par exemple un fond déformé à la suite d'une surchauffe.
Types de recipients adaptés ou non à l'induction :
| Étiquetage des
réciements de cuisine | Vérifier sur l'étiquette la présence du si-
gne indiquant que le récipient peut être
utilisé sur une plaque à induction. |
| Utiliser des récipients magnétiques (en acier émail-
lé, acier inoxydable ferritique, ou fonte); vérifie en
plaçant un aimant contre le fond du récipient (il doit
resfer collé). |
| Acier inoxydable | La présence du récipient ne sera pas déetectée
sauf dans le cas d'un acier inox ferromagnétique |
| Aluminium | La présence du récipient ne sera pas déetectée |
| Fonte | Très adapté
Note: les récipients en fonte risquent de rayer la
plaque |
| Acier émaille | Très adapté
Récipients à fond plat, épais et lisse recommendés |
| Verre | La présence du récipient ne sera pas déetectée |
| Porcelaine | La présence du récipient ne sera pas déetectée |
| Ré;cipient avec fond en
cuivre | La présence du récipient ne sera pas déetectée |
Panneau de commande
- ÀpRES branchement de la cuisine sur le secteur, tous les indicateurs s'allument. La plaque de cuisson est prete à fonctionner.
- La plaque de cuisson est équipée de touches sensitives électroniques qui se déclenchent en cas de pression d'au moins 1 seconde.
- À chaque fois qu'une touche sensitive déetecte une commande, un signal sonore est émis

Ne placer aucun objet sur la surface des touches sensitives (cela peut décl寒cher une alerte), garder ces surfaces propres en permanence.
Allumage de la plaque de cuisson
Pour allumer la plaque de cuisson appuyez sur la touche Marche/arrêt ① pendant au moins une seconde. La plaque de cuisson est allumée si tous les indicateurs affichent le chiffre « 0 »
Allumage des foyeretsreglage de la puissance dechauffe
Après avoir allumé la plaque de cuisson à l'aide de la touche sensitive ①, vous disposez de 20 secondes pour allumer le foyer désiré.
- Lorsque vous appuyez sur la touche sensitive correspondant au foyer choisi, au niveau de l'indicateur de puissance de ce foyer, le chiffre « 0 » s'éclaire fortement.
- Appuyez sur les touches sensitives « + » ou « - » pour régler la puissance de chauffe désirée.

Si dans les 20 secondes suivant l'allumage de la plaque, vous n'appuyez sur aucune touche sensitive, la plaque de cuisson s'éteint.

Le foyer de cuisson est actif si tous les indicateurs affichent un chiffre ou une dette: cela indique que le foyer est prét et qu'il est possible de procesder au reglage de la puissance de chauffe.
Extinction des foyers
- Pour éteindre une zone de chauffe, appuyer sur la touche sensitive marche/arrêt de la plaque ou sur la touche sensitive « - » pour réduire la puissance de chauffe jusqu'à « 0 ».
Extinction de la plaque de cuisson entière
La plaque de cuisson est active si au moins un de ses foyers est allumé.
Pour eteindre la plaque de cuisson entiere, appuyer sur la touche sensitive marche/arret.
Si un foyer est chaud, l'indicateur correspondant affiche la dette « H», symbole de chaleur résiduelle.
Fonction Booster « P »
La fonction Booster permet d'augmenter la puissance des foyers droit et avant gauche, de 2300 W à 3000 W.
Pour activer le Booster,CHOISIR LE Foyer,regler la puissance de chauffe a « 9 » puis appuyer encore une fois sur la touche sensitive « + » : l'activation du booster est signalée par la lettre « P » qui s'affiche sur l'indicateur du foyer concerné.
La fonction Booster se désactive lors de l'appui sur la touche sensitive « - »

Le temps de fonctionnement du Booster est limite à 5 minutes. Aprees extinction automatique du Booster, le foyer continue à chauffer à sa puissance nominale. La fonction Booster peut etre allumee a nouveau a condition que les touches sensitives de tempereature des dispositifs electroniques et inducteurs le permettent. Si le recipient est reted du foyer lorsque le Booster est allumé, la fonction reste active et le decompte du temps continue.
En cas de surchauffe (d'un dispositif électronique ou d'un inducteur) d'un foyer pendant le fonctionnement du Booster, cette fonction s'éteint automatiquement. Le foyer revient alors à sa puissance nominale.
Réduction automatique de la puissance d'un foyer
Les deux foyer de gauche forment une paire.

Si lorsque la fonction Booster est activée, la puissance globale est trop élevé, la puissance de chauffe du deuxième foyer de la paire sera automatiquement réduite.
Fonction verrouillage
La fonction verrouillage sert à préserver la plaque de cisson d'un allumage accidentel par un enfant : l'allumage est alors possible uniquement après déverrouillage.
Verrouillage de la plaque de cuisson
La plaque de cuisson peut être verrouillée uniquement si aucun foyer de cuisson n'est en fonctionnement.
Pour verrouiller la plaque de cuisson, allumez le panneau de commande en appuyant sur la touche sensitive ①. Appuyez simultanément sur la touche sensitive du foyer droit et sur la touche sensitive ②, puis à nouveau sur la touche sensitive du foyer droit. Tous les indicateurs affichent alors la lecture «L», qui indique que le verrouillage est activé. Si un foyer est chaud, les lettres «L» et «H» s'affichent en alternance.

La combinaison pour le verrouillage de la plaque doit être réalisée dans un interval de 10 secondes et aucune autre touche sensitive que celles mentionnées ci-dessus ne devra être touchée. Dans le cas contraire, la plaque de cisson ne sera pas verrouillée.

La plaque restera verrouillée jusqu'à son déverrouillage intentionnel, même en cas d'allumage et d'extinction du panneau de commande. Une déconnexion de la plaque du secteur n'entraîne pas le déverrouillage de la plaque
Déverrouillage provisoire de la plaque
Pour déverrouiller provisoirement la plaque afin d'effectuer une cuisson, appuyez simultanément sur la touche sensitive du foyer droit et sur la touche sensitive . Les lettres « L » disparaisent et sont remplacées par le chiffre « 0. » suivi d'un point clignotant. Vous pouvez alors régler le foyer souhaïte.
Déverrouillage permanent de la plaque
Pour déverrouiller complètement la plaque de cuisson, appuyez simultanément sur la touche sensitive du foyer droit et sur la touche sensitive , puis à nouveau sur la touche sensitive Les lettres «L» disparaissent et le panneau de commande de la plaque s'eteint.

La combinaison pour le déverrouillage de la plaque doit être réalisée dans un intervalle de 10 secondes et aucune autre touche sensitive que celles mentionnées ci-dessus ne devra être touchée. Dans le cas contraire, la plaque ne sera pas déverrouillée.
Si le panneau de commande a bien eté déverrouillé, lorsqu'vous appuyez sur la touche sensitive ① , tous les indicateurs afficheront le chiffre « 0 » suivi d'un point clignotant. Si les foyers sont chauds, le chiffre « 0 » et la dette « H » s'affichent en alternance.
Indicateur de chaleur résiduelle
Au moment de l'extinction d'un foyer chaud, la dette « H » (pour Hot) apparait pour signaler que le foyer est encore chaud.


À ce moment-là, il est interdit de toucher le foyer en question, au risque de se brûler, ou de placer dessus un objet sensible à la chaleur !
Lorsque la dette «H» disparaît, il est alors possible de toucher le foyer, tout en gardant à l'esprit que celui-ci n'est pas encore revenu à la température ambiente.

Si l'appareil est hors tension et suite à une coupure de courant, l'indicateur de chaleur résiduelle ne s'allume pas.
Limitation du temps de fonctionnement
Afin d'augmenter la fiabilité de la plaque à induction, celle-ci a été équipée d'un dispositif de limitation du temps de fonctionnement de chaque foyer. Le temps de fonctionnement maximal est établi en fonction de la dernière puissance de chauffe sélectionnée.
Si le niveau de puissance de chauffe n'est pas modifié pendant un temps prolongé (voir tableau), alors le foyer correspondant s'éteint automatiquement et l'indicateur de chaleur résiduelle s'allume. Il reste cependant possible de rallumer les différents foyers et de les faire fonctionner conformément à leur mode d'utilisation.

Pour des raisons d'économie d'énergie, la puissance de chauffe « 9 » est automatiquement réduite à « 8 » au bout de 30 minutes, mais le temps de cuisson reste inchangé.
| Niveau de puissance de chauffe | Temps maximal de fonctionnement (en minutes) |
| 1 | 520 |
| 2 | 402 |
| 3 | 318 |
| 4 | 260 |
| 5 | 212 |
| 6 | 170 |
| 7 | 139 |
| 8 | 113 |
| 9 | 90 |
| P - foyers Ø 180 | 90 |
| P - foyers Ø 220 | 10 |
| P - foyers Ø 260 | 10 |
Fonction horloge
L'horloge de programmation facilité la cuisson en donnant la possibilité de programmer le temps de fonctionnement des foyers. Elle peut également servir de minutesie.
Activation de l'horloge de programmation
- Appuyer sur la touche sensitive correspondant au foyer youlu. Le chiffre « 0 » s'éclaire fortement.
- Programme le niveau de chauffe désiré sur une échelle de 1 à 9 à l'aide des touches sensitives « + » et « - »
- Dans les 10 secondes suivantes, activer l'horloge en appuyant simultanément sur les touches sensitives « + » et « - »
- Programme le temps de cuisson désiré (de 01 à 99 minutes) à l'aide des touches sensitives « + » ou « - ». L'indicateur du foyer concerné affiche un point decimal.

Tous les foyers peuvent être programmés en parallelle avec l'horloge de programmation.
Modification du temps de cuisson programme
À tout instant, en cours de cuisson, il est possible de modifier le temps programme.
- Appuyer sur la touche sensitive du foyer concerné. Le chiffre indiquant la puissance de chauffe s'écaille fortement.
- Appuyer sur les touches sensitives « + » ou « -», pour programmer une autre durée de cuisson.
Vérification de la durée de cuisson
Vou puez vérifier à chaque instant le temps de cuisson restant en appuyant sur la touche sensitive du foyer concerné, puis simultanément sur les touches sensitives « + » et « - »
Désactivation de l'horloge de programmation
Lorsque le temps de cisson programme est ecoulé, un signal sonore se déclenché. Appuyer sur n'importe qu'elle touche sensitive pour l'arrête, sinon il s'arrête automatiquement au bout de 2 minutes.
S'il est nécessaire de désactiver l'horloge de programmation avant la fin du tempsprogrammé :
- Appuyer sur la touche sensitive du foyer concerné. Le chiffre indiquant la puissance de chauffe s'écaille fortement.
- Activer ensuite l'horloge en appuyant sur les touches sensitives « + » et « - »
- Réduire le temps de cuisson à l'aide de la touche sensitive « - » jusqu'à « 00 ». La fonction horloge se désactive et le foyer de cuisson continue à fonctionner jusqu'à son extinction manuelle.
Utilisation de l'horloge de programmation comme minuterie
L'horloge de programmation peut être utilisé comme une minuterie supplémentaire lorsque les foyers ne sont pas allumés.
Activation de la minuterie
Si la plaque de cuisson est eteinte :
- Allumer la plaque en appuyant sur la touche sensitive marche/arrêt ①.
- Dans les 10 secondes suivantes, activer la minuterie en appuyant simultanément sur les touches sensitives « + » et « - »
- Régler le temps de minuterie à l'aide des touches sensitives « + » ou « - »
- Si vous le souhaitez, vous pouvez régler une puissance de chauffe sur l'un des foyers.
Désactivation de la minuterie
Lorsque le temps programme est écoué, un signal sonore continu se déclenché. Appuyer sur n'importe qu'elle touche sensitive pour l'arrête, sinon il s'arrête automatiquement au bout de 2 minutes.
S'il est nécessaire de désactiver la minuterie avant la fin du temps programme :
- Afficher la minuterie en appuyant simultanément sur les touches sensitives « + » et « - »
Réduire ensuite le temps de minuterie à l'aide de la touche sensitive « - » jusqu'à « 00 »
La fonction minuterie se désactive.
- Si l'horloge est utilisé comme minuteserie, elle ne sert pas comme programmateur : autrement dit, les foyers ne seront pas eteints à la fin du temps programme.
Utilisation du four
Pour les informations techniques du four, voir le chapitre « Caracteristiques de l'appareil. »
Four à chaleur tournante (avec ventilateur et résistance)
Le four est chauffé grâce à deux résistances placées sur la partie supérieure et inférieure, et par chaleur tournante ou par le grill. Le four est contrôle à partir des boutons de selection de programme et de selection du thermostat. Pour désir un mode de cuisson, tournez le bouton sur la position désirée.
Sélecteur de programme


Sélecteur du thermostat
Pour éteindre - positionner les deux boutons sur „I" / „0".
Note :
La montée en température s'effectue seulement une fois que vous avez sélectionné une fonction et une température.
Fonctions du four représentées sur le bouton

Éclairage indépendant du four
Lorsque le bouton est positionné sur cette fonction, la lampe du four sera allumée.

Fonction pyrolyse
La fonction de nettoyage par pyrolyse permet de chauffer jusqu'à 480^ environ pour brûler l'ensemble des graisses et saletés générées dans le four.

Note :
Avant de mettre en route la pyrolyse, lisez impérativement les instructions de la section «Nettoyage et entretien »

Décongélation
Seul le ventilateur fonctionne pour permettre la décongélation rapide.

Super grill ventilé
Cette fonction permet une cuisson rapide ou une cuisson de grandes quantités d'aliments.

Gril renforcé (gril et résistance de voûte)
Cette fonction permet de griller en utilisant en même temps la résistance de VOUTE. Une température plus importante est obtenue dans la partie supérieure du four, afin de cuire des quantités plus importantes et de brunir les alimentés.

Gril simple
Cette fonction permet de griller les mets peu écais et placés au centre du four.

Résistance de sole
Cette fonction déclenché uniquement la résistance de sole.
Elle permet de cuire le fond de vos pâtisseries ou tartes, par exemple.

Cette fonction permet de cuire les aliments sur un seul niveau.

Chaleur tournante
Cette fonction permet une cuisson ventilée par l'air forcee grâce au thermo-ventilateur situé au fond du four. Ce mode de cuisson permet une distribution uniforme de la chaleur autour des plats.Lors de l'utilisation de cette fonction, diminuer de 20^ a 40^ la température utilisée en convection naturelle.
Les avantages de cette fonction :
- la durée initiale de mise à tempé rature du four est diminuée via le raccourcissement de la phase de préchauffage,
- elle permet de cuire sur deux niveaux à la fois,
- les viandes perdent moins de graisse et de jus, conservant ainsi une(Meilleure saveur.

Convection naturelle ventilée
Cette fonction permet de cuire plus facilement les pizzas entre autres.

Sole pulsée
Cette fonction permet d'augmenter la température au niveau de la pâte des pâtisseries pour qu'elle soient plus croustillantes.
Voyants de contrôle
Quand le four est allumé, deux voyants s'éclairent, unvoyant orange et unvoyant rouge. Levoyant orange indique que le four est activé. Levoyant rouge s'éteint lorsque le four a atteint la température indiquée. Si la recette prévoit que le plat soit mis dans un four déjà chaud, attendre que levoyant rouge s'éteigne une première fois. Durant la cuisson, le maintien s'éteindra et s'allumera régulierement (maintien de la température stable du four).Levoyant orange s'allume également si l'utilisateur désits la fonction « Éclairage independant du four »
Utilisation du grille
Les plats sont grillés par rayons infrarouges émis par la résistance incandescente du grill. Pour allumer le grill, il faut :
tourner la manette sur l'une des positions suivantes:
- monter le four en température durant approximativement 5 minutes (porte du four fermée).
insérer la lèchefrite avec votre plat au niveau correspondant. Si vous utilisez la broche, insérez la lèchefrite sur un gradin situé sous la broche afin de récapérer laGRAISSSE qui coulera.
fermer la portedou four.
Pour les températures correspondant à l'utilisation du grill, voir Cuisson au four - Conseils pratiques.

Note :
Lors de l'utilisation du grille, veiller à bien fermer la porte du four.
Lors de l'utilisation du gril, les parties accessibles du four peuvent devenir brûlantes. Tenir les enfants à l'écart.
Utilisation de la broche
La broche permet de cuire votre viande par un mouvement rotatif. Elle sert principalement à préparer la volaille, les brochettes, les saucisses, etc. La rotation de la broche commence et s'arrête au moment de mise en marche ou d'arrêt de la fonction du grill.
La broche s'arrête de manière intermittente et change de sens de rotation, ce qui n'altere pas la fonctionnalité de l'appareil ni la qualité de la cuisson.
Note :
La broche ne dispose pas d'une manette de commande séparée.
Lors de l'utilisation du tournebroche, veiller à bien fermer la porte du four.
Préparation de la viande à rôtir sur la broche :
- enfoucher la viande et l'immobiliser à l'aide des broches latérales,
- introduire le support de la broche sur le 3ème gradin en partant du bas,
- introduire l'extrémité de la broche dans l'orifice d'entrainment et veiller à ce que la rainure de la broche soit bien posée dans l'enforcement du support.
- dévisser la poignée,
insérer la lèchefrite au dessous du support de la broche.
fermer la portedou four.

Patisseries
- pour la préparation de vos pâtisseries/gâteaux, nous vous recommendons l'utilisation de la l'échefrite livrée avec l'appareil ou de la plaque à pâtisserie posée sur la grille
- il est également possible d'utiliser les moules et l'echefrites achetés dans le commerce. Il faut les poser sur la grille. Nous vous recommendons, pour vos pâtisseries, d'utiliser les l'echefrites noires qui conduisent mieux la chaleur et raccourcissant le temps de cuisson,
- si vous utilisez la chaleur tournante, il n'est pas obligatoire de préchauffer le four. Dans le cas contraire, il est nécessaire de le préchauffer avant d'y introduire les pâtisseries;
- avant de sortir les pâtisseries/gâteaux du four, il faut vérifier la qualité de la cuisson avec une tige en bois (si la pâte est cuite, la tige enforcée dans le gâteau ressort sèche et propre),
- il est conseilé de laisser votre pâtisserie/gâteau dans le four, après l'avoir étéint, pendant environ 5 minutes, la température de cuisson avec la fonction chaleur tournante étant approximativement 20 à 30 degrés inférieure par rapport à une cuisson conventionnelle (utilisation des résistances supérieure et inférieure),
- les indications sur le tableau de cuisson ci-dessous sont approximatives et chaque utiliser peut les modifier selon ses expériences et préférences culinaires,
- si les informations suggérées dans le livre de recettes sont très différentes des valeurs représentées dans ce mode d'emploi, veuillez suivre les indications du mode d'emploi.
Cuisson et rôtissage des viandes
- le four est destiné à la préparation des portions de viande dont le poids est supérieur à 1 kg. Nous recommendons la préparation des parts plus petites sur la plaque de cuisson,
- nous recommendons l'utilisation de recipients résistant à la chaleur. Leurs poignées devront être également résistantes à de haute températures,
- dans le cas d'utilisation d'un support grille ou d'une broche, nous recommendons de poser au niveau inférieur une l'échefrite contenant une petite quantité d'eau,
normalement, la viande doit être returnée au minimum une fois à la moitié du temps de cuisson. Le rôti doit également être arrosé de sa sauce ou d'eau chaude salée. Il ne faut pas asperger le rôti avec de l'eau froide.
| Type de pâtisse-rie ou de plat | Fonction du four | Température °C | Gradin | Temps [min] |
| | 160 - 200 | 2 - 3 | 30 - 50 |
| | 160 - 180 | 2 | 20 - 40* |
| | 140 - 160 | 2 | 10 - 40* |
| | 200 - 230 | 1 - 3 | 10 - 20 |
| | 210 - 220 | 2 | 45 - 60 |
| | 160 - 180 | 2 - 3 | 45 - 60 |
| | 190 | 2 - 3 | 60 - 70 |
| | 230 - 250 | 4 | 14 - 18 |
| | 225 - 250 | 2 | 120 - 150 |
| | 160 - 180 | 2 | 120 - 160 |
| | 160 - 230 | 2 | 90 - 120 |
| | 160 - 190 | 2 | 90 - 120 |
| | 190 | 2 - 3 | 70 - 90 |
| | 160 - 180 | 2 | 45 - 60 |
| | 175 - 190 | 2 | 60 - 70 |
| | 190 - 210 | 2 | 40 - 50 |
| | 170 - 190 | 3 | 40 - 50 |
*les temps indiqués concernent les gâteaux préparés dans de petits moulés
Important!
Les indications de ce tableau de cuisson sont approximatives et chaque utilisateur peut les modifier selon ses expériences et préférences culinaires.
Afin de prolonger la vie de la cuisine, l'utilisateur doit l'entretenir correctement selon les recommendations du fabricant.
Avant de procéder au nettoyage, il faut déconnecter la cusinière de l'alimentation électrique et faire attention à ce que toutes les manettes soient en position « 0'. Nettoyez la plaque de cuisson uniquement une fois que levoyant de chaleur résiduelle est étèint.
Plaque vitrocéramique
- La plaque doit être nettoyée systématiquement après chaque usage. Dans la mesure du possible, nous recommendons de nettoyer la plaque lorsqu'elle est tiède (levoyant de chaleur résiduel étéint). Éviter un fort encrassement de la plaque de cuisson, en particulier, et éviter de brûler les liquides ayant débordé.
- Ne pas utiliser de produits nettoyants abrasifs tels que les poudres à récurer contenant des agents abrasifs, pâtes abrasives, pierres abrasives, pierres ponces, éponges en acier, etc. Ils peuvent rayer la surface de la table de cuisson et provoquer des dommages irréversibles.
- Pour nettoyer les salissures ayant adhééré sur la table, utilisez le gratoir fourni avec l'appareil. Faites attention à ne pas abîmer le cadre de la plaque céramique.

Grattoir pour cuisinières
Note: avant de ranger le grattoir, toujours entre le bord tranchant à l'intérieur du grattoir (il suffit d'appuyer sur la partie saillante avec le pouce). Manipuler avec précaution - risque de blessures - tener à l'écart des enfants.
- Nous recommendons l'utilisation des produits de nettoyage délicats, adaptés, tels que liquides et emulsions qui éliminent laGRAisse. En particulier, nous préconisons l'utilisation des préparations spéciales pour nettoyage et entretien des apparéils vitrocéramiques. Nous recommendons également l'utilisation de l'eau chaude avec du produit nettoyant.
- Pour le nettoyage, utiliser un torchon doux et délicat, absorbant bien l'humidité.
- La plaque vitrocéramique doit être soignement séchéée après tout nettoyage.
- Faire particulièrement attention à ne pas abîmer la plaque vitrocéramique, à ne pas provoquer de rayures profondes ni déclats suite aux chocs provoqués par des couvercles en métal ou autres objets aux rebords tranchants.
Important!
Pour les besoin d'entretien et de maintenance de l'appareil, il est interdirit d'utiliser des produits abrasifs.
Pour nettoyer le bandeau de commande, utiliser uniquement de l'eau chaude avec une petite quantité de liquide vaisse ou de nettoyant pour vitres. Ne pas utiliser de produit à récuer.
Four
Nettoyer le four lorsqu'il est encore tiède.
Le four doit être nettoyé après chaque utilisation. Pour plus de visibilité, nettoyer le four l'éclairage allumé.
- Laver l'intérieur du four uniquement avec de l'eau chaude et une petite quantité de produit nettoyant.
- Àprous avoir nettoyé le four, il faut l'essuyer soigneusement.

Note :
Pour nettoyer et entraîrir les portes vitrées, ne pas utiliser de produits abrasifs.
- Les gradins du four sont facilement démontables. Pour les nettoyer, soulever le crochet avant de la glissière (Z1), l'écarter légèrement et enlever le crochet arrêté (Z2). ÀpRES le nettoyage des gradins, il faut les replacer dans les trous de fixation et remettre les crochets (Z1 et Z2) en place.

Démontage des gradins
Nettoyage par pyrolyse
Lors d'un cycle de nettoyage automatisé du four par pyrolyse, la température interne atteint environ 480^ . Les restes de grillades ou de plats cuits au four sont transformés en cendres, faciles à éliminer, qu'il suffit de balayer ou de nettoyer avec un chiffon humide au terme de la pyrolyse.
Avant d'activer la pyrolyse
Note
Retirer du four tous les accessoires (plaques, grille de support, gradins lateraux). Les accessoires qui restent dans le four pendant la pyrolyse sont endommages de manière irreversible.
- Éliminer les encrasements importants à l'intérieur du four.
Nettoyer avec un chiffon humide les parois extérieures du four.
- Suivre les instructions.
Pendant le nettoyage par pyrolyse
- Ne pas laisser de chiffon à proximé du four chaud.
- Ne pas allumer la plaque de cuisson.
- Ne pas allumer l'éclairage du four.
La portedu fourest munied'un systemedeverrouillage qui empêche son ouverteun cours de pyrolyse. Ne pas ouvrirla portesinon le processus de nettoyagesinterrompt.
Note
Durant la pyrolyse, la cusinière peut atteindre des températures très élevées, ses parois extérieures peuvent être plus chaudes que d'habitude : en conséquence, veiller à ce que les enfants ne se trouvent pas à proximité de la cusinière pendant ce processus. En raison des émanations qui se produitpendant le nettoyage, la cuisine doit être bien aérée
Procedure de nettoyage par pyrolyse
- Fermer la porte du four.
- Tournier la manette des fonctions du four sur la position pyrolyse P.
L'écran duprogrammateur affiche le temps de pyrolyse et le symbole AUTO. En même temps,levoyantde contrôle du verrouillage de la portedu four s'allume 0

- Appuyez sur la touche OK deux fois: le texte «dur» s'affichera à l'écran. Réglez alors la durée souhaïée pour la pyrolyse (entre 1 heures et 2 heures).
La porte du four se bloque, et le nettoyage commence peu après.
Au terme de la pyrolyse, l'écran affiche P0.00. La température est encore très élevé à l'intérieur du four et la porte reste bloquée.

- Mettre la manette des fonctions du four en position 0. Levoyant de contrôle du verrouillage de la portereste allumé:la porteste tousjours bloquée.
Le nettoyage est terminé, mais le four est très chaud et ne peut être utilisé. Le refroidissement commence, il peut durer 1 à 2 heures. Lorsque la température à l'intérieur du four retombe à environ 200^ , la porte se débloque et le voyant du verrouillage s'eteint.
Important!
Pour pouvoir débloquer la porte, la manette des fonctions du four doit être positionnée sur 0.
Si l'utilisateur n'a pas mis le bouton sur 0 et que le four atteint 150^ toujours en position , il faudra d'abord positionner la manette sur 0, puis attendre 5 minutes pour que la porte se débloque.
- ÀpRES refroidissement, vous pouvez ouvrir la porte et éliminer les cendres avec un chiffon doux humide. Monter les gradins latéraux et les autres accessoires. Le four est pré à être utilisé.
Annulation de la pyrolyse
La pyrolyse est un programme automatique qui ne devrait pas etre interrompu. Si vous voulez neanmoins interrompre le processus:
- Mettre la manette de fonctions du four en position 0.
- La porte se débloquera automatiquement après refroidissement du four, lorsque levoyant du verrouillage 0 s'éteint.
Si vous souhaitez interrompre la pyrolyse lorsque la porte est bloquée mais que le four n'a pas encore atteint la température de pyrolyse :
- Positionner la manette des fonctions du four sur 0.
- Attendre 5 minutes.
- Positionner la manette des fonctions sur P.
- Attendre 2 minutes.
Problème d'ouverture de la porte
Si pour une raison quelconque la portedu four ne s'est pas débloquée automatiquement alors que le four est déjà refroidi,proceder comme suit pour ouvrir la porte:
- Positionner la manette des fonctions sur P.
- Attendre 2 minutes.
- Positionner la manette des fonctions sur 0. La porte sera débloquée dans les 5 minutes suivantes.
Note: Si le four est très chaud (plus chaud que lors d'une utilisation normale), la porte ne se débloquera pas.
Afin de pouvoir nettoyer plus facilement l'intérieur du four, il est possible d'enlever la porte. Pour ce faire, ouvrir la porte, déplacer vers le haut la protection de la charnière (fig. A). Refermer ensuite légèrement la porte jusqu'à la butée, la soulever et l'enlever en la tirant vers l'avant.
Pour remettre la porte après le nettoyage, repeter les mêmes gestes dans l'ordre inverse. Lors du montage de la porte, veiller à bien placer l'accroche dans la rainure de la charnière. Une fois la porte montée, baisser l'élement de protection et bien le serrer. Laisser cet élément dans une position incorr recte pourrait entraîner la détérioration de la charnière lors de la fermeture de la porte.

Déplacement des protections des charnières
- Il faut dévisser à l'aide d'un tournevis cruciforme les vis qui se trouvent sur la plinthe supérieure de la porte (fig. B).
- Il faut glisser la plinthe supérieure de la porte à l'aide d'un tournevis plat, en la soulevant delicatement sur les cots (fig. B, C).


- Decrocher la vitre interieure de sa fixation (en partie inférieure de la porte).
Attention! Risque de dommages à la fixation des vitres. Enlever la vitre en la glissant, ne pas la soulever en la tirant vers le haut.
Extraire la vitre interieure (fig. D).
- Laver la vitre à l'eau chaude avec un peu de produit de nettoyage.
La repose de la vitre se fait dans l'ordre inverse des opérations du démontage.
La partie lisse doit se trouver en haut.


MISE EN GARDE: S'assurer que l'appareil est déconnecté de l'alimentation avant de replacer la lampe pour éviter tout risque de chocolélectrique.
- Positionner toutes les manettes sur ‘ ’/‘0’ et débrancher l’appareil de sa source d'alimentation.
- Dévisser, laver le couvercle et le sécher soigneusement.
Enlever l'ampoule et la replacer, enCHOISSSANT une ampoule identique et
résistante aux hauteures températures (300^) , ayant les caractéristiques suivantes :

Contrôles périodiques
En dehors de l'entretien et du nettoyage courant de la cuisineire, il est nécessaire de :
- vérifier régulièrement que les dispos-sitifs électroniques et mécaniques de la cuisine réne fonctionnent correctement. A l'expiration du début de garantie, et tous les deux ans au minimum, il est nécessaire de prévoir une maintenance technique de la cuisine réne,
- faire réparer les événuels définuts constatés,
- procéder à la maintenance des dispositifs mécaniques de la cuisine.
Note : les réparations et réglages doivent être effectuels par un professionnel agéré ou par le service après-vente.
Dans chaque situation d'urgence, il faut :
fermer les manettes de la cuisineire
- débrancher l'appareil de la source d'alimentation
- contacter le service après-venture
Des petits dysfonctionnements peuvent être solutionnés par les utilisateurs à l'aide du tableau ci-après. Avant de contacter le service client ou le service après-vente, consultez ce tableau :
| PROBLÈME | CAUSE | QUE FAIRE ? |
| 1. L'appareil ne s'allume pas | Interruption de l'alimentation électrique | Vérifier le fusible du tableau électrique de votre logement, le replacer le cas échéant |
| 2. L'appareil ne prend pas en compte les commandes entrées | Le panneau de commande n'est pas allumé | L'allumer |
| Vous n'avez pas appuyé assez longtemps sur la to-uche sensitive (moins d'une seconde) | Appuyer un peu plus long-tems |
| Vous avez appuyé sur plusieurs touches en même temps | N'appuyer que sur une touche à la fois (sauf pour l'extinction des foyers et le verrouillage de la cusinière) |
| 3. L'appareil ne répond pas et émet un bref signal sonore | La protection infant est activée (verrouillage) | Suivre la procédure de déverrouillage |
| 4. L'appareil ne répond pas et émet un signal sonore prolongé | Utilisation impropre (vous appuyez sur les mauvaises touches sensitives ou trop vite) | Éteindre et pallumer la plaque |
| Touche(s) sensitive(s) recouverte(s) ou sale(s) | Dégager ou nettoyer les touches sensitives |
| 5. L'appareil entier s'éteint | Après allumage, aucune commande n'a été entreependant plus de 10 s | Allumer le panneau de com-mande et désir voir aussiot une commande |
| Touche(s) sensitive(s) recouverte(s) ou sale(s) | Dégager ou nettoyer les touches sensitives |
| 6. Un foyer s'éteint et l'indica-teur correspondant affiche la dette « H » | Limitation du temps de fonctionnement | Rallumer le foyer |
| Touche(s) sensitive(s) recouverte(s) ou sale(s) | Dégager ou nettoyer les touches sensitives |
| Surchauffe des dispositifs électriques |
| 7. L'indicateur de chaleur résiduelle est étêt alors que les foyers sont encore brûlants. | Interruption d'alimentation électrique, l'apparéil a été débranché du secteur. | L'indicateur de chaleur résiduelle fonctionnera à nouveau au prochain allu-mage/extinction du panneau de commande. |
| 8. Plaque vitrocéramique brisée | Danger! Déconnecter immédiatement la plaque du secteur (fusible). S'accuser au service de réparation le plus proche. |
| 9. Autre dysfonctionnement persistent | Déconnecter la plaque du secteur (fusible). S'accuser au service de réparation le plus proche.
Important!
Youés étes responsable de l'état correct et de la bonne utilisation de votre apparéil dans votre foyer. Si vous faites appel au service après-vente en raison d'une erreur d'utilisation, même durant la période de garantie, cette réparation vous sera facturée.
Nos ne pouvons malheureusement pas être tenus responsables des dommages issus du non-respect des instructions duprésent mode d'emploi. |
| 10. La plaque à induction émet une espèce de ronflèment | Situation normale. Le ventilateur s'est mis en marche pour re-froidir les dispositifs électroniques. |
| 11. La plaque à induction émet une espèce de sifflement. | Situation normale. En raison de la haute fréquence de fonction-nement des inducteurs, lors de l'utilisation de plusieurs zones de chauffe à puissance maximale, la plaque émet un léger sifflement. |
| 12. Symbole E2 | Inducteurs surchauffés, refro-IDissement insuffisant | Vérifier que votre réseau est conforme aux indications des pages 22, 23. |
| 13. L'écran du programme affiche régulièrement l'heure « 0.00 » | L'appareil a été débranché ou a subi une coupure momentanée d'alimentation | Régler l'heure (voir la section Réglage de l'horloge). |
| 14. L'éclairage du four ne fonctionne pas. | L'ampoule est dévissée ou défectueuse. | Visser l'ampoule à fond ou la replacer le cas échéant (voir chapitre Nettoyage et entretien). |
Tension nominale 230 / 400V~50 Hz
Puissance nominale 9,8 kW
Plaque à induction 6,7 kW
Dimensions de la cuisine (hauteur/largeur/profondeur) 85 / 60 / 60 cm
L'appareil est conforme aux exigences de la législation UE, normes EN 60335-1, EN 60335-2-6
Déclaration du fabricant
Le fabricant déclare que ce produit répond aux exigences essentielles des directives européennes suivantes:
Directive « basse tension » 2006/95/CE,
Directive de compatibilité electromagnétique 2004/108/CE,
Directive « Eco-conception » 2009/125/CE,
et, par conséquent, le produit est marqué C et a obtenu une déclaration de conformité mise à la disposition des autorités de surveillance du marché.
Les informations dans la fiche du produit ont ete indiquees conformement au reglement delégued (UE) n^o 65/2014 de la Commission complétant la directive 2010/30/UE du Parlement Européen et du Conseil en ce qui concerne l'etiquetage energétique des fours et des hottes domestiques
| Marque | Thomson |
| Identification du modele | TIMP60.3XTIMP60.3WH |
| Indice d'efficacité énergétique | 106,4 |
| Classe d'efficacité énergétique | A |
| Consommation en énergie pour un cycle mode conventionnel [kWh] | 0,99 |
| mode chaleur tournante [kWh] | 0,88 |
| Nombre de cavités | 1 |
| Source de chaleur | Électricité |
| Volume de la cavité [l] | 66 |
Les méthodes de mesure et de calcul selon les normes ci-dessous ont été appliquées afin d'établier la conformité aux exigences d'écoconception :
EN 60350-1
EN 60350-2
Les informations sur le produit ont ete indiquees conformement au reglement (UE) n° 66/2014 de la Commission portant application de la directive 2009/125/CE du Parlement Européen et du Conseil en ce qui concerne les exigences d'ecoconception applicables aux fours, plaques de cuisson et hottes domestiques
Fours domestiques
| Identification du modèle | TIMP60.3XTIMP60.3WH |
| Type de four | Électrique |
| Masse de l'appareil [kg] | 44 |
| Nombre de cavités | 1 |
| Source d'énergie par cavité | Électricité |
| Volume par cavité V [l] | 66 |
| Consommation d'énergie (électricité) requise pour chauffer une charge normalisée dans une cavité d'un four électricité au cours d'un cycle en mode conventionnel par cavité (énergie électricité finale) [kWh/cycle] | 0,99 |
| Consommation d'énergie requise pour chauffer une charge normalisée dans une cavité d'un four électricité au cours d'un cycle en chaleur tournante par cavité (énergie électricité finale) [kWh/cycle] | 0,88 |
| Indice d'efficacité energétique par cavité | 106,4 |
Les informations sur le produit ont ete indiquees conformement au reglement (UE) n^o 66/2014 de la Commission portant application de la directive 2009/125/CE du Parlement Européen et du Conseil en ce qui concerne les exigences d'ecoconception applicables aux fours, plaques de cuisson et hottes domestiques
Plaques de cuisson domestiques électriques
| Identification du modèle | TIMP60.3XTIMP60.3WH |
| Type de plaque de cuisson | Électriques |
| Nombre de zones et/ou aires de cuisson | 4 |
| Technologie de chauffage | Zones de cuisson par induction |
| Pour les zones ou aires de cuisson circulaires : diamètre de la surface utile par zone de cuisson électrique, arrondi aux Ø 5 mm les plus proches | AVG | Ø 22,0 |
| ARG | Ø 18,5 |
| ARD | Ø 26,0 |
| AVD | - |
| Consommation d'énergie par zone ou aire de cuisson calculée par kg [Wh/kg] | AVG | 188,9 |
| ARG | 188,9 |
| ARD | 188,9 |
| AVD | - |
| Consommation d'énergie de la plaque de cuisson, calculée par kg EC [Wh/kg] | 188,9 |
Thomson est une marque déposée de Technicolor.