L8WED164C - Lave-linge séchant AEG-ELECTROLUX - Notice d'utilisation et mode d'emploi gratuit
Retrouvez gratuitement la notice de l'appareil L8WED164C AEG-ELECTROLUX au format PDF.
| Intitulé | Détails |
|---|---|
| Type de produit | Lave-linge séchant |
| Capacité de lavage | 8 kg |
| Capacité de séchage | 4 kg |
| Vitesse d'essorage | 1600 tr/min |
| Classe énergétique | A |
| Consommation d'énergie (cycle de lavage) | 0,85 kWh |
| Consommation d'eau (cycle de lavage) | 49 litres |
| Dimensions approximatives | 85 x 60 x 60 cm |
| Poids | 75 kg |
| Type d'alimentation | Électrique |
| Fonctions principales | Programmes de lavage variés, séchage, départ différé |
| Entretien et nettoyage | Filtres à nettoyer régulièrement, tambour à essuyer |
| Pièces détachées et réparabilité | Disponibilité des pièces sur demande, réparabilité moyenne |
| Sécurité | Protection contre les surcharges, verrouillage enfant |
| Compatibilités | Compatible avec les détergents standards et écologiques |
FOIRE AUX QUESTIONS - L8WED164C AEG-ELECTROLUX
Questions des utilisateurs sur L8WED164C AEG-ELECTROLUX
0 question sur cet appareil. Repondez a celles que vous connaissez ou posez la votre.
Poser une nouvelle question sur cet appareil
Téléchargez la notice de votre Lave-linge séchant au format PDF gratuitement ! Retrouvez votre notice L8WED164C - AEG-ELECTROLUX et reprennez votre appareil électronique en main. Sur cette page sont publiés tous les documents nécessaires à l'utilisation de votre appareil L8WED164C de la marque AEG-ELECTROLUX.
MODE D'EMPLOI L8WED164C AEG-ELECTROLUX
Merci d'avoircisione produit AEG.Nous l'avons conqu pour qu'il vous offre des performances irreprochables pour longtemps, en intégrant des technologies innovantes qui vous simplifient la vie grâce à des caractéristiques que vous ne trouvrez pasforcément sur des appareils ordinaires.Veuillez prendre quelques instantspour lore cette notice afin d'utiliser au moins votre appareel.
Visitez notre site Internet pour :

Obtenir des conseils d'utilisation, des brochures, de l'aide, des informations : www.aeg.com

Enregistrez votre produit pour obtenir un meilleur service : www.registeraeg.com

Acheter des accessoires, consommables et pieces de rechange d'origine pour votre apparéil : www.aeg.com/shop
SERVICE APRÈS-VENTE
Utilisez toujours des pieces d'origine.
Avant de contacter le service, assurez-vous de dispose des informations suivantes : Modèle, PNC, numéro de série.
Youtouvrezcesinformationsurla plaque signaletique.
! Avertissement/Consignes de sécurité
i Informations generales et conseils
Informations en matière de protection de l'environnement
Sous réserve de modifications.
1. CONSIGNES DE SECURITÉ
Avant d'installer et d'utiliser cet apparéil, lisez soigneusement les instructions fournies. Le fabricant ne peut être tenu pour responsable des dommages et blessures liés à une mauvaise installation ou utilisation. Conservez toujours cette notice avec votre apparéil pour vous y référer ultérieurement.
1.1 Sécurité des enfants et des personnes vulnérables

AVERTISSEMENT!
Risque d'asphyxie, de blessure ou d'invalidité permanente.
- Cet apparéil peut être utilisé par des enfants âgés d'au moins 8 ans et par des personnes ayant des capacités physiques, sensorielles ou mentales réduites ou dénuées d'expérience ou de connaissance, s'ils (si elles) sont correctement surveillé(e)s ou si des instructions relatives à l'utilisation de l' apparéil en toute sécurité leur ont été données et si les risques encourus ont été appréhendées.
- Les enfants ne doivent pas jouer avec l'appareil.
- Les enfants de moins de 3 ans, sans surveillance, doivent être tenus à l'écart de l'appareil.
- Ne laïsez pas les emballages à la portée des enfants.
- Ne laïsez pas les détergents à la portée des enfants.
- Tenez les enfants et les animaux éloignés de la porte de l'appareil lorsque celle-ci est ouverte.
- Si l'appareil est équipé d'un dispositif de sécurité enfants, nous vous recommendons de l'activer.
- Le nettoyage et l'entretien par l'usage ne doivent pas etre effectués par des enfants sans surveillance.
1.2 Consignes générales de sécurité
-
Ne modifies pas les caractéristiques de cet appariel.
-
L'appareil peut être installé de façon autonome ou sous un plan de travail de cuisine si un espace correct est disponible.
- L'appareil ne doit pas etre installe derriere une porte à serrure, une portecoulissante ni une portebattante dotée d'une charniere du cote opposé à l'appareil qui pourrait empêcher l'ouverture complète du hublot.
- Ne connectez la fiche d'alimentation secteur à la prise de courant secteur qu'à la fin de l'installation. Assurez-vous que la fiche d'alimentation est accessible une fois l'appareil installé.
- Les orifices d'aération situés à la base (si prênts) ne doivent pas être obstrués par de la moquette.
- Aérez suffisamment la piece pour éviter le reflux de gaz provenant d'appareils utilisant d'autres combustibles, y compris les flammes nues.
- L'air rejeté ne doit pas être evacué dans une évacuation utilisée pour les fumées rejetées provenant des apparèils brûlant du gaz ou d'autres combustibles (si applicable).
- La pression de l'eau en service (minimale et maximale) doit être comprise entre 0,5 bar (0,05 MPa) et 8 bar (0,8 MPa).
- Respectez la charge maximale de 9 kg (reportez-vous au chapitre « Tableau des programmes »).
- L'appareil doit être raccordé au circuit d'eau à l'aide des tuyaux neufs fournis. N'utilisez pas de tuyaux provenant d'anciens appar兼ils.
- Si le cable d'alimentation est endommagé, il doit être remplace par le fabricant, son service après-vente ou des personnes de qualification similaire afin d'éviter un danger.
- Retirez les peluches accumulées dans l'appareil.
- N'utilisez jamais l'appareil sans filtres. Nettoyez le filtrer à peluches avant ou après chaque utilisation.
- Il convient que les articles qui ont été salis avec des substances telles que l'huile de cuisson, l'acétone, l'alcool, l'essence, le kérosène, les detachants, la
terebenthine, la cire et les substances pour-retirer la cire soient lavés dans de l'eau chaude avec une quantité supplémentaire de détermagent avant d'être séchés dans le sèche-linge à tambour.
- Ne séchez pas d'articles sur lesquels ont été utilisés des produits de nettoyage chimiques industriels.
N'introduisez dans le sèche-linge que du linge propre. - Les pièces avec mousse de caoutchouc (mousse de latex), bonnets de bains, textiles imperméables, articles doublés en caoutchouc ou vêtements et taires d'oreiller rembournrés de mousse de caoutchouc ne doivent pas être séchés dans un sèche-linge à tambour.
- Les assouplissants ou autres produits similaires doivent être utilisés conformément aux instructions de leur fabricant.
- Retirez des poches tous les objets tels que briquets et allumettes.
- N'arrêtez jamais le séché-linge avant la fin du cycle de séchage à moins de sortir immédiatement tout le linge et de le déplier pour mistrés dissiper la chaleur.
- La phase finale d'un cycle de sèche-linge se produit sans chaleur (cycle de refroidissement) afin de s'assurer que les articles sont soumis à une température garantissant qu'ils ne seront pas endommages.
- Ne pulverisez pas d'eau ni de vapeur pour nettoyer l'appareil.
- Nettoyez l'appareil avec un chiffon doux humide. Utilisez uniquement des produits de nettoyage neutres. N'utilisez pas de produits abrasifs, de tampons à récurer, de solvants ni d'objets métalliques.
- Avant toute opération d'entretien, éteignez l'appareil et débranchez la fiche de la prise secteur.
2. INSTRUCTIONS DE SECURITÉ
2.1 Instructions d'installation
- Retirez l'intégralité de l'emballage et les boulons de transport.
- Conserve les boulons de transport. Si vous nevez déplacer à nouveau l'appareil, il est conseillé de bloquer le tambour.
- Soyez toujours vigilants lorsque vous déplacez l'appareil car il est lourd. Portez toujours des gants de sécurité.
- N'installez pas et ne branchez pas un apparéil endommagé.
- Suivez scrupuleusement les instructions d'installation fournies avec l'appareil.
- N'installez pas l'appareil ou ne l'utilisez pas dans un endroit où la température ambiente est inférieure à 5^ ou supérieure à 35^ .
Assurez-vous que le sol sur lequel vous installez l'appareil est plat, stable, résistant à la chaleur et propre. - N'installez pas l'appareil dans un endroit où il ne pourrait pas être complètement ouvert.
- Déplacez toujours l'appareil à la verticale.
- La surface arrête de l'appareil doit être positionnée contre le mur.
Assurez-vous que de l'air circule entre l'appareil et le sol. - Réglez les pieds pour laisser un espace suffisant entre l'appareil et la surface en moquette.
- Une fois l'appareil installé à son emplacement permanent, vérifie qu'il est bien de niveau à l'aide d'un niveau à bulle. S'il n'est pas de niveau, réglez les pieds jusqu'à ce qu'il le soit.
- Pour vous assurer que le compresseur fonctionne correctement, patientez 6 heures après l'installation avant d'utiliser l'appareil.
2.2 Branchement électrique

AVERTISSEMENT!
Risque d'incendie ou d'électrocution.
L'appareil doit être relié à la terre.
Utilisez toujours une prise de courant de sécurité correctement installée.
- N'utilisez pas d'adaptateurs multiprisés ni de rallonges.
- Ne tirez jamais sur le cable d'alimentation électrique pour débrancher l'appareil. Tirez toujours sur la fiche.
- Ne touchez jamais le cable d'alimentation ni la fiche avec des mains mouillées.
Pour le Royaume-Uni et l'Irlande uniquement : L'appareil est livré avec une fiche secteur de 13 ampères. Si vous doivent changer le fusible de la fiche secteur, utilisez un fusible 13 A approvéd ASTA (BS 1362).
- Cet apparéil est conforme aux directives CEE.
2.3 Raccordement à l'arrivée d'eau
Veillez a ne pas endommager les tuyaux de circulation d'eau.
- Avant de brancher l'appareil à des tuyaux neufs ou n'ayant pas servi depuis longtemps, laissez couler l'eau jusqu'à ce qu'elle soit propre.
- Avant d'utiliser l'appareil pour la première fois, assurez-vous de l'absence de fuites.
2.4 Usage

AVERTISSEMENT!
Risque de blessure, de chocolélectrique, d'incendie, debrûlures ou de dommagematériel à l'appareil.
Utilisez cet apparéil uniquement dans un environnement domestique.
- Ne modifies pas les caractéristiques de cet apparéil.
- Ne placez pas de produits inflammables ou d' éléments imbibés de produits inflammables à l'intérieur ou à proximé de l'appareil, ni sur celui-ci.
- Ne touche pas la vitre du couvercle pendant le déroulement d'un programme. La vitre peut être chaude.
- Ne séchez pas d'articles endommagés contenant un rembourse ou un garnissage.
- Si vous avez lavé votre linge avec un produit détachant, lancez un cycle de rinçage supplémentaire avant de démarrer un cycle de séchage.
Veillez à retiret tout objet métallique du linge avant chaque lavage. - Séchez uniquement les textiles adaptés au séchage dans une lavanteséchante. Suivez les instructions figurant sur l'étiquette des textiles.
-
Les objets en plastique ne sont pas résistants à la chaleur.
-
Si vous utilisez une boule de lavage, retirez-la avant de régler le programme de séchage.
- N'utilisez pas de boule de lavage lorsque vous reglez un programme non-stop (sechage enchâné).

AVERTISSEMENT!
Risque de blessure corporelle ou de dommages matériels.
-
Ne montez pas sur le hublot ouvert de votre apparéil; ne vous asseyez pas dessus.
-
N'introduisez pas de linge non essoré dans l'appareil.
2.5 Mise au rebut
- Débranche l'appareil de l'alimentation électrique.
- Coupe le cable d'alimentation et mettez-le au rebut.
- Retirez le dispositif de verrouillage de la porte pour empêcher les enfants et les animaux de s'enfermer dans l'appareil.
2.6 Compresseur

AVERTISSEMENT!
Risque d'endommagement de l'appareil.
- Dans le lave-linge séchant, le compresseur et son système sont replis d'un agent spécial ne contenant pas d'hydrochlorofluorocarbures. Ce circuit doit rester hermétique. Tout endommagement du circuit peut entraîner une fuite.
3. DESCRIPTION DE L'APPAREIL
3.1 Vue d'ensemble de l'appareil


Distributor de produit de lavage
1 Plan de travail

3 Filtre(s) à air
4 Bandeau de commande
5 Poignée d'ouverture du couvercle
6 Plaque signalétique
7 Filtre de la pompe de vidange
8 Pieds pour la mise de niveau de l'appareil
9 Fentes de circulation d'air
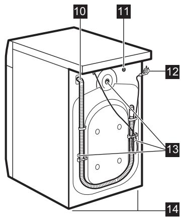
10 Tuyau d'évacuation d'eau
11 Tuyau d'arrivée d'eau
12 Câble d'alimentation électrique
13 Boulons de transport
14 Pieds pour la mise de niveau de l'appareil
3.2 Comment activer le dispositif de sécurité enfants
Ce dispositifé évite d'enfermer un enfant ou un animal dans l'appareil par accident.
Tournez le dispositif vers la droite, jusqu'à ce que la rainure soit horizontal.
3.3 Accessoires


Vou ne pouvez pas fermer le couvercle de l'appareil.

Pour fermer le couvercle, tournez le dispositif vers la gauche jusqu'à ce que la rainure soit verticale.
1 Clé Pourrirer les boulons de transport.
2 Bouchons en plastique Pour fermer les orifices du cote arriere de l'appareil après retrait des boulons de transport.
3 Tuyau anti-debordement Pour éviter touteuite
4 Guide tuyau en plastique Pour relier le tuyau de vidange au bord d'un évier.
4. BANDEAU DE COMMANDE
4.1 Description du bandeau de commande

1 Touche Marche/Arrêt (Aan/Uit -Marche/Arrêt)
2 Suggesteur de programme
3 Affichage
4 Touche de seLECTION automatique du degré de sechage (Automatisch - Automatique)
5 Touche de réglage de la durée de séchage (Tijdgestuurd - Minuterie)
6 Touche Vapeur (Stoom - Vapeur)
7 Touche Départ/Pause (Start/Pauze - Départ/Pause)
8 Touche Départ différé (Startuitstel - Départ Différé)
9 Touche Gain de temps (Tijd Besparen - Gain de Temps)
10 Touche Rinçage plus (Extra Spoelen - Rinçage+)
11 Touche Options (Vlekken - Taches/ Voorwas - Préavage)
12 Touche Reduction d'essorage (T./min)
13 Touche Température (Temp.°C)
4.2 Affichage

L'écran affiche :
| A | Barre de texte: • Vous guide lors de l'utilisation de l'appareil. • Indique l'état et la phase du programme. • Affiche les messages d'alarme. Reportez-vous au chapitre « En cas d'anomalie de fonctionnement ». |
| Les symboles s'affichent lorsque la phase ou la fonction correspondante est programmée. | |
| B | Sécurité enfants |
| C | Hublot verrouillé Vous ne pouvez pas ouvrir le hublot de l'appareil lorsque ce symbole est allumé. Vous ne pouvez ouvrir le hublot de l'appareil que lorsque ce symbole est étenteint. Si le programme est terminé mais que le symbole reste allumé: • La fonction « Arrêt cuve pleine » est activée. • Il y a de l'eau dans le tambour. |
| Zone des chiffres | |
| Heure du jour Quand vous mettez l'appareil en marche, l'écran affiche l'heure du jour pendant quelques secondes. Pour régler l'horloge, consultez le chapitre « Réglage de l'hor-loge ». | |
| Durée du programme Lorsque vous sélectionnez le programme, la durée du cycle s'affiche pendant quel-ques secondes, puis l'heure de fin du programme s'affiche à nouveau. | |
| |→| | Voyant de durée de programme Le voyage s'allume quand les chiffres indiquent la durée du programme. |
| Heure de fin du programme | |
| →| | Voyant de fin de programme Le voyage s'allume quand les chiffres indiquent l'heure de la fin du programme. |
| Heure du début différé Quand vous choisissez un début différé, l'heure de la fin du programme augmente par paliers de 30 minutes jusqu'à 10 heures, puis par paliers d'une-heure jusqu'à 20 heures. | |
| Fin du programme Un zéro s'affiche. | |
| E | Cette partie ne s'allume que si le hublot est ouvert - Consultez le chapitre « Activation de l'appareil et sélection d'un programme ». | |
| MAX | Charge maximale autorisée pour le programme sélectionné (en kg). | |
| KG | ||
| Barres graphiques | ||
| Pour régler une fonction : Le voyageant de fonction s'allume lorsque la fonction est sélectionnée. | ||
| Une barre vide s'affiche si la fonction correspondante est compatible avec le programme sélectionné. Si cette barre de voyageant ne s'allume pas, cela signifie qu'elle n'est pas disponible. | ||
| La barre se remplit en fonction des sélections. | ||
| i | Si vous faites une mauvaise sélection, la barre de texte indique que cette sélection n'est pas possible. | |
| F | Gain de Temps Le voyageant s'allume lorsque vous sélectionnez l'une des durées du programme. | |
| Durée réduite | ||
| Rapide | ||
| G | Voyant des filtres à air | |
| H | Rinçage Plus | |
| La valeur affichée indique le nombre total de rinzages. | ||
| La barre de voyageant se remplit selon le nombre de rinzages. | ||
| I | Voyant de tâche | |
| Voyant de prélavage | ||
| Voyant de trempage | ||
| La barre se remplit en fonction des sélections. | ||
| J | Vitesse d'essorage du programme sélectionné | |
| Voyant d'absence d'essorage1) | ||
| Indicateur Arrêt cuve pleine | ||
| 1) Uniquement disponible pour le programme ESSORAGE/VIDANGE. | ||
| K | Température par défaut du programme sélectionné | |
| Eau froide | ||
5. PROGRAMMES
5.1 Tableau des programmes
| Programme Plage de tem- pératures | Charge maxi- male Vitesse d'es- sorption maxi- male | Description des programmes (Type de charge et degré de salissure) |
| Programmes de lavage/séchage1) | ||
| Katoen - Blanc/ Couleurs 95°C - Froid | 9 kg 1600 tr/min | Coton blanc et couleurs. Normalement sale ou lég- èrement sale. |
| Katoen Eco - Co- ton Eco2) 60°C - 40°C | 9 kg 1600 tr/min | Coton blanc et couleurs grand teint. Normalement sale. La consommation d'énergie diminue et la du- rée du programme de lavage est prolongée. |
| Synthetica - Syn- thétiques 60°C - Froid | 4 kg 1200 tr/min | Articles en textiles synthétiques ou mixtes. Nor- malement sale. |
| Programme Plage de tem- pératures | Charge maxi- male Vitesse d'es- sorage maxi- male | Description des programmes (Type de charge et degré de salissure) |
| Wol/Zijde - Laine/Soie 40°C - Froid | 1.5 kg 1200 tr/min | Laine lavable en machine, laine lavable à la main et textiles délicats avec le symbole « lavable à la main ».3) |
| Anti-Allergie - Anti-Allergies 60°C | 9 kg 1600 tr/min | Articles en cotton blanc. Ce programme élimine les micro-organismes grâce à un lavage à 60 °C et un rincege supplémentaire. Le lavage est ainsi plus effi-cace. |
| Programmes de séchage | ||
| Katoen - Coton | 6 kg | Programme de séchage pour les articles en coton. |
| Synthetica - Syn-thétiques | 4 kg | Programme de séchage pour les articles synthé-tiques. |
| Wol - Laine | 1 kg | Programme de séchage pour la laine. |
| Programmes de lavage | ||
| Fijne Was - Déli-cats 40°C - Froid | 4 kg 1200 tr/min | Vêtements en textiles délicats tels que l'acryli-que, la viscose ou le polyester. Normalement sale. |
| Strijkvrij - Repas-sage Facile 60°C - Froid | 4 kg 800 tr/min | Textiles synthétiques à laver en douceur. Légère-ment et normalement sales.4) |
| Super Eco Froid | 3 kg 1200 tr/min | Textiles mixtes (articles en coton et synthétiques).5) |
| 20 Min. - 3 kg 40°C à 30°C | 3 kg 1200 tr/min | Vêtements en coton et synthétiques légèrement sales ou portés une seule fois. |
| Spoelen - Rin- çage 6) 0°C | 9 kg 1600 tr/min | Pour rincer et essorer le linge. Tous textiles. |
| Programme Plage de tem- pératures | Charge maxi- male Vitesse d'es- sorption maxi- male | Description des programmes (Type de charge et degré de salissure) |
| Centrif./Pompen - Essorage/ Vidange7) 0°C | 9 kg 1600 tr/min | Pour essorer le linge et vidanger l'eau du tambour. Tous textiles. |
| Programmes vapeur8) La vapeur peut être utilisée sur du linge sec, lavé ou porté une seule fois. Ces pro- grammes permettent de réduire le froissement et les odeurs et rendent le linge plus doux. N'utilise aucun produit de lavage. En cas de besoin, nettoyez les taches en effec- tuant un cycle de lavage ou à l'aide d'un produit détachant à application locale. Les programmes Vapeur n'effectuent pas de cycle de lavage hygiénique. Ne sélectionnez pas le programme Vapeur pour ces types d'articles : • articles pour lesquels il n'est pas précisé sur l'étiquette qu'ils peuvent aller au sèche- linge. • tous les articles contenant des pièces en plastique, métal, bois ou équivalent. | ||
| Ontkreuk - Dé- froissage 40°C | jusqu'à 1.5 kg | Programme vapeur pour les articles en coton et textiles synthétiques. Ce cycle contribue à détroiss- er le linge. |
| Opfrissen - Rafraîchir 40°C | jusqu'à 1.5 kg | Programme vapeur pour les articles en coton et textiles synthétiques. Ce cycle élimine les odeurs du linge.9) |
1) Lorsque vous sélectionné un programme de lavage/sechage, un message s'affiche pour vous dire qu'aucun cycle de sechage n'est défini. Si vous souhaitez secher votre linge, sélectionné un sechage automatique ou un sechage chronométrique.
2) Le programme de lavage Katoen Eco - Coton Eco à 60^ avec une charge de 9 kg et le programme de séchage Katoen - Coton sont les programmes de référence pour les données de l'étiquette énergétique, conformément aux normes CEE 92/75.

La température de l'eau de la phase de lavage peut différer de la température indiquée pour le programme sélectionné.
3) Durant ce cycle, le tambour tourne lentement pour garantir un lavage en douceur. Il peut donner l'impression de ne pas tourner, ou de tourner de façon anomiale. L'appareil se comporte normalement.
4) Pour réduire les pris sur le linge, ce cycle ajuste la température de l'eau et effectue un lavage et une phase d'essorage en douceur. L'appareil effectue des rincages supplémentaires. Ce programme n'est pas compatible avec le séchage.
5) Ce programme est idéal pour une utilisation quotidienne, car sa consommation d'eau et d'énergie est plus BASSE tout en maintainant de bonnes performances de lavage.
6) Assurez-vous que la vitesse d'essorage correspond au linge charge.
7) Réglez la vitesse d'essorage. Assurez-vous qu'elle correspond au linge charge. Si vous éliminez la phase d'essorage, seule la phase de vidange est disponible.
8) Si vous scélectionnez un programme Vapeur avec du linge sec, il sera humide à la fin du cycle. Il est préféable de l'exposer à l'air libre pendant environ 10 minutes afin de permettre à cette humidité de se dissiper. Lorsque le programme est terminé, retirezrapidément le linge du tambour. Àprous un cycle vapeur, les vêtements peuvent être repassés, mais ils seront avec plus de facilité !
9) La vapeur n'élimine pas les odeurs animales.
Compatibilité des options avec les programmes
| Température | T./min | - - - | Prélavage | Taches | Trempage | Extra Spoelen - Rinçage + 1) | Tijd Besparen - Gain de Temp s2) | Startuitstel - Départ Différé |
| Katoen - Blanc/ Couleurs | ■ | ■ | ■ | ■ | ■ | ■ | ■ | |
| Température | T./min | - - - | Prélavage | Ta-ches | Trem-page | Extra Spoe-len - Rin-çage + 1) | Tijd Be-spa-ren - Gain de Temp s2) | Star-tuit-stel - Dé-part Dif-féré |
| Katoen Eco - Coton Eco | ■ | ■ | ■ | ■ | ■3) | |||
| Synthetica - Synthétiques | ■ | ■ | ■ | ■ | ■ | ■ | ■ | |
| Wol/Zijde - Laine/Soie | ■ | ■ | ■ | |||||
| Anti-Allergie - Anti-Allergies | ■ | ■ | ■ | ■ | ■ | |||
| Fijne Was - Délicats | ■ | ■ | ■ | ■ | ■ | |||
| Strijkvrij - Repassage Facile | ■ | ■ | ■ | ■ | ■ | ■ | ■ | |
| Super Eco | ■ | ■ | ■ | |||||
| 20 Min. - 3 kg | ■ | ■ | ||||||
| Spoelen - Rinçage | ■ | ■ | ■ | |||||
| Centrif./Pompen - Essorage/Vidange | ■ | ■ | ■ |
1) Si l'option Rinçage plus permanent est activée, l'appareil ajoute des rincages supplémentaires. Avec le programme de rincage, si vous Sélectionnez une vitesse d'essorage peu élevé, l'appareil effectue des rincages délicats et un essorage court.
2) Si vous scélectionnez une durée plus courte, nous vous recommendons de réduire la charge de linge. Il est possible de charger entièrement le lave-linge, mais les résultats du lavage seront alors moins bons.
3) Seule la durée de programme Rapide est compatible avec ce programme.
5.2 Programmes pour le séchage automatique
| Degré de séchage | Type de textile | Charge |
| Extra SecPour les articles en tissu éponge | Coton et lin(peignoirs, serviettes de bain,etc.) | jusqu'à 6 kg |
| Cupboard Dry (Prêt à Ranger)1)Pour les articles à ranger directement | Coton et lin(peignoirs, serviettes de bain,etc.) | jusqu'à 6 kg |
| Textiles synthétiques et mixtes(pull-overs, chemisiers, sous-vêtements, linge de maison) | jusqu'à 4 kg | |
| Prêt à RepasserPour les vêtements à repasser | Coton et lin(draps, nappes, chemises, etc.) | jusqu'à 6 kg |
1) Conseils pour les organismes de test Conformément à la norme EN 50229:2007-07, les tests doivent être réalisés en seLECTIONnant le programme SÉCHAGE AUTOMATIQUE PRÉT À RANGER pour le coton avec une charge respectant la norme EN61121. Nettoyez les filtres à air après chaque cycle.
5.3 Programmes pour le séchage chronométrique
| Degré de séchage | Type de textile | Charge (kg) | Vitesse d'essor- age (tr/ min) | Durée sug- gérée (min) |
| Extra SecPour les articles en tis- su éponge | Coton et lin(peignoirs, serviettes de bain, etc.) | 6 | 1600 | 240 - 250 |
| 3 | 1600 | 120 - 140 | ||
| 1 | 1600 | 50 - 60 | ||
| Cupboard Dry (Prêt à Ranger)Pour les articles à ranger directement | Coton et lin(peignoirs, serviettes de bain, etc.) | 6 | 1600 | 230 - 240 |
| 3 | 1600 | 110 - 130 | ||
| 1 | 1600 | 40 - 50 | ||
| Cupboard Dry (Prêt à Ranger)Pour les articles à ranger directement | Textiles synthétiques et mixtes(pull-overs, chemisiers, sous- vêtements, linge de maison) | 4 | 1200 | 180 - 190 |
| 2 | 1200 | 80 - 90 | ||
| Prêt à RepasserPour les vêtements à repasser | Coton et lin(draps, nappes, chemises, etc.) | 6 | 1600 | 210 - 220 |
| 3 | 1600 | 90 - 100 | ||
| 1 | 1600 | 30 - 40 | ||
| Séchage laine | Wool (Laine)laine (pull-overs) | 1 | 1200 | 80 - 100 |
5.4 Certificat Woolmark

Le cycle Laine de cet apparéil a été approuvé par la société Woolmark pour le lavage des vêtements en laine portant une étiquette « lavage à la main», sous réserve que les vêtements soient lavés conformément aux instructions mentionnées par le fabricant de ce lave-linge. Respectez les instructions de sechage figurant sur l'étiquette des vêtements et
toutes les autres instructions concernant le linge. 1230
Le cycle Sechage Laine de cet appeareil a ete approuve par la societe Woolmark pour le sechage des vetements en laine portant une etiquette « lavage à la main», sous réserve que les vetements soient sechés conformément aux instructions mentionnées par le fabricant de ce lave-linge. Respectez l'ensemble des instructions figurant sur l'etiquette des vetements.1399
Au Royaume-Uni, en Irlande, à Hong Kong ainsi qu'en Inde, le symbole Woolmark est une marque de certification.
6. VALEURS DE CONSOMMATION

Les données de ce tableau sont approximatives. Les données peuvent différer pour différentes raisons : la quantité et le type de linge, la température ambiente ou de l'eau.

Au démarrage du programme, l'affichage indique la durée du programme pour la charge maximale. Durant la phase de lavage, la durée du programme est calculée automatiquement. Elle peut être réduite si la charge de linge est inférieure à la capacité maximale (par exemple, pour le programme Coton 60^ , dont la capacité maximale est de 9 kg, la durée du programme est de plus de 2 heures; pour une charge réelle de 1 kg, la durée du programme est inférieure à 1 heures). Un point clignote sur l'affichage lorsque l'appareil calcule la durée réelle du programme.
| Programmes | Charge (kg) | Consom-mation énergé-tique (kWh) | Consomma-tion d'eau (litres) | Durée approximativé du programme (mi-nutes) |
| Coton 60 °C | 9 | 1.68 | 71 | 180 |
| Katoen Eco - Coton Eco Programme Coton Éco à 60 °C1) | 9 | 1.094 | 69 | 238 |
| Coton 40 °C | 9 | 1.05 | 71 | 175 |
| Synthétiques 40 °C | 4 | 0.88 | 60 | 142 |
| Programmes | Charge (kg) | Consom- mation énergé- tique (kWh) | Consomma- tion d'eau (litres) | Durée approximative du programme (mi- nutes) |
| Textiles délicats 40 °C | 4 | 0.70 | 63 | 91 |
| Laine/Lavage à la main 30 °C | 1.5 | 0.35 | 59 | 58 |
1) Le « programme coton éco » à 60 °C avec une charge de 9 kg est le programme de référence pour les données de l'étiquette énergétique, conformément aux normes CEE 92/75.
7. RÉGLAGES
7.1 Signaux sonores
Des signaux sonores retentissent lorsque :
- Vous allumez l'appareil.
- Vous éteignez l'appareil.
- Vous avez appuyé sur les touches.
- Le programme est terminé.
L'appareil presente une anomalie de fonctionnement.
Pour désactiver/activer les signaux sonores, appuyez simultanément sur les touches Vlekken - Taches / Voorwas - Prélavag et Extra Spoelen - Rinçage + pendant 6 secondes.

Si vous désactivez les signaux sonores,ils ne continueront a retentir que lorsque vous appuierez sur les touches et lorsque l'appareil presente une anomalie.
7.2 Fonction Sécurité enfants
Avec cette fonction, vous pouvez empêcher les enfants de jouer avec le bandeau de commande.
8 OPTIONS
8.1 Écran tactile
Veiliez à ce que l'écran tactile et les touches soient toujours propres et secs.
Pour activer/désactiver cette fonction, appuyez simultanément sur les touches Temp. ^ C et T/min. jusqu'à ce que le voyageant s'allume/ s'éteigne.
Vous pouvez activer cette fonction :
- Àprous avoir appuyé sur Start/Pauze - Départ/Pause : toutes les touches et le sélecteur de programme sont désactivés.
- Avant d'appuyer sur Start/Pauze - Départ/Pause : l'appareil ne peut pas démarrer.
7.3 Rinçage plus permanent
Cette fonction vous permet de maintainir la fonction Rinçage plus activée en permanence lorsque vous sélectionnez un nouveau programme.
Pour activer/désactiver cette fonction, appuyez simultanément sur les touches Tijd Besparen - Gain de Temps et Startuitstel - Départ Différé jusqu'à ce que le voyageant + s'allume/s'éteigne.
8.2 Aan/Uit - Marche/Arrêt
Appuyez sur cette touche pour allumer et eteindre l'appareil. Un son retentit lorsque I'appareil s'allume.
La fonction Veille auto désactive automatiquement l'appareil pour réduire la consommation d'énergie lorsque :
- Vous n'utilise pas l'appareil pendant 5 minutes avant d'appuyer sur la touche Start/Pauze - Départ/Pause. Tous les réglages sont annulés. Appuyez sur la touche Aan/Uit - Marche/Arrêt pourmettre à nouveau l'appareil en marche. Sélectionnez de nouveau le programme de lavage et toutes les fonctions possibles.
Au bout de 5 minutes après la fin du programme de lavage Reportez-vous au chapitre « À la fin du programme »
8.3 Sélecteur de programme
Tournez cette manette pour selectionner un programme. Levoyant correspondant s'allume.
8.4 Automatisch - Automatique
Appuyez sur cette touche pour sélectionner l'un des 3 degrés de sechage proposés par l'appareil. Les voyants de sechage sur le bandeau de commande s'allument en conséquence.
La barre de texte indique le degré des sechage sélectionné :
- Prêt à repasser - 1 voyant allumé : linge à repasser
- Prêt à ranger - 2 voyants allumés : linge à ranger
Très sec - 3 voyants allumés : lingè devant être parfaitement sec

Certains degrés automatiques de sechage ne peuvent pas etre selectionnés selon le type de textile.
Appuyez sur cette touche pour selectionner la durée la plus adaptée au linge que vous doivent secher. La barre de texte indique la valeur réglée.
À chaque fois que vous appuyez sur cette touche, la durée augmente de 5 minutes.

Certaines durées ne peuvent pas être sélectionnées selon le type de textile.
8.6 Stoom - Vapeur
Appuyez sur cette touche pour régler le niveau de vapeur. Ce n'est possible que pour les programmes compatibles avec la fonction vapeur. La durée de la phase vapeur change selon votre choix.
Appuyez sur la touche Start/Pauze - Départ/Pause pour lancer ou interrompre un programme.
Appuyez sur la touche Startuitstel - Départ Différé pour différer le départ d'un programme de 30 minutes à 20 heures.
Appuyez sur la touche Tijd Besparen - Gain de Temps pour réduire la durée d'un programme.
You pouvez selectionner :
DUREE REDUITE: pour laver les articles peu sales.
- TRÉS COURT : pour laver rapidement les articles très peu sales.

Certsains programmes n'acceptent qu'une seule de ces fonctions.
Appuyez sur cette touche pour ajouter des phases de rinceage à un programme.
Utilisez cette fonction pour les personnes allergiques aux produits de lavage et dans les régions où l'eau est douce.
Appuyez sur cette touche pour sélectionner l'une des fonctions suivantes :
- U Prélavage
Utilisez cette fonction pour le linge très sale. L'appareil ajoute une phase de prélavage au lavage principal. La durée du programme augmente.
Trempage
Utilisez cette fonction pour le linge très sale. L'appareil fait tremper le linge à 30 °C pendant environ une demi-heure avant le lavage.
Détachage
Utilisez cette fonction pour le linge très sale. Lorsque vous sélectionnez cette fonction, ajoutez un détachant dans le compartment
i La durée du programme augmente. Cette fonction n'est pas compatible avec des températures inférieures à 40^
8.12 T./min
Appuyez sur la touche T./min pour :
- Réduire la vitesse maximale de la phase d'essorage du programme.

Seules les vitesses disponibles pour le programme selectionné s'affichent.
- Désactiver la phase d'essorage (fonction « Sans essorage »).
- Activez la fonction « Arrêt cuve pleine ». Sélectionnez cette fonction pour éviter le froissage du linge. L'appareil ne vidange pas l'eau quand ce programme est terminé.
8.13 Temp.°C
Appuyez sur cette touche pour modifier la température par défaut.
Symboles - et ±b = eau froide
9. AVANT LA PREMIÈRE UTILISATION
- Versez une petite quantité de détermagent dans le compartment de la phase de lavage.
- Sélectionnez et faites démarrer, à vide, un programme pour le coton à la température la plus élevé possible.
Cela élimine toute salissure évientuelle du tambour et de la cuve.
9.1 Réglage de l'horloge
Après avoir sélectionné la langue, l'écran indique qu'il faut paramétrer l'horloge. Les chiffres des heures clignotent.
- Tournez le sélecteur de programme pour changer l'heure.
- Appuyez sur la touche Start/Pauze - Départ/Pause pour confirmer la seLECTION.
Les chiffres des minutes clignotent.
- Tournez le sélecteur de programme pour changer les minutes.
- Appuyez sur la touche Start/Pauze - Départ/Pause pour confirmer la seLECTION.
9.2 Modification de l'heure après la première activation
- Appuyez simultanément sur la touche Extra Spoelen - Rincage+ et sur la touche Tijd Besparen - Gain de Temps pendant quelques secondes. Les chiffres des heures clignotent.
- Tournez le sélecteur de programme pour changer l'heure.
- Appuyez sur la touche Start/Pauze - Départ/Pause pour confirmer la seLECTION.
Les chiffres des minutes clignotent.
- Tournez le sélecteur de programme pour changer les minutes.
- Appuyez sur la touche Start/Pauze - Départ/Pause pour confirmer la seLECTION.
9.3 Sélection de la langue
Lorsque vous allumez l'appareil pour la première fois, l'affichage indique la langue par défaut et vous demande de la confirmer ou de la modifier :
- Tournez le sélecteur de programme pour sélectionner la langue souhaitée.
- Lorsque la langue souhaïée s'affiche, appuyez sur la touche Start/Pauze -
Départ/Pause pour confirmer la sélection.
9.4 Modification de la langue après la première activation
- Appuyez simultanément sur la touche T./min et sur la touche Vlekken - Taches/Voorwas - Préavage pendant quelques secondes.
- Lorsque le réglage de la langue s'affiche, tournez le sélecteur de programme pour sélectionner une nouvelle langue.
- Appuyez sur la touche Start/Pauze - Départ/Pause pour confirmer la seLECTION.
10. UTILISATION QUOTIDIENNE - LAVAGE UNIQUEMENT
10.1 Avant la mise en marche de l'appareil
- Ouvrez le robinet d'eau.
- Branchez l'appareil sur le secteur.
10.2 Mise en fonctionnement de l'appareil et selection d'un programme
- Appuyez sur la touche Aan/Uit - Marche/Arrêt pour allumer l'appareil.
- Tournez le sélecteur de programme jusqu'au programme souhaïte ou appuyez sur l'une des touches Geheugen / Mémoire pour sélectionner un programme en mémoire.
Levoyant du programme s'allume.
Levoyant de la touche Start/Pauze - Départ/Pause clignote en rouge.
La température et la vitesse d'essorage par défaut et les barres de voyants vides des fonctions disponibles s'affichent.
- Si nécessaire, appuyez sur la touche Temp. ^ C et sur la touche T./min pour modifier la température de I'eau et la vitesse d'essorage.
- Si nécessaire, appuyez sur les autres touches pour ajouter certaines fonctions ou pour régler un départ différé.
Le symbole de la fonctionvoie s'affiche et le chiffre indique la durée du département différé.
10.3 Chargement du linge
- Ouvrez la porte de l'appareil
- Mettez le linge dans le tambour, un article à la fois.
- Dépliez-les le plus possible avant de les placer dans l'appareil.
Assurez-vous de ne pas surcharger le tambour.
4. Refermez la porte.


ATTENTION!
Veiliez à ce qu'il n'y ait pas de linge coince entre le joint et le hublot. Cela pourrait provoquer une fuite d'eau ou endommager le linge.
10.4 Ajout du produit de lavage et des additifs

Compartiment destiné à la phase de prélavage, au programme de trempage ou à un produit détachant.
Compartiment pour la phase de lavage.
Compartiment réservé aux additifs liquides (assouplissant, amidon).
MAX Niveau maximal pour la quantité d'additives liquides.
Volet pour produit de lavage en poudre ou liquide.
Respectez toujours les instructions figurant sur l'emballage des dessives.
10.5 Lessive liquide ou en poudre

1.


2.

- Position A pour la lessive en poudre (réglage d'usine).
- Position B pour la lessive liquide.

Si vous utilisez une lessive liquide :
N'utilisez pas de lessives liquides gelatineuses ou epaisses.
- Ne dépassez pas le niveau maximum.
- Ne sélectionnez pas de phase de prélavage.
- Ne sélectionnez pas la fonction Départ différé.
10.6 Demarrage d'un programme sans départ différé
Appuyez sur la touche Start/Pauze - Départ/Pause pour lancer le programme.
Le voyant correspondant cette de clignoter et resté allumé en rouge.
Le programme démarre et le hublot est verrouillé. Le voyant s'allume.

La pompe de vidange peut momentarilyanément semettre en route lorsquel'appareil se remplit d'eau.
10.7 Comportement de l'appareil

Au bout d'environ 15 minutes après le départ du programme:
L'appareil ajuste automatiquement la durée du cycle au type de linge chargé dans le tambour pour un lavage parfait en un minimum de temps.
La nouvelle durée s'affiche.
10.8 Départ d'un programme avec départ différé
- Appuyez sur la touche Startuitstel - Départ Différé à plusieurs reprises pour selectionner le départ différé souhaité.
L'affichage indique la fin prévue du programme.
2. Appuyez sur la touche Start/Pauze - Départ/Pause.
L'appareil démarre le décompte du département différé.
Lorsque le décompte est terminé, le programme démarre automatiquement.

Avant d'appuyer sur la touche Start/Pauze - Départ/Pause pour démarrer l'appareil, vous pouvez annuler ou modifier le réglage du départ différé.
10.9 Annulation du départ différé
- Appuyez sur la touche Start/Pauze - Départ/Pause. Levant correspondant clignote.
- Appuyez à plusieurs reprises sur la touche Startuitstel - Départ Différé jusqu'à ce que l'affichage indique qu'il n'y a peu départ différé.
- Appuyez sur la touche Start/Pauze - Départ/Pause. Le programme démarre.
10.10 Interruption d'un programme et modification des options
Vou ne pouvez modifier que quelques options avant qu'elles ne soient actives :
- Appuyez sur la touche Start/Pauze - Départ/Pause.
Levoyant correspondant clignote. - Modifie les options.
- Appuyez à nouveau sur la touche Start/Pauze - Départ/Pause.
Le programme de lavage se poursuit.
10.11 Annulation d'un programme en cours
- Appuyez sur la touche Aan/Ui t - Marche/Arrêt pour annuler le programme et éteindre l'appareil.
- Appuyez à nouveau sur la touche Aan/Uit - Marche/Arrêt pour allumer l'appareil.
Maintenant, you pouvez selectionner un nouveau programme de lavage.

Avant de lancer le nouveau programme, l'appareil peut vidanger l'eau. Dans ce cas, assurez-vous qu'il y a toujours du détergent dans le compartmentement de produit de lavage; si ce n'est pas le cas, versez à nouveau du détergent.
10.12 Ouverture du hublot

AVERTISSEMENT!
Si la température et le niveau de l'eau dans le tambour sont trop élevés et que le tambour continue de tourner, vous ne pouvez pas ouvrir le hublot.
Pendant le déroulement d'un programme ou du départ différé, le hublot de l'appareil est verrouillé.
Pour ouvrir le hublot de l'appareil :
- Appuyez sur la touche Start/Pauze - Départ/Pause.
Le symbole de verrouillage du hublot disparait de l'écran. - Ouvrez le hublot de l'appareil.
- Fermez le hublot de l'appareil et appuyez sur la touche Start/Pauze - Départ/Pause.
Le programme ou le départ différé se poursuit
10.13 Fin du programme
Lorsque le programme est terminé,
I'appareil s'éteint automatiquement. Le
signal sonore détent (s'il est activé).
Sur l'affichage, apparait et un message vous indique que le programme est terminé.
Levoyant de la touche Start/Pauze - Départ/Pause s'eteint.
- Appuyez sur la touche Aan/Uit - Marche/Arrêt pour éteindre l'appareil.
Cinq minutes après la fin du programme, la fonction d'économie d'énergie éteint automatiquement l'appareil.

Lorsque you rallumez l'appareil, le dernier programme selectionné s'affiche. Tournez le selectable pour désir un nouveau cycle.
- Sortez le linge de l'appareil.
- Vérifiez que le tambour est vide.
- Laissez le hublot et le filtré à air entrouverts pour éviter la formation de moisissures et l' apparition de mauvaises odeurs.
10.14 Vidange de l'eau après la fin du cycle
Le programme de lavage est terminé, mais il y a de l'eau dans le tambour :
- Le tambour tourne régulierement pour éviter que le linge ne se froisse.
Le hublot reste verrouillé. -
Vous doivent regardier l'eau pour pouvoir ouvrir le hublot :
-
Si besoin est, diminuez la vitesse d'essorage.
- Appuyez sur la touche Start/Pauze - Départ/Pause.
L'appareil effectue la vidange et l'essorage.
- Une fois le programme terminé et le voyant de verrouillage du hublot éteint, vous pouvez ouvrir le hublot.
- Appuyez sur Aan/Ui t - Marche/Arrêt pendant quelques secondes pour eteindre l'appareil.

L'appareil effectue automatiquement la vidange et l'essorage au bout d'environ 18 heures.
10.15 Option « Veille auto »
L'option Veille auto éteint automatiquement l'appareil pour réduire la consommation d'énergie lorsque :
-
Vous n'utilisez pas l'appareil pendant 5 minutes avant d'appuyer sur la touche Start/Pauze - Départ/Pause. Appuyez sur la touche Aan/Ui t - Marche/Arrêt pourmettre à nouveau l'appareil en marche.
-
Au bout de 5 minutes après la fin du programme de lavage Appuyez sur la touche Aan/Uit-Marche/Arrêt pourmettre à nouveau l'appareil en marche. L'affichage indique la fin du dernier programme sélectionné.Tournez le sélecteur pour désir un nouveau cycle.
11. UTILISATION QUOTIDIENNE - SÉCHAGE UNIQUEMENT

AVERTISSEMENT!
Reportez-vous aux chapitres concernant la sécurité.
11.1 Préparation au séchage

AVERTISSEMENT!
Ouvrez le robinet d'eau.
Placez le tuyau de vidange dans l'évier ou reliez-le au tuyau d'évacuation.
- Appuyez sur la touche Aan/Uit - Marche/Arrêt pendant quelques secondes pour allumer l'appareil
- Chargez le linge dans le tambour, un article à la fois.
- Tournez le sélecteur de programme sur le programme de sechage adapté aux articles à secher. La barre de texte indique le programme que vous avez besoin.

Pour obtenir de bonnes performances de séchage lorsque vous sechez une grande quantité de linge, vérifie que le linge n'est pas roulé en boule, et qu'il est réparti uniformément dans le tambour.

Au début du cycle de séchage (3 à 5 minutes) le niveau sonore peut être légèrement plus fort. Ce bruit est d'au démarrage du compresseur, ce qui est normal dans des appareils alimentés par un comprisseur comme les réfrigerateurs, les congélateurs, et d'autres.
11.2 Séchage automatique
- Appuyez à plusieurs reprises sur la touche Automatisch - Automatique pour régler le degré de séchage souhaïte. Les voyants sur le bandeau de commande s'allument en conséquence :
a. Degre PRET A REPASSER 1 voyant allumé : pour les articles en coton
b.Degre PRET A RANGER 2 voyants allumés : pour les articles en coton et synthétiques
c. Degre TRES SEC -3 voyants allumés : pour les vêtements en coton

Certains degrés de séchage ne peuvent pas être scélectionnés selon le type de linge.
L'affichage indique l'heure de fin et le programme de séchage sélectionné.
- Appuyez sur la touche Start/Pauze - Départ/Pause pour lancer le programme.
La barre de texte indique que l'appareil est en cours de séchage.
L'indicateur Hublot verrouillé et l'indicateur du programme en cours |to| apparaissent, et l'heure de fin du cycle s'affiche en alternance. L'affichage met regulierement la durée du cycle de sechage à jour (toutes les minutes).
11.3 Séchage chronométrique
- Appuyez à plusieurs reprises sur la touche Tijdgestuurd - Minuterie pour régler la durée de sechage (reportez-vous au tableau du « Programme de sechage »).
Pour les programmes coton et synthétiques, l'affichage indique
15 minutes, pour le programme laine, la durée affichée est de 13 minutes.
À chaque fois que vous appuyez sur cette touche, la durée augmente de 5 minutes. La valeur réglee s'affiche.
- Appuyez sur la touche Start/Pauze - Départ/Pause pour lancer le programme. La barre de texte indique que l'appareil est en cours de séchage.
LevoyantHublotverrouilléet le voyant du programme en cours 1 apparaissent.
La durée du cycle de séchage et l'heure de fin du cycle s'affichent en alternance.
L'affichage met régulierement la valeur du cycle de séchage à jour.

Si le linge n'est pas assez sec, sélectionnez de nouveau une courte durée de séchage.
11.4 À la fin du programme de séchage
L'appareil se met automatiquement a l'arrêt.
- Les signaux sonores retentissent (s'ils sont activés).
- Le symbole s'affiche. La barre de texte indique que le programme est terminé.
Levoyant de la touche Start/Pauze -Départ/Pause s'éteint. Levoyant deverrouillage du hublot -s'éteint.
- Appuyez sur la touche Aan/Uit - Marche/Arrêt pendant quelques secondes pour éteindre l'appareil.

Quelques minutes après la fin du programme, la fonction d'économie d'énergie éteint automatiquement l'appareil.
- Sortez le linge de l'appareil.
- Vérifiez que le tambour est vide.
12. UTILISATION QUOTIDIENNE - LAVAGE ET SECHAGE

AVERTISSEMENT!
Reportez-vous aux chapitres concernant la sécurité.
12.1 Programme NON-STOP (sechage enchaîné)
Vou pouvez laver et sécher votre linge en une fois en Sélectionnant un
« programme non-stop ». Procedez comme suit :
- Appuyez sur la touche Aan/Uit - Marche/Arrêt pendant quelques secondes pour allumer l'appareil.
- Chargez le linge dans le tambour, un article à la fois.
- Versez le produit de lavage et les additifs dans le compartment approprié.
- Tournez le sélecteur sur le programme de lavage. La température et la vitesse d'essorage par défaut s'affichtant. Si nécessaire, modifiez-les en fonction de votre linge.
- Sélectionnez les options disponibles.
12.2 Lavage et séchage automatiques
- Appuyez à plusieurs reprises sur la touche Automatisch - Automatique jusqu'à ce que le degré de séchage souhaité s'affiche. Les voyants audressus de la touche s'allument en conséquence :
a. Degre PRÉT À REPASSER : 1 voyant allumé - pour les vêtements en coton ;
b. Degre PRÉT À RANGER : 2 voyants allumés - pour les vêtements en coton et synthétiques ;
c. Degre TRÉS SEC: 3 voyants allumés - pour les vêtements en coton.
L'affiche vous indique que l'appareil est pret à démarrer.
La valeur affichée est la durée des cycles de lavage + séchage, calculée selon le poids d'une charge par défaut.

Pour obtenir de bons résultats de séchage, vous ne pouvez pas sélectionner une vitesse d'essorage trop basse pour les articles devant être lavés et séché.
- Appuyez sur la touche Start/Pauze - Départ/Pause pour lancer le programme.
L'indicateur Hublot verrouillé et l'indicateur du programme en cours |to| apparaissant, le temps de séchage et l'heure de fin du cycle s'affichent en alternance.
La barre de texte indique que l'appareil est en cours de fonctionnement. La nouvelle durée s'affiche régulièrement.
12.3 À la fin du programme
L'appareil s'arrête automatiquement. Les signaux sonores retentissent (s'ils sont actifs).
Pour de plus amples informations, reportez-vous à la section « À la fin du programme de séchage » du chapitre précédent.
12.4 Peluches sur les textiles
Durant les phases de lavage et/ou séchage, certains types de textiles, tels que le tissu éponge, la laine ou les sweat-shirts, peuvent perdre des peluches.
Ces peluches peuvent ensuite accrocher aux tissus lavés au cours du cycle suivant.
Cet inconvenient est encore plus fréquent avec des tissus techniques.
Pour éviter que les peluches ne s'accrochant à vos vêtements, il est recommendé :
- De ne pas laver de tissus de couleur sometime après avoir lavé et séché des vêtements de couleur claire (tissu éponge, essuie-main, laine et sweatshirts) et inversement.
- De laisser secher ce type de textiles à l'air libre lorsqu'ils viennent d'être lavés pour la première fois.
- De nettoyer le filtrre de vidange.
- Àprous la phase de séchage, nettoyez entièrement les filtres à air, le tambour vide, le joint et le hublot avec un chiffon humide.
Pour éliminer les peluches se trouvant dans le tambour, Sélectionnez un programme spécial :
- Videz le tambour.
Nettoyez le tambour, le joint et le hublot avec un chiffon humide. - Sélectionnez le programme de rençage.
- Appuyez simultanément sur T./min et Extra Spoelen - Rincage+ pour activer la fonction de nettoyage, jusqu'à ce que CLE s'affiche.
- Appuyez sur la touche Start/Pauze - Départ/Pause pour lancer le programme.
13. CONSEILS

AVERTISSEMENT!
Reportez-vous aux chapitres concernant la sécurité.
13.1 Chargement du linge
- Répartisse le linge entre articles : blancs, de couleurs, synthétiques, délicats et en laine.
- Respectez les instructions de lavage qui figurent sur les étiquettes des vêtements.
- Ne lavez pas les articles blancs et de couleur ensemble.
- Certains articles de couleurs peuvent déteindre lors des premiers lavages. Il est recommendé de les laver séparément les premières fois.
- Boutonnez les taires d'oreiller, fermez les fermétures à glissière et à pression et les crochets. Attachez les ceintures.
- Videz les poches des vêtements et dépliez-les.
- Retournez les tissus multi-couches, en laine et les articles portant des illustrations imprimées vers l'intérieur.
- Enlevez les taches tenaces.
- Lavez les taches incrustées avec un produit spécifique.
- Traitez les rideaux avec précautions. Enlevez les crochets et placez les rideaux dans un sac de lavage ou une taie d'oreiller.
- Ne lavez pas d'articles sans ourlet ou déchirés dans l'appareil. Utilisez un sac de lavage pour les articles très petits et/ou délicats (par exemple les soutiens-gorge à armatures, les ceintures, les bas, etc.).
- Une très petite charge peut provoquer des problèmes d'équilibre pendant la phase d'essorage. Si cela se produit, répartissez manuellement les articles dans la cuve et lancez à nouveau la phase d'essorage.
13.2 Taches tenaces
Pour certaines taches, l'eau et les produits de lavage ne suffisent pas.
Il est recommendé d'éliminer ces taches avant demettrelesarticles dans l'appareil.
Des détachants spéciaux sont disponibles. Utilisez le détachant spécial adapté au type de tache et de textile.
13.3 Produits de lavage et additifs
Utilisez uniquement des produits de lavage et des additifs spécialement concus pour les lave-linge :
- lessives en poudre pour tous les types de textiles,
- lessives en poudre pour les textiles délicats (40 °C max.) et les lainages,
- lessives liquides, de préférence pour les programmes de lavage à basse température (60 °C max.) pour tous les types de textiles, ou lessives spéciales pour les lainages uniquement.
- Ne mélangez pas différents types de produits de lavage.
- Afin de préserver l'environnement, n'utilise que la quantité nécessaire de produit de lavage.
- Respectez les instructions qui se trouvent sur les emballages de ces produits.
Utilisez des produits adaptés au type et à la couleur du textile, à la température du programme et au niveau de salissure.
- Si vous appeareil ne dispose pas d'un distributeur de produit de lavage avec volet, ajoutez les produits de lavage liquides à l'aide d'une boule doseuse (fournie par le fabriquant du produit de lavage).
13.4 Conseils ecologiques
- Réglez un programme sans prélavage pour laver du linge normalement sale.
- Commencez toujours un programme de lavage avec une charge de linge maximale.
- Si nécessaire, utilisez un détachant quand vous reglez un programme à basse température.
Pour utiliser la bonne quantité de produit de lavage, vérifie la durée de l'eau de votre système domestique.
13.5 Durete de l'eau
Si, dans votre région, la durée de l'eau est élevée ou modérée, il est recommendé d'utiliser un adoucisseur d'eau pour lave-linge. Dans les régions où l'eau est douce, il n'est pas nécessaire d'utiliser un adoucisseur d'eau.
Pour connaître la durée de l'eau dans voiture région, contactez votre compagnie des eaux.
Utilisez la bonne quantité d'adoucisseur d'eau. Respectez les instructions qui se trouvent sur les emballages du produit.
13.6 Conseils de séchage
Préparation du cycle de séchage
Ouvrez le robinet d'eau.
- Vérifiez que le tuyau de vidange est correctement raccordé. Pour plus d'informations, reportez-vous au chapitre « Installation »
- Reportez-vous au tableau des programmes de séchage pour connaître les charges de linge maximales des programmes de séchage.
13.7 Articles à ne pas sécher
Ne règlez pas de programme de séchage pour les types de linge suivants :
- Articles très délicats.
- Rideaux synthétiques.
Vêtements avec des pieces en métal. - Bas en nylon.
Couvertures.
Couvre-lits.
Couettes.
Anoraks.
Sacs de couchage
Textiles avec des résidus de laque, de dissolvant pour les ongles ou substances similaires.
Vêtements avec de la mousse de caoutchouc ou une matière similaire à la mousse de caoutchouc.
13.8 Étiquettes des vêtements
Lorsque you séchez du linge, respectez les indications se trouvant sur les étiquettes des fabricants des vêtements :
- = Le vêtement peut être séché en machine
- Le cycle de séchage est à haute température
- = Le cycle de séchage est à basse température
- 0 = Le vêtement ne peut pas être séché en machine.
13.9 Durée du cycle de séchage
La durée de séchage peut varier en fonction :
- de la vitesse du dernier essorage
du degré de séchage
du type de linge - de la quantité de linge
13.10 Séchage supplémentaire
Si le linge est encore trop humide à la fin du programme de séchage, effectuez un autre cycle de séchage court.
!
AVERTISSEMENT! Pour éviter que le linge ne se froisse ou rétrécisse, ne le séchez pas excessivement.
13.11 Conseils généraux
Reportez-vous au tableau des « Programmes de sechage » pour connaître les durées de sechage moyennes.
L'expérience vous aidera a mistriser le séchage du linge. Notez les durées de séchage des cycles que vous avez déjà effectués.
Pour éviter la formation d'électricité statique à la fin du cycle de séchage :
- Utilisez un assouplissant durant le cycle de lavage.
- Utilisez un assouplissant spécial pour les sèche-linge.
Lorsque le programme de séchage est terminé, retirezrapidementle linge du tambour.
14. ENTRETIEN ET NETTOYAGE

AVERTISSEMENT!
Reportez-vous aux chapitres concernant la sécurité.
14.1 Nettoyage extérieur
Nettoyez l'appareil uniquement à l'eau savonneuse chaude. Séchez complètement toutes les surfaces.

ATTENTION!
N'utilisez pas d'alcool, de solvants ni de produits chimiques.
14.2 Détartrage
Si, dans votre région, la durée de l'eau est élevé ou modérée, il est recommendé d'utiliser un détartrant pour lave-linge.
Examinez régulierrement le tambour pour éviter le dépôt de particules de calcaire et de rouille.
Pour éliminer les particules de rouille, utilisez uniquement des produits spéciaux pour lave-linge. Procedez séparément d'un lavage de linge.

Respectez toujours les instructions figurant sur l'emballage du produit.
14.3 Lavage d'entretien
Avec les programmes à bassetemperature, il est possible que certainsproduits de lavage restent dans letambour.Procedez régulierement à unlavage d'entretien. Pour ce faire :
- Retirez le linge du tambour.
- Sélectionnez le programme pour le coton à température maximale avec une petite quantité de détergent.
14.4 Joint du couvercle

Examinez régulierement le joint et enlevez tous les objets situés à l'intérieur.
14.5 Nettoyage du distributeur de produit de lavage

1.

2.

3.

4.
14.6 Nettoyage des filtrés à air

Les filtres à air recueillent les peluches. Les peluches proviennent généralement des vêtements séchés dans une lavante-sechante.
- À la fin de chaque cycle de séchage, le voyant s'allume pour vous rappeler de nettoyer le filtré à air principal.
La barre de texte vous indique de nettoyer le filtré principal (voir illustration 1-5).
- Levoyant ne peut clignoter de temps en temps pour vous rappeler que les deux filtres a air doivent etre nettoyés.
Un signal sonore retentit et la barre de texte vous indique de vérifier le filtrte principal et le filtrte secondaire (voir illustration 6-8).










Pour obtenir les méilleures performances de séchage, nettoyez régulierément les filtres à air avec de l'eau chaude et, ensuite, séchez-les avec une serviette. Un filtré obstrué augmente le temps de séchage.
AVERTISSEMENT! Le logement du filtré principal ne doit être obstrué par chaque objet.
Si vous lavez votre linge uniquement avec votre lavante-sechante, il est normal que le filtrte a air principal soit légèrement humide.
14.7 Nettoyage du filtr de vidange
! AVENTISSEMENT! Ne nettoyez pas le filtr de vidange si I'eau dans I'appareil est chaude.

1.

3.

5.

7.

2.

4.

6.

8.

9.
14.8 Nettoyage du filtré du tuyau d'arrivée d'eau et filtré de la vanne
Il peut être nécessaire de nettoyer les filtres lorsque :
L'appareil ne se remplit pas d'eau.
L'appareil met du temps à s'approvisionner en eau.
- Levoyant de la touche Start/Pauze - Départ/Pause clignote et l'alarme correspondante s'affiche. Reportez-vous au chapitre « En cas d'anomalie de fonctionnement »

Pour nettoyer les filtres d'arrivee d'eau :

Fermez le robinet d'eau.
- Débranche le tuyau d'arrivée d'eau du robinet d'arrivée d'eau.
Nettoyez le filtré du tuyau d'arrivée d'eau à l'aide d'une Brosse dure.
- Débranche le tuyau d'arrivée d'eau situé à l'arrière de l'appareil.


14.9 Vidange d'urgence
En raison d'une anomalie de fonctionnement, l'appareil ne peut pas vidanger I'eau.
Si cela se produit,procédez aux étapes (1) à (9) du chapitre «Nettoyage du filtre de vidange ».Si nécessaire,nettoyez la pompe.
Lorsque vous vidangez l'eau avec la vidange d'urgence, vous devez reactiver le système de vidange :
- Lorsque vous vidangez l'eau avec la vidange d'urgence, vous devez réactiver le système de vidange : Versez 2 litres d'eau dans le distributeur de produit de lavage pour le lavage principal.
- Démarrez le programme pour vidanger l'eau.
14.10 Précautions contre le gel
Si l'appareil est installé dans un local où la température peut être négative,
Nettoyez le filtré de la vanne à l'aide d'une Brosse dure ou d'un chiffon.
- Remettez le tuyau d'arrivée d'eau en place. Assurez-vous que tous les raccords sont bien serrés afin d'éviter touteuite.
Ouvrez le robinet d'eau.
évacuez toute l'eau restant dans le tuyau d'alimentation et la pompe de vidange.
- Débranche la fiche d'alimentation de la prise secteur.
- Fermez le robinet d'eau.
- Placez les deux extrémites du tuyau d'alimentation dans un recipient et laissez l'eau s'écouler du tuyau.
- Videz la pompe de vidange. Reportez-vous à la procédure de vidange d'urgence.
- Une fois que la pompe de vidange est vide, réinstallé le tuyau d'alimentation.

AVERTISSEMENT!
Assurez-vous que la température est supérieure à 0^ avant d'utiliser a nouveau l'appareil. Le fabricant ne pourra être tenu pour responsable en cas de dommages dus aux basses températures.
15. EN CAS D'ANOMALIE DE FONCTIONNEMENT

AVERTISSEMENT!
Reportez-vous aux chapitres concernant la sécurité.
15.1 Introduction
L'appareil ne démarre pas ou s'arrête en cours de programme.
Dans un premier temps, essayez de tracer une solution au problème (reportez-vous au tableau). Si vous n'y parvenez pas, contactez le service après-vente agréé.
Pour certaines anomalies, un signal sonore se fait entendre et un message d'alarme s'affiche :

ATTENTION!
Éteignez l'appareil avant de proceder aux vérifications.
15.2 Pannes possibles
Problèmes avec message d'alarme
| Message | Solution possible |
| L'affichage vous indique de vérifier le robinet : l'appareil ne se remplit pas d'eau. | Assurez-vous que le robinet d'eau est ouvert. |
| Assurez-vous que la pression de l'eau n'est pas trop faïble. Pour connaître cette information, contactez votre sympathie locale de distribution des eaux. | |
| Assurez-vous que le robinet d'eau n'est pas obstrué et qu'il n'est pas entartré. | |
| Assurez-vous que le filtrtre du tuyau d'arrivée et le filtrtre de la vanne ne sont pas obstrués. Reportez-vous au chapitre « Entretien et nettoyage » . | |
| Assurez-vous que le tuyau d'arrivée d'eau n'est pas en-dommagé. | |
| Vérifiez que le raccordement du tuyau d'arrivée d'eau est correct. | |
| Un message indiquant de vérifier le filtrtre de vidange s'affiche : l'appareil ne vi-dange pas l'eau. | Assurez-vous que le tuyau de vidange n'est pas endom-magé. |
| Assurez-vous que le filtrtre de vidange n'est pas obstrué. Nettoyez le filtrtre si nécessaire. Reportez-vous au chapitre « Entretien et nettoyage » . | |
| Vérifiez que le raccordement du tuyau de vidange est correct. | |
| Un message vous indiquant de vérifier le hublot s'affiche. | Vérifiez que le hublot de l'appareil n'est pas ouvert, ou qu'il est correctement fermé. |
| L'affchage indique un message d'alarme concernant l'eau. | Le dispositif antiDébordement s'est déclenché : • Débranchez l'appareil. • Fermez le robinet d'eau. • Contactez votre service après-vente. |
| L'affchage indique que l'alimentation électrique est in-stable. | Attendez que l'alimentation électrique se stabilise. L'ap-pareil se met automatiquement en fonctionnement. |
| À la fin du cycle de lavage, l'affchage indique que trop de produit de lavage a été utilisé. | Ceci n'est pas une anomalie mais une suggestion pour le prochain lavage de diminuier la quantité du produit de lavage. |
| Un message indiquant de vérifier le filtrtre à air s'affiche (le voyant clignote et un signal sonore retentit) | Assurez-vous que le tiroir du filtrtre est correctement in-stallé. |
Problèmes sans message d'alarme
| Problème | Solution possible |
| Le programme ne démarre pas. | Assurez-vous que la fiche du cable d'alimentation est bi-en insérée dans la prise de courant. |
| Assurez-vous qu'aucun fusible n'a disjoncté dans la boîte à fusibles. | |
| Vérifiez que vous avez bien appuyé sur la touche Start/Pauze - Départ/Pause. | |
| Si vous avez sélectionné un départ différé, annulez-le ou attendez la fin du décompte. | |
| Déactivez la sécurité enfants si elle a été préalablement activée. | |
| L'appareil ne vidange pas. | Vérifiez que vous n'avez pas sélectionné un programme sans phase de vidange. |
| Assurez-vous que vous n'avez pascisioni une option se terminant avec de l'eau dans la cuve. | |
| L'appareil se remplit d'eau et se vidange immédiatement. | Vérifiez que la position du tuyau de vidange est correcte. Le tuyau est peut-être trop bas. |
| La phase d'essorage n'a pas lieu ou le cycle de lavage dure plus longtemps que d'habitude. | Assurez-vous que la phase d'essorage n'est pas désactivée. |
| Assurez-vous que le filtrte de vidange n'est pas obstrué. Nettoyez le filtrte si nécessaire. Reportez-vous au chapitre « Entretien et nettoyage ». | |
| Vérifiez qu'il ne s'agit pas d'un problème d'équilibre. Répartissez manuellement les vêtements dans le tambour et lancez à nouveau la phase d'essorage. | |
| Il y a de l'eau sur le sol. | Assurez-vous que les raccords des tuyaux d'eau sont bien serrés et qu'il n'y a aucune fuite d'eau. |
| Assurez-vous que le tuyau de vidange n'est pas endommagé. | |
| Assurez-vous d'utiliser une lessive adaptée en quantité correcte. | |
| Impossible d'ouvrir le hublot de l'appareil. | Assurez-vous que le programme de lavage est terminé. |
| Sélectionnez le programme de vidange ou d'essorage s'il y a de l'eau dans le tambour. | |
| Vérifiez que l'appareil est alimenté en électricité. | |
| Ce problème peut résulter d'une anomalie de l'appareil. Contactez le service après-vente agréé. Si vous devez ouvrir le couvercle, lisez attentivement le chapitre « Ouverteure d'urgence du couvercle ». | |
| L'appareil fait un bruit inhabituel. | Vérifiez que l'appareil est de niveau. Reportez-vous au chapitre « Installation ». |
| Vérifiez que l'emballage et/ou les boulons de transport ont été retirés. Reportez-vous au chapitre « Installation ». | |
| Ajoutez plus de linge dans le tambour. La charge est peut-être trop légère. | |
| Les résultats de lavage ne sont pas satisfaisants. | Augmentez la quantité de produit de lavage ou utilisez-en un autre. |
| Utilisez des produits spéciaux pour enlever les taches te-naces avant de laver le linge. | |
| Veillez à sélectionner la bonne température. | |
| Réduisez la charge de linge. | |
| Le cycle de lavage est plus court que la durée affichée. | L'appareil calcule une nouvelle durée selon la charge de linge. |
| Le cycle de lavage est plus long que la durée affichée. | Une charge de linge mal répartie augmente la durée du cycle. Ceci est un comportement normal de l'appareil. |
| Après un programme va-peur, les vêtements sont légèrement humides. | Vérifiez que l'appareil est bien de niveau. Mettez l' appar-eil de niveau en levant ou en abaissant les pieds. |
| Après un programme va-peur, les vêtements ne sont pas assez défloissés. | Assurez-vous d'avoir sélectionné le bon programme VA-PEUR. |
| L'appareil ne sèche pas ou le séchage n'est pas satisfais-ant. | Assurez-vous que les filtres à air ne sont pas obstrués. |
| Assurez-vous que le filtré de vidange n'est pas obstrué. | |
| Assurez-vous d'avoir sélectionné le bon cycle. Si nécess-saire, Sélectionnez un cycle de séchage supplémentaire plus court. | |
| Le cycle de séchage est trop long. | Assurez-vous que les filtres à air sont correctement nettoyés. |
| Assurez-vous que votre charge de linge ne dépasse pas la charge déclarée du programme sélectionné. | |
| Vérifiez que la température ambiente est dans la plage de températures adaptées. | |
| Le linge est couvert de pe-luches de différentes cou-leurs. | Sélectionnez un cycle de séchage pour éliminer les pe-luches (reportez-vous au chapitre « PELUCHES SUR LES TEXTILES » pour plus de détails). |
| Lavez votre linge avec un anti-pelucheurs. | |
| Il y a une grande quantité de peluches dans le tambour. | En cas de présence excessive de peluches dans le tam-bour, effectuez un programme adapéré (reportez-vous au chapitre « PELUCHES SUR LES TEXTILES » pour plus de détails). |
Après avoir effectué ces contrôles, mettez l'appareil en fonctionnement. Le programme reprend à où il s'était interrompu.
Si le problème persiste, contactez le service après-vente agreeé.
Si l'écran affiche d'autres codes d'alarme. Éteignez puis rallumez l'appareil. Si le problème persististe, contactez le service après-vente/agréé.
15.3 Ouverture d'urgence du hublot
En cas de panne d'alimentation ou d'anomalie de l'appareil, le hublot reste verrouillé. Le programme de lavage continue dés que l'alimentation est rétable. Si le hublot reste verrouillé en cas d'anomalie, il est possible de l'ouvrir à l'aide du dispositif de déverrouillage d'urgence.
Avant d'ouvrir le hublot :

ATTENTION!
Assurez-vous que la température de l'eau et le linge ne sont pas brûlants. Si nécessaire, attendez qu'ils refroidissent.

ATTENTION!
Assurez-vous que le tambour ne tourne pas. Si nécessaire, attendez que le tambour cette de tourner.

Assurez-vous que le niveau de l'eau à l'intérieur du tambour n'est pas trop élevé. Effectuez une vidange d'urgence si nécessaire (reportez-vous à la section « Vidange d'urgence » au chapitre « Entretien et nettoyage »).
16. INSTALLATION

AVERTISSEMENT!
Reportez-vous aux chapitres concernant la sécurité.
16.1 Déballage

AVERTISSEMENT!
Après avoir posé l'appareil paro arrêté vers le sol, attendez environ 6 heures avant de l'utiliser. Cette période est nécessaire pour permettre au comprésur de fonctionner correctement.

AVERTISSEMENT!
Retirez l'intégrality de l'emballage et les boulons de transport avant d'installer l'appareil.
Pour ouvrir le hublot, procédez comme suit :
- Appuyez sur la touche Aan/Uit - Marche/Arrêt pour éteindre l'appareil.
- Débranche la fiche d'alimentation de la prise secteur.
- Ouvrez le volet du filtré.
- Maintenez le dispositif de déverrouillage d'urgence en le tirant vers le bas et ouvre le hublot simultanément.

- Sortez le linge et refermez le hublot.
- Fermez le volet du filtre.





Servez-vous de gants.
- Retirez le film externe. Si nécessaire, utilisez un cutter
- Retirez la partie supérieure du carton.
- Retirez les cales en polystyrene.
- Retirez le film interne.
Ouvrez le hublot. - Retirez la cale en polystyrene du joint du hublot et tous les articles présents dans le tambour.
- Placez l'une des cales en polystyrene au sol derrière l'appareil.
- Couchez avec soin l'appareil sur le dos.
Assurez-vous de ne pas endommager les tuyaux.




- Retirez la base en polystyrene en bas de l'appareil.
- Remettez l'appareil en position verticale.
- Retirez le cable d'alimentation électrique et le tuyau de vidange de leurs supports.

Il est possible de voir l'eau s'écouler du tuyau d'évacuation. Ceci est d'au test d'eau en Usine des appareils.
- Desserrez les trois boulons.
Utilisez la clé fournie avec l'appareil. - Retirez les entreprises en plastique.

- Mettez les bouchons en plastique dans les orifices.
- Ces bouchons se trouvent dans le même sachet que la notice d'utilisation.
i Nous you recommendons de conserver l'emballage et les boulons de transport en vue d'un eventuel displacement de I'appareil.
16.2 Kit de plaques de fixation (4055171146)
Lisez attentivement la notice fournie avec le kit.
Disponible auprès de votre magasin vendeur.
Si vous installez l'appareil sur un socle, stabilisez l'appareil à l'aide des plaques de fixation.
16.3 Installation sous un plan de travail

L'appareil peut être installé de façon autonome ou sous un plan de travail de cuisine si un espace correct est disponible (voir schéma).

ATTENTION!
Pour assurer une circulation d'air optimale sous l'appareil, n'installez pas les isolants acoustiques (si fournis).
16.4 Positionnement et mise de niveau


16.5 Tuyau d'arrivée d'eau

- Placez l'appareil sur un sol plat et dur.
Assurez-vous que la circulation de l'air sous l'appareil ne soit pas entravée par des tapis.
Veillez à ce que l'appareil ne touche pas le mur ni d'autres éléments. - Desserrez ou serrez les pieds jusqu'à ce que l'appareil soit de niveau.
Une mise de niveau correcte évite les vibrations, le bruit ou des déplacements de l'appareil au cours de son fonctionnement.
L'appareil doit etre de nivea et stable.

ATTENTION!
Ne placez ni carton, ni bois, ni autre matériel sous les pieds de l'appareil pour lemettre de niveau.
Raccordez le tuyau à l'arrière de l'appareil. Le tuyau d'alimentation peut être orienté vers la gauche ou la droite.
- Desserrez l'écrou de la bague pour bien la positionner.

Raccordez le tuyau d'arrivée d'eau à un robinet d'eau froide fileté (3/4 pouce).

ATTENTION!
Assurez-vous que les raccords ne fuient pas.

N'utilisez pas de rallonge si le tuyau d'alimentation est trop court.
Contactez le service après-vente pour replacer le tuyau d'alimentation.
16.6 Dispositif d'arrêt de l'eau

Le tuyau d'arrivée d'eau est équipé d'un dispositif de protection contre les dégats des eaux. Si le tuyau devait se déterminer à cause d'une usure naturelle, ce dispositif bloquerait l'arrivée d'eau à l'appareil.
La partie rouge dans la fenêtre « A » témoine de ce dysfonctionnement.
Dans ce cas, fermez le robinet d'arrivée d'eau et contactez le service après-vente pour faire remplaner le tuyau.
16.7 Vidange de l'eau
Il existe différentes procedures pour raccorder le tuyau de vidange :
Avec le guide de tuyau en plastique :

- En formant un U avec le tuyau de vidange.

Sur le bord d'un évier
Veillez a ce que le guide de tuyau en plastique ne puisse pas se déplacer lors de la vidange de l'appareil. Fixez le guide au robinet d'acciviée d'eau ou au mur.



Sans le guide de tuyau en plastique.


La longueur maximale du tuyau de vidange est de 400 cm. Contactez le service après-vente pour obtenir d'autres longueurs de tuyaux de vidange et des rallonges.
À une conduite fixe dotée d'une ventilation spéciale
- Directement dans un conduit d'évacuation, à une hauteur comprise entre 60 cm et 100 cm. Reportez-vous à l'illustration.
L'extrémité du tuyau de vidange doit être ventilée en permanence, c'est-à-dire que le diamètre interne du conduit d'évacuation (minimum 38 mm) doit être supérieur au diamètre externe du tuyau de vidange.
Extrémité du tuyau de vidange
- Si l'extrémité du tuyau de vidange ressemble à l'image, vous pouvez l'insérer directement dans la conduite fixe.
Au siphon d'un évier
- Reportez-vous à l'illustration. Placez le tuyau de vidange dans le siphon et serrez-le avec une attache.
Veiliez à ce que le tuyau de vidange fasse une boucle afin d'empêcher des particules passer de l'évier à l'appareil.
Au tuyau mural
- Directement dans une canalisation de vidange murale intégrée et serrez-le avec une attache.
17. CARACTERISTIQUES TECHNIQUES
Dimensions
Largeur / Hauteur / Profondeur / Profondeur totale
600 mm / 870 mm /
605 mm / 640 mm
| Raccordement électrique | Tension | 230 V |
| Puisance totale | 2 200 W | |
| Fusible | 10 A | |
| Fréquence | 50 Hz | |
| Niveau de protection contre l'infiltration de particules solides et d'humidité assures par le couvercle de protection, excepté là où l'équipement basse tension ne dispose d'aucune protection contre l'humidité | IPX4 | |
| Arrivée d'eau 1) | Eau froide | |
| Pression de l'arrivée d'eau | Minimum | 0,5 bar (0,05 MPa) |
| Maximum | 8 bar (0,8 MPa) | |
| Température ambiente | Minimale | 5 °C |
| Maximale | 35 °C | |
| Charge de lavage maximale | Blanc/Couleurs | 9 |
| Synthétiques | 4 | |
| Laine | 1.5 | |
| Charge de séchage maxi-male | Coton | 6 |
| Synthétiques | 4 | |
| Laine | 1 | |
| Vitesse d'essorage | Maximum | 1600 tr/min |
1) Raccordez le tuyau d'arrivée d'eau à un robinet fileté (3/4 pouce).
18. EN MATIÈRE DE PROTECTION DE L'ENVIRONNEMENT
Recyclez les matériaux portant le symbole . Déposez les emballages dans les conteneurs prévus à cet effet. Contribuez à la protection de l'environnement et à votre sécurité, recyclez vos produits électriques et électroniques. Ne jetez pas les apparêls portant le symbole avec les ordures menagères. Emmenez un tel produit dans votre centre local de recyclage ou contactez vos services municipaux.
C E
Notice Facile