L99695HWD OKOKOMBI - Lave-linge séchant AEG-ELECTROLUX - Notice d'utilisation et mode d'emploi gratuit
Retrouvez gratuitement la notice de l'appareil L99695HWD OKOKOMBI AEG-ELECTROLUX au format PDF.
| Type de produit | Lave-linge séchant frontal |
| Capacité de lavage | 9 kg |
| Capacité de séchage | 6 kg |
| Vitesse d'essorage | 1400 tours/minute |
| Classe énergétique | A |
| Consommation d'eau | 49 L par cycle |
| Dimensions (L x H x P) | 60 x 85 x 60 cm |
| Poids | 75 kg |
| Alimentation électrique | 220-240 V |
| Puissance | 2300 W |
| Fonctions principales | Programmes de lavage variés, séchage à condensation, départ différé |
| Entretien et nettoyage | Filtres à nettoyer régulièrement, entretien du bac à lessive |
| Pièces détachées et réparabilité | Disponibilité de pièces détachées, réparabilité facilitée |
| Sécurité | Système de verrouillage de porte, protection contre les fuites |
| Informations générales | Garantie de 2 ans, service après-vente disponible |
FOIRE AUX QUESTIONS - L99695HWD OKOKOMBI AEG-ELECTROLUX
Questions des utilisateurs sur L99695HWD OKOKOMBI AEG-ELECTROLUX
0 question sur cet appareil. Repondez a celles que vous connaissez ou posez la votre.
Poser une nouvelle question sur cet appareil
Téléchargez la notice de votre Lave-linge séchant au format PDF gratuitement ! Retrouvez votre notice L99695HWD OKOKOMBI - AEG-ELECTROLUX et reprennez votre appareil électronique en main. Sur cette page sont publiés tous les documents nécessaires à l'utilisation de votre appareil L99695HWD OKOKOMBI de la marque AEG-ELECTROLUX.
MODE D'EMPLOI L99695HWD OKOKOMBI AEG-ELECTROLUX
Merci d'avoir acheté ce produit AEG. Nous l'avons conçu pour qu'il vous offre des performances irréprochables pour longtemps, en intégrant des technologies innovantes qui vous simplifient la vie grâce à des caractéristiques que vous ne trouverez pas forcément sur des appareils ordinaires. Veuillez prendre quelques instants pour lire cette notice afin d'utiliser au mieux votre appareil.
Visitez notre site Internet pour :

Obtenir des conseils d'utilisation, des brochures, de l'aide, des informations :
www. aeg. com

Enregistrez votre produit pour obtenir un meilleur service :
www.registeraeg.com

Acheter des accessoires, consommables et pièces de rechange d'origine pour votre appareil :
www.aeg.com/shop
Service après-vente
Utilisez toujours des pièces d'origine.
Avant de contacter le service, assurez-vous de disposer des informations suivantes : Modèle, PNC, numéro de série.
Vous trouverez ces informations sur la plaque signalétique.

Avertissement/Consignes de sécurité

Informations générales et conseils

Informations en matière de protection de l'environnement
Sous réserve de modifications.
1. Consignes de sécurité
Avant d'installer et d'utiliser cet appareil, lisez soigneusement les instructions fournies. Le fabricant ne peut être tenu pour responsable des dommages et blessures liés à une mauvaise installation ou utilisation. Conservez toujours cette notice avec votre appareil pour vous y référer ultérieurement.

Avertissement!
Risque d'asphyxie, de blessure ou d'invalidité permanente.
- Cet appareil peut être utilisé par des enfants de plus de 8 ans, ainsi que des personnes dont les capacités physiques, sensorielles et mentales sont réduites ou dont les connaissances et l'expérience sont insuffisantes, à condition d'être surveillés ou d'avoir reçu des instructions concernant l'utilisation sécurisée de l'appareil et de comprendre les risques encourus.
- Ne laissez pas les enfants jouer avec l'appareil.
- Les enfants de moins de 3 ans, sans surveillance, doivent être tenus à l'écart de l'appareil.
- Ne laissez pas les emballages à la portée des enfants.
- Ne laissez pas les détergents à la portée des enfants.
- Tenez les enfants et les animaux éloignés de la porte de l'appareil lorsque celle-ci est ouverte.
- Si l'appareil est équipé d'un dispositif de sécurité enfants, nous vous recommandons de l'activer.
- Les enfants ne doivent pas nettoyer ni entreprendre une opération de maintenance sur l'appareil sans surveillance.
1.2 Consignes générales de sécurité
- Ne modifiez pas les caractéristiques de cet appareil.
- L'appareil peut être installé de façon autonome ou sous un plan de travail de cuisine si un espace correct est disponible.
- L'appareil ne doit pas être installé derrière une porte à serrure, une porte coulissante ni une porte battante dotée d'une charnière du côté opposé à l'appareil qui pourrait empêcher l'ouverture complète du hublot.
- Ne connectez la fiche d'alimentation à la prise de courant qu'à la fin de l'installation. Assurez-vous que la fiche d'alimentation est accessible une fois qu'elle est installée.
- Les orifices d'aération situés à la base (si présents) ne doivent pas être obstrués par de la moquette.
- Aérez suffisamment la pièce pour éviter le reflux de gaz provenant d'appareils utilisant d'autres combustibles, y compris les flammes nues.
- L'air rejeté ne doit pas être évacué dans une évacuation utilisée pour les fumées rejetées provenant des appareils brûlant du gaz ou d'autres combustibles (si applicable).
- La pression de l'eau en service (minimale et maximale) doit être comprise entre 0,5 bar (0,05 MPa) et 8 bar (0,8 MPa).
- Respectez la charge maximale de 9 kg (reportez-vous au chapitre « Tableau des programmes »).
- L'appareil doit être raccordé au circuit d'eau à l'aide des tuyaux neufs fournis. N'utilisez pas de tuyaux provenant d'anciens appareils.
- Si le câble d'alimentation est endommagé, il doit être remplacé par le fabricant, son atelier d'entretien ou un technicien qualifié afin d'éviter tout danger.
- Retirez les peluches accumulées dans l'appareil.
- N'utilisez jamais l'appareil sans filtres. Nettoyez le filtre à peluches avant ou après chaque utilisation.
- Il convient que les articles qui ont été salis avec des substances telles que l'huile de cuisson, l'acétone, l'alcool, l'essence, le kerosène, les détergents, la térébenthine, la cire et les substances pour retarder la
cire soient lavés dans de l'eau chaude avec une quantité supplémentaire de détergent avant d'être séchés dans le sèche-linge à tambour.
- Ne séchez pas d'articles sur lesquels ont été utilisés des produits de nettoyage chimiques industriels.
- N'introduisez dans le sèche-linge que du linge propre.
- Les pièces avec mousse de caoutchouc (mousse de latex), bonnets de bain, textiles imperméables, articles doublés en caoutchouc ou vêtements et taies d'oreiller rembourrés de mousse de caoutchouc ne doivent pas être séchés dans un sèche-linge à tambour.
- Les assouplissants ou autres produits similaires doivent être utilisés conformément aux instructions de leur fabricant.
- Retirez des poches tous les objets tels que briquets et allumettes.
- N'arrêtez jamais le sèche-linge avant la fin du cycle de séchage à moins de sortir immédiatement tout le linge et de le déplier pour mieux dissiper la chaleur.
- La phase finale d'un cycle de sèche-linge se produit sans chaleur (cycle de refroidissement) afin de s'assurer que les articles sont soumis à une température garantissant qu'ils ne seront pas endommagés.
- Ne pulvérisez pas d'eau ni de vapeur pour nettoyer l'appareil.
- Nettoyez l'appareil avec un chiffon doux humide. Utilisez uniquement des produits de lavage neutres. N'utilisez pas de produits abrasifs, de tampons à recycler, de solvants ou d'objets métalliques.
- Avant toute opération d'entretien, éteignez l'appareil et débranchez la prise secteur.
2.1 Instructions d'installation
- Retirez l'intégralité de l'emballage et les boulons de transport.
- Conservez les boulons de transport. Si vous devez déplacer à nouveau l'appareil, il est conseillé de bloquer le tambour.
- Soyez toujours vigilants lorsque vous déplacez l'appareil car il est lourd. Portez toujours des gants de sécurité
- N'installez pas et ne branchez pas un appareil endommagé.
- Suivez scrupuleusement les instructions d'installation fournies avec l'appareil.
- N'installez pas l'appareil ou ne l'utilisez pas dans un endroit où la température ambiente est inférieure à 0°C ou dans un endroit exposé aux intempérières.
- ante est inférieure à 5°C ou supérieure à 35°C. Assurez-vous que le sol sur lequel vous installez l'appareil est plat, stable, résistant à la chaleur et propre.
- N'installez pas l'appareil dans un endroit où il ne pourrait pas être complètement ouvert.
- Déplacez toujours l'appareil à la verticale.
- La surface arrière de l'appareil doit être positionnée contre le mur. Assurez-vous que de l'air circule entre l'appareil et le sol.
- Réglez les pieds pour laisser un espace suffisant entre l'appareil et la surface en moquette.
- Une fois l'appareil installé à son emplacement permanent, vérifiez qu'il est bien de niveau à l'aide d'un niveau à bulle. S'il n'est pas de niveau, régalez les pieds jusqu'à ce qu'il le soit. Pour vous assurer que le compresseur fonctionne correctement, patientez 6 heures après l'installation avant d'utiliser l'appareil.

Avertissement!
Risque d'incendie ou d'électrocution.
L'appareil doit être relié à la terre. Utilisez toujours une prise antichoc correctement installée. N'utilisez pas d'adaptateurs multiprises ni de rallonges.
- Ne tirez jamais sur le câble d'alimentation pour débrancher l'appareil. Tirez toujours sur la fiche.
- Ne touchez jamais le câble d'alimentation ni la fiche avec des mains mouillées. Pour le Royaume-Uni et l'Irlande uniquement : L'appareil est livré avec une fiche secteur de 13 ampères. Si vous devez changer le fusible de la fiche secteur, utilisez un fusible 13 A approuvé ASTA (BS 1362).
- Cet appareil est conforme aux directives CEE.
2.3 Raccordement à l'arrivée d'eau
Veillez à ne pas endommager les tuyaux de circulation d'eau. - Avant de brancher l'appareil à des tuyaux neufs ou n'ayant pas servi depuis longtemps, laissez couler l'eau jusqu'à ce qu'elle soit propre. - Avant d'utiliser l'appareil pour la première fois, assurez-vous de l'absence de fuites.

Avertissement!
Risque de blessure, de choc électrique, d'incendie, de brûlures ou de dommage matériel à l'appareil.
Utilisez cet appareil uniquement dans un environnement domestique. - Ne modifiez pas les caractéristiques de cet appareil. - Ne placez pas de produits inflammables ou d'éléments imbibés de produits inflammables à l'intérieur ou à proximité de l'appareil, ni sur celui-ci. - Ne touchez pas la vitre du couvercle pendant le déroulement d'un programme. La vitre peut être chaude. - Ne séchez pas d'articles endommagés contenant un rembourrage ou un garnissage. - Si vous avez lavé votre linge avec un produit détachant, lancez un cycle de rinçage supplémentaire avant de démarrer le sèche-linge.
Veillez à retirer tout objet métallique du linge avant chaque lavage. - Séchez uniquement les textiles adaptés au séchage dans un sèche-linge. Suivez les instructions figurant sur l'étiquette des textiles. - Les objets en plastique ne sont pas résistants à la chaleur.
- Si vous utilisez une boule de lavage, retirez-la avant de régler le programme de séchage.
- N'utilisez pas de boule de lavage lorsque vous régalez un programme non-stop (séchage enchânné).

Avertissement!
Risque de blessure corporelle ou de dommages matériels.
- Ne montez pas sur le hublot ouvert de votre appareil; ne vous asseyez pas dessus.
- N'introduisez pas de linge non essoré dans l'appareil.
2.5 Mise au rebut
- Débranche l'appareil de l'alimentation électrique.
- Débranche le câble d'alimentation et mettez-le au rebut.
- Retirez le dispositif de verrouillage de la porte pour empêcher les enfants et les animaux de s'enfermer dans l'appareil.

Avertissement!
Risque d'endommagement de l'appareil.
- Dans le lave-linge séchant, le compresseur et son système sont repliés d'un agent spécial ne contenant pas d'hydrochlorofluorocarbures. Ce circuit doit rester hermétique. Tout endommagement du circuit peut entraîner une fuite.
3.1 Vue d'ensemble de l'appareil


1 Plan de travail 2 Distributeur de produit de lavage 3 Filtre(s) à air 4 Bandeau de commande 5 Poignée d'ouverture du couvercle
6 Plaque signalétique 7 Filtre de la pompe de vidange 8 Pieds pour la mise de niveau de l'appareil 9 Fentes de circulation d'air 10 Tuyau d'évacuation d'eau
3.2 Comment activer le dispositif de sécurité enfants
Ce dispositif évite d'enfermer un enfant ou un animal dans l'appareil par accident.
Tournez le dispositif vers la droite, jusqu'à ce que la rainure soit horizontale. Vous ne pouvez pas fermer le couvercle de l'appareil.
3.3 Accessoires


11 Tuyau d'arrivée d'eau 12 Câble d'alimentation électrique 13 Boulons de transport 14 Pieds pour la mise de niveau de l'appareil

Pour fermer le couvercle, tournez le dispositif vers la gauche jusqu'à ce que la rainure soit verticale.
1 Clé
Pour retirer les boulons de transport.
2 Bouchons en plastique
Pour fermer les orifices du côté arrière de l'appareil après retrait des boulons de transport.
Pour éviter toute uite
4 Guide tuyau en plastique
Pour relier le tuyau de vidange au bord d'un évier.
4.1 Description du bandeau de commande

1 Touche Marche/Arrêt (Marche/Arrêt) 2 Suggesteur de programme 3 Affichage 4 Touche de sélection automatique du degré de séchage (Séchage automatique) 5 Touche de réglage de la durée de séchage (Séchage par minuterie) 6 Touche Vapeur (Vapeur) 7 Touche Départ/Pause (Départ/Pause)
8 Touche Départ différé (Départ Différé) 9 Touche Gain de temps (Gain de Temps) 10 Touche Rinçage plus (Rinçage Plus) 11 Touche Options (Taches/Prélavage) 12 Touche Réduction d'essorage (T/min.) 13 Touche Température (Temp.)
4.2 Affichage
L'affichage indique :
| A | La barre de texte: • Vous guide lors de l'utilisation de l'appareil. • Indique l'état et la phase du programme. • Affiche les messages d'alarme. Reportez-vous au chapitre « En cas d'anomalie de fonctionnement ». |
| Les symboles s'affichent lorsque la phase ou la fonction correspondante est programmée. | |
| B | Sécurité enfants |
| C | Hublot verrouillé Vous ne pouvez pas ouvrir le hublot de l'appareil lorsque ce symbole est allumé. Vous ne pouvez ouvoir le hublot de l'appareil que lorsque ce symbole est étenteint. Si le programme est terminé mais que le symbole reste allumé: • La fonction « Arrêt cuve pleine » est activée. • Il y a de l'eau dans le tambour. |
| D | Zone des chiffres Heure du jour Lorsque vous allumez l'appareil, l'houre s'affiche pendant quelques secondes. Pour régler l'horloge, consultez le chapitre « Réglage de l'horloge ». Durée du programme Lorsque vous sélectionnez un programme, la durée du cycle s'affiche pendant quelques secondes, puis l'houre de fin du programme s'affiche à nouveau. |→| Voyant de durée du programme Le voyant s'allume lorsque les chiffres indiquent la durée du programme. |
| Heure de fin du programme |→| Voyant de fin du programme Le voyant s'allume lorsque les chiffres indiquent l'houre de la fin du programme. | |
| Décai du départ différé Lorsque vous reglez un départ différé, l'houre de fin du programme augmente par paliers de 30 minutes jusqu'à 10 heures, puis par paliers d'une heures jusqu'à 20 heures. Fin du programme Un zéro s'affiche. | |
| E | Cette partie ne s'active que si le hublot est ouvert - Consultez le chapitre « Mise en fonctionnement de l'appareil et sélection d'un programme ». | |
| MAX | Charge de linge maximale autorisée pour le programme sélectionné (en kg). | |
| KG | ||
| Barres graphiques | ||
| Pour sélectionner une fonction : Levoyant de la fonction s'allume lorsque la fonction correspondante est sélectionnée. | ||
| Une barre vide s'affiche si la fonction correspondante est compatible avec le programme sélectionné. Si une barre devoyant ne s'allume pas, cela indique qu'elle n'est pas disponible. | ||
| La barre se remplit en fonction des sélections. | ||
| i | Si vous faites une mauvaise sélection, sur l'affichage, un message indique que cette sélection n'est pas possible. | |
| F | Gain de temps Levoyant s'allume lorsque vous sélectionnez l'une des durées du programme. | |
| Durée réduite | ||
| Rapide | ||
| G | Voyant des filtres à air | |
| H | Rinçage Plus | |
| La valeur affichée indique le nombre total de rinzages. | ||
| La barre devoyant se remplit selon le nombre de rinzages. | ||
| I | Voyant Détachage | |
| Voyant Préavage | ||
| Voyant Trempage | ||
| La barre se remplit en fonction des sélections. | ||
| J | Vitesse d'essorage du programme sélectionné | |
| Voyant Sans essorage1) | ||
| Indicateur Arrêt cuve pleine | ||
| 1) Uniquement disponible pour le programme ESSORAGE/VIDANGE. | ||
| K | Température par défaut du programme sélectionné | |
| Eau froide | ||
5.1 Tableau des programmes
| Programme Plage de tem- pératures | Charge maxi- male Vitesse d'es- sorption maxi- male | Description des programmes (Type de charge et degré de salissure) |
| Programmes de lavage/séchage1) | ||
| Blanc/Couleurs 95 °C - Froid | 9 kg 1600 tr/min | Coton blanc et couleurs. Normalement sale ou lég- èrement sale. |
| Coton Eco2) 60 °C - 40 °C | 9 kg 1600 tr/min | Coton blanc et couleurs grand teint. Normalement sale. La consommation d'énergie diminue et la du- rée du programme de lavage est prolongée. |
| Synthétiques 60 °C - Froid | 4 kg 1200 tr/min | Articles en textiles synthétiques ou mixtes. Nor- malement sale. |
| Laine/Soie 40 °C - Froid | 1.5 kg 1200 tr/min | Laine lavable en machine, laine lavable à la main et textiles délicats avec le symbole « lavable à la main ».3) |
| Programme Plage de tem- pératures | Charge maxi- male Vitesse d'es- sorage maxi- male | Description des programmes (Type de charge et degré de salissure) |
| Anti-Allergies 60 °C | 9 kg 1600 tr/min | Vêtements en cotton blanc. Ce programme élimine les micro-organismes grâce à un lavage à 60 °C et un rinçage supplémentaire. Le lavage est ainsi plus effi- cace. |
| Programmes de séchage | ||
| Coton | 6 kg | Programme de séchage pour les vêtements en co- ton. |
| Synthétiques | 4 kg | Programme de séchage pour les articles synthé- tiques. |
| Laine | 1 kg | Programme de séchage pour la laine. |
| Programmes de lavage | ||
| Délicats 40 °C - Froid | 4 kg 1200 tr/min | Vêtements en textiles délicats tels que l'acryli- que, la viscose ou le polyester. Normalement sale. |
| Repassage Facile 60 °C - Froid | 4 kg 800 tr/min | Textiles synthétiques à laver en douceur. Légère- ment et normalement sales.4) |
| Super Eco Froid | 3 kg 1200 tr/min | Textiles mixtes (articles en coron et synthétiques).5) |
| 20 Min.-3kg 40 °C - 30 °C | 3 kg 1200 tr/min | Vêtements en cotton et synthétiques légèrement sales ou portés une seule fois. |
| Rinçage 0 °C | 9 kg 1600 tr/min | Pour rincer et essorer le linge. Tous textiles. |
| Essorage/ Vidange6) 0 °C | 9 kg 1600 tr/min | Pour essorer le linge et vidanger l'eau du tambour. Tous textiles. |
| Programmes vapeur7)La vapeur peut être utilisée sur du linge sec, lavé ou porté une seule fois. Ces pro- grammes permettent de réduire le froissement et les odeurs et rendent le linge plus doux.N'utilise aucun produit de lavage. En cas de besoin, nettoyez les taches en effec- tuant un cycle de lavage ou à l'aide d'un produit détachant à application locale.Les programmes Vapeur n'effectuent pas de cycle de lavage hygiénique.Ne sélectionnez pas le programme Vapeur pour ces types de vêtements : • vêtements pour lesquels il n'est pas précisé sur l'étiquette qu'ils peuvent aller au sèche-linge. • tous les vêtements contenant des pièces en plastique, métal, bois ou équivalent. | ||
| Défloissage 40 °C | jusqu'à 1.5 kg | Programme vapeur pour les articles en coton et textiles synthétiques. Ce cycle contribue à défloiss- er le linge. |
| Rafraîchir 40 °C | jusqu'à 1.5 kg | Programme vapeur pour les articles en coton et textiles synthétiques. Ce cycle élimine les odeurs du linge.8) |
1) Lorsque vous sélectionnez un programme de LAVAGE/SÉCHAGE avec le sélecteur de programmes, l'affichage indique par un message que le cycle de séchage n'est pas sélectionné. Si vous souhaitez sécher ce linge, sélectionnez un séchage automatique (touche Séchage Automatique) ou un séchage chronométrique (touche Séchage par Minuterie). 2) Le programme de lavage «Coton Eco» à 60 °C avec une charge de 9 et le programme de séchage «Coton» sont les programmes de référence pour les données de l'étiquette énergétique, conformément aux normes CEE 92/75. 3) Durant ce cycle, le tambour tourne lentement pour garantir un lavage en douceur. Il peut donner l'impression de ne pas tourner, ou de tourner de façon anormale. L'appareil se comporte normalement. 4) Pour réduire les plis sur le linge, ce cycle ajuste la température de l'eau et effectue un lavage et une phase d'essorage en douceur. L'appareil effectue des rincages supplémentaires. Ce programme n'est pas compatible avec le séchage. 5) Ce programme est idéal pour une utilisation quotidienne car sa consommation d'eau et d'énergie est plus basse tout en maintenant de bonnes performances de lavage. 6) Réglez la vitesse d'essorage. Assurez-vous qu'elle correspond au linge chargé. Si vous éliminez la phase d'essorage, seule la phase de vidange est disponible. 7) Si vous sélectionnez un programme Vapeur avec du linge sec, il sera humide à la fin du cycle. Il est préférable de l'exposer à l'air libre pendant environ 10 minutes afin de permettre à cette humidité de se dissiper. Lorsque le programme est terminé, retirez rapidement le linge du tambour. Après un cycle Vapeur, les vêtements peuvent être repassés, mais ils se seront avec plus de facilité ! 8) La vapeur n'élimine pas les odeurs animales.
Compatibilité des options avec les programmes
| Programme | T/min. | - - - | Prélavage | Détachage | Trempage | RinçagePlus 1) | Gain deTempS2) | DépartDifféré |
| Blanc/Couleurs | ■ | ■ | ■ | ■ | ■ | ■ | ■ | |
| Coton Eco | ■ | ■ | ■ | ■3) | ■ | |||
| Synthétiques | ■ | ■ | ■ | ■ | ■ | ■ | ■ | |
| Laine/Soie | ■ | ■ | ■ | |||||
| Anti-Allergies | ■ | ■ | ■ | ■ | ■ | |||
| Délicats | ■ | ■ | ■ | ■ | ■ | ■ | ||
| Repassage Facile | ■ | ■ | ■ | ■ | ■ | ■ | ■ | |
| Super Eco | ■ | ■ | ■ | ■ | ||||
| 20 Min.-3kg | ■ | ■ | ||||||
| Rinçage | ■ | ■ | ■ | ■ | ||||
| Essorage/Vidange | ■ | ■ | ■ |
1) Si l'option Rincage plus permanent est activée, l'appareil ajoute des rincages supplémentaires. Avec le programme de rincage, si vous sélectionnez une vitesse d'essorage peu élevée, l'appareil effectue des rincages délicats et un essorage court. 2) Si vous sélectionnez une durée plus courte, nous vous recommandons de réduire la charge de linge. Il est possible de charger entièrement le lave-linge, mais les résultats du lavage seront alors moins bons. 3) Seule la durée de programme Rapide est compatible avec ce programme.
5.2 Programmes pour le séchage automatique
| Degré de séchage | Type de textile | Charge |
| Extra SecPour les articles en tissu éponge | Coton et lin(peignoirs, serviettes de bain,etc.) | jusqu'à 6 kg |
| Prêt à ranger1)Pour les articles à ranger directement | Coton et lin(peignoirs, serviettes de bain,etc.) | jusqu'à 6 kg |
| Textiles synthétiques et mixtes(pull-overs, chemisiers, sous-vêtements, linge de maison) | jusqu'à 4 kg | |
| Prêt à repasserPour les vêtements à repasser | Coton et lin(draps, nappes, chemises, etc.) | jusqu'à 6 kg |
Conseils pour les organismes de test Conformément à la norme EN 50229:2007-07, les tests doivent être réalisés en sélectionnant le programme SÉCHAGE AUTOMATIQUE PRÉT À RANGER pour le coton avec une charge respectant la norme EN61121. Nettoyez les filtres à air après chaque cycle.
5.3 Programmes pour le séchage chronométrique
| Degré de séchage | Type de textile | Charge (kg) | Vitesse d'essor- age (tr/ min) | Durée sug- gérée (min) |
| Extra SecPour les articles en tis-su éponge | Coton et lin(peignoirs, serviettes de bain, etc.) | 6 | 1600 | 240 - 250 |
| 3 | 1600 | 120 - 140 | ||
| 1 | 1600 | 50 - 60 | ||
| Prêt à rangerPour les articles à ranger directement | Coton et lin(peignoirs, serviettes de bain, etc.) | 6 | 1600 | 230 - 240 |
| 3 | 1600 | 110 - 130 | ||
| 1 | 1600 | 40 - 50 | ||
| Prêt à rangerPour les articles à ranger directement | Textiles synthétiques et mixtes(pull-overs, chemisiers, sous-vêtements, linge de maison) | 4 | 1200 | 180 - 190 |
| 2 | 1200 | 80 - 90 | ||
| Prêt à repasserPour les vêtements à repasser | Coton et lin(draps, nappes, chemises, etc.) | 6 | 1600 | 210 - 220 |
| 3 | 1600 | 90 - 100 | ||
| 1 | 1600 | 30 - 40 | ||
| Séchage laine | Laine laine (pull-overs) | 1 | 1200 | 80 - 100 |
5.4 Certificat Woolmark

Le cycle Laine de cet appareil a été approuvé par la société Woolmark pour le lavage des vêtements en laine portant une étiquette « lavage à la main », sous réserve que les vêtements soient lavés conformément aux instructions mentionnées par le
fabricant de ce lave-linge. Respectez les instructions de séchage figurant sur l'étiquette des vêtements et toutes les autres instructions concernant le linge. M1230
Le cycle Séchage Laine de cet appareil a été approuvé par la société Woolmark pour le séchage des vêtements en laine portant une étiquette « lavage à la main », sous réserve que les vêtements soient séchés conformément aux instructions mentionnées par le fabricant de ce lave-linge. Respectez l'ensemble des
Instructions figurant sur l'étiquette des vêtements. M1399
Au Royaume-Uni, en Irlande, à Hong
Kong ainsi qu'en Inde, le symbole
Woolmark est une marque de certification.
6. Valeurs de consommation

Les données de ce tableau sont approximatives. Les données peuvent différer pour différentes raisons : la quantité et le type de linge, la température ambiant ou de l'eau.

Au démarrage du programme, l'affichage indique la durée du programme pour la charge maximale. Durant la phase de lavage, la durée du programme est calculée automatiquement. Elle peut être réduite si la charge de linge est inférieure à la capacité maximale (par exemple, pour le programme Coton 60°C, dont la capacité maximale est de 9 kg, la durée du programme est de plus de 2 heures ; pour une charge réelle de 1 kg, la durée du programme est inférieure à 1 heure). Un point clignote sur l'affichage lorsque l'appareil calcule la durée réelle du programme.
| Programmes | Charge (kg) | Consom-mation énergé-tique (kWh) | Consomma-tion d'eau (litres) | Durée approximative du programme (mi-nutes) |
| Coton 60 °C | 9 | 1.68 | 71 | 180 |
| Programme Coton Éco à 60 °C1) | 9 | 1.094 | 69 | 238 |
| Coton 40 °C | 9 | 1.05 | 71 | 175 |
| Synthétiques 40 °C | 4 | 0.88 | 60 | 142 |
| Textiles délicats 40 °C | 4 | 0.70 | 63 | 91 |
| Laine/Lavage à la main 30 °C | 1.5 | 0.35 | 59 | 58 |
1) Le « programme coton éco » à 60°C avec une charge de 9 kg est le programme de référence pour les données de l'étiquette énergétique, conformément aux normes CEE 92/75.
7.1 Signaux sonores
Des signaux sonores retentissent lorsque :
- Vous allumez l'appareil.
- Vous éteignez l'appareil.
- Vous avez appuyé sur les touches.
- Le programme est terminé.
- L'appareil présente une anomalie de fonctionnement.
Pour désactiver/activer les signaux sonores, appuyez simultanément sur les
touches Taches/Prélav. et Rinceage Plus pendant 6 secondes.

Si vous désactivez les signaux sonores, ils ne continueront à retentir que lorsque vous appuierez sur les touches et lorsque l'appareil présente une anomalie.
7.2 Fonction sécurité enfants
Avec cette fonction, vous pouvez empêcher les enfants de jouer avec le bandeau de commande.
Pour activer/désactiver cette fonction, appuyez simultanément sur les touches Temp. et T/min. jusqu'à ce que le voyant s'allume/s'éteigne.
8.1 Écran tactile

Veillez à ce que l'écran tactile et les touches soient toujours propres et secs.
8.2 Marche/arrêt
Appuyez sur cette touche pour allumer et éteindre l'appareil. Un son retentit lorsque l'appareil s'allume.
La fonction Veille auto désactive automatiquement l'appareil pour réduire la consommation d'énergie lorsque :
- Vous n'utilisez pas l'appareil pendant 5 minutes avant d'appuyer sur la touche Départ/Pause.
Tous les réglages sont annulés. Appuyez sur la touche Marche/Arrêt pour permettre à nouveau l'appareil en marche.
Sélectionnez de nouveau le programme de lavage et toutes les fonctions possibles.
Au bout de 5 minutes après la fin du programme de lavage, reportez-vous au chapitre « À la fin du programme ».
Vous pouvez activer cette fonction :
- Après avoir appuyé sur Départ/ Pause: toutes les touches et le sélecteur de programme sont désactivés.
- Avant d'appuyer sur Départ/Pause : l'appareil ne peut pas démarrer.
7.3 Rinçage plus permanent
Cette fonction vous permet de maintenir la fonction Rinçage plus activée en permanence lorsque vous sélectionnez un nouveau programme.
Pour activer/désactiver cette fonction, appuyez simultanément sur les touches Gain de Temps et Départ Différé jusqu'à ce que le voyant + s'allume/s'éteigne.
8.3 Sélecteur de programme
Tournez cette manette pour sélectionner un programme. Le voyant correspondant s'allume.
8.4 Séchage automatique
Appuyez sur cette touche pour sélectionner l'un des 3 degrés de séchage proposés par l'appareil. Les voyants de séchage sur le bandeau de commande s'allument en conséquence.
La barre de texte indique le degré de séchage sélectionné :
- Prêt à repasser - 1 voyant allumé : linge à repasser
- Prêt à ranger - 2 voyants allumés : linge à ranger Très sec - 3 voyants allumés : linge devant être parfaitement sec

Certains degrés automatiques de séchage ne peuvent pas être sélectionnés selon le type de textile.
8.5 Séchage par minuterie
Appuyez sur cette touche pour sélectionner la durée la plus adaptée au linge que vous devez sécher. La barre de texte indique la valeur réglée.
À chaque fois que vous appuyez sur cette touche, la durée augmente de 5 minutes.

Certaines durées ne peuvent pas être sélectionnées selon le type de textile.
8.6 Vapeur
Appuyez sur cette touche pour régler le niveau de vapeur. Ce n'est possible que pour les programmes compatibles avec la fonction vapeur. La durée de la phase vapeur change selon votre choix.
8.7 Départ/pause
Appuyez sur la touche Départ/Pause pour lancer ou interrompre un programme.
8.8 Départ différé
Appuyez sur la touche Départ Différé pour différer le départ d'un programme de 30 minutes à 20 heures.
8.9 Gain de temps
Appuyez sur la touche Gain de Temps pour réduire la durée d'un programme.
Vous pouvez sélectionner :
- DUREE RÉDUITE : pour laver les articles peu sales.
- TRÈS COURT : pour laver rapidement les articles très peu sales.

Certains programmes n'acceptent qu'une seule de ces fonctions.
8.10 Rinçage plus
Appuyez sur cette touche pour ajouter des phases de rinçage à un programme.
Utilisez cette fonction pour les personnes allergiques aux produits de lavage et dans les régions où l'eau est douce.
8.11 Tâches/prélavage
Appuyez sur cette touche pour sélectionner l'une des fonctions suivantes :
Prélavage
Utilisez cette fonction pour le linge très sale. L'appareil ajoute une phase de prélavage au lavage principal. La durée du programme augmente.
Trempage
Utilisez cette fonction pour le linge très sale. L'appareil fait tremper le linge à 30 °C pendant environ une demi-heure avant le lavage.
Détachage
Utilisez cette fonction pour le linge très sale. Lorsque vous sélectionnez cette fonction, ajoutez un détachant dans le compartiment

La durée du programme augmente. Cette fonction n'est pas compatible avec des températures inférieures à 40°C
8.12 T/min.
Appuyez sur la touche T/min. pour :
- Réduire la vitesse maximale de la phase d'essorage du programme.

Seules les vitesses disponibles pour le programme sélectionné s'affichent.
- Désactivez la phase d’essorage (fonction « Sans essorage »). Activez la fonction « Arrêt cuve pleine ».
Sélectionnez cette fonction pour éviter le froissage du linge. L'appareil ne vidange pas l'eau quand ce programme est terminé.
8.13 Temp.
Appuyez sur cette touche pour modifier la température par défaut.
Symboles et ±b = eau froide
9. Avant la première utilisation
- Versez une petite quantité de détergent dans le compartiment de la phase de lavage.
- Sélectionnez et faites démarrer, à vide, un programme pour le coton à la température la plus élevée possible.
Cela élimine toute salissure éventuelle du tambour et de la cuve.
9.1 Réglage de l'horloge
Après avoir sélectionné la langue, l'écran indique qu'il faut paramétrer l'horloge. Les chiffres des heures clignotent.
- Tournez le sélecteur de programme pour changer l'heure.
- Appuyez sur la touche Départ/Pause pour confirmer la sélection.
Les chiffres des minutes clignotent.
- Tournez le sélecteur de programme pour changer les minutes.
- Appuyez sur la touche Départ/Pause pour confirmer la sélection.
9.2 Modification de l'heure après la première activation
- Appuyez simultanément sur la touche Rincage Plus et sur la touche Gain de Temps pendant quelques secondes. Les chiffres des heures clignotent.
- Tournez le sélecteur de programme pour changer l'heure.
- Appuyez sur la touche Départ/Pause pour confirmer la sélection. Les chiffres des minutes clignotent.
- Tournez le sélecteur de programme pour changer les minutes.
- Appuyez sur la touche Départ/Pause pour confirmer la sélection.
9.3 Sélection de la langue
Lorsque vous allumez l'appareil pour la première fois, l'affichage indique la langue par défaut et vous demande de la confirmer ou de la modifier :
- Tournez le sélecteur de programme pour sélectionner la langue souhaitée.
- Lorsque la langue souhaitée s'affiche, appuyez sur la touche Départ/Pause pour confirmer la sélection.
9.4 Modification de la langue après la première activation
- Appuyez simultanément sur la touche T/min. et sur la touche Taches/Prélavage pendant quelques secondes.
- Lorsque le réglage de la langue s'affiche, tournez le sélecteur de programme pour sélectionner une nouvelle langue.
- Appuyez sur la touche Départ/Pause pour confirmer la sélection.
10.1 Avant la mise en marche de l'appareil
- Ouvrez le robinet d'eau.
- Branchez l'appareil sur le secteur.
10.2 Mise en fonctionnement de l'appareil et sélection d'un programme
- Appuyez sur la touche Marche/Arrêt pour allumer l'appareil.
- Tournez le sélecteur de programme jusqu'au programme souhaité ou appuyez sur l'une des touches Mémoire pour sélectionner un programme en mémoire. Le voyant du programme s'allume. Le voyant de la touche Dé ent.
- Si nécessaire, appuyez sur la touche Temp. et sur la touche T/min. pour
modifier la température de l'eau et la vitesse d'essorage.
- Si nécessaire, appuyez sur les autres touches pour ajouter certaines fonctions ou pour régler un départ différé.
Le symbole de la fonction s'affiche et le chiffre indique la durée du départ différé.
10.3 Chargement du linge
- Ouvrez la porte de l'appareil
- Mettez le linge dans le tambour, un article à la fois.
- Dépliez-les le plus possible avant de les placer dans l'appareil.
Assurez-vous de ne pas surcharger le tambour. 4. Refermez la porte.


Attention!
Veilliez à ce qu'il n'y ait pas de linge coincé entre le joint et le hublot. Cela pourrait provoquer une fuite d'eau ou endommager le linge.

10.4 Ajout du produit de lavage et des additifs

L Compartiment destiné à la phase de prélavage, au programme de trempage ou à un produit détachant.
Compartiment pour la phase de lavage.
Compartiment réservé aux additifs liquides (assouplissant, amidon).
Niveau maximal pour la quantité d'additifs liquides.
Volet pour produit de lavage en poudre ou liquide.

Respectez toujours les instructions figurant sur l'emballage des lessives.
10.5 Lessive liquide ou en poudre



- Position A pour la lessive en poudre (réglage d'usine).
- Position B pour la lessive liquide.

Si vous utilisez une lessive liquide :
- N'utilisez pas de lessives liquides gélatineuses ou épaisses.
- Ne dépassez pas le niveau maximum.
- Ne sélectionnez pas de phase de prélavage.
- Ne sélectionnez pas la fonction Départ différé.
10.6 Démarrage d'un programme sans départ différé
Appuyez sur la touche Départ/Pause pour lancer le programme. Le voyant correspondant clignote et reste allumé en rouge. Le programme démarre et le hublot est verrouillé. Le voyant s'allume.

La pompe de vidange peut s'emettre en route lorsque l'appareil se remplit d'eau.
10.7 Comportement de l'appareil

Au bout d'environ 15 minutes après le départ du programme :
L'appareil ajuste automatiquement la durée du cycle au type de linge chargé dans le tambour pour un lavage parfait en un minimum de temps. La nouvelle durée s'affiche.
10.8 Départ d'un programme avec départ différé
- Appuyez sur la touche Départ Différé à plusieurs reprises pour sélectionner le départ différé souhaité.
L'affichage indique la fin prévue du programme.
- Appuyez sur la touche Départ/Pause. L'appareil démarre le décompte du départ différé.
Lorsque le décompte est terminé, le programme démarre automatiquement.

Avant d'appuyer sur la touche Départ/Pause pour démarrer l'appareil, vous pouvez annuler ou modifier le réglage du départ différé.
10.9 Annulation du départ différé
- Appuyez sur la touche Départ/Pause. L'évoyant correspondant clignote.
- Appuyez à plusieurs reprises sur la touche Départ Différé jusqu'à ce que l'affichage indique qu'il n'y a aucun départ différé.
- Appuyez sur la touche Départ/Pause. Le programme démarre.
10.10 Interruption d'un programme et modification des options
Vous ne pouvez modifier que quelques options avant qu'elles ne soient actives :
- Appuyez sur la touche Départ/Pause. Le voyant correspondant clignote.
- Modifiez les options.
- Appuyez à nouveau sur la touche Départ/Pause.
Le programme de lavage se poursuit.
10.11 Annulation d'un programme
- Appuyez sur la touche Marche/Arrêt pour annuler le programme et éteindre l'appareil.
- Appuyez à nouveau sur la touche Marche/Arrêt pour allumer l'appareil. Maintenant, vous pouvez sélectionner un nouveau programme de lavage.

Avant de lancer le nouveau programme, l'appareil vidange l'eau. Assurez-vous qu'il y a toujours du détergent dans le compartiment à lessive; si ce n'est pas le cas, versez à nouveau du détergent.

Avertissement!
Si la température et le niveau de l'eau dans le tambour sont trop élevés et que le tambour continue de tourner, vous ne pouvez pas ouvrir le hublot.
Pendant le déroulement d'un programme ou du départ différé, le hublot de l'appareil est verrouillé.
Pour ouvrir le hublot de l'appareil :
- Appuyez sur la touche Départ/Pause. Le symbole de verrouillage du hublot disparaît de l'écran.
- Ouvrez le hublot de l'appareil.
- Fermez le hublot de l'appareil et appuyez sur la touche Départ/Pause. Le programme ou le départ différé se poursuit.
10.13 Fin du programme
Lorsque le programme est terminé, l'appareil s'éteint automatiquement. Le signal sonore retentit (s'il est activé).
Sur l'affichage, apparaît un message. Vous indique que le programme est terminé.
Le voyant de la touche Départ/Pause s'éteint.
- Appuyez sur la touche Marche/Arrêt pour éteindre l'appareil.
Cinq minutes après la fin du programme, la fonction d'économie d'énergie éteint automatiquement l'appareil.

Lorsque vous rallumez l'appareil, le dernier programme sélectionné s'affiche. Tournez le sélecteur pour désirer un nouveau cycle.
- Sortez le linge de l'appareil.
- Vérifiez que le tambour est vide.
- Laissez les hublots et filtre à air entrouverts pour éviter la formation de moisissures et l'apparition de mauvaises odeurs.
- Fermez le robinet d'eau.
Le programme de lavage est terminé, mais il y a de l'eau dans le tambour :
Le tambour tourne régulièrement pour éviter que le linge ne se froisse. Le hublot reste verrouillé. - Vous devez regarder l'eau pour pouvoir ouvrir le hublot :
- Si besoin est, diminuez la vitesse d'essorage.
- Appuyez sur la touche Départ/Pause. L'appareil effectue la vidange et l'essorage.
- Une fois le programme terminé et le voyant de verrouillage du hublot éteint, vous pouvez ouvrir le hublot.
- Appuyez sur Marche/Arrêt pendant quelques secondes pour éteindre l'appareil.
L'appareil effectue automatiquement la vidange et l'essorage au bout d'environ 18 heures.
10.15 Option « veille auto
L'option Veille auto éteint automatiquement l'appareil pour réduire la consommation d'énergie lorsque :
- Vous n'utilisez pas l'appareil pendant 5 minutes avant d'appuyer sur la touche Départ/Pause.
Appuyez sur la touche Marche/Arrêt pour mettre à nouveau l'appareil en marche.
Au bout de 5 minutes après la fin du programme de lavage, appuyez sur la touche Marche/Arrêt pour mettre à nouveau l'appareil en marche.
L'affichage indique la fin du dernier programme sélectionné.
Tournez le sélecteur pour choisir un nouveau cycle.
11. Utilisation quotidienne - séchage
! AVENTISSEMENT! Reportez-vous aux chapitres concernant la sécurité.
11.1 Préparation au séchage
AVERTISSEMENT! Ouvrez le robinet d'eau. Placez le tuyau de vidange dans l'évier ou reliez-le au tuyau d'évacuation.
Au début du cycle de séchage (3 à 5 minutes) le niveau sonore peut être légèrement plus fort. Ce bruit est dû au démarrage du compresseur, ce qui est normal dans des appareils alimentés par un compresseur comme les réfrigérateurs, les congélateurs, et d'autres.
- Appuyez sur la touche Marche/Arrêt pendant quelques secondes pour allumer l'appareil
- Chargez le linge dans le tambour, un article à la fois.
- Tournez le sélecteur de programme sur le programme de séchage adapté aux articles à sécher.
La barre de texte indique le programme que vous avez besoin.
Pour obtenir de bonnes performances de séchage lorsque vous séchez une grande quantité de linge, vérifiez que le linge n'est pas roulé en boule, et qu'il est réparti uniformément dans le tambour.
11.2 Séchage automatique
- Appuyez à plusieurs reprises sur la touche Séchage automatique pour régler le degré de séchage souhaité. Les voyants sur le bandeau de commande s'allument en conséquence :
a. Degré PRÊT À REPASSER 1 voyant allumé : pour les articles en coton b. Degré PRÊT À RANGER - 2 voyants allumés : pour les articles en coton et synthétiques c. Degré TRÈS SEC - 3 voyants allumés : pour les vêtements en coton
Certains degrés de séchage ne peuvent pas être sélectionnés selon le type de linge.
L'affichage indique l'heure de fin et le programme de séchage sélectionné.
- Appuyez sur la touche Départ/Pause pour lancer le programme.
La barre de texte indique que l'appareil est en cours de séchage.
L'indicateur Hublot verrouillé et l'indicateur du programme en cours d'apparition, et l'heure de fin du cycle s'affiche en alternance.
L'affichage met régulièrement la durée du cycle de séchage à jour (toutes les minutes).
11.3 Séchage chronométrique
- Appuyez à plusieurs reprises sur la touche Séchage par minuterie pour régler la durée de séchage (reportez-vous au tableau du « Programme de séchage »).
Pour les programmes coton et synthétiques, l'affichage indique
15 minutes, pour le programme laine, la durée affichée est de 13 minutes.
À chaque fois que vous appuyez sur cette touche, la durée augmente de
5 minutes. La valeur réglée s'affiche.
- Appuyez sur la touche Départ/Pause pour lancer le programme. La barre de texte indique que l'appareil est en cours de séchage.
Le voyant Hublot verrouillé et le voyant du programme en cours apparaissent.
La durée du cycle de séchage et l'heure de fin du cycle s'affichent en alternance.
L'affichage met régulièrement la valeur du cycle de séchage à jour.

Si le linge n'est pas assez sec, sélectionnez de nouveau une courte durée de séchage.
11.4 À la fin du programme de séchage
L'appareil s'arrête automatiquement. - Les signaux sonores retentissent (s'ils sont activés). - Le symbole s'affiche. La barre de texte indique que le programme est terminé. Le voyant de la touche Départ/Pause s'éteint. Le voyant de verrouillage du hublot s'éteint. - Appuyez sur la touche Marche/Arrêt pendant quelques secondes pour éteindre l'appareil.

Quelques minutes après la fin du programme, la fonction d'économie d'énergie éteint automatiquement l'appareil.
- Sortez le linge de l'appareil. Vérifiez que le tambour est vide.
- Fermez le robinet d'eau.

Avertissement!
Reportez-vous aux chapitres concernant la sécurité.
12.1 Programme non-stop (séchage enchaîné)
Vous pouvez laver et sécher votre linge en une fois en sélectionnant un « programme non-stop ». Procédez comme suit :
- Appuyez sur la touche Marche/Arrêt pendant quelques secondes pour allumer l'appareil.
- Chargez le linge dans le tambour, un article à la fois.
- Versez le produit de lavage et les additifs dans le compartiment approprié.
- Tournez le sélecteur sur le programme de lavage. La température et la vitesse d’essorage par défaut s'affichent. Si nécessaire, modifiez-les en fonction de votre linge.
- Sélectionnez les options disponibles.
12.2 Lavage et séchage automatiques
- Appuyez à plusieurs reprises sur la touche Séchage automatique jusqu'à ce que le degré de séchage souhaité
s'affiche. Les voyants au-dessus de la touche s'allument en conséquence :
Degré PRÉTÀ REPASSER :
1 voyant allumé - pour lesvêtements en coton;
b. Degré PRÉT À RANGER :
2 voyants allumés - pour les vêtements en coton et synthétiques;
c. Degré TRÉS SEC : 3 voyants allumés - pour les vêtements en coton.
L'affiche vous indique que l'appareil est prêt à démarrer.
La valeur affichée est la durée des cycles de lavage + séchage, calculée selon le poids d'une charge par défaut.

Pour obtenir de bons résultats de séchage, vous ne pouvez pas sélectionner une vitesse d'essorage trop BASSE pour les articles devant être lavés et séchés.
- Appuyez sur la touche Départ/Pause pour lancer le programme.
L'indicateur Hublot verrouillé et l'indicateur du programme en cours to apparaisent, le temps de séchage et l'heure de fin du cycle s'affichent en alternance.
La barre de texte indique que l'appareil est en cours de fonctionnement.
La nouvelle durée s'affiche régulièrement.
12.3 À la fin du programme
L'appareil s'arrête automatiquement. Les signaux sonores retentissent (s'ils sont actifs).
Pour de plus amples informations, reportez-vous à la section « À la fin du programme de séchage » du chapitre précédent.

Avertissement!
Reportez-vous aux chapitres concernant la sécurité.
12.4 Peluches sur les textiles
Durant les phases de lavage et/ou séchage, certains types de textiles, tels que le tissu éponge, la laine ou les sweat-shirts, peuvent perdre des peluches.
Ces peluches peuvent ensuite accrocher aux tissus lavés au cours du cycle suivant.
Ce inconvenient est encore plus fréquent avec des tissus techniques.
Pour éviter que les peluches ne s'accrochent à vos vêtements, il est recommandé :
- de ne pas laver de tissus de couleur sometimes après avoir lavé et séché des vêtements de couleur claire (tissu éponge, laine et sweat-shirts) et inversement.
- de laisser sécher ce type de textiles à l'air libre lorsqu'ils viennent d'être lavés pour la première fois.
- de nettoyer le filtre de vidange.
- Après la phase de séchage, nettoyez entièrement le tambour vide, le joint et le hublot avec un chiffon humide.
Pour éliminer les peluches se trouvant dans le tambour, sélectionnez un programme spécial :
- Videz le tambour. Nettoyez le tambour, le joint et le hublot avec un chiffon humide.
- Sélectionnez le programme de rinçage.
- Appuyez simultanément sur T/min. et Rinçage Plus pour activer la fonction de nettoyage, jusqu'à ce que CLE s'affiche.
- Appuyez sur la touche Départ/Pause pour lancer le programme.
13.1 Chargement du linge
- Répartissez le linge entre articles : blancs, de couleurs, synthétiques, délicats et en laine.
- Respectez les instructions de lavage qui figurent sur les étiquettes des vêtements.
- Ne lavez pas les articles blancs et de couleur ensemble.
- Certains articles de couleur peuvent déteindre lors des premiers lavages. Il est recommandé de les laver séparément les premières fois.
- Boutonnez les taies d'oreiller, fermez les fermétures à glissière et à pression et les crochets. Attachez les ceintures.
- Videz les poches des vêtements et dépliez-les.
- Retournez les tissus multi-couches, en laine et les articles portant des illustrations imprimées vers l'intérieur.
- Enlevez les taches tenaces.
- Lavez les taches incrustées avec un produit spécifique.
- Traitez les rideaux avec précautions. Enlevez les crochets et placez les rideaux dans un sac de lavage ou une taie d'oreiller.
- Ne lavez pas d'articles sans ourlet ou déchirés dans l'appareil. Utilisez un sac de lavage pour les articles très petits et/ou délicats (par exemple les soutiens-gorge à armatures, les ceintures, les bas, etc.).
- Une très petite charge peut provoquer des problèmes d'équilibre pendant la phase d'essorage. Si cela se produit, répartissez manuellement les articles dans la cuve et lancez à nouveau la phase d'essorage.
13.2 Taches tenaces
Pour certaines taches, l'eau et les produits de lavage ne suffisent pas.
Il est recommandé d'éliminer ces taches avant de mettre les articles dans l'appareil.
Des détachants spéciaux sont disponibles. Utilisez le détachant spécial adapté au type de tache et de textile.
13.3 Produits de lavage et additifs
Utilisez uniquement des produits de lavage et des additifs spécialement conçus pour les lave-linge :
- lessives en poudre pour tous les types de textiles,
- lessives en poudre pour les textiles délicats (40 °C max.) et les lainages,
- lessives liquides, de préférence pour les programmes de lavage à basse température (60 °C max.) pour tous les types de textiles, ou lessives spéciales pour les lainages uniquement.
- Ne mélangez pas différents types de produits de lavage.
- Afin de préserver l'environnement, n'utilisez que la quantité nécessaire de produit de lavage.
- Respectez les instructions qui se trouvent sur les emballages de ces produits. Utilisez des produits adaptés au type et à la couleur du textile, à la température du programme et au niveau de salissure.
- Si votre appareil ne dispose pas d'un distributeur de produit de lavage avec volet, ajoutez les produits de lavage liquides à l'aide d'une boule doseuse (fournie par le fabricant du produit de lavage).
13.4 Conseils écologiques
- Réglez un programme sans prélavage pour laver du linge normalement sale.
- Commencez toujours un programme de lavage avec une charge de linge maximale.
- Si nécessaire, utilisez un détachant quand vous régalez un programme à basse température. Pour utiliser la bonne quantité de produit de lavage, vérifiez la dureté de l'eau de votre système domestique.
13.5 Durée de l'eau
Si, dans votre région, la dureté de l'eau est élevée ou modérée, il est recommandé d'utiliser un adoucisseur d'eau pour lave-linge. Dans les régions où l'eau est douce, il n'est pas nécessaire d'utiliser un adoucisseur d'eau.
Pour connaître la dureté de l'eau dans votre région, contactez votre compagnie des eaux.
Utilisez la bonne quantité d'adoucisseur d'eau. Respectez les instructions qui se trouvent sur les emballages du produit.
Préparation du cycle de séchage
Ouvrez le robinet d'eau. - Vérifiez que le tuyau de vidange est correctement raccordé. Pour plus d'informations, reportez-vous au chapitre « Installation » - Reportez-vous au tableau des programmes de séchage pour connaître les charges de linge maximales des programmes de séchage.
Ne réglez pas de programme de séchage pour les types de linge suivants :
- Articles très délicats. Rideaux synthétiques.
- Vêtements avec des pièces en métal.
- Bas en nylon. Couvertures. Couvre-lits. Couettes. Anoraks. Sacs de couchage. Textiles avec des résidus de laque, de dissolvant pour les ongles ou substances similaires. Vêtements avec de la mousse de caoutchouc ou une matière similaire à la mousse de caoutchouc.
13.8 Étiquettes des vêtements
Lorsque vous sèchez du linge, respectez les indications se trouvant sur les étiquettes des fabricants des vêtements :
- O = Le vêtement peut être séché en machine. Le cycle de séchage est à haute température.
Le cycle de séchage est à basse température - = Le vêtement ne peut pas être séché en machine.
13.9 Durée du cycle de séchage
La durée de séchage peut varier en fonction :
de la vitesse du dernier essorage, du degré de séchage, du type de linge, de la quantité de linge
13.10 Séchage supplémentaire
Si le linge est encore trop humide à la fin du programme de séchage, effectuez un autre cycle de séchage court.

Avertissement!
Pour éviter que le linge ne se froisse ou rétrécisse, ne le séchez pas excessivement.
13.11 Conseils généraux
Reportez-vous au tableau des « Programmes de séchage » pour connaître les durées de séchage moyennes.
L'expérience vous aidera à maîtriser le séchage du linge. Notez les durées de séchage des cycles que vous avez déjà effectués.
Pour éviter la formation d'électricité statique à la fin du cycle de séchage :
- Utilisez un assouplissant durant le cycle de lavage.
- Utilisez un assouplissant spécial pour les sèche-linge.
Lorsque le programme de séchage est terminé, retirez rapidement le linge du tambour.

Avertissement!
Reportez-vous aux chapitres concernant la sécurité.
14.1 Nettoyage extérieur
Nettoyez l'appareil uniquement à l'eau savonneuse chaude. Séchez complètement toutes les surfaces.

Attention!
N'utilisez pas d'alcool, de solvants ni de produits chimiques.
14.2 Détartrage
Si, dans votre région, la dureté de l'eau est élevée ou modérée, il est recommandé d'utiliser un adoucisseur d'eau pour lave-linge.
Examinez régulièrement le tambour pour éviter le dépôt de particules de calcaire et de rouille.
Pour éliminer les particules de rouille, utilisez uniquement des produits spéciaux pour lave-linge. Procédez séparément d'un lavage de linge.

Respectez toujours les instructions figurant sur l'emballage du produit.
14.3 Lavage d'entretien
Avec les programmes à basse température, il est possible que certains produits de lavage restent dans le tambour. Procédez régulièrement à un lavage d'entretien. Pour ce faire :
- Retirez le linge du tambour.
- Sélectionnez le programme pour le coton à température maximale avec une petite quantité de détergent.
14.4 Joint du couvercle

Examinez régulièrement le joint et enlevez tous les objets situés à l'intérieur.


14.6 Nettoyage des filtres à air

Les filtres à air recueillent les peluches. Des peluches apparaissent normalement lors du séchage de vêtements dans la lavante-sechante.
- À la fin de chaque cycle de séchage, le voyant s'allume pour vous indiquer que le filtre à air principal doit être nettoyé.
La barre de texte indique de nettoyer le filtre principal (images 1-5).
- Parfois, l'évoyant clignote pour vous rappeler que les deux filtres à air doivent être nettoyés.
Le signal sonore retentit et la barre de texte indique de vérifier le filtre principal et le filtre secondaire (images 6-8).











Nettoyer régulièrement les filtres à air à l'eau tiède vous permet d'obtenir des résultats de séchage optimaux. Des filtres encrassés augmentent le temps de séchage.

Avertissement!
La trappe du filtre principal ne doit pas être obstruée par un objet.

Si vous ne faites que laver votre linge dans votre lave-linge-séche, il est normal que le filtre à air principal soit humide.

Avertissement!
Ne nettoyez pas le filtre évacuation si l'eau dans l'appareil est chaude.
1. 3.
2. 4.


14.8 Nettoyage du filtre du tuyau d'arrivée d'eau et filtre de la vanne
Il peut être nécessaire de nettoyer les filtres lorsque :
L'appareil ne se remplit pas d'eau. L'appareil met du temps à s'approvisionner en eau. Le voyant de la touche Départ/Pause clignote et l'alarme correspondante s'affiche.
Reportez-vous au chapitre « En cas d'anomalie de fonctionnement »
Pour nettoyer les filtres d'arrivée d'eau :


Fermez le robinet d'eau. - Débranchez le tuyau d'arrivée d'eau du robinet d'arrivée d'eau. Nettoyez le filtre du tuyau d'arrivée d'eau à l'aide d'une brosse dure.
- Débranche le tuyau d'arrivée d'eau situé à l'arrière de l'appareil.


14.9 Vidange d'urgence
En raison d'une anomalie de fonctionnement, l'appareil ne peut pas vidanger l'eau.
Si cela se produit, procédez aux étapes (1) à (9) du chapitre « Nettoyage du filtre de vidange ». Si nécessaire, nettoyez la pompe.
Lorsque vous vidangez l'eau avec la vidange d'urgence, vous devez réactiver le système de vidange :
- Lorsque vous vidangez l'eau avec la vidange d'urgence, vous devez réactiver le système de vidange : Versez 2 litres d'eau dans le distributeur de produit de lavage pour le lavage principal.
- Démarrer le programme pour vidanger l'eau.
14.10 Précautions contre le gel
Si l'appareil est installé dans un local où la température peut être négative,
Nettoyez le filtre de la vanne à l'aide d'une brosse dure ou d'un chiffon. - Remettez le tuyau d'arrivée d'eau en place. Assurez-vous que tous les raccords sont bien serrés afin d'éviter toute fuite. Ouvrez le robinet d'eau.
Évacuez toute l'eau restante dans le tuyau d'alimentation et la pompe de vidange.
- Débranchez la fiche d'alimentation de la prise secteur.
- Fermez le robinet d'eau.
- Placez les deux extrémités du tuyau d'alimentation dans un récipient et laissez l'eau s'écouler du tuyau.
- Videz la pompe de vidange. Reportez-vous à la procédure de vidange d'urgence.
- Une fois que la pompe de vidange est vide, réinstallez le tuyau d'alimentation.

Avertissement!
Assurez-vous que la température est supérieure à 0°C avant d'utiliser à nouveau l'appareil. Le fabricant ne pourra être tenu pour responsable en cas de dommages dus aux basses températures.

Avertissement!
Reportez-vous aux chapitres concernant la sécurité.
15.1 Introduction
L'appareil ne démarre pas ou s'arrête en cours de programme.
Dans un premier temps, essayez de trouver une solution au problème (reportez-vous au tableau). Si vous n'y parvenez pas, contactez le service après-vente/agréé.
Pour certaines anomalies, un signal sonore se fait entendre et un message d'alarme s'affiche :

Attention!
Éteignez l'appareil avant de procéder aux vérifications.
15.2 Pannes possibles
Problèmes avec message d'alarme
| Message | Solution possible |
| L'affichage vous indique de vérifier le robinet : l'appareil ne se remplit pas d'eau. | Assurez-vous que le robinet d'eau est ouvert. |
| Assurez-vous que la pression de l'arrivée d'eau n'est pas trop BASSE. Pour obtenir cette information, contactez vos- tre compétie des eaux. | |
| Assurez-vous que le robinet d'eau n'est pas obstrué et qu'il n'est pas entartré. | |
| Assurez-vous que le filtrtre du tuyau d'arrivée d'eau et le filtrtre de la vanne ne sont pas obstrués. Reportez-vous au chapitre « Entretien et nettoyage » . | |
| Assurez-vous que le tuyau d'arrivée d'eau n'est pas en- dommagé. | |
| Vérifiez que le raccordement du tuyau d'arrivée d'eau est correct. | |
| Un message indiquant de vérifier le filtrtre de vidange s'affiche : l'appareil ne vi- dange pas l'eau. | Assurez-vous que le tuyau de vidange n'est pas endom- magé. |
| Assurez-vous que le filtrtre de vidange n'est pas obstrué. Nettoyez le filtrtre si nécessaire. Reportez-vous au chapitre « Entretien et nettoyage » . | |
| Vérifiez que le raccordement du tuyau de vidange est correct. | |
| Un message vous indiquant de vérifier le hublot s'affiche. | Vérifiez que le hublot de l'appareil n'est pas ouvert, ou qu'il est correctement fermé. |
| L'affchage indique un message d'alarme concernant l'eau. | Le dispositif anti-débordement s'est déclenché : • Débranchez l'appareil. • Fermez le robinet d'eau. • Contactez votre service après-vente. |
| L'affchage indique que l'alimentation électrique est in-stable. | Attendez que l'alimentation électrique se stabilise. L'ap-pareil se met automatiquement en fonctionnement. |
| Un message indiquant de vérifier le filtré à air s'affiche (le voyant clignote et un signal sonore retentit) | Assurez-vous que le tiroir du filtré est correctement in-stallé. |
| Problèmes sans message d'alarme | |
| Problème | Solution possible |
| Le programme ne démarre pas. | Assurez-vous que la fiche du cable d'alimentation est bi-en insérée dans la prise de courant. |
| Assurez-vous qu'aucun fusible n'est grillé dans la boîte à fusibles. | |
| Vérifiez que vous avez bien appuyé sur la touche Départ/Pause. | |
| Si vous avez sélectionné un département différé, annulez-le ou attendez la fin du décompte. | |
| Déactivez la sécurité enfants si elle a été préalablement activée. | |
| L'appareil ne vidange pas l'eau. | Vérifiez que vous n'avez pas sélectionné un programme sans phase de vidange. |
| Assurez-vous que vous n'avez pas besoin une option se terminant avec de l'eau dans la cuve. | |
| L'appareil se remplit d'eau et se vidange immédiate-ment. | |
| Problème | Solution possible |
| La phase d'essorage n'a pas lieu ou le cycle de lavage dure plus longtemps que d'habitude. | Assurez-vous que la phase d'essorage n'est pas désacti-vee. |
| Assurez-vous que le filtrte de vidange n'est pas obstrué. Nettoyez le filtrte si nécessaire. Reportez-vous au chapitre « Entretien et nettoyage ». | |
| Vérifiez qu'il ne s'agit pas d'un problème d'équilibre. Ré-partissez manuellement les vêtements dans le tambour et lancez à nouveau la phase d'essorage. | |
| Il y a de l'eau sur le sol. | Assurez-vous que les raccords des tuyaux d'eau sont bien serrés et qu'il n'y a aucune fuite d'eau. |
| Assurez-vous que le tuyau de vidange n'est pas endom-magé. | |
| Assurez-vous d'utiliser une lessive adaptée en quantité correcte. | |
| Impossible d'ouvrir le hublot de l'appareil. | Assurez-vous que le programme de lavage est terminé. |
| Sélectionnéz le programme de vidange ou d'essorage s'il y a de l'eau dans le tambour. | |
| Vérifiez que l'appareil est alimenté en électricité. | |
| Ce problème peut résultat d'une anomalie de l'appareil. Contactez le service après-vente agréé. Si vous devez ouvoir le hublot, lisez attentivement le chapitre « Ouver-ture d'urgence du hublot ». | |
| L'appareil fait un bruit inhab-ituel. | Vérifiez que l'appareil est de niveau. Reportez-vous au chapitre « Installation ». |
| Vérifiez que l'emballage et/ou les boulons de transport ont été retirés. Reportez-vous au chapitre « Installation ». | |
| Ajoutez plus de linge dans le tambour. La charge est peut-être trop légère. | |
| Les résultats de lavage ne sont pas satisfaisants. | Augmentez la quantité de produit de lavage ou utilisez-en un autre. |
| Utilisez des produits spéciaux pour enlever les taches te-naces avant de laver le linge. | |
| Veillez à selectionner la bonne température. | |
| Réduisez la charge de linge. | |
| Le cycle de lavage est plus court que la durée affichée. | L'appareil calcule une nouvelle durée selon la charge de linge. |
| Le cycle de lavage est plus long que la durée affichée. | Une charge de linge mal répartie augmente la durée du cycle. L'appareil se comporte normalement. |
| L'éclairage interieur est étéint. | Assurez-vous que l'ampoule n'a pas grillé. Pour replac-er l'ampoule, contactez votre service après-vente. |
| Après un programme va-peur, les vêtements sont légèrement humides. | Vérifiez que l'appareil est bien de niveau. Mettez l'appar-eil de niveau en levant ou en abaissant les pieds. |
| Après un programme va-peur, les vêtements ne sont pas assez défloissés. | Vérifiez que vous n'vez pas sélectionné un programme VAPEUR non adapté (par ex. Synthétiques au lieu de Co-ton). |
| L'appareil ne sèche pas ou le séchage n'est pas satisfa-sant. | Assurez-vous que le robinet d'eau n'est pas fermé. |
| Assurez-vous que le filtre de vidange n'est pas obstrué. | |
| Assurez-vous d'avoir sélectionné le bon cycle. Si nécess-saire, sélectionnez un cycle de séchage supplémentaire plus court. | |
| Le cycle de séchage est trop long. | Vérifiez que la température ambiente est dans la plage de températures adaptées. |
| Le linge est couvert de pe-luches de différentes cou-leurs. | Lancez un cycle de séchage pour éliminer une partie des peluches.Lavez votre linge avec un anti-pelucheux. |
| Il y a une grande quantité de peluches dans le tambour. | En cas de présence excessive de peluches dans le tam-bour, effectuez un programme adapcé (reportez-vous au chapitre « PELUCHES SUR LES TEXTILES » pour plus de détails). |
Après avoir effectué ces contrôles, mettez l'appareil en marche. Le programme reprend là où il s'était interrompu.
Si le problème persiste, contactez le service après-vente/agréé.
Si l'écran affiche d'autres codes d'alarme. Éteignez puis rallumez l'appareil. Si le problème persiste, contactez le service après-vente/agréé.
15.3 Ouverture d'urgence du hublot
En cas de panne d'alimentation ou d'anomalie de l'appareil, le hublot reste verrouillé. Le programme de lavage continue dès que l'alimentation est rétablie. Si le hublot reste verrouillé en
En cas d'anomalie, il est possible de l'ouvrir à l'aide du dispositif de déverrouillage d'urgence.
Avant d'ouvrir le hublot :

Attention!
Assurez-vous que la température de l'eau et le linge ne sont pas brûlants. Si nécessaire, attendez qu'ils refroidissent.

Attention!
Assurez-vous que le tambour ne tourne pas. Si nécessaire, attendez que le tambour cesse de tourner.

Assurez-vous que le niveau de l'eau à l'intérieur du tambour n'est pas trop élevé. Effectuez une vidange d'urgence si nécessaire (reportez-vous à la section « Vidange d'urgence » au chapitre « Entretien et nettoyage »).
Pour ouvrir le hublot, procédez comme suit :
- Appuyez sur la touche Marche/Arrêt pour éteindre l'appareil.
- Débranche la fiche d'alimentation de la prise secteur.
- Ouvrez le volet du filtre.
- Maintenez le dispositif de déverrouillage d'urgence en le tirant vers le bas et ouvrez le hublot simultanément.

- Sortez le linge et refermez le hublot.
- Fermez le volet du filtre.

Avertissement!
Reportez-vous aux chapitres concernant la sécurité.

Avertissement!
Après avoir posé l'appareil paroi arrêté vers le sol, attendez environ 6 heures avant de l'utiliser. Cette période est nécessaire pour permettre au compresseur de fonctionner correctement.

Avertissement!
Retirez l'intégralité de l'emballage et les boulons de transport avant d'installer l'appareil.





Servez-vous de gants.
- Retirez le film externe. Si nécessaire, utilisez un cutter.
- Retirez la partie supérieure du carton.
- Retirez les cales en polystyrène.
- Retirez le film interne. Ouvrez le hublot.
- Retirez la cale en polystyrène du joint du hublot et tous les articles présents dans le tambour.
- Placez l'une des cales en polystyrène au sol derrière l'appareil.
- Couchez avec soin l'appareil sur le dos. Assurez-vous de ne pas endommager les tuyaux.




- Retirez la base en polystyrène en bas de l'appareil.
- Remettez l'appareil en position verticale.
- Retirez le câble d'alimentation électrique et le tuyau de vidange de leurs supports.
- Desserrez les trois boulons. Utilisez la clé fournie avec l'appareil.
- Retirez les bouchons en plastique.

- Mettez les bouchons en plastique dans les orifices.
- Ces bouchons se trouvent dans le même sachet que la notice d'utilisation.
Nous vous recommandons de conserver l'emballage et les boulons de transport en vue d'un eventuel displacement de l'appareil.
16.2 Kit de plaques de fixation (4055171146)
Lisez attentivement la notice fournie avec le kit.
Disponible auprès de votre magasin vendeur.
Si vous installez l'appareil sur un socle, stabilisez l'appareil à l'aide des plaques de fixation.
16.3 Installation sous un plan de travail

L'appareil peut être installé de façon autonome ou sous un plan de travail de cuisine si un espace correct est disponible (voir schéma).

Attention!
Pour assurer une circulation d'air optimale sous l'appareil, n'installez pas les isolants acoustiques (si fournis).


16.5 Tuyau d'arrivée d'eau

- Placez l'appareil sur un sol plat et dur. Assurez-vous que la circulation de l'air sous l'appareil ne soit pas entravée par des tapis. Veillez à ce que l'appareil ne touche pas le mur ni d'autres éléments.
- Desserrer ou serrer les pieds jusqu'à ce que l'appareil soit de niveau.
Une mise de niveau correcte évite les vibrations, le bruit ou des déplacements de l'appareil au cours de son fonctionnement.
L'appareil doit être de niveau et stable.

Attention!
Ne placez ni carton, ni bois, ni autre matériel sous les pieds de l'appareil pour le mettre de niveau.
Raccordez le tuyau à l'arrière de l'appareil. Le tuyau d'alimentation peut être orienté vers la gauche ou la droite. - Desserrez l'écrou de la bague pour bien la positionner.

Raccordez le tuyau d'arrivée d'eau à un robinet d'eau froide fileté (3/4 pouce).

Attention!
Assurez-vous que les raccords ne fuient pas.

N'utilisez pas de rallonge si le tuyau d'alimentation est trop court.
Contactez le service après-vente pour remplacer le tuyau d'alimentation.
16.6 Vidange de l'eau
Il existe différentes procédures pour raccorder le tuyau de vidange :
Avec le guide de tuyau en plastique :

- En formant un U avec le tuyau de vidange.

Sur le bord d'un évier
Veillez à ce que le guide de tuyau en plastique ne puisse pas se déplacer lors de la vidange de l'appareil. Fixez le guide au robinet d'arrivée d'eau ou au mur.

À une conduite fixe dotée d'une ventilation spéciale
- Directement dans un conduit d'évacuation, à une hauteur comprise entre 60 cm et 100 cm. Reportez-vous à l'illustration. L'extrémité du tuyau de vidange doit être ventilée en permanence, c'est-à-dire que le diamètre interne du conduit d'évacuation (minimum 38 mm) doit être supérieur au diamètre externe du tuyau de vidange.

Sans le guide de tuyau en plastique.

Extrémité du tuyau de vidange
- Si l'extrémité du tuyau de vidange ressemble à l'image, vous pouvez l'insérer directement dans la conduite fixe.
Au siphon d'un évier
- Reportez-vous à l'illustration. Placez le tuyau de vidange dans le siphon et serrez-le avec une attache. Veillez à ce que le tuyau de vidange fasse une boucle afin d’empêcher des particules de passer de l’évier à l’appareil.
Au tuyau mural
- Directement dans une canalisation de vidange murale intégrée et serrez-le avec une attache.

La longueur maximale du tuyau de vidange est de 400 cm. Contactez le service après-vente pour obtenir d'autres longueurs de tuyaux de vidange et des rallonges.
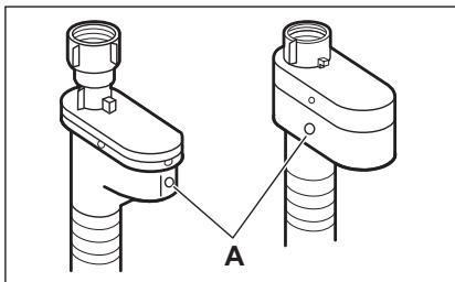
17. Dispositif d'arrêt de l'eau

Le tuyau d'arrivée d'eau est équipé d'un dispositif de protection contre les dégâts des eaux. Si le tuyau avait séduit à cause d'une usure naturelle, ce dispositif bloquerait l'arrivée d'eau à l'appareil.
La partie rouge dans la fenêtre « A » témoigne de ce dysfonctionnement. Dans ce cas, fermez le robinet d'arrivée d'eau et contactez le service après-vente pour faire remplacer le tuyau.
18. Caractéristiques techniques
| Dimensions | Largeur / Hauteur / Profondeur / Pro-fondeur totale | 600 mm / 870 mm / 605 mm / 640 mm |
| Branchement électricité | Tension | 230 V |
| Puisance totale | 2 200 W | |
| Fusible | 10 A | |
| Fréquence | 50 Hz | |
| Niveau de protection contre l'infiltration de particules solides et d'humidité assures par le couvercle de protection, excepté là où l'équipement BASSE tension ne dispose d'aucune protection contre l'humidité | IPX4 | |
| Arrivée d'eau 1) | Eau froide | |
| Pression de l'arrivée d'eau | Minimale | 0,5 bar (0,05 MPa) |
| Maximale | 8 bar (0,8 MPa) | |
| Température ambiente | Minimale | 5 °C |
| Maximale | 35 °C | |
| Charge de lavage maximale | Coton | 9 |
| Synthétiques | 4 | |
| Laine | 1.5 | |
| Charge de séchage maxi-male | Coton | 6 |
| Synthétiques | 4 | |
| Laine | 1 | |
| Vitesse d'essorage | Maximale | 1600 tr/min |
1) Raccordez le tuyau d'arrivée d'eau à un robinet fileté (3/4 pouce).
19. En matière de protection de l'environnement
Recyclez les matériaux portant le symbole . Déposez les emballages dans les conteneurs prévus à cet effet. Contribuez à la protection de l'environnement et à votre sécurité, recyclez vos produits électriques et électroniques. Ne jetez pas les appareils portant le symbole avec les ordures ménagères. Apportez ce produit à votre centre de recyclage local ou contactez votre administration municipale.
C E
Notice Facile