FLUENDO PLUS ONT B 14 LPG - Chaudière à gaz CHAFFOTEAUX - Notice d'utilisation et mode d'emploi gratuit
Retrouvez gratuitement la notice de l'appareil FLUENDO PLUS ONT B 14 LPG CHAFFOTEAUX au format PDF.
| Type d'appareil | Chauffe-eau thermodynamique |
| Capacité | Non précisé |
| Source d'énergie | Pompe à chaleur |
| Installation | Verticale |
| Type de montage | Sur plancher |
| Affichage | Écran digital |
| Température réglable | Oui |
| Matériau du réservoir | Acier émaillé |
| Isolation | Polyuréthane |
| Pression maximale | Non précisé |
| Dimensions (HxD) | Non précisé |
| Poids | Non précisé |
| Consommation électrique | Non précisé |
| Débit d'eau chaude | Non précisé |
| Garantie | Non précisé |
| Normes | Conforme aux normes en vigueur |
FOIRE AUX QUESTIONS - FLUENDO PLUS ONT B 14 LPG CHAFFOTEAUX
Questions des utilisateurs sur FLUENDO PLUS ONT B 14 LPG CHAFFOTEAUX
0 question sur cet appareil. Repondez a celles que vous connaissez ou posez la votre.
Poser une nouvelle question sur cet appareil
Téléchargez la notice de votre Chaudière à gaz au format PDF gratuitement ! Retrouvez votre notice FLUENDO PLUS ONT B 14 LPG - CHAFFOTEAUX et reprennez votre appareil électronique en main. Sur cette page sont publiés tous les documents nécessaires à l'utilisation de votre appareil FLUENDO PLUS ONT B 14 LPG de la marque CHAFFOTEAUX.
MODE D'EMPLOI FLUENDO PLUS ONT B 14 LPG CHAFFOTEAUX
Chauffe-eau thermodynamique
Warmtepompboiler
Nous vous remercions d'avoir préféré notre chauffe-eau thermodynamique lors de votre achat. Nous souhaitons qu'il puisse satisfaire toutes vos attentes et vous fournisse pendant de nombreuses années les services attendus et le maximum d'économies d'énergie.
Notre groupe dédie en effet beaucoup de temps, d'énergie et de ressources économiques à la réalisation d'innovations qui favorisent les économies d'énergie de nos produits.
Avec votre choix, vous avez démontré sensibilité et attention afin de diminuer la consommation d'énergie, directement liée aux problèmes d'environnement.
Notre engagement permanent à réaliser des produits innovants et efficaces, ainsi que votre comportement responsable dans l'emploi rationnel de l'énergie, pourront donc contribuer activement à la sauvegarde de l'environnement et des ressources naturelles.
Conservez avec soin ce livre d'instructions, qui est conçu pour vous informer, vous avertir et vous conseiller sur le correct emploi et l'entretien de l'appareil. Notre SAV local reste à votre complète disposition pour tous vos besoins.
Ce livre est destiné à l'installateur et à l'utilisateur final, qui devront respectivement installer et utiliser le chauffe-eau thermodynamique. La non-observation des indications de cette notice entraîne la perte du bénéfice de la garantie.
Cette notice constitue une partie intégrante et essentielle de l'appareil. Ce livre est à conserver avec soin par l'utilisateur et doit toujours accompagner l'appareil, même en cas de cession à un autre propriétaire ou utilisateur et/ou de transfert dans une autre installation.
Afin d'utiliser correctement et en toute sécurité l'appareil, l'installateur et l'utilisateur, pour leurs compétences respectives, sont priés de lire les instructions et les avertissements contenus dans ce livre d'instruction, car il fournit d'importantes informations de sécurité et d'installation, ainsi que d'utilisation et d'entretien.
Ce livre est divisé en quatre parties :
Cette rubrique contient les consignes de sécurité à observer.
INFORMATIONS GÉNÉRALES
Cette partie contient toutes les informations générales utiles relatives à la description du chauffe-eau et à ses caractéristiques techniques, ainsi que les informations sur l'emploi des symboles, des unités de mesure et des termes techniques. Dans cette section, vous trouverez les données techniques et les dimensions du chauffe-eau.
NOTICES TECHNIQUES POUR L'INSTALLATEUR
Cette partie est destinée à l'installateur. Elle regroupe toutes les indications et les prescriptions que le professionnel qualifié doit observer pour la réalisation optimale de l'installation.
- INSTRUCTIONS D'UTILISATION ET D'ENTRETIEN POUR L'UTILISATEUR
Cette partie est destinée à l'utilisateur final et contient toutes les informations nécessaires pour le bon fonctionnement de l'appareil, pour les contrôles périodiques et l'entretien à effectuer directement par l'utilisateur.
Dans le but d'améliorer la qualité de ses produits, la société constructrice se réserve le droit de modifier, sans préavis, les données et contenus de ce livre.
Afin de faciliter la compréhension du contenu, ce livre a été traduit dans plusieurs langues et est destiné à différents pays. Toutes les illustrations sont reportées à la fin de ce manuel et sont donc communes pour toutes les langues.
Sommaire
| 1. | AVENTISSEMENTS GENERAUX |
| 1.1 | Signification des symboles utilisés |
| 1.2 | Champ d'application |
| 1.3 | Prescription et normes techniques |
| 1.4 | Certifications du produit |
| 1.5 | Emballage et accessoires fournis |
| 1.6 | Transport et déplacements |
| 1.7 | Identification de l'appareil |
| 2. | CARACTERISTIQUES TECHNIQUES |
| 2.1 | Principe de fonctionnement |
| 2.2 | Schéma de composants |
| 2.3 | Dimensions et encombrentements |
| 2.4 | Schéma électrique |
| 2.5 | Caracteristiques techniques |
| NOTICE TECHNIQUE POUR L'INSTALLATION | |
| 3. | AVENTISSEMENTS |
| 3.1 | Qualifications de l'installateur |
| 3.2 | Utilisation des instructions |
| 3.3 | Normes de sécurité |
| 4. | INSTALLATION |
| 4.1 | Emplacement du produit |
| 4.2 | Positionnement au sol |
| 4.3 | Raccordement aérauliques |
| 4.4 | Raccordement hydraulique |
| 4.5 | Raccordement électrique |
| 5. | PREMIÈRE MISE EN SERVICE |
| INSTRUCTIONS D'UTILISATION ET D'ENTRETIEN POUR L'UTILISATEUR | |
| 6. | AVENTISSEMENTS |
| 6.1 | Première mise en service |
| 6.2 | Recommandations |
| 6.3 | Normes de sécurité |
| 6.4 | Recommandations pour empêcher la prolifération de la légionellose |
| 7. | INSTRUCTIONS DE FONCTIONNEMENT |
| 7.1 | Description du panneau de contrôle |
| 7.2 | Comment allumer et éteindre le chauffe-eau |
| 7.3 | Réglage de la température |
| 7.4 | Mode de fonctionnement |
| 7.5 | Réglage de l'heure |
| 7.6 | Menu informations |
| 7.7 | Menu installateur |
| 7.8 | Hors gel |
| 7.9 | Dégivrage |
| 7.11 | Nombre deouches disponibles |
| 7.12 | Diagnostic des erreurs |
| 8. | NORMES D'ENTRETIEN (pour personnes autorisées) |
| 8.1 | Vidange de l'appareil |
| 8.2 | Entretien périodique |
| 8.3 | Dépannage |
| 8.4 | Entretien ordinaire réservé à l'utiliseur |
| 8.5 | Recyclage du chauffe eau |
| ILLUSTRATIONS | |
- Le présent livret constitue une partie intégrante et essentielle du produit. Il doit être conservé soigneusement et devra toujours accompagner l'appareil, même en cas de cession à un autre propriétaire ou utilisateur et/ou de transfert sur une autre installation.
- Lire attentivement les consignes et les recommandations contenues dans le présent livret, car elles fournissent d'importantes indications concernant la sécurité de l'installation, l'utilisation et l'entretien.
- L'installation et la première mise en service de l'appareil doivent être effectuées par un personnel qualifié du point de vue professionnel, conformément aux normes nationales d'installation en vigueur et aux éventuelles prescriptions des autorités locales et d'organismes préposés à la santé publique. En tout cas, avant d'avoir accès aux bornes, tous les circuits d'alimentation doivent être déconnectés.
- L'utilisation de cet appareil est interdite pour des fins différentes de celles qui ont été spécifiées. Le fabricant n'est pas considéré responsable pour les dommages dérivant d'usages impropres, erronés et non raisonnables, ou par le non-respect des consignes indiquées dans ce livret.
- Une installation erronée peut provoquer des dommages aux personnes, aux animaux et aux choses, pour lesquels le fabricant n'est pas responsable.
- Les éléments d'emballage (agrafes, sachets en plastique, polystyrène expansé, etc.) ne doivent pas être laissés à la portée des enfants car ils sont une source de danger.
- L'appareil peut être utilisé par des enfants âgés d'au moins 8 ans et par des personnes avec des capacités physiques, sensorielles ou mentales réduites ou sans l'expérience ou la connaissance nécessaire, pourvu qu'ils soient sous surveillance ou après que ces derniers aient reçu les consignes concernant l'usage de l'appareil et la compréhension des risques s'y rapportant. Les enfants ne doivent pas jouer avec l'appareil. Le nettoyage et la maintenance destinés à être effectués par l'utilisateur ne doivent pas être accomplis par les enfants sans surveillance.
- Il est interdit de toucher l'appareil si l'on est pieds nus ou avec des parties du corps mouillées.
- Les éventuelles réparations, opérations de maintenance, connexions hydrauliques et électriques doivent être effectuées uniquement par un personnel qualifié en utilisant exclusivement des pièces de rechange originales.
originales. Le non-respect de ce qui est indiqué plus haut peut compromettre la sécurité et fait déchoir la responsabilité du fabricant.
10. La température de l'eau chaude est réglée par un thermostat de fonctionnement qui sert également de dispositif de sécurité pouvant être réenclenché pour éviter des hausses de température dangereuses. 11. La connexion électrique doit être réalisée comme indiqué au paragraphe qui s'y rapporte. 12. Si l'appareil est muni d'un câble d'alimentation, en cas de remplacement de ce dernier, s'adresser à un centre d'assistance autorisé ou à un personnel qualifié. 13. Il faut visser au tuyau d'entrée de l'eau de l'appareil un dispositif approprié contre les surpressions qui ne doit pas être manipulé et qui doit être fait fonctionner périodiquement pour vérifier qu'il n'est pas bloqué et pour enlever les éventuels dépôts de calcaire. Pour les nations qui ont transposé la norme EN 1487, il faut visser au tuyau d'entrée de l'eau de l'appareil un groupe de sécurité conforme à cette norme ; il doit composer une pression maximale de 0,7 MPa et comprendre au moins un robinet d'arrêt, un clapet anti-retour, un clapet de sécurité, une vanne de sécurité, un dispositif d'interruption de la charge hydraulique. 14. Un égouttement du dispositif contre les surpressions ou du groupe de sécurité EN 1487 est normal durant la phase de chauffage. Pour cela, raccorder le déchargement, laisse qu'il en soit ouvert, avec un tuyau de drainage installé en pente continue vers le bas et dans un lieu sans glace. Il est bon de brancher au même tuyau le drainage de la vapeur d'eau à l'aide du raccord prévu à cet effet. 15. Il est indispensable de vider l'appareil s'il doit rester inutilisé dans un local sujet au gel. Procéder à la vidange de la manière décrite dans le chapitre prévu à cet effet. 16. L'eau chaude distribuée avec une température dépassant 50°C aux robinets d'utilisation peut provoquer immédiatement de graves brûlures. Les enfants, les personnes handicapées et âgées sont plus exposées à ce risque. Il est donc conseillé d'utiliser une vanne de mélange thermostatique que l'on doit visser au tuyau de sortie de l'eau de l'appareil. 17. Aucun objet inflammable ne doit se trouver en contact ou près de l'appareil. 18. L'appareil n'est pas livré avec des piles. Si nécessaire, utiliser seulement le kit piles fourni par le fabricant. Lors du montage, respecter scrupuleusement les polarités. L'élimination des piles usées doit être effectuée conformément aux règlements en vigueur en utilisant les conteneurs spéciaux. Pour mettre et enlever les piles, débrancher l'appareil du courant électrique.
1.1 Signification des symboles utilisés
En ce qui concerne les aspects liés à la sécurité d'installation et d'utilisation, des symboles ont été utilisés pour mettre en évidence les avertissements des risques. Leur signification est expliquée dans le tableau suivant.
| Symbole | Signification |
| ! | Le non respect de l'advertissement entraîne des risques de lésions, et des risques mortels dans certaines circonstances pour les personnes. |
| △ | Le non respect de l'advertissement entraîne des risques de dommages, très graves dans certaines circonstances pour les animaux, plantes ou objets. |
| ◇ | Obligation de respecter les normes de sécurité générales et spécifiques du produit. |
1.2 Champ d'application
Cet appareil est destiné à produire de l'eau chaude sanitaire, c'est-à-dire à une température inférieure à la température d'ébullition, dans un environnement domestique. Il doit être raccordé hydrauliquement à un réseau d'eau sanitaire et à un réseau électrique. Il peut utiliser des gaines pour aspirer et rejeter l'air.
Il est interdit d'utiliser cet appareil pour des applications différentes de celles spécifiées ci-dessus, et notamment pour des cycles industriels et/ou l'utilisation dans un environnement à atmosphère corrosive ou explosive. Le fabricant ne peut être tenu responsable d'éventuels dommages consécutifs à une erreur d'installation, un usage impropre, ou au non-respect des instructions du présent livret.
| ! | Cet apparéil n'est pas prévu pour être utilisé par des enfants ou par des personnes aux capacité physiques ou sensorières réduites, ou par des personnes sans expérience ou connaissance à moins qu'elle ne soit contrôlée et formées pour l'utilisation de l' apparéil par des personnes se portant garantes de leur sécurité. Les enfants doivent rester sous la surveillance de personnes responsables qui s'assureront qu'ils ne jouent pas avec l' apparéil. |
1.3 Prescriptions et normes techniques
L'installation est à la charge de l'acheteur et doit impérativement être réalisée par un professionnel qualifié, conformément aux normes en vigueur et aux prescriptions du présent livret.
Le fabricant est responsable de la conformité de l'appareil aux directives, lois et normes de fabrication qui le concernent en vigueur au moment de la première mise sur le marché de l'appareil. La connaissance et l'observation des dispositions légales et des normes techniques relatives au dimensionnement, à l'installation et à la maintenance sont à la charge exclusive des différents intervenants dans ces domaines. Les références à des lois, normes ou règles techniques citées dans le présent livret sont fournies à titre indicatif ; une modification de ces dispositions légales ne constitue en aucun cas une obligation du fabricant de modifier le présent livret ou d'informer des tiers.
Il est impératif de s'assurer que le réseau d'alimentation électrique auquel le produit est raccordé est conforme à la norme EN 50160 et que l'installation électrique est conforme à la norme NF C 15-100, sous peine de non-application de la garantie.
La modification du produit et/ou des accessoires fournis annule la garantie.
1.4 Certifications du produit
Le marquage CE présent sur l'appareil atteste de sa conformité aux directives communautaires suivantes, dont il répond aux exigences essentielles :
- 2006/95/CE relative à la sécurité électrique (EN/IEC 60335-1 ; EN/IEC 60335-2-21 ; EN/IEC 60335-2-40) ;
- 2004/108/CE relative à la compatibilité électromagnétique (EN 55014-1 ; EN 55014-2 ; EN 61000-3-2 ; EN 61000-3-3) ;
- RoHS2 2011/65/EU relative à la restriction de l'utilisation de certaines substances dangereuses dans les appareils électriques et électroniques (EN 50581).
- Règlement (UE) n° 814/2013 relatif à l'écoconception (n° 2014/C 207/03 - méthodes transitoires de mesure et de calcul)
La vérification des performances a lieu à travers les normes techniques suivantes :
- EN 16147;
- Cahier de charge 103-15/B 2011 Chauffe-eau Thermodynamiques pour la marque NF électricité performance ;
- 2014/C 207/03 - Méthodes transitoires de mesure et de calcul
Ce produit est conforme à :
- Règlement REACH 1907/2006/CE ;
- Règlement (UE) n° 812/2013 (étiquetage).
1.5 Emballage et accessoires fournis
L'appareil est fixé sur une palette de bois et est protégé par des tampons en polystyrène, des cornières en bois et un carton extérieur ; tous les matériaux sont recyclables et éco-compatibles.
Les accessoires contenus dans le colis sont les suivants :
- Sangle de manutention pour faciliter les déplacements du chauffe-eau (à retirer après l'installation du produit).
- Tube de raccordement des condensats
- Livret d'instructions et documents de garantie ;
- 1 raccord diélectrique G3/4" plus 1 joint.
- Étiquette énergétique et fiche du produit ;
- 2 adaptateurs pour les canalisations Ø150 et Ø160.
1.6 Transport et déplacement
À la livraison du produit, contrôlez que l'emballage et le produit ne soient pas visiblement endommagés extérieurement durant le transport. En cas de constat de dégâts, faites immédiatement une réclamation au transporteur.
ATTENTION ! Il est préférable de déplacer et de stocker l'appareil en position verticale. Le transport en position horizontale n'est autorisé que pour de brefs trajets, couché exclusivement du côté postérieur indiqué par la partie carton de l'emballage. Dans ce cas, attendez au moins 3 heures avant d'allumer l'appareil afin d'assurer l'élimination adéquate de l'huile présente dans le circuit réfrigérant et pour éviter d'endommager le compresseur.
L'appareil emballé peut être déplacé à la main ou avec un chariot élévateur équipé de fourches en prenant soin de respecter les indications précédentes. Nous conseillons de laisser l'appareil dans son emballage original jusqu'au moment de l'installation à l'endroit choisi, surtout s'il s'agit d'un chantier.
Après avoir retiré l'emballage, contrôlez l'état de l'appareil et la présence de tous les accessoires fournis. En cas de problèmes, adressez-vous au revendeur, en ayant soin d'effectuer la communication dans les temps prévus par la loi.
ATTENTION ! Les emballages ne doivent pas être laissés à la portée des enfants, car ils peuvent être dangereux.
Pour les éventuels transports et déplacements nécessaires après la première installation, observez les mêmes recommandations précédemment indiquées en ce qui concerne l'inclinaison autorisée, en plus de vous assurer d'avoir complètement vidé la cuve de l'eau. En l'absence de l'emballage original, munissez-vous d'une protection équivalente pour l'appareil afin d'éviter des dommages pour lesquels le constructeur n'est pas responsable.
| Positions autorisées | Positions non autorisées |
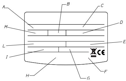
1.7 Identification de l'appareil
Les principales informations d'i sont indiquées sur la plaque signalétique collée sur le corps du chauffe-eau.

| A | modèle |
| B | litrage cuve |
| C | N° de série |
| D | tension d'alimentation, fréquence, puissance maximale absorbée |
| E | pression maximum/minimum circuit réfrigérant |
| F | protection cuve |
| G | puissance absorbée par la résistance |
| H | marques et symboles |
| I | puissance moyenne/maximum de la pompe à chaleur |
| L | type de réfrigérant et charge |
| M | Pression maximale de la cuve |
2.1 Principe de fonctionnement
L'efficacité d'une pompe à chaleur est mesurée par l'intermédiaire du coefficient de performance COP, qui exprime le rapport entre l'énergie fournie par l'appareil (dans ce cas, la chaleur cédée pour chauffer l'eau) et l'énergie électrique consommée (par le compresseur et par les dispositifs auxiliaires de l'appareil). Le COP varie selon le type de pompe à chaleur et ses conditions de fonctionnement.
Par exemple, pour un COP de 3, cela signifie que pour 1 kWh d , la pompe à chaleur restitue 3 kWh de chaleur au dispositif à chauffer, avec 2 kWh extraits de la source d'énergie gratuite.
| 1 | Ventilateur | 11 | Sonde NTC moyenne |
| 2 | Vanne de dégivrage (hot gaz) | 12 | Sonde NTC haute (eau chaude) |
| 3 | Pressostat de sécurité | 13 | Compresseur hermétique de type rotatif |
| 4 | Vanne de laminage électronique | 14 | Connexions latérales |
| 5 | Sonde NTC température d'entrée de l'évaporateur | 15 | Transducteur de pression |
| 6 | Boîtier électronique | 16 | Prise de basse pression |
| 7 | Sonde NTC (zone résistance) | 17 | Sonde NTC température air |
| 8 | Résistance électrique | 18 | Sonde NTC température d'aspiration du compresseur |
| 9 | Anode à courant imposé | 19 | Filtre évaporateur |
| 10 | Tuyau d'échéappement de vapeur d'eau | 20 | Évaporateur |
2.3 Dimensions et encombrement (voir fig. 2).
| A | Tuyau 3¼" d'entrée d'eau froide | G | Tuyau 3¼" pour le circuit de recirculation (seulement la version SYS) |
| B | Tuyau 3¼" de sortie d'eau chaude | H | Gaine pour sonde inférieure (S2) (seulement la version SYS) |
| C | Connexion d'évacuation des condensats | ||
| D | Tuyau ¾" d'entrée du circuit auxiliaire (seulement la version SYS) | ||
| E | Tuyau ¾" de sortie du circuit auxiliaire (seulement la version SYS) | ||
| F | Gaine pour sonde supérieure (S3) (seulement la version SYS) | ||
| 1 | Alimentation (220-230V 50Hz) | 13 | Anode à courant imposé |
| 2 | Carte électronique (carte-mère) | 14 | Sonde NTC (zone résistance) |
| 3 | Carte interface (écran) | 15 | Sonde NTC moyenne |
| 4 | Carte des connexions | 16 | Sonde NTC haute (eau chaude) |
| 5 | Compresseur hermétique de type rotatif | 17 | Pressostat de sécurité |
| 6 | Condensateur de marche (15μF 450V) | 18 | Batteries (4x1,2V AA rechargeables) |
| 7 | Vanne de dégivrage (hot gaz) | 19 | Vanne de laminage électronique |
| 8 | Ventilateur | 20 | Filtre antiparasite |
| 9 | Pôle de terre | 21 | Signal HCHP (EDF) - le cable n'est pas fourni avec le produit |
| 10 | Transducteur de pression | 22 | Signal PV/SG - le cable n'est pas fourni avec le produit |
| 11 | Sonde NTC Air/Evaporateur/Aspiration | 23 | Signal AUX - le cable n'est pas fourni avec le produit |
| 12 | Résistance électrique (1500 + 1000 W) | ||
2.5 Caractéristiques techniques
| Description | Unité | 200 | 250 | 250 SYS |
| Capacité nominale du réservoir | I | 200 | 250 | 245 |
| Epaisleur moyenne de l'isolation | mm | ≈ 50 | ||
| Type de protection interne | émaillée | |||
| Type de protection contre la corrosion | Anode de titane à courant actif + anode de magnésium | |||
| Pression maximum de travail | MPa | 0,6 | ||
| Diamètre raccordements hydrauliques | II | G 3/4 M | ||
| Diamètre raccordement évacuation condensat | mm | 14 | ||
| Diamètre raccordement expulsion/aspiration air | mm | 150-160-200 | ||
| Dureté minimum de l'eau | °F | 12 | ||
| Conductivité minimale de l'eau | μS/cm | 150 | ||
| Poids à vide | kg | 90 | 95 | 115 |
| Surface d'échange circuit solaire | m² | - | - | 0,65 |
| Température maxi d'eau de la source extérieure | °C | - | - | 75 |
| Pompe à chaleur | ||||
| Puisance électrique moyenne absorbée | W | 700 | ||
| Puisance électrique absorbée maxi | W | 900 | ||
| Quantité de fluide réfrigérant R134a | kg | 1,3 | ||
| Pression maxi circuit réfrigérant - coté basse pression | MPa | 1 | ||
| Pression maxi circuit réfrigérant - coté haute pression | MPa | 2,4 | ||
| Température maxi d'eau avec la pompe à chaleur | °C | 62 | ||
| EN 16147 (A) | ||||
| COP (A) | 3,05 | 3,35 | 3,14 | |
| Temps de chauffe (A) | h:min | 04:30 | 05:23 | 05:29 |
| Energie absorbée en chauffe (A) | kWh | 2,934 | 3,552 | 3,718 |
| Quantité maxi d'eau chaude avec unique prélèvement Vmax (A) Temp. de 55°C | I | 273 | 346 | 345 |
| Pes (A) | W | 23 | 22 | 24 |
| Tapping (A) | L | XL | XL | |
| Cahier de Charge _ 103-15/B _ 2011 (F) | ||||
| COP (F) | 3,05 | 3,35 | 3,14 | |
| Temps de chauffe (F) | h:min | 04:30 | 05:23 | 05:29 |
| Volume maximal d'eau chaude utilisable Vmax (F) | I | 273 | 346 | 345 |
| Température d'eau chaude de ↔ évidence θ′WH | °C | 53,13 | 52,91 | 53,20 |
| Pes (F) | W | 23 | 22 | 24 |
| Paux (F) | W | 2,15 | 2,07 | 2,03 |
| Tapping (F) | L | XL | XL | |
| 812/2013 - 814/2013 (B) | ||||
| Qelec (B) | kWh | 3,825 | 5,690 | 6,066 |
| Πwh (B) | % | 126,1 | 137,0 | 128,5 |
| Eau mitigée à 40°C V40 (B) | I | 273 | 346 | 345 |
| Les réglages du thermostat (B) | °C | 55 | 55 | 55 |
| Consommation annuelle d'énergie (conditions climatiques moyennes) (B) | kWh/année | 812 | 1223 | 1303 |
| Profil de soutirage (B) | L | XL | XL | |
| Puisance acoustique intérie (°C) | dB(A) | 55 | 55 | 55 |
| Elément chauffant | ||||
| Puisance résistance | W | 1500+1000 | ||
| Température maxi de l'eau avec résistance | °C | 75 | ||
| Courant maximum absorbé | A | 11,36 | ||
| Alimentation électrique | ||||
| Tension / Puisance maximum absorbée | V / W | 220-230 monophasé / 2500 | ||
| Fréquence | Hz | 50 | ||
| Degré de protection IP | IPX4 | |||
| Coté air | ||||
| Aéraulique débit d'air (régulation automatique) | m³/h | 650 | ||
| Pression statique disponible | Pa | 110 | ||
| Volume minimum du local d'installation (D) | m³ | 30 | ||
| Hauteur minimum plafond local d'installation (D) | m | 1,940 | 2,200 | 2,200 |
| Température mini local d'installation | °C | 1 | ||
| Température maxi local d'installation | °C | 42 | ||
| Température minimum air b.u. a 90% h.r. (E) | °C | -7 | ||
| Température maximum air b.u. a 90% h.r. (E) | °C | 42 | ||
(A) Valeurs obtenues avec la température de l'air extérieur de 7°C et l'humidité relative de 87%, la température de l'eau entrante de 10°C et la température programmée à 55°C (selon ce qui est prévu par la EN 16147). Produit gainé en Ø200 rigide selon la fig. 4. (B) Valeurs obtenues avec la température de l'air extérieur de 7°C et l'humidité relative de 87%, la température de l'eau entrante de 10°C et la température programmée à 55°C (selon ce qui est prévu par la 2014/C 207/03 - transitional methods of measurement and calculation). Produit gainé en Ø200 rigide selon la fig. 4. (C) Valeurs obtenues par la moyenne des résultats de trois essais effectués avec la température de l'air extérieur de 7°C et l'humidité relative de 87%, la température de l'eau entrante de 10°C et la température programmée à 55°C (selon ce qui est prévu par la 2014/C 207/03 - transitional methods of measurement and calculation et EN 12102). Produit gainé en Ø200 rigide selon la fig. 4. (D) Valeur qui garantit un juste fonctionnement et un entretien aisé en cas de produit non gainé. Le bon fonctionnement du produit est garanti quoi qu'il en soit jusqu'à la hauteur minimale de 2,090 m, pourvu que l'on utilise les grilles accessoires. (E) En dehors de l'intervalle de température de fonctionnement de la pompe à chaleur, le chauffage de l'eau est garanti par l'intégration. (F) Valeurs obtenues avec la température de l'air extérieur de 7°C et l'humidité relative de 87%, la température de l'eau entrante de 10°C et la température programmée à 55°C (selon ce qui est prévu par le Cahier de Charge 103-15/B_2011). Produit gainé en Ø200 rigide selon la fig. 4.
Données collectées sur un nombre important de produits.
Les données énergétiques sont mentionnées sur la Fiche du Produit (Annexe A) qui fait intégralement partie de ce livret.
Les produits sans étiquette et sans la fiche relative aux ensembles de chauffe-eaux et dispositifs solaires, prévues par le règlement 812/2013, ne sont pas destinés à la réalisation de ces ensembles.
3.1 Qualification de l'installateur
ATTENTION ! L'installation et la première mise en service de l'appareil doivent être faites par des personnes qualifiées ou des professionnels, en conformité avec les normes nationales d'installation en vigueur et selon les éventuelles prescriptions des autorités locales et d'organismes de santé publique.
Le chauffe-eau est fourni avec une quantité suffisante de réfrigérant R134a pour son fonctionnement. Il s'agit d'un fluide frigorigène qui n'est pas nocif pour la couche d'ozone de l'atmosphère, il n'est pas inflammable et ne peut pas provoquer d'explosions. Toutefois, les travaux d'entretien et les interventions sur le circuit frigorifique doivent être réalisés exclusivement par des personnes habilitées avec les équipements adéquats.
3.2 Utilisation des instructions
ATTENTION ! Une installation erronée peut causer des dégâts aux personnes, aux animaux et aux objets, pour lesquels le fabricant n'est pas responsable.
L'installateur se doit d'observer les instructions contenues dans ce livre.
L'installateur devra informer l'utilisateur sur le fonctionnement du chauffe-eau, une fois l'installation terminée. Il devra également lui remettre le livre d'utilisation.
3.3 Normes de sécurité
Pour la signification des symboles utilisés dans le tableau suivant, voir le paragraphe 1.1, dans la section INFORMATIONS GÉNÉRALES.
| N° | Avertissement | Risque | Symbole |
| 1 | Protégéz les tubes et les câbles pour éviter qu'ils ne soient endommagés | Electrocution par contact avec des conducteurs sous tension | ! |
| Dommages consécutifs à une fuite d'eau | △ | ||
| 2 | S'assurer que l'environnement de l'installation et les éléments auxquels l'appareil doit être raccordé sont conformes aux normes en vigueur. | Electrocution par contact avec des conducteurs sous tension | ! |
| Dommages sur l'appareil causés par des conditions d'utilisation non conformes | △ | ||
| 3 | Utilisez des outils et des protections conformes à l'usage (en particulier, s'assurer que l'outil n'est pas endommagé et que son manche est fixé solidement). Utilisez les outils correctement en s'assurant qu'ils ne puissant pas tomber et les ranger après usage. | Lésions par projection de fragments, de poussières ou par coupure ou abrasion. | ! |
| Dommages sur l'appareil causés par des projections de fragments, de poussières ou par coupure ou abrasion. | △ | ||
| 4 | Utilisez des équipements electriques adéquats, les utiliser de manière ajustée. Ne pas laisser des cables électriques dans les zones de passage. Utilisez les outils correctement en s'assurant qu'ils ne puissant pas tomber et les ranger après usage. | Lésions par projection de fragments, de poussières ou par coupure ou abrasion. | ! |
| Dommages sur l'appareil causés par des projections de fragments, de poussières ou par coupure ou abrasion. | △ | ||
| 5 | Effectuez le détartrage en respectant les prescriptions de la fiche technique des produits utilisés, en aérant l'environnement, en portant les équipements de protection individuelle adéquats, en évitant les mélanges de produits, en protègeant l'apparéil et les objets proches. | Lésions par contact avec les yeux ou la peau, ou inhalation d'agents chimiques nocifs. | ! |
| Dommages sur l'appareil ou sur les objets proches par corrosion de substances acides. | △ | ||
| 6 | S'assurer que les échelles ou escabeaux soient stables, solides, que les marches ou échelons soient en bon état et solidement fixés. Tout travail en hauteur doit être effectué sous la surveillance d'une fierce personne. | Lésion par chute ou par cisaillagement. | ! |
| 7 | S'assurer que l'environnement de travail est conforme aux régles notamment en termes d'hygiene, d'éclairage, d'aération, et de solidité. | Lésions par coups, chute, etc ... | ! |
| 8 | Pour travailler, porter les équipements de protection individuelle déquats. | Lésions par electromoculation, projection de poussières ou de fragments, inhalation de poussières, coups, coupures, abrasions, bruits, vibrations. | ! |
| 9 | Les opérations à l'intérieur de l'appareil doivent être effectues avec les précautions nécessaires pour éviter le contact avec des parties abrasives ou tranchantes. | Lésions par coupure ou abrasion. | ! |
| 10 | Videz toute partie pouvant contenir de l'eau chaude. | Lésion par brûlleure. | ! |
| 11 | Effectuez les raccordements ELECTriques avec des cables de dimension déquate. | Incendie par surchauffe de cables sous-dimensionnés. | Δ |
| 12 | Protégéz l'appareil avec le matériel déquat à proximité des zones de travail. | Dommages sur l'appareil par projection de fragments ou de poussières | Δ |
| 13 | Manipuez l'appareil avec les précautions nécessaires en utilisant la sangle de manutention. | Dommages sur l'appareil par chute ou casse du socle ou des pieds réglables. | Δ |
| 14 | Lors de la manutention de l'appareil, s'assurer que le passage est dégagé. | Dommages sur l'appareil par chocs. | Δ |
| 15 | Après une intervention de maintenance ou de dépannage, s'assurer que tous les dispositifs de sécurité soient fonctionnels avant de remettre l'appareil en service. | Dommages sur l'appareil par absence de dispositif de sécurité. | Δ |
4. Installation

ATTENTION ! Suivre scrupuleusement les avertissements généraux et les normes de sécurité mentionnés dans les paragraphes précédents, et se conformer obligatoirement à ce qui est indiqué.
4.1 Emplacement du produit
ATTENTION ! Avant de procéder à n'importe quelle opération d'installation, vérifiez que l'emplacement choisi respecte les conditions suivantes :
a) que le local d'installation, dans le cas où le chauffe-eau est utilisé sans conduit d'expulsion d'air, n'ait pas un volume inférieur à 30 m³, avec un renouvellement d'air suffisant. Éviter d'installer l'appareil dans des endroits où il peut y avoir formation de gel. Ne pas installer le produit dans un local contenant un appareil qui a besoin d'air pour fonctionner (par ex. chaudière à gaz à chambre de combustion ouverte, chauffe-eau à gaz à chambre ouverte) sauf en cas de réglementation locale différente. Les performances et la sécurité du produit ne sont pas garanties dans le cas d'installation à l'extérieur ; b) qu'à l'emplacement choisi il soit possible d'atteindre l'extérieur avec le conduit d'expulsion et/ou d'extraction de l'air, au cas où l'utilisation en soit prévue. Le positionnement des raccords pour les conduits d'expulsion et d'aspiration d'air sera situé dans la partie supérieure de l'appareil ; c) que le lieu d'installation et les installations électriques et hydrauliques où sera raccordé l'appareil soient conformes aux normes en vigueur ; d) que soit disponible, à l'emplacement choisi, une source d'alimentation électrique monophasé 220-240 Volts ~ 50 Hz ; e) qu'à l'endroit choisi, il soit possible, à partir du raccord spécialement prévu à cet effet dans la partie côté de l'appareil, de réaliser l'évacuation des condensats avec un siphon adapté ; f) qu'à l'endroit choisi, il soit possible de révues par rapport aux parois et au plafond pour un bon fonctionnement et pour un entretien aisé (réf. fig. 5) ; g) que l'installation des canalisations permette des opérations de maintenance du filtre évaporateur (réf. fig. 6) ; h) que la surface permette une position de fonctionnement parfaitement verticale (réf. fig. 2) ; i) que le lieu choisi soit conforme au degré IP (protection contre la pénétration de fluides) de l'appareil selon les normes en vigueur ; j) que l'appareil ne soit pas directement exposé aux rayons solaires, même en présence de vitrage ; k) que l'appareil ne soit pas exposé à des milieux particulièrement agressifs tels que les vapeurs acides, la poussière ou des environnements saturés de gaz ; l) que l'appareil ne soit pas installé directement sur des lignes électriques non protégées contre les fluctuations de tension ; m) que l'appareil soit installé le plus près possible des points d'utilisation pour limiter les pertes de chaleur le long des conduits ; n) que l'air aspiré par le produit ne contienne pas de poussières, vapeurs acides ou solvants.
Dans le cas de systèmes non gainés, ar rapport aux murs figurant sur l'image correspondante de la figure 7.
4.2 Positionnement au sol
Références fig. 8 :
1) Lorsque vous avez trouvé la position adéquate pour l'installation, enlevez l'emballage et retirez les fixations visibles sur la palette où le produit est fixé. 2) En vous aidant de la sangle prévue à cet effet, faites descendre l'appareil de la palette. 3) Fixez au sol les pieds (par les trous appropriés) en utilisant des vis et des chevilles adéquates. Une fois le travail terminé, ôtez la sangle en tissu en dévissant les 2 vis.
4.3 Raccordements aérauliques
Nous signalons que l'utilisation d'air en provenance d'un milieu réchauffé pourrait pénaliser la performance thermique du logement.
Il existe une connexion pour l'entrée d'air et une autre pour l'évacuement de l'air sur la partie supérieure de l'appareil. Il est important de ne pas enlever (sauf pour l'installation non canalisée, réf. Figure 7) ni manipuler les deux grilles. La température de l'air en sortie du produit peut atteindre des températures de 5 à 10°C de moins par rapport à celle
d'entrée, et si le produit n'est pas gainé, la température du local d'installation peut baisser sensiblement. Si l'on a prévu un fonctionnement avec expulsion ou aspiration à l'extérieur (ou dans un autre local) de l'air traité par la pompe à chaleur, il faudra utiliser les canalisations appropriées au passage de l'air. S'assurer que les canalisations sont connectées et bien fixées au produit pour éviter des déconnexions accidentelles et des bruits désagréables.
Il est recommandé d'installer le produit canalisé comme indiqué dans la figure 4.
La hauteur minimale d'installation canalisée est illustrée dans la figure 5.
, prévoir une distance minimale entre le produit et les conduits pour permettre l'extraction du filtre évaporateur (réf. fig. 6).
à l'aide de tuyaux rigides, adopter lors de l'installation toutes les précautions nécessaires afin de garantir les opérations d'entretien (fig. 4, 5 et 6).
Si le produit n'est pas canalisé, pour éviter la dérivation entre la prise et l'expulsion d'air, il faut remplacer les grilles sur le produit par les grilles accessoires (si elles ne sont pas fournies, cod. 3078095) ou ne pas enlever les grilles sur le produit et utiliser un coude en refoulement (réf. figure 7).
AVERTISSEMENT : Ne pas utiliser de grilles extérieures ayant des pertes de charge importantes, comme les grilles anti-moustiques (anti-insectes). Les grilles utilisées doivent permettre un passage d'air suffisant. La distance entre l'entrée et la sortie d'air ne doit pas être inférieure à 50 cm.
Protégez la gaine du vent extérieur. L'expulsion de l'air dans la cheminée n'est autorisée que si le projet est approprié, et qu'il est prévu un nettoyage périodique de la cheminée, du foyer et des accessoires.
La perte totale est calculée en additionnant les pertes des composants individuels installés. Le maximum doit être inférieur ou égal à la pression statique du ventilateur (par. 2.5).

Un type de canalisation qui ne respecte pas ces consignes peut affecter les performances du produit et faire augmenter sensiblement le temps de chauffage.
Avant d'utiliser le produit, il convient de remplir d'eau le réservoir de l'appareil et d'effectuer une vidange complète, afin d'éliminer toute impureté résiduelle.
Raccordez l'entrée et la sortie du chauffe-eau avec des tubes ou raccords supportant un couple température - pression de 75°C / 7 bar en continu. Pour cela, les matériaux qui ne résistent pas à de telles températures et pressions sont déconseillés (tuyaux en PER particulièrement). Il faut obligatoirement appliquer les raccords diélectriques avec le joint (fournis avec le produit) au tuyau de sortie de l'eau chaude, avant d'effectuer le raccordement.
Vissez sur le tube indiqué par un collier de couleur bleue, un raccord en forme de "T". Sur ce raccord, vissez d'un côté un robinet pour la vidange du produit que l'on peut manœuvrer seulement avec un outil, et de l'autre, un dispositif approprié contre les surpressions.

Pour les pays ayant adopté la réglementation européenne EN 1487, il est obligatoire de visser, sur le tuyau un groupe de sécurité conforme à cette norme, dont la pression maximale doit être de 0,7 MPa (7 bars) et qui doit contenir au moins un robinet d'arrêt, un clapet anti-retour, un dispositif de contrôle du clapet anti-retour, une soupape de sécurité et un dispositif d'arrêt de la charge hydraulique.

Voir figure 13.
Les codes de ces accessoires sont :
- d'un diamètre de 1/2) → code 877084;
- Groupe de sécurité hydraulique 3/4'' (pour les produits avec des tuyaux d'entrée avec des diamètres 3/4'' ) code 877085;
- Siphon 1 → code 877086.
Certains pays pourraient exiger d'utiliser des dispositifs hydrauliques alternatifs, conformes aux dispositions légales locales ; il revient à l'installateur qualifié, préposé à l'installation du produit, d'évaluer la conformité du dispositif de sécurité à utiliser. Il est interdit d'interposer un dispositif d'arrêt quelconque (vannes, robinets, etc.) entre le dispositif de sécurité et le chauffe-eau.
L'orifice de décharge du groupe de sécurité doit être raccordé à une conduite d'évacuation avec un diamètre non inférieur à celui de raccordement de l'appareil (3/4"), par l'intermédiaire d'un siphon avec une distance d'air d'au moins 20 mm, avec la possibilité d'inspection visuelle. Ceci afin d'éviter qu'en cas d'intervention du dispositif, on ne provoque des dégâts aux personnes, animaux et objets, pour lesquels le constructeur n'est pas responsable.
Raccordez avec un tuyau flexible, au tube d'eau froide du réseau, l'entrée du dispositif contre les surpressions, si né
nécessaire en utilisant un robinet d'arrêt. Prévoir en outre, dans le cas d'ouverture du robinet de vidange, un tuyau d'évacuation d'eau sur la sortie.
Lors du vissage du dispositif contre les surpressions, ne pas le forcer en fin de course. Un écoulement du dispositif contre les surpressions est normal durant la phase de chauffe ; pour cette raison, il est nécessaire de raccorder l'évacuation, en la laissant tout de même toujours ouverte à l'atmosphère, avec un tube d'évacuation placé en pente continue vers le bas et dans un endroit à l'abri du gel. Il est bon de connecter au même tuyau l'évacuation des condensats à l'aide du raccord spécial situé dans la partie inférieure du chauffe-eau.
L'appareil ne doit pas travailler avec des eaux de dureté inférieure à 12°F. Cependant, avec des eaux de dureté particulièrement élevée (>25°F), il est conseillé d'utiliser un adoucisseur avec un réglage contrôlé. Dans ce cas, la dureté résiduelle ne doit pas descendre en dessous de 15°F.
Les versions SYS possèdent un raccord 3/4" G pour la recirculation de l'installation hydraulique (si elle existe). Dans la version SYS, on trouve deux raccords 3/4" G, un supérieur (entrée) et un inférieur (sortie) du serpentin, sur lesquels on peut connecter une source auxiliaire (fig. 15).
ATTENTION! Il est conseillé d'effectuer un lavage soigné des tuyauteries de l'installation pour éliminer les éventuels résidus de filetage, soudures ou saletés qui pourraient compromettre le bon fonctionnement de l'appareil.
4.5 Raccordement électrique
| Cable | Courant maximum | |
| Alimentation permanente (câble fourni avec l'appareil) | 3G 1.5mm² | 16A |
| Signal EDF (cable non fourni avec l'appareil) | H05V2V2-F 2G min. 0.75mm² | 2A |
| Signal PV/SG (cable non fourni avec l'appareil) | H05V2V2-F 2G min. 0.75mm² | 2A |
| Signal AUX (cable non fourni avec l'appareil) | H05V2V2-F 2G min. 0.75mm² | 2A |
ATTENTION : Avant d'accéder aux terminaux, tous les circuits d'alimentation doivent être débranchés.
ATTENTION: L'entretien et les connexions électriques ne peuvent être effectués que par une personne qualifiée.
L'appareil est équipé d'un câble d'alimentation (dans le cas où son remplacement serait nécessaire, il faudra utiliser exclusivement la pièce de rechange d'origine fournie par le constructeur).
Il est conseillé d'effectuer un contrôle de l'installation électrique en vérifiant sa conformité aux normes en vigueur. Vérifiez que l'installation soit adaptée à la puissance maximale absorbée par le chauffe-eau (voir les données ), aussi bien en ce qui concerne la section des conducteurs que leur conformité aux normes en vigueur. Les prises multiples, les rallonges électriques et les adaptateurs sont interdits. Il est également interdit d'utiliser les tuyauteries de l'installation hydraulique, de chauffage ou du gaz pour le raccordement de la mise à la terre de l'appareil.
Avant sa mise en fonction, contrôlez que la tension du réseau soit conforme à la valeur indiquée de l'appareil. Le constructeur de l'appareil ne peut pas être tenu responsable des éventuels dégâts causés par l'absence de mise à la terre de l'installation ou par des anomalies d'alimentation électrique. Pour isoler l'appareil du réseau électrique, il faut utiliser un interrupteur bipolaire conforme aux normes CEI-EN en vigueur (ouverture des contacts d'au moins 3 mm, monté en amont si équipé de fusibles).
L'appareil doit être conforme aux règles européennes et nationales (NFC 15-100 en France), et doit être protégé par un disjoncteur différentiel de courant résiduel de 30 mA.
Sur la carte électronique principale de l'appareil, un contact de mise à la terre est prévu à des fins fonctionnelles uniquement et non pas de sécurité.
| BRANCHEMENT ÉLECTRIQUE PERMANENT | |
| Fig. 9 | Dans le cas où vous ne disposez pas de tarif électrique bi-horaire, Le chauffe-eau sera toujours alimenté par le réseau électrique, le fonctionnement est assureé 24h\24h. |
| BRANCHEMENT ÉLECTRIQUE AVEC ALIMENTATION BIHORAIRE | |
| Fig. 10 | Si l'on dispose d'alimentation électrique bihoraire et d'un compteur approprié, durant les heures où le produit n'est pas alimenté, la protection contre la corrosion à l'aide de l'anode à courant imposé est assurée par les batteries rechargeables qui doivent être insérées car elles ne sont pas fournies avec le produit. (voir la figure 16) |
| RACCORDEMENT ELECTRIQUE AVEC TARIF BI-HORAIRE ET SIGNAL HC-HP | |
| Fig.11 | Mêmes avantages économiques que la configuration avec tarif bi-horaire, il est en plus possible d'avoir une chaleur rapide durant les heures pleines grâce au mode BOOST sans action sur le contacteur jour / nuit. 1) Branchez un cable bipolaire sur les contacts correspondants au signal sur le compteur d'énergie. 2) Branchez le cable bipolaire (B) de signal au connecteur EDF "SIG1" qui se trouve à l'intérieur du boîtier électrique à droite du produit (trouver les tampons en caoutchouc pour obtenir une section appropriée à son passage). ATTENTION : Le signal EDF a un voltage de 230V. 3) Activez la fonction HC-HP à l'aide du paramètre P7 du menu installateur. (Voir paragraphe 7.7). |
| JONCTION AUXILIaires | |
| Fig 12 | • Si on a une installation PV à relier ou un signal SG disponible, il est possible de brancher un cable bipolaire depuis l'onduleur ou le cable du signal SG (un à la place de l'autre) au boîtier électrique placé sur le côte droit du produit (fixer le cable dans le passé-câble spécifique). Branchez ce cable (C) au connecteur nommé "SIG2" et activez la fonction PV (P9) ou SG (P18) à l'aide du menu Installateur (voir le paragraphe 7.7). Attention : signal 230V. • Uniquement pour les modèles SYS, s'il existe un générateur de chaleur auxiliaire (par ex. la chaudière) et que l'on veille remplaçer la chaleur effectuee par la résistance avec celui-ci, on peut connecter un cable bipolaire (D) du générateur de chaleur (s'il est prévu) au boîtier électrique situé sur le côte droit du produit (fixer le cable dans le passé-câble spécifique). Branchez ce cable (C) au connecteur nommé "AUX" et configurerz le paramètre P8 sur 3 à l'aide du menu Installateur (voir le paragraphe 7.7). |
| Fig.15 | Dans le cas du raccordement de la version SYS à la chaudière/poèle, il est conseilé d'utiliser le portesonde supérieur S3. Dans le cas du raccordement de la version SYS à la centrale solaire (échangeur inférieur), il est possible d'utiliser uniquement le porte-sonde inférieur (S2) ou les deux (S2) et (S3). |
Première mise en service
Lorsque vous avez réalisé les raccordements hydrauliques et électriques, procédez au remplissage du chauffe-eau avec l'eau du réseau. Pour cela, il est nécessaire d'ouvrir le robinet central de l'installation domestique et celui d'eau chaude le plus proche, afin de vous assurer que tout l'air s'échappe de la cuve. Vérifiez visuellement les éventuelles fuites d'eau au niveau des raccords et, si nécessaire, vissez avec modération.
Le produit n'est pas muni de batteries.
En cas d'installation avec les piles, utiliser 4 piles de type AA rechargeables NiMH, 1,2 V, 2100 mAh minimum, 1000 cycles de recharge minimum, température de fonctionnement minimale -55°C (utiliser les piles indiquées dans le catalogue, fournies par le fabricant du produit). Elles devront être insérées, en respectant strictement les polarités, dans le logement spécial positionné dans le carter frontal auquel on a accès en enlevant seulement le cadre extérieur (fig. 1).
Elles garantiront le bon fonctionnement de l'anode à courant IMPOSÉ même durant les éventuels dysfonctionnements du réseau électrique. Le produit les rechargera automatiquement.
6.1 Première mise en service

ATTENTION ! L'installation et la première mise en service de l'appareil doivent être faites par des professionnels qualifiés, en conformité avec les normes nationales d'installation en vigueur et selon les éventuelles prescriptions des autorités locales et d'organismes de santé publique. Dans tous les cas, l'entreprise qui réalise les travaux devra effectuer les contrôles de sécurité et de bon fonctionnement de l'ensemble de l'installation.
Avant de mettre en marche le chauffe-eau, vérifiez que l'installateur a complété toutes les opérations de son ressort. Assurez-vous d'avoir bien compris les explications de l'installateur au sujet du fonctionnement du chauffe-eau et des principales opérations sur l'appareil.
6.2. Recommandations
En cas de panne ou de mauvais fonctionnement, éteindre l'appareil. N'essayez pas de le réparer, mais adressez-vous au SAV. Les éventuelles réparations devront être effectuées en utilisant exclusivement des pièces de rechange d'origine constructeur et par des professionnels qualifiés.
Le non-respect des consignes ci-dessus peut compromettre la sécurité de l'appareil et dégager toute responsabilité du constructeur. En cas d'inutilisation prolongée du chauffe-eau, il est recommandé de :
- Couper l'alimentation électrique de l'appareil, par exemple en positionnant l'interrupteur en amont sur "OFF" s'il est prévu.
- Fermer les robinets de l'installation sanitaire d'alimentation. Vider le produit tel que décrit dans la section 8.1.
ATTENTION ! L'eau chaude fournie à à 50°C aux robinets d'utilisation peut provoquer immédiatement de graves brûlures. Les enfants, les personnes handicapées et les personnes âgées sont plus exposés à ce risque. C'est pourquoi il est conseillé d'utiliser un mitigeur thermostatique placé sur le tube de sortie d'eau du chauffe-eau, indiqué par un collier de couleur rouge.
ATTENTION : Si l'écran montre l'icône à côté, cela signifie que la température de l'eau a atteint de 6°C par rapport à la température programmée.

Dans les modèles SYS, la vanne de mélange est obligatoire.
ATTENTION ! (uniquement pour la version SYS) S'assurer que la température relevée par les sondes S2 et S3 de la régulation de la source auxiliaire, dans le chauffe-eau, ne dépasse pas 75 °C. Fig. 15.
6.3 Normes de sécurité
Pour la signification des symboles utilisés dans le tableau suivant, voir le chapitre 1.1 précédent.
| N° | Avertissement | Risque | Symbole |
| 1 | Ne pas bouger l'appareil une fois installé. | Electrocution par contact avec des conducteurs sous tension | ! |
| Dommages consécutifs à une fuite d'eau | △ | ||
| 2 | Ne rien poser sur l'appareil. | Lésions par chute de l'objet due aux vibrations | ! |
| Dommages sur l'appareil ou sur les objets voisins suite à la chute de l'objet | △ | ||
| 3 | Ne pas monter sur l'appareil. | Lésions suite à la chute de l'objet | ! |
| Dommages sur l'appareil ou sur des objets voisins suite à la chute de l'objet | △ | ||
| 4 | Ne pas ouvrir l'appareil. | Lésions par électrocution ou brûlée ou coupure | ! |
| 5 | Ne pas tirer sur le(s) cable(s) d'alimentation de l'appareil. | Lésions par électrocution suite à un contact avec des cables sous tension dénuédés | ! |
| 6 | Ne pas utiliser d'échelle, d'escabeau ou de chaise instable pour effectuer le nettoyage de l'appareil. | Lésions par chute ou par cisailllement | ! |
| 7 | Ne pas effectuer d'opération de maintenance sans avoir au préalable mis l'appareil hors tension. | Lésions par électrocution | ! |
| 8 | Ne pas utiliser l'appareil pour d'autres usages que ceux prévus dans le précédent livret. | Dommages sur l'appareil liés à une surcharge de fonctionnement | Δ |
| 9 | Ne pas laisser des enfants ou des personnes non formées utiliser l'appareil. | Dommages sur l'appareil liés à une'utilisation non conforme | Δ |
| 10 | Ne pas nettoyer l'appareil avec des détergents, solvants, insecticides. | Dommages sur les parties plastiques et peinture | Δ |
| 11 | Ne rien poser sous l'appareil. | Dommages sur les objets posés sous l'appareil en cas de fuite | Δ |
| 12 | Ne pas boire l'eau de condensation. | Lésions par intoxication | ! |
Notice d'information
La légionellose est une bactérie de petites dimensions, en forme de bâtonnet, qui se trouve naturellement dans toutes les eaux douces.
La maladie du légionnaire est une infection pulmonaire grave, provoquée par l'inhalation de la bactérie *Legionella pneumophila* ou d'autres espèces de légionelles. Les bactéries se trouvent fréquemment dans les installations hydriques des maisons, des hôtels, dans l'eau utilisée pour la climatisation ou dans les systèmes de refroidissement de l'air. C'est la raison pour laquelle l'intervention principale à accomplir contre la maladie réside dans la prévention, qui se réalise en contrôlant la présence de l'organism hydriques.
La norme européenne CEN/TR 16355 fournit les recommandations quant à la méthode effective de prévention de la prolifération de la légionellos d'eau potable, tout en maintenant en vigueur les dispositions existantes au niveau national.
Recommandations générales
« Conditions favorables à la prolifération de la légionellose ». Les conditions suivantes favorisent la prolifération de la légionellose :
- Une température de l'eau comprise entre 25°C et 50°C. Pour réduire la prolifération des bactéries du genre Legionella, la température de l'eau doit rester dans des limites qui empêchent leur croissance ou déterminent une croissance minimale, autant que possible. Dans le cas contraire, il est nécessaire d'assainir l'installation d'eau potable au moyen d'un traitement thermique. L'eau stagnante. Pour éviter la stagnation de l'eau pendant de longues périodes, il faut utiliser l'eau présente dans toutes les parties de l'installation d'eau potable, ou la faire couler abondamment au moins une fois par semaine. La présence dans l'installation, y compris les chauffe-eaux, etc., de substances nutritives, biofilm et sédiment. Le sédiment peut favoriser la prolifération des bactéries du genre Legionella et doit être régulièrement éliminé des systèmes de stockage, des chauffe-eaux, des vases d'expansion où l'eau stagne (une fois l'an, par exemple).
En ce qui concerne ce type de chauffe-eau à accumulation, si
1) l'appareil est éteint pendant un certain temps (des mois) ou 2) la température de l'eau est maintenue constamment entre 25 °C et 50 °C,
Les bactéries de la Légionellose pourraient se développer à l'intérieur du réservoir. Dans ces cas, pour réduire la prolifération de la légionellose, il est nécessaire d'avoir recours au « ».
Le chauffe-eau à accumulation est vendu avec une application qui, si elle est activée, permet d'effectuer un "cycle d'assainissement thermique" dans le réservoir.
Ce cycle est indiqué pour être utilisé dans les installations de production d'eau chaude sanitaire et répond aux recommandations de prévention de la légionellose spécifiées dans le Tableau 2 de la norme CEN/TR 16355 ci-après.
Tableau 2 - Types d'installations d'eau chaude sanitaire
| Eau froide et eau chaude séparées | Eau froide et eau chaude mélangées | |||||||||
| Absence de stockage | Stockage | Absence de stockage en amont des vannes mélangeuses | Stockage en amont des vannes mélangeuses | Absence de stockage en amont des vannes mélangeuses | ||||||
| Absence de circulation d'eau chaude | Avec circulation d'eau chaude | Absence de circulation d'eau mélangée | Avec circulation d'eau mélangée | Absence de circulation d'eau mélangée | Absence de circulation d'eau chaude | Avec circulation d'eau chaude | Absence de circulation d'eau mélangée | Avec circulation d'eau mélangée | Absence de circulation d'eau mélangée | |
| Réf. à l'Annexe C | C.1 | C.2 | C.3 | C.4 | C.5 | C.6 | C.7 | C.8 | C.9 | C.10 |
| Temp. | - | ≥ 50°Ce | Dans le chauffe-eau de stockagea | ≥ 50°Ce | Désinfection thermiqued | Désinfection thermique d | Dans le chauffe-eau de stockagea | ≥ 50°Cedésinfection thermique d | Désinfection thermique d | Désinfection thermique d |
| Stase | - | ≤ 3 Ib | - | ≤ 3 Ib | - | ≤ 3 Ib | - | ≤ 3 Ib | - | ≤ 3 Ib |
| Sédiment | - | - | Enleverc | Enleverc | - | - | Enleverc | Enleverc | - | - |
| a. Température ≥ 55°C pendant toute la journée ou au moins 1h par jour ≥60°C.b. Volume d'eau contenu dans les tuyauteries entre le système de circulation et le robinet le plus éloigné du système.c. Supprimer le séductif du chauffe-eau de stockage, conformément aux conditions locales, mais au moins une fois par an.d Désinfection thermique pendant 20 minutes à la température de 60°, pendant 10 minutes à 65°C ou pendant 5 minutes à 70 °Cr sur tous les points de préelèvement au moins une fois par semaine.e. La température de l'eau dans la boucle de circulation ne doit pas être inférieure à 50 °C.- Non requis | ||||||||||
Le chauffe-eau à accumulation de type électronique est vendu avec la fonction de cycle d'assainissement thermique non activée (configuration préétablie). Si, pour quelque raison que ce soit, une des "Conditions favorables à la prolifération de la Légionellose" devait se vérifier, il est vivement conseillé d'activer cette fonction selon les consignes mentionnées dans ce livret [réf. paragraphe 7.7].
Cependant, le cycle de désinfection thermique n'est pas en mesure de détruire toutes les bactéries de légionellose présentes dans le réservoir de stockage. C'est pourquoi, si la fonction est désactivée, la bactérie de la légionellose pourrait se représenter.
Remarque : quand l'appareil effectue le traitement d'assainissement thermique, il est probable que la consommation énergétique du chauffe-eau à accumulation augmente.
Attention : quand l'application vient d'effectuer le traitement de désinfection thermique, la température de l'eau peut provoquer à l'instant de graves brûlures. Les enfants, les personnes handicapées ou âgées sont les sujets les plus à risque de brûlures. Contrôlez la température de l'eau avant de prendre un bain ou une douche.
7.1 Description du panneau de contrôle
Référence figure 1.
| 1 | Compartment de la batterie | 4 | Molette |
| 2 | Ecran | 5 | Led |
| 3 | ON/OFF | 6 | MODE |
Le panneau de contrôle, simple et rationnel, est constitué de deux boutons et d'une molette/bouton central.
Dans la partie supérieure, un écran affiche la température réglée (set) ou la température relevée, tandis que sur la partie inférieure sont affichées les indications spécifiques comme le mode de fonctionnement, les pannes, les réglages ou les informations sur l'état de l'appareil.
7.2 Comment allumer et éteindre le chauffe-eau
Allumage : pour allumer le chauffe-eau, il suffit d'appuyer sur le bouton ON/OFF.
L'écran montre la température réglée "set", le mode de fonctionnement, le symbole HP et/ou le symbole de la résistance indiquent le fonctionnement de la pompe à chaleur et/ou de la résistance.

Extinction : pour éteindre le chauffe-eau, il suffit d'appuyer sur le bouton ON/OFF. L'écran affiche exclusivement l'indication "OFF". La protection contre la corrosion continue à être garantie (en cas d'utilisation du contact HC-HP, insérez les batteries rechargeables, voir fig. 1 par. 5) et le produit veillera automatiquement à ce que la température de l'eau dans le réservoir ne tombe pas en dessous de 5 °C.
7.3 Réglage de la température
Le réglage de la température de consigne de l'eau chaude (T SET POINT) s'effectue en tournant la molette dans le sens horaire ou anti-horaire (la visualisation sera momentanément clignotante).
Pour visualiser la température de l'eau dans la cuve, appuyez et relâchez le bouton/molette. La température sera indiquée pendant 8 secondes, puis la température d'eau chaude de consigne s'affichera de nouveau.
Les températures que l'on peut obtenir en mode pompe à chaleur varient de 50°C à 55°C en réglage d'usine, et de 40°C à 55°C en modifiant le réglage 3).
La température maximale que l'on peut obtenir à l'aide de la résistance électrique est de 65°C dans la configuration d'usine, pour les modalités qui le prévoient, et de 75°C en modifiant la configuration 1).
7.4 Mode de fonctionnement
Le bouton "mode" permet de définir le mode de chauffe que le chauffe-eau utilise de consigne. Le mode sélectionné est visualisé sur la ligne sous la température.
| Lorsque la pompe à chaleur est active, apparait le symbole: | HP |
| Lorsque la résistance électrique ou intégration (P8=3) est active, apparait le symbole: | W |

GREEN : le chauffe-eau utilise uniquement la pompe à chaleur pour assurer un maximum d'économie d'énergie. Cette fonction est conseillée pour des températures de l'air supérieures à 0°C durant les heures de chauffage et pour un fonctionnement normal. La température maximale que l'on peut atteindre dépend de la valeur du paramètre P13 (51-62°C), voir paragraphe 7.7. En cas de conditions d'air en dehors de la plage de fonctionnement de la pompe, l'intégration s'active (sauf pour P8=2). L'intégration s'active également en cas d'anti-légionellose et d'antigel. AUTO : cette fonction est désactivée par défaut ; pour pouvoir la sélectionner, configurez la valeur du paramètre P8 à 1 ou 3. Le chauffe-eau apprend la manière d'atteindre la température désirée dans un nombre d'heures limité, avec une utilisation rationnelle de la pompe à chaleur et, uniquement si cela est nécessaire, de l'intégration. Le nombre d'heures maximum utilisées dépend du paramètre P14 - TIME_W (voir le paragraphe 7.7), qui, par défaut, est configuré à 8 heures. (Conseillé durant l'hiver pour garantir plus de confort). L'intégration s'active toujours en cas d'anti-légionellose et d'antigel. BOOST : en activant ce mode, le chauffe-eau utilise en même temps la pompe à chaleur et l'intégration souhaitée dans le plus bref délai possible. Une fois que la température a été atteinte, le fonctionnement retourne au mode précédent. Ce mode ne peut être sélectionné quand la valeur du paramètre P8 est de 2. BOOST2 (pouvant être activé à l'aide du menu installateur P5) : cette fonction est désactivée par défaut ; pour pouvoir la sélectionner, configurez la valeur du paramètre P8 à 1 ou 3. En activant ce mode, le chauffe-eau utilise en même temps la pompe à chaleur et l'intégration souhaitée dans le plus bref délai possible. Par rapport à Boost, la modalité Boost2 reste active même après avoir atteint la température programmée. L'intégration s'active toujours en cas d'anti-légionellose et d'antigel. VOYAGE (activable dans le menu installateur) : Ce mode est conçu pour limiter la consommation d'énergie lors d'une absence prolongée et disposer d'eau chaude au retour. Il faut entrer le nombre de jours d'absence grâce au bouton/molette. Le chauffe-eau se mettra en fonctionnement après le nombre de jours entré. Durant cette période, le chauffe-eau restera éteint, la protection contre la corrosion restera assurée, et la température de
la cuve est maintenue au-dessus de 5°C. Appuyez sur le bouton "mode" jusqu'à sélectionner le mode VOYAGE, tournez le bouton/molette pour programmer le nombre de jours ("days"), appuyez sur la molette pour confirmer. Après ce laps de temps, l'appareil reviendra au mode précédent. Sur l'écran restent indiqués le nombre de jours restant avant l'activation du produit. Dans le cas d'un raccordement électrique sur contacteur J/N ou avec signal HCHP, il faut entrer le nombre de nuits d'absence en tenant compte que le produit ne fonctionne que de nuit. Par exemple si vous partez un samedi matin et revenez le dimanche suivant, il faudra programmer le samedi matin 8 nuits d'absence afin d'avoir de l'eau chaude disponible lors de votre retour le dimanche dans la journée. Pour arrêter, appuyez sur "Mode".
- PROGRAMME (pouvant être activé à l'aide du menu installateur P4) : Deux programmes sont disponibles, P1 et P2, qui peuvent agir aussi bien individuellement qu'en association au cours de la journée (P1+P2). L'appareil sera en mesure d'activer la phase de chauffage pour atteindre la température à l'horaire préétabli en donnant la priorité au chauffage à l'aide de la pompe à chaleur et, uniquement si cela est nécessaire, à l'aide de l'intégration selon les combinaisons suivantes :
Pour P8=0, l'intégration s'active uniquement dans les conditions en-dehors de la plage de fonctionnement de la pompe à chaleur.
Pour P8=1 et 3, l'intégration s'active en même temps que la pompe à chaleur sur demande.
Pour P8=2, l'intégration ne s'active jamais.
L'intégration s'active toujours en cas d'anti-légionellose et d'antigel.
Appuyez sur la touche "mode" jusqu'à sélectionner le mode Programme désiré (P1 / P2 / P1+P2). Tournez la molette pour programmer la température désirée, puis appuyez sur la molette pour confirmer. Tournez la molette pour programmer l'horaire désiré et appuyez pour confirmer. Dans le mode P1+P2, vous pouvez configurer les informations pour les deux programmes.
Dans le cas d'un branchement électrique avec une alimentation bi-horaire et le signal HC/HP, il est quoi qu'il en soit possible de programmer le chauffage de l'eau à n'importe quelle heure de la journée.
Pour cette fonction, la programmation de l'horaire courant est demandée ; voir le paragraphe suivant.
Recommandation : pour garantir le bon comportement, en cas de fonctionnement dans la modalité P1+P2 avec des heures particulièrement proches entre elles, il est possible que la température de l'eau soit plus élevée que la température programmée.
| Réglage d'usine | |
| TEMPERATURE PREREGLEE P1 | 55°C |
| TEMPS PREREGLEE P1 | 06:00 |
| TEMPERATURE PREREGLEE P2 | 55°C |
| TEMPS PREREGLEE P2 | 18:00 |
7.5 Réglage de l'heure
La programmation de l'horaire est requise si le mode PROGRAM est activé. Une fois qu'il est activé, tournez la molette jusqu'à l'heure actuelle et confirmez en pressant la molette. Elle peut aussi être programmée à l'aide du paramètre L0, en le sélectionnant et en programmant l'heure actuelle en tournant la molette (la fonction P4 doit être sur ON).


7.6 Menu informations
Par l'intermédiaire du menu informations, on obtient la visualisation des données de paramétrage du produit.
Pour accéder au menu, appuyer sur la molette pendant 5 secondes.

Tourner la molette pour sélectionner les paramètres L0, L2, L3... L27.

Pour sélectionner un paramètre, appuyez sur la molette pour visualiser sa valeur. Pour revenir à la sélection des paramètres, appuyez de nouveau sur la molette ou sur le bouton "MODE".

| Pour quitter le menu info/installateur appuyer sur le bouton "mode". (L'appareil quitte automatiquement le menu après 10 minutes d'inactivité). | ||
| Paramètre | Nom | Description paramètre |
| L0 | TIME | Heure de la journée (visible seulement si P4 ON) |
| L1 | SW MB | Version Logiciel Carte électronique "Mainboard" |
| L2 | SW HMI | Version Logiciel Carte interface |
| L3 | ENERGY | Consommation d'énergie en kWh (*) (**) |
| L4 | ANTI_B | Visualiser si la fonction anti-légionellose HP est active |
| L5 | HC-HP | Visualiser si la fonction HC-HP est active |
| L6 | HE_SET | Visualiser si l'état de HE_SET |
| L7 | SILENT | Visualiser si la fonction silent est active |
| L8 | PV MODE | VisualiserQLelle fonction PV est active |
| L9 | SG MODE | Visualiser si la fonction SG est active |
| L10 | T W PV | Visualiser la température à atteindre avec la fonction PV |
| L11 | T_A_HP | Température de l'air au-dessous de laquelle la pompé à chaleur ne fonctionne pas |
| L12 | T W HP | Température que l'on atteindre uniquement avec la pompé à chaleur |
| L13 | T W 1 | Température relevée sonde 1 groupe de résistance |
| L14 | T W 2 | Température relevée sonde 2 groupe de résistance |
| L15 | T W 3 | Température relevée sonde intermédiaire |
| L16 | T W 4 | Température relevée sonde dôme |
| L17 | T AIR | Température relevée sonde air ambient |
| L18 | T EVAP | Température relevée sonde evaporateur |
| L19 | T ASP | Visualiser la température d'aspiration |
| L20 | P ASP | Visualiser la pression d'aspiration |
| L21 | T SH | Température de la surchauffe |
| L22 | HP HYST | Température d'hysteresis du compresseur |
| L23 | HP h | Heures de fonctionnement de la pompé à chaleur (**) |
| L24 | HE h | Heures de fonctionnement de la résistance (**) |
| L25 | HP ON | Nombre de cycles d'allumage du compresseur (**) |
| L26 | TIME_W | Nombre d'heures d'alimentation accepté |
| L27 | T AB | Visualiser la température du point de consigne pour anti-légionellose |
- Les valeurs affichées peuvent différer des valeurs réelles en fonction de la tension et de la fréquence du réseau. Les valeurs sont mises à jour toutes les 24 heures ou quand l'appareil entre en fonctionnement avec les piles ou lorsqu'une erreur survient.
7.7 Menu installer
| ATTENTION: LA PROGRAMMATION DES PARAMETRES SUIVANTS DOIT ETRE EFFECTUEE PAR DES PERSONNES QUALIFIÉES | |
| A l'aide du menu installateur certaines configurations du produit peuvent être modifiées. Le symbole de la clé est visualisé. Pour entrer dans le menu maintainir appuyez sur le bouton/molette pendant 5 secondes, parcourir les paramètres du menu “L - INFO” jusqu'à arriver à l'indication «P0-CODE» paramet. Une fois inséré le code (illustré dans le tableau successif), tournez la molette pour sélectionner les paramètres P0, P2, P3 ...P20. | P11 T MAX |
| Lorsque vous avez sélectionné le paramètre à modifier, appuyez sur la molette pour visualiser la valeur du paramètre, tournezmaintenant la molette pour obtenir la valeur désirée. Pour revenir à la sélection des paramètres, appuyez sur la molette si vous souhaitez mémoriser la valeur可以选择, appuyez sur “mode” (ou attendez 10 secondes) si vous souhaitez en terminer avec les réglages sans mémoriser la valeur可以选择. Pour quitter le menu info/installateur appuyer sur le bouton “mode”. (L'appareil quitter automatiquement le menu après 10 minutes d'inactivité). | 75° T MAX |
| Paramètre | Nom | Description paramètre | Range | Réglaged'usine | |
| Min | Max | ||||
| P0 | CODE | Insérez le code pour acceder au menu installateur. Sur l'écran apparait le numero 222, tourmez la molette jusqu'àu numero 234, appuyez sur le bouton/molette. Maintenant on peut avoir accès au menu installateur. | 0 | 299 | 222 |
| P1 | RESET | Reconfigurer les paramètres d'usine. | 0 | 1 | OFF |
| P2 | ANTI_B | Protection Anti-légionellose. | OFF | ON | OFF |
| P3 | VOYAGE | Voir chapitre 7.4. | OFF | ON | OFF |
| P4 | PROG | Voir chapitre 7.4. | OFF | ON | OFF |
| P5 | BOOST2 | Voir chapitre 7.4. | OFF | ON | OFF |
| P6 | SILENT | Configurer le mode "silence". | OFF | ON | OFF |
| P7 | HC-HP | Fonctionnement avec alimentation bi-horaire. | OFF | ON | OFF |
| P8 | HE_SET | Il gère les modalités de fonctionnement. | 0 | 3 | 0 |
| P9 | PV MODE | Modifier les modalités de fonctionnement d'après la présence du signal PV. | 0 | 3 | 0 |
| P10 | T W PV | C'est la température désirée quand PV est en cours de production. | 55 | 75 | 62 |
| P11 | T MAX | Réglage de la température maximale que l'on peut atteindre. Une valeur programmée plus haute permet d'utiliser plus d'eau chaude. | 65 | 75 | 65 |
| P12 | T MIN | Réglage de la température minimale que l'on peut atteindre. Une valeur programmée plus basse permit plus d'économie de service si on a une consommation d'eau chaude réduite. | 40 | 50 | 50 |
| P13 | T W HP | C'est la température réalisable avec la pompè à chaleur seulement. | 51 | 62 | 55 |
| P14 | TIME_W | Nombre d'heures d'alimentation accepté. | 5 | 24 | 8 |
| P15 | HP HYST | Température d'hystérisis du compresseur. | 4 | 15 | 8 |
| P16 | T_A_HP | Température de l'air au-dessous de laquelle le compresseur ne fonctionne pas. | -7 | 20 | -7 |
| P17 | TANK_LT | Litrage du produit (ne pas modifier). | - | - | - |
| P18 | SG MODE | Fonctionnement avec signal SG. | 0 | 1 | 0 |
| P19 | ERRORS | Historique des erreurs (valeur en lecture seulement). | - | - | - |
| P20 | T AB | Température du point de consigne pour anti-légionellose | 60 | 75 | 60 |
Paramètre P2 - Protection anti-légionellose
Si elle est activée, le chauffe-eau effectuera, de manière entièrement automatique, la fonction de p . La température de l'eau doit rester à une température supérieure ou égale à 55°C toute la journée ou au moins pendant 1 heure, supérieure ou égale à 60°C. Ces températures peuvent provoquer des brûlures, il est conseillé d'utiliser un mitigeur thermostatique. La fonction anti-légionellose peut être activée à l'aide de ce paramètre ; la température à atteindre peut être programmée à l'aide du paramètre P20 et l'hystérésis du paramètre P15. Nous recommandons de régler le paramètre P20 à 60°C et le paramètre P15 à 4°C. Pendant le cycle, ANTI_B sera affiché alternativement au mode de fonctionnement. Une fois que le cycle est terminé, la température revient à celle d'origine.
Lorsque le produit fonctionne en tarif Heures Creuses / Heures Pleines, le cycle de chauffe aura lieu pendant les heures creuses. Pour l'arrêter, appuyez sur "On/Off".


Paramètre P6 - Silence
Cette fonction diminue le niveau de puissance sonore (les performances pourraient subir des variations par rapport à celles qui ont été déclarées). Elle peut être activée depuis le menu installateur à l'aide du paramètre P6. Une fois activée, l'image représentée à droite s'affichera sur l'écran.

Paramètre P7 - Fonctionnement avec tarif bi-horaire
Pour pouvoir aussi fonctionner dans des installations avec tarif bi-horaire, le logiciel de contrôle calcule la moyenne journalière d'heures de disponibilité de l'alimentation électrique avec tarif économique (HC). Pour activer cette fonctionnalité, passez au paramètre P7 et réglez sur ON.
La fonction d'auto-apprentissage permet à l'appareil d'atteindre la température réglée dans la limite d'heures disponibles avec tarif économique ; la limite d'heures maximum est donnée par le paramètre P14 TIME_W. Au premier allumage (ou après une extinction hardware), la valeur par défaut est de 8 heures. Pour faire un usage efficace de l'auto-apprentissage, il est recommandé de mettre le produit en mode AUTO.
Paramètre P8 (voir paragraphe 7.4 pour les détails)
Le paramètre P8 permet de gérer les différentes modalités de fonctionnement du produit. Il peut prendre les valeurs 0, 1, 2 ou 3.
STANDARD (valeur 0 - défaut) : on pourra sélectionner avec le bouton "mode" uniquement les modes GREEN, BOOST, VOYAGE (s'il est activé avec P3) et PROGRAM (s'il est activé avec P4) ; l'intégration est effectué électionné.
HE ON (valeur 1) : on pourra sélection tous les modes disponibles, à savoir GREEN, AUTO, BOOST, BOOST2 (s'il est activé avec P5), VOYAGE (s'il est activé avec P3) et PROGRAM (s'il est activé avec P4) ; l'intégration est effectué électionné.
COMBI (valeur 2) : on pourra sélectionner avec le bouton "mode" uniquement les modes GREEN , . Il ne prévoit pas d'intégration à la pompe à chaleur ; la résistance électrique fonctionne toujours en cas d'anti-légionellose et antigel. Le mode "COMBI" est conseillé pour effectuer un préchauffage, avec le chauffe-eau thermodynamique, de l'eau qui arrive à l'entrée d'eau froide de la chaudière (voir fig. 16).
SYSTEM (valeur 3) : on pourra sélection tous les modes disponibles, à savoir GREEN, AUTO, BOOST, BOOST2 (s'il est activé avec P5), VOYAGE (s'il est activé avec P3) et PROGRAM (s'il est activé avec P4) ; l'intégration est effectuée par le générateur de chaleur auxiliaire externe qui est correctement branché, aussi bien hydrauliquement (voir fig. 15) qu'électroniquement (voir paragraphe 4.5 et fig. 12), au produit. Le mode "SYSTEM" est conseillé quand un générateur de chaleur auxiliaire est disponible pour remplacer la fonction d'appoint de la résistance électrique (uniquement sur les modèles concernés).
Paramètre P9 - Fonction photovoltaïque
Si on dispose d'une installation photovoltaïque, on peut configurer le produit pour optimiser l'utilisation de l'énergie électrique produite. Après avoir effectué les branchements électriques comme il est décrit au paragraphe 4.5 fig. 12 et programmé le paramètre P9 différent de 0, quand le signal SIG2 est relevé, le fonctionnement courant est automatiquement modifié comme suit :

STANDARD (valeur 0 - défaut) : le fonctionnement des modes décrits précédemment n'est pas modifié.
PV GREEN (valeur 1) : l'icône PV s'affiche sur l'écran (voir la figure ci-contre). Lorsque le signal de l'onduleur est présent, le message du mode sélectionné s'alterne avec le message PV GREEN. Le produit atteint la température configur uniquement avec la pompe à chaleur (max 62°C).
PV HE (valeur 2) : l'icône PV s'affiche sur l'écran (voir ésent, le message du mode sélectionné alterne avec le message PV HE. Le produit atteint seulement avec la pompe à chaleur jusqu'à 62°C et avec la résistance (1500 W) par la suite.
PV BOOST (valeur 3) : l'icô ésent, le message du mode sélectionné s'alterne avec le message PV BOOST. Le produit atteint la température programmée (la plus haute entre T SET POINT et T W PV) en fonctionnant aussi bien avec la pompe à chaleur seule qu'avec la résistance (1000 W) jusqu'à 62°C, et seulement avec la résistance (1500 W) par la suite.
La présence du signal SIG2 est nécessaire pendant au moins 5 minutes pour permettre que la fonction photovoltaïque s'active (une fois que le produit commence un cycle, il travaillera pendant au moins 30 minutes).
La fonction P9 exclut la fonction P18.
Paramètre P18 - Fonction SG
Si l'on dispose d'un signal SG, on peut connecter le câble du signal comme décrit au chapitre 4.5 fig.12. Une fois la fonction P18 activée, l'icône SG s'affichera sur l'écran. À la réception du signal SIG2 pendant au moins 5 minutes (une fois que le produit commence un cycle, il fonctionnera pendant au moins 30 minutes), le message du mode sélectionné alterne avec le message SG ON et le mode de fonctionnement courant est automatiquement modifié en

réglant le thermostat du produit à la température programmée (la plus haute entre T SET POINT et T W PV) et travaillant uniquement avec la pompe à chaleur (max 62°C).
La fonction P18 exclut la fonction P9.
Paramètres P19 - Erreurs
C'est un paramètre de lecture seulement qui est uniquement accessible à l'assistance technique. Il montre l'historique des 10 dernières erreurs. Le nombre (3 chiffres) indique le code de l'erreur, tandis que le numéro de l'erreur est représenté dans l'ordre chronologique (max 10 erreurs - le nombre 10 indique l'erreur la plus récente qui s'est produite) sur la chaîne inférieure.
7.8 Hors gel
Quand le produit est alimenté, et qu'il n'y a pas de besoin d'eau chaude, si la température de l'eau à l'intérieur de la cuve descend en dessous de 5°C, la résistance (1000 W) est automatiquement activée pour réchauffer l'eau jusqu'à 16°C. Avec P8 = 3, la fonction sera effectuée par l'intégration.
7.9 Dégivrage
Le dégivrage est activé lorsque la pompe à chaleur travaille depuis au moins 20 minutes, la température de l'air relevée est inférieure à 15 °C et la température de l'évaporateur diminue rapidement. Quand le cycle de dégivrage est en marche, l'icône ci-contre s'affiche sur l'écran.

7.10 Nombre de douches disponibles
L'icône ci-contre indique une estimation du nombre de douches disponibles selon l'eau chaude présente. Une douche s'entend : 40 L à 40 °C. Pour afficher la valeur, appuyer sur le bouton rotatif.

7.11 Diagnostic des erreurs
Dans le cas où une panne survient, l'écran clignote et affiche le code d'erreur. Le chauffe-eau continue à fournir de l'eau chaude si l'erreur concerne seulement l'un des deux groupes de chauffe, en faisant fonctionner soit la pompe à chaleur, soit .
Si l'erreur concerne la pompe à chaleur, sur l'écran apparaît le symbole "HP" clignotant ; si l'erreur concerne , le symbole de la résistance va clignoter. Si le problème concerne les deux, les deux symboles clignotent.
Si le produit présente un signal d'erreur, éteindre et rallumer l'appareil à l'aide de la touche ON/OFF (sans piles) ; si la signalisation d'erreur se représente, contacter l'assistance technique.

ATTENTION : Avant d'intervenir sur le produit selon les indications ci-dessous, vérifiez le bon branchement électrique des composants sur la carte mère et le bon positionnement des sondes NTC dans leurs logements.
| Code erreur | Cause | Fonctionnement résistance | Fonctionnement pompe à chaleur | Comment agir |
| Codes erreur sur le circuit pompe à chaleur | ||||
| 110 | Sonde NTC Air/Évaporateur/Aspiration: court-circuit ou circuit ouvert | ON | OFF | Remplacez le composant |
| 111 | Sonde NTC Air/Évaporateur/Aspiration : altération de l'étaconnage | ON | OFF | Remplacez le composant |
| 121 | Absence du réfrigérant (R134a) | ON | OFF | Récapérez le gaz résiduel, identifie la fuite dans le circuit frigorifique et la réparer; faire le vide et replir le circuit frigorifique avec 1300 grammes de gaz réfrigérant |
| 131 | Condensateur de marchecompresseur: KO | ON | OFF | Remplacez le condensateur de marcheSi l'erreur se représenté, récapérez le gaz réfrigérant et replacze le compresseur; faire le vide et replir le circuit frigorifique avec 1300 grammes de gaz réfrigérant |
| 141 | Ventilateur: KO | ON | OFF | Remplacez le composant |
| 142 | Filtre évaporateur: obstruction | ON | OFF | Nettoyez le filtre évaporateur et les canalisations d'air |
| Si l'erreur persiste, vérifie le respect des specifications de canalisation de l'air | ||||
| 143 | Forte pertes de charge dans les canalisations d'air | ON | OFF | Vérifiez le respect des specifications de canalisation de l'airSi l'erreur se présente à nouveau, nettoyez le filtré evaporateur et les canalisations d'air |
| 151 | Pressostat : altilation de l'éthalonnage | OFF | OFF | Remplacez le composantSi l'erreur se présente à nouveau déchargez le circuit de refroidissement de 300 grammes de réfrigérant R134a. |
| 171 | Transducteur de pression : altilation l'éthalonnage | ON | OFF | Remplacez le composantSi l'erreur se présente à nouveau, récapérez le gaz résiduel, identifiez la fuite dans le circuit frigorifique et la réparer; faire le vide et replir le circuit frigorifique avec 1300 grammes de gaz réfrigérant |
| 181 | Vanne de laminage électronique : KO | ON | OFF | Remplacez la bobine du composantSi l'erreur se représenté, récapérez le gaz réfrigérant et remplacez le composant; faire le vide et replir le circuit frigorifique avec 1300 grammes de gaz réfrigérant |
| Codes erreur sur le circuit d'eau sanitaire | ||||
| 210 | Sonde NTC haute (eau chaude) : court-circuit ou circuit ouvert | ON | OFF | Remplacez le composant |
| 220 | Sonde NTC moyenne : court-circuit ou circuit ouvert | ON | ON | Remplacez le composant |
| 230 | Sonde NTC bassé (zone résistance) : court-circuit ou circuit ouvert | OFF | OFF | Remplacez le composant |
| 231 | Sonde NTC bassé (zone résistance) : intervention sécurité (1e niveau) | OFF | OFF | Remplacez la carte mère |
| 232 | Sonde NTC bassé (zone résistance) : intervention sécurité (2e niveau) | OFF | OFF | Remplacez la carte mère |
| 240 | Anode à courant imposé : court-circuit | OFF | OFF | Remplacez le composant |
| 241 | Anode à courant imposé : circuit ouvert | OFF | OFF | Vérifiez la présence de l'eau dans le produitSi l'erreur se représenté, remplacez le composant |
| Codes erreur sur le circuit électronique | ||||
| 310 | ON/OFF répétés | OFF | OFF | Attendre 15 minutes avant de débloquer le produit à l'aide de la touche ON/OFF |
| 321 | Carte mère : défaut interne | OFF | OFF | Remplacez le composant |
| 331 | Câblage carte mère - écran : absence de communication | OFF | OFF | Remplacez le câblage de communication carte mère-écran.Si l'erreur se représenté, remplacez la carte-mère et l'écran. |
8. Normes d'entretien (pour personnes autorisées)

ATTENTION ! Suivre scrupuleusement les avertissements généraux et les normes de sécurité énumérées dans les paragraphes précédents, en respectant obligatoirement ce qui est indiqué.
Toutes les interventions et les opérations d'entretien doivent être effectuées par des personnes habilitées (possédant les qualités requises par les normes en vigueur).
Après une intervention d'entretien ordinaire ou extraordinaire, il convient de remplir d'eau le réservoir de l'appareil et d'effectuer ensuite une vidange complète, afin d'éliminer toute impureté résiduelle.
8.1 Vidange de l'appareil
Il est indispensable de vidanger l'appareil s'il doit rester inutilisé pendant une longue période ou dans un local soumis au gel. Lorsqu'une vidange est nécessaire, procédez comme indiqué ci-dessous :
Déconnectez l'appareil du réseau électrique ; fermez le robinet d'arrêt du groupe de sécurité, ou à défaut le robinet central de l'installation domestique ; ouvrez le robinet d'eau chaude (lavabo ou baignoire) ; ouvrez le robinet placé sur le groupe de sécurité (pour les nations qui ont transposé la EN 1487) ou le robinet spécial installé sur le raccord en "T" comme décrit au paragraphe 4.4.
8.2 Entretien périodique
L'obstruction partielle du filtre évaporateur est une cause de réduction des performances du produit. C'est pourquoi il est recommandé d'effectuer au moins une fois par an le nettoyage du filtre pour enlever la poussière ou les éventuelles obstructions. Le filtre peut être extrait à l'aide d'un clip spécial situé sur le dos du produit (fig. 17). Effectuer le nettoyage du filtre avec de l'eau et du savon neutre.
Assurez-vous que le terminal du conduit d'échappement d'air et le conduit lui-même ne soient pas obstrués ou détériorés.
Assurez-vous que le tuyau d'évacuation des condensats est libre de tout obstacle.
Vérifiez la propreté des grilles et des conduits.
Après chaque démontage de bride, il est conseillé de replacer le joint.
8.3 Dépannage
| Problème | Cause possible | Comment agir |
| La sortie d'eau est froide ou insuffisamment chaude | Réglage de la consign trop bas | Régliez la température de consigne plus haute. |
| Dysfonctionnement de machine | Vérifiez les erreurs sur l'écran, procédez comme indiqué dans le tableau des "erreurs". | |
| Aucune connexion électrique, le câblage est débranché ou endommagé | Vérifiez la tension aux bornes de l'alimentation, vérifier l'état et les connexions des cables. | |
| Aucun signal HC / HP (si le produit est installé avec le cable de signal HC-HP) | Pour vérifier le bon fonctionnement du produit, lancez le mode «Boost», si le produit fonctionne de cette façon, vérifie le signal HC / HP à partir du compteur, et vérifie l'état du câblage du signal. | |
| Mauvais fonctionnement du contacteur J/N (si le produit est installé dans cette configuration) | Vérifiez le fonctionnement du contacteur J/N et que le salarié fixé est suffisant pour chauffer l'eau. | |
| Débit d'air insuffisant à l'évaporateur | Nettoyez les grilles et les gaines. | |
| Produit arrêté | Vérifiez la présence du courant. | |
| Vouys utilisez une grande quantité d'eau chaude instantanément et le produit ne peut pas réchauffer suffisamment l'eau. | ||
| Problème de sonde | Vérifiez la présence, même occasionnelle, d'erreur E5 | |
| L'eau est bouillante (avec la présence possible de vapeur du robinet) | Haut niveau de l'encrassement de la cuve et des composants | Coupez l'alimentation électrique, effectuez une vidange, enlevez le fourreau de la résistance et enlevez le calcaire dans la cuve, faire attention à ne pas endommager l'émail de la cuve et du fourreau de la résistance. Remettre le produit selon la configuration d'origine, il est recommendé de replacer le joint.. |
| Problème sonde | Vérifiez la présence, même occasionnelle, d'erreur E5 | |
| Fonctionnement réduit de la pompè à chaleur, exploitation semi-permanente de la résistance électrique | Température de l'air hors de portée | |
| Réglage “Time W” trop bas | Définir une température plus BASSE ou un “time W” plus important. | |
| Installation réalisée avec une tension non conforme (trop faible) | Vérification de la présence d'une bonne tension | |
| Évaporateur obstrué ou congelé | Nettoyez l'évaporateur | |
| Problèmes de pompè à chaleur | Assurez-vous qu'il n'y a aucune erreur sur l'écran | |
| 8 jours ne se sont pas écoulés depuis: -Premier démarrage -changement du paramètre “Time W” -absence d'alimentation ou de batteries | ||
| Flux insuffisant de l'eau chaude | Fuites ou obstructions du circuit d'eau | Vérifiez qu'il n'y ait pas de fuites le long du circuit, vérifie l'intégrité du tube déflecteur et l'intégrité du tube d'arrivée d'eau froide et du tuyau d'eau chaude |
| Écoulement d'eau par le dispositif contre les surpressions | Un écoulment d'eau par le dispositif est normal durant la période de chauffe | Si l'on peut éviter cet écoulment, il est nécessaire d'instructor un vase d'expansion sur l'alimentation d'eau froide du réseau. Si l'écoulement continue durant la phase de non chauffe, faites vérifier : le tarage du dispositif; la pression de l'eau du réseau. Attention: Ne jamais obstruer le trou d'évacuation du dispositif! |
| Si l'on entend une augmentation du bruit durant le fonctionnement de la pompe à chaleur | Présence d'éléments obstructifs | Vérifiez les pieces en mouvement, nettoyez le ventilateur et les autres organes qui peuvent générer du bruit |
| Vibration de certains éléments | Vérifiez les éléments fixés avec des vis, assurez-vous que les vis sont bien serrées. | |
| Problèmes pour afficher l'écran ou désactiver | Dommages ou déconnexion des câbles reliant la carte mère et la carte afficheur | Vérifiez l'état de la connexion, vérifie le fonctionnement des cartes électroniques |
| absence d'alimentation ou de batteries | Vérifiez la présence et l'état de l'alimentation et des batteries, les replacer si nécessaire | |
| Mauvaise odeur provenant du produit | Pas de presence de siphon, ou siphon vide | Installez un siphon ou vérifie la présence d'eau |
| Consommation anormale ou plus excessive que prévu | Perte ou obstruction partielle du circuit frigorifique | Allumez le produit en mode pompé à chaleur, utilisez un détecteur de fuite pour vérifier qu'il n'y a pas de fuites |
| Température de l'air en dehors de la plage de fonctionnement | ||
| Évaporateur obstrué ou congélé | Vérifiez la propriété de l'évaporateur, des grilles et des conduits | |
| Installation incorrecte | ||
| Autre | Contactez le SAV | |
8.4 Entretien ordinaire réservé à l'utilisateur
Il est conseillé d'effectuer un remplissage et un vidage de l'appareil après chaque opération d'entretien ordinaire ou exceptionnel.
Le dispositif contre les surpressions doit être testé régulièrement, une fois par mois, pour vérifier qu'il ne soit pas bloqué ou pour ôter les éventuels dépôts de tartre.
Vérifiez que le tube d'évacuation du condensat ne soit pas obstrué.
Vérifiez la propreté des grilles et des conduits.
Le remplacement des batteries rechargeables doit être fait tous les ans. S'assurer qu'elles soient correctement recyclées et remplacées exclusivement par 4 accumulateurs de type NiMh, AA, rechargeables, 1,2V, 2100 mAh minimum, 1000 cycles de recharge minimum, température de fonctionnement minimum 55°C (utiliser des piles indiquées dans le catalogue, fournies par le fabricant du produit). Veiller à respecter les polarités comme indiqué sur le porte-batteries, voir figure 1. L'appareil doit être débranché lorsque vous retirez les piles.
8.5 Recyclage du chauffe-eau
L'appareil contient du gaz réfrigerant de type R134a, qui ne doit pas être relâché dans l'atmosphère. Dans le cas d'une dépose définitive du chauffe-eau, s'assurer que les procédures d'élimination soient effectuées par des professionnels qualifiés.

Ce produit est conforme à la directive WEEE 2012/19/EU.
Le symbole de la poubelle barrée présent sur l'équipement ou sur l'emballage indique que le produit, à la fin de sa vie utile, doit être collecté séparément des autres déchets. L'utilisateur devra donc remettre l'appareil en fin de vie aux centres municipaux de tri sélectif des déchets électrotechniques et électroniques. Comme alternative à la gestion autonome, l'appareil à éliminer peut être remis au revendeur, au moment de l'achat d'un nouvel appareil de type
équivalent. Il est également possible de remettre gratuitement, sans obligation d'achat, les produits électroniques à éliminer ayant une dimension inférieure à 25 cm, aux revendeurs de produits électroniques disposant d'une surface de vente d'au moins 400 m². La collecte séparée correcte, permettant de confier l'équipement éliminé au recyclage, au traitement et à l'élimination compatibles avec l'environnement, contribue à éviter les effets négatifs possibles sur la nature et sur la santé, et favorise la réutilisation et/ou le recyclage des matériaux dont l'équipement est fait. Pour des informations plus détaillées concernant les systèmes de collecte disponibles, adressez-vous au service local d'élimination des déchets, ou au magasin où l'achat a eu lieu.
L'appareil n'est pas muni de batteries rechargeables, mais si des batteries devaient être utilisées, elles devront être enlevées avant d'éliminer l'appareil et placées dans des conteneurs spécifiques. On trouvera le logement des batteries derrière le cadre frontal.
Geachte klant,
- EN 16147;
- Cahier des charges 103-15/B_2011 Chauffe-eau Thermodynamiques pour la marque NF Électricité Performance ;
- 2014/C 207/03 - Méthodes transitoires de mesure et de calcul
- EN 16147:
- CAHIER DES CHARGES 103-15/B_2011 Chauffe-eau Thermodynamiques pour la marque NF Électricité Performance ;
- 2014/C 207/03 - Méthodes transitoires de mesure et de calcul
3.1 Qualification des installateurs
Visser sur le tube d'entrée d'eau de l'appareil, indiqué par un collier de couleur bleue, un raccord en forme de "T". Sur ce raccord, visser d'un côté un robinet pour le vidage du produit que l'on peut manœuvrer seulement avec un outil, et de l'autre, un dispositif approprié contre les surpressions.

Notice Facile