EM232M - Micro-ondes ESSENTIELB - Notice d'utilisation et mode d'emploi gratuit
Retrouvez gratuitement la notice de l'appareil EM232M ESSENTIELB au format PDF.
| Intitulé | Valeur / Description |
|---|---|
| Type de produit | Micro-ondes |
| Capacité | 23 litres |
| Puissance | 800 Watts |
| Alimentation électrique | 220-240 Volts |
| Dimensions approximatives | Microwave: 48.5 x 39.5 x 28.0 cm |
| Poids | 12 kg |
| Fonctions principales | Chauffage, décongélation, cuisson |
| Type de contrôle | Manette et boutons |
| Matériau de la cavité | Acier émaillé |
| Entretien et nettoyage | Essuyer avec un chiffon humide, ne pas utiliser de produits abrasifs |
| Pièces détachées et réparabilité | Disponibilité de pièces pour réparation, consulter le service après-vente |
| Sécurité | Protection contre la surchauffe, verrouillage enfant |
| Compatibilités | Compatible avec les plats adaptés au micro-ondes |
FOIRE AUX QUESTIONS - EM232M ESSENTIELB
Questions des utilisateurs sur EM232M ESSENTIELB
0 question sur cet appareil. Repondez a celles que vous connaissez ou posez la votre.
Poser une nouvelle question sur cet appareil
Téléchargez la notice de votre Micro-ondes au format PDF gratuitement ! Retrouvez votre notice EM232M - ESSENTIELB et reprennez votre appareil électronique en main. Sur cette page sont publiés tous les documents nécessaires à l'utilisation de votre appareil EM232M de la marque ESSENTIELB.
MODE D'EMPLOI EM232M ESSENTIELB
Notice d'utilisation
Pour vous aider à bien vivre votre achat
sommaire
consignes d'usage 2
Précautions particulières 6
Risques d'incendie 9
Risques de brûlures 10
Fréquences radio 11
votre produit 12
Contenu de l'emballage 12
12
description de l'appareil 13
Description générale du four à micro-ondes 13
Description de I'ecran d'affichage 13
Description du bandeau de commandes 14
mise à la terre 15
deballage du Four a micro-ondes 15
installation de l'appareil 16
premiereutilisation 17
guide des ustensiles 17
Le plateau tournant en verre 17
Utilisation du plat croustilleur 18
Utilisation du trépied 18
Autres ustensiles (non fournis) 18
utilisation 19
1) Régler l'horloge 19
2) La fonction minuterie seule 19
3) La fonction express 19
4) La fonction micro-ondes 20
5) Décongélation 21
6) La fonction Grill 21
7) Cuisson combinée micro-ondes + grill 21
8)Programmes de cuisson automatique 21
9) Cuisson en plusieurs étapes 24
10) Verrouillage sécurité enfants 24
11) Informations utiles complémentaires 25
nettoyage et entretien 26
Nettoyage de l'intérieur du four à micro-ondes 26
Nettoyage de l'extérieur du four à micro-ondes 26
guide de dépannage 27
Vou venez d'acquérir un produit de la marque Essentiel b et nous vous en remercions. Nous apportons unsoon tout particulier à la FIABILITÉ, à la FACILITÉ D'USAGE et au DESIGN de nos produits.
Nous espérons que ce micro-ondes vous donna rer entière satisfaction.
consignes d'usage
LISEZ ATTENTIVEMENT CES INSTRUCTIONS AVANT D'UTILISER L'APPAREIL ET CONSERVÉZLES POUR POUVOIR VOUS Y REPORTER ULTRÉIREUREMENT.
- AVERTISSEMENT : Afin d'éviter tout risque d'incendie, d'électrocution ou de blessure, voirlez à toujours suivre les principales consignes de sécurité suivantes quand vous utilisez un apparéil électrique.
- Cet apparéil est exclusivement destiné à un usage domestique. Tout autre usage (professionnel) est exclu.
- Cet apparéil n'est pas destiné à être utilisé dans des applications domestiques et analogues telles que :
- des coins cuisines réservés au personnel dans des magasins, bureaux et autres environnement professionals ;
-
des fermes ;
-
des hotels, motel et autres environnement à caractère résidentiel ;
-
des environnements du type chambres d'hôtes.
-
N'installez pas le four à micro-ondes dans un meuble fermé.
- Avant de brancher votre apparéil, assurez-vous que la tension électrique de votre domicile correspond à cette indiquée sur la plaque signalétique de l' apparéil.
- La prise secteur sur laquelle est branché l'appareil doit être protégée par un dispositif à courant différentiel résiduel ayant un seuil de déclenchement n'excédant pas 30mA. Consulter votreElectricien pour plus d'informations.
- Branchez toujours votre apparéil sur une prise reliée à la terre.
-
Cet apparéil peut être utilisé par des enfants âgés de 8 ans et plus et les personnes manquant d'expérience et de connaissances ou dont les capacités physiques, sensorielles ou mentales sont réduites, si elles ont été formées et encadrées quant à l'utilisation de l' apparéil d'une manière sure et connaissent les risques encourus. Les enfants ne doivent pas jouer avec l' apparéil. Le nettoyage et l'entretien par l'utilisateur ne doivent pas été faits par des enfants.
-
ATTENTION : lorsque l'appareil est utilisé dans le mode combiné, les enfants doivent utiliserle four sous surveillance d'un autre adulte en raison des températures générées.
-
Tenir l'appareil et son cordon hors de la portée des enfants de moins de 8 ans lorsque l'appareil fonctionne et lorsqu'il refroidit après utilisation.
-
Ne laisses pas l'appareil sans surveillance lorsqu'il est branché.
-
Débranchez l'appareil de la prise secteur lorsque vous ne l'utilise pas ou lorsque vous le nettoyez.
Si le cordon d'alimentation est endommagé, il doit être remplace par votre revendeur, son service après-vente ou une personne de qualification similaire afin d'éviter tout danger.
- Avant chaque utilisation, vérifiez le bon état général de l'appareil.
. N'utilisez pas le four micro-ondes :
- si la porte est mal fermée ou endommagée,
- si les charnières de la porte sont endommagées,
- si les joints et surfaces détanchéité sont endommages,
- si la vitre du four est endommagée,
- en cas d'arcs électriques féquents à l'intérieur du four alors même qu'il n'y a pas d'objet métallique à
l'intérieur.
- Afin de prévenir tout danger, il est impératif, en cas de problème, de s'adresser au service après-ventes de votre magasin revendeur.
- ATTENTION : Il est dangereux pour quiconque autre qu'une personne compétente de mener à bien une prestation diverse ou une réparation qui implique la suppression de la couverture qui sert de protection contre l'exposition à l'énergie micro-ondes.
N'immergez pas l'appareil, le cable d'alimentation ou la fiche dans l'eau ou tout autre liquide. - Ne mettez pas d'eau dans les ouvertures de ventilation de l'appareil.
- Neversez jamais d'eau dans le four ou tout autre liquide susceptible d'endommager le four, en particulier le moteur d'entrainment du plateau en verre.
- Ne manipulez pas l'appareil ni la prise avec les mains mouillées.
- Ne laissez pasPENDREle cable d'alimentation sur le rebordd'une table ou d'un plan de travail,et evitez qu'il n'entre en contact avec des surfaces chaudes.
- La prise d'alimentation doit impérativement rester accessible après l'installation de l'appareil.
Lorsque vous débranchez le cable, tirez-le toujours au niveau de la fiche, ne tirez pas sur le cable lui-même.
. Si une rallonge électrique est utilisé, elle doit être
avec prise de terre incorporee et doit supporter la puissance de l'appareil. Prendre toutes les dispositions afin que personne ne s'entrave dedans.
- Gardez cet apparéil à l'intérieur et dans un endroit sec.
Ne le mettez pas pres de l'eau, de l'évier de la cuisine, dans une cave humide ou à proximité d'une piscine.
N'utilisez pas l' apparéil à moins dun mètre d'une source d'eau avec risques d'immersion ou de projection.
N'utilisez que les accessoires fournis et recommends par votre revendeur.
Cet apparéil n'est pas destiné à être mis en fonctionnement au moyen d'une minuteurie extérieure ou par un système de commande à distance séparé.
. ATTENTION : Ne jamais ouvrir le capot !
Précautions particulières
- ATTENTION : N'utilisez jamais le four si la porte ou les joints de la porte sont endommagés. Faites-les réparer par une personne qualifiée avant de réutiliser le four.
-
ATTENTION : Seule une personne compétente est habilitée à effectuer les opérations de maintenance ou de réparation impliquant le retrait de la plaque en mica (sortie d'ondes).
-
ATTENTION: Les liquides et autres denrées alimentaires ne doivent pas être chauffés dans des recipients fermés hermétiquement car ils risquent d'exploser.
- AVERTISSEMENT : L'appareil et ses parties accessibles deviennent chauds lors de l'utilisation. Des précautions doivent être prises pour éviter de toucher les éléments chauffants.
- Necherche pas à faire fonctionner le four lorsqu'sa porté est ouverte. Il est essentiel de ne pas annuler ou apporter des modifications aux dispositifs de verrouillage.
- Il est nécessaire de libérer un minimum de 30 cm d'espaceau-dessusufourpourlebonfonctionnement.
- Ne mettezaucun objectentre la façade du four et la porte,évitezla formation de dépôt de salissure, d'aliments ou de produits de nettoyage sur les surfaces détanchéitéde la fermeture.
- ATTENTION : Utiliser uniquement des ustensiles appropriés à l'usage dans les jours à micro-ondes.
- Percez avec une fourchette la pelure des pommes de terre, pommes ou tout autre fruit ou légume recouvert d'une pelure, avant de les cuire.
- Ne faites pas chauffer d'oeufs avec leur coquille ni d'oeufs durs dans un four à micro-ondes parce qu'ils risquent d'éclater, même après la fin de la cuisson.
. Ne faites pas de friture dans votre four.
- Ne chauffez pas dans le four des liquides corrosifs ou produits chimiques.
- Ne laissez pas trop longtemps de petites portions de nourriture nécessitant peu de temps de cuisson : elles seront soit trop cuites, soit brûlées.
- Pensez à remuer les alimentents en cours de cuisson et toujours en fin de cuisson.
N'utilisez pas le four quand celui-ci est sale ou en presence d'eau de condensation sur les parois. Essuyez et laissez secher avant utilisation.
L'appareil doit être nettoyé régulièrement et les dépôts d'aliments retireés.
- Gardez la cavité interne du four, le joint de porte et parties adjacentes toujours propres et secs, en les nettoyant régulièrement. Un manque de nettoyage pourrait conduire à une dépréciation de l'état de surface du produit et pourrait nuir à la durée de vie de l'appareil voir à une situation dangereuse. N'utilise pas de produit nettoyant abrasif, ni d'éponge à récycler, ni d'objet pointu afin de ne pas endommager le revêtement.
N'utilisez pas de produit nettoyant abrasif, ni d'éponge à récurer, ni d'objet pointu afin de ne pas endommager le revêtement.
- Veuillez respecter les consignes et les distances de sécurité indiquées dans la section «Installation de l'appareil» concernant l'installation de l'appareil.
Risques d'incendie
- Ne faites pas cuire un aliment dans une serviette, même si cela vous est recommendé dans une recette de cuisson.
N'utilisez pas de papier journal ou de serviette en papier pour la cuisson. - Pendant le chauffage de denrées alimentaires dans des recipients en plastique ou en papier, garder un oeil sur le four en raison de la possibilité d'inflammation.
Le four à micro-ondes est prévu pour chauffer des denrées alimentaires et des boissons. Le séchage de denrées alimentaires ou de linge et le chauffage de coussins chauffants, pantoufles, éponges, linge humide et autres articles similaires peuvent entraîner des risques de blessures, d'inflammation ou de feu. -
ATTENTION : Si de la fumée est émise, arrêtez ou débranchez le four et gardez la porte fermée pour étouffer les flammes éventuelles.
N'utilisez pas le four à micro-ondes à vide. Cela risquerait de l'endommager, de déclencher un feu, ou des étincelles à l'intérieur de celui-ci. -
Ne couvrez pas et n'obstruez pas les ouvertures d'aération de votre four.
Risques de brûlures
- ATTENTION : Le rechauffage de boissons peut provoquer un jaillissement brusque et différé de liquide en ébullition, aussi des précautions doivent elles être prises lorsque l'on manipule le récantient.
- ATTENTION: Le contenu des biberons et des pots d'aliments pour bébés doit être remué ou agité et la température doit être vérifiée avant consommation, afin d'éviter les brûlures.
- ATTENTION : N'autorisez les enfants à utiliser le four sans surveillance que si des instructions appropriées leur ont été données leur permettant d'utiliser le four de façon sure et de comprendre les dangers d'une'utilisation incorrecte.
- Ne laissez pas l'appareil sans surveillance en cas de réchauffage ou de cuisson d'aliments dans des plats à usage unique en plastique, papier ou autres matériaux inflammables.
- Cet produit est un produit de Groupe 2 car il produit intentionnellement de l'énergie à fréquence radioélectrique pour le traitement de la matière et il est destiné à être utilisé dans un local domestique ou
un établissement raccordé directement au réseau de distribution d'électricité à basse tension alimentant des batiments à usage domestique (Classe B).
Fréquences radio
- Le fonctionnement du four à micro-ondes peut provoquer des interférences avec votre radio, votre téléviseur ou tout autre équipement similaire.
Pour réduire ou supprimer les interférences eventuelles, prenez les mesures suivantes : - nettoyez la porte et la surface d'étanchéité de la porte,
- réorientez l'antenne réceptrice de la radio ou du télévisueur,
- déplacez le four à micro-ondes par rapport au récepteur,
- éloignez le four à micro-ondes du récepteur,
- branchez le four à micro-ondes sur une autre prise pour que le four et le récepteur utilisent des circuits différents.
votre produit
Contenu de l'emballage
| Modèle : EG 253b | Modèle : EG 281n |
| • 1 four micro ondes Gril • 1 trépied • 1 notice d'utilisation | • 1 four micro ondes Gril • 1 plat croustilleur • 1 trépied • 1 notice d'utilisation |
\section*{Caracteristiques techniques}
| Modèle : EG 253b | Modèle : EG 281n |
| • Alimentation : 230 V ~ 50 Hz • Fréquence micro-ondes : 2450 MHz • Puissance restituée Micro-ondes : 900 W • Puissance gril : 1000 W • Capacité : 25 litres • 5 Niveau de Puissance • 8 menus pré-programmés • Horloge • Type de commandes : électroniques • Fonction : Décongélation • Affichage digital avec minuterie de 5 à 95 mn • Signal de fin de cuisson lumineux • Éclairage interieur • Sécurité enfants • Coloris : Blanc • Dimensions (L x H x P) : 513 x 428 x 306 mm | • Alimentation : 230 V ~ 50 Hz • Fréquence micro-ondes : 2450 MHz • Puissance restituée Micro-ondes : 900 W • Puissance Gril : 1000 W • Capacité : 28 litres • 5 Niveau de Puissance • 8 menus pré-programmés • Horloge • Type de commandes : électroniques • Fonction : Décongélation • Affichage digital avec minuterie de 5 à 95 mn • Signal de fin de cuisson lumineux • Éclairage interieur • Sécurité enfants • Coloris : Noir • Dimensions (L x H x P) : 511 x 283 x 420 cm |
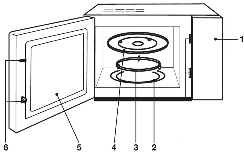
description de l'appareil

Description générale du four à micro-ondes
| 1 | Panneau de commande |
| 2 | Axe du plateau tournant |
| 3 | Anneau du plateau tournant |
| 4 | Plateau tournant |
| 5 | Vitre du four |
| 6 | Système de verrouillage de sécurité de la porte |
Description de l'écran d'affichage à micro-ondes

- Fonction micro-ondes
- Fonction Gril
- Décongélation en fonction du temps
- Décongélation en fonction du poids
- Puissance micro-ondes comprise entre 80 et 100%
- Réglage de l'horloge
- Réglage de la minuterie
- Programmes automatiques
- Verrouillage de sécurité infant
- Poids en grammes
Description du bandeau de commandes

- Écran d'affichage
- Fonction micro-ondes
- Fonction Gril «G» / Cuisson combinée « C-1» ou « C-2 »
- Fonction décongélation en fonction du poids
- Fonction décongélation en fonction du temps
- Réglage de l'horloge et de la minuterie
- Arret/Annulation
- Touche Marche/+30sec/Validator :
Marche : pour démarrer une cuisson
· +30sec : pour ajouter 30 secondes supplémentaires au temps de cuisson
- Validator: confirmer une sélection
-
Bouton de réglage
-
Bouton de sélection de la minuteurie et du poids
- Programmes de cuisson automatique de A-1 à A-8
mise à la terre

Ce four à micro-ondes est équipé d'une prise électrique de terre. Il doit être branché sur une prise murale correctement installée et équipée d'une prise de terre.

ATTENTION : Une mauvaise utilisation de la prise de terre peut entraîner un risque de chic électrique.
En cas de court-circuit, la mise à la terre réduit le risque de chic électrique en permettant au courant d'être evacué par le fil de terre.
En cas de questions concernant la prise de terre ou le branchement électrique, veuillez consulter un personnel qualifié.
Si une rallonge est nécessaire, utilisez exclusivement une rallonge à trois fils équipée d'une terre.
déballage du four à micro-ondes
Retirez tous les emballages et les accessoires situés à l'intérieur et à l'extérieur de l'appareil, puis examinez-le avec soin pour savoir s'il n'a pas subi de dommages visibles durant le transport.
Si l'appareil a subi des dommages visibles comme une déformation de la porte, ne l'utilise pas mais contactez le service après-vente de votre magasin revendeur.
Avant d'utiliser le four à micro-ondes, nettoyez l'intérieur avec un chiffon humide.
installation de l'appareil
L'appareil doit etre instalé en respectant les régles nationales d'installation électrique.
- Placez le four à micro-ondes sur une surface stable et plane. Laissez un espace de ventilation suffisant autour de l'appareil pour permettre une bonne ventilation. Laissez environ 20 à 30 cm au-dessus de l'appareil, 10 cm à l'arrière et 20 cm sur les cots pour permettre une bonne ventilation. La hauteur minimum d'installation est de 85 cm.

Assurez-vous que rien n'obstrue les orifices de ventilation sur les cots, le dessus et a l'arriere de l'appareil.

AVERTISSEMENT : N'installez pas votre four à micro-ondes sur une table de cuisson ou sur un apparéil produitant de la chaleur. Notre four risque d'être endommagé et la garantie ne s'applique pas dans ce cas.
- N'installez pas ce four à micro-ondes à l'air libre ni dans des locaux très humides ou excessivement chauds.
- Il est également recommandé de ne pas placer ce four à micro-ondes près d'un poste radio ou de télévision, le champ magnétique du four pouvant créé des interférences et parasites.
- Ne posez rien sur le four à micro-ondes.
N'installez pas le four à micro-ondes dans un meuble fermé. - Avant de brancher votre apparéil, vérifie que la tension électrique de votre domicile corresponde à cette indiquée sur la plaque signalétique du four et que la fiche du cable d'alimentation est adaptée à la prise de courant.
- Branchez votre four à micro-ondes sur une prise murale équipée d'une terre.

ATTENTION! Vous ne doivent pas-retirer la plaque en mica (sortie d'ondes) qui est vissee dans la cavite du four afin de proteger le magnétron.

La température des surfaces accessibles (porte et surface extérieure) peut être élevée lorsque l'appareil fonctionne.
Ce logo signifie que la partie où il est apposé peut devenir très chaude pendant le fonctionnement de l'appareil.
premièreutilisation
Comme la cavité du four à micro-ondes ou les éléments de chauffe peuvent compter de laGRAISSÉ ou certains résidus de fabrication, il est courant qu'une oedur se dégage (voire même un peu de fumée) lors de la première utilisation. Ceci est normal et ne se reproduira plus après plusieurs utilisations. Aérez cette pièce en ouvrant les portes et fenêtres pour dissiper les odeurs.
guide des ustensiles
Le plateau tournant en verre
- Ne placez jamais le plateau en verre à l'envers. Il est donc pour s'emboiter parfaitement sur l'axe d'entrainment.
- Le plateau en verre et l'anneau du plateau tournant doit toujours être présents dans le four à micro-ondes lors de son'utilisation.
- Manipulez le plateau avec précaution pour éviter de le casser.
- Si le plateau en verre est fissure ou cassé ou si l'anneau du plateau tournant est endommagé, n'utilise pas le four à micro-ondes et commandez des pieces de remplacement conformes à celles d'origine auprès de votre magasin revendeur.
- Le plateau tournant tourne dans les deux sens : ceci est normal.
- Placez toujours les alimentes et les recipients sur le plateau en verre pour la cuisson. Veillez à bien centrer le plat au milieu du plateau en verre pour éviter que le plat ne viennent cogner contre les parois ou la porte.

Utilisation du plat croustilleur (Modèle EG 281n uniquement)
- Le plat croustilleur est un plat spécial micro-ondes au revêtement antiadhésif. Il permet de réchauffer des tartes, quiches ou pizzas précuites en préserverl l'aspect croustillant de la pâte.
Utilisez votre plat croustilleur avec la fonction combinée « C-2 » (micro-ondes et grill) ou la fonction micro-ondes seule ou la fonction Gril seule.
Utilisez toujours le plat croustilleur avec le plateau tournant en verre. - Ne coupez pas les alimentents directement dans le plat afin de ne pas abîmer le revêtement antiadhésif.

Utilisation du trépied
- Placez le trépied sur le plateau tournant. Il permet à la chaleur de circuler correctement autour des alimentés. Vous pouze également l'utiliser pour chauffer deux plats simultanément.
- Il peut être utilisé en mode Gril et avec la fonction combinée « C-2 » (micro-ondes et gril). Il ne doit jamais être utilisé en mode micro-ondes seul.

Autres ustensiles (non fournis)
- Il est fortement recommendé d'utiliser des écipients adaptés et qui neprésententaucun risque pour la cuisson au four à micro-ondes. Généralement, les écipients à basede céramique, verre et plastique résistants à la chaleur sont adaptés aux cuissons aux micro-ondes. Vérifiez que le écipientporte la mention « Résiste au four à micro-ondes »
ATTENTION! N'utilisez jamais d'ustensiles métalliques ou d'ustensiles qui ont des garnitures métalliques avec la fonction micro-ondes. Les ondes ne peuvent pas pénétrer le métal. Les objets métalliques provoquent des étincelles ou flashes qui peuvent conduire à de sérieux dommages sur votre apparéil.
Pour des temps de cuisson courts, des recipients en plastique ou carton peuvent etre utilisés, ainsi que des plats surgelés sous films plastiques, sous réserve que ces films aient ete percés avec une fourchette au prealable pour permettre a la vapeur de s'échapper.
- N'utilisez pas de vaissele en métal, en fonte ou en faïence ayant des parties, même minimes, en métal (y compris argent ou or).
- La chaleur des alimentents peut se transmettre au réseau de cuisson et ce dernier peut devenir chaud. Utilisez des gants isolants pour manipuler les récipients à leur sortie du four à micro-ondes.
Il est conseilé de couvir les aliments à l'aide d'une cloche vapeur ou d'un film plastique pour :
- empêcher toute évaporation excessive (principalément pendant les très longs temps de cuisson),
-
réduire les temps de cuisson,
-
ne pas dessécher les aliments,
-
préserver l'arôme.
-
La cloche devra disposer de petites ouvertures et les films en plastique devront obligatoirement être percés de quelques trous pour que la pression ne s'accumule pas.

ATTENTION! Tous les types de film plastique ne convennent pas aux micro-ondes. Consultez les instructions sur l'emballage des écipients.
utilisation
1) Régler l'horloge
- Branchez le four à micro-ondes sur une prise murale équipée d'une prise de terre. Un signal sonore retentit et « ∅·□□ » apparait sur l'afficheur.
- Appuyez deux fois sur la touche Réglage heures/Minuterie. Les heures clignotent.
- Tournez le bouton de réglage pour régler les heures.
- Appuyez à nouveau sur la touche Réglage heures/Minuterie. Les minutes clignotent.
- Tournez le bouton de réglage pour régler les minutes (de 0 à 59).
- Appuyez une dernière fois sur la touche Réglage heures/Minuterie pour confirmer et<mémoriser l'heure.
2) La fonction minuterie seule
L'horloge du four à micro-ondes est utilisé comme un chronomètre, pour une durée de 5 secondes à 95 minutes. Avec cette fonction, aucun cycle de cuisson n'est enclenché.
- Appuyez une fois sur la touche Réglage heures/Minuterie. L'écran affiche « 00:00 »
- Tournez le bouton de réglage pour régler la minuterie (de 5 secondes à 95 minutes).
- Appuyez sur la touche Marche/+30sec/Validator pour confirmer le réglage et commencer le décompte.
- Lorsque le décompte est terminé, l'appareil émet 5 bips sonores.
3) La fonction express
Vous n'appuyez que sur une seule touche. Cette fonction est très pratique pour réchauffer un verre d'eau ou un verre de lait. Le four à micro-ondes fonctionne à une puissance de 100% pendant 30 secondes.
Exemple : Pour réchauffer un verre de lait :
- Placez le verre de lait sur le plateau tournant et fermez la porte.
- Appuyez sur la touche Marché/+30sec/Valider. La cuisson démarre automatiquement pour 30 secondes à une puissance de 100% .

Chaque pression supplémentaire sur la touche Marche/+30sec/Validator prolongera le temps de 30 secondes.
- Une fois le temps écoule, l'appareil émet 5 signaux sonores.
4) La fonction micro-ondes
La fonction Micro-ondes est utilisé pour réchauffer rapidement les alimentés.
You've aze 2 possibilités :
A) Cuisson rapide (puissance 100% )
Exemple : Pour réchauffer des alimentés à une puissance de 100% pendant 5 minutes :
- Sélectionnéz la durée : « 5 : 00 » en tournant le bouton de réglage vers la gauche.
- Appuyez sur la touche Marche/+30sec/Validator pour commencer la cuisson.
B) Sélection de la puissance
Exemple : Pour réchauffer des alimentés à une puissance de 50% pendant 10 minutes :
- Appuyez trois fois sur la touche Micro-ondes. L'écran affiche « PSO »; cela correspond à une puissance de 50% (Cf. Tableau ci-dessous).
- Appuyez sur la touche Marche/+30sec/Valider pour confirmer.
- Sélectionnéz la durée: « ① : ② » en tournant le bouton de réglage.
- Appuyez sur la touche Marche/+30sec/Valider pour débuter la cuisson.
Vous avez la possibilité deCHOISIR entre 5 niveaux de puissance pour une durée maximale de 95 minutes.
| Appuyez sur la touche Micro-ondes | Affichage | Correspond à... | Puisance |
| 1 fois | PICO | 100% de la puissance du micro-ondes | 900 W |
| 2 fois | PBO | 80% | 720 W |
| 3 fois | P5O | 50% | 450 W |
| 4 fois | P3O | 30% | 270 W |
| 5 fois | PIO | 10% | 90 W |
5) Décongélation
| Un appui sur la touche... | Affichage | Possibilité de seLECTIONner... | |
| Décongélation en fonction du poids | Décongélation en poids | dEF1 | ... un poids compris entre 100 g et 2 kg (2000 g) |
| Décongélation en fonction du temps | Durée de décongélation | dEF2 | ... un temps compris entre 5 sec et 95 min |
- Appuyez sur la touche Décongélation en poids ou Durée de décongélation. L'écran affiche « dEF1 » (Décongélation en fonction du poids) ou « dEF2 » (Décongélation en fonction du temps).
- Tournez le bouton de réglage pour sélectionner un poids ou un temps.
- Appuyez sur la touche Marche/+30sec/Valider pour commencer la décongélation.
6) La fonction Gril (Affichage « G »)
La fonction Gril vous permet de réchauffer et de faire dorer rapidement des alimentés tels que les viandes, les poissons, etc.
- Appuyez une fois sur la touche Gril/Combi. L'écran affiche « G » (clignotant).
- Appuyez sur la touche Marche/+30sec/Valider pour confirmer votre sélection. L'écran affiche « G » (fixe).
- Tournez le bouton de réglage pour sélectionner un temps de cuisson.
- Appuyez sur la touche Marche/+30sec/Valider pour démarrer la cuisson.

- Vous pouvez appuyer sur la touche Arrêt/Annul. en cours de cuisson pour faire une pause.
-
Appuyez sur la touche Marche/+30sec/Validator pour reprendre la cuisson ou appuyez une seconde fois sur la touche Arrêt/Annul. pour arrêté la cuisson (avant la fin du temps de cuisson programme).
-
En fin de cuisson, l'appareil émet 5 signaux sonores.
-
En fonction gril, l'appareil fait retentir deux bips sonores une fois la moitié du temps de cuisson programme écoulée, pour avertir qu'il convient de returner l'aliment dans le recipient.
- Ouvrez la porte du four pour interrompre la cuisson, puis returnez l'aliment. Fermez la porte, et appuyez sur la touche Marche/+30sec/Valider pour reprendre la cuisson.
- Si vous ne souhaitez pas returner l'aliment, le four poursuivra la cuisson automatiquement après une minute de pause.
7) Fonction combinée micro-ondes + grill
Cette fonction offre deux modes de cuisson. Pour selectionner le mode souhaite, appuyez par impulsions sur la touche Gril/Combi. (Temps maximum programmable : 60 minutes).
| Affichage C-1 | Cuisson combinée I (55% micro-ondes + 45% grill) |
| Affichage C-2 | Cuisson combinée II (30% micro-ondes + 70% grill) |
A) Cuisson combinée C-1 (55% micro-ondes + 45% grill)
- Appuyez deux fois sur la touche Grill/Combi. L'écran affiche « C-1 » (clignotant).
- Appuyez sur la touche Marche/+30sec/Valider pour confirmer votre sélection. L'écran affiche « C-1 » (fixe).
- Tournez le bouton de réglage pour sélectionner un temps de cuisson.
-
Appuyez sur la touche Marche/+30sec/Validator pour démarrer la cuisson.
B) Cuisson combinée C-2 (30% micro-ondes + 70% gril) -
Appuyez trois fois sur la touche Gril/Combi. L'écran affiche « C-2 » (clignotant).
- Appuyez sur la touche Marche/+ 30 sec/Valider pour confirmer votre sélection. L'écran affiche « C-2 » (fixe).
- Tournez le bouton de réglage pour sélectionner un temps de cuisson.
- Appuyez sur la touche Marche/+30sec/Validator pour démarrer la cuisson.
8) Programmes de cisson automatique
Sélectionnez un type d'aliments et son poids, et le four ajuste automatiquement la puissance et le temps de cuisson (Voir tableau en page suivante).
- Lorsque le four est à l'arrêt, tournez le bouton de réglage vers la droite pour désirer un programme de A-1 à A-8 (voir tableau ci-après).
- Appuyez sur la touche Marche/+30 sec/Validator pour valider votrechoix.
- Tournez le bouton de réglage pourCHOISIR un poids.
- Appuyez sur la touche Marche/+30sec/Validator pour commencer lauisson.
Notes :
- Pour les programmes A-2 (Vienne), A-3 (Légumes), A-5 (Pommes de terre) et A-6 (Poisson), placez les alimentés sur une assiette sans ajout d'eau.
- Pour le programme A-1 (Pizza), vous pouvez utiliser le plat croustilleur (fourni avec le modele EG 281) et le trépied métallique fourni pour surélever le plat pour un résultat optimal.
| Menu | Poids | Affichage à l'écran | Temps (*) |
| A-1 Pizza | 200 g | 200 | 1 minute 20 |
| 400 g | 400 | 2 minutes 30 | |
| A-2 Viande | 250 g | 250 | 4 minutes |
| 350 g | 350 | 5 minutes 30 | |
| 450 g | 450 | 6 minutes 50 | |
| A-3 Légumes | 200 g | 200 | 2 minutes 50 |
| 300 g | 300 | 4 minutes 10 | |
| 400 g | 400 | 5 minutes 30 | |
| A-4 Pâtes | 50 g (avec 45 cl d'eau froide) | 50 | 17 minutes |
| 100 g (avec 80 cl d'eau froide) | 100 | 20 minutes | |
| A-5 Pommes de terre | 200 g | 200 | 4 minutes 40 |
| 400 g | 400 | 7 minutes 30 | |
| 600 g | 600 | 9 minutes 10 | |
| A-6 Poisson | 250 g | 250 | 4 minutes 20 |
| 350 g | 350 | 6 minutes | |
| 450 g | 450 | 7 minutes 30 | |
| A-7 Boisson | 120 ml | 1 | 1 minute |
| 240 ml | 2 | 1 minute 50 | |
| 360 ml | 3 | 2 minutes 40 | |
| A-8 Popcorn | 50 g | 50 | 1 minute 20 |
| 100 g | 100 | 2 minutes 10 |
9) Cuisson en plusieurs étapes
Voussoupiezchoisir jusqu'à3étapesdecuisson.Vousentendezle signalsonore quand une étapéest finie et que la suivante commence.
Notes :
- Si parmi les étapes, vous choisissez la fonction décongélation, celle-ci doit être placée en première position.
- Vous ne pouvez pas sélectionner les programmes A-1 à A-8 pour la cuisson en plusieurs étapes.
Exemple : Vous souhaitez cuire un plat pendant 10 minutes au micro-ondes à la puissance 100% puis 5 minutes au micro-ondes à la puissance 50% . Procedez comme suit :
- 1ère étape : Appuyez une fois sur la touche Micro-ondes pour sélectionner la fonction « Micro-ondes » à une puissance de 100% . L'écran affiche « PICO» (clignotant).
- Appuyez sur la touche Marché/+30sec/Validator pour confirmer votre sélection. L'écran affiche « PICO» (fixe).
- Sélectionnez la durée: « 10:00 » en tournant le bouton de réglage.
- 2ème étape : Appuyez 3 fois sur la touche Micro-ondes pour sélectionner la fonction « Micro-ondes » à une puissance de 50% . L'écran affiche « PSO » (clignotant).
- Appuyez sur la touche Marché/+30sec/Validator pour confirmer votre sélection. L'écran affiche « P50 » (fixe).
- Sélectionnez la durée: « 5:00 » en tournant le bouton de réglage.
- Appuyez sur la touche Marche/+30sec/Validator pour commencer la cuisson.
10) Verrouillage sécurité enfants
A) Verrouillage
Lorsque le four à micro-ondes est à l'arrêt, appuyez sur la touche Arrêt/Annul. pendant 3 secondes. Un signal sonore retentit et le symbole L - - J s'affiche à l'écran. Toutes les touches deviennent inactives.
B) Déverrouillage
Lorsque vous four à micro-ondes est en mode de verrouillage enfants, appuyez sur la touche Arrêt/Annul. pendant 3 secondes.
Un signal sonore retentit et le symbole [] disparait.
11) Informations utiles complémentaires
- En fin de cuisson, l'appareil émet toujours 5 signaux sonores.
- Lors d'une cuisson, vous pouvez appuyer à tout moment sur la touche Réglage heures/Minuterie pour afficher l'heure actuelle (à condition d'avoir régle l'horloge au préalable).
- En mode Grill ou Cuisson combinée, vous pouvez appuyer sur la touche Gril/Combi à tout moment pendant la cuisson pour vous rappeler le réglage ou la température que vous avez sélectionnée.
- En mode Micro-ondes, vous pouvez appuyer sur la touche Micro-ondes à tout moment pendant la cuisson pour vous rappeler le réglage (ex : « P80 ») que vous avez sélectionné.
- Vous pouvez appuyer sur la touche Arret/Annul. en cours de cuisson pour faire une pause. Appuyez sur la touche Marche/+30sec/Valider pour reprendre la cuisson ou appuyez une seconde fois sur la touche Arret/Annul. pour arreter la cuisson (avant la fin du temps de cuisson programme).
- Lorsque vous avez sélectionné un programme de cuisson, si vous n'appuyez pas sur la touche Marche/+30sec/Valider dans les 5 minutes pour confirmer votre choix, la programmation sera annulée. L'écran revient en mode « horloge » (affichage de l'heure).
nettoyage et entretien
IMPORTANT : Débranchez le cordon d'alimentation de la prise de courant avant de procéder au nettoyage et, si possible, laissez la porte ouverte pour désactiver le four à micro-ondes.
Il est recommandé de nettoyer le four à micro-ondes régulierement et d'enlever tout dépôt alimentaire : si l'appareil n'est pas maintainu dans un bon état de propre, sa surface pourrait se dégrader et affecter de façon inexorable la durée de vie de l'appareil et conduire à une situation dangereuse.
Nettoyage de l'intérieur du four à micro-ondes
- Les éclaboussures et les projections de nourriture à l'intérieur du four à micro-ondes doivent être nettoyées quotidiennement avec une éponge douce et de l'eau chaude savonneuse. Nettoyez également les joints de porte. Rincez à l'eau claire et séchez soignement à l'aide d'un chiffon doux.
- N'utilise pas de produits détergents abrasifs ou d'éponge à récurer pour le nettoyage car vous risqueriez de rayer les revêtements ou le hublot.
- Contrôlez régulièrement l'etat de propreté de la plaque mica (sortie d'ondes) située à l'intérieur de la cavité du four à micro-ondes. Attention : une accumulation excessive de résidus alimentaires sur la plaque mica peut provoquer des arcs électriques à l'intérieur de la cavité. Les projections incrustées pourraient surchauffer, fumer ou déclencher un incendie.
- Ne retirez jamais la plaque mica (guide d'ondes).
- Vous pouvez nettoyer le plateau tournant en verre, l'axe et l'anneau du plateau tournant une fois refroidis avec une éponge douce et de l'eau chaude savonneuse. Rincez-les à l'eau claire et séchez-les soigneusement avec un chiffon doux.
- Astuce de nettoyage : pour un nettoyage facilité des surfaces interieures du four à micro-ondes, placez un demi-citron dans un bol d'eau et chauffez à la puissance micro-ondes 100% pendant 2 minutes. Essuyez ensuite l'intérieur du four avec un chiffon doux et sec.
Nettoyage de l'extérieur du four à micro-ondes
L'extérieur du four à micro-ondes est en métal point. Nettoyez-le avec un chiffon doux légèrement humidifié d'eau chaude savonnexe puis d'eau claire. Sèchez ensuite soigneusement avec un chiffon propre et sec.
Veillez à ne pas faire pénétrer d'eau à l'intérieur de l'appareil par les ouvertures de ventilation.
- Nettoyez le bandeau de commandes avec précaution. Essuyez-le avec un chiffon doux légèrement humide (avec de l'eau uniquement). N'utilise pas de produits chimiques. Évitez les excès d'eau.
guide de dépannage

ATTENTION : Afin de prévenir tout danger, il est impératif, en cas de problème, de s'adresser au service après-vente de votre magasin revendeur ou à un électricien qualifié et/agréé pour ce type de réparation.
Fonctionnement normal
| Four à micro-ondes interférant avec la réception de votre téléviseur. | La réception des téléviseurs et postes de radio peut être brouillée lorsque le four à micro-ondes fonctionne. Cette interférence est similaire à celle que générent les petits apparils électriques comme les mixeurs, les aspirateurs et les ventilateurs électriques. Ceci est normal. |
| Lumière du four à micro-ondes faible. | Au cours d'une cuisson aux micro-ondes à faible puissance, la lumière du four peut baisser d'intensité. Ceci est normal. |
| Accumulation de vapeur sur la porte, de l'air chaud s'échappe des ouvertures d'aération. | Pendant la cuisson, de la vapeur se dégage des alimentents. Celle-ci est principalement évacuée par les trous d'aération mais une faible quantité s'accumule sur les surfaces froides comme la porte du four à micro-ondes. Ceci est normal. |
| Four à micro-ondes utilisé accidentellement sans alimentant à l'intérieur. | L'utilisation du four à micro-ondes à vide ne l'endommagera pas si elle est de courte durée. Mais ceci n'est pas recommandé. |
| Problèmes | Causes possibles | Solutions |
| Le four à micro-ondes ne fonctionne pas. | Le cordon d'alimentation n'est pas correctement branché. | Débranche l'appareil, attendez 10 secondes, puis branchez-le à nouveau. |
| Fusion des fusibles ou action du disjoncteur. | Remplacez le fuse ble ou renclenchez le disjoncteur. | |
| Problème avec la prise électrique. | Essayez la prise en y branchant d'autres apparheils électriques. | |
| La sécurité enfants est activée. | Reportez-vous au paragraph "Verrouillage sécurité enfants" pour la désactiver. | |
| Le four à micro-ondes ne chauffe pas. | La portec est mal fermée. | Fermez bien la portec. |
| Le plateau tournant en verre fait du bruit lorsque le four à micro-ondes est en marche. | La surface d'appui des roulettes de l'anneau du plateau et le fond du four à micro-ondes sont sales. | Reportez-vous au paragraphe "Nettoyage & Entretien" pour nettoyer les surfaces sales. |
Si aucune des actions ci-dessus ne résout le problème, contactez le service après-vente de votre magasin revendeur. N'essayez pas de régler ou de réparer le four vous-même.
Toutes les informations, dessins, croquis et images dans ce document relevant de la propriété exclusive de SOURCING & CREATION. SOURCING & CREATION se reserve tous les droits relatifs à ses marques, créations et informations. Toute copie ou reproduction, par quelques moyen que ce soit, sera jugée et considérée comme une contrefaçon.
Testé dans nos laboratoires
Garantie valde a partir de la date d'achat (ticket de caisse faisant fjoi). Cette garantie ne couve pas les vices ou les dommages resultant d'une mauvaise installation, d'une utilisation incorrecte, ou de l'usure normale du produit.


Protection de l'environnement
Ce symbole apposse sur le produit signifie qu'il s'agit d'un apparéil dont le traitement en tant que déchet est soumis à la reglementation relative aux déchets d'équipements électriques et électroniques (DEEE). Cet apparéil ne peut donc enaucun cas être traité comme un déchet menager, et doit faire l'objet d'une collecte spécifique à ce type de déchets. Des systèmes de reprise et de collecte sont mis à votre disposition par les collectivités locales (déchéterie) et les distributeurs. En orientant votre apparéil en fin de vie vers sa filière de recyclage, vous contribuerez àprotégerl'environnement et empêcherez toute conséquence nuisible pour votre santé.
Notice Facile