HKL65312FB - Plaque de cuisson AEG-ELECTROLUX - Notice d'utilisation et mode d'emploi gratuit
Retrouvez gratuitement la notice de l'appareil HKL65312FB AEG-ELECTROLUX au format PDF.
| Type de produit | Table de cuisson vitrocéramique |
| Nombre de foyers | 4 foyers |
| Dimensions approximatives | 60 x 51 cm |
| Poids | 10 kg |
| Alimentation électrique | 230 V |
| Puissance totale | 7,4 kW |
| Fonctions principales | Indicateur de chaleur résiduelle, contrôle tactile |
| Entretien et nettoyage | Surface lisse, facile à nettoyer avec un produit adapté |
| Pièces détachées et réparabilité | Disponibilité de pièces détachées via le service après-vente |
| Sécurité | Protection contre la surchauffe, verrouillage de sécurité |
| Compatibilités | Compatible avec tous les types de casseroles et poêles adaptés à l'induction |
FOIRE AUX QUESTIONS - HKL65312FB AEG-ELECTROLUX
Questions des utilisateurs sur HKL65312FB AEG-ELECTROLUX
0 question sur cet appareil. Repondez a celles que vous connaissez ou posez la votre.
Poser une nouvelle question sur cet appareil
Téléchargez la notice de votre Plaque de cuisson au format PDF gratuitement ! Retrouvez votre notice HKL65312FB - AEG-ELECTROLUX et reprennez votre appareil électronique en main. Sur cette page sont publiés tous les documents nécessaires à l'utilisation de votre appareil HKL65312FB de la marque AEG-ELECTROLUX.
MODE D'EMPLOI HKL65312FB AEG-ELECTROLUX
Merci d'avoir acheté ce produit AEG. Nous l'avons conçu pour qu'il vous offre des performances irréprochables pour longtemps, en intégrant des technologies innovantes qui vous simplifient la vie grâce à des caractéristiques que vous ne trouverez pas forcément sur des appareils ordinaires. Veuillez prendre quelques instants pour lire cette notice afin d'utiliser au moins votre appareil.
Visitez notre site Internet pour :

Obtenir des conseils d'utilisation, des brochures, de l'aide, des informations : www.aeg.com/webselfservice

Enregistrer votre produit pour obtenir un meilleur service : www. registereraeg. com

Acheter des accessoires, consommables et pièces de rechange d'origine pour votre appareil : www.aeg.com/shop
Service après-vente
N'utilisez que des pièces de rechange d'origine.
Avant de contacter le service, assurez-vous de disposer des informations suivantes : Modèle, PNC, numéro de série.
Vous trouverez ces informations sur la plaque signalétique.
Avertissement/Attention: consignes de sécurité. Informations générales et conseils. Informations en matière de protection de l'environnement.
Sous réserve de modifications.
1. Informations de sécurité
Avant d'installer et d'utiliser cet appareil, lisez soigneusement les instructions fournies. Le fabricant ne pourra être tenu pour responsable des blessures et dégâts résultant d'une mauvaise installation ou utilisation. Conservez toujours les instructions dans un lieu sûr et accessible pour vous y référer ultérieurement.
1.1 Sécurité des enfants et des personnes vulnérables
- Cet appareil peut être utilisé par des enfants de plus de 8 ans et par des personnes dont les capacités sont réduites, à condition qu'ils soient surveillés ou qu'ils aient reçu des instructions concernant l'utilisation sécurisée de l'appareil et qu'ils comprennent les risques encourus.
- Ne laissez pas les enfants jouer avec l'appareil.
- Ne laissez pas les emballages à la portée des enfants et jetez-les convenablement.
- Tenez les enfants et les animaux éloignés de l'appareil lorsqu'il est en cours de fonctionnement ou lorsqu'il refroidit. Les parties accessibles sont chaudes.
- Si l'appareil est équipé d'un dispositif de sécurité enfants, nous vous recommandons de l'activer.
- Les enfants ne doivent pas nettoyer ni entreprendre une opération de maintenance sur l'appareil sans surveillance.
- Les enfants de moins de 3 ans doivent être tenus éloignés de l'appareil en permanence lorsqu'il est en fonctionnement.
1.2 Sécurité générale
- AVERTISSEMENT : L'appareil et ses parties accessibles deviennent chauds pendant son fonctionnement. Veillez à ne pas toucher les éléments chauffants. Les enfants de moins de 8 ans doivent être
tenus à l'écart, à moins d'être surveillés en permanence.
- Ne faites pas fonctionner l'appareil avec un minuteur externe ou un système de commande à distance.
- AVERTISSEMENT : Il peut être dangereux de laisser chauffer de la graisse
- N'essayez JAMAIS d'éteindre un feu avec de l'eau. Éteignez l'appareil puis couvrez les flammes, par exemple avec un couvercle ou une couverture ignifuge.
- ATTENTION: Toute cuisson doit être surveillée. Une cuisson courte doit être surveillée en permanence.
- AVERTISSEMENT : Risque d'incendie : Ne rangez pas d'objets sur la surface de cuisson.
- Ne posez pas d'objets métalliques tels que couteaux, fourchettes, cuillères ou couvercles sur la table de cuisson car ils pourraient chauffer.
- N'utilisez pas de nettoyeur vapeur pour nettoyer l'appareil.
- À propre usage, éteignez toujours la zone de cuisson à l'aide de la manette de commande correspondante et ne vous fiez pas à la détection des récipients.
- Si la surface vitrocéramique / en verre est fissurée, éteignez l'appareil pour éviter tout risque d'électrocution.
- Si le câble d'alimentation est endommagé, il doit être remplacé par le fabricant, un service de maintenance agréé ou un technicien qualifié afin d'éviter tout danger.
- AVERTISSEMENT: Utilisez uniquement les dispositifs de protection pour table de cuisson concus ou indiqués comme adaptés par le fabricant de l'appareil de cuisson dans les instructions d'utilisation, ou les dispositifs de protection pour table de cuisson intégrés à l'appareil. L'utilisation de dispositifs de protection non adaptés peut entraîner des accidents.

Avertissement!
L'appareil doit être installé uniquement par un professionnel qualifié.
- Retirez l'intégralité de l'emballage.
- N'installez pas et ne branchez pas un appareil endommagé.
- Suivez scrupuleusement les instructions d'installation fournies avec l'appareil.
- Respectez l'espacement minimal requis par rapport aux autres appareils et éléments.
- Soyez toujours vigilants lorsque vous déplacez l'appareil car il est lourd. Utilisez toujours des gants de sécurité et des chaussures fermées.
- Isolatez les surfaces découpées à l'aide d'un matériel d'étanchéité pour éviter que la moisissure ne provoque des gonflements.
- Protégez la partie inférieure de l'appareil de la vapeur et de l'humidité.
- N'installez pas l'appareil près d'une porte ou sous une fenêtre. Les récipients chauds risqueraient de tomber de l'appareil lors de l'ouverture de celles-ci.
- Si l'appareil est installé au-dessus de tiroirs, assurez-vous qu'il y a suffisamment d'espace entre le fond de l'appareil et le tiroir supérieur pour que l'air puisse circuler.
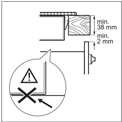
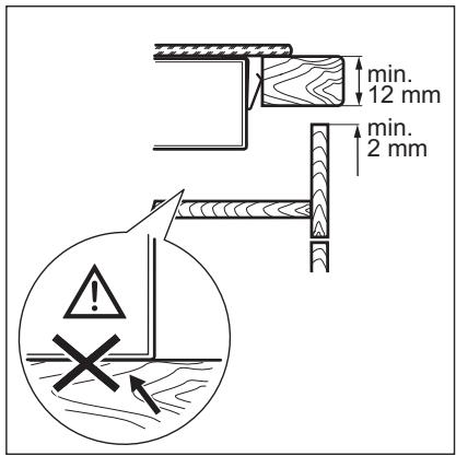
- Le dessous de l'appareil peut devenir très chaud. Veillez à installer un panneau de séparation ignifuge sous l'appareil pour en bloquer l'accès. Assurez-vous de laisser un espace de ventilation de 2 mm entre le plan de travail et l'avant de l'unité qui se trouve dessous. La garantie ne couvre pas les dommages causés par l'absence d'un espace de ventilation ajustat.

Avertissement!
Risque d'incendie ou d'électrocution.
L'ensemble des branchements électriques doit être effectué par un technicien qualifié. L'appareil doit être relié à la terre. - Avant toute intervention, assurez-vous que l'appareil est débranché. - Vérifiez que les données électriques figurant sur la plaque signalétique correspondent à celles de votre réseau. Si ce n'est pas le cas, contactez un électricien. Assurez-vous que l'appareil est bien installé. Un câble d'alimentation lâche et inapproprié ou une fiche (si présente) non serrée peuvent être à l'origine d'une surchauffe des bornes. - Utilisez le câble d'alimentation électrique approprié. - Ne laissez pas le câble d'alimentation s'emmêler. Assurez-vous qu'une protection antiélectrocution est installée. Utilisez un collier anti-traction sur le câble. Assurez-vous que le câble d'alimentation ou la fiche (si présente) n'entrent pas en contact avec les surfaces brûlantes de l'appareil ou les récipients brûlants lorsque vous branchez l'appareil à des prises électriques situées à proximité. - N'utilisez pas d'adaptateurs multiprisons ni de rallonges. - Veillez à ne pas endommager la fiche secteur (si présente) ni le câble d'alimentation. Contactez notre centre de maintenance agréé ou un électricien pour remplacer le câble d'alimentation s'il est endommagé. - La protection contre les chocs des parties sous tension et isolées doit être fixée de telle manière qu'elle ne peut pas être enlevée sans outils. - Ne branchez la fiche d'alimentation à la prise de courant qu'à la fin de l'installation. Assurez-vous que la prise de courant est accessible une fois l'appareil installé.
- Si la prise de courant est lâche, ne branchez pas la fiche d'alimentation secteur.
- Ne tirez jamais sur le câble d'alimentation pour débrancher l'appareil. Tirez toujours sur la fiche.
- N'utilisez que des systèmes d'isolement appropriés : des cou pecircuits, des fusibles (les fusibles à visser doivent être reliés au support), un disjoncteur différentiel et des contacteurs. L'installation électrique doit être équipée d'un dispositif d'isolement à coupure omnipolaire. Le dispositif d'isolement doit présenter une distance d'ouverture des contacts d'au moins 3 mm.

Avertissement!
Risque de blessures, de brûlures ou d'électrocution.
- Avant la première utilisation, retirez les emballages, les étiquettes et les films de protection (si présents). Utilisez cet appareil dans un environnement domestique.
- Ne modifiez pas les caractéristiques de cet appareil. Assurez-vous que les orifices de ventilation ne sont pas bouchés.
- Ne laissez jamais l'appareil sans surveillance pendant son fonctionnement.
- Éteignez les zones de cuisson après chaque utilisation.
- Ne vous fiez pas uniquement au détecteur de récipient.
- Ne posez pas de couverts ou de couvercles sur les zones de cuisson. Elles sont chaudes.
- N'utilisez jamais cet appareil avec les mains mouillées ou lorsqu'il est en contact avec de l'eau.
- N'utilisez jamais l'appareil comme plan de travail ou comme plan de stockage.
- Si la surface de l'appareil présente des fêlures, débranchez immédiatement l'appareil. pour éviter tout risque d'électrocution.
- Les porteurs de pacemakers doivent rester à une distance minimale de
30 cm des zones de cuisson à induction lorsque l'appareil est en cours de fonctionnement.
Lorsque vous versez un aliment dans de l'huile chaude, elle peut éclabousser.

Avertissement!
Risque d'incendie et d'explosion.
- Les graisses et l'huile chaudes peuvent dégager des vapeurs inflammables. Tenez les flammes ou les objets chauds éloignés des graisses et de l'huile lorsque vous vous en servez pour cuisiner.
- Les vapeurs dégagées par l'huile très chaude peuvent provoquer une combustion spontanée. L'huile qui a servi contient des restes d'aliments pouvant provoquer un incendie à température plus faible que l'huile n'ayant jamais servi.
- Ne placez pas de produits inflammables ou d'éléments imbibés de produits inflammables à l'intérieur ou à proximité de l'appareil, ni sur celui-ci.

Avertissement!
Risque d'endommagement de l'appareil.
- Ne laissez pas de récipients chauds sur le bandeau de commande.
- Ne posez pas de couvercle de casserole chaud sur la surface en verre de la table de cuisson.
- Ne laissez pas le contenu des récipients de cuisson s'évaporer complètement.
- Prenez soin de ne pas laisser tomber d'objets ou de récipients sur l'appareil. Sa surface risque d'être endommagée.
- Ne faites jamais fonctionner les zones de cuisson avec des récipients de cuisson vides ou sans aucun récipient de cuisson.
- Ne placez jamais de papier aluminium sur l'appareil.
- N'utilisez pas de récipients en fonte ou en aluminium, ni de récipients dont le fond est endommagé et rugueux. Ils risqueraient de rayer le verre ou la surface vitrocéramique.
Soulevez toujours ces objets lorsqu'ils les déplacez sur la surface de cuisson. - Cet appareil est exclusivement destiné à un usage culinaire. Ne l'utilisez pas pour des usages autres que celui pour lequel il a été conçu, à des fins de chauffage par exemple.
2.4 Entretien et nettoyage
Nettoyez régulièrement l'appareil afin de maintenir le revêtement en bon état. - Éteignez l'appareil et laissez-le refroidir avant de le nettoyer. - Débranche l'appareil de l'alimentation électrique avant toute opération de maintenance. - Ne pulvérisez pas d'eau ni de vapeur pour nettoyer l'appareil. - Nettoyez l'appareil avec un chiffon doux humide. Utilisez uniquement des produits de lavage neutres. N'utilisez pas de produits abrasifs, de
tampon à récurer, de solvants ni d'objets métalliques.

Avertissement!
Risque de blessure ou d'asphyxie.
- Contactez votre service municipal pour obtenir des informations sur la marche à suivre pour permettre l'appareil au rebut.
- Débranche l'appareil de l'alimentation électrique.
- Coupez le câble d'alimentation au ras de l'appareil et mettez-le au rebut.
2.6 Maintenance
Pour réparer l'appareil, contactez un service après-vente/agréé. Utilisez exclusivement des pièces d'origine.
3.1 Description de la table de cuisson

Zone de cuisson à induction 2 Bandeau de commande Zone de cuisson à induction flexible composée de quatre sections
3.2 Description du bandeau de commande

Les touches sensitives permettent de faire fonctionner l'appareil. Les affichages, les voyants et les signaux sonores indiquent les fonctions activées.
| Touche sensi-tive | Fonction | Commentaire | |
| 1 | ① | MARCHE/ARRÊT | Pour allumer et éteindre la table de cuisson. |
| 2 | Verrouillage / Dispositif de sécurité enfants | Pour verrouiller ou déverrouiller le bandeau de commande. | |
| 3 | PowerSlide | Pour activer et désactiver la fonction. | |
| 4 | FlexiBridge | Pour parcourir les trois modes de la fonction. | |
| 5 | - | Indicateur du niveau de cuisson | Pour indiquer le niveau de cuisson. |
| 6 | - | Voyants du minuteur des zones de cuisson | Pour indiquer la zone à laquelle se refère la durée sélectionnée. |
| 7 | - | Affichage du minuteur | Pour indiquer la durée, en minutes. |
| 8 | Hob2Hood | Pour activer et désactiver le mode manuel de la fonction. | |
| 9 | P | Fonction Booster | Pour activer et désactiver la fonction. |
| 10 | - | Bandeau de sélection | Pour sélectionner un niveau de cuisson. |
| 11 | ① | - | Pour désisir la zone de cuisson. |
| 12 | +/- | - | Pour augmenter ou diminuer la durée. |
| 13 | - | Bandeau de sélection | Pour régler le niveau de cuisson d'une zone de cuisson à induction flexible. |
3.3 Indicateurs de niveau de cuisson
| Affichage | Description |
| 0 | La zone de cuisson est désactivée. |
| 1 - 14 | La zone de cuisson est activée. |
| 8 | La fonction Démarrage automatique de la cuisson est activée. |
| P | Fonction Booster est activée. |
| E + chiffre | Une anomalie de fonctionnement s'est produit. |
| Ξ / έ / Α | OptiHeat Control (Voyant de chaleur résiduelle à trois niveaux) : con- tinuer la cuisson / maintien au chaud / chaleur résiduelle. |
| L | La fonction Verrouillage /Dispositif de sécurité enfants est activée. |
| F | Le réseau est inapproprié ou trop petit, ou bien il n'y a pas de ré- cipient sur la zone de cuisson. |
| - | La fonction Arrêt automatique est activée. |
| I_ / I_ / I_ | La fonction PowerSlide est activée. |
3.4 OptiHeat control (voyant de chaleur résiduelle à trois niveaux)
Les zones de cuisson à induction génèrent la chaleur nécessaire directement sur le fond des récipients de cuisson. La vitrocéramique est chauffée par la chaleur des récipients.

Avertissement!
Il y a risque de brûlures par la chaleur résiduelle. Les voyants indiquent le niveau de chaleur résiduelle.

Avertissement!
Reportez-vous aux chapitres concernant la sécurité.
4.1 Activation et désactivation
Appuyez sur ① pendant 1 seconde pour activer ou désactiver la table de cuisson.
Cette fonction arrête la table de cuisson automatiquement si :
toutes les zones de cuisson sont désactivées, - vous ne reglez pas le niveau de cuisson après avoir allumé la table de cuisson, - vous avez renversé quelque chose ou placé un objet sur le bandeau de commande pendant plus de 10 secondes (une casserole, un torchon, etc.). Un signal sonore retentit et la table de cuisson s'éteint.
Retirez l'objet du bandeau de commande ou nettoyez-le.
- la table de cuisson surchauffe (par ex. lorsqu'un bénépicient chauffe à vide). Laissez refroidir la zone de cuisson avant de réutiliser la table de cuisson.
- vous avez utilisé un réseau inadapté. Le symbole F s'allume et la zone de cuisson se désactive automatiquement au bout de 2 minutes.
- vous ne désactivez pas la zone de cuisson ou ne modifiez pas le niveau de cuisson. Au bout de quelques instants, - s'allume et la table de cuisson s'éteint.
La relation entre le niveau de cuisson et la durée après laquelle la table de cuisson s'éteint :
| Niveau de cuisson | La table de cuisson s'éteint au bout de |
| u, 1 - 3 | 6 heures |
| 4 - 7 | 5 heures |
| 8 - 9 | 4 heures |
| 10 - 14 | 1,5 heures |
4.3 Niveau de cuisson
Pour régler ou modifier le niveau de cuisson :
Appuyez sur le niveau de cuisson souhaité sur le bandeau de sélection, ou déplacez votre doigt sur le bandeau de sélection jusqu'à atteindre le niveau de cuisson souhaité.

4.4 Démarrage automatique de la cuisson
Activez cette fonction pour obtenir le niveau de cuisson souhaité plus rapidement. Lorsqu'elle est activée, la zone commence par chauffer au niveau de cuisson le plus élevé, puis revient au niveau de cuisson souhaité.

Pour activer la fonction, la zone de cuisson doit être froide.
Pour activer la fonction pour une zone de cuisson : appuyez sur P
s'allume). Réglez immédiatement le niveau de cuisson souhaité. Au bout de 3 secondes, s'allume.
Pour désactiver la fonction : modifiez le niveau de cuisson.
4.5 Fonction booster
Cette fonction vous permet d'augmenter la puissance des zones de cuisson à
induction. La fonction peut être activée pour la zone de cuisson à induction uniquement pour une durée limitée. Lorsque cette durée est écoulée, la zone de cuisson à induction revient automatiquement au niveau de cuisson le plus élevé.

Reportez-vous au chapitre « Caractéristiques techniques »
Pour activer la fonction pour une zone de cuisson : appuyez sur P. s'allume.
Pour désactiver la fonction : modifiez le niveau de cuisson.
4.6 Fonction booster avec zone de cuisson à double circuit
La fonction du circuit intérieur s'active dès que la table de cuisson détecte un récipient dont le diamètre est inférieur à celui du circuit intérieur. La fonction du circuit extérieur s'active dès que la table de cuisson détecte un récipient dont le diamètre est supérieur à celui du circuit intérieur.
Minuteur dégressif
Vous pouvez utiliser cette fonction pour régler la durée de fonctionnement de la zone de cuisson, uniquement pour une session.
Sélectionnez d'abord le niveau de cuisson de la zone de cuisson, puis régalez la fonction.
Pour sélectionner la zone de cuisson : appuyez sur ① à plusieurs reprises jusqu'à ce que l'indicateur de la zone de cuisson correspondante s'affiche.
Pour activer la fonction : appuyez sur la touche + du minuteur pour régler la durée (de 00 à 99 minutes). Lorsque le voyant de la zone de cuisson commence à clignoter lentement, le décompte commence.
Pour voir le temps restant : sélectionnez la zone de cuisson à l'aide
de ①. Le voyant de la zone de cuisson clignote rapidement. L'affichage indique la durée restante.
Pour modifier la durée : sélectionnez la zone de cuisson à l'aide de ①. Appuyez sur + ou -.
Pour désactiver la fonction :
Sélectionnez la zone de cuisson avec ① et appuyez sur —. Le temps restant est décompté jusqu'à 00. Le voyant de la zone de cuisson s'éteint.

Lorsque la durée est écoulée, un signal sonore retentit et 00 clignote. La zone de cuisson se désactive.
Pour arrêter le signal sonore : appuyez sur ①.
Cette fonction permet de vérifier la durée de fonctionnement de la zone de cuisson sélectionnée.
Pour sélectionner la zone de cisson :
appuyez sur ① à plusieurs reprises jusqu'à ce que l'indicateur de la zone de cuisson correspondante s'affiche.
Pour activer la fonction : appuyez sur la touche — du minuteur. UP s'allume.
Lorsque le voyant de la zone de cuisson clignote lentement, le minuteur démarre.
L'affichage indique, en alternance, UP et le nombre de minutes écoulées.
Pour contrôler la durée de fonctionnement de la zone de cuisson sélectionnée : sélectionnez la zone de
cuisson à l'aide de ①. Le voyant de la zone de cuisson clignote rapidement. L'affichage indique la durée de fonctionnement de la zone.
Pour désactiver la fonction :
sélectionnez la zone de cuisson en appuyant sur ① et appuyez sur + ou
Le voyant de la zone de cuisson s'éteint.
Minuterie
Vous pouvez utiliser cette fonction comme minuterie lorsque la table de cuisson est allumée mais que les zones de cuisson ne sont pas activées. L'affichage du niveau de cuisson indique
Pour activer la fonction : appuyez sur ①. Appuyez sur la touche + ou — du minuteur pour régler la durée. Lorsque la durée s'est écoulée, un signal sonore retentit et 00 clignote.
Pour arrêter le signal sonore : appuyez sur ①.

Cette fonction est sans effet sur le fonctionnement des zones de cuisson.
4.8 Verrouillage
Vous pouvez verrouiller le bandeau de commande pendant que les zones de cuisson fonctionnent. Vous éviterez ainsi une modification accidentelle du réglage du niveau de cuisson.
Réglez d'abord le niveau de cuisson.
Pour activer la fonction : appuyez sur +. Le minuteur reste activé.
Pour désactiver la fonction : appuyez sur +. Le niveau de cuisson précédent s'allume.

Lorsque vous éteignez la table de cuisson, cette fonction est également désactivée.
4.9 Dispositif de sécurité enfants
Cette fonction permet d'éviter une utilisation involontaire de la table de cuisson.
Pour activer la fonction : allumez la table de cuisson en appuyant sur ①. Ne sélectionnez pas de réglage de niveau de cuisson. Appuyez sur pendant
4 secondes. L'éclairage s'allume. Éteignez la table de cuisson en appuyant sur ①.
Pour désactiver la fonction : allumez la table de cuisson en appuyant sur ①. Ne sélectionnez pas de réglage de niveau de cuisson. Appuyez sur pendant 4 secondes. L s'allume. Éteignez la table de cuisson en appuyant sur ①.
Pour désactiver la fonction le temps d'une cuisson : allumez la table de cuisson en appuyant sur ①. L s'allume. Appuyez sur pendant 4 secondes. Réglez le niveau de cuisson dans les 10 secondes qui suivent. Vous pouvez utiliser la table de cuisson. Lorsque vous éteignez la table de cuisson avec ①, la fonction est de nouveau activée.
4.10 Offsound Control (activation et désactivation des signaux sonores)
Éteignez la table de cuisson. Appuyez sur ① pendant 3 secondes. L'affichage s'allume, puis s'éteint. Appuyez sur ④ pendant 3 secondes ; ⑤ ou ⑥ s'allume. Appuyez sur la touche + du minuteur pour désirer l'une des options suivantes :
- les signaux sonores sont désactivés
- Les signaux sonores sont activés. Pour confirmer le réglage, attendez que la table de cuisson s’éteigne automatiquement.
Lorsque cette fonction est réglée sur b1, l'appareil émet des signaux sonores uniquement lorsque :
- vous appuyez sur ①
- Minuterie se termine
- Minuteur dégressif se termine
- vous posez un objet sur le bandeau de commande.
4.11 Fonction gestionnaire de puissance
- Des zones de cuisson sont regroupées en fonction de
L'emplacement et du nombre de phases de la table de cuisson. Reportez-vous à l'illustration.
- Chaque phase dispose d'une charge électrique maximale de 3700 W.
- La fonction répartit la puissance entre les zones de cuisson raccordées à la même phase.
- La fonction s'active lorsque la charge électrique totale des zones de cuisson raccordées à une phase simple dépasse 3700 W.
- La fonction diminue la puissance des autres zones de cuisson raccordées à la même phase. L'affichage du niveau de cuisson des zones à puissance réduite oscille entre deux niveaux.

4.12 Hob²hood
Il s'agit d'une fonction automatique de pointe permettant de relier la table de cuisson à une hotte spéciale. La table de cuisson et la hotte ont toutes deux un communicateur à signal infrarouge. La vitesse du ventilateur est automatiquement définie en fonction du réglage du mode et de la température du plat le plus chaud sur la table de cuisson. Vous pouvez également faire fonctionner manuellement le ventilateur de la table de cuisson.

Sur la plupart des hottes, le système de commande à distance est désactivé par défaut. Activez-le avant d'utiliser cette fonction. Pour plus d'informations, reportez-vous au manuel d'utilisation de la hotte.
Activation automatique de la fonction
Pour activer automatiquement la fonction, régalez le mode automatique sur H1 - H6. La table de cuisson est réglée au départ sur H5. La hotte réagit chaque fois que vous utilisez la table de cuisson. La table de cuisson détecte automatiquement la température du récipient et ajuste la vitesse du ventilateur.
Modes automatiques
| Éclair- age au- tomati- que | Faire bouillir1) | Faire frite2) | |
| Mode H0 | Désac. | Désac. | Désac. |
| Mode H1 | On | Désac. | Désac. |
| Mode H23) | Vitesse du venti- lateur 1 | Vitesse du venti- lateur 1 | |
| Mode H3 | On | Désac. | Vitesse du venti- lateur 1 |
| Mode H4 | On | Vitesse du venti- lateur 1 | Vitesse du venti- lateur 1 |
| Mode H5 | On | Vitesse du venti- lateur 1 | Vitesse du venti- lateur 2 |
| Mode H6 | On | Vitesse du venti- lateur 2 | Vitesse du venti- lateur 3 |
1) La table de cuisson détecte le processus d'ébullition et sélectionne la vitesse du ventilateur en fonction du mode automatique. 2) La table de cuisson détecte le processus de friture et sélectionne la vitesse du ventilateur en fonction du mode automatique. 3) Ce mode active le ventilateur et l'éclairage, sans tenir compte de la température.
Modification du mode automatique
- Éteignez l'appareil
- Appuyez sur ① pendant 3 secondes. L'affichage s'allume, puis s'éteint.
- Appuyez sur pendant 3 secondes.
- Appuyez plusieurs fois sur ① jusqu'à ce que H s'affiche.
- Appuyez sur la touche + du minuteur pour sélectionner un mode automatique.

Pour faire fonctionner directement la hotte, désactivez le mode automatique de la fonction sur le bandeau de commande de la hotte.

Lorsque la cuisson est terminée et que vous désactivez la table de cuisson, le ventilateur de la hotte peut continuer de fonctionner pendant un certain temps. Au bout d'un moment, le système désactive automatiquement le ventilateur et vous empêche de l'activer accidentellement durant les 30 secondes qui suivent.
Activation manuelle de la vitesse du ventilateur
Vous pouvez également activer la fonction manuelle. Pour ce faire, appuyez sur la touche lorsque la table de cuisson est allumée. Cela désactive le fonctionnement automatique de la fonction et vous permet de modifier manuellement la vitesse du ventilateur.
En appuyant sur la touche , la vitesse du ventilateur est augmentée d'un palier. Lorsque vous atteignez un niveau intensif et que vous appuyez sur la touche à nouveau, la vitesse du ventilateur revient à 0, désactivant ainsi le ventilateur de la hotte. Pour réactiver le ventilateur à vitesse 1, appuyez sur la touche .

Pour activer le fonctionnement automatique de la fonction, éteignez puis rallumez la table de cuisson.
Activation de l'éclairage
Vous pouvez régler la table de cuisson pour activer automatiquement l'éclairage
Dès que la table de cuisson est allumée. Pour ce faire, réglez le mode automatique sur H1 - H6.

L'éclairage de la hotte s'éteint 2 minutes après avoir éteint la table de cuisson.

Avertissement!
Reportez-vous aux chapitres concernant la sécurité.
5.1 Fonction flexibridge
La zone de cuisson à induction flexible est composée de quatre sections. Les sections peuvent être associées en deux zones de cuisson de taille différente ou en une seule grande zone de cuisson. Vous désirez l'association des sections en sélectionnant le mode qui correspond aux dimensions de l'ustensile que vous souhaitez utiliser. Trois modes sont proposés: Standard (s'active automatiquement lorsque vous allumez la table de cuisson), Big Bridge et Max Bridge.

Pour régler le niveau de cuisson, utilisez deux bandeaux de sélection du côté gauche.
Basculement entre les modes
Pour basculer entre les modes, utilisez la touche sensitive :


Lorsque vous basculez entre les modes, le niveau de cuisson revient à 0.
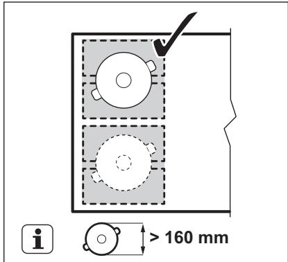
Diamètre et position de l'ustensile
Choisissez le mode qui correspond aux dimensions et à la forme de l'ustensile. L'ustensile doit recouvrir le plus possible
la zone sélectionnée. Placez l'ustensile au centre de la zone sélectionnée !
Placez l'ustensile avec un fond de moins de 160 mm de diamètre au centre sur une seule section.

Placez l'ustensile avec un fond de plus de 160 mm de diamètre au centre entre deux sections.

5.2 Mode standard flexibridge
Ce mode s'active lorsque vous allumez la table de cuisson. Il relie les sections en deux zones de cuisson distinctes. Vous pouvez régler le niveau de cuisson séparément pour chaque zone. Utilisez deux bandeaux de sélection du côté
gauche.


Mauvaise position du récipient :

Pour activer ce mode, appuyez jusqu'à ce que le voyant de mode correspondant s'allume. Ce mode relie trois sections d'arrêt en une seule zone de cuisson. La seule section avant n'est pas reliée et fonctionne comme une zone de cuisson séparée. Vous pouvez régler le niveau de cuisson séparément pour chaque zone. Utilisez deux
bandeaux de sélection du côté gauche.

Bonne position du récipient :
Pour utiliser ce mode, vous devez placer l'ustensile sur les trois sections fusionnées. Si vous utilisez un récipient plus petit que les deux sections, l'affichage indique et la zone s'éteint au bout de 2 minutes.


5.4 Flexibridge mode max bridge
Pour activer ce mode, appuyez jusqu'à ce que le voyant de mode correspondant s'allume. Ce mode fusionne toutes les sections en une seule zone de cuisson. Pour régler le niveau de cuisson, utilisez un des bandeaux de sélection de gauche.

Bonne position du récipient :
Pour utiliser ce mode, vous devez placer l'ustensile sur les quatre sections fusionnées. Si vous utilisez un récipient plus petit que les trois sections, l'affichage indique F et la zone s'éteint au bout de 2 minutes.


5.5 Fonction powerpoint
Cette fonction vous permet de régler la température en déplaçant l'ustensile à un autre endroit de la zone de cuisson à induction.
Cette fonction divise la zone de cuisson à induction en trois zones ayant chacune un niveau de cuisson différent. La table de cuisson détecte la position du récipient et ajuste le niveau de cuisson.
en fonction de sa position. Vous pouvez placer l'ustensile à l'avant, au milieu ou à l'arrière. Si vous posez le récipient à l'avant, le niveau de cuisson le plus élevé est sélectionné. Vous pouvez baisser le niveau de cuisson en déplaçant l'ustensile sur la position du milieu ou la position arrière.

N'utilisez qu'un seul récipient lorsque vous utilisez cette fonction.

Informations générales :
- Le fond de l'ustensile doit avoir un diamètre minimal de 160mm pour cette fonction.
- L'affichage du niveau de cuisson pour le bandeau de sélection avant gauche indique la position de l'ustensile sur la zone de cuisson à induction. Avant 1 -, milieu 1 -, arrêté 1_-.

- L'affichage du niveau de cuisson pour le bandeau de sélection avant gauche indique le niveau de cuisson. Pour changer le niveau de cuisson, utilisez le bandeau de sélection avant gauche.
- Lorsque vous activez cette fonction pour la première fois, les niveaux de cuisson sont 14 pour la position avant, 9 pour la position du milieu et 3 pour la position arrière.

Vous pouvez changer les niveaux de cuisson séparément pour chaque position. La table de cuisson se souviendra des niveaux de cuisson la prochaine fois que vous activerez cette fonction.

Avertissement!
Reportez-vous aux chapitres concernant la sécurité.
6.1 Ustensiles de cuisson

Sur les zones de cuisson à induction, un champ électromagnétique puissant chauffe les récipients très rapidement.

Utilisez des récipients adaptés aux zones de cuisson à induction.
Matériaux des récipients
- adaptations : fonte, acier, acier émaillé, acier inoxydable, fond multicouche (homologué par le fabricant).
- inadaptés : aluminium, cuivre, laiton, verre, céramique, porcelaine.
Les plats de cuisson conviennent pour l'induction si :
- une petite quantité d'eau contenue dans un récipient chauffe dans un bref laps de temps sur une zone de cuisson réglée sur le niveau de cuisson maximal.
- Un aimant adhère au fond du récipient.
Activation de la fonction
Pour activer la fonction, posez correctement le récipient sur la zone de cuisson. Appuyez sur 3. Le voyant situé au-dessus du symbole s'allume. Si vous ne placez pas l'ustensile sur la zone de cuisson, s'allume et, au bout de 2 minutes, la zone de cuisson à induction flexible est réglée sur 0.
Déactualisation de la fonction
Pour désactiver la fonction, appuyez sur ou réglez le niveau de cuisson sur 0. Le voyant situé au-dessus du symbole s'éteint.

L'impression de la zone de cuisson à induction flexible peut se salir ou changer de couleur en déplaçant le récipient. Vous pouvez nettoyer cette zone normalement.

Le fond de l'ustensile de cuisson doit être aussi plat que possible.
Dimensions de l'ustensile
Les zones de cuisson à induction s'adaptent automatiquement au diamètre du fond du récipient utilisé, jusqu'à une certaine limite.
L'efficacité de la zone de cuisson est liée au diamètre du récipient. Un récipient plus petit que le diamètre minimal recommandé ne reçoit qu'une petite partie de la puissance générée par la zone de cuisson.

Reportez-vous au chapitre « Caractéristiques techniques »
6.2 Bruits pendant le fonctionnement
Si vous entendez :
- un craquement : le récipient est composé de différents matériaux (conception « sandwich »).
- un sifflement : vous utilisez la zone de cuisson avec un niveau de puissance élevé et le récipient est composé de différents matériaux (conception « sandwich »).
- un bourdonnement : vous utilisez un niveau de puissance élevé.
- un cliquetis : des commutations électriques se produisent.
- un sifflement, un bourdonnement : le ventilateur fonctionne.
6.3 Eco timer (minuteur éco)
Pour réaliser des économies d'énergie, la zone de cuisson se désactive
automatiquement avant le signal du minuteur. La différence de temps de fonctionnement dépend du niveau et de la durée de cuisson.
6.4 Exemples de cuisson
Le rapport entre le niveau de cuisson et la consommation énergétique de la zone de cuisson n'est pas linéaire. Lorsque vous augmentez le niveau de cuisson, l'augmentation énergétique de la zone de cuisson n'est pas proportionnelle. Cela signifie que la zone de cuisson utilisée a un niveau de cuisson moyen utilise moins de la moitié de sa puissance.

Les valeurs figurant dans le tableau suivant sont fournies à titre indicatif.
| Niveau de cuisson | Utilisation : | Durée (min) | Conseils |
| -1 | Conserve les aliments cuits au chaud. | au be-soin | Placez un couvercle sur le ré-cipient. |
| 1 - 3 | Sauce hollandaise, faire fon-dre : beurre, chocolat, gélat-ine. | 5 - 25 | Mélangez de temps en temps. |
| 1 - 3 | Solidifier : omelettes, øefs co-cotte. | 10 - 40 | Couvrez pendant la cuisson. |
| 3 - 5 | Faire moyen des plats à base de riz et de la laitage, réchauffer des plats cuisinés. | 25 - 50 | Ajoutez au moins deux fois plus d'eau que de riz. Remuez les plats à base de lait durant la cuisson. |
| 5 - 7 | Cuire à la vapeur des légumes, du poisson et de la viande. | 20 - 45 | Ajoutez quelques cuillerées de liquide. |
| 7 - 9 | Cuire des pommes de terre à la vapeur. | 20 - 60 | Utilisez max. ¼ l'eau pour 750 g de pommes de terre. |
| 7 - 9 | Cuire de grandes quantités d'aliments, des ragôuts et des soupes. | 60 - 150 | Ajoutez jusqu'à 3 litres de liq-uide, plus les ingrédients. |
| 9 - 12 | Faire revenir : escalopes, cor-dons bleus de veau, côtelettes, rissolettes, saucisses, foie, roux, øefs, crépes, beignets. | au be-soin | Retournez à la moitié du temps. |
| 12 - 13 | Cuisson à température élevé des pommes de terre rissolées, filets, steaks. | 5 - 15 | Retournez à la moitié du temps. |
| 14 | Faire bouillir de l'eau, cuire des pâtes, griller de la viande (goulasch, bœuf braisé), cuire des frites. | ||
| P | Faire bouillir une grande quantité d'eau. La fonction Booster est activée. | ||
6.5 Conseils pour la fonction HOB2HOOD
Lorsque vous faites fonctionner la table de cuisson avec la fonction :
- Protégez le bandeau de commande de la hotte des rayons directs du soleil.
- Ne dirigez pas de lumière halogène sur le bandeau de commande de la hotte.
- Ne recouvrez pas le bandeau de commande de la table de cuisson.
- N'interrompez pas le signal entre la table de cuisson et la hotte (par exemple avec une main ou une poignée d'ustensile de cuisine). Observez l'image. La hotte de l'illustration n'est donnée qu'à titre d'exemple.


Il peut arriver que d'autres appareils contrôlés à distance bloquent le signal. Pour éviter cela, ne faites pas fonctionner la commande à distance des autres appareils et la table de cuisson en même temps.
Hottes de cuisine dotées de la fonction hob²hood
Pour trouver la gamme complète des hottes qui sont dotées de cette fonction, consultez notre site web destiné aux consommateurs. Les hottes AEG qui sont dotées de cette fonction doivent avoir le symbole .

Avertissement!
Reportez-vous aux chapitres concernant la sécurité.
7.1 Informations générales
- Nettoyez la table de cuisson après chaque utilisation. Utilisez toujours un plat de cuisson dont le fond est propre.
- Les rayures ou les taches sombres sur la surface n'ont aucune incidence sur le fonctionnement de la table de cuisson. Utilisez un nettoyant spécifique adapté à la surface de la table de cuisson. Utilisez un racloir spécial pour la vitre.
7.2 Nettoyage de la table de cuisson
- Enlevez immédiatement : plastique fondu, films plastiques, sucre et
aliments contenant du sucre. Sinon, la saleté pourrait endommager la table de cuisson. Veillez à ne pas vous brûler. Tenez le racloir spécial incliné sur la surface vitrée et faites glisser la lame du racloir pour enlever les salissures.
- Une fois que la table de cuisson a suffisamment refroidi, enlevez : traces de calcaire et d'eau, projections de graisse, décolorations métalliques luisantes. Nettoyez la table de cuisson à l'aide d'un chiffon humide et d'un détergent non abrasif. Après le nettoyage, séchez la table de cuisson à l'aide d'un chiffon doux. Pour retirer les décolorations métalliques brillantes : utilisez une solution d'eau additionnée de vinaigre et nettoyez la surface vitrée avec un chiffon humide.

Avertissement!
Reportez-vous aux chapitres
concernant la sécurité.
8.1 En cas d'anomalie de fonctionnement
| Problème | Cause probable | Solution |
| Vous ne pouvez pas allumer la table de cuisson ni la faire fonctionner. | La table de cuisson n'est pas connectée à une source d'alimentation électrique ou le branchement est incor-rect. | Vérifiez que la table de cuisson est correctement branched à une source d'alimentation électrique. Consultez le schéma de raccordement. |
| Le fusible a disjoncté. | Vérifiez que le fusible est bi-en la cause de l'anomalie. Si les fusibles disjonctent de manière répétée, faites ap-pel à un électricien qualifié. | |
| Allumez de nouveau la table de cisson et réglez le ni-veau de cisson en moins de 10 secondes. | ||
| Vous avez appuyé sur plu-sieurs touches sensitives en même temps. | N'appuyez que sur une seule touche sensitive à la fois. | |
| Il y a de l'eau ou des taches de graisse sur le bandeau de commande. | Nettoyez le bandeau de commande. | |
| Un signal sonore retentit et la table de cisson s'éteint. Un signal sonore retentit lorsque la table de cisson est éteinte. | Vous avez posé quelques chose sur une ou plusieurs touches sensitives. | Retirez l'objet des touches sensitives. |
| La table de cisson est dé-sactivée. | Vous avez posé quelques chose sur la touche sensitive ①. | Retirez l'objet de la touche sensitive. |
| Le voyant de chaleur rési-duelle ne s'allume pas. | La zone de cisson n'est pas chaude parce qu'elle n'a fonctionné que peu de temps. | Si la zone de cisson a eu assez de temps pourCHAuffer, faites appel à votre service après-vente agréé. |
| La fonction Hob2Hood ne fonctionne pas. | Vous avez couvert le ban-deau de commande. | Retirez l'objet du bandeau de commande. |
| La fonction de démarrage automatique de la cisson ne fonctionne pas. | La zone est chaude. | Laissez la zone de cisson refroidir. |
| Le niveau de cisson le plus élevé est réglé. | Le niveau de cisson le plus élevé est identique à la fon-cion. | |
| Le niveau de cisson oscille entre deux niveaux. | Le dispositif de gestion de la puissance est activé. | Reportez-vous au chapitre « Utilisation quotidienne » . |
| Les touches sensitives sont chaudes. | Le rècipient est trop grand ou vous l'avez placé tropures des commandes. | Placez les réciPIents de grande taille sur les zones de cisson arrêté, si possi-ble. |
| Aucun signal sonore ne se fait entendre lorsque vous appuyez sur les touches sens-itives du bandeau. | Les signaux sonores sont dé-sactivés. | Activez les signaux sonores.Reportez-vous au chapitre « Utilisation quotidienne » . |
| La zone de cuisson à induc- tion flexible ne chauffe pas le récipient. | Le récipient est mal posi- tionné sur la zone de cuisson à induction flexible. | Replacez le récipient dans la bonne position sur la zone de cuisson à induction flexi- ble. La position du récipient dépend de la fonction ou du mode de fonctionnement activés. Reportez-vous au chapitre « Zone de cuisson à induc- tion flexible ». |
| Le diamètre du fond du ré- cipient ne correspond pas à la fonction ou au mode de fonctionnement activés. | Utilisez un récipient dont le fond est d'un diamètre adapté à la fonction ou au mode de fonctionnement activés. Utilisez un récipient dont le fond est d'un diamè- tre inférieur à 160 mm sur une seule section de la zone de cuisson à induction flexi- ble. Reportez-vous au chapitre « Zone de cuisson à induc- tion flexible ». | |
| - s'allume. | La fonction Arrêt automa- tique est activée. | Éteignez la table de cuisson puis allumez-la de nouveau. |
| L s'allume. | Le dispositif de sécurité en- fants ou de verrouillage est activé. | Reportez-vous au chapitre « Utilisation quotidienne ». |
| F s'allume. | Il n'y a pas de récipient sur la zone de cuisson. | Placez un récipient sur la zone de cuisson. |
| Le récipient n'est pas adapté. | Utilisez un récipient adapté. Reportez-vous au chapitre « Conseils ». | |
| Le diamètre du fond du ré- cipient de cuisson est trop petit pour la zone de cis- son. | Utilisez un récipient de di- mensions appropriées. Reportez-vous au chapitre « Caracteristiques techni- ques ». | |
| La fonction FlexiBridge est activée. Une ou plusieurs sections du mode de fonctionnement en cours ne sont pas couvertes par le réseau. | Placez le réseau sur le bon nombre de sections du mode de fonctionnement en cours, ou changez le mode de fonctionnement. Reportez-vous au chapitre « Zone de cuisson à induction flexible ». | |
| La fonction PowerPoint est activée. Deux récipients sont posés sur la zone de cuisson à induction flexible. | N'utilise qu'un seul réseau. Reportez-vous au chapitre « Zone de cuisson à induction flexible ». | |
| E et un chiffre s'affichent. | Une erreur s'est produit dans la table de cuisson. | Débranchez la table de cuisson de l'alimentation électrique pendant quelques minutes. Déconnectez le fuse de l'installation domestique. Rebranchez l'appareil. Si E s'affiche à nouveau, faites appel au service après-venture agréé. |
| E4 s'allume. | Une erreur s'est produit dans la table de cuisson car un réseau aCHAFFÉ à vide. La fonction Arrêt automatique et la protection anti-surchauffe des zones sont activées. | Éteignez la table de cuisson. Enlevez le réseau chaud. Au bout d'environ 30 secondes, remette la zone de cuisson en fonctionnement. Si le réseau était bien le problème, le message d'erreur disparait. Le voyant de chaleur résiduelle peut rester allumé. Laissez le réseau de cuisson refroidir. Véri-fiez que le réseau est compatible avec la table de cuisson. Reportez-vous au chapitre « Conseils ». |
8.2 Si vous ne trouvez pas de solution...
Si vous ne trouvez pas de solution au problème, veuillez contacter votre revendeur ou un service après-vente agréé. Veuillez lui fournir les informations se trouvant sur la plaque signalétique. Donnez également la combinaison à
3 lettres et chiffres pour la vitrocéramique (située dans un des coins de la surface en verre) et le message d'erreur qui s'affiche. Assurez-vous d'utiliser correctement l'appareil. En cas d'erreur de manipulation de la part de l'utilisateur, le déplacement du technicien du service après-vente ou du vendeur pourra être factué, même en
cours de garantie. Les instructions relatives au service après-vente et aux

Avertissement!
Reportez-vous aux chapitres concernant la sécurité.
9.1 Avant l'installation
Avant d'installer la table de cuisson, notez les informations de la plaque signalétique ci-dessous. La plaque signalétique se trouve au bas de la table de cuisson.
Numéro de série
9.2 Tables de cuisson intégrées
Les tables de cuisson encastrables ne peuvent être mises en fonctionnement
9.4 Montage

conditions de garantie figurent dans le livre de garantie.
qu'après avoir été installés dans des meubles et sur des plans de travail homologués et adaptations.
9.3 Câble d'alimentation
- La table de cuisson est fournie avec un câble d'alimentation. Pour remplacer le câble d'alimentation endommagé, utilisez le type de câble suivant (ou supérieur) : H05V2V2-F T min. 90°C. Contactez votre service après-vente.






10.1 Plaque signalétique
Modèle HKP65310FB
Type 60 GAD CL AU
Induction 7.4 kW
Numéro de série....
AEG
PNC 94959707702
220 - 240 V 50 - 60 Hz
Fabriqué en Allemagne
7.4 kW

10.2 Caractéristiques des zones de cuisson
| Zone de cuisson | Puisance nom-inale (niveau de cuisson max.) [W] | Fonction Boos-ter [W] | Fonction Boos-ter durée maxi-male [min] | Diamètre du ré-cipient [mm] |
| Avant droite | 1800 | 2800 | 5 | 145 - 245 |
| 3500 | 3700 | 5 | 245 - 280 | |
| Zone de cuisson à induction flexible | 2300 | 3200 | 10 | minimum 100 |
La puissance des zones de cuisson peut légèrement différer des données du tableau. Elle dépend de la matière et des dimensions du récipient.
Pour des résultats de cuisson optimaux, utilisez des récipients qui ne dépassent pas les diamètres indiqués dans le tableau.
11.1 Informations de produit selon la norme EU 66/2014
| Identification du modèle | HKP65310FB | |
| Type de table de cuisson | Table de cuisson intégrée | |
| Nombre de zones de cuisson | 1 | |
| Nombre de zones de cuisson | 1 | |
| Technologie de chauffage | Induction | |
| Diamètre des zones de cuisson circulaires (Ø) | Avant droite | 28,0 cm |
| Longueur (L) et largeur (l) de la zone de cuisson | Gauge | L 45.3 cm I 21.5 cm |
| Consummation d'énergie selon la zone de cuisson (EC electric cooking) | Avant droite | 167,4 Wh / kg |
| Consummation d'énergie de la zone de cuisson (EC electric cooking) | Gauche | 177,6 Wh / kg |
| Consummation d'énergie de la table de cuisson (EC electric hob) | 175,0 Wh / kg | |
EN 60350-2 - Appareils de cuisson domestiques électriques - Partie 2 : Tables de cuisson - Méthodes de mesure des performances
11.2 Économie d'énergie
Economisez de l'énergie au quotidien en suivant les conseils suivants.
- Si vous faites chauffer de l'eau, ne faites chauffer que la quantité dont vous avez réellement besoin.
- Si possible, couvrez toujours les récipients de cuisson avec un couvercle pendant la cuisson.
- Activez toujours la zone de cuisson après avoir posé le récipient dessus.
- Placez les plus petits récipients sur les plus petites zones de cuisson.
- Placez directement le récipient au centre de la zone de cuisson.
- Vous pouvez utiliser la chaleur résiduelle pour conserver les aliments au chaud ou pour faire fondre.
12. En matière de protection de l'environnement
Recyclez les matériaux portant le symbole . Déposez les emballages dans les conteneurs prévus à cet effet. Contribuez à la protection de l'environnement et à votre sécurité, recyclez vos produits électriques et
électroniques. Ne jetez pas les appareils portant le symbole à avec les ordures ménagères. Emmenez un tel produit dans notre centre local de recyclage ou contactez vos services municipaux.
- INFORMACION SOBRE SEGURIDAD 29
- DESCRIPCION DEL PRODUCTO 33 4. USO DIARIO 35
- ZONA DE COCCION FLEXIBLE DE INDUCTION 39
- CONSEJOS 43
- MANTENIMIENTO Y LIMPIEZA 45 8. SOLUCION DE PROBLEMAS 46
- INSTALLACION 49 10. DATOS TECNICOS. 51
- EFICACIA ENERGÉTICA 51
Notice Facile