H34T - Poêle à bois HANDOL - Notice d'utilisation et mode d'emploi gratuit
Retrouvez gratuitement la notice de l'appareil H34T HANDOL au format PDF.
| Type d'appareil | Poêle à bois |
| Puissance nominale | Non précisé |
| Rendement | Non précisé |
| Capacité du foyer | Non précisé |
| Matériau principal | Acier et céramique |
| Dimensions (HxLxP) | Non précisé |
| Poids | Non précisé |
| Type de porte | Vitre en verre céramique |
| Type de combustion | Combustion propre |
| Sortie des fumées | Sur le dessus |
| Type de chargement | Chargement frontal |
| Utilisation | Chauffage domestique |
| Normes | Non précisé |
| Accessoires inclus | Non précisé |
| Couleur | Blanc et noir |
| Marque | Non précisé |
FOIRE AUX QUESTIONS - H34T HANDOL
Questions des utilisateurs sur H34T HANDOL
0 question sur cet appareil. Repondez a celles que vous connaissez ou posez la votre.
Poser une nouvelle question sur cet appareil
Téléchargez la notice de votre Poêle à bois au format PDF gratuitement ! Retrouvez votre notice H34T - HANDOL et reprennez votre appareil électronique en main. Sur cette page sont publiés tous les documents nécessaires à l'utilisation de votre appareil H34T de la marque HANDOL.
MODE D'EMPLOI H34T HANDOL
Bienvenue dans la famille Handol. Nous espérons que vous poêle vous donnera entière satisfaction. Notre choix tímoigne d'un grand souci de la qualité et de l'esthétique. Notre nouveau poêle Handol est doté d'un design intemporel qui seraapprochéé pendant toute sa longue durée de vie.
C'est aussi un mode de chauffage efficace et respectieux de l'environnement.
Avant de procéder à son installation, veuillez lire attentivement les instructions fournies. Veuillez également lire préalablement le document relatif à la première flambée et à l'utilisation du poèle.
AVERTISSEMENT!
Lorsque le feu brûle, certaines surfaces du poèle deviennent très chaudes et peuvent provoquer des brûlures. Une importante quantité de chaleur rayonne par la vitre du poèle. Éloigner les matériaux inflammables à une distance de sécurité suffisante. L'allumage de bûches peut dégager de la fumée épaisse, avec risque d'inflammation rapide de gaz susceptible d'être à l'origine de blessures et de dégâts matériel.
SOMMAIRE
Généralités 76
Distances d'installation par rapport
aux murs et au plafond 77
Arrivée d'air 79
Démontage des éléments libres 80
Raccordement à la cheminée 82
Montage du parement 34T 84
Montage du parement 35T 88
Montage des accessoires · réservoir de chaleur 94
Généralités
Cette notice contient les instructions de montage et d'installation de la gamme de poêles Handöl 30. Pour garantir le fonctionnement et la sécurité du poêle, il est recommendé de le faire installer par un professionnel. Nos distributeurs Handöl peuvent vous aider à couver un monteur agréé. Rendez-vous sur notre site www.handol.eu pour localiser un distributeur.
Des instructions d'allumage et d'utilisation sont également fournies avec le poèle. Lisez-les attentivement et conservez-les pour les consulter ultérieurement.
Le poèle est de type agréé et doit être raccordé à une cheminée dimensionnée pour une température minimale de 350^ dont le diamètre externe est de 150 mm. L'air de combustion doit provenir de l'extérieur.
Caracteristiques techniques
| Puissance | 3-7 kW |
| Puissance nominale | 5 kW |
| Rendement jusqu'à 80% | |
| Modèle | 34T | 35T |
| Poids [kg] | 320 | 250 |
| Largeur [mm] | 550 | 550 |
| Profondeur [mm] | 430 | 430 |
| Hauteur [mm] | 1600 | 1600 |
| Pierres collaires [kg] | 70 | 70 |
Diamètre externe du manchon de raccordement 150mm Type agrée selon :
Norme européenne EN-13240
Label P délivré par l'Institut suédois de qualité et
d'environnement, no de certification 0112/07
Norme norvégienne NS 3059, SINTEF 110-0275
Norme allemande DIN 18.891, RRF -40 07 13 90
Déclaration de construction
L'installation du foyer et la réalisation de la cheminée exigent le dépôt d'une déclaration de construction aux autorités compétentes. Pour obtenir des conseils et des instructions sur cette déclaration, nous vous incitons à prendre contact avec votre administration communale responsable de l'urbanisme.
Structure portante
S'assurer que le solivage en bois du plancher supporte la charge du poèle et de la cheminée. Le poèle et la cheminée s'installent en général sans problème dans une habitation unifamiliale, lorsque leur poids ne dépasse pas 400 kg.
Plaque de sol
Protégé le sol contre les projections de braises en posant une plaque sous le poèle. Lorsque le sol sous le poèle est inflammable, le protégé à l'aide d'un matériel ininflammable dépassant au minimum de 300 mm à l'avant et 100 mm de chaque côte. La plaque de sol poursra être constituée d'une pierre naturelle, d'une chape en béton ou d'une plaque métallique de 0,7 mm d'épaisseur. Une plaque de sol en acier peint ou en verre est disponible comme accessoire.
Cheminée
Le poèle exige un tirage de minimum -12 Pa dans la cheminée. Le tirage est influencé la longueur de la cheminée ainsi que par sa section et son étanchéité. La longueur minimale recommends pour une cheminée est de 3,5 m et la section transversale de 150-200 cm² (140-160 mm de diamètre). Vérifier soigneusement que la cheminée est étanche et qu'il n'y a pas de fuites au niveau des trappes de ramonage et des raccordements.
Noter qu'une gaine fortement coudee et comportant des sections horizontales reduit fortement le tirage de la cheminee. Ne pas depasser 1 m de gaine horizontale, pour autant que l'on dispose d'une longueur verticale d'au moins 5 m. Il doit etre possible de ramoner la gaine sur toute sa longueur et les trappes a suite doivent etre aisement accessibles.

Distances d'installation par rapport aux murs et au plafond
H34T

Plafond inflammable
Installer le poèle sur une plaque de sol et vérifier que les distances d'installation mentionnées dans les schémas sont respectées. Prévoir une distance minimale de 1 mètre entre l'ouverture du poèle et les éléments inflammbables du batiment ou du décor.
Pour un raccordement de la gaine d'évacuation par le haut du poèle, voir les instructions d'installation correspondantes. Respecter les distances de sécurité applicables aux gains en acier par rapport aux éléments combustibles.




Mur pare-feu en birque

Mur pare-feu en birque
Distances d'installation par rapport aux murs et au plafond
H35T

Installer le poèle sur une plaque de sol et vérifier que les distances d'installation mentionnées dans les schémas sont respectées. Prévoir une distance minimale de 1 mètre entre l'ouverture du poèle et les éléments inflammbables du bâtiment ou du décor.
Pour un raccordement de la gaine d'évacuation par le haut du poèle, voir les instructions d'installation correspondantes. Respecter les distances de sécurité applicables aux gains en acier par rapport aux éléments combustibles.





Arrivée d'air
L'air de combustion peutvenirdirectement par une gaine connectee à l'extérieur. Il peut égalementvenirde maniereindirectevia un évent pratiquedansle mur extérieurde la piece ou estinstallélepoèle.La combustion consomme environ 25m^3 d'airparheure.
Ci-contre, à droite, quelques exemple d'installation.
Le diamètre extérieur du manchon de raccordement au poèle est de 64 mm.
Dans les zones chaudes, la gaine doit être calorifugée à l'aide de 30 mm de laine minérale recouverte d'un pare-vapeur (en plastique). Utiliser un joint composé pour étancher le raccord entre la gaine et le mur (ou le sol). Lorsque la gaine se branchant sur la cheminée mesure plus de 1 mètre de long, augmenter son diamètre à 100 mm et utiliser un évén mural plus large.
Une gaine d'arrivée d'air de 1 mètre avec calorifugeage anticondensation est disponible en accessoire.
Plaque à défoncer
Pour raccorder la gaine d'arrivée d'air, defoncer au marteau le trou prépercé sur la plaque de sol ou sur le pied du poèle. Veiller à protéger le sol.





Déballage
Le poèle est boulonné à l'aide de quatre équérres de fixation. Desserrer les vis et retarder les équérres.
Avant d'utiliser le poèle pour la première fois, l'installation devra être inspectée par un ramoneur habilité.
Lire attentivement les « Instructions d'allumage et le mode d'emploi » du Handel série 30 avant d'allumer le poèle.

Démontage des éléments libres


Ramonage
Le déflecteur de fumée doit être déposé pour le ramonage. Sur le poèle Handöl 30, il suffit de soulever le déflecteur et de retarder l'élement latéral. Abaisser ensuite le déflecteur et retarder les pieces restantes. Manipuler les éléments avec précaution.
Porte à fermetre automatique
Le poèle est doté d'un ressort assurant la fermeture automatique de la porte du foyer. Ce ressort se trouve au-dessus de la protection contre le rayonnement. La force de fermeture de la porte se règle en déplaçant le ressort entre les trois crochets réalisés dans le bras de levier. L'inclinaison du poèle influe également sur la force de fermeture du ressort.
Si la force du ressort semble faible, bien que le ressort ait eté fixé sur le dernier crochet du bras de levier, il convient de vérifier l'angle d'inclinaison du poèle.

Plaques signalétiques
A la livraison, le poèle est fourni avec deux plaques signalétiques. Une pour le poèle et l'autre pour le jeu de parement.

Raccordement à la cheminée
Pour l'installation de la cheminée, nous recommendons de consulter les instructions d'installation de cette dernière. Les méthodes de raccordement à la cheminée sont décrites ci-après.
À la livraison, le poèle est préparé pour être raccordé par le haut. Lorsque le poèle est raccordé par l'arrête, il suffit d'intervertir le manchon et le couvercle.
Raccordement par le haut
Lors de raccordement à la cheminée par le haut, tout le parement devra être monté avant le montage de la cheminée. Le montage du parement pour chaque modèle respectif est précrit plus avant dans les générées instructions.
Emboîter le raccord sur le poèle. Contrôler que le joint du connecteur est intact et correctement positionné. Monter la rondelle de butée sur le collier du raccord. Le manchon doit venir s'appuyer sur le dessus du poèle. Poursuivre le montage des éléments restant de la cheminée. Le manchon couvre la partie inférieure du raccord et simplifie les travaux d'entretien.


Raccordement à la cheminée
Raccordement par l'arrête à une cheminée de maçonneorie
Repérez l'endetroit où sera perché le mur pour installer la gaine.
Vérifiez que la hauteur de raccordement dans le corps de cheminée correspond à la hauteur de sortie de la gaine dans le poële.

Pratique un trou d'environ 180 mm de diamètre.

Cimentez ensuite le raccord mural à l'aide de mortier réfractaire (non fourni).

Laissez secher le mortier avant de raccorder le poèle à la cheminée.

Retirer au marteau le cercle prépercé situé sur la face arrière du poèle, puis découverta protection contre le rayonnement au dos de la face arrière.

Monter la plaque arrête et positionner le raccord sur le manchon. Veiller à ce que le joint reste bien en place. Le montage du parement pour chaque modèle respectif est décrit plus avant dans les générantes instructions.

Calfater la gaine et le connecteur dans le mur à l'aide du joint fourni. Si le joint fourni ne suffit pas, utiliser un matérieliau résistant à la chaleur.
Montage du parement
Handöl 34T

Sortir le lot de parement, la grille et la la partie supérieure de leur emballage.
- Lire tout le chapitre concernant le montage du parement. S'assurer à la livraison que toutes les pieces ont été livrées et qu'elle sont intactes. Manipuler les éléments avec précaution.
- Placer le poêle sur la plaque de sol et vérifier les distances d'installation.

Placer la plaque de fond sur le sol selon les cotes d'installation. Vérifier qu'elle est bien horizontal, utiliser des cales ou des rondelles si besoin. Fixer les plaques signalétiques sur le dessus de la plaque de fond, selon la figure.

Le numero des pierres est indiqued dans la figure. Nous recommendons que les pierres soient montées dans l'ordre indiqued dans les pages suivantes
Prendre soit de la pierre allaire! Elle se raye facilement et laGRAISSÉ la tache facilement. Les petites taches de GRAISSÉ peuvent être nettoyées avec de l'acétone pur.

Placer le poêle sur la plaque de fond de sorte que les pieds en plastique se positionnent dans les encoches.

Régler de manière à Obtir 429 mm entre le sol et le bord inférieur de la porte. S'assurer que le que le poèle est en position verticale.
3

Serrer 4 vis M6x20 de quelques tours dans le cadre supérieur et positionner ce dernier pour que les vis correspondent aux rainures.
(4)

Guider les tenons des profilés latéraux arrêté dans la plaque de fond et les accrocher dans le cadre supérieur.
5

Guider les tenons des profilés latéraux avant dans la plaque de fond et les accrocher dans le cadre supérieur. Serrer les vis du cadre supérieur.
6

Monter la plaque arrrière en l'accrochant dans les trous des profilés lateraux. Si le poèle est raccordé par l'arrière, effectuer cette opération maintainant.

Accrocher la pierre latérale arrêté à l'aide des trous de suspension dans les profilés latéraux.

Serrer 2 vis de scellement dans les pierres latérales avant. Laisser environ 3 mm entre la pierre et la tête de vis. Accrocher la pierre létal avant dans les trous de suspension et serrer les vis de scellement.

Poser la rangée de pierres mediane en les accrochant aux profilés lateraux.

Monter les pierres laterales supérieures de la même manière que les pierres laterales interieures.

(15)
Insérer 4 vis dans la pierre frontale supérieure. Laisser 3 mm entre la pierre et la tete de vis.
Accrocher la pierre frontale dans les trous de suspension.
16

Monter les équres de réglage sur les vis de scellement supérieures. Ajuster la pierre pour qu'elle s'aligne avec le bord supérieur des pierres laterales. Serrer les 4 vis de scellement.
Important
Si un ventilateur est prévu, veiller à l'insteller avant de monter la pierre frontale inférieure.
Vous reporter à la page 94 pour le montage du réservoir de chaleur.

17
Monter la plaque de fixation sur le bord supérieur de la pierre frontale inférieure. Positionner la pierre frontale et la fixer avec 2 vis M5 dans la base.

18
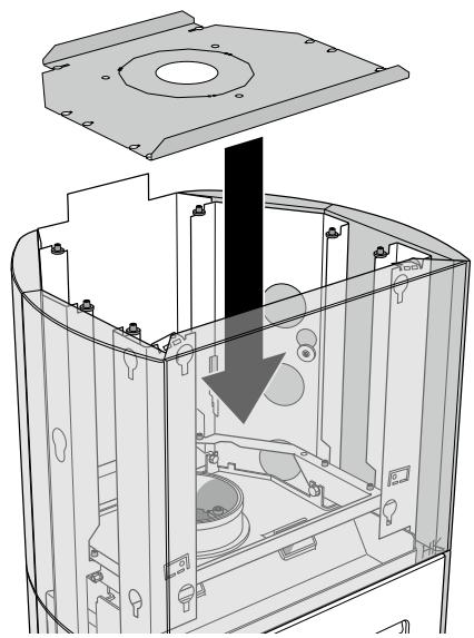
Monter la plaque supérieure sur les cônes en silicone ; les vis doivent être orientées vers le bas. Poser ensuite la pierre supérieure, la grille et le couvercle.
Montage du parement Handöl 35T

- Sortir le lot de parement, la grille et la la partie supérieure de leur emballage.
- Lire tout le chapitre concernant le montage du parement. S'assurer à la livraison que toutes les pièces ont été livrées et qu'elle sont intactes. Manipuler les éléments avec précaution.
- Sur le modele Handol 35T, les vitres devront etre nettoyées sur le poèle et sur le parement, avant le montage.
- Placer le poêle sur la plaque de sol et vérifier les distances d'installation.

Placer la plaque de fond sur le sol selon les cotes d'installation. Vérifier qu'elle est bien horizontal, utiliser des cales ou des rondelles si besoin. Fixer les plaques signalétiques sur le dessus de la plaque de fond, selon la figure.

1
Placer le poèle sur la plaque de fond de sorte que les pieds en plastique se positionnent dans les encoches.

Le numero des pierres est indiquedans la figure.Nous recommandons que les pierres soient montees dans l'ordre indiquedans les pages suivantes
Prendre soit de la pierre ollaire! Elle se raye facilement et la graisse la tache facilement. Les petites taches de graisse peuvent etre nettoyees avec de I'acetone pur.

2
Régler de manière à obtenir 429 mm entre le sol et le bord inférieur de la porte. S'assurer que le que le poèle est en position verticale.
3

Serrer 4 vis M6x20 de quelques tours dans le cadre supérieur et positionner ce dernier pour que les vis correspondent aux rainures.
4

Guider les tenons des profilés latéraux arrêté dans la plaque de fond et les accrocher dans le cadre supérieur.
5

Guider les tenons des profilés latéraux avant dans la plaque de fond et les accrocher dans le cadre supérieur. Serrer les vis du cadre supérieur.
6

Monter la plaque arrrière en l'accrochant dans les trous des profilés lateraux. Si le poèle est raccordé par l'arrière, effectuer cette opération maintainant.
Important Si un ventilateur est prevu, veiller à l'installer avant de monter la pierre frontale inférieure.

Serrer la pierre frontale inférieure avec les 4 vis de scellement.

Monter 2 vis M6x8 dans les filetages de l'insert des pierres laterales avant. Accrocher les pierres laterales avant à l'aide des trous de suspension dans les profilés lateraux.


Serrer les vis délicatement.

Placer la pierre frontale supérieure au-dessus des pierres laterales avant. Serrer les 4 vis de scellement.
11

Accrocher la pierre arrrière à l'aide des trous de suspension dans les profilés lateraux.
12

Accrocher les pierres laterales en place.

Soulever le cache au-dessus de la rangée de pierres inférieure. Insérer la bride du cache dans la rainure de la pierre allaire. Les rainures d'aération doivent à présent être orientées vers les pierres frontales. Glisser le cache vers le bas dans les rainures de la plaque de fond.

Monter les panneaux en verre de la même manière que les caches.

Monter en pressant les boutons de la pierre mediane arrêté dans les trous de suspension.

Pousser la pierre mediane avant au-dessus de la vitre et du cache. Accrocher ensuite les boutons dans les trous de suspension.

Accrocher la pierre arrêté en place.

Pousser les pierres latérales au-dessus de la vitre et du cache. Accrocher ensuite les boutons dans les trous de suspension.
19

Monter la plaque supérieure sur les cônes en silicone. Poser ensuite la plaque supérieure en verre/la pierre ollaire supérieure, la grille et le couvercle.
Montage des accessoires · Réservoir de chaleur
Réserveir de chaleur sur dessus en verre

Poser la plaque support des pierres au-dessus de la plaque inférieure.

Poser les pierres du réservoir de chaleur sur la plaque support.

Poser le clapet d'air chaud sur les cônes en silicone. Poser ensuite la plaque en verre, la grille et le couvercle.
Réserveir de chaleur sur dessus en pierre ullaire
(1)

Poser la plaque support des pierres au-dessus de la plaque inférieure.
2

Poser les pierres du réservoir de chaleur sur la plaque support.
3

Découper le bord arrêté du clapet à l'aide d'une pince coupante. Séparer ensuite le clapet de la plaque sur le bord avant.
4

Monter la plaque sur les cônes en silicone. Mettre en place la plaque supérieure en pierre ollaire et poser le clapet dans la rainure de la pierre. Positionner la grille et le couvercle.
Notice Facile