PC 12 N - Chauffage extérieur S.PLUS - Notice d'utilisation et mode d'emploi gratuit
Retrouvez gratuitement la notice de l'appareil PC 12 N S.PLUS au format PDF.
| Type d'appareil | Parasol chauffant |
| Usage | Extérieur |
| Alimentation | Gaz (butane/propane) |
| Puissance thermique | Non précisé |
| Hauteur | Environ 2 mètres |
| Matériau | Acier inoxydable ou métal peint |
| Allumage | Piezoélectrique |
| Type de brûleur | Brûleur tubulaire |
| Protection contre le vent | Oui, avec diffuseur supérieur |
| Mobilité | Avec roulettes ou base stable |
| Consommation de gaz | Non précisé |
| Surface chauffée | Jusqu'à 20-30 m² |
| Sécurité | Arrêt automatique en cas de basculement |
| Entretien | Nettoyage régulier recommandé |
| Accessoires | Non précisé |
| Garantie | Non précisé |
FOIRE AUX QUESTIONS - PC 12 N S.PLUS
Téléchargez la notice de votre Chauffage extérieur au format PDF gratuitement ! Retrouvez votre notice PC 12 N - S.PLUS et reprennez votre appareil électronique en main. Sur cette page sont publiés tous les documents nécessaires à l'utilisation de votre appareil PC 12 N de la marque S.PLUS.
MODE D'EMPLOI PC 12 N S.PLUS
Lire les instructions de cette notice avant d'assembler et d'utiliser votre parasol chauffant. Conservez cette notice pour références ultérieures.
Ref. PSOL 4/06-2010/lu
Destiné à l'installateur et à l'utilisateur
LIRE attentivement les instructions avant toute utilisation
L'appareil doit être installé/utilisé conformément aux instructions et réglementations locales. Le montage et l'entretien du parasol doivent être effectués par une personne avertie. Un mauvais montage, réglage, ou une mauvaise utilisation peut entraîner des blessures ou des dommages matériels. Ne jamais tenter de modifier l'appareil de quelque manière que ce soit. Ne jamais remplacer le régulateur par aucun autre que celui conseillé par le fabricant. L'utilisation de cet appareil dans des locaux totalement fermés peut être dangereuse et est INTERDITE. Cet appareil est conçu pour fonctionner avec une bouteille de gaz propane de 13 kg (ou butane). Attention le débit des bouteilles de butane est quasiment nul en dessous de +5°C. Utiliser un détendeur à sécurité : - 28 mbar pour le butane.
Débit 1 kg / heure : - 37 mbar pour le propane
Ne pas stocker ou utiliser des produits inflammables dans le parasol chauffant, tel que l'essence et l'alcool. Toujours vérifier et contrôler si il y a des fuites ou des pièces défectueuses avant chaque utilisation (le tuyau, le détenteur, le brûleur). Les tests de fuites de gaz doivent être faits avec de l'eau savonneuse, jamais à l'aide d'une flamme. Ne pas utiliser le parasol chauffant tant que l'on n'a pas vérifié l'absence de fuites dans tous les raccords. Éteindre le parasol et fermer la bouteille si vous sentez la moindre odeur de gaz. Ne jamais déplacer le parasol lorsqu'il est allumé. Ne jamais déplacer le parasol quand il est encore chaud après l'avoir éteint. Attendre qu'il refroidisse. Vérifier avant chaque utilisation que le brûleur ne soit pas colmaté. Ne pas obstruer les orifices de ventilation du logement de la bouteille. Ne jamais peindre le réflecteur, le panneau de contrôle, le brûleur. Le compartiment de contrôle, le brûleur et le passage pour la circulation de l'air du parasol chauffant doit toujours être propres. Ils peuvent faire l'objet, si nécessaire, de nettoyages fréquents. La bouteille de gaz doit être fermée après chaque utilisation. Contrôlez immédiatement le parasol après l'avoir éteint si vous constatez :
que la température est trop faible. que le brûleur crépite (un léger bruit est normal lorsque le brûleur est en train de s'éteindre) ; qu'une odeur de gaz accompagnée de la présence de flammes jaune vif dans le brûleur.
Le tuyau/régulateur assemblé doit être raccordé hors de toute zone de passage où les gens risqueraient de trébucher dessus ou dans un lieu où le tuyau ne risque pas d’être endommagé accidentellement. Chaque dispositif de sécurité ou de protection ôté pour permettre l’entretien du parasol doit être remis en place avant l’utilisation de l’appareil. Adultes et enfants ne doivent pas se tenir à proximité du parasol pour ne pas être en contact avec les surfaces chaudes du parasol afin d’éviter tous risques de brûlure. Les enfants doivent être surveillés par un adulte afin qu’ils ne s’approchent pas du parasol pour éviter tous risques de brûlure. Ne jamais couvrir le parasol d’objets inflammables ou stocker d’objets inflammables à proximité du parasol. S’assurer de la présence et du bon état du joint du détendeur.
Utilisation de votre parasol chauffant
A n'utiliser qu'en plein air ou dans un espace correctement ventilé. Un espace correctement ventilé doit avoir au minimum 25% de sa surface totale ouverte. La surface totale est la somme de la surface des murs. Toujours maintenir un espace exempt de matières inflammables non protégées autour du parasol chauffant (d'au moins 50 cm au-dessus et d'au moins 65 cm sur les côtés). Utiliser le parasol sur un sol ferme et plat. Ne jamais utiliser le parasol dans un environnement explosif (endroits où sont stockés des produits inflammables, risque de vapeurs). En cas de vent violent, il est conseillé de fixer solidement la base au sol à l'aide des vis pour éviter son basculement. Si vous déplacez votre parasol, il faut d'abord l'éteindre et fermer la bouteille. Le déplacement doit se faire avec précaution sur un sol lisse, sinon les roulettes seront endommagées. Ne pas déplacer votre appareil s'il est en fonctionnement.
Fixation de la base au sol

Gaz à utiliser
N'utiliser que le type de gaz et de bouteille indiqués par le fabricant, en France Propane 37mb ou Butane 28mb. Le régulateur de pression et le tuyau assemblé doivent être conformes aux normes locales standard pour être utilisés. Nous vous recommandons de vérifier l'état du tuyau couple détendeur / appareil à chaque utilisation et au remplacement de la bouteille et si nécessaire le remplacer, s'il est abimé, fissuré, vrillé etc... par un flexible de même longueur et de qualité équivalente. Le tuyau flexible doit être remplacé selon la périodicité indiquée. (Si votre tuyau porte la mention « à remplacer avant... ») Utiliser exclusivement des pièces de rechange d'origine. L'installation doit être conforme aux normes locales. En l'absence de telles normes, elle doit être conforme aux normes standard pour le stockage et la manutention des gaz de pétrole liquéfiés. Une bouteille de propane ébréchée, rouillée ou endommagée peut être dangereuse : il faut par conséquent la faire vérifier par le fournisseur de bouteilles. Ne jamais utiliser une bouteille de propane dont le raccordement à la vanne est endommagé. La bouteille de propane doit être installée de manière à ce que le raccord sur le détendeur soit en face des trous du logement de la bouteille. Ne jamais utiliser une bouteille de gaz non conformes aux normes de sécurité. Cet appareil est à utiliser avec des bouteilles de gaz de 13kg Si vous stockez une ou plusieurs bouteilles respectez la réglementation en vigueur.
Raccordement bouteille / parasol
Le parasol chauffant est à utiliser avec un détendeur propane 37 mb à sécurité débit 1 kg/heure mini et tuyau couple de raccordement détendeur - parasol, longueur 75 cm - entrée écrou 20 x 150 - sortie écrou 15 x 21 normalisé.
Les raccords gaz du parasol chauffant sont testés en usine avant d'être expédiés. Un contrôle complet de l'étanchéité du gaz doit être effectué lors de l'installation afin de détecter tout dégât éventuel survenu lors du transport ou du montage.
Préparer une solution avec une dose de savon et une dose d'eau. Cette solution peut être appliquée à l'aide d'un vaporisateur, d'une brosse ou d'un chiffon. Des bulles de savon se forment à l'endroit des fuites de gaz. Le parasol chauffant doit être contrôlé avec une bouteille de gaz pleine. Vérifier que la vanne de contrôle de sécurité est en position OFF. Ouvrir la bouteille de gaz. Si on constate des fuites, couper l'alimentation du gaz. Resserer tous les raccords où se manifestent les pertes puis rouvrir l'alimentation en gaz et procéder à une nouvelle vérification. Ne pas fumer pendant le test. - En cas de fuite de gaz ; l'appareil ne doit pas être utilisé ou s'il est allumé, l'alimentation gaz doit être coupée en fermant la bouteille, l'appareil doit être examiné avant d'être remis en service. En cas de besoin, consultez votre revendeur ou un professionnel qualifié ou à défaut la société SPLUS.
Pour allumer l'appareil
1) Ouvrir complètement le robinet de la bouteille de gaz. 2) Appuyer sur le bouton de réglage et le tourner pour le mettre à PILOT (à vers la gauche). 3) Maintenir le bouton de réglage enfoncé et appuyer simultanément sur le bouton d'allumage piezo « Igniter » plusieurs fois pour que la veilleuse s'allume. Une fois celle-ci allumée, relâcher le bouton de réglage après environ 30 secondes. Si l'on n'entend pas de « cliquetis », vérifier que le fil du « piezo » n'est pas débranché.
Attention, le détendeur gaz est muni d'un « bouton » de réarmement (bouton rouge sous la sortie du détendeur). À la 1ère utilisation, lors d'un changement de bouteille, ou lorsque le gaz n'arrive pas au brûleur, il faut réarmer le détendeur en appuyant une fois sur le bouton.
Remarques:
- Si l'on vient d'installer une nouvelle bouteille, attendre au moins une minute pour que l'air se trouvant dans les conduites de gaz soit éliminé par le trou de la veilleuse.
- Pour allumer la veilleuse, prendre soin de continuer d'appuyer sur le bouton de réglage tout en appuyant sur le bouton d'allumage. Une fois la veilleuse allumée, relâcher le bouton de réglage.
- Il est possible de surveiller et de vérifier la veilleuse dans la petite fenêtre ronde avec couvercle coulissant se trouvant au bas du pare-flammes (à gauche ou à droite du contrôleur).
- Si la veilleuse ne s'allume pas ou qu'elle s'éteint, recommencer l'étape 3.
4) Une fois que la veilleuse s'allume, mettre le bouton de réglage à la position minimum et attendre 5 minutes ou plus avant de le mettre à la température désirée.
Pour FERMER l'appareil, apres usage
1) Mettre le bouton de réglage à PILOT. 2) Appuyer sur le bouton en le tournant à la position OFF. 3) Fermer l'alimentation de gaz en tournant à fond le robinet de la bouteille vers la droite.

Ne pas déplacer un appareil lorsqu'il est allumé. Avant de le déplacer, il faut l'éteindre et attendre qu'il soit refroidi afin d'éviter des brûlures. Le parasol chauffant est muni d'une sécurité anti-basculement, qui coupe l'arrivée du gaz lorsque l'appareil tombe ou est incliné. Après une telle coupure, fermer immédiatement la bouteille de gaz, attendre au moins 3 minutes avant de le rallumer.
Entreposage:
1) Toujours fermer le robinet de la bouteille de gaz après l'utilisation de l'appareil pour éviter les problèmes. 2) Enlever le détendeur et le tuyau. 3) Vérifier que le robinet de gaz ne soit pas endommagé. S'il semble endommagé, faire changer la bouteille. 4) Ne jamais ranger la bouteille de gaz dans un endroit souterrain ou dans des endroits n'ayant pas une ventilation adéquate.
Reemplacement de la bouteille:
Il doit se faire dans un espace largement ventilé, loin de toute source d’inflammation (bougie, cigarette, autre appareil à flamme). Remettre une bouteille de même gaz, vérifier l’état du tuyau couple, vérifier que le joint du détendeur est bien en place (non coupé, non abimé) et capable de remplir sa fonction. Si besoin, le remplacer.
Nettoyage et entretien
Essuyer les surfaces recouvertes de poudre avec un linge doux et humide. Pour les surfaces en laque, utiliser des nettoyants convenables. Ne pas nettoyer l'appareil avec des nettoyants combustibles ou corrosifs. Enlever les débris autour du bruleur pour le garder bien propre et l'utiliser en toute sécurité. Vérifier le bon fonctionnement de votre appareil.

A) structure et caractéristiques :
Parasol chauffant portatif pour terrasses et jardins avec logement pour bouteille de gaz. Armature en acier laqué ou inox suivant le modèle. Brûleur en acier inoxydable. Émission de la chaleur par le réflecteur
- Catégorie 13+.
- En France, utiliser uniquement du propane ou du butane. Puissance maxi: 12.0 kW
- Puissance mini: 5,0 kW
- Consommation Maxi : Propane 857 g/h - Butane 873 gr/h
- Consommation Mini : Propane 357 g/h - Butane 364 gr/h
- Poids : modèle en inox : poids brut 22 Kg modèle peint : poids brut 25 Kg Hauteur : 226,5 cm Marquage CE 0407
C) tableau des injecteurs
| PRESSION GAZ mbar | INJECTEUR PRINCIPAL | INJECTEUR VEILLEUSE |
| Butane 28 mb ou Propane 37 mb | 1,9 mm | 0,18 mm |
| PAYS DE DESTINATION | BE-CH-ES-FR-GB-GR-IE-IT-PT | IS-NL-NO | DK-FI-SE | AT-DE |
| CATEGORIES | 13+ | 13 B/P | 13 B/P | 13 B/P |
| PRESSION mbar | 28-30/37 | 28-30 | 30 | 50 |
Outils nécessaires
Clefs de 10 et de 13 Clef anglaise réglable Pince de 9 - Tournevis - Solution savonneuse pour vérifier l'absence de fuites.
Pièces fournies
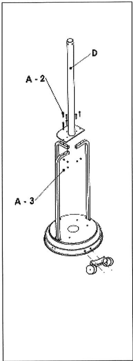
- 3 vis 8x12+ rondelle (A-1) pour assembler les supports (E) à la base (B)
- 6 vis 6 × 30 (A-2) avec rondelle et écrou à embase pour assembler le mât (D) sur les supports (E) 4 vis 6x10 (A-6) pour assembler le bruleur (G) sur le mait (D)
- 4 entretoises (A-4) filetées aux extrémités + écrou papillon de 8 + rondelle pour fixation réflecteur H sur brûleur G 1 sachet de 3 crochets + vis (A-9) pour fixation du parasol au sol si nécessaire 1 ensemble de 2 roulettes + 2 boulons 8×15 + rondelle + écrou pour déplacer le parasol. 1 réflecteur en 4 parties avec 12 vis cruciforme + écrou borgne 2 rondelles alu 70 avec une vis cruciforme et écrou borgne de 6
- Un cache bouteille repère C (pour les PCI inox - enlever le film de protection)
- Un tube de raccordement F
Assemblage du réflecteur
Assembler les 4 secteurs du réflecteur à l'aide des 12 vis cruciformes + écrous borgnes (mettre toutes les vis + écrous à la main et les serrer ensuite après avoir bien positionné les secteurs.)
Mettre les 2 rondelles 70 au centre du réflecteur à l'aide de la vis cruciforme et de l'écrou borgne (rondelle cannelée en dessous).
Pièces fournies i
E) x1
Pièces fournies II
A-1) X6
A-6) x10
A-2) x6










LISTE DES PROBLEMES POSSIBLES
| PROBLEME | CAUSE PROBABLE | SOLUTION |
| La veilleuse ne s'allume pas | Robinet gaz ferméBouteille videOuverture bloquéePrésence d'air dans le système d'alimentationSécurité détendeur déclenchéeRaccords desserrésFaible pression du gaz | Ouvoir le robinet gazLa replacerNettoyer ou replacer l'ouverturePurger l'air en appuyant sue le bouton de réglage jusqu'à ce que l'on sente le gazLa réenclencher (voir page 4)Vérifier tous les raccordsRemplacer le réservoir par un autre |
| La veilleuse ne reste pas allumée | Débris ajustur de la veilleuseRaccords desserrésThermocouple défectueux ou écrou desserré sur bloc sécuritéFuite de gaz dans l'alimentationPression gaz insuffisante | Nettoyer ajustur de la veilseuseSerrer les raccordsRemplacer le thermocouple, desserrer écrou côte bloc sécuritéVérifier les raccordsBouteille presque vide, la replir si besoin |
| Le brûleur ne s'allume pas | Faible pressionOuverture bloquéeContrôle pas ouvertVeilleuse déforméePas placé au bon endroit | Réserveur presque vide, le replir au besoinEnlever et nettoyerA replacerPlacer la veilseuse correctementRemettre en bonne position et essayer à nouveau |
| La flamme du brûleur est faible | Tuyau d'alimentation écrasé ou coudé | Remettre le tuyau en place et vérifier s'il y a une fuite |
| La surface de chauffe est non uniforme | Faible pression du gazLa base n'est pas sur une surface plane | Remplacer la bouteille.Mettre sur une surface plane |
| Il y a de la fumée noire épaisse | Brûleur encrassé | Fermer l'appareil et le laisser refroidir.Nettoyer le brûleur |
| Il y a des résidus charbonneux | Saleté ou film sur le reflector et le pare-flammes | Nettoyer le reflector et le pare-flammes |
En cas de problème de montage, utilisation, entretien, adressez-vous à votre revendeur, un personnel qualifié ou à la société SPLUS.
Notice Facile