FT 360S - Équipement de fitness CYBEX INTERNATIONAL - Notice d'utilisation et mode d'emploi gratuit
Retrouvez gratuitement la notice de l'appareil FT 360S CYBEX INTERNATIONAL au format PDF.
| Type de produit | Appareil de musculation multifonction |
| Caractéristiques techniques principales | Équipement de fitness avec plusieurs stations d'entraînement |
| Dimensions approximatives | Longueur : 220 cm, Largeur : 160 cm, Hauteur : 210 cm |
| Poids | Poids total : 300 kg |
| Matériaux | Acier renforcé, revêtement en poudre pour une durabilité accrue |
| Capacité de charge | Charge maximale : 250 kg |
| Fonctions principales | Entraînement complet du corps, exercices de force, cardio et flexibilité |
| Utilisation | Conçu pour un usage domestique ou en salle de sport |
| Entretien et nettoyage | Nettoyage régulier avec un chiffon humide, vérification des fixations |
| Pièces détachées et réparabilité | Disponibilité de pièces de rechange, facilité de réparation |
| Sécurité | Équipements de sécurité intégrés, instructions de sécurité fournies |
| Informations générales | Garantie de 2 ans, assistance technique disponible |
FOIRE AUX QUESTIONS - FT 360S CYBEX INTERNATIONAL
Questions des utilisateurs sur FT 360S CYBEX INTERNATIONAL
0 question sur cet appareil. Repondez a celles que vous connaissez ou posez la votre.
Poser une nouvelle question sur cet appareil
Téléchargez la notice de votre Équipement de fitness au format PDF gratuitement ! Retrouvez votre notice FT 360S - CYBEX INTERNATIONAL et reprennez votre appareil électronique en main. Sur cette page sont publiés tous les documents nécessaires à l'utilisation de votre appareil FT 360S de la marque CYBEX INTERNATIONAL.
MODE D'EMPLOI FT 360S CYBEX INTERNATIONAL
Manuel du propriétaire et guide d'entretien du Fonctional Trainer FT-360S
Systèmes d'entrainment de la force musculaire Numéro de piece 9101-999-2 F

Manuel du propriétaire et guide d'entretien du Fonctional Trainer FT-360S
Systèmes d'entrainment de la force musculaire
Numéro de piece 9101-999-2 F
Cybex® et le logo Cybex sont des marques déposées de Cybex International, Inc.
CLAUSE DE NON-RESPONSABILITÉ : Cybex International, Inc. ne fait aucune déclaration et n'offre aucune garantie quant au contenu de ce manuel. Nous nous réservons le droit de réviser ce document à tout moment et d'apporter des modifications au produit décrit dans ce document, sans préavis ni obligation d'avertir quiconque de telles révisions ou modifications.
© 2010, Cybex International, Inc. Tous droits réservés.
Imprimé aux États-Unis d'Amérique.
10 Trotter Drive Medway, MA 02053 • 508 533 4300 • FAX 508 533 5183
www.cybexinternational.com • techhelp@cybexintl.com • 9101-999-2 F • March 2010
Table des matières
i Table des matieres
1 Sécurité
Sécurité 1-1
Autocollants d'advertissement
et demise en garde 1-2
Activités de maintenance régulières. 1-6
Choisir l'exercice approprié. 1-6
2 Spécifications techniques
Spcifications generales. 2-1
Spécifications de l'appareil 2-4
Tableaux sur les exercices
4 Exercices
Présentation du FT-360S 4-2
Ajustements et sécurité. 4-2
Pile de poids et résistance effective
Résistance. 4-2
Possibilities en matière d'exercice. 4-3
Steplateral. 4-4
Squat bras tendus vers le haut. .4-4
Squat d'une seule jambe 4-5
Adduction des épaules 4-8
Développé pectoral. 4-9
Développé pectoral début. 4-9
Extension du dos et des épaules . . . . . .4-10
Abduction des épaules 4-10
Extension du grand dorsal 4-11
Rameur. 4-11
Développèboutbras
tendus vers le haut .4-12
Pousser-tirer 4-12
Extension des triceps .4-13
5 Service à la clientèle
Contact 5-1
Pièces endommagées. 5-3
6 Assemblage
Diagramme du FT-360S .6-1
Outils requis .6-2
Déballage 6-2
Pose des talons de suréLEVation. 6-4
Pose des mousquetons. .6-5
Installation de la pile de poids. .6-6
Assemblage final. 6-13
7 Maintenance
Procedures quotidiennes 7-2
Proédures hebdomadaires .7-4
Procedures annuelles. 7-6
Environnement. 7-6
Entreposage 7-7
Ajustement du cable de pile de poids. . . . . .7-7
8 Service
Listedespiecesetdiagrammes 8-1
1 - Sécurité
Sécurité
Lire attentivement le Manuel du propriétaire avant d'assembler, de réparer ou d'utiliser l'équipement.
Il incombe au propriétaire de l'installation et/ou de l'équipement d'apprendre aux utilisateurs à utiliser l'équipement de façon appropriée et à vérifier toutes les étiquettes.

AVERTISSEMENT : Le non-respect de ces mesures de sécurité peut entraîner des blessures graves :
Mesures de sécurité que doit observer l'utilisateur
- Passer une visite Médicale avant de commencer un programme d'exercice physique.
- Lire tous les averissements et obtenir les instructions d'utilisation appropriées de l'appareil avant de commencer. i
- Maintenir le corps et les vêtements à l'écart des pièces mobiles.
- Inspector l'appareil avant de l'utiliser. NE PAS utiliser l'appareil s'il est endommagé ou non opérationnel.
- NE PAS essayer de réparer un apparéil cassé ou bloqué. Avertir le personnel.
Utiliser l'appareil uniquement pour la fonction prévue. NE PAS modifier l'appareil.
S'assurer que la goupille de la pile de poids est complètement insérée. Utiliser uniquement la goupille fournie par le fabricant. En cas de doute, demander de l'aide. - Ne jamais placer la goupille de pile de poids en position élevée. NE PAS utiliser l'appareil ainsi configuré. Demander de l'aide au personnel sur place.
- Les enfants ne doivent pas'être autorisés à s'approcher de cet apparéil. Les adolescents doivent être surveillés.
- NE PAS utiliser si les protections sont manquantes ou endommagées.
- NE PAS utiliser d'haltères ou autres poids incrémentiels, sauf ceux fournis par le fabricant.
- Inspector les cables, les courroies et les connexions avant d'utiliser l'appareil. NE PAS l'utiliser si les composants sont usés, effilochés ou endommagés.
- NE PAS enlever cette étiquette. La replacer si elle est abimée.
- Interrompre l'exercice à n'importe quel moment en cas d'étourdissements, de vertiges ou de douleur et consulter un médecin.
Mesures de sécurité que doit observer l'établissement
Lire attentivement le Manuel du proprieteaire avant d'assembler, de réparer ou d'utiliser l'équipement.
Fixer solidement chaque apparéil au sol à l'aide des trouss d'ancrage fournis avec chaque apparéil.
REMARQUE: Cybex ne peut être tenue responsable de l'ancrage de l'équipement au sol. Consulter un professionnelnel.
REMARQUE: Utiliser des fixations d'une force minimale de traction de 500 lb (227 kg) (2 boulons de 3/8 po au minimum).
REMARQUE: Si les pieds/le chassin n'entrent pas en contact avec la surface, NE PAS les tirer par les pieces d'ancrage. Caler le pied ou le chassin qui n'est pas en contact avec la surface à l'aide de rondelles plates.
Sassurer que chace appareil est configuré et utilise sur une surface saine et de niveau. Ne pas installer l'equipement sur une surface inegale.
S-assurer que tous les utilisateurs sont correctement formés au bon usage de l'equipement.
Sassurer qu'il y a suffisamment d'espace pour acceder à l'équipement et l'utiliser en toute sécurité.
Effectuer regulierement des verifications de maintenance sur l'equipement. De plus, accorder une attention particulaire aux endroits plus susceptibles de s'user, notamment (mais non exclusivement) aux cables, aux poulies, aux courroies et aux poignées.
- Remplacer immédiatement les composants usés ou endommages. S'il est impossible de remplacer immédiatement les composants usés ou endommages,mettre l'appareil hors service jusqu'à ce qu'il soit réparé.
- Utiliser uniquement les composants fournis par Cybex pour effectuer l'entretien ou les réparations de l'équipement.
- Consigner dans un journal toutes les activités de maintenance.
- Inspector les câbles, les courroies et les connexions avant d'utiliser l'appareil. NE PAS l'utiliser si les composants sont usés, effilochés ou endommagés.
REMARQUE : Il incombe à l'utilisateur/au propriétaire ou au responsable de l'établissement de s'assurer que la maintenance est régulièrement effectuee.

Autocollants d'advertissement/mise en garde
Les autocollants d'advertisement indiquent une situation potentiellement dangereuse qui, si elle n'est pas evitée, pourrait entraîner des blessures graves, voir mortelles.
Les autocollants de mise en garde signalent une situation potentiellement dangereuse qui, si elle n'est pas evitée, risque d'entrainer des blessures mineures ou moyennenement graves.
Les autocollants d'ajretissement/mise en garde apposés sur l'équipment sont illustrés à la page suivante.
Les diagrammes figurant après les autocollants indiquent l'emplacement de chaque autocollant.


DESCRIPTION
N° DE PIECE
A. Autocollant d'avertissement......4605-381-2
B. Autocollant d'avertissement......8500-311-2

DESCRIPTION
N° DE PIECE
C. Autocollant de mise en garde......9100-348-2
Activités de maintenance régulières
Des activités de maintenance préventive doivent être exécutées pourmaintenir le fonctionnement normal de vosétéquipement. Il est recommendé de tener un journal de toutes les interventions de maintenance pour demeurer informéde toutes les activités de maintenance préventive. Reportez-vous au Chapitre 5 pour de plus amples renseignements sur la maintenance préventive qui inclut notamment les activités suivantes :
Hebdomadairement
- Inspector tous les écrous et les boulons pour déceler tout desserrage évientuel. Serrer au besoin.
- Inspector tous les cables pour détecter les dommages ou signes d'usure (voir chapitre 7). Arrête immédiatement d'utiliser l'appareil si un cable est usé ou endommagé.
- Vérifier les poignées, les mousquetons et les étiquettes pour déceler toutes traces d'usure. Remplacer immidiatement toutes les pieces usées.
- Inspector les poignées pour déterminer si elles sont lâches ou usées. Remplacer immédiatement toutes poignées lâches ou usées.
- Inspector les piles de poids pour s'assurer que l'alignement et le fonctionnement sont adequats. Rectifier immédiatement tous les problèmes d'alignement et de fonctionnement.
- Lubrifier les tiges guides avec de l'huile moteur.
Annuellement
- Remplacer tous les câbles tous les ans au moins.
Choisir l'exercice approprié
Avant d'effectuer l'exercice, dire et s'assurer de comprendre les conseils d'entrainment fournis au chapitre 3. Pour de plus amples renseignements sur le choix de l'exercice approprié, voir le chapitre 4.
2 - Spécifications techniques
Spécifications générales
Fini du chassin
- Doit est fabriqué d'accier de calibre 11 et 16 de qualité mécanique acheté dans une aciérie en quantités suffisantes pour assurer une uniformité ajustate.
- Avant d'appliquer le fini, chaque piece doit être soumise à un lavage en plusieurs étapes pour être débarrassée de toutes les huiles et pour préparer la surface de façon à obtenir une adhésion optimale. Àpres le lavage, les chassinis doivent être séchés et enduits d'un revêtement en poudre electrostatique qui sera appliqué sous forme de poudre, puis cuit jusqu'à ce qu'il durcisse.
Le fini doit être texturé et très dur pour ne pas se rayer ou s'ébrécher.
Selection des poids
- Les poids doivent être sélectionnés à l'aide de la goupille sélectrice de haute qualité qui traverse complètement le poids et le bloque en place pour éviter qu'il se désengage pendant l'utilisation. La goupille doit être attachée à la pile de poids à l'aide d'un cordon en plastique afin de la garder avec l'appareil appropriée.
Configuration des piles de poids
- Toutes les piles de poids doivent être constituées de poids de 4 po x 18 po x 1 po (10,16 cm x 45,72 cm x 2,54 cm) et de 20 lb (9 kg).
Poids
- Ils doivent être en acier massif laminé à froid revêtu d'un fini noir pouré nervuré.
- Les trou des tiges guides seront usinés selon une tolérance de ± 0,006 po (0,15 mm).
- Les tiges guides doivent être encercées de bagues à coefficient de frottement réduit pour pouvoir glisser sans à-coup.
Poulies
- Seront fabriquées d'un matériel plastique renforcé de fibre de verre 70G33 de Dupont Corp. d'une résistance à la traction de 22 500 PSI et poursuves de coussinets 6203ZZ à double organe d'obturation et à charge dynamique de base de 1 600 lb (725,70 kg).
- Les pouliies seront de 4,50 po (11,43 cm) de diamètre et pourvues d'une gorge de cable de 0,25 po (0,63 cm).
Poulie à émerillon
- Doit estre moulée dans du nylon renforcé de fibre de verre d'une résistance à la rupture de 14 000 PSI minimum.
Transport des poids
- Par cable d'aéronef lubrifié de 7 po x 19 po x 1/8 po (17,78 cm x 48,26 cm x 0,31 cm) en acier galvanisé revétu de nylon d'une résistance à la rupture de 908 kg (2 000 lb).
- Toutes les extrémites de cable doivent se terminer par une garniture du type à sertissage correspondant au cable.
Tiges guides de pile de poids
- Acier massif poli, étiré à froid et d'une résistance au fléchissement de 100 000 PSI minimum, doté d'un fin chromé et dont la précision globale minimum est de 0,010.
Suspension de pile de poids
- Doit être dotée d'amortisseurs en néoprène ultra-robustes dont la résistance au duromètre sera de 80 sous les piles de poids afin de réduire les contraintes de chocs et de vibrations pour le chassin et l'installation.
Fabrication du chassinis
Composé essentiellement de tubes de 1 1 / 2 × 2 po (3,81 cm x 5,08 cm) aux parois de calibre 11. Toutfois des tubes de tailles différentes peuvent etre utilisés si I'essai des contraintes le justifie.
L'ecran de protection doit etre constitue d'une feuille de metal d'une epaiseur de paro de calibre 16.
- Les chassis sont entierement soudés pour assurer une intégrité structurelle maximum et une maintenance minimum.
L'asinage et le soudage seront réalisés à l'aide de gabarits et de montages pour s'assurer que les pieces sont interchangeables et de la plus haute qualité.
Pivot d'ajustement
Coulé dans de l'acier 1020 et revêtu d'un enduit noir poudré.
Chape
Coulée dans de l'acier 1020 et revêtue d'un enduit noir poudré.
Plaque de réglage
- En acier laminate à chaud et découvert au laser, electroplaque au nickel-chrome.
Quincaillerie
- Tous les vis d'assemblage à 6 pans creux de 3/8 po doivent être de calibre 8 (ou équivalent). Tous les boulons seront plaqués au chrome ou au zinc pour une plus grande résistance à la corrosion.
Autocollants portant sur les ajustements
- Afin d'assurer une visibilité optimale, vous devez utiliser des autocollants Lexan à contraste élevé pour l'ajustement des bras et de la pile de poids.
Plaque étiquette d'instructions
- Doit comprendre les instructions etape par etape ainsi qu'une illustration de la façon d'utiliser l'equipement.
La plaque doit indiquer le positionnement ajustat et expliquer clairrement comment chaque apparéil doit être utilisé.
Équilibrage
L'équilibrage en rotation doit être réalisé à l'aide d'un ressort d'extension de classe 2 et sera atteint à l'aide d'un cylindre amortisseur de 13,35 po (33,90 cm).
Le panneau frontal doit etre en PETG (polyethylene terephthalate glycol) transparent depoli, résistant aux bris.
Spécifications de l'appareil
FT-360S - Produkt n° 9101
Poids total
(pile de poids comprise)
787 lb
358 lb
Pile de poids
300 lb
136 kg
Dimensions
po - 113 Larg. x 54 L x 90 H
cm - 287 cm W x 137 cm L x 229 H (lorsque l'appareil est utilise à son maximum)
REMARQUE : Un dégagement minimum de 3 pi (0,90 cm) doit être prévu autour de l'appareil pendant l'exercice.

Conseils d'entrainment
Avant de commencer
Avant d'entrepreneure un programme d'entrainment, passes un examen medical complet afin de déterminer si vous étes prét. Échauffez toujours vos muscles avant de commencer un exercice. Nous recommendons un échauffement cardio-vasculaire de 5 à 10 minutes suivi d'un étirement lent (sans à-coups). Continue avec une série d'exercices de 50% moins vigoureux que les exercices prévus. Il est très important de respirer de façon appropriée, soit d'expirer pendant l'effort musculaire et d'inspirer lorsque vous revenez à la position de départ. Commencez votre programme prudemment. Au cours des premières semaines, choisissez des poids que vous pouvez facilement soulever. Effectuez toujours le mouvement au complet, sauf si vous étés blessé. Dans ce cas, consultez un entraineur professionnel. Notre dépositaire Cybex peut vous aider à en couver un. Connaissez-vous ces termes? Une « répétition » est un mouvement complet que vous effectuez pendant un exercice avant de revenir à la position de départ. Par « série », on entend une suite de répetitions (généralement entre 6 et 15) d'un mouvement.
Pendant l'exercice
Le nombre de répetitions que comprend la série que vous exécutez dépend de votre objectif. Pour accuérir des muscles et de la force, faites moins de répetitions (6 à 8), avec des poids plus lourds. Pour raffermir vos muscles et accérir de l'endurance, faites plus de répetitions (12 à 15), avec des poids plus légers. Ne « trichez » jamais en raccourcissant l'amplitude du mouvement, en faisant rebondir le poids ou en changeant de posture. Vous pourriez peut-être soulever plus de poids, mais cela est dangereux et moins efficace. Reprenez votre souffle entre les séries, puis continuez. Lorsque vous vous entraînez « en circuit », passez rapidement à l'exercice suivant ; si vous faites de nombreuses répetitions au cours d'un exercice, reposez-vous pendant 45 à 90 secondes avant la série suivante. Effectuez jusqu'à trois séries par exercice. Si vous pouvez executer les répetitions et les séries prévues pour un exercice, augmentez le poids d'une demi-plaque ou d'une plaque complète. L'entrainment en circuit est une bonne méthode de départ. Vous commencerz par effectuer une série par exercice, puis vous passerez à l'exercice suivant après une très courte pause (pour maintainir les battements de votre cœur et votre respiration à un rythme élevé), jusqu'à ce que vous ayez exécuté un « circuit » de 8 à 10 exercices pour faire travailler votre corps au complet. Ensuite, répétez le circuit. ÀpRES quelques semaines, si vous le souhaitez, vous pouvez passer aux séries multiples (3 à la suite) par exercice. Pour ces deux types d'entrainment, vous devez faire travailler votre corps au complet un jour sur deux, soit jusqu'à trois fois parSEAime. Remarque : Pour obtenir une musculation et un tonus musculaire optimums, vous nevez observer une journée complète de repos et vous nouriRr et vous hydrater correctement. Faites travailler tour à tour une partie de votre corps, par exemple, le haut une journee et le bas le lendemain. Pour minimiser les douleurs musculaires, terminez chaque série effectuee pour un muscle en executant une série de répetitions plus nombreuses avec des poids plus légers. Lorsque vous ayez terminé, détendeç-vous de la même façon que vous vous étes échauffé.
Glossaire
Abduction - mouvement par lequel un membre est ecarté de l'axe median du corps.
Accélération - variation de la vitesse d'un object en fonction du temps, soit le changement de vitesse divisé par l'intervalle de temps.
Exactitude - absence d'erreur. Degre de conformite d'une mesure a une valeur standard ou reelle.
Ligne d'action - direction de la traction creeee par les fibres ou les tendons du muscle au point de l'application.
Insuffisance active - muscle à deux articulations qui ne peut plus effectuer le pontage croisé (générer de la force) en raison de son axe anatomique le plus long qui s'est complètement rétracté et de la tension créé dans le muscle opposé (antagoniste).
Amplitude active du mouvement - degré d'amplitude du mouvement qui se produit entre deux segments adjacents lors de la contraction volontaire de l'agoniste.
Stabilisation active - généree par une force interne. La stabilisation statique est generee par la contraction isométrique tandis que la stabilisation dynamique est une série de mouvements. Les stabilisateurs dynamiques maintiennent les positions relatives des segments et empêchent ainsi tous mouvements indésirables et inutiles dus aux forces externes et aux phénomènes produits par les forces internes. Peut également se rapporter aux contractions concentriques/excentriques d'un muscle travaillant selon une certaine force de couple pour produit un mouvement tout en maintainant un axe de rotation relativement fixe.
Tissu adipeux - tissu graisseux.
Adduction - mouvement par lequel un membre est rapproché de l'axe median du corps.
Agoniste - (muscle principal responsable du mouvement) le muscle qui concourt le plus à l'exécution d'un mouvement.
Aérobie - qui utilise l'oxygène.
Endurance aérobie - aptitude à executer des activités physiques qui requirement essentiellement de l'oxygène pour produit de l'énergie.
Anabolisant - se rapporte à la synthèse des substances complexes à partir de substances plus simples, tout spécifique de la synthèse des protéines corporelles à partir des acides aminés.
Anaérobie - qui n'utilise pas l'oxygène.
Endurance anaérobie - aptitude à poursuivre l'exécution d'exercices physiques de courte durée qui exigent des taux de dépenses d'énergie très élevés qui ne peuvent pas être atteints au moyen du métabolisme aérobie uniquement.
Anthropométrie - technique de mesure des différentes partie du corps humain et étude de leurs proportions.
Antagoniste - muscle opposed à l'agoniste.
Position anatomique - position droite, pieds et paumes faisant face.
Poulie anatomique - os ou protubérance squelettique qui modifie la direction de la tension d'un muscle pour en accroître le gain mécanique.
Anatomie - géographie, désignation selon l'orientation et/ou la capacité apparente (non fonctionnelle).
Points d'ancrage - points du corps et/ou d'un membre auxquels pénétre et sort une charge.
Antéieur - terme lié à l'anatomie significant « vers l'avant ». Synonyme de frontal.
Muscle assistant - (antagoniste) muscle qui concourt moins à l'exécution d'un certain mouvement, mais qui possède une certaine aptitude mécanique à aider le muscle principal (agoniste). Il existe de nombre cas de nature exceptionnelle.
Atrophie - réduction de la taille des cellules et des tissus.
Axe de rotation - ligne ou point imaginaire autour duquel tourne un objet.
Bilateral - se rapporte aux deux côtes.
Biolocomotion - perspective/description du corps humain et de sa mécanique du point de vue de la locomotion. Tous les animaux qui ont des pattes (quel que soit le nombre) se déplacent en utilisant la même mécanique. La gravité est le dénominateur commun.
Biomécanique - analyse de la charge imposée par le muscle sur une articulation et de la résistance. Anatomie, kinésithérapie et physique = ingénierie.
Composition corporelle - parties composantes du corps - essentiellement, proportion du poids corporel gras par rapport au poids corporel maigre.
Calorie - unité de mesure du travail ou de l'énergie égale à la quantité de chaleur requise pour élever la température de 1 g d'eau à 1 °C.
Came - dispositif mécanique utilisé pour varier la force.
Glucides - composant chimique contenant du carbone, de l'hydrogène et de l'oxygène, selon certaines proportions. Les glucides sont les principaux composants des alimentents tels que le pain, les pommes de terre et le riz.
Cardiovasculaire - se rapporte au cœur et aux vaisseaux sanguins.
Cartilage - il existe plusieurs types de cartilages. Le cartilage hyalin est relativement mince et recouvre les extrémités de nombreux os. Il constitue une surface lisse, résiliente et à coefficient de frottement réduit pour un os qui se déplace sur un autre os. Les incivations du cartilage (cartilage fibreux), notamment les menisques, les disques ou le labrum, servent à accroître la stabilité, tiennent lieu d'amortisseur et facilitent le mouvement de certaines articulations.
Centre de gravité - centre de la masse corporelle. Dans le corps humain, il s'agit du point à partir duquel toutes les parties du corps sont équilibrées. Le centre de gravité peut se trouver à l'intérieur du corps, modifié par la position du corps au point de se trouver à l'extérieur du corps (position carpée) ou modifié par l'ajout d'une charge à des endroits spécifique du corps.
Circumduction - mouvement circulaire effectué au niveau de la rotule sphérique et des articulations condyliennes et en selle. Il s'agit d'un enchâniment de flexions, d'abduction et d'adductions.
Entrainement en circuit - programme de mise en forme consistant en plusieurs exercices exécutés à des « stations ». Généralement, un exercice donné est exécuté à une station en un certain temps; ensuite, l'athlete passée à la station suivante pour exécuter un autre de ses exercices dans un certain temps, etc.
Exercice en chaîne cinétique fermée - série de liaisons rigides interconnectées par une série d'articulations centrées autour d'un axe, conçues de façon à ce que le mouvement exécuté à une articulation entraîne le mouvement de toutes les articulations du système. Le rendement mécanique est accru, au risque d'augmenter la charge sur l'articulation. Développè des jambes, développé couché.
Position compaete - toutes les articulations synoviales ont une position selon laquelle les surfaces sont congruentes au maximum tandis que les ligaments et la capsule articulaires sont tendus au maximum.
Collagène - protéine fibreuse dont les ligements et les tendons sont essentiellement constitués.
Compression - deux forces qui s'exercent l'une contre l'autre le long de la même ligne sous forme d'une charge de compression ou d'une contrainte de compression.
Action concentrique - contraction d'un muscle qui entraîne sa rétraction.
Tissu konjonctif - constitué essentiellement de collagène (proteine) et d'élastine et d'eau ; les tendons, les ligaments, les bourses, le cartilage, les disques, les menisques, le fascia et les eaux comprément du tissu konjonctif.
Pontage croisé - connexion et entrelacement des filaments de l'actine et de la myosine dans la myofibrille, dus à une contraction musculaire.
Mouvement curviligne - combinaison d'un mouvement de rotation et d'un mouvement de translation qui se produit fréquement.
Distraction - deux forces qui s'exercent le long de la même ligne, mais dans des directions opposées ; elles constituent un effort de traction ou une contrainte de traction incomfortable.
Articulation diathrodiale - articulation de la rotule.
Distal, ale - qui est le plus éloigné du point d'attache d'un membre ; à l'écart du corps.
Dorsal, ale - se rapporte à l'arrière ; contraire de ventral, de palmaire ou de plantaire.
Dorsiflexion - mouvement du pied dans le plan sagittal ; mouvement vers la jambe.
Excentrique - action du muscle selon laquelle la tension s'effectue dans le muscle pendant qu'il s'allonge. Le travail exécuté est néfaste.
Action excentrique - contraction d'un muscle qui ne peut pas surmonter la résistance imposée ; la longueur de l'ensemble du muscle augmente.
Endurance - aptitude à continuer à exécuter un certain exercice physique.
Énergie - aptitude à exécuter le travail.
Énergie (cinétique) - énergie associée au mouvement.
Énergie (potentielle) - énergie en fonction de la position.
Système énergétique - un des trois systèmes métaboliques produit une série de réactions chimiques qui entraînant la formation de déchets et la fabrication d'ATP.
Éversion - mouvement de la plante du pied vers l'extérieur; contraire d'inversion.
Extension - mouvement d'une articulation qui entraîne deux parties du corps dans ou vers une ligne droite tout en augmentant l'angle de l'articulation. Retour à la position anatomique à partir d'une position de flexion dans le plan sagittal.
Force extérieure - poussaee ou traction du corps produit par une source exterieure au corps.
Rotation externe - mouvement de la surface antérieure d'un segment à l'écart de l'axe médian ; également appelée «rotation latérale».
Fibrillation accelérée - fibres des muscles squelettiques les plus actives en courte durée, pendant un exercice intensif, p. ex., pendant les sprints et les sauts.
Fatigue - inaptitude à maintenir un certain niveau de performance physique.
Mobilité - amplitude du mouvement exécuté par une certaine articulation ou un certain groupe d'articulations et entrainé par des os, des structures osseuses, des muscles, des tendons et des ligaments associés.
Flexion - mouvement d'une articulation au cours duquel les os de chaque côté de l'articulation se rapprochent et diminuent l'angle de l'articulation. Le mouvement de l'articulation hors de la position anatomique s'effectue dans le plan sagittal.
Livre par pied - travail requis pour déplacer une livre de résistance sur une distance d'un pied.
Force - interaction entre deux objets sous forme d'une poussaue ou d'une traction qui peut provoquer un mouvement. Force = masse x acceleration.
Angle de force - angle formé par la ligne d'action et le levier, sur le côté de l'axe de l'articulation.
Couple - contractions concentriques/excentriques de muscles opposés visant à produit un mouvement tout en maintainant un axe de rotation relativement fixe.
Plan frontal - ligne imaginaire (coronaire) qui divise le corps en deux parties : antérieure et postérieure ; en angle droit par rapport au plan sagittal.
Pivot - support sur lequel tourne un levier qui se déplace ou se soulève.
Hyperextension - continuation du mouvement d'extension après la position de repos.
Hypertrophie - augmentation de la taille d'une cellule qui entraîne l'augmentation de la taille du tissu.
Impulsion - variation de l'élan.
Inertie - tendance du corps à demeurer au repos ou à continuer à bouger tant qu'il n'est pas déranged par une force extérieure.
Inférior - position plusasseau-dessusou à l'intérieur du corps.
Insertion - point d'attache musculaire le plus eloigné d'un muscle. Partie mobile ou point d'attache d'un muscle par opposition à origine.
Travail intermittent - séances de travail entrecoupees de pauses.
Forces internes - agissant sur le corps et proviennent de sources se trouvant à l'intérieur du corps humain.
Inversion - mouvement de la plante du pied vers l'intérieur. Contraire d'éversion.
Isocinetique - action au cours de laquelle le rythme du mouvement est constamment maintenu par une certaine amplitude du mouvement, même si une force maximum est appliquée.
Contraction isocinetique - contraction musculaire produit par l'amplitude du mouvement à une vitesse constante.
Isométrie - contraction en vertu de laquelle le mouvement est effectué mais aucun mouvement n'est produit.
Contraction isométrie (statique) - contraction musculaire en vertu de laquelle l'angle des articulations concernées ne subitaucun changement, tandis que la longueur du muscle contracté se modifie très légèrement, voire pas du tout.
Isotonique - contraction en vertu de laquelle le mouvement est produit.
Rotation mediale - mouvement autour d'un axe et en direction de l'axe median du corps. Également appelée rotation interne.
Medial, ale - le plus proche de l'axe median du corps ; se rapporte au centre. Contraire de l'talral.
Métabolisme - somme totale des modifications ou des réactions chimiques qui se produit dans le corps.
Bras de levier - distance la plus courte entre la ligne d'action et l'axe de l'articulation.
Quantité de mouvement - produit de la masse par la vitesse. Demeure constante sauf si l'objet est soumis à une autre force.
Contraction musculaire - rétraction d'un muscle et/ou tension développée dans un muscle.
Endurance musculaire - aptitude d'un muscle ou d'un groupe de muscles à exécuter des contractions répetées en résistant à une charge légère pour une durée prolongée.
Neutre - point entre les deux extrêmes de l'amplitude du mouvement d'une articulation.
Obésité - excès de gras corporel.
Chaine cinétique ouverte - extrémités des membres libres de se mouvoir sans faire bouger une autre articulation. Les mouvements compris dans la chaine ouverte ne sont pas prévisibles parce que les articulations peuvent fonctionner indépendamment ou à l'unisson. Comme l'efficacité mécanique est moindre, le tissu musculaire subit plus de tension.
Origine - point d'attache du muscle qui demeure relativement fixe pendant la contraction musculaire.
Effort excessif - travail d'un muscle ou d'un groupe de muscles par rapport à une résistance plus importante que la normale. La résistance (charge) peut être au maximum ou presque.
Insuffisance passive - muscle à deux articulations qui ne peut plus effectuer le pontage croisé (générer de la force) en raison de son axe anatomique le plus long qui s'est complètement allongé due à la tension créée dans le muscle opposé (antagoniste).
Stabilisation passive - causée par les composants non contractiles. La stabilisation interne est créé par le tissu conjonctif (le support musculaire n'est pas généré par la voie anatomique ou physiologique) tandis que la stabilisation externe est assurée par un banc ou un apparéil orthopédique.
Plan de mouvement - surface plate bidimensionnelle qui traverse un objet. Le mouvement se produit dans le plan ou parallèlement au plan.
Plantaire - terme lié à l'anatomie et se rapportant à la plante du pied ou à la partie inférieure.
Dorsiflexion - mouvement du pied vers le bas dans le plan sagittal, à l'ecart de la jambe.
Postéieur - terme lié à l'anatomie significant «vers l'arrière». Contraire d'antéieur.
Énergie potentielle - énergie qui est fonction de la position.
Puisance - force multipliee par la vitesse. Travail divisé par le temps.
Muscle principal - (agoniste) muscle optimal du point de vue mécanique pour produit un certain mouvement à une articulation. Il peut y avoir plus d'un muscle principal pour un mouvement particulier et un muscle spécifique peut être le muscle principal pour plus d'un mouvement à une articulation.
Résistance progressive - effort excessif d'un muscle ou d'un groupe de muscles produit constamment pendant toute la durée d'un programme d'exercice de musculation.
Pronation - mouvement triplan à une articulation sous-astragalienne consistant en une abduction, un abaissement et une éversion, qui résultat de l'abaissement de la voûte plantaire longitudinale. L'avant-bras et la paume de la main sont orientés vers le bas.
Proteine - produit d'alimentation de base contenant des acides aminés.
Proximal - vers le point d'attache du membre, ou origine.
Amplitude de mouvement - ampleur de mouvement disponible à une articulation, dans les limites anatomiques de la structure de celle-ci. Peut être qualifiée de passive (mouvement produit par une force extérieure au membre), d'active (mouvement produit par les muscles dans le membre) ou de contrariée (mouvement mis au défi par une charge additionnelle). L'ampleur de la résistance influera proportionnellement sur l'amplitude du mouvement.
Inhibition réciproque - contraction de l'agoniste qui permet à l'antagoniste de se relaxer.
Fiabilité - mesure dans laquelle une expérience, un test ou une procédure de mesure fournit les mêmes résultats au cours d'essais successifs. Également appelée «reproducibilité» ou «répétabilité».
Maximum de répetitions - charge maximum qu'un muscle ou un groupe de muscles peut soulever au cours d'un certain nombre de répetitions avant de se fatiguer. Par exemple, une charge d'un maximum de répetitions de huit est la charge maximum qui peut être soulevée huit fois.
Repositionneurs - muscles qui soulèvent l'extrémité et la déplacent ailleurs pour permettre aux muscles agonistes d'accepter de nouveau la charge ou de se propulser.
Réponse - ajustement soudain et temporaire de la fonction physiologique entrainé par une seule exposition à un exercice, p. ex., l'élevation du rythme cardiaque associée à l'attaque d'un exercice.
Mouvement de rotation - (radiale ou angulaire) mouvement d'un objet autour d'un axe fixe dans une trajectorie incurvee.
Principe ASDI - principé d'adaptation spécifique à une demande imposée. Le muscle acquerra de la force aux amplitudes de mouvement et aux vitesses spécifiques dans lesquilles vous le faites travailler.
Plan sagittal - ligne imaginaire qui divise le corps ou une quelconque de ses parties en sections droite et gauche.
Scoliose - courbure laterea de la colonne vertebrale, généralement dans la zone thoracique.
Articulation secondaire - articulations charnières qui ont une seule fonction (coude/genou). Les muscles se situent de chaque côté de ces articulations en paires virtuelles ou réelles.
Série - dans un programme d'entrainment fractionné, ensemble d'intervalles de travail et de repos. En entrainment musculaire, le nombre de répetitions effectues successivement sans pause.
Cisaillement - deux forces paralleles appliquées dans des directions opposées et qui ne sont pas alignées l'une sur l'autre constituent un effort d'écartement ou un effort imposé par la charge. Le point d'attache musculaire est l'axe au cours duquel les forces de cisaillement se développent. Il devient l'«axe des forces» par opposition à l'axe anatomique.
Muscle shunt - dirige la majeure partie de sa force contractile le long de l'os qu'il fait bouger (ce qui augmente la force vers la compression/stabilisation). Lors de la flexion d'un avant-bras, le muscle brachio-radial est un muscle shunt.
Muscle squelettique - muscle qui commande un mouvement du squelette qui s'effectue généralement sous un contrôle volontaire.
Désalignment - résultat d'un changement de vecteur effectué par un membre ou le système.
Théorie du glissement des filaments - rétraction ou élongation d'un muscle provoquée par le glissement des myofibrilles fines et épaisées les une sur les autres sans que la longueur des filaments se modifie.
Fibres à contraction lente - fibres des muscles squelettiques dont les contractions sont relativement lentes mais produit une grande quantité d'adenosine triphosphate par voie aérobie.
Entorse - déformation permanente de la structure due à un effort ou à une tension prolongée.
Muscle anticipateur - dirige la majeure partie de sa force dans l'os qu'il fait bouger plutôt que le long de celui-ci (ce qui cree une effort plus grand vers le mouvement). Lors de la flexion d'un avant-bras, le biceps est un muscle anticipateur.
Stabilisateur - muscle qui soutient ou supporte une articulation pour assurer à un autre muscle actif une base solide au-dessus de laquelle il peut tirer.
Contraction statique - contraction musculaire qui n'entraîne pas de changement de l'angle du/des articulation(s) concenée(s).
État stationnaire - état de stabilité physiologique en vertu duquel la demande d'énergie du corps peut être assez facilement satisfaite pour une durée prolongée.
Élongation - déformation de la structure par suite d'un effort.
Résistance - aptitude à fournir brièvement une force musculaire.
Effort - force créée dans une structure lorsqu'une charge est appliquée.
Exercice sous-maximal - exercice généralement effectué à un niveau d'intensité inférieur à l'intensité maximale ; peut également se rapporter à la durée de l'exercice, moins longue que la durée maximale.
Supérieur - position plus haute au-dessus ou dans le corps.
Synergie - se produit au cours de l'action de deux muscles ; ces deux muscles ont une action commune sur l'articulation et une deuxième action individuelle antagoniste ou opposée. La veritable synergie est tout simplement la stabilisation d'un muscle visant à empêcher toute action dans l'une des articulations traversées par un muscle à articulations multiples.
Synovie - liquide transparent, visqueux et lubrifiant qui se trouve dans les cavités des articulations, les bourses et les gains tendineuses.
Tendons - cordons en tissu fibreux et dense qui attachent le muscle à l'os.
Articulation tertiaire - structure de joint complexe (poignet/cheville-articulation sous-astragalienne) destinée aux mouvements commandés avec finesse.
Couple - aptitude d'une force à effectuer un mouvement autour d'un axe.
Entrainnement - programme d'exercices destiné à améliorer les aptitudes et à augmenter les capacités d'énergie d'unathlon pour un événement particulier.
Mouvement de translation - (linéaire) mouvement d'un objet en ligne droite.
Unilateral - se rapporte à un côté seulement.
Validité - mesure dans laquelle une valeur ou une information est pertinente ou significative, appropriée à la fin visée et appuyée par une vérité objective.
Vecteur - flèche représentant le point d'application d'une force, la ligne d'action ou la direction de la traction ou de la magnitude de la force exercée.
Changement de vecteur- modification d'une charge transferee entre les points d'ancrage dans une chaîne cinétique de segment.
Vitesse - rythme auquel la position d'un object change avec le temps, soit le changement total de position divisé par le changement total dans le temps : V-d/t.
Poids - le poids d'un objet correspond à la force de gravitation exercée sur l'objet par la terre. P = mg , g représentant l'accelération de la gravitation.
Travail - T = Fd. La quantité de travail exécutée est égale à la force appliquée à un objet multipliee par la distance sur laquelle l'objet est déplaced.
CYBEX
| APPAREIL | SècleCoût | Date | |||||||||||||||||||||||||||||||
| Plaques | |||||||||||||||||||||||||||||||||
| Répétitions | |||||||||||||||||||||||||||||||||
| Plaques | |||||||||||||||||||||||||||||||||
| Répétitions |  | ||||||||||||||||||||||||||||||||
| Plaques | |||||||||||||||||||||||||||||||||
| Répétitions | |||||||||||||||||||||||||||||||||
| Plaques | |||||||||||||||||||||||||||||||||
| Répétitions | |||||||||||||||||||||||||||||||||
| Plaques | |||||||||||||||||||||||||||||||||
| Répétitions |  | ||||||||||||||||||||||||||||||||
| Plaques | |||||||||||||||||||||||||||||||||
| Répétitions | |||||||||||||||||||||||||||||||||
| Plaques | |||||||||||||||||||||||||||||||||
| Répétitions | |||||||||||||||||||||||||||||||||
| Plaques | |||||||||||||||||||||||||||||||||
| Répétitions | |||||||||||||||||||||||||||||||||
| Répétitions | |||||||||||||||||||||||||||||||||
CYBEX
INSTRUCTEUR
Calendrier d'entrainment en série unique et en circuit
| APPAREIL | SècleCossin | Date | ||||||||||||||||||||||||||||||||
| Plaques | ||||||||||||||||||||||||||||||||||
| Répétitions | ||||||||||||||||||||||||||||||||||
| Plaques | ||||||||||||||||||||||||||||||||||
| Répétitions |  | |||||||||||||||||||||||||||||||||
| Plaques | ||||||||||||||||||||||||||||||||||
| Répétitions | ||||||||||||||||||||||||||||||||||
| Praques | ||||||||||||||||||||||||||||||||||
| Répétitions | ||||||||||||||||||||||||||||||||||
| Praques |  | |||||||||||||||||||||||||||||||||
| Répétitions | ||||||||||||||||||||||||||||||||||
| Praques | ||||||||||||||||||||||||||||||||||
| Praques | ||||||||||||||||||||||||||||||||||
| Répétitions |  | |||||||||||||||||||||||||||||||||
| Praques | ||||||||||||||||||||||||||||||||||
| Répétitions |  | |||||||||||||||||||||||||||||||||
| Praques | ||||||||||||||||||||||||||||||||||
| Répétitions |  |
CYBEX
| APPAREIL | Série Colab | Date | |||||||||||||||||||||||||||||||||
| Série | 1 | 2 | 3 | 1 | 2 | 3 | 1 | 2 | 3 | 1 | 2 | 3 | 1 | 2 | 3 | 1 | 2 | 3 | 1 | 2 | 3 | 1 | 2 | 3 | 1 | 2 | 3 | 1 | 2 | 3 | 1 | 2 | 3 | ||
| Plaques | |||||||||||||||||||||||||||||||||||
| Répétitions | |||||||||||||||||||||||||||||||||||
| Plaques | |||||||||||||||||||||||||||||||||||
| Répétitions | |||||||||||||||||||||||||||||||||||
| Plaques | 1 | ||||||||||||||||||||||||||||||||||
| Répétitions | |||||||||||||||||||||||||||||||||||
| Plaques | 1 | ||||||||||||||||||||||||||||||||||
| Répétitions | |||||||||||||||||||||||||||||||||||
| Plaques | |||||||||||||||||||||||||||||||||||
| Répétitions | 1 | ||||||||||||||||||||||||||||||||||
| Plaques | |||||||||||||||||||||||||||||||||||
| Répétitions | 1 | ||||||||||||||||||||||||||||||||||
| Plaques | |||||||||||||||||||||||||||||||||||
| Répétitions | 1 | ||||||||||||||||||||||||||||||||||
| Plaques | 1 | ||||||||||||||||||||||||||||||||||
| Répétitions | 1 | ||||||||||||||||||||||||||||||||||
Calendrier d'entrainment en séries multiples et en circuit
| APPAREIL | Séquence | Date | ||||||||||||||||||||||||||||||||||||
| Série | 1 | 2 | 3 | 1 | 2 | 3 | 1 | 2 | 3 | 1 | 2 | 3 | 1 | 2 | 3 | 1 | 2 | 3 | 1 | 2 | 3 | 1 | 2 | 3 | 1 | 2 | 3 | 1 | 2 | 3 | 1 | 2 | 3 | 1 | 2 | 3 | ||
| Plaques | ||||||||||||||||||||||||||||||||||||||
| Répétitions | ||||||||||||||||||||||||||||||||||||||
| Plaques | ||||||||||||||||||||||||||||||||||||||
| Répétitions | ||||||||||||||||||||||||||||||||||||||
| Plaques | 1 | |||||||||||||||||||||||||||||||||||||
| Répétitions | ||||||||||||||||||||||||||||||||||||||
| Plaques | 1 | |||||||||||||||||||||||||||||||||||||
| Répétitions | ||||||||||||||||||||||||||||||||||||||
| Plaques | ||||||||||||||||||||||||||||||||||||||
| 1 | Répétitions | |||||||||||||||||||||||||||||||||||||
| Plaques | ||||||||||||||||||||||||||||||||||||||
| Répétitions | 1 | |||||||||||||||||||||||||||||||||||||
| Plaques | ||||||||||||||||||||||||||||||||||||||
| Répétitions | 1 | |||||||||||||||||||||||||||||||||||||
| Plaques | ||||||||||||||||||||||||||||||||||||||
| Répétitions | 1 | |||||||||||||||||||||||||||||||||||||
4 - Exercices



Voudevezavohu etcomprstouslesinuclionsetouslesavertissementsavantdutiliserl'equipement.
REMARQUE: Reportez-vous aux conseils d'entrainment général du chapitre 3 et à toutes les informations relatives à la sécurité du chapitre 1.
Présentation du FT-360S
Le Functional Trainer Cybex FT-360S est un outil d'entraînement évolué dont les possibilités d'ajustement sont pratiquement infinies. Cette section vous fournira des informations pertinentes sur la façon d'utiliser le FT-360S, notamment sur l'ajustement et la sécurité, la pile de poids et la résistance effective et les possibilities en matière d'exercice.
Ajustement et sécurité
Les bras du FT-360S s'ajustent dans les deux plans de mouvement, offrant la possibilité unique d'adapter réellement la trajectory. Ces plans de mouvement comprehennent un modele "Rotation" et un modele "Portée".
La rotation autorisée par le FT-360S consiste en un mouvement de 180 degrés au total. Cette rotation permet 10 positions, numéroétées de 1 à 10 et séparées par des intervalles de 20 degrés. La portée autorisée par le FT-360S consiste en un mouvement de 45 degrés au total, avec 3 positions d'ajustement entrecoupées d'intervalles de 15 degrés. Ces ajustements sont désignés par les lettres A à C. Ils permettent à l'utilisateur de modifier la hauteur et l'amplitude de mouvement souhaités.
Chaque bras est équilibré dans les deux sens, ce qui facilitite l'ajustement et assure une sécurité fiable. La poignée située sur le bras tient lieu de point de referencia pour tener le bras pendant l'ajustement.
REMARQUE : Pour une sécurité optimale, il est recommendé de contrôler le bras pendant l'ajustement. De plus, assurez-vous que personne, ni même des objets, n'entrave la trajectory du bras pendant l'ajustement.
Pile de poids et résistance effective
Une pile de poids de 300 lb (136 kg) fournit la résistance pour les deux bras. Chaque plaque pèse 20 lb (9 kg), ce qui autorise 15 ajustements.
Le mecanisme de cablage du FT-360S est unique car il autorise l'exercice unilateral et bilatéral. Lorsque l'utilisateur travaille avec chaque bras, la résistance effective équivaut au quart du poids de chaque plaque de poids.

MISE EN GARDE : Avant d'utiliser l'équipement, assurez-vous que la goupille de pile de poids est complètement insérée.
Possibilities en matière d'exercice
Grac à la possibilité d'ajuster deux plans et la pile de poids selon les rapport 4:1/2:1, ce système d'entrainment autorise une application exceptionnelle. Il offre une plate-forme ideale à partir de laquelle vous pouvez effectuer des exercices de rééducation, des exercices axés sur un sport spécifique, des exercices visant à améliorer la performance ou des exercices traditionnels.
Le reste de cette section déscrit les exercices particuliers qu'il est possible d'exécuter avec le Functional Trainer Cybex FT-360S. Chacun de ces exercices peut être modifié en ajustant la rotation ou la portée pour se conformer à l'amplitude du mouvement.
Squat létalé
Position des bras : 5-B
- Mettez le harnais pour les hanches autour de votre taille et agrafez-le sur le côté du corps.
- À moitié accroupi, fléchissez les hanches et les genoux pour qu'ils forment un angle de 45 degrés environ.
- Commencez le mouvement en poussant sur votre voûte plantaire tout en vous éloignant du cable de façon à arriver sur le pied dominant.
- Continue cette avance latérale tout en demeurant à moins accroupi.
- Revenez à la position de départ, répétez le mouvement et recommencez avec la jambe opposée.

Squat supérieur
Position des bras : 2-B
- En faisant face à l'appareil, levez vos bras.
- Commencez le mouvement lentement, en maintainant vos bras tendus vers le haut tout au long du mouvement.
- Maintenez votre torsé stable et observez la technique de squat appropriée tout au long du mouvement.
- L'amplitude de votre mouvement sera déterminée par la durée pendant laquelle vous pouvez maintainir la position accroupie (squat), sans arrondir votre colonne vertébrale.
- Revenues à la position de départ et recommencez.

Squat d'une seule jambe
Position des bras : 5-B
- Mettez le harnais pour les hanches autour de votre taille et agrafez-le sur le devant du corps.
- Commencez en plaçant un seule jambe face à la poulie à émerillon, les bras posés sur vos hanches ou écarts pour maintenir l'équilibre.
- Executez un mouvement d'accroupissement (squat) tout en gardant le torque stable.
- L'amplitude de votre mouvement déterminera votre aptitude à dévelopir l'équilibre et la souplesse.
- Revenez à la position de départ et répêtez le mouvement, puis reconnendez avec la jambe opposée.
REMARQUE: La sangle rembourse pour les hanches autorise l'application directe de la résistance sur les hanches tout en libérant les mains. Vous pouze également exécuter l'exercice en tenant les poignées souples à croissement supérieur (10-C) ou inférieur (1-C), ce qui augmente la résistance de rotation au torque.

Développé squat divisé
Position des bras : 1-B
- En faisant face à l'appareil, décalez vos pieds et tenez les poignées à hauteur des épaules.
- Commencez le mouvement par une flexion de la hanche vers le bas.
- Maintenez le torsé stable et revenez à la positionABOUT, tout en poussant vers le haut.
- Revenez à la position de départ et recommencez.
REMARQUE: Assurez-vous que la position de vos pieds est ajusté de façon à éviditer que vous genou avant ne dépasse pas vos orteils.

Extension de la hanche
Position des bras : 1-A
- Placez la sangle de cheville autour de votre cheville en l'agrafant à l'avant.
- En faisant face à l'appareil, pliez légèrement la jambe d'appui au niveau du genou.
- Commencez le mouvement par un développementarriere d'environ 20 degrés en utilisant le pied dominant.
- Maintenez le torsé stable et concentrez-vous sur la musculature de la hanche, en veillant à ce que vous dos ne se cambre pas trop pour accentuer le mouvement.
- Revenez à la position de départ et répêtez le mouvement, puis reconnexe avec la jambe opposée.

Flexion de la hanche
Position des bras : 2-A
- Placez la sangle pour la cheville autour de votre chevelle en l'agrafant à l'arrière.
- Placez-vous selon un angle de 90 degrés avec l'appareil. Ajustez l'autre bras de l'appareil à la hauteur qui vous permettra de vous aider à garder l'équilibre.
- Maintenez votre jambe d'appui légèrement fléchie au niveau du genou et commencez le mouvement par une élevation en utilisant le pied dominant.
- Ne soulevez pas votre jambe à plus de 45 degrès et maintenez le torsé stable en vous concentrant sur la musculature de la hanche.
- Revenez à la position de départ et répêtez le mouvement, puis reconnexe avec la jambe opposée.

MISE EN GARDE : Assurez-vous d'utiliser le bras de l'appareil uniquement pour maintainir votre équilibre. Ne l'utilise pas pour lui faire porter le poids de votre corps car vous poursriez vous blesser ou endommager l'appareil.

Adduction de la fente
Position des bras : 6-C
- Commencez par tourner le dos à l'appareil. Placez vos bras de niveau avec le sol, écarts des côtés, et fléchissez légèrement les coudes.
- Commencez le mouvement en effectuant une fente arrière, tout en exécutant une adduction (écarté) au niveau de l'épaule.
- Revenez à la position de départ en reculant votre pied avant et en éloignant vos bras.
- Répétez le mouvement, puis recommencez avec la jambe opposée.

Adduction des épaules
Position des bras : 2-A
- Placez-vous selon un angle de 45 degrés avec l'avant de l'appareil, pieds écartés et genoux légrement fléchis.
- Saisissez la poignée tout en gardant votre bras droit et votre coude légèrement fléchi. Maintenez cette position tout au long de l'exercice.
- Tirez la poignée vers le haut et en diagonale devant votre corps tout en maintainant la musculature du torsé contractée tout au long du mouvement.
REMARQUE: L'amplitude du mouvement a ete depassee si la rotation de votre torse se produit en un mouvement continu.
4. Revenez à la position de départ et répêze le mouvement, puis recommencez du côte opposé.
REMARQUE: Cet exercice peut être exécuté en variant la position du bras de l'appareil pour emprunter plusieurs轨道交通es. La modification de la position doit peut modifier la courbe de la force du mouvement, selon l'objet visé.

Développé pectoral
Position des bras : 2-B
- Placez un banc entre les bras et attachez les poignées couples à croisement.
- Positionnez-vous sur le banc en alignant le haut des bras avec vos épaules.
- Posez fermement les pieds au sol, vos bras de niveau avec le sol et vos coudes fléchis à 90 degrès.
- Maintenez la position adequate des épaules, la cage thoracique soulevée et les épaules vers l'arrête tandis que vous poussez les poignées vers le haut et ensemble.
- Revenues à la position de départ et recommencez.
REMARQUE: L'angle du banc peut être ajusté de façon à créé différentes trajectoires de mouvement. La position des bras de l'appareil pourrait devoir être ajustée (A - C) pour assurer un alignement ajusté. Pour varier l'exercice vous pouvez également utiliser un gallon stabilisateur.

Développè pectoralABOUT
Position des bras : 7-C
- Tandis que vous tournez le dos à l'appareil, décalez vos pieds et penchez légarement les hanches vers l'avant pour maintainir l'équilibre.
- Positionnez vos bras de niveau avec le sol, les coudes fléchis à environ 90 degrès. Vous doivent maintainir ce plan du mouvement tout au long de l'exercice.
- Maintenez la position adequate des épaules, la cage thoracique soulevée et les épaules vers l'arrière tandis que vous poussez les poignées vers l'extérieur et ensemble.
- Revenez à la position de départ et recommencez.

Extension du dos et des épaules
Position des bras : 1-A
- Tournez le dos à l'appareil, hanches fléchies, dos droit et bras collés au corps.
- Commencez le mouvement par une extension du dos tout en soulevant les poignées vers l'avant.
- Finissez le mouvement les mains tendues au niveau des yeux, tout en maintainant le torque stable tout au long du mouvement.
- Revenues à la position de départ et recommencez.

Abduction des épaules
Position des bras : 2-A
- Placez-vous selon un angle de 45 degrés avec l'avant de l'appareil, pieds écartés et genoux légrement fléchis.
- Abaissez votre bras devant votre corps pour saisir la poignée tout en gardant votre bras droit et votre coude légarement fléchi.
- Tirez la poignée vers le haut et en diagonale devant votre corps tout en maintainant la musculature de votre torsé contractée tout au long du mouvement.
REMARQUE : L'amplitude du mouvement a eté dépassée si la rotation de votre tors se produit en un mouvement continu.
4. Revenez à la position de départ et répêze le mouvement, puis reconnexe du côte opposé.
REMARQUE: Cet exercice peut être exécuté en variant la position du bras de l'appareil pour emprunter plusieurs轨道交通es. La modification de la position doit peut modifier la courbe de la force du mouvement, selon l'objet visé.

Tirage-poitrine vertical à la poulie haute
Position des bras : 9-A
- Asseyez-vous face à l'appareil, sur un ballon stabilisateur ou un banc positionné entre vos bras. Saisissez les poignées, vos bras tendus vers le haut.
- Commencez le mouvement en abaissant les coudes vers les cots de votre corps.
- Maintenez correctement votre posture et la position de vos épaules, en gardant votre poitrine en avant et vos épaules en arrrière tout au long du mouvement.
- Revenues à la position de départ et recommencez.
REMARQUE: Cet exercice peut également être exécutéABOUT, en abaissant les poignées unilatéralement ou bilatéralement vers l'avant. Vous pouvez aussi utiliser plusieurs angles pour varier l'exercice.

Rameur
Position des bras : 1-A
- Placez-vous face à l'appareil, en position légèrement accroupie (squat), les hanches légèrement fléchies.
- Saisissez les poignées et maintenez le buste dans la posture ajustée, le torsé stable. Vous serez dans cette position tout au long de l'exercice.
- Executez un mouvement de rameur, unilatéralement ou bilatéralement, en tirant vos épaules vers l'arrière de votre corps.
REMARQUE: Ce mouvement de rameur peut également être exécuté en maintainant la pile de poids en position haute. En continu, il crée un stimulant différent qui permet de varier l'exercice.

Développébout
Position des bras : 1-C
- En tournant le dos à l'appareil, saisissez les poignées à croissement et tenez-les au niveau des yeux.
- Positionnez-vous avec les genoux légèrement fléchis et le dos stable. Maintenez cette position tout au long de l'exercice.
- En contrôle vos mouvements, exécutez un développement sans trop cambrer votre dos.
- Abaissez les poignées de sorte que vos bras soient pratiquement parallètes au sol. Il s'agit de l'amplitude de mouvement ideale.
- Revenues à la position de départ et recommencez.
REMARQUE : Vous pouvez également exécuter l'exercice assis sur un gallon stabilisateur ou un banc (positionnement des bras 2-A) pour varier l'exercice.

Pousser-tirer
Position des bras : 6-C
- Placez-vous selon un angle de 90 degrés avec l'appareil, un bras tendu et l'autre plié à 90 degrés.
- Maintenez la musculature de votre torsé contractée. Commencez le mouvement avec un mouvement pousser-tirer en tirant une poignée tout en poussant l'autre.
REMARQUE: Le bas de votre corps ne devrait pas effectuer de rotation pendant le mouvement. Le haut de votre corps pourrait tourner légèrement lorsque vous effectuez le mouvement du rameur.
- Répétez le mouvement, puis recommENCEZ dans le sens opposé.

Extension des triceps
Position des bras : 9-C
- Tandis que vous tournez le dos à l'appareil, décalez vos pieds et penchez légèrement les hanches vers l'avant pour maintainir l'équilibre.
- Tenez les poignées, les bras levés au niveau des épaules et les coudes fléchis à 90 degrès. Maintenez vos bras de niveau avec le sol.
- Les paumes de vos mains orientées vers l'avant, pressez sur les poignées vers l'extérieur en étendant vos bras.
- Revenez à la position de départ et recommencez.

Cette page est intentionnellement laissée vierge.
5 - Service à la clientèle
Contact
L'assistance téléphonique est assurée du lundi au vendredi de 8 h 30 à 18 h 00, heures normale de l'Est.
Les clients de Cybex vivant aux États-Unis peuvent contacter le Service à la catégorie de Cybex en composant le 888 462 9239.
Les clients de Cybex vivant hors des États-Unis peuvent contacter le Service à la clientèle de Cybex par téléphone au 508 533 4300 ou par fax au 508 533 5183.
Informez-vous sur le Web à www.cybexinternational.com ou par e-mail à techhelp@cybexintl. com.
Commande de pieces
Visitez eCybex.com pour acheter des pièces en ligne, ou passez votre commande par fax au 508 533 5183.
Pour parler à un représentant du Service à la clientèle, composez le 888 462 9239 (pour les clients vivant aux États-Unis) ou le 508 533 4300 (pour les clients vivant hors des États-Unis). Vous pouvez également nous contacter par email à l'adresse suivante : techhelp@cybexintl.com
Veuillez avoir les informations ci-dessous à portée de la main lorsque vous appelez. Les représentants Cybex pourrait ainsi mistrés vous aider :
- Numéro de série de l'unité
- Nom du produit
Le numero de série de l'unité et le nom du produit figurent sur l'autocollant du numero de série. Reportez-vous au chapitre 8 pour repérer l'emplacement exact de l'autocollant du numero de série.
- Description de la pièce
- N° de la pierce
Les descriptions et les numéroes de pieces sont fournis au chapitre 8 de ce guide.
- Adresse d'expédition
- Nom du contact
Outre I'adresse de livraison et le nom du contact,YOUR numero de compte serait utile (mais non requis).
Autorisation de回头 de matériel (ARM)
Le système d'autorisation de回头 de matériel (ARM) indique les grandes lignes des procédures à suivre pour le回头 de matériel en vue d'un remplacement, d'une réparation ou de l'obtention d'un avoir. Ce système permet de s'assurer que le matériel renvoyé est correctement traité et analysé. Suivez rigoureusement les procédures suivantes.
Pour toutes questions concernant la garantie, contactez votre distributeur Cybex autorisé. Voitre distributeur Cybex vous demandera, le cas échéant, une ARM de Cybex. En aucun cas les pieces ou l'équipement défectueux ne seront acceptés par Cybex sans l'ARM appropriée et une étiquette de Service de retard automatisé (SRA).
- Pour tout renvoi d'article défectueux, composez en tout temps le numéro de la ligne d'assistance téléphonique du Service à la clientèle répertorié ci-dessus.
- Fournissez au technicien une description détaillée du problème que vous éprouvez ou du défaut de l'article que vous souhaitez renvoyer.
- Fournisse le numéro de modulo et de série de votre équipement Cybex.
- A la désétion de Cybex, le technicien peut vous demander de renvoyer le(s) pièce(s) défectueuses à Cybex afin de les évaluer aux fins de réparation ou de remplacement. Le technicien attribuera un numéro d'ARM et enverra une étiquette de SRA. L'étiquette de SRA et le numéro d'ARM doivent visiblement figurer sur l'extérieur du paquet contenant le(s) articles(s) renvoyés. Dans le paquet contenant le(s) pièce(s), joignez la description du problème, le numéro de série de l'équipement FT 360 et le nom et l'adresse du propriétaire.
- Envoyez le paquet à Cybex par UPS.
REMARQUE : La marchandise renvoyée sans numéro ARM sur l'emballage ou les paquets envoyés contre remboursement ne seront pas acceptés par le Service de la réception de Cybex.
Pièces endommagées
Le matériel endommagé pendant le transport ne devrait pas être renvoyé aux fins d'obtention d'un avoir. La responsabilité de ces dommages incoibe au transporteur (UPS, Federal Express, entreprise de camionnage, etc.)
Dommages apparents - Sur réception de votre colis, vérifie minutieusement tous les articles. Tous les dommages déteçés lors d'une inspection visuelle doivent être notés sur la facture de fret et signés par l'agent du transporter. La non-observation de cette consigne entraînera le refus des transporteurs d'honorer leur réclamation. Le transporter doit vous fournir tous les formulaires à replir pour ce type de réclamation.
Dommage dissimulé - Les dommages qui n ont pas été constatés lors de l'inspection visuelle à la livraison mais remarqués ultérieurement doivent être rapportés au transporter d'es que possible. Lors de la constatation des dommages, il est nécessaire d'adresser au transporter, par écrit ou par téléphone, une demande d'inspection des articles dans les dix jours qui suivant la date de livraison. Conservez tous les contenant et le matériel d'emballage car ils seront requis lors du processus d'inspection. Le transporter fournira un rapport d'inspection et les formulaires nécessaires pourprésenter une demande d'indemnisation pour dommage dissimulé. Les dommages dissimulés relièvent de la responsabilité du transporter.
Cette page est intentionnellement laissée vierge.
6 - Assemblage
AVERTISSEMENT: Faites preuve d'une extréme prudence lorsque vous assemblez le FT-360S, tout spécialement quand vous travailliez sur l'intérieur de l'appareil. La non-observation de cette recommendation peut entraîner des blessures.
Outils requis
- Clé Allen 7/32 po
Clé Allen 1/8 po
Huile moteur (poids moyen)
IPinces à anneau élastique externe
Maillet en caoutchouc
- Clé dynamométrique
Couteau universe
Déballage
REMARQUE: Deux personnes sont nécessaires pour assembler le FT-360S.
- Assurez-vous de dire attentivement et de bien comprendre toutes les instructions avant d'assembler le FT 360S.
REMARQUE : Chaque étape numerotée des instructions d'assemblage indique ce que vous allez faire. Les étapes désignées par des lettres et indiquées sous l'étape numerotée décrivent la procédure à suivre. Ne passez pas à l'étape 2 avant d'avoir lu attentivement toutes les instructions d'assemblage.
- Déballage (voir étapes 2A - 2D), figures 1 et 2.
A. Placez avec précaution le FT-360S près de l'endetroit où vous souhaitez l'instructor. Un dégagement de 3 pi (1 m) minimum est nécessaire autour du FT-360S (lorsqu'il est utilisé).
B. Enlevez les vis qui fixent la porte arrêté et mettez-les de côté. Ouvrez la porte.
C. Enlevez le carton et les stabilisateurs de l'intérieur du FT-360S. Reportez-vous aux figures 1 et 2.
D. Vérifiez le contenu du carton. Reportez-vous aux figures 1 et 2.

Figure 1





Figure 2
ARTICLE
N
N° DE PIECE
DESCRIPTION
20
1
9100-313
Autocollants des plaques depoids 1 - 25
80
HS-60536
Vis de blocage à tête ronde 0,375-16 x 2 noires
81
HW-60085
Rondelle 0,3125 noire
97
PR070003
Talon de surélection 2,00 x 5,25
98
PR070004
Talon de surélection 3,00 x 5,00
103
9100-207
Tube stabilisateur
Installation des talons de suréLEVation

AVERTISSEMENT: Faites preuve d'une extrème prudence lorsque vous installez les talons de surélévation. La non-observation de cette commande pourrait entraîner des blessures.
REMARQUE: Deux personnes au minimum sont nécessaires pour retarder le FT-360S de la palette.
- Enlevez le FT-360S de la palette (reportez-vous aux étapes 1A à 1C et à la figure 1).
A. Enlevez les quatre boulons fixant le FT-360S à la palette. Reportez-vous à la figure 1.
B. Avec une personne de chaque côte, soulevez avec précaution le FT-360S et retirez-le de la palette.
C. Placez le FT-360S à l'endetroit où il sera utilisé.
- Installation des talons de surélévation sur les stabilisateurs (reportez-vous aux étapes 2A à 2D et à la figure 2).
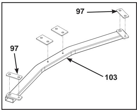
A. Repérez les quatre talons de surélivation 2 x 5,25 (n° 97) et deux stabilisateurs (n° 103).
B. Déployez l'un des stabilisateurs (n° 103) de sorte que la partie inférieure soit orientée vers le haut. Reportez-vous à la figure 2.
C. Retirez l'endos des deux talons de surélévation et installez les deux talons 2 × 5,25 ( n^97 ) tel qu'illustré à la figure 2.
D. Répétez les étapes A à C pour l'autre stabilisateur.
- Installation des talons de surélévation sur le chassinis (reportez-vous aux étapes 3A à 2E et à la figure 3).
A. Repérez les quatre talons de surélivation 3 × 5 ( n^98 ).
B. Inclinez avec précaution le FT-360S vers l'avant (30 degrés maximum) ou juste assez pour installer les talons de surélévation. Reportez-vous à la figure 3 de la page suivante.
C. Tandis qu'une personne maintain le FT-360S incliné, enlevez l'endos de deux des talons de surélévation et installez les talons 3 × 5 ( n^98 ) sur le chassin tel qu'illustré à la figure 3, puis abaissez avec précaution le FT-360S.
D. Inclinez avec précaution le FT-360S vers l'arrière (30 degrés maximum) ou juste assez pour avoir la place d'installer deux des talons de surélévation.
E. Repetez l'etape 3C.

Figure 1

Figure 2

Figure 3
- Installation des stabilisateurs (reportez-vous aux étapes 4A à 4D et à la figure 4).
A. Repérez quatre vis de blocage à tête ronde 0,375-16 x 2 (noires n° 80), quatre rondelles noires 0,3125 (n° 81) et deux stabilisateurs (n° 103).
B. Alignez l'un des stabilisateurs sur les trou s du chassis. Reportez-vous à la figure 4.
C. Fixez le stabilisateur à l'aide de deux vis de blocage à tête ronde 0,375-16 x 2 (noires n° 80) et de deux rondelles noires 0,3125 (n° 81), tel qu'illustré à la figure 4.
D. Répétez les étapes 4B à 4C pour l'installation de l'autre stabilisateur.

Figure 4
Pose des mousquetons
- Pose des mousquetons (reportez-vous aux étapes 1A et 1B et à la figure 1).
A. Faites pivoter les bras à la hauteur de l'assemblage.
B. Repérez les deux mousquetons (n° 61).
C. Attachez chaque mousqueton (n° 61) au cable, sur chaque bras à cable. Reportez-vous à la figure 1.

Figure 1
Installation de la pile de poids

AVERTISSEMENT : Faites preuve d'une extréme prudence lorsque vous installez la pile de poids. La non-observation de cette recommmandation peut entraîner des blessures.
REMARQUE: Deux personnes sont nécessaires pour exécuter cette procédure.
- Detachez l'extrémité inférieure de chaque ressort (reportez-vous aux étapes 1A à 1F et à la figure 1).
A. Faites pivoter les bras à la position n^ 10 .
B. Saisissez fermement l'extrémité inférieure du ressort.
C. Étirez le ressort vers le bas avec une main.
D. De l'autre main, retirez le connecteur de l'extrémité de cable du ressort (crochet).
E. Relâchez le ressort avec précaution et posez le cable.
F. Repetez les étapes 1A à 1E pour détacher l'extrémité inférieure de l'autre dessort.

Figure 1
- Détachez l'extrémité supérieure de chaque ressort (reportez-vous aux étapes 2A à 2E et aux figures 2 et 3).
A. Saisissez fermement l'extrémité supérieure du ressort. Reportez-vous à la figure 2.

Figure 2
B. Inclinez (penchez) la section supérieure du ressort à 90 degrés environ. Reportez-vous à la figure 3.
C. Faites glisser le crochet vers l'extérieur et retirez-le du connecteur. Reportez-vous à la figure 3.
D. Mettez le ressort de côté.
E. Repetez les étapes 2A à 2D pour detacher l'extrémité supérieure de l'autre dessort.

Figure 3
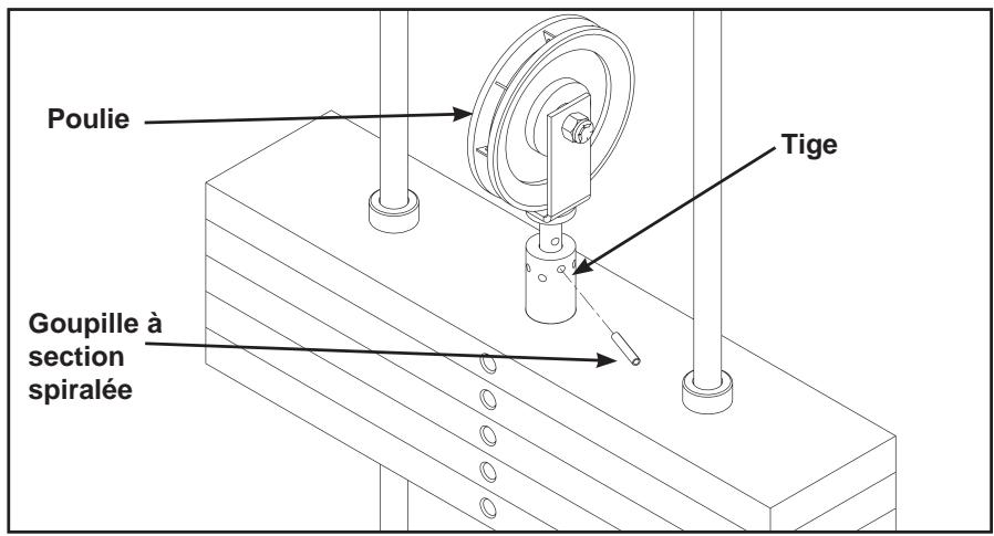
- Retrait de la courroie (reportez-vous aux étapes 3A à 3C et à la figure 4).

A. Demandez à quelqu'un de tener le haut de la poulie illustrée à la figure 4.
MISE EN GARDE : Des blessures pourraient survenir si personne ne retient la poulie tandis que vous executez l'etape 3C.
B. À l'aide d'une clé Allen de 7/32 po, retirez les 2 vis de calage.
C. Retirez la couroie et mettez-la de côté, ainsi que la poulie.

Figure 4

AVERTISSEMENT : Faites preuve d'une extréme prudence lorsque vous installez la pile de poids. La non-observation de cette recommendation peut entraîner des blessures.
REMARQUE: Deux personnes sont nécessaires pour exécuter cette procédure.
4. Retirez le capot supérieur.
A. À l'aide d'une clé Allen de 1/8 po, retirez les 4 vis qui maintainennent le capot supérieur. Reportez-vous à la figure 5.
B. Mettez les vis et le capot supérieur de côte.

Figure 5
5. Installez la pile de poids (reportez-vous aux étapes 5A à 5N et aux figures 6A à 8).
A. À l'aide de pince à annexe élastique externe, faites glisser l'anneau élastique inférieur (et la rondelle ondulée) vers le bas à environ 2 po (5,08 cm) de la partie supérieure de la tige guide (pour autoriser l'accès à l'anneau supérieur). Répétez cette étape pour l'autre tige guide. Reportez-vous à la figure 6A.

Figure 6A
B. Soulevez l'une des tiges guides suffisamment pour exposer l'anneau élastique supérieur. À l'aide d'une pince à anneau élastique externe, enlevez l'anneau élastique supérieur, puis abaissez la tige guide.
C. Enlevez l'anneau élastique inférieur et la rondelle ondulée.
D. Répétez les étapes 5B et C pour l'autre côté.
E. Soulevez légèrement les tiges guides et inclinez-les vers l'extérieur.
F. Enlevez avec précaution le poids supérieur.
G. Nettoyez les tiges guides sur toute leur longueur. Lubrifiez à l'aide d'une légère couche d'huile moteur de poids moyen.

Figure 6B

AVERTISSEMENT: Faites preuve d'une extrème prudence car la pile de poids est instable tant que les tiges guides ne sont pas fixées. La non-observation de cette recommandation entraînera des blessures.
H. Avec l'aide d'une autre personne, installez avec précaution chaque plaque de poids, une par une. REMARQUE : Lorsque vous installez les plaques de poids, positionnez-les de sorte que les larges bords des bagues soient orientés vers le haut et les bords étroits des bagues soient orientés vers le bas. Reportez-vous aux figures 7A et 7B.

Figure 7A

Figure 7B
I. Faites glisser avec précaution le poids supérieur sur les tiges guides.
J. Sur l'une des tiges guides, placez l'anneau elastique inférieur et la rondelle ondulée à au moins 2 po (5,08 cm) au-dessous de l'extrémité de la tige guide. Inclinez avec précaution les tiges guides vers l'arrête pour les replacer à l'intérieur de la colonne, dans les trous des tiges guides.
K. Soulevez la tige guide par le trou de montage et installez l'anneau elastique supérieur dans la rainure supérieur de la tige guide. Reportez-vous à la figure 6B.
L. Abaissez la tige guide, puis fixez la rondelle ondulée et l'anneau elastique inférieur. Reportez-vous à la figure 6B.
M. Repetez les étapes I à K pour fixer l'autre tige guide.
N. Placez de nouveau la poulie et la courroie à l'intérieur de la colonne et sur la plaque de poids supérieure. Reportez-vous à la figure 4.
O. Serrez les deux vis de calage. À l'aide d'une clé dynamométrique, serrez au couple de 300 - 350 po/lb (34 à 40 N-m).
6. Réinstallez le capot supérieur.
A. Repérez le capot supérieur et les 4 vis reliés à l'étape 4A-B.
B. Placez le capot supérieur en place sur le dessus du chassin.
C. Serrez manuellement les vis en place.
D. À l'aide d'une clé Allen de 1/8 po, retirez solidement les 2 vis de calage.
7. Connectez l'extrémité supérieure de chaque ressort (reportez-vous aux étapes 7A - D, figures 8 et 9.)
A. Repérez le ressort déposé aux étapes 2A-2D.
B. Saisissez fermement l'extrémité supérieure du ressort.
C. Étirez le ressort vers le haut avec une main.
D. De l'autre main, connectez le connecteur au ressort (crocket).

Figure 8

Figure 9

E. Repetez les étapes 7A à 7D pour connecter l'extrémité supérieure de l'autre dessort.
AVERTISSEMENT: Faites preuve d'une extrème prudence lorsque vous installez les ressorts. La non-observation de cette commandestration pourrait entraîner des blessures.
- Reconnectez l'extrémité inférieure de chaque ressort (reportez-vous aux étapes 8A à 8D et à la figure 10).
A. Saisissez fermement l'extrémité inférieure du ressort.
B. Étirez le ressort vers le bas avec une main.
C. De l'autre main, raccordez le connecteur de l'extrémité du cable au ressort (crochet).
D. Répétez les étapes 8A à 8C pour connecter l'extrémité inférieure de l'autre dessort.

Figure 10
- Pose des autocollants de plaques de poids (reportez-vous aux étapes 9A à 9E et à la figure 11).
A. Repérez l'autocollant du numéro de pile de poids. REMARQUE: Vous n'aurez pas à utiliser les 25 autocollants de numéro.
B. Enlevez avec précaution la pellicule protectrice de l'autocollant. Alignez les trous de l'autocollant avec les trous correspondants de la pile de poids. REMARQUE: Pour le moment, ne laissez pas l'adhésif entre en contact avec la pile de poids.
C. Insérez une tige guide dans chaque trou du gabarit. REMARQUE: N'importe quel objet pouvant passer par le trou de la pile de poids, par exemple une goupille sélectrice de pile de poids, peut servir de tige guide.
D. Alignez soigneusement l'autocollant et apposez-le sur les plaques de poids en frrottant la surface.
E. Enlevez avec précaution la face de sorte que les numérios adhérent aux plaques de poids.

Figure 11
Assemblage final
- Inspection visuelle (reportez-vous à l'étape 1A).
A. Inspectez visuèlement le FT-360S au complet. Assurez-vous que les câbles sont correctement installés, que les accessoires de quincaillerie sont solidement fixés et que la pile de poids est assemblée de façon appropriée.
B. Vérifiez attentivement si l'autocollant portant le nombre de pieces 9100-348-2 est apposé et assurez-vous qu'il n'est pas abîné. Reportez-vous à la figure 1 pour voir comment se présente l'autocollant et à la figure 2 pour déterminer son emplacement.

Figure 1

Figure 2
C. Vérifiez si l'autocollant d'advertisement et de mise en garde portant le numero de piece 9100-348-2 est apposé et s'il n'est pas abîné. Reportez-vous aux figures 3 et 4 pour voir comment seprésentent les autocollants et où ils doivent être apposés.

Figure 3
Figure 4

A. Autocollant d'avertissement...... 4605-381-2
B. Autocollant d'avertissement...... 8500-311-2
- Fermez le couvercle arrière (reportez-vous à l'etape 2A).
A. Fermez le couvercle arriere et fixez-le en utilisant les vis que vous avez retirées lorsque vous l'avez ouvert (au début de l'assemblage).
- Inspection of fonctionnement (reportez-vous à l'objet 3A).
A. Vérifiez si l'appareil fonctionne correctement.
B. Laissez les poignées, la sangle pour la cheville et le harnais pour les hanches sur l'appareil ou à proximé.
Cette page est intentionnellement laissée vierge.
7 - Maintenance
Toutes les activités de maintenance préventive doivent être exécutées régulièrement. La maintenance routinière favorise le fonctionnement sans problème et en toute sécurité de votre Functional Trainer FT 360 S.
REMARQUE: Cybex n'est pas responsable de l'exécution des activités régulières d'inspection et de maintenance sur vos apparêls. Formez tout le personnel à l'inspection et à la maintenance de l'équipement ainsi qu'à la déclaration et au rapport d'accident. Des représentants Cybex se tiennent à la disposition des clients pour répondre à leurs questions par téléphone.

PRECAUTIONS
Pour l'entretien, utilisez uniquement les pieces de rechange Cybex. Le non-respect de cette recommandation peut des blessures.
REMARQUE.
Les inspections et les réparations ne doivent être effectuées que par du personnel formé.
Cybex annulera la garantie en cas d'utilisation de pieces de rechange non-Cybex.
Proédures quotidiennes
Veuillez passer en revue les consignes suivantes
En cas d'utilisation de puissants produits de nettoyage, tel que l'alcool à friction ou l'eau de Javel, il est recommancede tester le produit sur un endroit dissimulé. D'autres produits de nettoyage peuvent containir des dissolvantspuissants ou inconnus et leur formule peut etre modifie sans preavis par le fabricant. Il est recommanced'essayerles autres agents de nettoyage dans un endroit non exposé afin de déterminer sils pourraient abimer le revetement.N'utilisez jamais de solvants ou de nettoyants puissants destinés à l'usage industriel. Pour nettoyer les zonestachées, il est recommandedeutiliser un chiffon blanc doux. Evitez d'utiliser de I'essuie-tout.
Les produits de nettoyage peuvent être dangereux/irritants pour la peau, les yeux, etc. Mettez des gants et des lunettes de protection. N'inhalez ou n'avalez aucun produit de nettoyage. Protégez la zone adjacente/les vêtements. Utilisez l'appareil dans un endroit bien ventilé. Observe toutes les mises en garde du fabricant. Cybex et ses fournisseurs ne peuvent être tenus responsables des blessures ou des dommages resultant de l'utilisation, appropriée ou non appropriée, des produits de nettoyage.
- Chassis - Essuyez le chassis avec une solution douce composée d'eau chaude et de savon pour laver les vehicules. Assurez-vous de laisser secher complètement. ÉVITEZ tous produits de nettoyage à base d'acid ou de chlore ainsi que les produits à base d'abrasifs qui pourrait rayer ou endommager l'équipement.
- Chrome - Nettoyez les tubes chromés en commençant avec un produit à polir le chrome, puis appliqué une couche de cire pour vehicule. Il est recommendé d'utiliser des nettoyants neutres dont la teneur en pH est de 5,5 à 8,5. Assurez-vous de laisser sécher complètement. ÉVITEZ tous produits de nettoyage à base d'acide ou de chlore ainsi que les produits à base d'abrasifs qui pourrait rayer ou endommager l'équipement.
- Panneau frontal - Les techniques de nettoyage du panneau frontal du FT 360 indiquées ci-dessous se basent sur les pratiques utilisées couramment dans l'industrie. Pour vous assurer d'obtenir les résultats prévus, commencez toujours par utiliser le produit nettoyant et la technique de nettoyage sur une petite section du matériel en guise de test.
Consignes pour le nettoyage du panneau frontal :
Pour appliquer les nettoyants, laver et rincer, utilisez des éponges ou des chiffons doux et propres.
- Àprous l'application du produit, rincez à l'eau chaude.
N'utilisez pas de produits nettoyants abrasifs ou a teneur elevée en alcaline.
- N'applique pas les produits nettoyants pendant des périodes prolongées, lave immédiatement.
N'appliquez pas les produits nettoyants directement à la lumière du soleil ou à des températures élevées.
N'utilise pas de grattoirs, de racloirs ou de rasoirs.
- Ne nettoyez pas avec de l'essence.
Produits de nettoyage et déterments compatibles :
- Formule 409
Top Job
Joy
Palmolive - Windex avec ammoniaque D
Pour minimiser les rayures fines ou capillaires :
Pour aider à combler les rayures, appliquez un produit à polir doux pour vehicules et enlevez-le avec un chiffon doux et propre.
Produits à polir conseillés :
Proédures hebdomadaires
- Inspectez tous les écrous et les boulons pour déceler tout desserrage évientuel. Serrez au besoin.
- Inspectoriz tous les cables afin de deceler les signes d'usure ou les dommages eventuels et vous assurer que la tension est adequate. Lors de l'inspection des cables, passez le doigt sur les cables et recherchez tout particulierement les courbures eventuelles sur les cables et les points d'attache.

AVERTISSEMENT: Remplacez immédiatement tous les câbles usés. Les conditions suivantes peuvent indiquer qu'un cable est usé :
- Une déchirure ou une fissure dans la gaine du cable, qui expose le cable. Reportez-vous à la figure 1.

Figure 1
- Une déformation du cable. Reportez-vous à la figure 2.

Figure 2
- Une gaine vrillée. Reportez-vous à la figure 3.

Figure 3
- Une gaine de cable trop étirée, "amincie". Reportez-vous à la figure 4.

Figure 4
- Inspectez les courroies (sur toute leur longueur) afin de déceler tout manque d'uniformité et toute trace d'usure. Remplacez immédiatement la couroie si vous constaze l'une des conditions suivantes :
| Vue en 3D | Vue en 3D ou de profil | |
| • Décollement de la gaine de couroie | ||
| • Ondulation de la couroie | ||
| • Courroie amincie (section étroite) | Remplacez la couroie si une section est de 1/32 po (0,07 cm) plus étroite que le reste. | Examinez le bord de la couroie (des deux côts). Remplacez la couroie si une section est plus étroite que le reste. |
| • Fissures ou fendillements | ||
| • Un ou plusieurs brins de Kevlar qui sortent. Remarque: Remplacez également la couroie en cas d'effilochement notable du Kevlar. |
- Inspectez les barres et les poignées afin de détecter tous signes d'usure, tout particulièrement sur les points d'attache.
Remplacez immédiatement toutes les poignées usées.
- Inspectez les mousquetons pour vous assurer qu'ils s'enclenchent correctement (si ce n'est pas le cas, ils sont usés).
Remplacez immédiatement tous les mousquetons usés.
- Inspectez les poignées pour déterminer si elles sont lâches ou usées.
Remplacez immédiatement toutes poignées lâches ou usées.
- Inspectez toutes les étiquettes pour vous assurer qu'elles sont lisibles, y compris les cartes d'instruction et les autocollants d'avertissement et de mise en garde.
Remplacez immediatement toutes les étiquettes abimées.
- Inspectez toutes les piles de poids pour vérifier si elles sont bien alignées et si elles fonctionnent correctement.
Corriguez immédiatement tous les problèmes d'alignement et de fonctionnement.
- Nettoyez les tiges guides de pile de poids sur toute leur longueur. Graissez-les d'une légère couche d'huile mateur de poids moyen.
Proédures annuelles
Remplacez tous les câbles tous les ans au moins.
Environnement
Electricité statique - Selon le lieu, l'air peut être sec, ce qui entraîne fréquement de l'électricité statique, tout particulièrement en hiver. Vous avez peut-être remarqué que le fait de marcher sur de la moquette puis de toucher un objet métallique suffit à creer de l'électricité statique. Il en va de même lorsque vous utilisez votre apparéil. Vous pourriez dessentir un choc en raison de l'électricité statique accumulée sur votre corps et du trajet de la décharge à travers l'appareil. Si cela se produit, vous devriez augmenter le niveau d'humidité jusqu'à un niveau adéquat à l'aide d'un humidificateur.
Humidité - L'appareil est donc pour fonctionner normalement dans un environnement où le niveau d'humidité relative se situe entre 30% et 75%.
REMARQUE: N'installez pas ou n'utilisez pas l'appareil dans un endroit où le niveau d'humidité est très élevé, par exemple à proximé d'un bain de vapeur, d'un sauna, d'une piscine interieure ou à l'extérieur. Une exposition excessive à la vapeur, au chlore et/ou au brome pourrait avoir des conséquences néfastes sur l'électronique ainsi que sur d'autres pièces de l'appareil.
Température - L'équipement est créé pour fonctionner normalement dans un environnement à plage de varie de 10^ ( 50^ ) à 40^ ( 104^ ).
Entreposage
Humidité - La machine peut être expediée et rangée dans un milieu où l'humidité relative varie de 10 à 90%.
REMARQUE: N'installez pas ou n'utilisez pas l'appareil dans un endroit où le niveau d'humidité est très élevé, par exemple à proximé d'un bain de vapeur, d'un sauna, d'une piscine interieure ou à l'extérieur. Une exposition excessive à la vapeur, au chlore et/ou au brome pourrait avoir des conséquences néfastes sur l'électronique ainsi que sur d'autres pieces de l'appareil.
Température - L'appareil peut être expédé et entreposé dans des conditions de température ambiente allant de 0^ (32°F) à 60°C (140°F) degrés.
Outils requis pour ajuster le cable de pile de poids :
-
Chasse-goupille de 3/16 po
Marteau -
Notez l'emplacement de la goupille cylindrique dans la garniture de cable. Reportez-vous à la figure 1.

Figure 1
- À l'aide d'un chasse-goupille de 3/16 po et d'un marteau, faites sorting la goupille à section spiralée hors du connecteur de plaque supérieure et de la garniture de cable.
- Saisissez fermement la garniture de cable et tirez-la vers le bas pour serrer le cable. Faites tourner la garniture pour aligner le trou de la goupille à section spiralée avec une ouverture située dans le connecteur de plaque supérieure.
- Insérez le chasse-goupille dans le trou du connecteur de plaque supérieure et de la goupille à section spiralée pour maintainir le cable en place.
- Faites passer le chasse-goupille dans le trou du connecteur de plaque supérieure et dans la garniture du cote opposé, en poussant le chasse-goupille vers l'extérieur. Assurez-vous que les extrémités de la goupille à section spiralées affreulent.
Cette page est intentionnellement laissée vierge.
8 - Service
Veuillez you reporter aux listedes de pieces detachedes, aux diagrammes de vue eclatede et aux schémas d'acheminement des courroies et des cables figurant dans les pages suivantes.

PRECAUTIONS
Pour l'entretien, utilisez uniquement les pieces de rechange Cybex. Le non-respect de cette recommandation peut des blessures.
REMARQUE: Les inspections et les réparations ne doivent être effectuées que par du personnel formé.
Cybex annulera la garantie en cas d'utilisation de pieces de rechange non-Cybex.
Cette page est intentionnellement laissée vierge.
| ITEM | QTY | PART NO. | DESCRIPTION |
| 40 | 2 | 9101-300 | SPRING, EXTENSION 1.671 x 1.995 x 26.00 LG |
| 41 | 1 | 9101-60 | FT-360S COATED ASSY |
| 42 | 2 | AH020000 | SWIVEL HOUSING |
| 43 | 1 | BH030207 | PIN, WEIGHT SELECTOR |
| 44 | 2 | BR030206 | RING, RETAINING |
| 45 | 4 | BR030213 | RETAINING RING, 2.00 EXTERNAL |
| 46 | 4 | BR030214 | RETAINING RING, .625 DIA |
| 47 | 2 | BR030224 | RETAINING RING, 1.188 INTERNAL |
| 48 | 4 | BS070201 | COM SPRING .56 x .66 1.50 LG |
| 49 | 1 | CC010203 | BOX, RSC 10 X 6 X 12 (NOT SHOWN) |
| 50 | 1 | CJ000027 | BUBBLE WRAP, 24 INCHES WIDE |
| 51 | 1 | CM000211 | DECAL, PATENT PENDING |
| 52 | 1 | CP300200 | BAG, POLY 4.00 x 4.00 |
| 53 | 1 | CP300201 | POLY BAG 9 X 12 |
| 54 | 2 | EW000027 | CABLE TIE |
| 55 | 2 | FB030213 | ROD END BEARING FEMALE .375-24 UNF |
| 56 | 4 | FB130206 | BEARING, FLANGE 2.00 ID. x 2.25 OD. x 1.00 LG |
| 57 | 4 | FB130212 | BUSHING, FLANGE .75 ID x .875 OD x .75 LG |
| 58 | 66.375"GB000202 | BELT, .95 WIDE | |
| 59 | 2 | GP000000 | PULLEY ASSEMBLY - 4.50 |
| 60 | 2 | GP000209 | PULLEY ASSEMBLY-3.50 |
| 61 | 2 | GQ000206 | SNAP LINK |
| 62 | 4 | HC700415 | BHSCS .375-16 X .75 |
| 63 | 4 | HC700426 | BHSCS .375-16 X 2.00 |
| 64 | 2 | HC700428 | BHSCS .375-16 X 2.25 |
| 65 | 4 | HC702815 | SHCS .375-16 X .750 |
| 66 | 2 | HC702817 | SHCS .375-16 X 1.00 |
| 67 | 4 | HC702822 | SHCS .375-16 X 1.50 |
| 68 | 46 | HF579000 | PANEL FASTNER, 10-24 U TYPE |
| 69 | 4 | HF700000 | PANEL FASTNER, .375-16 , U TYPE |
| 70 | 4 | HM580410 | BHSCS .190 10-32 X .375 |
| 71 | 4 | HN-60065 | NUT, HEX SELF- LOCKING .312-18 BLK ZINC |
| 72 | 6 | HN704400 | NUT, HEX JAM .375-16 |
| 73 | 24 | HN704901 | LOCKNUT, .375-16 NYLON |
| 74 | 2 | HP286715 | PIN, .188 DIA x .75 ROLL |
| ITEM | QTY | PART NO. | DESCRIPTION |
| 1 | 13 | 08014 | PULLEY ASSEMBLY - 4.50 |
| 2 | 2 | 08135 | BRG, BALL |
| 3 | 4 | 08229 | P/PIN, DETENT |
| 4 | 2 | 11040-301 | CLAMP BLOCK INSERT |
| 5 | 4 | 11040-440 | KNOB |
| 6 | 2 | 3900-438 | DECAL, CYBEX |
| 7 | 2 | 4605-323 | WT ROD .625 DIA x 45.00 |
| 8 | 2 | 4700-019 | BEARING, FLANGE.62 ID. x .92 OD. x 1.50 LG |
| 9 | 1 | 4800-255 | C TOP WT 15-4 X 18 |
| 10 | 1 | 51073 | HIP HARNESSE |
| 11 | 1 | 51122 | ANKLE STRAP |
| 12 | 1 | 51198 | WARRANTY BOOKLET (NOT SHOWN) |
| 13 | 1 | 54001 | SIGN FACILITY SAFETY |
| 14 | 1 | 54600 | FT360 TRAINING CD ROM |
| 15 | 1 | 9100-006 | PALLET, SHIPPING |
| 16 | 2 | 9100-204 | P ARM ADJUSTMENT |
| 17 | 2 | 9100-303 | MOLDED PULLEY SWIVEL |
| 18 | 2 | 9100-304 | DECAL, ROTATIONAL POSITION 1 - 10 0 |
| 19 | 1 | 9100-311 | CAP, SHROUD COVER |
| 20 | 1 | 9100-313 | DECAL, WEIGHT PLATE 1 - 25 |
| 21 | 2 | 9100-314 | CYLINDER, DAMPNER |
| 22 | 4 | 9100-315 | CLIP, DAMPNER SAFETY |
| 23 | 2 | 12220-005 | HANDLE ASSEMBLY |
| 24 | 2 | 9100-318 | GRIP, 5.88 LG x 2.00 OD x 11 GA WALL |
| 25 | 2 | 9100-343 | PLATE, SPRING CABLE RETainer |
| 26 | 4 | 9100-353 | SPACER, ARM CLEVIS |
| 27 | 1 | 9100-365 | PANEL, SHROUD FRONT |
| 28 | 1 | 9100-367 | PANEL, SHROUD END RIGHT SIDE |
| 29 | 1 | 9100-368 | PANEL, SHROUD END LEFT SIDE |
| 30 | 4 | 9100-380 | DECAL ABC POSITION |
| 31 | 4 | 9100-381 | PULSEY PIVOT PIN |
| 32 | 4 | 9100-383 | BUSHING |
| 33 | 1 | 9100-384 | PANEL, SHROUD BACK |
| 34 | 1 | 9100-385 | HINGE, .06 x 2.00 x 62.00 LONG |
| 35 | 1 | 9101-002 | CABLE S/A |
| 36 | 2 | 9101-003 | CABLE S/A |
| 37 | 1 | 9101-200 | W MAIN FRAME |
| 38 | 1 | 9101-203 | P/ BELT CLAMP POST |
| 39 | 1 | 9101-204 | P/BELT CLAMP |
*Language Key
| ITEM | QTY | PART NO. | DESCRIPTION |
| 75 | 1 | HP286819 | SPIRAL PIN .188 X 1.12 |
| 76 | 2 | HP346717 | ROLL PIN .375 X 1.00 |
| 77 | 4 | HS347600 | WASHER, SAE .375 |
| 78 | 4 | HS347601 | WASHER, FENDER .375 ID x 1.50 OD x .06 THK |
| 79 | 2 | HS407100 | WASHER, SPRING .650 ID x .790 OD x .062 THK |
| 80 | 4 | HS-60536 | BOLT, BHSC .375-16 x 2.00 BLK ZINC |
| 81 | 4 | HW-60085 | WASHER, USS .312 BLK ZINC |
| 82 | 4 | HX-60184 | BALL STUD, .312 - 18 UNC x 10 mm |
| 83 | 2 | HX-60671 | CAP, PLASTIC 1.25 ID. |
| 84 | 46 | HX570412 | BHSCS, 10-24 X .50, SS |
| 85 | 4 | HY662912 | SET SCREW, .312 - 18 UNC x .50 WITH LOCTITE |
| 86 | 4 | HY740000 | SET SCREW |
| 87 | 2 | JC700422 | BHSCS .375-16 X 1.50 |
| 88 | 9 | JC700424 | BHSCS .375-16 X 1.75 |
| 89 | 1 | JC700434 | BHSCS .375-16 X 3.00 |
| 90 | 2 | JC702850 | SHCS .375-16 UNC X 5.00 |
| 91 | 4 | JL340004 | HX HD LAG SC .375 X 3.00 |
| 92 | 2 | JN714400 | NUT, HEX JAM .375-24 UNF |
Notice Facile