WINVERTER 254 - Pompe à chaleur AXAIR - Notice d'utilisation et mode d'emploi gratuit
Retrouvez gratuitement la notice de l'appareil WINVERTER 254 AXAIR au format PDF.
| Type de pompe | Air/Eau |
| Fonction principale | Chauffage et production d'eau chaude |
| Source d'énergie | Électricité |
| Installation | Murale ou au sol |
| Contrôle | Thermostat digital |
| Compatibilité | Radiateurs, plancher chauffant |
| Émissions sonores | Non précisé |
| Classe énergétique | Non précisé |
| Dimensions unité intérieure | Non précisé |
| Dimensions unité extérieure | Non précisé |
| Poids | Non précisé |
| Type de fluide frigorigène | Non précisé |
| Température maximale de sortie | Non précisé |
| Garantie | Non précisé |
| Normes et certifications | CE, autres certifications environnementales |
FOIRE AUX QUESTIONS - WINVERTER 254 AXAIR
Téléchargez la notice de votre Pompe à chaleur au format PDF gratuitement ! Retrouvez votre notice WINVERTER 254 - AXAIR et reprennez votre appareil électronique en main. Sur cette page sont publiés tous les documents nécessaires à l'utilisation de votre appareil WINVERTER 254 de la marque AXAIR.
MODE D'EMPLOI WINVERTER 254 AXAIR
Pompe à chaleur air / eau
Winverter



SOMMAIRE
1. Description du système
Erreur!Signet nondéfi ni.
1.1. Usage et fonctionnement 4
1.2. Caractéristiques techniques 5
1.3. Présentation du module intéérieur : module hydraulique 6
2. Transport et deballage
3. Installation du module extérieur
4. Installation du module interieur
5. Raccordements Frigorifiques
6. Raccordements Hydrauliques
6.1. Raccordement chauffage mono-énergie (système base+appoint évientuel)
6.2. Raccordement chauffagebi-energie (relève de chaudière) 9
7. Raccordements Electriques
7.1. Cables a prévoir 9
7.2. Protections a prévoir 10
8. Thermostat Radio (option)
9. Verifications
9.1. Vérifications du circuit frigorifique 11
9.2. Vérifications du circuit hydraulique 11
9.3. Vérifications électriques 12
10. Mise en service
10.1. Paramétrage du boitier de commande 12
10.2.Procedure de mise en service 12
10.3.Procedure de demarrage 13
10.4. Fonctionnement du chauffage de secours 13
11. Contrôle du fonctionnement de la pompe à chaleur
12. Alarmes
13. Paramétrage du régulateur PJ32W000
13.1. Pour WINVERTER type A 15
13.2. Pour WINVERTER type E 16
14. Maintenance
Annexe 1 : Alarmes du boitier de commande
Annexe 2: Schémas électriques (à titre indicatif)
Type A - monophasé 25
Type A - triphasé 26
Type E - monophasé 26
Type E - triphasé 28
Annexe 3 : Schémas d'installation
Lire attentivement ce manuel avant de commencer l'installation.
Sous réserve de modifications techniques.
1. DESCRIPTION DU SYSTEME
1.1. Usage et fonctionnement
La pompe à chaleur WINVERTER® est destinée à assurer les fonctions suivantes :
Chauffage de la maison neuve (par plancher chauffant et/ou ventilo-convecteurs et/ou radiateursasse tempereature)
Chauffage bivalent en relève de chaudière (par plancher chauffant et/ou ventilo-convecteurs et/ou radiateursasse température)
- Climatisation ou rafraîchissement (par plancher chauffant rafraichissant et/ou ventilo-convecteurs)
Chauffage de piscine (en option)
Eau chaude sanitaire (en option)
L'appareil se compose d'un module extérieur destiné à prélever en hiver la chaleur de l'air et d'un module interieur destiné à assurer le chauffage d'un circuit d'eau.
En et e c'est la fonction inverse qui s'effectue, la chaleur prelevée dans la maison est rejetee au dehors par le module extérieur.
Boitier de commande
Le boitier de commande n'est pas une télécommande : il sert à régler la température de retard d'eau et à visualiser les paramètres techniques ou les alarmes.
L'installation de ce boitier doit se faire impératifement à proximé du module interieur.
Thermostat d'ambiance radio (option)
Un thermostat d'ambiance spécifique peut être ajouté en complément de l'installation afin de contrôler la température résultat sur l'ambiance. Il sera raccordé aux bornes dédiées à cet effet sur le module interieur (voir schémas électriques)



1.2. Caractéristiques techniques
| Caracteristique du système | Winverter 254 | Winverter 364 | Winverter 484 | Winverter 604 | |
| Puisance chaud (ext 7°C/eau 35°C) | kW | 8,50 | 11,90 | 15,10 | 18,80 |
| Puisance absorbée chaud (ext 7°C/eau 35°C) | kW | 1,88 | 2,62 | 3,35 | 4,17 |
| COP (ext 7°C/eau 35°C) | W/W | 4,52 | 4,54 | 4,51 | 4,40 |
| Puisance chaud (ext -7°C/eau 35°C) | kW | 5,00 | 7,03 | 8,92 | 11,10 |
| Puisance absorbée chaud (ext 7°C/eau 35°C) | kW | 1,91 | 2,67 | 3,40 | 4,22 |
| EER (ext 7°C/eau 35°C) | W/W | 2,61 | 2,63 | 2,62 | 2,50 |
| Volume d'eau piscine (à 26°C /ext 15°C) | m3 | 50 | 70 | 90 | 110 |
| Réfrigérant | R410A | R410A | R410A | R410A | |
| T° ext. mini d'utilisation hiver | °C | -20°C | -20°C | -20°C | -20°C |
| T° ext. maxi d'utilisation été | °C | 43°C | 43°C | 43°C | 43°C |
| Alimentation électrique | 230V/1/50Hz | 230V/1/50Hz | 230V/1/50Hz | 230V/1/50Hz | |
| 380V/3/50Hz + N | 380V/3/50Hz + N |
| Module hydraulique | |||||
| Débit d'eau minimum | m3/h | 1,5 | 2,1 | 2,6 | 3,2 |
| Dimensions | hxlxp | 670x490x260 | 670x490x260 | 670x490x260 | 670x490x260 |
| Poids | kg | 27 | 30 | 30 | 30 |
| Puiss. absorbée circulator (option) | W | 93 | 130 | 130 | 130 |
| Pression statique disponible | mCE | 3.1 | 3.9 | 3.2 | 000 |
| Niveau sonore | dB(A) | 30 | 31 | 31 | 31 |
| Appoint électrique* | kW | 6 | 6 | 6 | 6 |
| Groupe extérieur réversible | |||||
| Dimensions HxLxP | mm | 780x940x340 | 780x940x340 | 1230x940x340 | 1230x940x340 |
| Poids | kg | 58 | 65 | 100 | 111 |
| Niveau sonore PV/GV (mode chauffage) - pression sonore 1m | dB(A) | 45/49 | 45/52 | 45/53 | 45/54 |
| Charge totale R410A (précharge usine) | kg | 1,9 | 2,8 | 3,6 | 3,6 |
- 2, 4 ou 6 kW selon pontage choisi.
| Cond. de base | Limits de fonctionnement | |||||
| Froid | Chaud | Froid | Chaud | |||
| Mini | Maxi | Mini | Maxi | |||
| T° air interieur °C | 27° BS19° BH | 20° BS | 17° BS14° BH | 35° BS23° BH | 16° | 27° |
| T° air extérieur °C | 35° BS24° BH | 7° BS6° BH | -15° | 43° BH | -20° BS-20° BH | 24° BS17° BH |
1.3. Présentation du module intéérieur : module hydraulique
MODULE INTERIEUR
Vase d'expansion
Contrôleur de débit d'eau
Soupape de sécurité
Vanne de replissage
Circulateur 3 vitesses

Circuit de chauffage Raccords 1" mâles
Purgeur d'air
Condenseur haute pression
Résistance d'appoint 2/4/6 kW
Interrupteur appoint Auto/Arrêt/Asservi
Thermomètre
Manomètre
Régulateur température d'eau

Merci de me faire passer les photos actuelles
PLATINE
MODULE
INTERIEUR
2. TRANSPORT ET DEBALLAGE
Les précautions à prendre :
Concernant l'unité interieure
- Poser le carton au sol face à soi, avec les inscriptions HAUT et BAS sur le dessus.
- Défaire le cerclage autour du carton. Retirer la partie supérieure du carton.
Concernant l'unité extérieur
- Ne pas coucher la machine
- Faire voyager la machine en position verticale, en respectant les inscriptions Haut et Bas
- Bien fixer la machine dans le vehicule de transport pour en assurer la stabilité et s'assurer qu'elle ne puisse pas tomber
- Déballer la machine près de la zone d'installation, une fois celle-ci déterminée
- Couper le cerclage puis soulever le carton
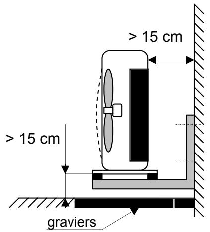
3. INSTALLATION DU MODULE EXTERIEUR
EVITER
- le positionnement au sol de du module extérieur dans des zones neigeuses
- l'installation avec soufflage vers le mur
PREVOIR
- – un emplacement ventilé où la température extérieure ne s'élève pas au dessus de 45^ en été
- – suffisamment de place autour de l'appareil pour éviter le recyclage et facilititer la maintenance
- l'utilisation 4 plots antivirusiales pour réduire les vibrations
- – la surélévation de l'appareil au moyen de supports d'au moins 15 cm au dessus du sol
- pour les régions enneigées : la hauteur du support doit être supérieure à la hauteur maximum de neige
- – pour les zones sujettes aux fortes tempêtes de neige : un dispositif de gainage
- – un lit de graviers sous l'appareil afin de permettre le drainage des eaux de dégivrage
Distances minimales à respecter :


Des équérres pour fixation murales sont fournies en option. Prévoir dans ce cas des plots antivibratiles pour éviter la transmission des vibrations.
4. INSTALLATION DU MODULE INTERIEUR


PREVOIR :
- 4 vis = 6 mm pour fixation murale
- un dégagement suffisant sur les côts pour démontage du capot
- une évacuation d'eau à proximité
- une arrivée d'eau à proximité
- une alimentation électrique conforme
5. RACCORDEMENTS FRIGORIFIQUES
Deux tuyauteries frigorifiques en cuivre calorifugées assurent la liaison entre le module extérieur et le module interieur :
| TUYAUTERIES DE LIAISON ENTRE LES 2 UNITES | Winverter 254 | 364 / 484 / 604 |
| Longueur des liaisons tuyauteries 3/8” et 5/8” sans charge complémentaire de gaz | 3 m à 30 m | 5 m à 30 m |
| Longueur développée maximum autorisée | 50 m | 50 m |
| Charge complémentaire en R-410A par m de tube entre 30 et 50 m | 40 g/m | 40 g/m |
Les liaisons calorifugées standard avec raccords existent en longueurs 3, 6, 9, 12, 15 et 20m (fournitures en option).
6. RACCORDEMENTS HYDRAULIQUES
La pompe à chaleur doit être installée en respectant un certain nombre de règles sur le plan hydraulique :
- le circuit doit être muni de filtres
- – des purgeurs d'air doivent être aux points hauts des circuits d'eau
- l'alimentation en eau doit être équipée d'un disconnecteur
des fourreaux doivent etre prevus aux passages des parois - le raccordement à la PAC des tuyauteries doit se faire de préférence par flexibles
- l'adjonction d'une bouteille de mélange de 50 I doit être prévue
la bouteille servant également de pot de décantation (voir schémas types d'installation)
- une vanne d'isolement, une soupape de sécurité, un manomètre et un thermomètre sont intégrés dans le module interieur WINVERTER.
6.1. Raccordement chauffage mono-énergie (système base+appoint évientuel)
L'installateur devra raccarder le circuit d'eau de chauffage: entrée et sortie vers les collecteurs du plancher chauffant ou radiateurs basse température (à calorifuger dans les locaux non chauffés.
Pour l'installation, se référer aux schémas types n° ... à ...., fournis en annexe.

Winverter.
Seul le respect des schémas types fournis permet le fonctionnement correct du système
Un appointélectrique est intégré au module interieur, il est activé par le deuxième étage de la carte électronique de régulation.
Le régulateur place en façade du module interieur est un thermostat électronique qui limite la température de départ d'eau chaude de la résistance d'appoint et permet de fonctionner en mode secours sur la résistance.
Ce régulateur à deux étages permet également de limiter la température de départ d'eau glacée en mode froid.
La résistance d'appoint comporte 3 résistances de 2kW . Un pontage permet de régler l'appoint à l'installation, au besoin : 0, 2, 4 ou 6kW selon le pontage effectué. Le montage usine est de 6kW .
6.2. Raccordement chauffagebi-energie (relève de chaudière)
Pour l'installation, se référer aux schémas types n^ .... à ...., fournis en annexe.
7. RACCORDEMENTS ELECTRIQUES
L'alimentation électrique du module extérieur s'effectue à partir de le module interieur.
L'alimentation électrique du module interieur s'effectue en courant monophasé 230 V 50 Hz. ou triphasé 380V - 50 Hz.
7.1. Câbles à prévoir

7.2. Protections à prévoir
Appareil monophasés :
Le module interieur est livre en standard avec un disjoncteur général 2x45A courbe C.
Selon la puissance utilisée de la résistance d'appoint/segours livrée systématiquement sur tous les modèles, l'intensité de l'alimentation électrique à prévoir sera différente :
| DISJONCTEUR D'ALIMENTATION COURBE C | Winverter 254 | Winverter 364 | Winverter 484 | Winverter 484 tri | Winverter 604 | Winverter 604 tri |
| Puisance appoint 0 kW (chauffage bivalent par ex.) | 16 A | 20 A | 32 A | 32 A | ||
| Puisance appoint 2 kW | 32 A | 32 A* | 40 A* | 40 A* | ||
| Puisance appoint 4 kW | 32 A | 40 A* | 40 A* | 40 A* | ||
| Puisance appoint 6 kW | 40 A* | 50 A | 50 A | 50 A |
- Livraison standard
! Appareils triphasés : le module interieur ne comporte pas de disjoncteur. Celui-ci est à prévoir impératifement par l'installateur sur le boitier extérieur.
Pour l'installation, suivre les instructions de la notice fournie avec le thermostat.
Le thermostat radio (équipement optionnel) doit être installé dans l'ambiance de la piece principale et par un professionnel agréé.
Ce thermostat a pour role de contrôler la température résultat de la pompe à chaleur Winverter sur la température ambiente d'une pièce (pièce principale) chauffée ou rafraichie par le système.

Pour l'utilisation et les fonctions de programmation se référer à l'annexe 1 de la notice d'utilisation.
Le thermostat permet 2 modes de fonctionnement :
-modechauffage
- mode rafraichissement (ce mode n'est possible que pour les installations prévues à cet effet)
9. VERIFICATIONS
9.1. Vérifications du circuit frigorifique
Le raccordement frigorifique des deux modules interieur et extérieur doit etre realizede par du personnel possedant les qualifications requises notamment concernant le respect du decret du 7 décembre 1992 relat à la manipulation des fluides frigorigènes.
Les portées des raccords flare doivent être préalablement huilés (ou enduits de pâte leaklock), puis serrés avec un couple de serrage adapté :
| Diamètre 3/8” | 34 N.m < couple de serrage < 42 N.m |
| Diamètre 5/8” | 68 N.m < couple de serrage < 82 N.m |
Une fois réalisées les connexions, effectuer le contrôle d'étanchéité des tuyauteries à partir des vannes installées sur le module extérieur.
Essai d'étanchéité
Laisser les 2 vannes fermées et raccorder votre manifold sur le raccord de la vanne 5 / 8 ". Mettre sous pression d'azote et vérifier l'absence de fuites au niveau des raccords des modules interieur et extérieur. Purger ensuite l'azote à l'extérieur du circuit.
Tirage au vide
Raccorder le flexible de la pompe à vide sur la même vanne 5/8" et toujours vannes fermées tirer au vide le circuit complenant l'échangeur du module interieur et les 2 liaisons. Assurer le tirage au vide jusqu'à une pression résiduelle de maximum 600 Pa.

Raccordement du flexible du manifold
Accès pour ouvrir les vannes avec une clé Alène
Charge additionnelle eventuelle en fluide R-410A
Si la longueur de chacune des liaisons est supérieure à 30 m (sans dépasser 50 m), prévoir une charge additionnelle de 40 g par mètre de liaison supplémentaire (exemple si la liaison mesure 40 m, il faudra rajouter (40-30)x40= 400 g de R-410A.
Mise en phase opérationnelle du circuit frigorifique :
- retarder le flexible et remettre le bouchon sur la vanne
- dévisser les écrous pour acceder à l'ouverture de chacune des 2 vannes avec une clé Alène adaptée en tournant celles-ci à fond dans le sens inverse des aiguilles d'une montre
- remetre les deux bouchons, la pompe à chaleur est alors opérationnelle sur le plan frigorifique.
9.2. Vérifications du circuit hydraulique
Aucun essai ne sera effectué tant que l'installation n'est pas remplie d'eau côté circuit de chauffage. Les purges auront été préalablement effectuées.
La pression du circuit de chauffage doit être comprise entre 1 et 1.8 bars.
Le circulator doit être dégomme avant mise en service, pour ce faire : ouvrir toutes les vannes des circuits de plancher chauffant et ou de radiateurs.
9.3. Vérifications électriques
L'appareil doit être raccordé par un professionnel électricien selon la norme NF C15 100.
Les vérifications sont à effectuer le disjoncteur général du module interieur étant en position arrêt.
Vérifier la tension d'alimentation et notamment la bonne position du neutre.
L'appareil doit impératifement être raccordé à la terre.
Vérifier que les couleurs de fil des raccordements du boitier de commande avec la carte électronique du module interieur correspondent.
De même en ce qui concerne la liaison pilote entre les modules intérieur et extérieur.
Ces deux liaisons de fil doivent etre realizedes en cable blinde avec la masse reliée a la terre.
10. MISE EN SERVICE
10.1. Paramétrage du boitier de commande
Avant démarrage, vérifier le paramétrage du mode de régulation sur la température de retard d'eau de l'installation est activée. Cette vérification se réalise à partir du boitier de commande du module interieur (place impératifement à proximité du module) comme suit :
- mettre linterrupteur marche/arrêt/secours en façade du module interieur en position arrêt.
- mesure sous tension le module interieur
- appuyez simultanément plus de 4 secondes sur les 3 touches C SET CL
L'écran du régulateur doit afficher au bout de quelques secondes :

Le code N^10 est affché en haut à droite, faire défilier avec les flèches à droite du boîtier ▲ ou ▼ les codes pour aller jusqu'àu code N^32 ,
La valeur paramétrée en « setdata » doit être 0000, si ce n'est pas le cas procédé comme ci-après : ramener cette valeur à 0000 à l'aide des flèches ▲ ou ▼ placées à gauche du boitier à côté de la clé,
Appuyer sur la touche SET pour valider la valeur,
Appuyer sur la touche puis remettre en service l'appareil
Pour augmenter ou abaisser la valeur de la température de consigne besoin pour la température limite de retard d'eau, agir respectivement sur les touches ou .
Pour l'utilisation du boitier de commande, le réglage de l'heure et la programmation, se référer I=à la notice d'utilisation.
10.2. Procedure de mise en service
La mise en service doit être effectuee par une entreprise formée a cet effet ou par la station technique agreee.
Mettre sous tension le générateur en agissant sur le disjoncteur général.
Mettre l'interrupteur asservi/arrêt/auto en façade du module interieur en position asservi (cet interrupteur agit sur le fonctionnement de l'appoint électrique ou chaudière).
L'écran du régulateur de température doit afficher la température de l'eau en circulation.
Le circulator doit semettre en service, s'en assurer en devissant la vis centrale de celui-ci.
Sur le boitier de commande (remote control), appuyer sur le bouton Mettre le groupe en mode chauffage en appuyant sur le bouton
Le comprisseur doit demarrer après une temporisation si la température d'eau dans le circuit de chauffage est inférieure à la température de consigne.
10.3. Procédure de démarrage


- Demarrage du circulator de réseau de chauffage : positionner l'interrupteur de façon de module interieur sur « Asservi »
- Demarrage de la pompe à chaleur: Laisser 20 secondes s'écouler puis appuyer sur la touche
v Marché / Arrêt du boitier de commande pourmettre en route la pompe à chaleur. - Vérifier le mode de fonctionnement : mode chauffage / node RAFRAICHISSEMENT
Si vous souhaitez modifier le mode, presser cette touche jusqu'à ce que l'un des 2 modes apparaisse.
- Vérification du réglage débit :
Vérifier que le mode réglage de débit est bien sur « grande vitesse » dans le cas contraire modifier le réglage de débit en cours en pressant la touche jusqu'à ce que le pictogramme apparaisse. - Réglage de la consigne de température de retard d'eau : à l'aide des flèches ▲ / ▼ de réglage de température afficher la température souhaïée de retard d'eau à l'écran. ex1: T° de retard d'eau sur réseau radiateur (ou mixte radiateur + plancher) = 45°C max ex 2: T° de retard d'eau sur réseau plancher chauffant seul = 30°C max
Une fois les 5 opérations réalisées, la machine démarre dans le mode de fonctionnement sélectionné (chauffage ou rafraichissement), après une temporisation de 2 à 3 minutes (la machine effectue des contrôles internes).
Remarques :
En mode chauffage, le sigle du mode de fonctionnement chaud ou froid peut apparaitre entouré d'un cercle dans les cas suivants :
- pendant la période de temporisation
- lorsque la température de consigne régée est atteinte
- lors des périodes de dégivrage du groupe extérieur
10.4. Fonctionnement du chauffage de secours
En cas de défaillance du système en mode thermodynamique, passer l'appareil en mode « Secours » à l'aide de l'interrupteur placé en façade du module interieur.
Régler la température de départ d'eau set2 (paramètre SET DATA 0002) en fonction des critères de comfort choisis pour le chauffage de la maison.
11. CONTROLE DU FONCTIONNEMENT DE LA POMPE A CHALEUR
Le boitier de commande permet d'acceder aux valeurs des différents parametres de fonctionnement de la pompe à chaleur.
Pour y acceder, presser simultanement plus de 5 secondes sur les boutons et CL

le code N^ 00 est affiché en haut à droite
o faire defiler les codes avec les flèches à droit du boîtier ▲ ou ▼ pour aller jusqu'àu code souhaité
la valeur du code est affiché en dessous de SET DATA
appuyer sur la touche c puis revenir en position normale de fonctionnement
| Code | Paramètre mesuré |
| 01 | Température de la sonde du boitier de commande |
| 02 | Température de retour d'eau |
| 03 | Température lié liquide condenseur |
| 04 | Température de condensation |
| 0A | Température de refoulement compresseur |
| 0D | Température d'aspiration compresseur |
| 0E | Température 1 de paroi evaporateur extérieur |
| 0F | Température 2 de paroi evaporateur extérieur |
| 11 | Température extérieure |
| 14 | Intensité comprésur |
| 15 | Ouverture du détendeur électrique |
| 19 | Fréquence de fonctionnement du compresseur |
12. ALARMES
Le boitier de commande permet d'acceder aux alarmes eventuellement produites lors du fonctionnement de la pompe à chaleur.
Pour y acceder, presser simultanement plus de 5 secondes sur les boutons et SET
Le code de la dernière alarme apparait à droite du cadran et le code de l'alarme est affiché à gauche de celui-ci.
Faire défilier avec les flèches à droite du boîtier ▲ ou ▼ les codes des 3 autres alarmes antérieures éventuelles,
Pour effacer les alarmes appuyer sur la touche CL
Appuyer sur la touche c puis revenir en position normale de fonctionnement.
Listes des codes alarmes et signification : voir annexe 1.
13. PARAMETRAGE DU REGULATEUR PJ32W000
13.1. Pour WINVERTER type A
| Paramètre | Signification | Valeur initiale |
| P1 | Différentiel régulateur | 1 |
| set1 | Limite haute température de départ eau | 45 |
| set2 | Limite BASSE TEMPERATURE consigne départ eau | 8 |
| r1 | Mode régulateur 1 | 1 |
| r2 | Mode régulateur 2 | 1 |
| r3 | Température limite depart eau glacée | 5 |
| r4 | Température limite depart eau chaude | 50 |
| c0 | Retard activation sorties | 1 |
| c1 | Temps minimal d'allumage sorties | 0 |
| c2 | Temps minimal de coupure sorties | 0 |
| c3 | Inter verrouillage allumage | 0 |
| c4 | Temps minimal allumage entre 2 sorties | 0 |
| dl | Mode de fonctionnement entrée numérique | 1 |
| H2 | Mode sortie out 2 | 1 |
Attention :
Le régulateur permet au système de fonctionner entre les températures d'eau SET1 et SET2, que ce soit en mode chaud ou en mode froid.
Si un fonctionnement chauffage est prévu en relève de chaudière, la valeur SET1 pourrait être augmentée à 50^ .
Lors d'une première mise en service du chauffage, si la température affichée sur l'écran du régulateur est inférieure à 8^ , il faudra abaiser la valeur du SET2 pour autoriser la mise en route du chauffage (cette valeur sera ensuite augmentée pour le fonctionnement en production de froid à 7^ avec ventilo convecteurs ou à une température comprise entre 18^ et 23^ pour un plancher rafraîchissant).
MODIFICATION DES CONSIGNES set1 et set2
- appuyer sur SET1 ou SET2 pendant 2 secondes
- 1 ou 2 apparait
- appuyer sur PRG
- modifier la consigne avec ▲ ou ▼
- appuyer sur PRG pour valider la nouvelle consigne

POUR ACCES ET MODIFICATIONS DES AUTRES PARAMETRES
- appuyer sur la touche PRG pendant 5 „, P5 apparait
- appuyez de nouveau sur la touche PRG, 0 apparait
- modifier avec ou pour obtenir le code d'accès 22
- appuyer sur la touche PRG, P5 apparait a nouveau
- faire défilier avec ou pour faire apparaitre les autres paramètres jusqu'àu paramètre que l'on souhaite modifier
- appuyer sur la touche PRG, la valeur du paramètre concerne apparaitt
- faire ▲ ou ▼ pour modifier sa valeur de consigné
- appuyer sur la touche PRG
- faire à nouveau ▲ ou ▼ pour faire apparaitre un autre paramètre que l'on souhaite modifier et opérer comme à l'étape précédente
- – appuyer sur la touche PRG pendant 5 „ pour terminer l'enregistrement
ALARMES ET CAUSES
| Message | Description | Cause | Solutions |
| E0 | Erreur sonde de départ d'eau | Mauvaise connexion Sonde endommagée | Refaire la connexion Remplacer la sonde 10 kΩ à 25°C |
| IA | Alarme externe | Coupure du thermostat de sécurité ou mauvaise connexion de celui-ci | Vérifier la circulation d'eau sur l'échangeur Thermostat à remplaçer |
13.2. Pour WINVERTER type E
| Paramètre | Signification | Valeur initiale |
| CO | Mode de fonctionnement | 2 |
| ST1 | Consigne température sonde eau | 20 |
| ST2 | Consigne température sonde extérieure | 18 |
| P1 | Différentiel de ST1 étage 1 | 2 |
| P2 | Différentiel étage2 | 2 |
| C4 | Pente température d'eau | -1,2 |
| C6 | Durée anti-court cycle en secondes | 1 |
| C19 | Fonctionnement deuxieme sonde | 3 |
| C21 | Valeur minimum point de consigne ST1 | 20 |
| C22 | Valeur maximum point de consigne ST1 | 60 |
| P28 | Retard sécurité minutes | 1 |
| C29 | Activation sécurités avec retard P28 | 3 |
Le paramètre C4 définit la loi d'eau, donc la pente de température. Pour un plancher chauffant la pente sera voisine de C4=-0,4 Pour des radiateurs, la pente doit être comprise entre -0,6 et -1,2
Attention au signe : la pente doit être négative

POUR ACCES ET MODIFICATIONS DES PARAMETRES
- appuyer simultanément sur SEL et PROG pendant 5 secondes
- modifier avec ou pour obtenir le code d'accès 77
- appuyer sur SEL
CO apparait, faire defiler avec ou pour faire apparaitre les autres parametes jusqu'au parametre que l'on souhaite modifier - appuyer sur SEL
- faire ▲ ou ▼ pour modifier sa valeur de consigne
- appuyer sur SEL
- faire à nouveau ▲ ou ▼ pour faire apparaitre un autre paramètre que l'on souhaite modifier et opérer comme à l'étape précédente
- appuyer sur SEL
- appuyer sur PRG pour finir
EXAMPLE PLANCHER CHAUFFANT
Pour une température de return d'eau de 30^ par -7^ il faut C4 = -0,4
- appuyer simultanément sur SEL et PROG pendant 5 sec
- modifier avec ou pour obtenir le code d'accès 77
- appuyer sur SEL
CO apparait, appuyez sur ▲ pour faire apparaitre C4 - appuyer sur SEL
- appuyer sur ▲ pour modifier la valeur de consigne à - 0,4
- appuyer sur SEL
- appuyer sur PRG pour finir
COURBES DES PENTES DE REGULATION

Température de
retour d'eau °C
PENTES REGULATION LOI RETOUR D'EAU
ALARMES ET CAUSES
| Message | Description | Cause | Solutions |
| Er0 | Erreur sonde de retour d'eau | Mauvaise connexion Sonde endommagée | Refaire la connexion Remplacer la sonde 10 kΩ à 25°C |
| Er1 | Erreur sonde extérieure | Mauvaise connexion Sonde endommagée | Refaire la connexion Remplacer la sonde 10 kΩ à 25°C |
| Er3 | Alarme externe | Coupure du thermostat de sécurité ou mauvaise connexion de celui-ci | Vérifier la circulation d'eau sur l'échangeur Thermostat à remplaçer |
14. MAINTENANCE
En cas de changement de carte électronique du module interieur, refaites les paramétrages suivants :
Mettre l'interrupteur marche/arrêt/secours en façade de l'unité interieure en position arrêt.
Mettre sous tension l'unité interieure.
Appuyez simultanément plus de 4 secondes sur les 3 touches



L'écran du régulateur doit afficher au bout de quelques secondes :

Faire défilier avec les flèches à droit de boîtier ▲ ou ▼ les codes N°.
Chaque valeur SET DATA, pour le code considéré, peut être modifiée en agissant sur les flèches à gauche du boîtier ▲ ou ▼.
Après chaque paramètre modifié, appuyer sur la touche SEI pour valider la valeur.
| CODE N° | Winverter 254 | Winverter 364 | Winverter 484 | Winverter 604 | FONCTION |
| 06 | 0000 | 0000 | 0000 | 0000 | Différentiel sonde2-sonde1 |
| 07 | 0001 | 0001 | 0001 | 0001 | Appoint = 1 |
| OD | 0001 | 0001 | 0001 | 0001 | Interdiction change over auto |
| 10 | 0005 | 0005 | 0005 | 0005 | Type carte gainable |
| 11 | 0012 | 0015 | 0017 | 0018 | Taille PAC |
| 20 | 10 | 10 | 10 | 10 | Température mini consigne |
| 21 | 0045 | 0045 | 0045 | 0045 | Température maxi consigne |
| 28 | 1 | 1 | 1 | 1 | Remise en service auto après coupure de courant |
| 2C | 0002 | 0002 | 0002 | 0002 | Absence de détendeur interieur |
| 32 | 0000 | 0000 | 0000 | 0000 | Régulation platine Sanyo sur-retour d'eau |
| 32 | 0001 | 0001 | 0001 | 0001 | Régulation platine Sanyo sur ambiance |
Appuyer sur

puis sur

ANNEXE 1 : ALARMES DU BOITIER DE COMMANDE
MI = module intérieur ME = module extérieur
| Causes possibles de dysfonctionnement | Affichage | ||
| La télécommande déetecte un signal d'erreur provenant du MI | Erreur de réception du signal de communication (signal provenant du MI principal), adressage ME, MI ou MI individuel principal non effectué. L'adressage automatique n'a pu être mené à terme | E01 | |
| Erreur dans la transmission du signal de communication | E02 | ||
| Le MI déetecte un problème provenant de la télécommande | E03 | ||
| Le MI déetecte une erreur de transmission | Erreur dans la transmission du signal de communication | E10 | |
| Erreur dans la réception du signal de communication | E11 | ||
| Le MI déetecte un problème provenant du ME | Erreur dans la réception du signal de communication série | E04 | |
| Erreur dans la transmission du signal de communication série | E05 | ||
| Le ME déetecte un problème provenant du MI | Erreur dans la réception du signal de communication (incluant l'échec de vérification du nombre de MI) | E06 | |
| Erreur dans la transmission du signal de communication | E07 | ||
| Échec de l'adressage automatique | Taille (puissance) du MI trop faible | E15 | |
| Taille (puissance) du MI trop élevé | E16 | ||
| Pas de MI connecté | E20 | ||
| Un MI déetecte un défaut dans le signal d'un autre MI | Erreur dans la transmission du signal de communication série | E17 | |
| Erreur dans la réception du signal de communication série | E18 | ||
| Défaut de communication entre les modules | Echec de communication avec le boitier de commande | E31 | |
| Erreur de paramétrage | Incompatibilité de puissance entre intéieur et extérieur | L02 | |
| L'adresse MI n'est pas régliée | L08 | ||
| Puisance MI non paramétrée | L09 | ||
| Puisance ME non ou mal paramétrée | L10 | ||
| Erreur de paramétrage du type de MI (puissance) | L13 | ||
| Défaut de puissance de shunte sur connecteur CN35 | P09 | ||
| Activation des organes de protection | Protection du MI | Défaut de débit d'eau | P01 |
| Défaut de présence de shunte sur connecteur FS | P10 | ||
| Protection du ME | Température de refoulement anormale | P03 | |
| Défaut de puissance sur courant alternatif | P05 | ||
| Manque de gaz | P15 | ||
| Vanne 4 voies bloquées | P19 | ||
| Protection HP (fonctionnement mode froid) | P20 | ||
| Défaut de fonctionnement de ventilateur extérieur | P22 | ||
| Défaut du compresseur Inverter (platine HIC) | P26 | ||
| Défaut du compresseur Inverter (MDC) | P29 | ||
| Surintensité comprésur | H01 | ||
| Défauts sonde | Conducteurs sonde coupés ou en court-circuit (MI) | Sonde d'échangeur intéieur (E1) | F01 |
| Sonde d'échangeur intéieur (E2) | F02 | ||
| Sonde de retour d'eau (TA) | F10 | ||
| Conducteurs sonde coupés ou en court-circuit (ME) | Sonde de température de refoulement (TD) | F04 | |
| Sonde d'échangeur extérieur (C1) | F06 | ||
| Sonde d'échangeur extérieur (C2) | F07 | ||
| Sonde de température extérieure (T0) | F08 | ||
| Sonde de température d'aspiration compresseur (TS) | F12 | ||
| Erreur EEPROM module interieur | F29 | ||
| Erreur EEPROM module extérieur | F31 | ||
Signification des voyants indicateurs
MI = module intérieur
ME = moduleextérieur
allumé
- éteint
clignotant (0.25/0.75) indique que levoyant est allumé 0.25 seconde, puis eteint 0.75 secondes.
Sans autre indication, le clignotement est (0,5/0,5)
| Signification | LED 1 | LED 2 | Remarques |
| Lors de la mise sous tension : | S'il n'est pas possible de passer au point 3, répéter les points 1 et 2. | ||
| 1. pas de communication avec le MI du système | ○ | ○ | |
| 2. communication établie avec 1 MI ou plus du système | ● | ○ | |
| 3. communication normale OK (puissance et quantité validées) | ● | ● | Au point 3, les voyants s'éteignent. |
| Lors du fonctionnement normal : | Affché lors du 1er adressage automatique et mise en communication | ||
| Erreur EEPROM (F31) | ○ | ||
| Pre trip (charge insuffisante) | *(0.25/0.75) | ● | P03 |
| Pre trip (P20) | *(0.75/0.25) | ● | |
| Pre trip (autre) | * | ● | |
| Alarmes | Clignotement alternatif durant l'alarme LED 1 clignote M fois. Puis LED 2 clignote N fois. Puis le cycle se répète. M = 2 : Alarme P 3 : Alarme H 4 : Alarme E M = 5 : Alarme F 6 : Alarme L N := nombre d'alarme (voir tableau d'exemples ci-dessous) | ||
| Indicateur de manque de charge | * | ● | |
| Mode de récapération du réfrigérant | * | ● | |
| Adressage automatique | |||
| Adressage automatique en cours | * | * | Clignotement alternatif |
| Alarmé d'adressage automatique (E15) | *(0.25/0.75) | *(0.25/0.75) | Clignotement simultané |
| Alarmé d'adressage automatique (E20) | *(0.75/0.25) | *(0.75/0.25) | Clignotement simultané |
| Autres alarmé d'adressage automatique | * | * | Clignotement simultané |
Exemples d'alarmes affichés (d'autres alarmes peuvent exister)
| Alarme affichée | LED 1 ← alternativement → LED 2 | |
| P03 | * clignote 2 fois | * clignote 3 fois |
| P04 | * clignote 2 fois | * clignote 4 fois |
| P05 | * clignote 2 fois | * clignote 5 fois |
| P31 | * clignote 2 fois | * clignote 31 fois |
| H01 | * clignote 3 fois | * clignote 1 fois |
| H02 | * clignote 3 fois | * clignote 2 fois |
| H03 | * clignote 3 fois | * clignote 3 fois |
| E04 | * clignote 4 fois | * clignote 4 fois |
| F07 | * clignote 5 fois | * clignote 7 fois |
| L13 | * clignote 6 fois | * clignote 13 fois |
Symptômes et points d'inspection
| Alarmes affichées | Signification | Condition d'apparition | Condition d'acquittement | Contrôle et connections |
| P03 | Température de refoulement anormale Température de refoulement > ou = à la limite | Arrêt de la machine lorsque la température excède 111°C | Acquitté au redémarrage | 1. Contrôler le cycle frigorifique (fuite éventuelle)2. Défaut du détenueur3. Contrôler la sonde de refoulement |
| P05 | Détection d'absence de phase (CT déconnectée ou défaut d'alimentation de puissance) | La valeur d'intensité envoyée par le MDC à la platine extérieure est basse Pas d'alimentation électrique pendant 3 mn ou plus | Acquitté au redémarrage | 1. Contrôler RISIT2. Contrôler la platine Inverter3. Contrôler la platine extérieure principale |
| P15 | Détection d'une insuffisance de charge frigorifique | 1 mn de fonctionnement continue dans les conditions suivantes:- T° de refoulement de 95°C ou plus- Ouverture du détenueur électronique à 480 Pas- Valeur d'intensité du MDC est 1,7 A (3 phases) ou 1,0 A (1 phase) ou moins | Acquitté au redémarrage | Contrôler le cycle frigorifique (fuite éventuelle) |
| P19 | Vanne 4 voies bloquées. Cette information apparaît après un temps de fonctionnement de 5 mn du compresseur | La T° dépasse 64°C et ne descend plus en dessous de 55°C [min (E1, E2)] ≤10°C La T° de l'échangeur intéérieur augmente malgré le fonctionnement en mode froid [E2 ≥40°C] | Acquitté au redémarrage | 1. Contrôler la vanne 4 voies2. Contrôler l'alimentation électrique de la vanne 4 voies3. Contrôler la platine électronique extérieure |
| P20 | Protection haute pression activée via excess de température C2 en mode froid | La température dépasse 65°C et ne descend plus en dessous de 55°C ou moins > 30 s de fonctionnement continu: l'alarme apparaît dès le premier cas < 30 s de continue: arrêt de l'Inverter | Acquitté au redémarrage | 1. Cycle thermodynamique en surchauffe2. Contrôler la sonde de température C2 |
| P22 | Défaut moteur ventilateur extérieur, protection du circuit Inverter activée ou bloquée sur moteur ventilateur extérieur | L'Inverter stop après détction de l'alarme | Acquitté au redémarrage | 1. Défaut de positionnement détecté2. Circuit de protection de surcharge en surintensité du moteur ventilateur extérieur activée:- contrôler la platine électronique extérieure- se réferer à la méthode de contrôle du ventilateur extérieur |
| P26 | Circuit de protection Inverter acté ou GTR en court circuit (courte période de 0,8 s ou moins) dans le contrôle Inverter | Arrêt de l'Inverter après détction du défaut Alarme affichée après 4 arrÊts consécutifs | Acquitté au redémarrage | 1. Arrêt immédiat ou redémarrage2. Inspecter la platine Inverter :défait de câblage |
| P29 | Défaut de courant d'alimentation | L'Inverter stoppe après détéction de l'alarme L'alarme apparaît après 4 arrêts consécutifs de l'Inverter | Acquitté au redémarrage | 1. Arrêt immédiat après redémarrage2. Contrôler la platine Inverter : défaut de câblage |
| Défaut comprésseur Défaut Inverter du comprésseur Défaut MDC | Arrêt de l'Inverter après détéction de l'alarme | Acquitté au redémarrage | 1. Défaut thermodynamique Fonctionnement en surcharge2. Défaut de serrage entre la platine HIC et le radiateur de refroidissement3. Défaut de refroidissement de la plaque radiante4. Contrôler câblage platine extérieure | |
| Le comprésseur ne fonctionne pas (la protection de surintensité s'est activée quelques temps après le redémarrage du comprésseur) | Arrêt de l'Inverter après détéction de l'alarme | Acquitté au redémarrage | 1. Défaut comprésseur (blocage, etc) : replacer le comprésseur2. Défaut d'alimentation comprésseur (phase manquante) | |
| Panne comprésseur La fréquence chute peu après le démarrage puis s'arrête | Arrêt de l'Inverter après détéction de l'alarme | Acquitté au redémarrage | 1. Contrôler la tension d'alimentation 200V +/- 20V2. Cycle thermodynamique en surcharge3. Vérifier le circuit de contrôle du CA | |
| Défaut du contrôle d'état de la platine Inverter | Arrêt de l'Inverter après détéction de l'alarme | Acquitté au redémarrage | Le contrôle d'état est activé, mème的时候que le connecteur 3P est déconnecté- replacer la platine de contrôle Inverter | |
| F04 | Sonde de refoulement (TD) déconnectée, coupée ou en cours circuit | Défaut de sonde détectée (90°Cou plus, 15 min après l'arrêt du comprésseur). (conducteur coupés) | Acquitté au redémarrage | 1. Contrôle la sonde de refoulement (TD)2. Connecter la platine électronique extérieure |
| F06 | Sonde d'échangeur (C1) déconnectée, coupée ou en cours circuit | Coupé ou court circuit | Acquitté au redémarrage | 1. Contrôler la sonde d'échangeur extérieure (C1)2. Connecter la platine électronique extérieure |
| F07 | Sonde d'échangeur (C2) déconnectée, coupée ou en cours circuit | Coupé ou court circuit | Acquitté au redémarrage | 1. Contrôler la sonde d'échangeur extérieure (C2)2. Connecter la platine électronique extérieure |
| F08 | Sonde de T'extérieure (TO) déconnectée, coupée ou en cours circuit | Coupé ou court circuit | Acquitté au redémarrage | 1. Contrôler la sonde de T'extérieure (TO)2. Connecter la platine électronique extérieure |
| F12 | Sonde d'aspiration (TS) déconnectée ou en cours circuit | Coupé ou court circuit | Acquitté au redémarrage | 1. Contrôler la sonde d'aspiration (TS)2. Connecter la platine électronique extérieure |
| F31 | Défaut EEPROM | Echec de lecture et d'écriture | Acquittement par coupure d'alimentation + réalimentation | 1. Contrôler EEPROM (IC0901)2. Contrôler la platine électronique du ME |
| L02 | Incompatibilité entre gamme MI et ME | Modèle de ME incompatible selon MI | Acquitté au redémarrage | 1. Contrôle EEPROM du MI2. Contrôle la platine électronique du MI |
| L04 | Défaut de paramétrage | Adresse du ME dupliqué (système d'adressage) | Acquitté au redémarrage | 1. Contrôle l'adresse du ME2. Contrôle le câblage bus de communication |
| L07 | Défaut de paramétrage | Un câblage de type commande d'ensemble est present sur un module indépendant | Acquittement par coupure d'alimentation + réalimentation | 1. Contrôle l'adresse du MI2. Contrôle le câblage bus de communication |
| L10 | Défaut de paramétrage | Le paramètre de puissance est absent dans le ME | Acquittement par coupure d'alimentation + réalimentation | Contrôle EEPROM du ME |
| L13 | Incompatibilité entre gamme MI et ME | Modèle de MI incompatible selon ME | Acquittement par coupure d'alimentation + réalimentation | 1. Contrôle EEPROM du MI2. Contrôle la platine électronique extérieure |
| E06 | Le ME détecte un signal anormal provenant du MI | Défaut de réception d'information (échec de vérification du nombre de MI) | Acquittement automatique | 1. Contrôle le ME2. Contrôle le câblage bus de communication |
| E07 | Echec de communication du ME vers le MI | Défaut de communication à l'envoi | Acquittement automatique | 1. Contrôle le câblage bus de communication2. Contrôle la platine électronique extérieure |
| E14 | Défaut de paramétrage | Duplication d'unité maître dans un système multi-simultanée (detection de ME) | Acquittement par coupure d'alimentation + réalimentation | 1. Contrôle le cable bus de communication2. Contrôle la combinaison de MI |
| E15 | Défaut lors de l'adressage automatique | Puissance du MI trop faible | Acquittement par coupure d'alimentation + réalimentation | 1. Contrôle le câblage bus de communication2. Contrôle la platine électronique extérieure |
| E16 | Défaut lors de l'adressage automatique | Puissance du MI trop élevé | Acquittement par coupure d'alimentation + réalimentation | 1. Contrôle le câblage bus de communication2. Contrôle la platine électronique extérieure |
| E20 | Adressage automatique interrompu | Le ME ne peut recevoir chaque signal provenant du MI | Acquittement par coupure d'alimentation + réalimentation | 1. Contrôle le câblage bus de communication2. Contrôle la platine électronique extérieure |
| E31 | Défaut de communication interne au module | Communication impossible avec le MDC pendant 3 mn ou plus | Acquittement automatique | Contrôle la platine électronique extérieure |
| H01 | Surintensité | L'Inverter s'accrite lors de la détction de l'alarme | Acquittée au redémarrage | 1. Défaut thermodynamique Fonctionnement en surcharge2. Défaut de serrage entre la platine HIC et le radiateur de refroidissement3. Défaut de refroidissement de la plaque radiante4. Contrôle câblage platine extérieure |
ANNEXE 2 : SCHEMAS ELECTRIQUES (A TITRE INDICATIF)

Type A - monophasé
Type A - triphasé

Type E - monophasé

Type E - triphasé
ANNEXE 3 : SCHEMAS D'INSTALLATION
Garantie
Voue venez d'acquerir une pompe a chaleur Winverter et nous you remercions de la confiance que you nous avez temoignee.
Nous souhaitons attirer toute attention sur le fait que la vérification et l'entretien régulier du système Winverter permettra à votre installation de continuer à fonctionner en vous donnant toute satisfaction.
Votre pompe à chaleur bénéficia d'une garantie de 3 ans piées sous condition d'une mise en service par une station technique agrée Winverter.
Notre responsabilité en qualité de fabricant ne saurait être engagée au titre d'une mauvaise utilisation des appareils, d'un défaut ou d'une insuffisance d'entretien de ceux-ci ou de leur mauvaise installation. Il vous apparpent de veiller à ce que l'installation ainsi que toute intervention soit réalisée par un installerateur professionnel. Nous ne saurions être tenus pour responsables des dégats matériels, pertes immaterielles ou accidents corporels consécutifs à une installation non-conforme :
aux dispositions legales et reglementaires en vigueur
aux dispositions particulieres regissant l'installation (DTU, accords intersyndicaux...)
- à nos notices et prescriptions
Notre garantie contractuelle est limitée à l'échange ou la réparation des seules pieces reconnues défectueuses par nos services techniques à l'exclusion des frais de main-d'oeuvre, de déplacement et de transport.
Notre garantie ne couvre pas le remplacement ou la réparation de pièces par suite d'une usure normale, d'une mauvaise utilisation, d'interventions de tiers non qualifiés, d'un défaut ou d'insuffisance de surveillance ou d'entretien, d'une alimentation électrique non-conforme et de l'utilisation d'un liquide inapproprié.
Les sous-ensembles, tels que moteurs, pompes, vannes, etc. ne sont garantis que s'ils n ont jamais ete demontes.
Déclaration de conformité
Ce produit est marqué C é puisqu'il est conforme aux Directives :
Basse Tension n° 73/23 CEE et 93/68 CEE
- Comptaibilité Electromagnétique n° 89/336 CEE, 92/31 CEE et 93/68 CEE
Cette déclaration sera nulle en cas d'une utilisation différente de cette déclarée par le Constructeur et/ou de la non-observation, même partielle, des instructions d'installation et/ou d'utilisation.

Winverter
un développement des sociétés Axair et Climastar
100, bd Louis Armand
Z.I. des Chanoux
B.P. 235
93331 Neuilly sur Marne Cedex
Tel 0143003616
Fax 0143098589
www. axair.fr
Notice Facile