PGX WIRELESS - Microphone sans fil SHURE - Notice d'utilisation et mode d'emploi gratuit
Retrouvez gratuitement la notice de l'appareil PGX WIRELESS SHURE au format PDF.
| Intitulé | Description |
|---|---|
| Type de produit | Système de microphone sans fil |
| Caractéristiques techniques principales | Fréquence de fonctionnement : 518 - 542 MHz, Modulation : FM, Plage dynamique : 120 dB |
| Alimentation électrique | Fonctionne avec des piles AA (durée de vie jusqu'à 8 heures) |
| Dimensions approximatives | Récepteur : 210 x 200 x 45 mm, Émetteur : 50 x 160 mm |
| Poids | Récepteur : 1,2 kg, Émetteur : 0,3 kg |
| Compatibilités | Compatible avec divers microphones Shure et accessoires audio |
| Type de batterie | Piles alcalines AA ou rechargeables NiMH |
| Tension | 1,5 V pour les piles AA |
| Puissance | Sortie audio : 1/4" et XLR |
| Fonctions principales | Réglage automatique de la fréquence, affichage LED, fonction de recherche de fréquence |
| Entretien et nettoyage | Nettoyer le boîtier avec un chiffon doux, éviter l'exposition à l'humidité |
| Pièces détachées et réparabilité | Disponibilité de pièces de rechange via le service après-vente Shure |
| Sécurité | Utiliser dans des environnements secs, éviter les chocs et les chutes |
| Informations générales | Idéal pour les performances en direct, les conférences et les présentations |
FOIRE AUX QUESTIONS - PGX WIRELESS SHURE
Questions des utilisateurs sur PGX WIRELESS SHURE
0 question sur cet appareil. Repondez a celles que vous connaissez ou posez la votre.
Poser une nouvelle question sur cet appareil
Téléchargez la notice de votre Microphone sans fil au format PDF gratuitement ! Retrouvez votre notice PGX WIRELESS - SHURE et reprennez votre appareil électronique en main. Sur cette page sont publiés tous les documents nécessaires à l'utilisation de votre appareil PGX WIRELESS de la marque SHURE.
MODE D'EMPLOI PGX WIRELESS SHURE
Pour plus de détails sur le système, voir la page 7 du guide d'utilisation du PGX.
Tous les systèmes comprennent :
- Récepteur PGX4 : 2 piles AA
- Bloc d'alimentation
- Guide d'utilisation
Les systèmes à microcravate, à microphone de casque et d'instrument comprennent :
Émetteur de poche PGX1 - Microphone (choix entre WL93, WL185, PG30 et Beta 98H/CTM)
Les systèmes pour chanteur comprennent :
- Capsule de microphone (choix entre PG58, SM58®, SM86, Beta 58A® et Beta 87A). Émetteur à main PGX2. Pince de microphone.
Les systèmes pour guitare comprennent :
- Émetteur de poche PGX1. Câble de guitare de fiche 1/4 po à mini-connecteur à 4 broches.
Panneau frontal

① DEL audio
Indique l'intensité du signal audio d'entrée : vert pour normal, jaune pour fort et rouge pour écrétage.
② Écran à DEL
Affiche le réglage du groupe et du canal. Pour plus de détails, voir « Mise en service d'un système unique ».
③ Bouton canal
Modifie le réglage de groupe et de canal. Pour plus de détails, voir « Mise en service d'un système unique ».
④ DEL ready
Indique que le système est prêt et reçoit un signal HF de l'émetteur.
⑤ Port infrarouge (IR)
Transmet un signal IR à l'émetteur pour la synchronisation.
⑥ Bouton sync
Appuyer dessus pour synchroniser l'émetteur avec les réglages de groupe et de canal.
Panneau arrêt

⑦ Jack d'adaptateur c. a. Dispositif de fixation du cordon de l'adaptateur. ⑨ Jack de sortie de microphone XLR. 10 Jack de sortie (asymétrique) de niveau d'instrument de 6,35 mm (1/4 po).




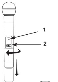
① Témoin DEL Affiche la charge de pile, la coupure et l'état de la transmission IR (voir le tableau). ② Interrupteur marche-arrêt/coupure du son Appuyer pour activer ou désactiver la coupure du son. Appuyer et maintenir enfoncé pour mettre sous ou hors tension. ③ Port infrarouge (IR) Reçoit le faisceau infrarouge permettant de synchroniser les fréquences. Lorsque l'on utilise de multiples systèmes, seul un port IR d'émetteur doit être exposé à la fois. ④ Jack d'entrée à 4 broches du microphone ⑤ Réglage du gain audio
Témoin LED d'émetteur
| Vert | préts |
| Vert clignotant | Commandes verrouillées |
| Jaune | Coupure du son activée |
| Rouge clignotant | Transmission IR en cours |
| Rouge allumé en permanence | Énergie de la pile presque épuisée |
| Rouge s'allumant par impulsions au démarrage | Énergie de la pile épuisée (il faut changer les piles pour pouvoir allumer l'émetteur) |
| Rouge s'allumant par impulsions après la synchronisation | Émetteur et récepteur incompatibles ; contacter le revendeur Shure |
Changement des piles



L'autonomie estimée d'une pile alcaline est d'environ 8 heures. Lorsque le témoin de l'émetteur s'allume en rouge, les piles doivent être remplacées immédiatement, comme illustré.
Port de l'émetteur de poche


Accrocher l'émetteur à une ceinture ou glisser une sangle de guitare dans l'attache de l'émetteur comme illustré.
Pour obtenir les meilleurs résultats, faites glisser l'émetteur jusqu'à ce que la ceinture soit appuyée contre la base de l'attache.

Trois réglages de gain existent sur le PGX1. Choisissez le réglage adapté à l'instrument utilisé.
- Micro : Microphone (amplification élevée)
- passives (amplification moyenne)
- 1 actives (amplification faible)
Si le témoin LED du récepteur indique une surcharge due au volume d'entrée, essayez de régler le gain plus bas.


Pour accéder à l'interrupteur de réglage du gain, dévisser la capsule du microphone.
Deux réglages de gain existent sur le PGX2. Déplacez le sélecteur de l'interrupteur à l'aide d'une pointe de stylo ou d'un petit tournevis.
- 0 dB : Spectacles vocaux d'ambiance et normaux.
- 10 dB : À utiliser uniquement si l'audio est distordu à cause de niveaux de voix élevés.
Balayage
Utiliser la fonction de balayage du récepteur pour trouver un canal inutilisé.


Appuyer sur le bouton Canal pour rechercher un canal inutilisé.

Le système effectue un balayage pour trouver le canal avec le moins de parasites.
Synchronisation
Synchroniser l'émetteur et le récepteur en alignant les portes infrarouges (IR) et en appuyant sur le bouton sync. Veiller à ce que les portes IR soient étroitement alignées.
Après une synchronisation réussie, la DEL de l'émetteur clignote brièvement en rouge et le témoin ready du récepteur s'allume.

Procédez comme suit pour garantir les performances lors de l'installation de plusieurs systèmes sans fil au même endroit.
- Mettre tous les récepteurs en marche et tous les émetteurs sur arrêt. Remarque : Allumer tout autre appareil numérique susceptible de causer des parasites pendant le spectacle, de façon à ce qu'il soit détecté pendant les balayages de fréquences effectués lors des étapes suivantes.
- Veiller à ce que le nombre de groupe soit le même pour tous les récepteurs (voir Sélection manuelle de groupe).
- Effectuer un balayage à l'aide du premier récepteur.
- Allumer le premier émetteur et le synchroniser avec le récepteur.
- Répéter les étapes précédentes pour chaque système.
- Important : Àprous avoir synchronisé chaque émetteur, le laisser allumé de façon à ce que les balayages des autres récepteurs ne sélectionnent pas ce même canal.
- S'assurer que seul un port IR d'émetteur est exposé lors de la synchronisation de chaque système.
Sélection manuelle de canal et de groupe (récepteur seulement)
Le balayage à la recherche d'un canal à l'aide du récepteur représente le meilleur moyen de trouver la meilleure fréquence pour le système. Il peut toutefois s'avérer nécessaire de définir manuellement le numéro de groupe pour la mise en service de systèmes multiples.
- Appuyer sur le bouton canal et le maintenir enfoncé.
- Maintenir le bouton enfoncé jusqu'à ce que l'affichage de canal ou de groupe commence à clignoter.
- Relâcher le bouton et appuyer de nouveau dessus pour avancer le réglage.
Une fois le numéro de canal ou de groupe désiré atteint, attendre que le clignotement cesse. Cela active le nouveau réglage.
- Transférez le nouveau réglage de fréquence à l'émetteur à l'aide de la fonction de synchronisation automatique.

Verrouillage et déverrouillage des commandes
Le du système empêche de couper le son ou de changer de canal accidentellement durant les spectacles.
Émetteur
Pour verrouiller les commandes : l'émetteur étant éteint, maintenir enfon
Pour déverrouiller les commandes : l'émetteur étant allumé, maintenir enfon
Récepteur
Pour clignotent (environ 10 secondes)
Pour dé clignotent (environ 5 secondes).
Dépannage
| Problème | État du tímein | Solution |
| Son faisible ou inexistant | Témoin d'alimentation de l'émetteur allumé, DEL des récepteurs allumées | • Effectuer la mise en service automatique de l'émetteur • Vérifier tous les branchements de la sonorisation |
| DEL du récepteur éteinte | • S'assurer que l'adaptateur c.a. est solidement branché sur une prise électrique. • S'assurer que la prise électrique c.a. fonctionne et fournit la tension correcte | |
| Témoin d'alimentation de l'émetteur allumé ou clignotant en rouge | • Remplacer les piles de l'émetteur • Si le tímein continue à clignoter en rouge après le changement des piles, il se peut que l'émetteur et le récepteur aient des bandes de fréquences incompatibleles. Demander l'assistance du revendeur Shure. | |
| Témoin d'alimentation de l'émetteur éteint | • Allumer l'émetteur • S'assurer que les bornes + et - des piles correspondant aux bornes de l'émetteur • Insérer des piles neuves | |
| Distorsion ou salves de parasites indésirables | S. O. | • Éliminer toutes les sources proches de parasites HF (lecteurs de CD, ordinateurs, effets numériques, systèmes de contrôle par écouteur interne, etc.) • Faire passer le récepteur et l'émetteur à une fréquence différente • Réduire le niveau de gain de l'émetteur • Remplacer les piles de l'émetteur • Si l'on utilise de systèmes multiples, changer la fréquence d'un des systèmes actifs |
| La distorsion augmente graduèment | Témoin d'alimentation de l'émetteur allumé ou clignotant en rouge | Remplacer les piles de l'émetteur |
| Niveau sonore différent de celui d'une guitare ou d'un microphone câblé(e), ou variable selon les guitares utilisées | Régler le gain de l'émetteur selon le besoin | |
| Impossibléd'allumer l'émetteur | Témoin de l'émetteur clignotant en rouge | Remplacer les piles de l'émetteur |
Plage de fonctionnement (Ligne de visée)
100 m (300 pi)
Remarque : La portée réelle dépend de l'absorption et de la réflexion des signaux HF, ainsi que des parasites.
Gamme de fréquences porteuses HF
Remarque : varie suivant la région.
Réponse en fréquence audio
45-15000 Hz
Remarque : dépend du type de microphone.
Distorsion harmonique totale (Réf. ±33 kHz de déviation, tonalité 1 kHz)
0.5%, typique
Plage dynamique
100 dB, pondéré en A
Plage de températures de fonctionnement
-18 °C (0 °F) à +50 °C (122 °F)
Remarque : Les caractéristiques des piles peuvent limiter cette plage.
Polarité audio de l'émetteur
Une pression positive sur le diaphragme du microphone (ou une tension positive appliquée à la pointe du jack téléphone WA302) produit une tension positive à la broche 2 (par rapport
à la broche 3 de la sortie basse impédance) et à la pointe de la sortie haute impédance de 1/4 po.
Émetteur de poche PGX1
Niveau d'entrée audio
Plage de réglage de gain
30 dB
Impédance d'entrée
1 MΩ
Puissance de sortie HF
10-30 mW
varie suivant la région
Repérage des broches
TA4M:
1 : Masse (blindage du câble)
2 : Polarisation +5 V
3: audio
4 : Charge active reliée à la masse (Sur le câble d'adaptateur d'instrument, la broche 4 est isolée.)
Dimensions
2 piles alcalines ou rechargeables de taille AA.
Autonomie des piles
jusqu'à 8 h (Alcaline)
Émetteur à main PGX2
Niveau d'entrée audio
+2 dBV maximum, au réglage de gain de -10 dB
-8 dBV maximum, au réglage de gain de 0 dB
Plage de réglage de gain
0 dB
Puissance de sortie HF
10-30mW
Varie suivant la région.
Dimensions
254 mm x 51 mm de diamètre (10 x 2 po)
Poids
81 g (2,9 oz), sans piles
Boitier
Poignée et réceptacle des piles en PC/ABS moulé.
Alimentation
2 piles alcalines ou rechargeables de taille AA.
Autonomie des piles
jusqu'à 8 h (Alcaline)
Récepteur sans fil PGX4
Dimensions
-105 dBm pour 12 dB SINAD, typique.
Suppression de la fréquence image
70 dB, typique
Alimentation
12-18 V c.c. @ 150 mA, provenant d'un bloc d'alimentation.
Impédance symétrique
Niveau de sortie audio (Réf. ±33 kHz de déviation avec 1
kHz de déviation avec 1 kHz de tonalité)
Connecteur XLR : -19 dBV (dans 600 Ω de charge)
Connecteur de 6,35 mm (1/4 po) : -5 dBV (dans 3 kΩ de charge)
Impedance
XLR: 200Ω
Repérage des broches
XLR : 1 = masse, 2 = positif, 3 = négatif.
TRS 6,35 mm (1/4 po) : Pointe = audio, anneau = non connecté.
Ce matériel radio est prévu pour une utilisation en spectacles musicaux professionnels et applications similaires.
Il est possible que cet appareil radio soit capable de fonctionner sur certaines fréquences non autorisées localement. Se METTRE en rapport avec les autorités compétentes pour obtenir les informations sur les fréquences et niveaux de puissance HF autorisés pour les systèmes de microphones sans fil.
PGX1, PGX2, PGX4
Cet appare ICES-003 (Canada).
Cet appare NMB-003 du Canada.
Conforme aux exigences des normes CEM EN 300 422 parties 1 et 2 et EN 301 489 parties 1 et 9.
Conforme aux exigences essentielles de la directive R&TTE 99/5/CE, autorisé à porter le marquage CE.
PGX1, PGX2
Homologué selon la partie 74 des réglementations FCC (organisme fédéral réglementant les communications aux U.S.A.). (FCC ID : DD4PGX1A, DD4PGX2A, DD4SLX1, DD4SLX2). Homologué par IC au Canada selon RSS-123 et RSS-102. (IC : 616A-SLX1, 616A-SLX2).
Approuvé selon la déclaration de conformité de la partie 15 des règlements FCC. Homologué par IC au Canada selon RSS-123. (IC : 616A-PGX4A, 616A-PGX4B, 616A-PGX4C, 616A-PGX4D).
L'utilisation de ce dispositif est assujettie aux deux conditions suivantes : (1) ce dispositif ne doit pas causer d'interférences et (2) ce dispositif doit accepter toutes les interférences, y compris celles qui pourraient provoquer un fonctionnement non souhaité de l'appareil.
e auprès de Shure Incorporated ou de ses représentants européens. Pour les coordonnées, visiter www.shure.com
La déclaration de conformité CE peut être obtenu au+..... au+... au+... au+... au+... au+... au+... au+... au+... au+... au+... au+... au+... au+... au+... au+... au+... au+... au+... au+... au+... au+... au+... au+... au+... au+... au. La déclaration de conformité CE peut être obtenu au+... au+... au+... La déclaration de conformité CE peut être obtenu au+... La déclaration de conformité CE peut être obtenu au+... La déclaration de conformité CE peut être obtenu au+... La déclaration de conformité CE peut être obtenu au+... La déclaration de conformité CE peut être obtenu au+... La déclaration de conformité CE peut être obtenu au+... La déclaration de conformité CE peut être obtenu au+... La déclaration de conformità CE peut être obtenu au+... La déclaration de conformàte CE peut être obtenu au+... La déclaration de conformàte CE peut être obtenu au+... La déclaration de conformàte CE peut être obtenu au+... La déclaration de conformàte CE peut être obtenu au+... La déclaration de conformàte CE peut être obtenu au+... La déclaration de conformàte CE peut être obtenu au+... La déclaration de conformàte CE peut être Obtenu au+... La déclaration de conformàte CE peut être Obtenu au+... La déclaration de conformàte CE peut être Obtenu au+... La déclaration de conformàte CE peut être Obtenu au+... La déclaration de conformàte CE peut être Obtenu au+... La déclaration de conformàte CE peut être Obtenu au+... La déclaration de conformàte CE peut être Obtenu au+.. La déclaration de conformàte CE peut être Obtenu au+... La déclaration de conformàte CE peut être Obtenu au+... La déclaration de conformàte CE peut être Obtenu au+... La déclaration de conformàte CE peut être Obtenu au+... La déclaration de conformàte CE peut être Obtenu au+... La déclaration de conformàte CE peut être Obtenu au+... La déclamation de conformàte CE peut être Obtenu au+... La déclamation de conformàte CE peut être Obtenu au+... La déclamation de conformàte CE peut être Obtenu au+... La déclamation de conformàte CE peut être Obtenu au+... La déclamation de conformàte CE peut être Obtenu au+... La déclamation de conformàte CE peut être Obtenu au+... La déclamation de conformàterce CE peut être Obtenu au+... La déclamation de conformàterce CE peut être Obtenu au+... La déclamation de conformàterce CE peut être Obtenu au+... La déclamation de conformàterce CE peut être Obtenu au+... La déclamation de conformàterce CE peut être Obtenu au+... La déclamation de conformàterce CE peut être Obtenu au+... La déclamation de conforma tage CE peut être Obtenu au+... La déclamation de conforma tage CE peut être Obtenu au+... La déclamation de conforma tage CE peut être Obtenu au+... La déclamation de conforma tage CE peut être Obtenu au+... La déclamation de conforma tage CE peut être Obtenu au+... La déclamation de conforma tage CE peut être Obtenu au+... La déclamation de conformà tage CE peut être Obtenu au+... La déclamation de conformà tage CE peut être Obtenu au+... La déclamation de conformà tage CE peut être Obtenu au+... La déclamation de conformà tage CE peut être Obtenu au+... La déclamation de conformà tage CE peut être Obtenu au+... La déclamation de conformà tage CE peut être Obtenu au+... La déclamation DE CONFORMA TAGE : 100 % (100 %) Le résultat est L'obtained results are presented in the table of the company's financial statements.
Représentant agréé européen : Shure Europe GmbH Siège Europe, Moyen-Orient et Afrique Service : Homologation EMEA Wannenacker Str. 28 D-74078 Heilbronn, Allemagne Téléphone : +49 7131 72 14 0 Télécopie : +49 7131 72 14 14 Courriel : EMEA-support@shure.de
Renseignements sur l'octroi de licence
Autorisation d'utilisation : Une licence officielle d'utilisation de ce matériel peut être requise dans certains pays. Consultez les autorités compétentes pour connaître les exigences applicables. Tout changement ou modification n'ayant pas fait l'objet d'une autorisation expresse de Shure Incorporated peut entraîner la nullité du droit d'utiliser l'équipement. La licence d'utilisation d'un système de microphone sans fil Shure demeure de la responsabilité de l'utilisateur, et dépend de la classification de l'utilisateur, de l'application prévue ainsi que de la fréquence sélectionnée. Shure recommande vivement de se mettre en rapport avec les autorités compétentes en matière de télécommunications pour l'obtention des autorisations nécessaires, et ce avant de choisir et de commander des fréquences.
Information à l'utilisateur
Cet équipement a été testé et déclaré conforme aux limites pour les appareils numériques de classe B, selon la section 15 des règlements de la FCC. Ces limites sont destinées à assurer une protection raisonnable contre les interférences nuisibles dans une installation résidentielle. Cet équipement produit, utilise et peut émettre de l'énergie radioélectrique et, s'il n'est pas installé et utilisé conformément aux instructions, peut causer des interférences nuisibles aux communications radio. Il n'existe toutefois aucune garantie que de telles interférences ne se produiront pas dans une installation particulière. Si cet équipement produit des interférences nuisibles à la réception d'émissions de radio ou de télévision, ce qui peut être établi en mettant l'appareil sous, puis hors tension, il est recommandé à l'utilisateur d'essayer de corriger le problème en prenant l'une ou plusieurs des mesures suivantes :
- Déplacer l'antenne réceptrice.
- Augmenter l'espacement entre l'équipement et le récepteur.
- Brancher l'appareil sur un circuit différent de celui du récepteur.
- Consulter le revendeur.
Remarque : Les essais de conformité CEM sont basés sur l'utilisation des types de câbles fournis et recommandés. L'utilisation d'autres types de câbles peut dégrader la performance CEM.
Tout changement ou modification n'ayant pas fait l'objet d'une autorisation expresse du fabricant peut entraîner la nullité du droit d'utilisation de l'équipement.
H6:524.000—542.000 MHz
| CH | GROUP | |||||||||
| 0 | 1 | 2 | 3 | 4 | 5 | 6 | 7 | 8 | 9 | |
| 1 | 524.250 | 524.525 | 524.175 | 524.225 | 525.850 | 525.925 | 525.500 | 525.450 | 524.125 | 524.650 |
| 2 | 527.350 | 527.625 | 525.650 | 525.700 | 528.600 | 528.675 | 527.800 | 527.750 | 525.600 | 525.850 |
| 3 | 529.425 | 529.700 | 526.775 | 526.825 | 530.300 | 530.375 | 531.700 | 531.650 | 526.725 | 527.950 |
| 4 | 530.900 | 531.175 | 528.425 | 528.475 | 531.700 | 531.775 | 533.825 | 533.775 | 528.375 | 529.750 |
| 5 | 533.275 | 533.550 | 529.725 | 529.775 | 532.800 | 532.875 | 536.275 | 536.225 | 529.675 | 536.325 |
| 6 | 535.050 | 535.325 | 532.175 | 532.225 | 534.350 | 534.425 | 537.575 | 537.525 | 536.250 | 537.625 |
| 7 | 538.300 | 538.575 | 534.300 | 534.350 | 535.600 | 535.675 | 539.225 | 539.175 | 538.050 | 539.275 |
| 8 | 539.500 | 539.775 | 538.200 | 538.250 | 539.200 | 539.275 | 540.350 | 540.300 | 540.150 | 540.400 |
| 9 | 541.125 | 541.400 | 540.500 | 540.550 | 541.525 | 541.600 | 541.825 | 541.775 | 541.350 | 541.875 |
| Full range. Even distribution in US TV channels 23, 24, and 25 | Full range. Max # of frequencies in US TV channel 23. | Full range. Max # of frequencies in US TV channel 24. | Full range. Max # of frequencies in US TV channel 25. | Full range. Max # of frequencies in US TV channels 23 and 25. | ||||||
J6:572.250—589.875 MHz
| CH | GROUP | |||||||||
| 0 | 1 | 2 | 3 | 4 | 5 | 6 | 7 | 8 | 9 | |
| 1 | 572.250 | 572.525 | 572.175 | 572.225 | 573.850 | 573.925 | 573.500 | 573.450 | 572.125 | 572.650 |
| 2 | 575.350 | 575.625 | 573.650 | 573.700 | 576.600 | 576.675 | 575.800 | 575.750 | 573.600 | 573.850 |
| 3 | 577.425 | 577.700 | 574.775 | 574.825 | 578.300 | 578.375 | 579.700 | 579.650 | 574.725 | 575.950 |
| 4 | 578.900 | 579.175 | 576.425 | 576.475 | 579.700 | 579.775 | 581.825 | 581.775 | 576.375 | 577.750 |
| 5 | 581.275 | 581.550 | 577.725 | 577.775 | 580.800 | 580.875 | 584.275 | 584.225 | 577.675 | 584.325 |
| 6 | 583.050 | 583.325 | 580.175 | 580.225 | 582.350 | 582.425 | 585.575 | 585.525 | 584.250 | 585.625 |
| 7 | 586.300 | 586.575 | 582.300 | 582.350 | 583.600 | 583.675 | 587.225 | 587.175 | 586.050 | 587.275 |
| 8 | 587.500 | 587.775 | 586.200 | 586.250 | 587.200 | 587.275 | 588.350 | 588.300 | 588.150 | 588.400 |
| 9 | 589.125 | 589.400 | 588.500 | 588.550 | 589.525 | 589.600 | 589.825 | 589.775 | 589.350 | 589.875 |
| Full range. Even distribution in US TV channels 31, 32, and 33. | Full range. Max # of frequencies in US TV channel 31. | Full range. Max # of frequencies in US TV channel 32. | Full range. Max # of frequencies in US TV channel 33. | Full range. Max # of frequencies in US TV channels 31 and 33. | ||||||
L5:644.000—662.000 MHz
| CH | GROUP | |||||||||
| 0 | 1 | 2 | 3 | 4 | 5 | 6 | 7 | 8 | 9 | |
| 1 | 644.250 | 644.525 | 644.175 | 644.225 | 645.850 | 645.925 | 645.500 | 645.450 | 644.125 | 644.650 |
| 2 | 647.350 | 647.625 | 645.650 | 645.700 | 648.600 | 648.675 | 647.800 | 647.750 | 645.600 | 645.850 |
| 3 | 649.425 | 649.700 | 646.775 | 646.825 | 650.300 | 650.375 | 651.700 | 651.650 | 646.725 | 647.950 |
| 4 | 650.900 | 651.175 | 648.425 | 648.475 | 651.700 | 651.775 | 653.825 | 653.775 | 648.375 | 649.750 |
| 5 | 653.275 | 653.550 | 649.725 | 649.775 | 652.800 | 652.875 | 656.275 | 656.225 | 649.675 | 656.325 |
| 6 | 655.050 | 655.325 | 652.175 | 652.225 | 654.350 | 654.425 | 657.575 | 657.525 | 656.250 | 657.625 |
| 7 | 658.300 | 658.575 | 654.300 | 654.350 | 655.600 | 655.675 | 659.225 | 659.175 | 658.050 | 659.275 |
| 8 | 659.500 | 659.775 | 658.200 | 658.250 | 659.200 | 659.275 | 660.350 | 660.300 | 660.150 | 660.400 |
| 9 | 661.125 | 661.400 | 660.500 | 660.550 | 661.525 | 661.600 | 661.825 | 661.775 | 661.350 | 661.875 |
| Full range. Even distribution in US TV channels 43, 44, and 45. | Full range. Max # of frequencies in US TV channel 43 | Full range. Max # of frequencies in US TV channel 44. | Full range. Max # of frequencies in US TV channel 45. | Full range. Max # of frequencies in US TV channels 43 and 45. | ||||||
| 1 | 702.200 | 710.200 | 703.750 | 703.650 | 702.750 | 703.750 | 702.100 | 704.775 | 702.300 | 703.000 |
| 2 | 703.300 | 711.300 | 705.975 | 705.650 | 704.500 | 705.750 | 704.025 | 706.225 | 704.975 | 706.025 |
| 3 | 704.700 | 712.700 | 707.200 | 708.650 | 705.750 | 708.250 | 705.500 | 710.500 | 706.775 | 708.000 |
| 4 | 705.800 | 713.800 | 708.850 | 710.875 | 708.250 | 711.750 | 708.500 | 712.025 | 709.100 | 710.300 |
| 5 | 707.675 | 715.675 | 710.950 | 712.450 | 711.250 | 714.500 | 710.100 | 714.225 | 710.300 | 712.225 |
| 6 | 708.775 | 716.775 | 712.425 | 715.125 | 712.500 | 715.750 | 712.025 | 716.900 | 712.225 | 716.000 |
| 7 | 714.325 | 717.025 | 715.250 | 718.750 | 713.500 | 718.500 | 714.775 | 717.100 | ||
| 8 | 717.000 | 718.500 | 718.750 | 717.300 | 716.700 | 719.000 | ||||
| 9 | 718.575 | |||||||||
| Optimized TV chan- nels: TV ch: 51 710; SLX-P4, group 1) 710 MHz (same as part of SLX-P4, group 2) Optimized TV chan- nels: TV ch: 51 710; SLX-P4, group 1) 718 MHz (same as SLX-P4, group 1) | ||||||||||
R1:800.000—820.000 MHz
| CH | GROUP | |||||||||
| 0 | 1 | 2 | 3 | 4 | 5 | 6 | 7 | 8 | 9 | |
| 1 | 801.250 | 801.225 | 806.150 | 801.400 | 800.525 | 801.475 | 800.600 | 800.650 | 806.000 | 806.025 |
| 2 | 804.825 | 804.800 | 811.650 | 808.300 | 801.925 | 803.025 | 802.050 | 803.125 | 807.100 | 807.425 |
| 3 | 806.975 | 806.950 | 814.400 | 816.400 | 803.650 | 805.800 | 804.275 | 804.450 | 808.500 | 808.525 |
| 4 | 808.800 | 808.775 | 816.500 | 804.850 | 806.950 | 805.750 | 806.150 | 809.600 | 810.400 | |
| 5 | 810.325 | 810.300 | 817.450 | 807.400 | 809.125 | 806.850 | 807.250 | 811.475 | 811.500 | |
| 6 | 811.550 | 811.525 | 819.300 | 808.525 | 810.575 | 808.550 | 808.725 | 812.575 | 812.900 | |
| 7 | 813.175 | 813.150 | 810.275 | 811.725 | 809.875 | 810.950 | 813.975 | 814.000 | ||
| 8 | 815.275 | 815.250 | 811.550 | 813.800 | 812.350 | 812.400 | ||||
| 9 | 816.650 | 816.625 | 813.775 | 813.450 | 813.500 | |||||
| Full Range max. # of compatible frequencies (option 1, none as part of SLX-RS group 1) | ||||||||||
T1:846.000—865.000 MHz
| CH | GROUP | |||||||||
| 0 | 1 | 2 | 3 | 4 | 5 | 6 | 7 | 8 | 9 | |
| 1 | 847.500 | 846.100 | 863.200 | 846.800 | 854.200 | 855.475 | 855.075 | 854.750 | 854.750 | 854.425 |
| 2 | 848.600 | 847.350 | 863.900 | 848.425 | 855.300 | 857.425 | 857.775 | 855.850 | 855.850 | 855.525 |
| 3 | 850.100 | 849.400 | 864.500 | 850.425 | 856.700 | 860.600 | 860.725 | 857.250 | 857.250 | 857.400 |
| 4 | 852.100 | 851.800 | 852.875 | 857.800 | 858.350 | 858.350 | 858.500 | |||
| 5 | 853.300 | 853.200 | 855.650 | 859.675 | 860.225 | 860.225 | 859.900 | |||
| 6 | 855.100 | 856.775 | 860.775 | 861.325 | 861.325 | 861.000 | ||||
| 7 | 857.200 | 859.725 | ||||||||
| 8 | 858.650 | 861.550 | ||||||||
| 9 | 859.800 | 864.800 | ||||||||
| European harmonized band: 865 MHz | Full Range max. # of compatible fre quencies (same as SLX S6, group 3) | ULK preferred: "CH69" Band: "CH69" Band: "CH69" Band: "CH69" Band: "CH69" Band: "CH69" Band: "CH69" Band: "CH69" Band: "CH69" Band: "CH69" Band: "CH69" Band: "CH69" Band: "CH69" Band: "CH69" Band: "CH69" Band: “CH69” Band: "CH69" Band: "CH69" Band: "CH69" Band: "CH69" Band: "CH69" Band: "CH69" Band: "CH69" Band: "CH69" Band: "CH69" Band: "CH69" Band: "CH69" Band: "CH69" Band: "CH69" Band: "CH69" Band : "CH69" Band : "CH69" Band : "CH69" Band : "CH69" Band : "CH69" Band : "CH69" Band : "CH69" Band : "CH69" Band : "CH69" Band : "CH69" Band : "CH69" Band : "CH69" Band : "CH69" Band : "CH69" Band : " CH69" Band : "CH69" Band : "CH69" Band : "CH69" Band : "CH69" Band : "CH69" Band : "CH69" Band : "CH69" Band : "CH69" Band : "CH69" Band : "CH69" Band : "CH69" Band : "CH69" Band : "CH69" Band : "CH62" Band : "CH62" Band : "CH62" Band : "CH62" Band : "CH62" Band : "CH62" Band : "CH62" Band : "CH62" Band : "CH62" Band : "CH62" Band : "CH62" Band : "CH62" Band : "CH62" Band : "CH62" Band : "CH62"Band : "CH62" Band : "CH62" Band : "CH62" Band : "CH62" Band : "CH62" Band : "CH62" Band : "CH62" Band : "CH62" Band : "CH62" Band : "CH62" Band : "CH62" Band : "CH62" Band : "CH62" Band : "CH62" Band : “CH62” Band : "CH62" Band : "CH62" Band : "CH62" Band : "CH62" Band : "CH62" Band : "CH62" Band : "CH62" Band : "CH62" Band : "CH62" Band : "CH62" Band : "CH62" Band : "CH62" Band : "CH62" Band : "CH62" Band: "CH62" Band : "CH62" Band : "CH62" Band : "CH62" Band : "CH62" Band : "CH62" Band : "CH62" Band : "CH62" Band : "CH62" Band : "CH62" Band : "CH62" Band : "CH62" Band : "CH62" Band : "CH62" Band : " CH62" Band : "CH62" Band : "CH62" Band : "CH62" Band : "CH62" Band : "CH62" Band : "CH62" Band : "CH62" Band : "CH62" Band : "CH62" Band : "CH62" Band : "CH62" Band : "CH62" Band : "CH62" Band : "CH61" Band : "CH61" Band : "CH61" Band : "CH61" Band : "CH61" Band : "CH61" Band : "CH61" Band : "CH61" Band : "CH61" Band : "CH61" Band : "CH61" Band : "CH61" Band : "CH61" Band : "CH61" Band : "CH61"Band : "CH61" Band : "CH61" Band : "CH61" Band : "CH61" Band : "CH61" Band : "CH61" Band : "CH61" Band : "CH61" Band : "CH61" Band : "CH61" Band : "CH61" Band : "CH61" Band : "CH61" Band : "CH61" Band : “CH61” Band : "CH61" Band : "CH61" Band : "CH61" Band : "CH61" Band : "CH61" Band : "CH61" Band : "CH61" Band : "CH61" Band : "CH61" Band : "CH61" Band : "CH61" Band : "CH61" Band : "CH61" Band : "CH61" Band: "CH61" Band : "CH61" Band : "CH61" Band : "CH61" Band : "CH61" Band : "CH61" Band : "CH61" Band : "CH61" Band : "CH61" Band : "CH61" Band : "CH61" Band : "CH61" Band : "CH61" Band : "CH61" Band : " CH61" Band : "CH61" Band : "CH61" Band : "CH61" Band : "CH61" Band : "CH61" Band : "CH61" Band : "CH61" Band : "CH61" Band : "CH61" Band : "CH61" Band : "CH61" Band : "CH61" Band : "CH61" Band : "CH62" Band : "CH62" Band : "CH62" Band : "CH62" Band : "CH62" Band : "CH62" Band : "CH62" Band : "CH62" Band : "CH62" Band : "CH62" Band : "CH62" Band : "CH62" Band : "CH62" Band : "CH62"and "CH62"and "CH62"and "CH62"and "CH62"and "CH62"and "CH62"and "CH62"and "CH62"and "CH62"and "CH62"and "CH62"and "CH62"and "CH62"and "CH62"and "CH62"and "CH62"and "CH61"and "CH61"and "CH61"and "CH61"and "CH61"and "CH61"and "CH61"and "CH61"and "CH61"and "CH61"and "CH61"and "CH61"and "CH61"and "CH61"and "CH61"and "CH61"and "CH61"and " CH61"and " CH61" and " CH61"and " CH61"and " CH61"and " CH61"and " CH61"and " CH61"and " CH61"and " CH61"and " CH61"and " CH61"and " CH61"and " CH61"and " CH61"and " CH61"and " CH61"and " CH61"and " CH61"and " CH62"and " CH62"and " CH62"and " CH62"and " CH62"and " CH62"and " CH62"and " CH62"and " CH62"and " CH62"and " CH62"and " CH62"and " CH62"and " CH62"and " CH62"and " CH62"and " CH62"and "CH62"and " CH62"and " CH62"and " CH62"and " CH62"and " CH62"and " CH62"and " CH62"and " CH62"and " CH62"and " CH62"and " CH62"and " CH62"and " CH62"and " CH62"and " CH62"and " CH62"和“ CH62"和“ CH62”和“ CH62”和“ CH62”和“ CH62”和“ CH62”和“ CH62”和“ CH62”和“ CH62”和“ CH62”和“ CH62”和“ CH62”和“ CH62”和“ CH62”和“ CH62”和“ CH62”和“ CH62”和“ CH62”和“ CH 62”和“ CH 62”和“ CH 62”和“ CH 62”和“ CH 62”和“ CH 62”和“ CH 62”和“ CH 62”和“ CH 62”和“ CH 62”和“ CH 62”和“ CH 62”和“ CH 62”和“ CH 62”和“ CH 61”和“ CH 61”和“ CH 61”和“ CH 61”和“ CH 61”和“ CH 61”和“ CH 61”和“ CH 61”和“ CH 61”和“ CH 61”和“ CH 61”和“ CH 61”和“ CH 61”和“ CH 61”和“ CH 61” 和“ CH 61”和“ CH 61”和“ CH 61”和“ CH 61”和“ CH 61”和“ CH 61”和“ CH 61”和“ CH 61”和“ CH 61”和“ CH 61”和“ CH 61”和“ CH 61”和“ CH 61”和“ CH 61”和“CH 61”和“CH 61”和“CH 61”和“CH 61”和“CH 61”和“CH 61”和“CH 61”和“CH 61”和“CH 61”和“CH 61”和“CH 61”和“CH 61”和“CH 61”和“CH 61”和“CH 10”和“CH 10”和“CH 10”和“CH 10”和“CH 10”和“CH 10”和“CH 10”和“CH 10”和“CH 10”和“CH 10”和“CH 10”和“CH 10”和“CH 10”和“CH 10”和“CH 10” 和“CH 10”和“CH 10”和“CH 10”和“CH 10”和“CH 10”和“CH 10”和“CH 10”和“CH 10”和“CH 10”和“CH 10”和“CH 10”和“CH 10”和“CH 10”和“CH 10”和“ CH 10”和“CH 10”和“CH 10”和“CH 10”和“CH 10”和“CH 10”和“CH 10”和“CH 10”和“CH 10”和“CH 10”和“CH 10”和“CH 10”和“CH 10”和“CH 10”和“CH 61”和“CH 61”和“CH 61”和“CH 61”和“CH 61”和“CH 61”和“CH 61”和“CH 61”和“CH 61”和“CH 61”和“CH 61”和“CH 61”和“CH 61”和“CH 61” 和“CH 61”和“CH 61”和“CH 61”和“CH 61”和“CH 61”和“CH 61”和“CH 61”和“CH 61”和“CH 61”和“CH 61”和“CH 61”和“CH 61”和“CH 61”和“CH 61”和“ CH 61”和“CH 61”和“CH 61”和“CH 61”和“CH 61”和“CH 61”和“CH 61”和“CH 61”和“CH 61”和“CH 61”和“CH 61”和“CH 61”和“CH 61”和“CH 10”和“CH 61”和“CH 61”和“CH 61”和“CH 61”和“CH 61”和“CH 61”和“CH 61”和“CH 61”和“CH 61”和“CH 61”和“CH 61”和“CH 61”和“CH 61” 和“CH 61” 和“CH 61”和“CH 61”和“CH 61”和“CH 61”和“CH 61”和“CH 61”和“CH 61”和“CH 61”和“CH 61”和“CH 61”和“CH 61”和“CH 61”和“CH 61”和“ CH 61”和“ CH 61”和“ CH 61”和“ CH 61”和“ CH 61”和“ CH 61”和“ CH 61”和“ CH 61”和“ CH 61”和“ CH 61”和“ CH 61”和“ CH 61”和“ CH 61”和“ CH 10”和“CH 61”和“CH 61”和“CH 61”和“CH 61”和“CH 61”和“CH 61”和“CH 61”和“CH 61”和“CH 61”和“CH 61”和“CH 61”和“CH 61”和“CH 61”和“CH 10” 和“CH 61”和“CH 61”和“CH 61”和“CH 61”和“CH 61”和“CH 61”和“CH 61”和“CH 61”和“CH 61”和“CH 61”和“CH 61”和“CH 61”和“CH 61”和“CH 61” 和“ CH 61”和“CH 61”和“CH 61”和“CH 61”和“CH 61”和“CH 61”和“CH 61”和“CH 61”和“CH 61”和“CH 61”和“CH 61”和“CH 61”和“CH 61”和“CH 61”和“ CH 10” 和“CH 61”和“CH 61”和“CH 61”和“CH 61”和“CH 61”和“CH 61”和“CH 61”和“CH 61”和“CH 61”和“CH 61”和“CH 61”和“CH 61”和“CH 61”和“CH 10” 和“ CH 61”和“CH 61”和“CH 61”和“CH 61”和“CH 61”和“CH 61”和“CH 61”和“CH 61”和“CH 61”和“CH 61”和“CH 61”和“CH 61”和“CH 61”和“CH 61” 和“CH 10” 和“CH 61”和“CH 61”和“CH 61”和“CH 61”和“CH 61”和“CH 61”和“CH 61”和“CH 61”和“CH 61”和“CH 61”和“CH 61”和“CH 61”和“CH 61”和“ CH 61” 和“CH 61”和“CH 61”和“CH 61”和“CH 61”和“CH 61”和“CH 61”和“CH 61”和“CH 61”和“CH 61”和“CH 61”和“CH 61”和“CH 61”和“CH 61”和“CH 10”和“ CH 61”和“CH 61”和“CH 61”和“CH 61”和“CH 61”和“CH 61”和“CH 61”和“CH 61”和“CH 61”和“CH 61”和“CH 61”和“CH 61”和“CH 61”和“CH 61” 和“ CH 10 ”和“ CH 61 ”和“ CH 61 ”和“ CH 61 ”和“ CH 61 ”和“ CH 61 ”和“ CH 61 ”和“ CH 61 ”和“ CH 61 ”和“ CH 61 ”和“ CH 61 ”和“ CH 61 ”和“ CH 61 ”和“ CH 61 ”和“ CH 61 ”和“ CH 61 ” 和“ CH 61 ”和“ CH 61 ”和“ CH 61 ”和“ CH 61 ”和“ CH 61 ”和“ CH 61 ”和“ CH 61 ”和“ CH 61 ”和“ CH 61 ”和“ CH 61 ”和“ CH 61 ”和“ CH 61 ”和“ CH 61 ”和“ CH 61 ”和“CH 61 ”和“ CH 61 ”和“ CH 61 ”和“ CH 61 ”和“ CH 61 ”和“ CH 61 ”和“ CH 61 ”和“ CH 61 ”和“ CH 61 ”和“ CH 61 ”和“ CH 61 ”和“ CH 61 ”和“ CH 61 ”和“ CH 61 ”和“ CH 10 ”和“ CH 61 ”和“ CH 61 ”和“ CH 61 ”和“ CH 61 ”和“ CH 61 ”和“ CH 61 ”和“ CH 61 ”和“ CH 61 ”和“ CH 61 ”和“ CH 61 ”和“ CH 61 ”和“ CH 61 ”和“ CH 61 ”和“CH 61 ” 和“ CH 61 ”和“ CH 61 ”和“ CH 61 ”和“ CH 61 ”和“ CH 61 ”和“ CH 61 ”和“ CH 61 ”和“ CH 61 ”和“ CH 61 ”和“ CH 61 ”和“ CH 61 ”和“ CH 61 ”和“ CH 61 ”和“ CH 10 ”和“CH 61 ”和“ CH 61 ”和“ CH 61 ”和“ CH 61 ”和“ CH 61 ”和“ CH 61 ”和“ CH 61 ”和“ CH 61 ”和“ CH 61 ”和“ CH 61 ”和“ CH 61 ”和“ CH 61 ”和“ CH 61 ”和“ CH 61 ” 和“ CH 10 ”和“ CH 61 ”和“ CH 61 ”和“ CH 61 ”和“ CH 61 ”和“ CH 61 ”和“ CH 61 ”和“ CH 61 ”和“ CH 61 ”和“ CH 61 ”和“ CH 61 ”和“ CH 61 ”和“ CH 61 ”和“ CH 61 ”和 “ CH 61 ”和“ CH 61 ”和“ CH 61 ”和“ CH 61 ”和“ CH 61 ”和“ CH 61 ”和“ CH 61 ”和“ CH 61 ”和“ CH 61 ”和“ CH 61 ”和“ CH 61 ”和“ CH 61 ”和“ CH 61 ”和“ CH 61 ”和“ CH61 ”和“ CH 61 ”和“ CH 61 ”和“ CH 61 ”和“ CH 61 ”和“ CH 61 ”和“ CH 61 ”和“ CH 61 ”和“ CH 61 ”和“ CH 61 ”和“ CH 61 ”和“ CH 61 ”和“ CH 61 ”和“ CH 61 ”和“ CH 62 ”和“ CH 62 ”和“ CH 62 ”和“ CH 62 ”和“ CH 62 ”和“ CH 62 ”和“ CH 62 ”和“ CH 62 ”和“ CH 62 ”和“ CH 62 ”和“ CH 62 ”和“ CH 62 ”和“ CH 62 ”和“ CH 62 ”和“ CH 62 ” 和“ CH 62 ”和“ CH 62 ”和“ CH 62 ”和“ CH 62 ”和“ CH 62 ”和“ CH 62 ”和“ CH 62 ”和“ CH 62 ”和“ CH 62 ”和“ CH 62 ”和“ CH 62 ”和“ CH 62 ”和“ CH 62 ”和“ CH 62 ”和“CH 62 ”和“ CH 62 ”和“ CH 62 ”和“ CH 62 ”和“ CH 62 ”和“ CH 62 ”和“ CH 62 ”和“ CH 62 ”和“ CH 62 ”和“ CH 62 ”和“ CH 62 ”和“ CH 62 ”和“ CH 62 ”和“ CH 62 ”和“ CH 10 ”和“ CH 61 ”和“ CH 61 ”和“ CH 61 ”和“ CH 61 ”和“ CH 61 ”和“ CH 61 ”和“ CH 61 ”和“ CH 61 ”和“ CH 61 ”和“ CH 61 ”和“ CH 61 ”和“ CH 61 ”和“ CH 61 ” 和“ CH 61 ” 和“ CH 61 ” 和“ CH 61 ” 和“ CH 61 ” 和“ CH 61 ” 和“ CH 61 ” 和“ CH 61 ” 和“ CH 61 ” 和“ CH 61 ” 和“ CH 61 ” 和“ CH 61 ” 和“ CH 61 ” 和“ CH 61 ” 和“ CH 61 ” 和“CH 61 ” 和“ CH 61 ” 和“ CH 61 ” 和“ CH 61 ” 和“ CH 61 ” 和“ CH 61 ” 和“ CH 61 ” 和“ CH 61 ” 和“ CH 61 ” 和“ CH 61 ” 和“ CH 61 ” 和“ CH 61 ” 和“ CH 61 ” 和“ CH 61 ” 和“ CH 10 ” 和 “ CH 61 ” 和 “ CH 61 ” 和 “ CH 61 ” 和 “ CH 61 ” 和 “ CH 61 ” 和 “ CH 61 ” 和 “ CH 61 ” 和 “ CH 61 ” 和 “ CH 61 ” 和 “ CH 61 ” 和 “ CH 61 ” 和 “ CH 61 ” 和 “ CH 61 ” 和 “ CH 61 ” 和 “ CH 61 ”和 “ CH 61 ” 和 “ CH 61 ” 和 “ CH 61 ” 和 “ CH 61 ” 和 “ CH 61 ” 和 “ CH 61 ” 和 “ CH 61 ” 和 “ CH 61 ” 和 “ CH 61 ” 和 “ CH 61 ” 和 “ CH 61 ” 和 “ CH 61 ” 和 “ CH 61 ” 和 “ CH 61 ” 和 “CH 61 ” 和 “ CH 61 ” 和 “ CH 61 ” 和 “ CH 61 ” 和 “ CH 61 ” 和 “ CH 61 ” 和 “ CH 61 ” 和 “ CH 61 ” 和 “ CH 61 ” 和 “ CH 61 ” 和 “ CH 61 ” 和 “ CH 61 ” 和 “ CH 61 ” 和 “ CH 61 ” 和 “ CH 10 ” 和 “ CH 61 ” 和 “ CH 61 ” 和 “ CH 61 ” 和 “ CH 61 ” 和 “ CH 61 ” 和 “ CH 61 ” 和 “ CH 61 ” 和 “ CH 61 ” 和 “ CH 61 ” 和 “ CH 61 ” 和 “ CH 61 ” 和 “ CH 61 ” 和 “ CH 61 ” 和 “ CH32 ” 和 “ CH32 ” 和 “ CH32 ” 和 “ CH32 ” 和 “ CH32 ” 和 “ CH32 ” 和 “ CH32 ” 和 “ CH32 ” 和 “ CH32 ” 和 “ CH32 ” 和 “ CH32 ” 和 “ CH32 ” 和 “ CH32 ” 和 “ CH32 ” 和 “ CH32 ” 和 “ CH32 ” 和 “ CH32 ” 和 “CH32 ” 和 “ CH32 ” 和 “ CH32 ” 和 “ CH32 ” 和 “ CH32 ” 和 “ CH32 ” 和 “ CH32 ” 和 “ CH32 ” 和 “ CH32 ” 和 “ CH32 ” 和 “ CH32 ” 和 “ CH32 ” 和 “ CH32 ” 和 “ CH32 ” 和 “ CH32 ” 和 “ CH32 ” 和 “ CH32 ”和 “ CH32 ” 和 “ CH32 ” 和 “ CH32 ” 和 “ CH32 ” 和 “ CH32 ” 和 “ CH32 ” 和 “ CH32 ” 和 “ CH32 ” 和 “ CH32 ” 和 “ CH32 ” 和 “ CH32 ” 和 “ CH32 ” 和 “ CH32 ” 和 “ CH32 ” 和 “ CH32 ” 和 “ CH32 ” 和 “ CH33 ” 和 “ CH33 ” 和 “ CH33 ” 和 “ CH33 ” 和 “ CH33 ” 和 “ CH33 ” 和 “ CH33 ” 和 “ CH33 ” 和 “ CH33 ” 和 “ CH33 ” 和 “ CH33 ” 和 “ CH33 ” 和 “ CH33 ” 和 “ CH33 ” 和 “ CH33 ” 和 “ CH33 ” 和 “ CH33 ” 和 “CH33 ” 和 “ CH33 ” 和 “ CH33 ” 和 “ CH33 ” 和 “ CH33 ” 和 “ CH33 ” 和 “ CH33 ” 和 “ CH33 ” 和 “ CH33 ” 和 “ CH33 ” 和 “ CH33 ” 和 “ CH33 ” 和 “ CH33 ” 和 “ CH33 ” 和 “ CH33 ” 和 “ CH33 ” 和 “ CH33 ”和 “ CH33 ” 和 “ CH33 ” 和 “ CH33 ” 和 “ CH33 ” 和 “ CH33 ” 和 “ CH33 ” 和 “ CH33 ” 和 “ CH33 ” 和 “ CH33 ” 和 “ CH33 ” 和 “ CH33 ” 和 “ CH33 ” 和 “ CH33 ” 和 “ CH33 ” 和 “ CH33 ” 和 “ CH33 ” 和 “ CH32 ”和 “ CH32 ”和 “ CH32 ”和 “ CH32 ”和 “ CH32 ”和 “ CH32 ”和 “ CH32 ”和 “ CH32 ”和 “ CH32 ”和 “ CH32 ”和 “ CH32 ”和 “ CH32 ”和 “ CH32 ”和 “ CH32 ”和 “ CH32 ”和 “ CH32 ”和 “ CH32 ”和 “ CH33 ”和 “ CH33 ”和 “ CH33 ”和 “ CH33 ”和 “ CH33 ”和 “ CH33 ”和 “ CH33 ”和 “ CH33 ”和 “ CH33 ”和 “ CH33 ”和 “ CH33 ”和 “ CH33 ”和 “ CH33 ”和 “ CH33 ”和 “ CH33 ”和 “ CH33 ”和 “ CH33 ”和 “CH33 ”和 “ CH33 ”和 “ CH33 ”和 “ CH33 ”和 “ CH33 ”和 “ CH33 ”和 “ CH33 ”和 “ CH33 ”和 “ CH33 ”和 “ CH33 ”和 “ CH33 ”和 “ CH33 ”和 “ CH33 ”和 “ CH33 ”和 “ CH33 ”和 “ CH33 ”和 “ CH33 ” 和 “ CH33 ”和 “ CH33 ”和 “ CH33 ”和 “ CH33 ”和 “ CH33 ”和 “ CH33 ”和 “ CH33 ”和 “ CH33 ”和 “ CH33 ”和 “ CH33 ”和 “ CH33 ”和 “ CH33 ”和 “ CH33 ”和 “ CH33 ”和 “ CH33 ”和 “ CH33 ”和 “ CH32 ”和 “ CH32 ”和 “ CH32 ”和 “ CH32 ”和 “ CH32 ”和 “ CH32 ”和 “ CH32 ”和 “ CH32 ”和 “ CH32 ”和 “ CH32 ”和 “ CH32 ”和 “ CH32 ”和 “ CH32 ”和 “ CH32 ”和 “ CH32 ”和 “ CH32 ”和 “CH32 ”和 “CH32 ”和 “CH32 ”和 “CH32 ”和 “CH32 ”和 “CH32 ”和 “CH32 ”和 “CH32 ”和 “CH32 ”和 “CH32 ”和 “CH32 ”和 “CH32 ”和 “CH32 ”和 “CH32 ”和 “CH32 ”和 “CH32 ”和 “CH32 ” 和 “CH32 ”和 “CH32 ”和 “CH32 ”和 “CH32 ”和 “CH32 ”和 “CH32 ”和 “CH32 ”和 “CH32 ”和 “CH32 ”和 “CH32 ”和 “CH32 ”和 “CH32 ”和 “CH32 ”和 “CH32 ”和 “CH32 ”和 “CH32 ”和 “CH33 ”和 “CH33 ”和 “CH33 ”和 “CH33 ”和 “CH33 ”和 “CH33 ”和 “CH33 ”和 “CH33 ”和 “CH33 ”和 “CH33 ”和 “CH33 ”和 “CH33 ”和 “CH33 ”和 “CH33 ”和 “CH33 ”和 “CH33 ”和 “CH33 ”和 “ CH33 ”和 “CH33 ”和 “CH33 ”和 “CH33 ”和 “CH33 ”和 “CH33 ”和 “CH33 ”和 “CH33 ”和 “CH33 ”和 “CH33 ”和 “CH33 ”和 “CH33 ”和 “CH33 ”和 “CH33 ”和 “CH33 ”和 “CH33 ”和 “CH33 ” 和 “CH33 ”和 “CH33 ”和 “CH33 ”和 “CH33 ”和 “CH33 ”和 “CH33 ”和 “CH33 ”和 “CH33 ”和 “CH33 ”和 “CH33 ”和 “CH33 ”和 “CH33 ”和 “CH33 ”和 “CH33 ”和 “CH33 ”和 “CH33 ”和 “CH32 ”和 “CH32 ”和 “CH32 ”和 “CH32 ”和 “CH32 ”和 “CH32 ”和 “CH32 ”和 “CH32 ”和 “CH32 ”和 “CH32 ”和 “CH32 ”和 “CH32 ”和 “CH32 ”和 “CH32 ”和 “CH32 ”和 “CH32 ”和 “ CH32 ”和 “CH32 ”和 “CH32 ”和 “CH32 ”和 “CH32 ”和 “CH32 ”和 “CH32 ”和 “CH32 ”和 “CH32 ”和 “CH32 ”和 “CH32 ”和 “CH32 ”和 “CH32 ”和 “CH32 ”和 “CH32 ”和 “CH32 ” 和 “CH32 ” 和 “CH32 ” 和 “CH32 ” 和 “CH32 ” 和 “CH32 ” 和 “CH32 ” 和 “CH32 ” 和 “CH32 ” 和 “CH32 ” 和 “CH32 ” 和 “CH32 ” 和 “CH32 ” 和 “CH32 ” 和 “CH32 ” 和 “CH32 ” 和 “CH32 ” 和 “CH33 ” 和 “CH32 ” 和 “CH32 ” 和 “CH32 ” 和 “CH32 ” 和 “CH32 ” 和 “CH32 ” 和 “CH32 ” 和 “CH32 ” 和 “CH32 ” 和 “CH32 ” 和 “CH32 ” 和 “CH32 ” 和 “CH32 ” 和 “CH32 ” 和 “CH32 ” 和 “CH32 ” 和 “ CH32 ” 和 “CH32 ” 和 “CH32 ” 和 “CH32 ” 和 “CH32 ” 和 “CH32 ” 和 “CH32 ” 和 “CH32 ” 和 “CH32 ” 和 “CH32 ” 和 “CH32 ” 和 “CH32 ” 和 “CH32 ” 和 “CH32 ” 和 “CH32 ” 和 “CH32 ” 和 “CH32 ”和 “CH32 ” 和 “CH32 ” 和 “CH32 ” 和 “CH32 ” 和 “CH32 ” 和 “CH32 ” 和 “CH32 ” 和 “CH32 ” 和 “CH32 ” 和 “CH32 ” 和 “CH32 ” 和 “CH32 ” 和 “CH32 ” 和 “CH32 ” 和 “CH32 ” 和 “CH33 ” 和 “CH33 ” 和 “CH33 ” 和 “CH33 ” 和 “CH33 ” 和 “CH33 ” 和 “CH33 ” 和 “CH33 ” 和 “CH33 ” 和 “CH33 ” 和 “CH33 ” 和 “CH33 ” 和 “CH33 ” 和 “CH33 ” 和 “CH33 ” 和 “CH33 ” 和 “CH33 ” 和 “ CH33 ” 和 “CH33 ” 和 “CH33 ” 和 “CH33 ” 和 “CH33 ” 和 “CH33 ” 和 “CH33 ” 和 “CH33 ” 和 “CH33 ” 和 “CH33 ” 和 “CH33 ” 和 “CH33 ” 和 “CH33 ” 和 “CH33 ” 和 “CH33 ” 和 “CH33 ” 和 “CH33 ”和 “CH33 ” 和 “CH33 ” 和 “CH33 ” 和 “CH33 ” 和 “CH33 ” 和 “CH33 ” 和 “CH33 ” 和 “CH33 ” 和 “CH33 ” 和 “CH33 ” 和 “CH33 ” 和 “CH33 ” 和 “CH33 ” 和 “CH33 ” 和 “CH33 ” 和 “CH33 ” 和 “CH32” 和 “CH32” 和 “CH32” 和 “CH32” 和 “CH32” 和 “CH32” 和 “CH32” 和 “CH32” 和 “CH32” 和 “CH32” 和 “CH32” 和 “CH32” 和 “CH32” 和 “CH32” 和 “CH32” 和 “CH32” 和 “CH32” 和 “CH 32” 和 “CH32” 和 “CH32” 和 “CH32” 和 “CH32” 和 “CH32” 和 “CH32” 和 “CH32” 和 “CH32” 和 “CH32” 和 “CH32” 和 “CH32” 和 “CH32” 和 “CH32” 和 “CH32” 和 “CH32” 和 “CH32”和 “CH32” 和 “CH32” 和 “CH32” 和 “CH32” 和 “CH32” 和 “CH32” 和 “CH32” 和 “CH32” 和 “CH32” 和 “CH32” 和 “CH32” 和 “CH32” 和 “CH32” 和 “CH32” 和 “CH32” 和 “CH32” 和 “CH34” 和 “CH34” 和 “CH34” 和 “CH34” 和 “CH34” 和 “CH34” 和 “CH34” 和 “CH34” 和 “CH34” 和 “CH34” 和 “CH34” 和 “CH34” 和 “CH34” 和 “CH34” 和 “CH34” 和 “CH34” 和 “CH34” 和 “ CH34” 和 “CH34” 和 “CH34” 和 “CH34” 和 “CH34” 和 “CH34” 和 “CH34” 和 “CH34” 和 “CH34” 和 “CH34” 和 “CH34” 和 “CH34” 和 “CH34” 和 “CH34” 和 “CH34” 和 “CH34” 和 “CH34”和 “CH34” 和 “CH34” 和 “CH34” 和 “CH34” 和 “CH34” 和 “CH34” 和 “CH34” 和 “CH34” 和 “CH34” 和 “CH34” 和 “CH34” 和 “CH34” 和 “CH34” 和 “CH34” 和 “CH34” 和 “CH34” 和 “CH32” 和 “CH32” 和 “CH32” 和 “CH32” 和 “CH32” 和 “CH32” 和 “CH32” 和 “CH32” 和 “CH32” 和 “CH32” 和 “CH32” 和 “CH32” 和 “CH32” 和 “CH32” 和 “CH32” 和 “CH32” 和 “ CH32” 和 “CH32” 和 “CH32” 和 “CH32” 和 “CH32” 和 “CH32” 和 “CH32” 和 “CH32” 和 “CH32” 和 “CH32” 和 “CH32” 和 “CH32” 和 “CH32” 和 “CH32” 和 “CH32” 和 “CH32” 和 “CH32” and “ CH 32” 和 “ CH 32” 和 “ CH 32” 和 “ CH 32” 和 “ CH 32” 和 “ CH 32” 和 “ CH 32” 和 “ CH 32” 和 “ CH 32” 和 “ CH 32” 和 “ CH 32” 和 “ CH 32” 和 “ CH 32” 和 “ CH 32” 和 “ CH 32” 和 “CH 32” 和 “ CH 32” 和 “ CH 32” 和 “ CH 32” 和 “ CH 32” 和 “ CH 32” 和 “ CH 32” 和 “ CH 32” 和 “ CH 32” 和 “ CH 32” 和 “ CH 32” 和 “ CH 32” 和 “ CH 32” 和 “ CH 32” 和 “ CH 三4” 和 “ CH 三4” 和 “ CH 三4” 和 “ CH 三4” 和 “ CH 三4” 和 “ CH 三4” 和 “ CH 三4” 和 “ CH 三4” 和 “ CH 三4” 和 “ CH 三4” 和 “ CH 三4” 和 “ CH 三4” 和 “ CH 三4” 和 “ CH 三4” 和 “ CH 三4”和 “ CH 三4”和 “ CH 三4”和 “ CH 三4”和 “ CH 三4”和 “ CH 三4”和 “ CH 三4”和 “ CH 三4”和 “ CH 三4”和 “ CH 三4”和 “ CH 三4”和 “ CH 三4”和 “ CH 三4”和 “ CH 三4”和 “ CH 三4”和 “CH 三4”和 “ CH 三4”和 “ CH 三4”和 “ CH 三4”和 “ CH 三4”和 “ CH 三4”和 “ CH 三4”和 “ CH 三4”和 “ CH 三4”和 “ CH 三4”和 “ CH 三4”和 “ CH 三4”和 “ CH 三4”和 “ CH 三4”和 “ CH 二4”和 “ CH 二4”和 “ CH 二4”和 “ CH 二4”和 “ CH 二4”和 “ CH 二4”和 “ CH 二4”和 “ CH 二4”和 “ CH 二4”和 “ CH 二4”和 “ CH 二4”和 “ CH 二4”和 “ CH 二4”和 “ CH 二4”和 “ CH 二4” - - - - - - - - - - - - - - - - - - - - - - - - - - - - - - - - - - - - - - - - - - - - - - - - - - - - - - - - - - - - - - - - - - - - - - - - - - - - - - - - - - - - - - - - - - - - - - - - - - - - - - - - - - - - - - - - - - - - - - - - - - - - - - - - - - - - - - - - - - - - - - - - - - - - - - - - - - - - - - - - - - - - - - - - - - - - - - - - - - - - - - - - - - - - - - - - - - - - - - - - - - - - - - - - - - - - - - - - - - - - - - - - - - - - - - - - - - - - - - - - - - - - - - - - - - - - - - - - - - - - - - - - - - - - - - - - - - - - - - - - - - - - - - - - - - - - - - - - - - - - - - - - - - - - - - - - - - - - - - - - - - - - - - - - - - - - - - - - - - - - - - - - - - - - - - - - - - - - - - - - - - - - - - - - - - - - - - - - - - - - - - - - - - - - - - - - - - - - - - - = C H 50 + C H 50 + C H 50 + C H 50 + C H 50 + C H 50 + C H 50 + C H 50 + C H 50 + C H 50 + C H 50 + C H 50 + C H 50 + C H 50 + C H 50 + C H 50 + C H 50 + C H 10 + C H 50 + C H 50 + C H 50 + C H 50 + C H 50 + C H 50 + C H 50 + C H 50 + C H 50 + C H 50 + C H 50 + C H 50 + C H 50 + C H 50 + C H 50 + C H 50 + CH 50 + C H 50 + C H 50 + C H 50 + C H 50 + C H 50 + C H 50 + C H 50 + C H 50 + C H 50 + C H 50 + C H 50 + C H 50 + C H 50 + C H 50 + C H 50 + C H 50+ C H 50 + C H 50 + C H 50 + C H 50 + C H 50 + C H 50 + C H 50 + C H 50 + C H 50 + C H 50 + C H 50 + C H 50 + C H 50 + C H 50 + C H 50 + C H 50 + C H 80 + C H 50 + C H 50 + C H 50 + C H 50 + C H 50 + C H 50 + C H 50 + C H 50 + C H 50 + C H 50 + C H 50 + C H 50 + C H 50 + C H 50 + C H 50 + C H 50 + C C H 50 + C C H 50 + C C H 50 + C C H 50 + C C H 50 + C C H 50 + C C H 50 + C C H 50 + C C H 50 + C C H 50 + C C H 50 + C C H 50 + C C H 50 + C C H 50 + C CH 50 + C C H 50 + C C H 50 + C C H 50 + C C H 50 + C C H 50 + C C H 50 + C C H 50 + C C H 50 + C C H 50 + C C H 50 + C C H 50 + C C H 50 + C C H 50 + C C H 10 + C C H 50 + C C H 50 + C C H 50 + C C H 50 + C C H 50 + C C H 50 + C C H 50 + C C H 50 + C C H 50 + C C H 50 + C C H 50 + C C H 50 + C C H 50 + C C H 50+ C C H 50 + C C H 50 + C C H 50 + C C H 50 + C C H 50 + C C H 50 + C C H 50 + C C H 50 + C C H 50 + C C H 50 + C C H 50 + C C H 50 + C C H 50 + C C H 50 + C H 50 + C H 50 + C H 50 + C H 50 + C H 50 + C H 50 + C H 50 + C H 50 + C H 50 + C H 50 + C H 50 + C H 50 + C H 50 + C H 50 + C H 50 + C H 70 + C H 70 + C H 70 + C H 70 + C H 70 + C H 70 + C H 70 + C H 70 + C H 70 + C H 70 + C H 70 + C H 70 + C H 70 + C H 70 + C H 70 + C H 70 + C H 70 + C C H 70 + C C H 70 + C C H 70 + C C H 70 + C C H 70 + C C H 70 + C C H 70 + C C H 70 + C C H 70 + C C H 70 + C C H 70 + C C H 70 + C C H 70 + C C H 70 + C CH 70 + C C H 70 + C C H 70 + C C H 70 + C C H 70 + C C H 70 + C C H 70 + C C H 70 + C C H 70 + C C H 70 + C C H 70 + C C H 70 + C C H 70 + C C H 70 + C C H 80 + C C H 80 + C C H 80 + C C H 80 + C C H 80 + C C H 80 + C C H 80 + C C H 80 + C C H 80 + C C H 80 + C C H 80 + C C H 80 + C C H 80 + C C H 80 + C C H 80+ C C H 80 + C C H 80 + C C H 80 + C C H 80 + C C H 80 + C C H 80 + C C H 80 + C C H 80 + C C H 80 + C C H 80 + C C H 80 + C C H 80 + C C H 80 + C C H 80 + C H 80 + C H 80 + C H 80 + C H 80 + C H 80 + C H 80 + C H 80 + C H 80 + C H 80 + C H 80 + C H 80 + C H 80 + C H 80 + C H 80 + C H 80 + C H 80 + C H 10 + C H 80 + C H 80 + C H 80 + C H 80 + C H 80 + C H 80 + C H 80 + C H 80 + C H 80 + C H 80 + C H 80 + C H 80 + C H 80 + C H 80 + C H 80 + C H 80 + C C H 80 + C C H 80 + C C H 80 + C C H 80 + C C H 80 + C C H 80 + C C H 80 + C C H 80 + C C H 80 + C C H 80 + C C H 80 + C C H 80 + C C H 80 + C CH 80 + C C H 80 + C C H 80 + C C H 80 + C C H 80 + C C H 80 + C C H 80 + C C H 80 + C C H 80 + C C H 80 + C C H 80 + C C H 80 + C C H 80 + C C H 80 + C C H 70 + C C H 70 + C C H 70 + C C H 70 + C C H 70 + C C H 70 + C C H 70 + C C H 70 + C C H 70 + C C H 70 + C C H 70 + C C H 70 + C C H 70 + C C H 70+ C C H 70 + C C H 70 + C C H 70 + C C H 70 + C C H 70 + C C H 70 + C C H 70 + C C H 70 + C C H 70 + C C H 70 + C C H 70 + C C H 70 + C C H 70 + C C H 70 + C H 80 + C H 80 + C H 80 + C H 80 + C H 80 + C H 80 + C H 80 + C H 80 + C H 80 + C H 80 + C H 80 + C H 80 + C H 80 + C H 80 + C H 80 + C H 80 + CH 80 +C H 80 +C H 80 +C H 80 +C H 80 +C H 80 +C H 80 +C H 80 +C H 80 +C H 80 +C H 80 +C H 80 +C H 80 +C H 80 +C H 80 +C H 80 +C H 80 +C H 80+ C H 80 +C H 80 +C H 80 +C H 80 +C H 80 +C H 80 +C H 80 +C H 80 +C H 80 +C H 80 +C H 80 +C H 80 +C H 80 +C H 80 +C H 80 +C H 80 +C H 8O +C H 80 +C H 80 +C H 80 +C H 80 +C H 80 +C H 80 +C H 80 +C H 80 +C H 80 +C H 80 +C H 80 +C H 80 +C H 80 +C H 80 +C H 80 +C H 80 +C H80 +C H80 +C H80 +C H80 +C H80 +C H80 +C H80 +C H80 +C H80 +C H80 +C H80 +C H80 +C H80 +C H80 +C H80 +C H80 +C H80 +C H80 +C H80 +C H80 +C C H 80 +C C H 80 +C C H 80 +C C H 80 +C C H 80 +C C H 80 +C C H 80 +C C H 80 +C C H 80 +C C H 80 +C C H 80 +C C H 80 +C C H 80 +C C H 80 +C C H 8O +C C H 80 +C C H 80 +C C H 80 +C C H 80 +C C H 80 +C C H 80 +C C H 80 +C C H 80 +C C H 80 +C C H 80 +C C H 80 +C C H 80 +C C H 80 +C C H 80 + C C H 80 +C C H 80 +C C H 80 +C C H 80 +C C H 80 +C C H 80 +C C H 80 +C C H 80 +C C H 80 +C C H 80 +C C H 80 +C C H 80 +C C H 80 +C C H 80 +C CH 80 +C C H 80 +C C H 80 +C C H 80 +C C H 80 +C C H 80 +C C H 80 +C C H 80 +C C H 80 +C C H 80 +C C H 80 +C C H 80 +C C H 80 +C C H 80 +C C H 10 + C H 80 +C H80 +C H80 +C H80 +C H80 +C H80 +C H80 +C H80 +C H80 +C H80 +C H80 +C H80 +C H80 +C H80 +C H80 +C H80 +C H80 +C H80 +C H80 +C H80+ C H80+ C H80+ C H80+ C H80+ C H80+ C H80+ C H80+ C H80+ C H80+ C H80+ C H80+ C H80+ C H80+ C H80+ C H80+ C H80+ C H80+ C H80+ C H80+ C H80+C H80+ C H80+ C H80+ C H80+ C H80+ C H80+ C H80+ C H80+ C H80+ C H80+ C H80+ C H80+ C H80+ C H80+ C H80+ C H80+ C H80+ C H80+ C H80+ C H80 + C H80+ C H80+ C H80+ C H80+ C H80+ C H80+ C H80+ C H80+ C H80+ C H80+ C H80+ C H80+ C H80+ C H80+ C H80+ C H80+ C H80+ C H80+ C H80+ C H80 +C H80+ C H80+ C H80+ C H80+ C H80+ C H80+ C H80+ C H80+ C H80+ C H80+ C H80+ C H80+ C H80+ C H80+ C H80+ C H80+ C H80+ C H80+ C H80+C H80+C H80+ C H80+ C H80+ C H80+ C H80+ C H80+ C H80+ C H80+ C H80+ C H80+ C H80+ C H80+ C H80+ C H80+ C H80+ C H80+ C H80+ C H80+ C H80+C H80 +C H80+ C H80+ C H80+ C H80+ C H80+ C H80+ C H80+ C H80+ C H80+ C H80+ C H80+ C H80+ C H80+ C H80+ C H80+ C H80+ C H80+ C H80+ C H80 +C H80+C H80+ C H80+ C H80+ C H80+ C H80+ C H80+ C H80+ C H80+ C H80+ C H80+ C H80+ C H80+ C H80+ C H80+ C H80+ C H80+ C H80+ C H80+ C H80 +C H80 +C H80+ C H80+ C H80+ C H80+ C H80+ C H80+ C H80+ C H80+ C H80+ C H80+ C H80+ C H80+ C H80+ C H80+ C H80+ C H80+ C H80+ C H80+C H80+ C H80+C H80+ C H80+ C H80+ C H80+ C H80+ C H80+ C H80+ C H80+ C H80+ C H80+ C H80+ C H80+ C H80+ C H80+ C H80+ C H80+ C H80+ C H80+C H80+ C H80 +C H80+ C H80+ C H80+ C H80+ C H80+ C H80+ C H80+ C H80+ C H80+ C H80+ C H80+ C H80+ C H80+ C H80+ C H80+ C H80+ C H80+ C H80+C H80+C H80+C H80+ C H80+ C H80+ C H80+ C H80+ C H80+ C H80+ C H80+ C H80+ C H80+ C H80+ C H80+ C H80+ C H80+ C H80+ C H80+ C H80+ C H80+C H80+C H80 +C H80+ C H80+ C H80+ C H80+ C H80+ C H80+ C H80+ C H80+ C H80+ C H80+ C H80+ C H80+ C H80+ C H80+ C H80+ C H80+ C H80+ C H80+C H80 +C H80+C H80+ C H80+ C H80+ C H80+ C H80+ C H80+ C H80+ C H80+ C H80+ C H80+ C H80+ C H80+ C H80+ C H80+ C H80+ C H80+ C H80+ C H80+C H80 +C H80 +C H80+ C H80+ C H80+ C H80+ C H80+ C H80+ C H80+ C H80+ C H80+ C H80+ C H80+ C H80+ C H80+ C H80+ C H80+ C H80+ C H80+ C H80 +C H80+ C H80+C H80+ C H80+ C H80+ C H80+ C H80+ C H80+ C H80+ C H80+ C H80+ C H80+ C H80+ C H80+ C H80+ C H80+ C H80+ C H80+ C H80+ C H80 +C H80+ C H80 +C H80+ C H80+ C H80+ C H80+ C H80+ C H80+ C H80+ C H80+ C H80+ C H80+ C H80+ C H80+ C H80+ C H80+ C H80+ C H80+ C H80+ C H80 +C H80+C H80+C H80+ C H80+ C H80+ C H80+ C H80+ C H80+ C H80+ C | ||||||||
Q8:740.000—752.000 MHz
| CH | GROUP | |||
| 0 | 1 | 2 | 3 | |
| 1 | 740.125 | 740.125 | 740.125 | 740.125 |
| 2 | 741.500 | 741.950 | 741.225 | 740.800 |
| 3 | 743.375 | 743.500 | 742.925 | 741.825 |
| 4 | 744.600 | 745.675 | 745.425 | 743.075 |
| 5 | 746.325 | 747.400 | 746.875 | 745.125 |
| 6 | 748.500 | 748.625 | 748.925 | 746.575 |
| 7 | 750.050 | 750.500 | 750.175 | 749.075 |
| 8 | 751.875 | 751.875 | 751.200 | 750.775 |
| 9 | 751.875 | 751.875 | ||
| Full Range | Full Range | Full Range | Full Range | |
R14:794.000-806.000 MHz
| CH | 0 | CH | FREQ. | CH | FREQ. | CH | FREQ. |
| 1 | 795.150 | 1 | 794.375 | 1 | 794.100 | 1 | 794.900 |
| 2 | 798.100 | 2 | 797.425 | 2 | 795.300 | 2 | 796.100 |
| 3 | 802.200 | 3 | 803.025 | 3 | 798.550 | 3 | 799.350 |
| 4 | 805.350 | 4 | 804.475 | 4 | 802.150 | 4 | 802.950 |
| 5 | 803.350 | 5 | 804.150 | ||||
| 6 | 804.925 | 6 | 805.725 | ||||
| Full Range | Full Range | Full Range | Full Range | ||||
JB:806.000-810.000
| CH | 1 | 2 | 3 | 4 | 5 | 6 | ||||
| 1 | 806.250 | 806.375 | 806.125 | 806.500 | 806.125 | 806.250 | ||||
| 2 | 807.500 | 808.625 | 807.375 | 807.375 | 807.375 | 807.250 | ||||
| 3 | 809.625 | 809.750 | 809.500 | 808.625 | 808.375 | 808.500 | ||||
| 4 | -- | -- | -- | 809.625 | 809.750 | 809.375 | ||||
| Full range | Full range | Full range | Full range | Full range | ||||||
Notice Facile