PLHV36W7KC - Hotte aspirante FRIGIDAIRE - Notice d'utilisation et mode d'emploi gratuit
Retrouvez gratuitement la notice de l'appareil PLHV36W7KC FRIGIDAIRE au format PDF.
| Type d'appareil | Hotte aspirante |
| Mode d'installation | Murale ou sous meuble |
| Matériau | Acier inoxydable / Métal |
| Nombre de vitesses | 3 vitesses |
| Type de filtration | Filtres à graisse métalliques |
| Éclairage | Lampe(s) halogène ou LED |
| Débit d'air | Non précisé |
| Niveau sonore | Non précisé |
| Commande | Manuelle ou électronique |
| Dimensions (L x P x H) | Non précisé |
| Puissance électrique | Non précisé |
| Type d'évacuation | Évacuation extérieure ou recyclage |
| Accessoires inclus | Filtres, vis de montage |
| Garantie | Non précisé |
| Entretien | Nettoyage régulier des filtres |
FOIRE AUX QUESTIONS - PLHV36W7KC FRIGIDAIRE
Questions des utilisateurs sur PLHV36W7KC FRIGIDAIRE
0 question sur cet appareil. Repondez a celles que vous connaissez ou posez la votre.
Poser une nouvelle question sur cet appareil
Téléchargez la notice de votre Hotte aspirante au format PDF gratuitement ! Retrouvez votre notice PLHV36W7KC - FRIGIDAIRE et reprennez votre appareil électronique en main. Sur cette page sont publiés tous les documents nécessaires à l'utilisation de votre appareil PLHV36W7KC de la marque FRIGIDAIRE.
MODE D'EMPLOI PLHV36W7KC FRIGIDAIRE
La hotte de cuisine que vous avez acheté est couverte par la presente garantie
| PÉRIODE DE GARANTIE | SERVICES OFFERS À TRAVERS NOS CENTRES DE SERVICE APRès-VENTE AutorISÉS: | RESPONSABILITÉ DE L'ACHETEUR: | |
| GARANTIE TOTALE D'UNE ANNÉE | Une année à compter de la date d'achat initiale. | Couverture de tous les frais de réparation ou replacement des pieces de l'appareil qui se révèlent défectueuses au niveau des matériaux ou de l'usinage. | Paientement des frais pour les appel au service après-vente individuels dans le paragraphe "RESPONSABILITÉS NORMALES DE L'ACHETEUR". |
| GARANTIE LIMITÉE (applicable pour l'Alaska) | Périodes indiquées ci-dessus | Couverture des frais sur la base des clauses des garanties totales et limitées mentionnées ci-dessus et des exclusions de garantie indiquées ci-dessous. | Paientement des frais de déplacement et d'intervention du technicien au domicile de l'acheteur ainsi que les frais de retrait et de livraison de l'appareil pour le service après- vente. |
L'appareil acheté aux Etats-Unis est couvert par la garantie Electrolux Home Products North America, une division de White Consolidated Industries, Inc. Les sousignés n'autorisent aucune modification ou adjonction aux obligations assumées en vertu de la presente garantie. L'accompilissement des obligations assumees pour le service après-vente et la fourniture de pieces de rechange en vertu de la presente garantie est exclusivement du ressort des sousignés ou d'un centre de service après-vente autorisé par Electrolux Home Products North America. Au Canada, l'appareil acheté est couvert par la garantie WCI Canada, Inc.
*RESPONSABILITÉ DE L'ACHETEUR
La presente garantie concerne uniquement les produits destinés à un employe normal dans un contexte domestique et elle attribue à l'acheteur les responsabilités suivantes:
- Emploi correct de l'appareil, conformément aux instructions fournies avec le produit.
- Installation correcte effectuee par un centre de service après-vente autorise, conformement aux instructions fournies avec l'appareil et en plein respect des reglements locaux en matière d'installations electriques, hydrauliques et/ou du gaz.
- Connexion à une source d'alimentation avec mise à la terre ayant une tension appropriée, remplacement des fusibles grillés, réparation des connexions interrompues ou rectification des pannes de l'installation électrique domestique.
- Frais soutenus afin de garantir l'accès à l'appareil pour les interventions d'entretien ou de réparation, y compris le retrait de fournitures, meubles, armoires suspendues, etc. qui ne font pas partie de l'appareil au moment de la livraison de la part de l'usine de production.
- Dommages aux finitions à la suite de l'installation
- Remplacement des lampes et/ou tubes fluorescents (sur les modèleés équipés de ces éléments).
EXCLUSIONS
La presente garantie n'intervient pas dans les cas suivants:
- DOMMAGES DÉCLARÉS OU INDIRECTS, PARMI LESQUELS LES DOMMAGES À LA PROPRIÉTÉ, ET LES FRAIS INDIRECTS DÉRIVANT DE LA VIOLATION DE LA PRESENTE GARANTIE ÉCRITE OU DE TOUTE AUTRE GARANTIE IMPLICITE.
REMARQUE: Certainly Pays n'autorisent pas l'exclusion ou la limitation des dommages déclarés ou indirects par rapport à la garantie. Pour ce motif, ladite exclusion ou limitation peut ne pas concerner l'appareil que vous avez acheté. - Appels au service après-vente ne concernant pas le fonctionnement défectueux ou les défauts du matériel/ de l'usinage ou relatifs aux apparciels non destinés à l'emploi normal dans le contexte domestique. L'acheteur est tenu de régler le paiement pour lesdits appels au service après-vente.
- Dommages consécutifs aux prestations des techniciens d'un service après-vente non appartenant à Electrolux Home Products North America ou à ses centres autorisés; employe de pieces de rechange non originales obtenues dans des centres non appartenant à Electrolux Home Products; causes externes telles que: abus, employe impropre, installation d'alimentation non appropriée ou causes de force majeure.
- Produits dont les numérodesérie originaux ont ete retirés ou alterés et ne pouvant pas etre identifiés immeditatement.
SI L'ON DEMANDE ASSISTANCE
Conserver la facture d'achat, le bulletin de livraison ou tout autre reçu attesting le paiement. La date reportée sur la facture établit les termes de la validité de la garantie pour la demande d'assistance. Il est dans vos intérêts d'obtenir et conserver tous les reçus, dans l'éventualité où une intervention du service après-venture doit se révérer nécessaire. La présente garantie écrite vous confère des droits légaux spécifique. Des droits ultérieurs pourront vous être conférés sur la base de la législation en vigueur dans les différents Pays. pour la demande d'assistance en garantie, s'adresser à Electrolux Home Products:
La presente garantie est valable uniquement dans les 50 Pays qui constituent les Etats-Unis d'Amérique, au Porto Rico et au Canada. Les caractéristiques et les specifications techniques décrites ou illustrées pour les produits sont peuvent subir des variations, et cela sans préavis. Toutes les garanties offertes sont assurées par Electrolux Home Products North America, une division de White Consolidated Industries, Inc. In Canada, l'appareil bénéficiaie de la garantie de WCI Canada, Inc.
USA
800·944·9044
866 · 213 · 9397 (Anglais)
866\*294\*9911 (Francais)
Nettoyage de la Hotte

S'assurer que les lampes se soient refroidies avant d'effectuer le nettoyage de la hotte.
Nettoyage des filtrés
- Les filtres métalliques anti-graisse sont réalisés en aluminium anodisé et leur durée de vie est illimitée.
- Nous recommendons de nettoyer les filtres au moins une fois pas mois. Les filtres peuvent etre lavés à la main ou au lave-vaisseille.
- Évacuer l'eau à travers les trous sur le bord puis laisser secher totally les filtres avant de les remonter.
Retrait des filtres métalliques anti-graisse
- Éteindre le rotor de ventilation et les lampes.
- Pousser chaque poignée au milieu et vers le bas (Figure 8).
Remplacement des filtres métalliques anti-graisse
- Suivre la procédure à rebours.
Nettoyage de la surface de la hotte
- Pour le nettoyage général des hottes blanches ou noies, en acier inox ou en verre, passer sur la surface externe un chiffon imbibé d'eau savonneuse ou de détergent pouremploi domestique (type Fantastic®, Formula 409®, etc.), puis rincer avec soin et secher avec un chiffonouple et sec afin d'éliminer toute trace.
- Nettoyer puis sécher l'acier inox usiné, en suivant le sens de l'usinage.
- Ne pas utiliser des produits abrasifs.
- Pour éliminer les traces d'empreintes et intensifier l'éclat des surfaces, utiliser des sprays détergents, par exemple: Stainless Steel Magic et Shimmer.
Remplacement des lampes Figure 9
REMARQUE: Éteindre le rotor et les lampes. S'assurer que les lampes soient froides. Si les lampes neuves ne fonctionnent pas, vérifier qu'elles soient insérées correctement avant de contacter le Service après-vente.

- Dévisser le plafonnier.
- Retirer la lampe endommagée et replacer cette dernière par une lampe halogène 12 Volts, 20 Watt (max.) neuve, pour un socle G-4. Suisse les instructions reportées sur l'emballage. Ne pas toucher la lampe neuve des mains{nues.
- Remonter le plafonnier.
Emploi er Entretien
LIRE ATTENTIVEMENT LES INSTRUCTIONS AVANT D'UTILISER LA HOTTE. Afin de pouvoir utiliser la hotte de façon satisfaisante il faut se familiariser avec toutes ses fonctions:

Figure 7
DEL de saturation du filtrre anti-graisse
La DEL de puissance d'aspiration 2 est marquee par la lecture F. La DEL clignote lorsqu'il est nécessaire de nettoyer le filtré anti-graisse (après 40 heures d'emploi). Pour le nettoyage des filtrés, suivre les instructions fournies dans leprésent manuel. ÀpRES avoir nettoyé les filtrés anti-graisse, effectuer une remise à l'état initial du dispositif de signalisation en maintainant appuyé le pouvoir d'extinction moteur (OFF) pendant 3 secondes environ, jusqu'à ce que le signal (bip) soit activé.
Instructions relatives au fonctionnement
Nous conseillons d'allumer le rotor de ventilation environ 5 minutes avant de commencer la cuisson, afin d'activer le tirage des courants d'air à travers la hotte.
Définir une vitesse réduite pour les conditions d'emploi normales et une vitesse plus élevée en cas de fumée ou odeurs intenses.
Réduire au maximum les courants de tirage transversaux susceptibles de réduire l'efficacité de la hotte.
Installation
Branchement au réseau d'alimentation électrique

AVERTISSEMENTS! INSTRUCTIONS POUR LE BRANCHEMENT ÉLECTRIQUE DE TERRE
LE PRESENT APPAREIL EST ÉQUIPÉ D'UNE BOITE DE ConnEXION ELECTRIQUE ÉQUIPée DE 3 FILS, DON'T UN (VERT/JAUNE) EST DESTINÉ À LA CONNXION DE TERRE DE L'APPAREIL. POUR LA PROTECTION CONTRE LE RISQUE DE CHOCS ÉLECTRIQUES, LE FIL VERT ET JAUNE DOIT ÉTRE CONNECTÉ AU FIL DE TERRE DE L'INSTALLATION ÉLECTRIQUE DOMESTIQUE ET IL NE DOIT PAS - POUR QUELQUE RAISON QUE CE SOIT - ÉTRE COUPE OU ENLEVÉ.
Avertissement: Avant de préparer les connexions électriques, interrompre le circuit d'alimentation du panneau de commande. Alimentation requise: 120 V C.A., 15 ou 20 Amp.
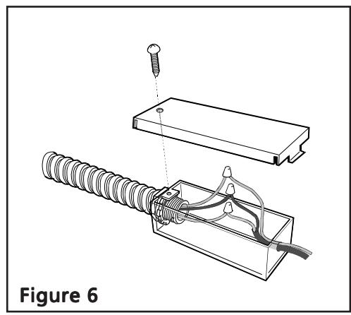
- Retirer la partie prédécouée et installer le connecteur de la conduite (1/2") dans la boîte de connexion.
- Installer les 3 fils noir, blanc et vert (#16AWG) dans la conduite de 1/2 " entre le panneau de commandes et la boîte de connexion.
- Connecter le fil noir du panneau de commandes au fil noir ou rouge de la boîte de connexion, le fil blanc au fil blanc et le fil vert au fil vert/jaune (Figure 6).
- Fermer le couvercle de la boîte de connexion. Contrôler toutes les lampes pour vérifier qu'elles soient correctement fixées aux douilles correspondantes. Activer l'alimentation du panneau de commandes. Contrôler les lampes et le fonctionnement du rotor de ventilation, en suivant les instructions fournies dans la section Emploi et Entretien duprésent manuel. Installer les filtres.
Montage final
- Installer la couverture de la conduite, comme décrit dans la Figure 3. Ne pas oublier de laisser le présente manuel à disposition du propriétaire.
- Ne pas oublier de laisser le present manuel à disposition du propriétaire.
Installation alternative avec hauteur réduite par rapport au plafond:
Il est également possible d'installer la hotte uniquement avec la partie inférieure de la couverture de la conduite, de façon à réduire la hauteur totale de l'installation. Pour faire en sorte que la couverture de la conduite descendé pour s'insérer sur la partie la plus haute de la hotte, il faut monter la bride à une distance de 1/4 par rapport au plafond.
L'espace obtenu sur la partie la plus haute de la cheminée peut être remplie avec un élément en contre-plaqué ayant une épaisseur de 1/4'' , qui sera coupé en fonction de la section interne de la couverture de la cheminée avec finition parfaitement alignée avec le plafond.
Copier sur la couverture inférieure les deux troughs de montage reportés sur les cots de la couverture supérieure.
Évacuation arrière:
Il est possible d'installer un coude à 90^ immédiatement au-dessus de la hotte. Afin de garantir l'efficacité du fonctionnement, nous conseillons d'effectuer un montage analogue pour l'évacuation verticale illustrée dans la Figure 4.
Installation

Installation de l'appareil:
- Si le raccord a eté retire pour effectuer le transport, il faudra ensuite l'inşaller sur la partie la plus haute de la hotte (Figure 4).
- Suspendre la hotte aux 2 crochets de montage, en utilisant les ouvertures rectangulaires qui se trouvent sur la partie arrrière de la hotte (Figure 5).
- Stabiliser l'appareil en appliquant un niveau sur le fond de la hotte et en introduisant les vis de niveau spécifique prévues dans les crochets de montage ou dans les ouvertures rectangulaires.
- Fixer la hotte en appliquant 2 vis sur la partie la plus haute et 2 vis sur le fond (Figure 5).
- Connecter les canalisations (Figure 4).
Remarque: afin de garantir un fonctionnement correct du rotor de ventilation, il faut laisser un espace minimum de 1" entre la partie la plus haute du raccord et la conduite en tôle métallique puis recouvrir l'espace avec un collier de connexion qu'il faudra insérer sur la conduite et le raccord. Positionner les vis du collier de façon à ce qu'elles s'insèrent aux coins de la couverture de la conduite. Fixer le collier contre la conduite et le raccord, au moyen de trois vis à métal pour chaque piece et, pour terminer, sceller avec du ruban spécial pour tuyaux.
Ne pas utiliser un tuyau plus petit du raccord.

Installation
Outils requis pour l'installation
Tournevis
(vis à tête plate, pozidrive n°2 et torx 10)
Clé pour vis Allen 4mm.
Perceuse electrique avec meche helicoidale de 0 10 mm

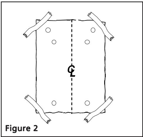
Figure 2
Préparation de la surface de montage (placoplatre)
- Choisir une hauteur pour le montage pratique pour l'utiliser et marquer cette dernière sur la paroi, derrière le plan de ciisson.
- Marquer l'axe du plan de cuisson et tracer une ligne verticale allant du fond de la hotte jusqu'àu plafond.
- Fixer le gabarit de perçage avec du ruban adhésif, en faisant correspondre l'axe du plan de cuisson avec le fond de la hotte, comme illustré dans la Figure 2.
- À travers le gabarit de perçage, marquer au milieu les 6 positions de fixation contre la paroi, puis retirer le gabarit.
- Marquer une ligne horizontale sur la paroi, à une distance de 1'' au-dessus de la position de fixation la plus élevée et à 1'' au-dessous de la position de fixation la plus basse.
- Localiser les couples du chassin derrière le placoplatre en tapotant légèrement la paroi ou en utilisant un «chercheur de chassin» spécial. Marquer au milieu tous les couples du chassin, enTRAçant une ligne verticale à droite et à gauche de la position de fixation marquee.
Remarque: Deux des six positions marquées doivent recouvrir au moins 2 couples du châssis, d'un côté à l'autre.
- Percer le placopâtre le long des lignes marquées. Installer 2 des 6 positions marquées entre les couples du châssis en les maintainant parfaitement alignées avec le côté avant du couple. Veiller à ce que toutes les vis de montage soient ancrees au bois dans lequel elles ont été introduites. Reconstruire le placopâtre puis effectuer le finissage.
- Marquer l'axe du plan et le fond de la hotte en correspondance du même point précédement marqué puis fixer le gabarit de perçage contre la paroi avec du ruban adhésif, comme décrit au point 3.
- Fixer 2 crochets de montage avec des vis à bois (pièces fournies avec les outils de montage) en correspondance des points marqués sur le gabarit, puisPTRirer le gabarit de la paroi.
- En utilisant les dispositifs d'ancrage fournis, installer la bride de support pour la couverture de la conduite contre la paroi, en la maintainant parfaitement alignée avec la bride (voir Figure 3).

Installation
UNIQUEMENT POUR EMPLOI RÉSIDENTIEL.
NE PAS INSTALLER SUR LES GRILLES AVEC CHAUFFAGE AU GAZ.
AVANT D'UTILISER L'APPAREIL, LIRE ATTENTIVEMENT LES PRESENTES INSTRUCTIONS.
L'INSTALLATION DOIT ETRE EFFECTUEE CONFORMMÉNANT AUX REGLEMENTS LOCAUX.
IMPORTANT: Conserver les générées instructions pour l'emploi destinées à l'Inspecteur de la société électrique.
INSTALLATEUR: Conserver avec l'appareil les Presents instructions pour l'emploi destinées au propretaire.
PROPRIÉTAIRE: Conserver les générées instructions pour toute éventuelle consultation à l'avenir.
Avertissements concernant la sécurité: Avant d'effectuer le branchement de l'appareil, couper le circuit d'alimentation et bloquer le panneau de commandes.
Alimentation requise: 120V C.A., 60Hz . 15 ou 20A
Dimensions

Figure 1*
Remarque: Toutes les dimensions sont exprimées en pouces.
- Les dimensions sont calculées en partirant de la base de la hotte jusqu'àu plafond et elles comprend l'espace libre requis pour l'installation.
Dimensions
| A (Intervalle de réglage hauteur)* | 34 1/2-54 |
| B (Hauteur minimum avec une seule couverture)* | 27 |
| W (largeur) x D (profondeur) | 11 3/4 x 11 3/4 |
| AA (Hauteur réglable couverture) | 29 5/16 x 50 1/4 |
| BB (Hauteur minimum couverture) | 21 13/16 |
Poids: 88 pounds
Diamètre de raccordement: 8"
Diamètre requis pour la conduite d'évacuation: 8"
Avant d'effectuer l'installation de la hotte
- Afin d'obtenir une efficacité maximum d'évacuation de l'air, utiliser une conduite linéaire ou réduire au maximum le nombre des coudes prênts.
ATTENTION: Évacuer l'air de l'unité exclusivement à l'extérieur de l'édifice. - Utiliser des canalisations flexibles en métal, si autorisées dans votre région, uniquement pour connecter la conduite rigide directement aux dispositifs de raccordement.
- Les équipements installés dans des régions au CLIMAT FROID doivent avoir un clapet de retenue des fumées pour réduire au maximum l'écoulement de l'air froid de retard, autre à une protection thermique non métallique pour minimiser l'influence de la température externe à travers le réseau des canalisations. Il est opportun dinstaller le clapet sur le côte de l'air froid de la protection thermique et de placer la protection le plus près possible du point d'entrée des canalisations dans la partie réchauffée de l'édifice.
- La hauteur pour l'installation de la hotte sur le plan de la cuisine doit être établie en fonction des exigences de l'utilisateur. Plus la hotte sera placée en bas, par rapport à la cuisine, plus l'aspiration des vapeurs et des odeurs de cuisson, de laGRASE et de la fumée sera efficace. Nous recommendons d'installer la hotte à une hauteur de 30-36" par rapport au plan de cuisson. Une installation à une hauteur inférieure pourrait se révêler inconfortable pour les personnes très grandes et peu pratique lors de l'emploi de recipients particulièrement amples. Avant de désirir la hotte, vérifier la hauteur du plafond et la hauteur maximum utilisable par rapport à la hotte.
AVERTISSEMENT - POUR RÉDUIRE LES RISQUES D'INCENDIES, CHOCS ÉLECTRIQUES OU ACCIDENTS, SUIVRE LES INDICATIONS SUIVANTES:
a) Confier l'installation et l'adaptation des connexions electriques à un personnel qualifié qui opère conformément aux normes et aux dispositions établies, y compris aux normes de construction antiincendie.
b) Dans les installations alimentées avec du combustible, il faut qu'il y ait une quantité d'air suffisante, afin de garantir une combustion appropriée et une correcte évacuation des gaz à travers le carneau montant (cheminée), de façon à éviter le retour des fumées. Suivre les directives fournies par le constructeur de l'appareil de chauffage ainsi que les normes de sécurité émises par des associations telles que la «National Fire Protection Association (NFPA), la «American Society for Heating», la «Refrigeration and Air Conditioning Engineers (ASHRAE) et les autorités locales compétentes.
c) Lors du percement de parois ou de plafonds, effectuer les opérations nécessaires avec précaution, afin de ne pas endommager les connexions électriques et les autres branchements des services généraux non visibles.
d) Les rotors de ventilation carénés doivent toujours être équipés d'un système d'évacuation à l'extérieur.
AVERTISSEMENT - POUR RÉDUIRE LES RISQUES D'INCENDIES, UTILISER UNIQUÉMENT DES CONDUITES METALLIQUES.

Avertissement
Risque de chic électrique. Peut occasioner des blessures sérieues ou la mort. Débranchez l'appareil de la source d'alimentation avant de procéder au service d'entretien. Si l'appareil est muni d'une lampe fluorescente, celle-ci contient des petites quantités de mercure qui doivent être recyclées ou mises aux rebuts conformément aux réglements municipaux ainsi qu'aux lois provinciales et féderales.
Informations importantes relatives à la sécurité
LIRE ET CONSERVER LES PRESENTES INSTRUCTIONS
Faire extrémement attention lors de l'emploi de substances nettoyantes ou détergentes.
Aptitude à l'emploi dans l'environnement domestique/cuisine
ATTENTION - Afin de réduire le risque d'incendies et de garantir une évacuation de l'air appropriée il faut prévoir une conduite pour l'évacuation de l'air à l'extérieur. Ne pas évacuer l'air dans des espaces délimités par des parois/plafonds, attiques, passages ou garages.
ATTENTION - Uniquement pour la ventilation générale. Ne pas utiliser l'appareil pour l'évacuation de matériaux et vapeurs dangereux ou explosifs.
AVERTISSEMENT - AFIN DE RÉDUIRE LE RISQUE D'INCENDIES, CHOCS ÉLECTRIQUES OU ACCIDENTS, RESPECTER LES PRESCRIPATIONS SUIVANTES:
a. Utiliser l'appareil sur la base des instructions fournies par le constructeur. En cas de doutes ou pour toute explication ultérieure, s'adresser à la société constructrice.
b. Avant d'effectuer le nettoyage ou l'entretien, couper l'alimentation du panneau de commandes puis bloquer le dispositif de déconnexion du courant électrique afin d'éviter tout risque d'actionnement involontaire. S'il devait se révêler impossible de bloquer le dispositif de déconnexion, appliquer un signal d'advertissement approprié (par exemple: un panneau), bien visible et en position stable, sur le panneau de commandes.
AVERTISSEMENT - POUR RÉDUIRE LES RISQUES D'INCENDIES PROVOQUÉS PAR LE RENVERSEMENT DE GRAISSE SUR LE PLAN DE LA CUISINE:
a. Ne jamais laisser sans surveillance les apparciels de cuisson régés au maximum. La cuisson à puissance elevée est susceptible de générer des fumées et de provoquer le renversement de graisse pouvant s'enflammer. Réchauffer lentement et à faible puissance l'huile ou la graisse.
b. Allumer toujours la hotte (position ON) pendant le rechauffement à température élevée ou la cuisson à la flamme.
c. Nettoyer fréquèment les rotors de ventilation. Ne pas laisser que laGRAISE s'accumule sur le rotor de ventilation ou sur le filtre.
d. Utiliser des poêles ou casseroles de dimensions appropriées. Choiser toujours des outils de cuisine appropriés en fonction des dimensions du plan.
AVERTISSEMENT - POUR RÉDUIRE LES RISQUÉS D'ACCIDENTS SUITE AUX INCENDIES PROVOQUÉS PAR LE RENVERSEMENT DE GRAISSE SUR LE PLAN DE LA CUISINE, SUIVRE LES INSTRUCTIONS SUIVANTES:
a. Essayer d'ÉTOUFFER LES FLAMMES au moyen d'un couvercle de petites dimensions, un plateau métallique ou une feuille de papier d'aluminium, puis éteindre le brûleur. EFFECTUER LES OPÉRATIONS NÉCESSAIRES AVEC PRECAUTIONS, AFIN D'ÉVITER TOUT RISQUE DE BRûLURES. Si les flammes ne s'éteignent pas immédiatement, ÉVACUER LES LOCAUX PUIS CONTACTER LES SAPEURS-POMPIERS.
b. NE JAMAIS SOULEVER UNE CASSEROLE EN FLAMMES: il y a le risque de se brûler.
c. NE PAS UTILISER DE L'EAU, des torchons ou serviettes mouillés: il existe le risque qu'une violente Explosion de vapeur se produit.
d. Utiliser un extincteur UNIQUEMENT à condition que:
- L'on soit sûrs de pouvoir dispose d'un extincteur de Classe ABC, et l'on soit déjà en mesure de l'utiliser.
- L'incendie soit réduit et limite à la zone dans laquelle il s'est développé.
- L'on ait déjà contacté les sapeurs-pompiers.
- L'on puisse utiliser l'extincteur en ayant les épaules tournées vers la sortie.
Enregistrement de l'ordinateil
Enregisterl'appareil
La CARTE D'ENREGISTREMENT préalablement adressée doit être replie en entier, signée et returnée à Frigidaire Canada.

Leprésentguide del'utilisateur décrit le mode d'emploi général de cette hotte ainsi que les caractéristiques de plusieurs autres modèles. Certaines des caractéristiques décrites peuvent donc ne pas s'appliquer à votre hotte.
Remarque: Les directives quifigurent dans ce guide de l'utilisateur ne sauraient couvrir toutes les circostances et les situations possibles. Il faut donc faire preuve dejugement et de prudencependant I'st installation, l'utilisation et I'entretien de tout appeareil electroménager.
Merci d'avoir besoin ici appareil. Les renseignements contenus dans ce guide de l'utilisateur expliquent comment utiliser et entretenir la hotte. Lire les documents qui accompagnent l'appareil pour en savoir davantage sur cette hotte.
Noter le numéro de modulo et le número de série
Noter ci-dessous le numéro de modèle et le numéro de série inscrits sur la plaque signalétique située sur le côte droit du cadre avant, dans le tiroir de rangement.
Nombre de modèle:
Nombre de série:
Date d'achat:
GUIDE DE L'UTILISATEUR
PLHV36W7KC
LISEZ ET CONSERVEZ CES INSTRUCTIONS
Table des matières
Enregistrement de l'appareil 2
Informations importantes relatives à la sécurité 3
Installation 5-8
Emploi et entretien 9
Nettoyage de la hotte 9
Remplacement des lampes 10
Garantie 12
Notice Facile