GLHV36T5KC - Hotte aspirante FRIGIDAIRE - Notice d'utilisation et mode d'emploi gratuit
Retrouvez gratuitement la notice de l'appareil GLHV36T5KC FRIGIDAIRE au format PDF.
| Type d'appareil | Hotte aspirante |
| Modèles concernés | Plusieurs modèles similaires |
| Instructions incluses | Enregistrement, sécurité, installation, utilisation, entretien, nettoyage, remplacement des lumières, garantie |
| Installation | Non précisé |
| Entretien | Nettoyage de la hotte et remplacement des lumières |
| Garantie | Incluse |
| Nombre de vitesses | Non précisé |
| Type de filtre | Non précisé |
| Puissance d'aspiration | Non précisé |
| Type d'éclairage | Non précisé |
| Dimensions | Non précisé |
| Matériau | Non précisé |
| Niveau sonore | Non précisé |
| Type de commande | Non précisé |
| Alimentation | Non précisé |
| Couleur | Non précisé |
FOIRE AUX QUESTIONS - GLHV36T5KC FRIGIDAIRE
Questions des utilisateurs sur GLHV36T5KC FRIGIDAIRE
0 question sur cet appareil. Repondez a celles que vous connaissez ou posez la votre.
Poser une nouvelle question sur cet appareil
Téléchargez la notice de votre Hotte aspirante au format PDF gratuitement ! Retrouvez votre notice GLHV36T5KC - FRIGIDAIRE et reprennez votre appareil électronique en main. Sur cette page sont publiés tous les documents nécessaires à l'utilisation de votre appareil GLHV36T5KC de la marque FRIGIDAIRE.
MODE D'EMPLOI GLHV36T5KC FRIGIDAIRE
La hotte de cuisine que vous avez acheté est couverte par la presente garantie
| PÉRIODE DE GARANTIE | SERVICES OFFERS À TRAVERS NOS CENTRES DE SERVICE APRès-VENTE AutorISÉS: | RESPONSABILITÉ DE L'ACHETEUR: | |
| GARANTIE TOTALE D'UNE ANNÉE | Une année à compter de la date d'achat initiale. | Couverture de tous les frais de réparation ou replacement des pieces de l'appareil qui se révèlent défectueuses au niveau des matériaux ou de l'usinage. | Paient des frais pour les appeals au service après-vente indiqués dans le paragraphe "RESPONSABILITÉS NORMALES DE L'ACHETEUR". |
| GARANTIE LIMITÉE (applicable pour l'Alaska) | Périodes individues ci-dessus | Couverture des frais sur la base des clauses des garanties totales et limitées mentionnées ci-dessus et des exclusions de garantie indiquées ci-dessous. | Paient des frais de déplacement et d'intervention du technicien au domicile de l'acheteur ainsi que les frais de retrait et de livraison de l'appareil pour le service après- vente. |
L'appareil acheté aux Etats-Unis est couvert par la garantie Electrolux Home Products North America, une division de White Consolidated Industries, Inc. Les sousignés n'autorisent aucune modification ou adjonction aux obligations assumées en vertu de la presente garantie. L'accompilissement des obligations assumees pour le service après-vente et la fourniture de pieces de rechange en vertu de la presente garantie est exclusivement du ressort des soussignés ou d'un centre de service après-vente autorisé par Electrolux Home Products North America. Au Canada, l'appareil acheté est couvert par la garantie WCI Canada, Inc.
*RESPONSABILITÉ DE L'ACHETEUR
La presente garantie concerne uniquement les produits destinés à un employe normal dans un contexte domestique et elle attribue à l'acheteur les responsabilités suivantes:
- Emploi correct de l'appareil, conformément aux instructions fournies avec le produit.
- Installation correcte effectuee par un centre de service après-vente autorise, conformement aux instructions fournies avec l'appareil et en plein respect des reglements locaux en matière d'installations electriques, hydrauliques et/ou du gaz.
- Connexion à une source d'alimentation avec mise à la terre ayant une tension appropriée, remplacement des fusibles grillés, réparation des connexions interrompues ou rectification des pannes de l'installation électrique domestique.
- Frais soutenus afin de garantir l'accès à l'appareil pour les interventions d'entretien ou de réparation, y compris le retrait de fournitures, meubles, armoires suspendues, etc. qui ne font pas partie de l'appareil au moment de la livraison de la part de l'usine de production.
- Dommages aux finitions à la suite de l'installation
- Remplacement des lampes et/ou tubes fluorescents (sur les modèleés équipés de ces éléments).
EXCLUSIONS
La presente garantie n'intervient pas dans les cas suivants:
- DOMMAGES DÉCLARÉS OU INDIRECTS, PARMI LESQUELS LES DOMMAGES À LA PROPRIÉTÉ, ET LES FRAIS INDIRECTS DÉRIVANT DE LA VIOLATION DE LA PRÉSENTE GARANTIE ÉCRITE OU DE TOUTE AUTRE GARANTIE IMPLICITE.
REMARQUE: Certains Pays n'autorisent pas l'exclusion ou la limitation des dommages déclarés ou indirects par rapport à la garantie. Pour ce motif, ladite exclusion ou limitation peut ne pas concerner l'appareil que vous avez acheté. - Appels au service après-venture ne concernant pas le fonctionnement défectueux ou les défauts du matériel/ de l'usinage ou relatifs aux appareils non destinés à l'emploi normal dans le contexte domestique. L'acheteur est tenu de régler le paiement pour lesdits appels au service après-venture.
- Dommages consécutifs aux prestations des techniciens d'un service après-vente non appartenant à Electrolux Home Products North America ou à ses centres autorisés; employe de pieces de rechange non originales obtenues dans des centres non appartenant à Electrolux Home Products; causes externes telles que: abus, employe impropre, installation d'alimentation non appropriée ou causes de force majeure.
- Produits dont les numéroes de série originaux ont ete retirés ou alterés et ne pouvant pas etre identifiés immediatement.
SI L'ON DEMANDE ASSISTANCE
Conserver la facture d'achat, le bulletin de livreon ou tout autre reçu attesting le paiement. La date reportée sur la facture établit les termes de la validité de la garantie pour la demande d'assistance. Il est dans vos intérêts d'obtenir et conserver tous les reçus, dans l'éventualité où une intervention du service après-vente devait se révérer nécessaire. La présente garantie écrite vous confère des droits légaux spécifique. Des droits ultérieurs pourront vous être conférés sur la base de la législation en vigueur dans les différents Pays. pour la demande d'assistance en garantie, s'adresser à Electrolux Home Products:
La presente garantie est valable uniquement dans les 50 Pays qui constituent les Etats-Unis d'Amérique, au Porto Rico et au Canada. Les caractéristiques et les specifications techniques décrites ou illustrées pour les produits sont peuvent subir des variations, et cela sans préavis. Toutes les garanties offertes sont assurées par Electrolux Home Products North America, une division de White Consolidated Industries, Inc. In Canada, l'appareil bénéficiaie de la garantie de WCI Canada, Inc.
USA 800-944-9044
Nettoyage de la Hotte


Remplacement des lampes

S'assurer que les lampes se soient refroidies avant d'effectuer le nettoyage de la hotte.
Nettoyage des filtrés
- Les filtrés métalliques anti-graisse sont réalisés en aluminium anodisé et leur durée de vie est illimitée.
- Nous recommendons de nettoyer les filtrres au moins une fois pas mois. Les filtrres peuvent etre lavés à la main ou au lave-vaisse.
- Évacuer l'eau à travers les trous sur le bord puis laisser secher totalement les filtres avant de les remonter.
Retrait des filtres métalliques anti-graisse
- Éteindre le rotor de ventilation et les lampes.
- Pousser simultanément au milieu et vers le haut les deux poignées S, puis sorting les filtres (Figure 10).
Remplacement des filtres métalliques anti-graisse
- Suivre la procédure à rebours.
Remplacement du filtré à charbon
- Le filtrtre à charbon doit être remplace une fois par année en conditions d'emploi normales.
- Appuyer sur les deux/dispositifs de blocage D et sorting le filtré de son logement.
Nettoyage de la surface de la hotte
- Pour le nettoyage général des hottes blanches ou noies, en acier inox ou en verre, passer sur la surface externe un chiffon imbibé d'eau savonneuse ou de détermagent pouremploi domestique (type Fantastic®, Formula 409®, etc.), puis rincer avec soin et secher avec un chiffonouple et sec afin d'éliminer toute trace.
- Nettoyer puis sécher l'acier inox usiné, en suivant le sens de l'usinage.
- Ne pas utiliser des produits abrasifs.
- Pour éliminer les traces d'empreintes et intensifier l'éclat des surfaces, utiliser des sprays détergents, par exemple: Stainless Steel Magic et Shimmer®.
REMARQUE: Éteindre le rotor et les lampes. S'assurer que les lampes soient froides. Si les lampes neuves ne fonctionnent pas, vérifier qu'elles soient insérées correctement avant de contacter le Service après-vente.
- Retirer le plafonnier Q , en appuyant simultanément sur les deux poussoirs de déblocage R (Figure 12). Pour des raisons de sécurité, il est opportun dekowski le plafonnier à travers les guides de suspension G.
- Extraire le tube fluorescent et remplacer ce dernier par un tube Philips PL-S 9 Watt (max).
- Remonter le plafonnier.
Emploi er Entretien
LIRE ATTENTIVEMENT LES INSTRUCTIONS AVANT D'UTILISER LA HOTTE. Afin de pouvoir utiliser la hotte de façon satisfaisante il faut se familiariser avec toutes ses fonctions:

Figure 9
Instructions relatives au fonctionnement
Nous conseillons d'allumer le rotor de ventilation environ 5 minutes avant de commencer la cuisson, afin d'activer le tirage des courants d'air à travers la hotte.
Définir une vitesse réduite pour les conditions d'emploi normales et une vitesse plus élevé en cas de fumée ou odeurs intenses.
Réduire au maximum les courants de tirage transversaux susceptibles de réduire l'efficacité de la hotte.
Installation

Figure 5

Figure 6

Figure 7

Fixation de la hotte sur l'armoire murale de la cuisine
Positionner le gabarit de perçage fourni avec la hotte sur le côté interne droit de l'armoire murale, en veillant à ce que le côté "A" coïncide avec la partie arrrière.
Effectuer au moins deux trous ayant un diamètre de 2 mm. en correspondance des points 1 et 2 (Figure 5).
Effectuer les mêmes opérations sur le côté interne gauche.
En utilisant les vis F (4,5x16), fixer la hotter sur l'armoire murale (Figure 6).
Attention! Pendant la phase de montage de la hotte sur l'armoire murale de la cuisine, après avoir fixé correctement la hotte, il est opportun de vérifier qu'il soit possible d'acceder aisément et en toute sécurité au logement des connexions electriques pour faire les contrôleires nécessaires et/ou les interventions d'entretien.
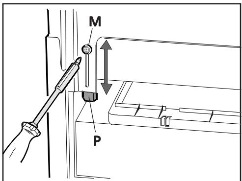
Adaptation du tiroir extractible
Il est possible d'insérer la hotte dans des armoires murales ayant une profondeur différente: dans ce cas, la partie avant du tiroir extractible devra être parfaitement alignée avec l'armoire murale.
Afin d'obtenir un alignement correct, régler les dispositifs d'arrêt qui se trouvent à l'arrière du tiroir extractible.
Pour régler le tiroir extractible, desserrer les vis M et insérer éventuellesment les équcherres P, puis serrer les vis M (Figure 7).
S'assurer que, en poussant à fond le tiroir extractible, l'alimentation soit totalement coupée par le biais de l'actionnement du microinterrupteur arrêté.
Branchement au réseau d'alimentation électrique
AVERTISSEMENTS! INSTRUCTIONS POUR LE BRANCHEMENT ÉLECTRIQUE DE TERRE
LE PRESENT APPAREIL EST ÉQUIPÉ D'UNE BOîTE DE ConnEXION ÉLECTRIQUE ÉQUIPÉE DE 3 FILS, DON'T UN (VERT/JAUNE) EST DESTINÉ À LA ConnEXION DE TERRE DE L'APPAREIL.
POUR LA PROTECTION CONTRE LE RISQUE DE CHOCS ÉLECTRIQUES, LE FIL VERT ET JAUNE DOIT ÉTRE CONNECTÉ AU FIL DE TERRE DE L'INSTALLATION ÉLECTRIQUE DOMESTIQUE ET IL NE DOIT PAS - POUR QUELQUE RAISON QUE CE SOIT - ÉTRE COUPE OU ENLEVÉ.
Avertissement: Avant de préparer les connexions électriques, interrompree le circuit d'alimentation du panneau de commande. Alimentation requise: 120 V C.A., 15 ou 20 Amp.
a. Retirer le couvercle du tiroir extractible, comme illustré dans la Figure 8.
b. Retirer la partie prédécouée et installer le serre-câble du tube de 1/2 dans la boîte des connexions électriques.
c. Insérer les 3 fils noir, blanc et vert (#16 AWG) dans le tube de 1/2 " entre le panneau de commandes et la boîte des connexions électriques.
d. Connecter le fil noir du panneau de commandes avec le fil noir ou rouge de la boîte des connexions électriques, le fil blanc avec le fil blanc et le fil vert avec le fil vert/jaune (Figure 8).
e. Fermer le couvercle de la boîte des connexions électriques, contrôle toutes les lampes afin de vérifier qu'elles soient correctement fixées aux douilles correspondantes, puis brancher au réseau d'alimentation à travers le panneau de commandes. Contrôler les lampes et le fonctionnement du rotor de ventilation en fonction des instructions reportées dans la section Emploi et Entretien du présent manuel, puis effectuer l'installation des filtres.
f. S'assurer que leprésent manuel reste à la disposition du propriétaire.
Installation
Outils requis pour l'installation Tournevis (pozidrive n°2 et torx 10)
Perceuse electrique
avec mèche hélicoïdale Ø 2 mm.
et Ø 6 mm.



Considerations préliminaires à l'installation
Il est possible d'installer la hotte pour les modalités d'emploi suivantes:
- Hotte avec évacuation à l'extérieur
- Hotte filtrante avec recyclage (avec filtrre à charbon, disponible sur demande à adresser au fournisseur)
Hotte à évacuation à l'extérieur
L'air est expulsé vers l'extérieur au moyen d'un tuyau qu'il faut connecter au collier de connexion B (Figure 2).
Dans les conduites horizontales, la conduite doit être légèrement inclinée (d'environ 10^ ) et orientée vers le haut, afin de facilititer l'évacuation de l'air depuis la pierce vers l'extérieur.
Sur demande, il est possible d'obtenir un clapet de retenue des fumées qu'il faut monter sur le collier de connexion.
Hotte filtrante avec recyclage
L'air est filtré à travers un filtré à charbon, avant d'être réintroduit dans la piece.
Si la hotte n'est pas équipée de filtré, demander ce dernier au service après-venture ou à la société constructrice, en spécifique exactement le modele de la hotte.
Pour installer le filtrtre, placer celui-ci dans son logement puis fixer au moyen des deux vis D (Figure 4).
L'air filtré est évacué au-dessus de l'armoire murale de la cuisine à travers le déflecteur E qui doit être fixé au moyen de deux vis placées directement sur la verticale du trou de sortie de la hotte (si nécessaire, installer une conduite Ø 120 mm. entre la bride de connexion et la marge supérieure du trou sur la partie la plus haute de l'armoire murale (Figure 3).
Installation
UNIQUEMENT POUR EMPLOI RÉSIDENTIEL.
NE PAS INSTALLER SUR LES GRILLES AVEC CHAUFFAGE AU GAZ.
AVANT D'UTILISER L'APPAREIL, LIRE ATTENTIVEMENT LES PRESENTES INSTRUCTIONS.
L'INSTALLATION DOIT ETRE EFFECTUEE CONFORMMÉNANT AUX REGLEMENTS LOCAUX.
IMPORTANT: Conserver les générées instructions pour l'emploi destinées à l'Inspecteur de la société électrique.
INSTALLATEUR: Conserver avec l'appareil les Presents instructions pour l'emploi destinées au propretaire.
PROPRIÉTAIRE: Conserver les générées instructions pour toute éventuelle consultation à l'avenir.
Avertissements concernant la sécurité: Avant d'effectuer le branchement de l'appareil, couper le circuit d'alimentation et bloquer le panneau de commandes.
Alimentation requise: 120V C.A., 60Hz . 15 ou 20A
Dimensions

Poids: 30" Model 34 lbs - 36" Model 38,5 lbs
Diametre de raccordement: 4^ ^3 / _4
Diamètre requis la conduite d'évacuation: 4^ ^3 / _4
Avant d'effectuer l'installation de la hotte
- Afin d'obtenir une efficacité maximum d'évacuation de l'air, utiliser une conduite linéaire ou réduire au maximum le nombre des coudes précents.
ATTENTION: Évacuer l'air de l'unité exclusivement à l'extérieur de l'édifice. - Utiliser des canalisations flexibles en métal, si autorisées dans votre région, uniquement pour connecter la conduite rigide directement aux dispositifs de raccordement.
- Les équipements installés dans des régions au CLIMAT FROID doivent avoir un clapet de retenue des fumées pour réduire au maximum l'écoulement de l'air froid de retard, autre à une protection thermique non métallique pour minimiser l'influence de la température externe à travers le réseau des canalisations. Il est opportun d'installer le clapet sur le côte de l'air froid de la protection thermique et de placer la protection le plus précible du point d'entrée des canalisations dans la partie réchauffée de l'édifice.
- La hauteur pour l'installation de la hotte sur le plan de la cuisine doit etre établie en fonction des exigences de l'utilisateur. Plus la hotte sera placée en bas, par rapport à la cuisine, plus l'aspiration des vapeurs et des odeurs de cuisson, de laGRAisse et de la fumee sera efficace. Nous recommendons d'installer la hotte à une hauteur de 18,5" minimum par rapport au plan de cuisson electrique et de 25,6"par rapport au plan de cuisson a gaz. Avant de besoin la hotte, vérifier la hauteur du plafond et la hauteur maximum utilisable par rapport à la hotte.
AVERTISSEMENT - POUR RÉDUIRE LES RISQUES D'INCENDIES, CHOCS ÉLECTRIQUES OU ACCIDENTS, SUIVRE LES INDICATIONS SUIVANTES:
a) Confier l'installation et l'adaptation des connexions electriques à un personnel qualifié qui opère conformément aux normes et aux dispositions établies, y compris aux normes de construction antiincendie.
b) Dans les installations alimentées avec du combustible, il faut qu'il y ait une quantité d'air suffisante, afin de garantir une combustion appropriée et une correcte évacuation des gaz à travers le carneau montant (cheminée), de façon à éviter le retour des fumées. Suivre les directives fournies par le constructeur de l'appareil de chauffage ainsi que les normes de sécurité émises par des associations telles que la «National Fire Protection Association (NFPA)», la «American Society for Heating», la «Refrigeration and Air Conditioning Engineers (ASHRAE)», et les autorités locales compétentes.
c) Lors du percement de parois ou de plafonds, effectuer les opérations nécessaires avec précaution, afin de ne pas endommager les connexions électriques et les autres branchements des services généraux non visibles.
d) Les rotors de ventilation carénés doivent toujours être équipés d'un système d'évacuation à l'extérieur.
AVERTISSEMENT - POUR RÉDUIRE LES RISQUES D'INCENDIES, UTILISER UNIQUÉMENT DES CONDUITES METALLIQUES.

Avertissement
Risque de chic électrique. Peut occasioner des blessures sérieues ou la mort. Débranchez l'appareil de la source d'alimentation avant de procéder au service d'entretien. Si l'appareil est muni d'une lampe fluorescente, celle-ci contient des petites quantités de mercure qui doivent être recyclées ou mises aux rebuts conformément aux règlements municipaux ainsi qu'aux lois provinciales et féderales.
Informations importantes relatives à la sécurité
LIRE ET CONSERVER LES PRESENTES INSTRUCTIONS
Faire extrémement attention lors de l'emploi de substances nettoyantes ou détergentes.
Aptitude à l'emploi dans l'environnement domestique/cuisine
ATTENTION - Afin de réduire le risque d'incendies et de garantir une évacuation de l'air appropriée il faut prévoir une conduite pour l'évacuation de l'air à l'extérieur. Ne pas évacuer l'air dans des espaces délimités par des parois/plafonds, attiques, passages ou garages.
ATTENTION - Uniquement pour la ventilation générale. Ne pas utiliser l'appareil pour l'évacuation de matériaux et vapeurs dangereux ou explosifs.
AVERTISSEMENT - AFIN DE RÉDUIRE LE RISQUE D'INCENDIES, CHOCS ÉLECTRIQUES OU ACCIDENTS, RESPECTER LES PRESCRIPATIONS SUIVANTES:
a. Utiliser l'appareil sur la base des instructions fournies par le constructeur. En cas de doutes ou pour toute explication ultérieure, s'adresser à la société constructrice.
b. Avant d'effectuer le nettoyage ou l'entretien, couper l'alimentation du panneau de commandes puis bloquer le dispositif de déconnexion du courant électrique afin d'éviter tout risque d'actionnement involontaire. S'il devait se révérer impossible de bloquer le dispositif de déconnexion, appliquer un signal d'advertissement approprié (par exemple: un panneau), bien visible et en position stable, sur le panneau de commandes.
AVERTISSEMENT - POUR RÉDUIRE LES RISQUES D'INCENDIES PROVOQUÉS PAR LE RENVERSEMENT DE GRAISSE SUR LE PLAN DE LA CUISINE:
a. Ne jamais laisser sans surveillance les apparciels de cuisson régés au maximum. La cuisson à puissance élevée est susceptible de générer des fumées et de provoquer le renversement de graisse pouvant s'enflammer. Réchauffer lentement et à faible puissance l'huile ou la graisse.
b. Allumer toujours la hotte (position ON) pendant le rechauffement à température élevée ou la cuisson à la flamme.
c. Nettoyer fréquement les rotors de ventilation. Ne pas laisser que laGRAISSÉ s'accumule sur le rotor de ventilation ou sur le contrôle.
d. Utiliser des poêles ou casseroles de dimensions appropriées. Choiser toujours des outils de cuisine appropriés en fonction des dimensions du plan.
AVERTISSEMENT - POUR RÉDUIRE LES RISQUÉS D'ACCIDENTS SUITE AUX INCENDIES PROVOQUÉS PAR LE RENVERSEMENT DE GRAISSE SUR LE PLAN DE LA CUISINE, SUIVRE LES INSTRUCTIONS SUIVANTES:
a. Essayer d'ÉTOUFFER LES FLAMMES au moyen d'un couvercle de petites dimensions, un plateau métallique ou une feuille de papier d'aluminium, puis éteindre le brûleur. EFFECTUER LES OPÉRATIONS NÉCESSAIRES AVEC PRECAUTIONS, AFIN D'ÉVITER TOUT RISQUE DE BRûLURES. Si les flammes ne s'éteignent pas immédiatement, ÉVACUER LES LOCAUX PUIS CONTACTER LES SAPEURS-POMPIERS.
b. NE JAMAIS SOULEVER UNE CASSEROLE EN FLAMMES: il y a le risque de se brûler.
c. NE PAS UTILISER DE L'EAU, des torchons ou serviettes mouillés: il existe le risque qu'une violente Explosion de vapeur se produit.
d. Utiliser un extincteur UNIQUEMENT à condition que:
- L'on soit sûrs de pouvoir dispose d'un extincteur de Classe ABC, et l'on soit déjà en mesure de l'utiliser.
- L'incendie soit réduit et limite à la zone dans laquelle il s'est développé.
- L'on ait déjà contacté les sapeurs-pompiers.
- L'on puisse utiliser l'extincteur en ayant les épaules tournées vers la sortie.
Enregistrement de l'ordinateil
Enregisterl'appareil
La CARTE D'ENREGISTREMENT préalablement adressée doit être replie en entier, signée et returnée à Frigidaire Canada.

Leprésentguide del'utilisateur décrit le mode d'emploi général de cette hotte ainsi que les caractéristiques de plusieurs autres modèles. Certaines des caractéristiques décrites peuvent donc ne pas s'appliquer à votre hotte.
Remarque: Les directives qu'figurent dans ce guide de l'utilisateur ne sauraient couvrir toutes les circostances et les situations possibles. Il faut donc faire preuve de jugement et de prudence pendant l'installation, l'utilisation et l'entretien de tout apparéil electroménager.
Merci d'avoir besoin ici appareil. Les renseignements contenus dans ce guide de l'utilisateur expliquent comment utiliser et entretenir la hotte. Lire les documents qui accompagnent l'appareil pour en savoir davantage sur cette hotte.
Noter le numéro de modèle et le numéro de série
Noter ci-dessous le numéro de modulo et le numéro de série inscrits sur la plaque signalétique située sur le côte droit du cadre avant, dans le tiroir de rangement.
Numéro de modèle:
Nombre de série:
Date d'achat:
GUIDE DE L'UTILISATEUR
GLHV30T4KC - GLHV30T4KW
GLHV36T5KC - GLHV36T5KW
LISEZ ET CONSERVEZ CES INSTRUCTIONS
Table des matières
Enregistrement de l'appareil 2
Informations importantes relatives à la sécurité 3-4
Installation 5-7
Emploi et entretien 8
Nettoyage de la hotte 9
Remplacement des lampes 9
Garantie 10
Notice Facile