FKS63Z - Hotte aspirante FRIGIDAIRE - Notice d'utilisation et mode d'emploi gratuit
Retrouvez gratuitement la notice de l'appareil FKS63Z FRIGIDAIRE au format PDF.
| Type d'appareil | Hotte aspirante |
| Installation | Murale |
| Mode d'extraction | Extraction ou recyclage |
| Matériau | Acier inoxydable |
| Nombre de vitesses | 3 |
| Type de commande | Manuelle ou électronique |
| Éclairage | Lampe halogène ou LED |
| Puissance d'aspiration | Non précisé |
| Niveau sonore | Non précisé |
| Filtre à graisse | Aluminium lavable |
| Filtre à charbon | Optionnel |
| Dimensions (LxPxH) | Non précisé |
| Alimentation électrique | 230 V / 50 Hz |
| Consommation électrique | Non précisé |
| Poids | Non précisé |
| Garantie | Non précisé |
FOIRE AUX QUESTIONS - FKS63Z FRIGIDAIRE
Questions des utilisateurs sur FKS63Z FRIGIDAIRE
0 question sur cet appareil. Repondez a celles que vous connaissez ou posez la votre.
Poser une nouvelle question sur cet appareil
Téléchargez la notice de votre Hotte aspirante au format PDF gratuitement ! Retrouvez votre notice FKS63Z - FRIGIDAIRE et reprennez votre appareil électronique en main. Sur cette page sont publiés tous les documents nécessaires à l'utilisation de votre appareil FKS63Z de la marque FRIGIDAIRE.
MODE D'EMPLOI FKS63Z FRIGIDAIRE
Cette hotte est destinée à être installée au mur, au dessus d'un plan de cuisson. Elle peut être utilisée en version aspirante (raccordement extérieur) ou filtrante (recyclage interne). A cause de la complexité et du poids de l'appareil il est préféable que l'installation soit effectue par un spécialiste. La responsabilité du producteur ne saurait être engagée pour tout incident ou accident provoqué par une installation défectueuse.
2 - COMPOSANTS.
La hotte se compose de:
2.1 - n. 1 corps de hotte C complet avec comman-des, éclairage et groupe d'aspiration.
2.2 - n. 1 cheminée téléscopique composée de:
n. 1 demi-cheminée supérieure S
n. 1 demi-cheminée inférieure I
n. 2 grilles directionnelles G
n. 1 sachet accessoires avec vis, chevilles et colliers.
2.7 - n. 1 panneau mural B (en option)
3 - CONSEILS CONCERNANT LA SECURITE.
3.1 - N'utilisez jamais pour le raccordement une cheminée servant de conduit de fumées (chaudières, cheminées, etc...)
3.2 - Assurez-vous que la tension du secteur est identique aux valeurs indiquées sur la plaquette signalétique figurant à l'intérieur de la hotte.
3.3 - Reliez la hotter au réseau en interpolant un interrupteur bipolaire avec ouverture de contact de 3 mm au moins.
3.4 - Assurez-vous que l'installation électrique de votre logement ait une mise à la terre correcte.
3.5 - La distance de suture minimum entre le plan de cuisson et la hotte est de 65~cm
3.6 - Il est interdirit de faire flamber des préparations sous la hotte.
3.7 - Lorsque des fritures sont effectuées sous la hotte en fonctionnement, elles doivent faire l'objet d'une surveillance attentive.
3.8 - Avant d'effectuer le nettoyage ou l'entretien de la hotte, débranchez l'appareil ou agissez sur l'interrupteur omnipolaire de votre installation.
3.9 - Une ventilation convenable de la piece doit être prévue si une hotte de cuisine et des apparéls alimentés par une énergie autre que l'énergie électrique évacuient les fumées simultanément.
4 - INSTALLATION.
Pour une installation plus facile, respectez l'ordre des opérations suivantes:
4.1 - Montage des brides de support. Panneau mural (en option).
4.2 - Montage du corps de hotte.
4.3 - Raccordement electrique et contrôle fonctionnel.
4.4 - Connexion aspirante ou filtrante
4.5 - Montage de la cheminée téléscopique.
4.1 - Montage des brides de support. Panneau mural (fig. 2 a-b):
1 Tracez sur le mur une ligne verticale, jusqu'au plafond, au centre de l'endetroit prévu pour le montage de la hotte: elle sert pour effectuer l'alignement vertical des différentes parties.
2 - Positionnement de la bride 1:
a - Placez la bride 1 sur le mur, en alignant son centre sur la ligne verticale, à une distance entre l'axe de ses trous et le plan de cuisson de:
1 - Avec panneau mural: d = 270 + H mm, où H = hauteur en mm de la partie visible du panneau.
Cette cote, à cause des différents types de panneaux disponibles, doit être mesurée directement sur le panneau en dotation.
2 - Sans panneau: d = 920 mm au moins.
Nota: Vérifiez que la bride 1 est en position horizontale. Vous pouvez l'ajuster en agissant sur les vis de réglage de la hotte (voir plus bas).
b - Marquez sur le mur les centres des deux boutonnières de la bride.
3- Positionnement de la bride 2:
a - Placez la bride 2 sur le mur à environ 1 - 2mm du plafond ou de la limite supérieure en l'alignant verticalement.
b - Marquez sur le mur le centre des deux boutonnières de la bride.
4 - Positionnement de la bride 3:
a - Placez la bride 3 sur le mur, en l'alignant verticalement, à une distance X mesurée comme à la figure 2 a b, identique à la hauteur de la demi-cheminée supérieure S fournie avec la hotte. La cote X peut avoir différentes valeurs, selon la hauteur de la demi-cheminée supérieure.
b - Marquez sur le mur les centres des boutonnieres de la bride 3. Percez les centres marqués avec un foret Ø 8 mm. Fixez les brides 1, 2, 3 à fond, en uti-lisant les chevilles 8mm et les vis fournies avec l'appareil.
5 - Panneau mural (en option)
La hauteur de la hotte du plan de cuisson est déterminée dans ce cas par la hauteur du panneau F et par l'eventuelle hauteur du bord arrrière du plan de la base. Le panneau doit être monté avant de monter le corps de hotte, et si on peut le fixer au mur soit en haut qu'en bas, il est nécessaire de le monter à la juste hauteur, avant de monter la base ou du moins le plan supérieur. A cause de la complexité de l'opération, il est préféable que l'installation soit effectuee par un spécialiste ou par une personne qui connaisse les dimensions finale des meubles. En se limitant seulement à la fixation en haut respectez l'ordre des opérations suivantes:
a - Mettez le panneau sur le plan de la base comme à la fig. 2, placez-le contre le mur et centrez-le par rapport à la base.
b - Marquez sur la paroi les deux troughs supérieurs.
c - Percez deux trouss de 8 mm et fixez le panneau en utilisant les chevilles 8 mm et les vis en dotation.
d - L'eventuelle stabilisation de la partie inférieure, si nécessaire, est laissée à l'insextallateur.
4.2 - Montage du corps de botte (fig. 3).
1 - Réglez les deux vis R situées sur les points d'accrochage de la hotte environ en position Médiane.
2 - Accrochez le corps de hotte à la bride 1 en insérant les deux languettes dans les parties larges des boutonnieres pour l'accrochage et poussez vers le bas jusqu'àu fond de la course déterminée par les vis de réglage R.
3 - Réglez verticalément et nivelez horizontallyment la hotte en utilisant les 2 vis R.
4.3 - Raccordement electrique et contrôle fonctionnel.
1 - Il est nécessaire de respecter scrupuleusement les conseils 3.2, 3.3, 3.4 du paragraphe 3 concernant la sécurité.
2 - Le raccordement électrique effectué, vérifie le bon fonctionnement de l'éclairage, du moteur et du changement des vitesses d'aspiration.
4.4 - Connexion aspirante ou filtrante.
1- Connexion aspirante:
a - La hotte peut être branchée à un conduit extérieur, à travers un tuyau rigide ou flexible de 0 100 ou 120mm ; lechioix est laissé à l'installateur.
b - Le raccord aspirant A est prévu pour un diamètre de 100~mm . Pour l'adapter à un tuyau de 125~mm il est nécessaire de le couper avec un tranchet tout au long de la rainure (fig. 4).
Retirez les deux vis placees sur les cots de la sortie de l'air.
c - Appliquez le racord A sur la partie supérieure de la hotte (fig. 5) de façon à recouvrir la sortie rectangulaire du diffuseur. Fixez avec les deux vis.
d - Fixez le tuyau rigide ou flexible avec des colliers au raccord A et au conduit extérieur. Le matériel nécessaire pour cette dernière opération doit être répérez par l'installateur.
e - Retirez l'eventuel filtré à charbon actif situé à l'intérieur de la hotte (voir par. 3 3.2-b).
2- Connexion filtrante:
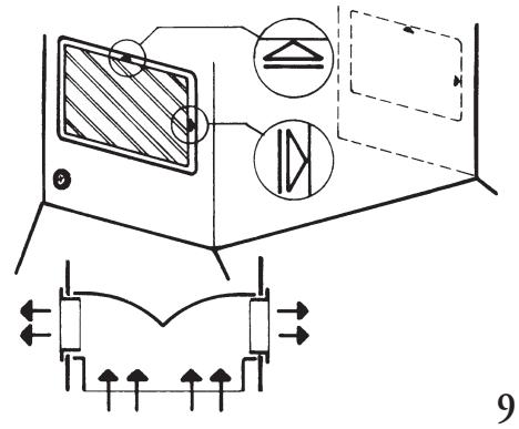
a - L'air filtré est évacué dans la piece à travers les deux grilles laterales, dont la position, pour différentes exigeances, est caractérisée par deux différentes hauteurs de la demi-cheminée inférieure I (fig. 6 et 7).
b - Position basse (fig. 6): reliez le raccord filtrant F directement à la sortie rectangulaire du diffuseur en le poussant vers le bas pour le cliper.
c - Position haute (fig. 7): reliez le prolong-gateur P à la sortie rectangulaire du diffuseur, en poussant vers le bas pour le cliper. Assembliez de la même façon le raccord F sur le prolongateur P. d - Mettre en place le filtré à charbon actif à l'intérieur de la hotte (voir par. 3 3.3-b).
Note: N'applique pas encore les petites grilles laterales; cette opération doit être effectuee en fin de montage.
4.5 - Montage de la cheminée téléscopique (fig. 8).
1 - Pour appliquer la demi-cheminée supérieur re S, élargissez légerement les deux pans la-teraux, accrochez-les derrière les brides 2 et 3 et refermez-les jusqu'à la butée. La demi-cheminée reste accrochée sur les pris supérieurs, à la bride 2. Fixez-la à la bride 2 avec les deux grandes vis fournies avec l'appareil.
2- Appliquez de la meme facon la demi-cheminee inferieure I entre les brides 1 et 3 et le mur, en tenant compte qu'a la base, il est necessaire d'inserer le permetre de la demi-cheminee dans le logement special du corps de la hotte (voir agrandissement). Fixez la demi-cheminee I a la bride 1 avec les deux vis fournies avec l'appareil. L'accrochage des demi-cheminees S et I en correspondance de la bride centrale 3, s'effectue par un systeme de ressort; pour cela, poussez energiquement vers le centre.
3 - Encliquetez les deux petites grilles dans leur logement de façon à ce que le symbole ▲ soit orienté vers le haut et le symbole ▷ vers le devant. En outre, pour les version filtrantes, vérifie que les grilles s'insèrent correctement à l'intérieur du raccord filtrant F (fig. 9).
2ème Partie INSTRUCTIONS POUR L'UTILISATION ET L'ENTRETIEN
1 - CONSEILS CONCERNANT LA SECURITE.
Il est absolument nécessaire de respecter tous les avertissements du paragraphe 3 de la première partie - Instructions pour l'installation. En outre, il est très important de faire attention, lors de l'utilisation et de l'entretien, aux avertissements suivants:
1.1 - Effectuez un scrupULEux et régulier entretien des filtres à graisses et à charbon actif, selon les intervalles conseillées par le fabricant, ou, plus souvent, pour une utilisation particulièrement intense (plus de 4 heures par jour).
1.2 - Ne laissez jamais des flammes libres à force intensité sous la hotte en fonctionnement: en retardant les marmites, éteignez la flamme ou du moins, pour de courtes périodes et sous surveillance, tenez-la au minimum.
1.3 - Reglez toujours la flamme de façon à éviter une fuite latérale de la même par rapport au fond des marmites: vous économiquez de l'énergie et vous évitez de dangereuses concentrations de chaleur.
1.4 - N'utilise jamais incororrectement votre apparéil qui est destiné uniquement à abattre les odeurs dans la cuisine.
2 - UTILISATION.
2.1 - Groupe des commandes.
Le groupe des commandes est caché normalement à l'intérieur de la carrosserie. Pour le rabattre, exercez une légère pression du doigt à l'avant vers le haut et relâchez. Pour le repositionner dans son logement, après l'utilisation, poussez encore au centre vers le haut jusqu'à atteoir l'accrochage automatique.
2.2 - Tableau de commandes.
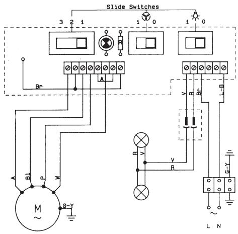
Le schéma des commandes est le suivant (fig. 11).
Touche L = mise en fonctionnement et arrêt de l'éclairage
Touche M = mise en marche et arrêt du moteur
Touche V = choix de la vitesse d'aspiration:
1 = vitesse minimum: pour ventilier la piece, particulièrement silencieuse, pour les plats émettant peu de vapeurs.
2 = vitesse moyenne: en conditions normales, étant donné le rapport optimal entre la capacité de dépuration et le niveau du bruit.
3 = vitesse maximum: en cas de forte concentration d'odeurs et de vapeurs, même pour de longues périodes.
3-ENTRETIEN.
Un entretien régulier de votre hotte est la garantie d'un bon fonctionnement et d'un bon rendement. Des attentions particulières sont à adresser aux filtres àGRAisses métalliques et, pour les seules hottes filtrantes, au filtre à charbon actif.
3.1 - Filtres àGRAisses métalliques.
a - Nettoyage: Lavez ces filtres avec un produit détergent du commerce au maximum tous les deux mois. Grace à leur dimension compacte Vous pouvez également les laver dans notre lave-vaisselle.
b- Demontage des filtres: Enlevez un filtré à la fois en le soutenant avec une main et en agissant sur le verrou.
3.2 - Filtre synthétique.
a - Ce filtré est équipé de points violets, tímoins de saturation:
Le filtrtre doit être changé lorsque ces points, visibles au dessous de la grille d'aspiration, s'étalent sur toute la surface, ou, au plus tard tous les deux mois.
Attention: l'accumulation de graisses dans le filtrte peut nuir au rendement de votre apparéil et provoquer des risques d'incendie. Le fabricant décline toute responsabilité dans le cas d'un entretien pas conforme aux instructions.
b - Remplacement du filtré:
Décrochez la grille d'aspiration (fig. 14a) en appuyant vers l'arrière sur les boutons U. Pivotez la grille vers le bas jusqu'à la décrocher (fig. 14b). Placez la grille sur un plan et otez les arrêts metalliques Q comme indiqué à la (fig.14c). Remplacez le filtr de façon à ce que les.POIS violets se trouvent du cote visible. Remontez les arrêts en inversant les opérations et assurez-vous que les crochets soient bien placeés dans leurs logements.
3.3 - Filtre à charbon actif.
a - Fonctionnement:
Le filtré à charbon actif a la capacité de retenir les odeurs jusqu'à saturation. Il n'est pas lavable et ne peut être régénérate; par conséquent, il doit être changé tous les quatre mois, ou plus souvent selon la fréquence d'utilisation.
b - Remplacement:
Enlever les filtres à graisses métalliques et agissez sur les deux vis laterales qui bloquent le filtré.
3.4 - Eclairage.
Il est constitué par 1 tube néon de 15W. Pour changer le tube, procédez comme suit (fig. 12):
a - Otez les réglettes de fixation T se trouvant pres des commandes. Le verre reste en place sur les brides Z.
b - Faites coulisser le verre vers les commandes (flèche 1). Tirez ensuite légèrement vers le bas (flèche 2), puis faites coulisser en sens inverse par rapport au sens initial (flèche 3) jusqu'à libérer le verre complètement.
c - Changez le tube en le faisant pivoter de 90^ . Pour replacer le verre, procededez en sens inverse.
3.5 - Nettoyage.
Nettoyez l'extérieur et l'intérieur de la hotte avec un chiffon humide et du détergent doux. N'utilise jamais de produits abrasifs, en particulier sur les surfaces en acier inox.

1


2
| 3 | 4 |
| 5 | |
| 6 | 7 |


8



11

12



a




Notice Facile