DA/82.2 - Hotte de ventilation THERMA - Notice d'utilisation et mode d'emploi gratuit
Retrouvez gratuitement la notice de l'appareil DA/82.2 THERMA au format PDF.
| Type d'appareil | Hotte de ventilation |
| Modèle | DA/82.2 |
| Puissance | Non précisé |
| Débit d'air | Non précisé |
| Niveaux de vitesse | Non précisé |
| Type de filtre | Non précisé |
| Matériau | Non précisé |
| Dimensions (L x P x H) | Non précisé |
| Type d'installation | Non précisé |
| Consommation électrique | Non précisé |
| Niveau sonore | Non précisé |
| Éclairage intégré | Non précisé |
| Type de commande | Non précisé |
| Fonction recyclage | Non précisé |
| Poids | Non précisé |
| Couleur | Non précisé |
FOIRE AUX QUESTIONS - DA/82.2 THERMA
Questions des utilisateurs sur DA/82.2 THERMA
0 question sur cet appareil. Repondez a celles que vous connaissez ou posez la votre.
Poser une nouvelle question sur cet appareil
Téléchargez la notice de votre Hotte de ventilation au format PDF gratuitement ! Retrouvez votre notice DA/82.2 - THERMA et reprennez votre appareil électronique en main. Sur cette page sont publiés tous les documents nécessaires à l'utilisation de votre appareil DA/82.2 de la marque THERMA.
MODE D'EMPLOI DA/82.2 THERMA
Veuillez lire attentivement ce mode d'emploi. Observez avant tout le chapitre "Règles de sécurité".
Conservez ce mode d'emploi afin de pouvoir le consul-ter ultérieurement, et remettez-le à l'éventuel propriétaire ultérieur de l'appareil.

Ils doivent impératifement être respectés. Ce triangle d'avertissement et/ou les termes de signalisation "Attention!", "Prudence!" soulignant des indications qui sont importantes pour votre sécurité ou pour la capacité de fonctionnement de l'appareil.
- Ce symbole vous guide pas à pas dans la manipulation de cet appareil.
- ...
- ...

Ce symbole précède des informations complémentaires concernant la manipulation et l'utilisation pratique de cet appareil.

Ce symbole signale des conseils et des indications relatifs à l'utilisation économique et écologique de l'appareil.
Ce mode d'emploi contient des indications permettant d'éliminer soi-même des pannes qui pourraient éventuellement survenir. Voir chapitre "Aide en cas de panne".
Si ces indications ne devaient pas suffire, vous avez deux points de consultation chez lesquels on poursuivra vous aider:
- Le point de service après-vente à proximité de chez vous (voir chapitre "Service après-vente") ou

Vous y recevez une réponse à chaque question concernant l'équipement ou l'utilisation de votre appareil. Bien entendu, vos désirs, suggestions ou critiques sont également bienvenus. Notre objectif est de poursuivre l'amélioration de nos produits et prestations de services au profit de notre clientèle.
- En cas de problèmes techniques, notre service après-vente se tient à tout moment à votre disposition (vous trouvez les adresses et numéros au chapitre "Service après-vente").
Veuillez également prendre en considération le chapitre "Service".
Après vous avez pris connaissance du mode d'emploi, nous vous prions de renvoyer la carte de garantie remplie au service après-vente à Mägenwil.
Règles de sécurité 4
Sécurité électrique 4 Sécurité pour les enfants 4 Sécurité durant l'utilisation 4 Sécurité lors du nettoyage 4
Élimination 5
Éliminer le matériel d'emballage 5 Consignes d'élimination 5
Description de l'ordinateur 6
Équipement de la hotte d'aspiration 6
Avant la première utilisation 6
Premier prélavage 6
Manipulation de la hotte d'aspiration 7
Mise en marche 7 Déclencher 7 Éclairage 7
Nettoyage et entretien 8
Nettoyage extérieur 8 Nettoyage du filtre tre métallique 8 Nettoyage de l'espace de filtration 8 Nettoyage du tiroir en verre 9
Remplacer le charbon actif dans le contrôle 10
Instructions d'installation 12
Règles de sécurité 12 Montage pour l'air d'évacuation 12 Montage pour air de circulation 13 Description du montage 14 Montage du filtre au charbon actif 16 Raccordement électrique / alimentation 16
Prescriptions 17
Service 18
Avant de faire appel au service après-vente 18. Vous voulez solliciter le service après-vente 18.
Service après-vente 20
Point de vente de rechange 20 Garantie 20
Règles de sécurité
La sécurité de cet appareil est conforme à la réglementation reconnue en matière de technique ainsi qu'aux prescriptions de sécurité applicables. Néanmoins, nous estimons devoir vous familiariser avec les consignes de sécurité suivantes.
Sécurité électrique
Vérifier si la hotte d'aspiration n'a pas subi de dommages de transport. Un appareil endommagé ne peut en aucun cas être installé. En cas de sinistre, veuillez vous adresser à votre fournisseur.
La hotte d'aspiration ne doit jamais être mise en service, si le câble d'alimentation ou le cache de commande est endommagé.
Ne jamais retirer la fiche de la prise en saisissant le câble, mais saisir au contraire la fiche elle-même.
Avant de procéder à la mise en service, assurez-vous que la tension nominale et le type de courant indiqués sur la plaque signalétique concordent avec la tension de secteur et le type de courant disponibles au lieu d'installation. Pour la protection électrique nécessaire, voir les instructions d'installation.
Les réparations doivent être effectuées exclusivement par l’un de nos points de service après-vente. En outre, il faut toujours utiliser des pièces de rechange originales.
Les transformations ou modifications sur la hotte d'aspiration ne sont pas autorisées pour des raisons de sécurité.
En cas de dérangements, mettre l'appareil hors circuit, puis retirer la fiche de la prise de courant.
Ne jamais retirer la fiche de la prise en saisissant le câble, mais saisir au contraire la fiche elle-même.
Sécurité pour les enfants
Les éléments d'emballage (par ex. feuilles, styropor) peuvent représenter un danger pour les enfants. Risque d'étouffement!
Tenir les éléments d'emballage hors de portée des enfants.
Sécurité durant l'utilisation
N'utiliser la hotte d'aspiration que pour évacuer l'air au niveau de la cuisinière. Si l'appareil est utilisé à d'autres fins que celles prévues, ou s'il est mal manipulé, le fabricant ne pourrait être tenu responsable des dommages éventuels.
Il est interdit de flamber sous l'appareil, que ce soit à l'arrêt ou en marche (risque d'incendie).
Ne jamais utiliser la hotte d'aspiration sans filtre à graisses.
Ne jamais utiliser la hotte d'aspiration sans filtre àGRasses.
Si vous deviez vendre l'appareil ou le remettre à un tiers, veillez alors à ce que l'appareil soit REMIS complet avec cette notice, afin que le nouvel utilisateur puisse s'informer sur le mode de travail de l'appareil.
Si vous laissez la hotte d'aspiration sans surveillance durant une période prolongée, par ex. pendant les vacances, assurez-vous que tous les interrupteurs se trouvent sur la position ARRET.
Sécurité lors du nettoyage
Nettoyer régulièrement le filtre à graisses. En cas d'encrassement trop important, il y a risque d'incendie.
Entretenez et nettoyez régulièrement la hotte d'aspiration. Vous évitez ainsi les coûteuses interventions du service après-vente. Observez en outre le chapitre «Nettoyage et entretien».
Pour raisons de sécurité, le nettoyage de l'appareil avec un appareil de nettoyage à vapeur ou à haute pression n'est pas autorisé.
Éliminer le matériel d'emballage

Tous les éléments d'emballage sont recyclables, et les feuilles et parties en mousse dure doivent être marquées de manière appropriée.
Éliminez correctement, s. v. p., le matériel d'emballage et les éventuels appareils anciens.
Veuillez observer les règlements nationaux et régionaux ainsi que le marquage du matériel (séparation du matériel, ramassage des déchets, dépôts de matières valables).
Consignes d'élimination

L'appareil ne doit pas être enlevé avec les déchets domestiques.
Vous pourriez obtenir des renseignements sur les dates de passage ou les points de collecte auprès du service de nettoyage urbain local ou de l'administration communale.

Attention! Veuillez rendre inutilisables les anciens appareils ayant fini de servir, avant de les éliminer, sectionner le câble d'alimentation.
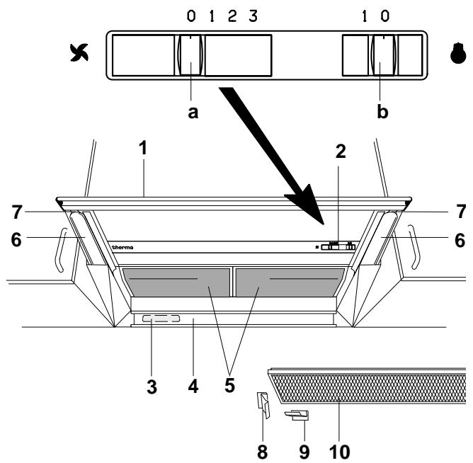
Équipement de la hotte d'aspiration
1 Tiroir en verre 2 Panneau de commande
a Interrupteur à coulisse ventilateur b Interrupteur à coulisse lumière
3 Plaque signalétique 4 Lumière 5 Filtre métallique 6 Rails d'extraction 7 Ressorts
8 Ressorts d'arrêt 9 Ressorts à cran d'arrêt 10 Filtre au charbon actif
La hotte d'aspiration peut être installée pour deux modes d'exploitation différents.
Système d'évacuation de l'air
Les fumées générées au-dessus du foyer sont nettoyées dans les filtres à graisse, puis acheminées à l'air libre au moyen d'une conduite d'air d'évacuation.
Système de recyclage de l'air
Si une conduite d'air d'évacuation n'est pas réalisable pour des raisons de construction, la hotte d'aspiration peut être équipée d'un filtré au charbon actif supplémentaire retenant les bactéries et les odeurs. L'air épuré retourne ensuite dans l'espace de la cuisine.
Le filtre au charbon actif est disponible comme accessoire spécial.
Premier prénettoyage
Nettoyer les parties extérieures au moyen d'un chiffon imbibé d'une solution de lavage douce, afin d'éliminer les éventuelles traces de fabrication.

Attention! Ne pas employer de détergents agressifs ou abrasifs! La surface pourrait en être endommagée.

Manipulation de la hotte d'aspiration

Toujours enclencher la hotte d'aspiration avant de commencer la cuisson.
Mise en marche
En tirant sur le tiroir (1), on enclenche automatiquement le ventilateur sur la position préselectionnée sur l'interrupteur à coulisse, sauf si cette position se trouve tout à gauche sur l'interrupteur, position 0. Le volume d'air peut être régulé au moyen de l'interrupteur à coulisse.
| Position | Mode de cuisson | |
| 0 | arrêt | |
| 1 | puissance faible | tenir au chaud, pocher, cuire à feu doux au-dessous du point d'ébullition |
| 2 | puissance moyenne | étuver, cuire à la vapeur, cuire à petit feu, bouillir |
| 3 | puissance maximale | cuire, rôtir, frire |
Déclencher
Repousser le tiroir (1) jusqu'à la butée, le ventilateur s'arrête.
Éclairage
L'interrupteur à coulisse permet d'enclencher ou de déclencher la lumière.
Position 0 - la lumière est déclenchée
Position I - la lumière est enclenchée

0 1 2 3 0 1 2 3

0 1 2 3

0 1 2 3




Nettoyage et entretien

Prudence! Ne pas employer de détergents agressifs, de brosses, déponges rayantes ou de la poudre à recycler.
Nettoyage extérieur
Nettoyer les organes extérieurs avec une solution de lavage douce.
Nettoyage du filtre métallique

Attention! La non-observation de ces instructions de nettoyage peut générer un risque d'incendie!
Retirer le filtre métallique
- Soulever le filtre métallique en exerçant à l'arrête une pression vers le haut, puis le retirer vers l'avant.
Nettoyer le filtre métallique
- Laver le filtre métallique dans le lave-vaisselle ou dans une solution de lavage pour vaisselle, toutes les 2 à 4 semaines, puis rincer à chaud et bien laisser sécher.

Disposer le filtre dans le lave-vaisselle de façon à ce que l'eau puisse s'écouler correctement.

Un changement de couleur des filtres est normal, leur fonction n'est cependant pas affectée.
Remettre en place le filtre métallique
- Engager le filtre métallique à l'arrêt en y exerçant une pression vers le haut, puis l'encliqueter à l'avant.
Nettoyage de l'espace de filtration
Nettoyer l'espace de filtration avec une solution de lavage douce, à chaque remplacement ou nettoyage de filtres métalliques.


Retirer le tiroir en verre
- Retirer le tiroir en verre (1) jusqu'à la butée.
- Relever les ressorts (6) fixés sur les rails d'extraction (7) en exerçant une pression des index vers le haut, puis retirer avec précaution le tiroir en verre (1).

Attention! Reintroduire les rails d'extraction (6) (risque de se blesser).
Nettoyer le tiroir en verre
- Nettoyer le tiroir en verre au moyen d'un produit lave-vitres approprié.
Réintroduire la tirette en verre
- Tirer un peu les deux rails coulissants (6).
- Introduire la tirette en verre (1) nettoyée dans les rails coulissants, puis la pousser jusqu'à ce que les ressorts (7) s'encliquettent.

Prudence! Contrôler si les ressorts sont correctement encliquetés.

détaillA

Remplacer le charbon actif dans le filtre
pour autant que l'appareil ait été équipé pour le fonctionnement avec air de circulation.
Retirer le filtre au charbon actif
- Retirer le filtre métallique.
- Tirer à l'avant, vers le bas, le filtre au charbon actif, puis le retirer vers l'avant.
Remplacement du charbon actif

Prudence! Le charbon du filtre doit être changé au moins une fois par an.
- Visser le filtre au charbon actif.
- Éliminer le charbon usé.
- Introduire un nouveau charbon. (charbon de rechange N° 009 424 024-29/8)
- Visser le filtre au charbon actif.
Mettre en place le filtre au charbon actif
- Glisser vers le haut le filtre au charbon actif avec joint, d'abord dans les ressorts de butée, puis l'encliqueter à l'avant.
- Mettre en place le filtre métallique.


Remplacement de la lampe fluorescente compacte

Prudence! Lors du remplacement de la lampe fluorescente compacte, utiliser de nouveau le même modèle (PLS 11W, socle G23).

Veuillez considérer que les lampes fluorescentes doivent être éliminées à part. Vous pouvez les ramener à chaque point de vente compétent.
- Pousser le couvercle de lampe à l'avant, vers le haut, puis le retirer à l'arrière, vers le bas.
- Saisir la lampe fluorescente compacte aux deux extrémités puis la retirer du chassis avec précaution.
- Mettre en place la nouvelle lampe fluorescente compacte (même modèle).
- Au besoin, nettoyer le couvercle de lampe dans une solution de lavage douce, bien laisser sécher puis le remonter : introduire l'avant vers le haut puis rentrer l'arrière. Le côté nervuré doit être à l'intérieur.



| Dérangement | Cause | Solution |
| Hotte ne fonctionne pas.Moteur du ventilateur ne marche pas. | - pas de courant électricque | - vérifier si la protection est en ordre (fusible) est en ordre- vérifier si le cable d'alimentation est bien enchêé |
| - tiroir n'est pas sorti | - tirer le tiroir | |
| Pas de lumière | - la lampe fluorescente compactedéfectueuse | - replacer la lampe fluorescente compacte |
| Il y a une force dépression dans la pièce. | - portes et fenêtres fermant très bien | - ouvrir la porte ou les fenêtres,mais toutefois pas à proximitéimmédiate des foyers. |
| Dégagement de fumée quand lacheminée est en service. | - dépression | - monter une vanne pour aménée d'air externe |
| Formation de gouttes de graisseEncrassement trop rapide du filtréSalissure importante du boîtier de la hotteGraisses et dépôts sur le meubleEau de condensation sur les parois | - hotte s'enclenché trop tard- bouillir de l'eau sans avoir en-clenché la hotte | - enclencher à temps la hotte |
| - marche sur une puissance d'aspiration trop faible- il règne une dépression trop fortédans la pièce | - utiliser le niveau supérieur- rendre possible l'alimentation enair | |
| Salissures importantes à l'arrête des filtres et dans les conduitesd'évacuation d'air | - vitesse de l'air trop élevé- il règne une dépression trop fortédans la pièce | - utiliser la hotte à un niveau inférieur- rendre possible l'alimentation enair |
| Formation d'eau de condensation sur le tiroirPuisance d'aspiration insuffisanteen cas d'évacuation de l'air | Haute résistance à l'air dû à:- un tuyau d'évacuation d'air ayant un diamètre trop petit,- un tuyau d'évacuation d'air mal monté. | - utiliser un tuyau d'évacuation d'air de 125 mm de diamètre- mistroux monter le tuyau d'évacuation d'air |

Attention! Les appareils endommagés ne doivent pas être utilisés. En cas de dérangement ou de défectuosité, veuillez déclencher les protections ou les dévisser.

Attention! Ne procéder à aucune intervention sur l'appareil. Des travaux effectués de manière non conforme peuvent être la cause de dommages matériels et corporels.
Si ces conseils ne vous permettent pas d'éliminer les dérangements ou les défectuosités, veuillez vous adresser au service après-vente.
Règles de sécurité

Attention! La distance de sécurité entre la surface de cuisson et la hotte doit être de 50 cm pour les foyers électriques, et d'au moins 70 cm pour les cuisinières à gaz.
En cas d'intervention du service, l'appareil doit être coupé du secteur, retirer la fiche de courant.
Il faut observer scrupuleusement les directives générales sur l'exploitation d'appareils électriques, les prescriptions du fournisseur d'électricité compétent, ainsi que les indications contenues dans ces instructions d'installation.
Montage pour l'air d'évacuation
Les fumées générées au-dessus du foyer sont nettoyées dans les filtres à graisse, puis acheminées à l'air libre au moyen d'une conduite d'air d'évacuation.

Attention! L'air évacué ne doit pas être dirigé dans la cheminée, s'il y a des gaz d'échappement provenant d'autres appareils entraînés par une énergie non électrique. Il faut assurer une ventilation suffisante, si la hotte et des appareils fonctionnant avec une énergie non électrique sont utilisés en même temps.
En outre, il faut observer les réglementations de la police cantonale du feu.
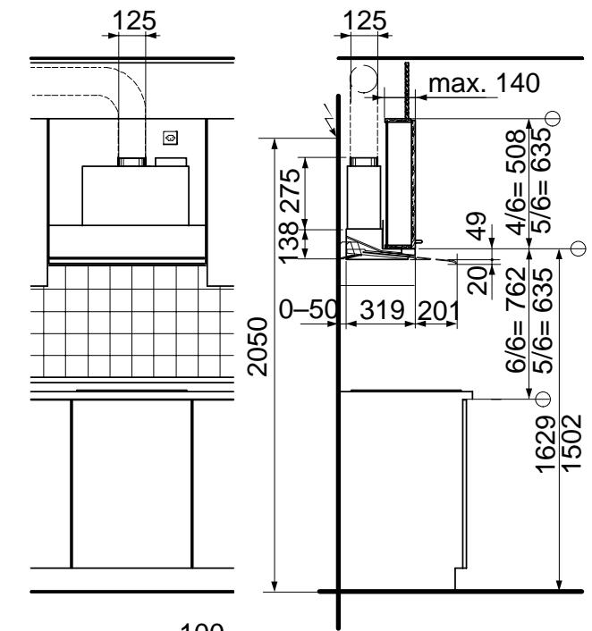
Exigences relatives à la conduite d'air d'évacuation
diamètre 125 mm tube d'air d'évacuation à paroi lisse - pose optimale offrant la résistance à l'air la plus petite possible.

Attention! Si ces exigences ne sont pas observées, le débit d'air baissera.
Montage avec armoire à condiments hauteur 635 mm (5/6), neuf et montage avec armoire à condiments hauteur 508 mm (4/6) avec la porte 635 mm (5/6), Ersatzmarkt.


Volume d'air d'évacuation


Montage pour air de circulation
Si une conduite d'air d'évacuation n'est pas réalisable pour des raisons de construction, la hotte d'aspiration peut être équipée d'un filtre au charbon actif supplémentaire retenant les bactéries et les odeurs. L'air épuré retourne ensuite dans l'espace de la cuisine.

Prudence! Pour le fonctionnement avec air de circulation, il faut retirer le volet de retenue, sinon la hotte d'aspiration ne fonctionnera pas.
Volume d'air de circulation
Grille de ventilation min. 200cm²

Dépose des volets de retenue
- Placer verticalement le volet de retenue
- Pousser vers un côté et sortir l'autre côté vers le haut.

Description du montage

Prudence! Avant de monter la hotte d'aspiration, il faut déposer les filtres et le tiroir en verre (voir chapitre «Nettoyage et entretien»).

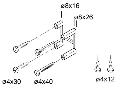
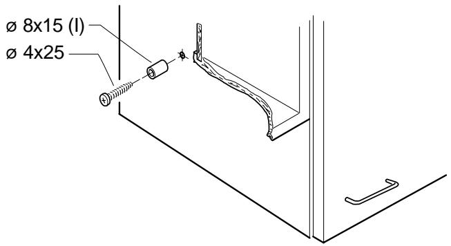
Prudence! Les vis et les chevilles sont conçues pour une épaissur de la paroi de 16 mm au minimum.

Prudence! La hotte d'aspiration doit être fixée dans le meuble au moyen de 6 vis ainsi que les doigts de fixation prescrits (I, II), respectivement 2 × à droite et 2 × à gauche.

- Pointer les trous dans le meuble, à droite et à gauche, au moyen d'un gabarit de perçage.
- Fixer la cheville (I) avec une vis.

Montage dans une armoire supérieure
a Tracer les languettes à l'avant et à l'arrière. b Casser et extraire les languettes à partir du haut.
Montage entre deux armoires supérieures

Pour le montage entre deux armoires supérieures, ne pas retirer la languette.


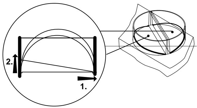
- Soulever la hotte d'aspiration jusqu'au niveau du doigt, puis la glisser dans le guidage/support (selon flèche).
- Tout de suite après l'encliquetage, procéder immédiatement au vissage du doigt (II) de fixation.

Prudence! Doigt de fixation selon détaillé (chanfrein pour la tête de vis).

Après la fixation latérale de la hotte de ventilation, celle-ci doit être fixée en plus vers le haut (fig. 5).
- Fixer la hotte de ventilation à travers les deux trous à l'armoire supérieure avec les deux vis (4x20) fournies avec l'équipement.
- Enficher la fiche du câble de raccordement dans la prise de courant appropriée.

Prudence! La fiche doit être accessible après le montage. 7. Pousser le boîtier de lampe (selon la flèche) contre la paroi.




Montage du filtre au charbon actif
Valable seulement pour l'exploitation avec air de circulation.

Prudence! Les quatre ressorts doivent être utilisées pour assurer une fonctionnement utile.
- Tirer le dispositif de décharge (1).
- Sortir le filtre métallique (5).
- Insérer les ressorts à cran d'arrêt (8) derrière à gauche et à droite du côté longitudinal .
- Insérer les ressorts à cran d'arrêt (9) devant sur les côtés étroits
- Introduire le filtre à charbon actif (10) avec le joint vers le haut, d'abord derrière dans les ressorts à cran d'arrêt (8), puis l'encliqueter devant.
- Introduire le filtre métallique (5).
Raccordement électrique / alimentation

Attention! Le raccordement électrique doit être effectué par un installateur concessionnaire.

Prudence! La fiche doit être accessible après le montage.
Il faut prévoir une prise de courant du type 12 ou 13. La longueur du câble de raccordement est d'environ 1 m.
Lors du remplacement de la ligne de raccordement, il faut prévoir un type de câble équivalent au moins à H05RR-F (Nombre de pièce 375 043 200).
Installation d'une vanne externe d'admission d'air
Il y a la possibilité de faire installer une vanne externe d'apnée d'air par un spécialiste électricien.
L'ouverture (B) dans le couvercle (G), avec la décharge de traction, est prévue pour raccorder un câble externe. Raccordement au moyen d'un connecteur AMP 6,3 x 0,8 mm sur les bornes numéros 5, N, E, et selon le type de vanne sur L (en permanence sous tension).



Encombrement
| Hauteur totale | 413 mm |
| Hauteur d'appareil visible | 49 mm |
| Largeur | 823 mm |
| Profondeur | 320 mm |
| Profondeur avec tiroir ouvert | 520 mm |
Distance minimale par rapport à la surface de cuisson
| Foyer électrique | 500 mm |
| Foyer au gaz | 700 mm |
Tension de raccordement
230 V ~ 50 Hz
Puissance absorbée
| Puisance totale | 210 W |
| Puisance max. de la lampe | 2x11 W |
| Poids total | 11,8 Kg |
Prescriptions
CE Cet appareil est conforme aux directives CE 73/23/CEE du 19.02.1973 (Directive sur la tension) 89/336/CEE du 03.05.1989 (Directive CEM y compris directive de modification 92/31/CEE) 90/683/CEE.
Service
Le service après-vente Thermo met un personnel qualifié à la disposition de ses clients.
Avant de faire appel au service après-vente
Assurez-vous que vous n'avez fait aucune erreur de manipulation.
Contrôlez votre hotte d'aspiration «Que faire si...».
Vous pouvez solliciter le service après-vente
- Notez les indications suivantes que vous trouvez sur la plaque signalétique de votre appareil:
- Numéro de série Désignation de modèle N° de produit
Veuillez toujours indiquer ces données si :
- vous demandez l'intervention du service après-vente
- vous commandez des pièces de rechange ou des accessoires
- vous avez des questions d'ordre technique
La plaque signalétique se trouve dans le boîtier de la lampe.
- Notez minutieusement vos observations, vous simplifiez ainsi l'analyse préliminaire et le travail de nos techniciens.
- Composez le numéro de service 0848 848 999. Notre appel sera automatiquement dévié vers le point de service le plus proche.
- Soyez là lorsque le technicien se présentera à votre domicile, car il a besoin d'informations.


Service après-vente
| Kundendienst-Administration | Administration du service | Administrazione servizio |
| 5506 Mägenwil | 5506 Mägenwil | 5506 Mägenwil |
| Tel. 062 / 889 91 31 | Tel. 062 / 889 91 31 | Tel. 062 / 889 91 31 |
| Fax 062 / 889 91 21 | Fax 062 / 889 91 21 | Fax 062 / 889 91 21 |
| Kundendienst | Service après-vente | Servizio dopo vendita |
| 5506 Zürich-Mägenwil | 1028 Préverenges | 6916 Grancia |
| Industriestrasse 10 | Le Trési 6 | Zona Industriale E |
| Fax 01 / 405 88 18 | Fax 021 / 803 23 05 | Fax 091 / 994 38 46 |
| 8604 Volketswil | 3966 Réchy | |
| Hölzliwisenstrasse 12 | Route de Grône | |
| Fax 01 / 405 88 18 | Fax 021 / 803 23 05 | |
| 8718 Schänis | ||
| Biltenerstasse | ||
| Fax 01 / 405 88 18 | ||
| 7000 Chur | Eine Nummer für dieGPCe Schweiz | 0848 848 999 |
| Comercialstrasse 19 | Un numero pour toute la Suisse | |
| Fax 071 / 388 20 49 | Un unico numero Telefonico per tutte la Svizzera | |
| 9000 St. Gallen | ||
| Vonwilstrasse 15 | ||
| Fax 071 / 260 26 67 | ||
| 4133 Pratteln | Ersatzteilverkauf | therma |
| Rheinpark-Center, | Vente des peces de rechange | 0848 848 028 |
| Netzibodenstrasse 23 b | Vendita di pezzi di ricambio | |
| Fax 062 / 889 95 85 | Tel. 062 / 889 91 23 | oder |
| 6032 Emmen | ou | |
| Buholzstrasse 1 | Fax 062 / 889 91 10 | |
| Fax 062 / 889 95 85 | ||
| 3063 Ittigen/Bern | ||
| Ey 5 | ||
| Fax 031 / 925 31 30 |
Garantie
Nous octroyons sur chaque produit Therma une année de garantie à partir de la date de livraison ou de la mise en service. Les pièces défectueuses sont réparées ou remplacées gratuitement. Notre garantie couvre les frais de main-d'œuvre et de déplacement, ainsi que les pièces de rechange.
L'usure ou les dommages causés par des influences extérieures, des cas de force majeure, l'intervention de tiers ou pour des dommages dus à l'inobservation des modes d'emploi ne sont pas couverts par la garantie.
Le service d'information téléphonique de thermo
Lundi à vendredi de 09.00 – 12.00 Uhr
Pour renseignements, conseils et «astuces» concernant l'utilisation de vos appareils ménagers.
Une prestation de service à votre disposition chaque jour pour toutes questions touchant aux appareils ménagers.
Appelez ThermoPhon par exemple pour:
- renseignements rapides concernant l'utilisation des appareils
- conseils judicieux pour l'entretien et les soins à apporter aux appareils ménagers
- «Astuces» utiles pour la cuisson en général, la cuisson au four, l'aération, la réfrigération et le rinçage
- conseils compétents pour le choix d'un appareil correspondant à vos désirs
Notice Facile