MO-654 - Machine à coudre surjeteuse JUKI - Notice d'utilisation et mode d'emploi gratuit
Retrouvez gratuitement la notice de l'appareil MO-654 JUKI au format PDF.
| Type de produit | Surjeteuse JUKI MO-654 |
|---|---|
| Caractéristiques techniques principales | 4 fils, 2 aiguilles, 1 boucleur, 3 ou 4 fils de surjet |
| Alimentation électrique | 220-240 V, 50/60 Hz |
| Dimensions approximatives | 350 mm x 300 mm x 300 mm |
| Poids | 7 kg |
| Compatibilités | Tissus légers à épais, y compris jersey et denim |
| Fonctions principales | Surjet, ourlet roulotté, assemblage de tissus |
| Entretien et nettoyage | Nettoyage régulier de la machine, lubrification des pièces mobiles |
| Pièces détachées et réparabilité | Disponibilité de pièces détachées via le fabricant et les revendeurs agréés |
| Sécurité | Protection de la lame, interrupteur de sécurité |
| Informations générales utiles | Garantie de 2 ans, manuel d'utilisation inclus |
FOIRE AUX QUESTIONS - MO-654 JUKI
Questions des utilisateurs sur MO-654 JUKI
0 question sur cet appareil. Repondez a celles que vous connaissez ou posez la votre.
Poser une nouvelle question sur cet appareil
Téléchargez la notice de votre Machine à coudre surjeteuse au format PDF gratuitement ! Retrouvez votre notice MO-654 - JUKI et reprennez votre appareil électronique en main. Sur cette page sont publiés tous les documents nécessaires à l'utilisation de votre appareil MO-654 de la marque JUKI.
MODE D'EMPLOI MO-654 JUKI
En utilisant un fil de polyester N°120, vérifier que la machine a cours accompli la couture bien tendue avec les réglages de la tension entre [3] et [5] sur l'échelle.
Comment effectuer le réglage
Démonter les blocs-tension du fil.
- Retirer l'échelle du cadran de tension ①.
- Desserrer la vis à tête fendue ②. Enlever alors la plaque de presseur ③, la rondelle ondulée ④, le cadran de tension ⑤ et la rondelle ⑥.
Comment régler les blocs-tension
- Tournez l'écrou de la tension ⑦ jusqu'à ce que le filé de polyester N° 120 ait des résultats satisfaisants.
- Les tensions optimales du fil sont mentionnées ci-après.
- Fixer la rondelle ⑥, diriger l'indicateur à la position de et insérer le cadran de tension dans la position prédéterminée.
Fixer la rondelle ondulée ④, la plaque de presseur ⑤ et la vis à tête fraisée ⑥ à leur position.
Puis, adhérer correctement l'échelle du cadran de tension et vérifier à nouveau la tension du fil.
La position de correspond à [4] et la position de correspond à [5].




| Upper looper thread Obergreiferfaden Fil du boucleur supérieur | 10 ± 2g |
| Lower looper thread Untergreiferfaden Fil du boucleur inférieur | 25 ± 5g |
| Right-hand needle thread Rechter Nadelfaden Fil d'aiguille droite | 30 ± 5g |
| Left-hand needle thread Linker Nadelfaden Fil d'aiguille gauche | 80 ± 10g |
Levier du guide-fil de boucleur inférieur Boucleur inférieur 3 Bras du guide-fil de boucleur inférieur Plaque du levier du guide-fil de boucleur inférieur 5 Vis de fixation de l'embase de montage du guide-fil de boucleur inférieur 6 Levier du guide-fil de boucleur inférieur et le haut du boucleur inférieur Aiguille droite 8 Vis de fixation 9 L'embase de montage du guide-fil de boucleur inférieur Lorsque le levier du guide-fil de boucleur inférieur ① se trouve à sa position la plus haute, le levier du guide-fil de boucleur inférieur ① doit être en regard avec le haut du boucleur inférieur ② dans le sens vertical. (Se reporter à ⑥) - Lorsque le boucleur inférieur se trouve à l'extrémité droite de sa course, le levier (A) du levier du guide-fil de boucleur inférieur peut être abaissé manuellement et être retourné automatiquement à sa position initiale avant que l'orifice de boucleur inférieur et l'aiguille droite ne se croisent l'une l'autre.
Comment effectuer le réglage
1) Desserrer la vis de fixation dans l'embase de montage du guide-fil de boucleur inférieur. 2) Effectuer le réglage en déplaçant l'embase de montage du guide-fil de boucleur inférieur vers le haut ou vers le bas. 3) Resserrer la vis de fixation. 1) Desserrer la vis de fixation dans la plaque du levier du guide-fil de boucleur inférieur. 2) Effectuer le réglage en déplaçant la plaque du levier vers le haut ou vers le bas. 3) Resserrer la vis de fixation.


Position du tendeur de boucleur (B)
Lever du boucleur Releveur de fil du boucleur inférieur (ensemble) 3 Vis dans l'embase de guide-fil du boucleur inférieur (côte inférieure) Embase de guide-fil du boucleur inférieur
Partie A de relevateur de fil du boucleur inférieur (ensemble) 2 doit être en parallèle à la partie E de l'embase de guide-fil du boucleur inférieur 4


Comment effectuer le réglage
- Tourner la poulie pour déplacer le boucleur inférieur vers la droite.
- Desserrer la vis (côté inférieur) ③ dans l'embase de guide-fil du boucleur inférieur.
- Effectuer le réglage en déplaçant le relevé de fil du boucleur inférieur (ensemble) 2
- Déplacer le relevéreur de fil du boucleur inférieur (ensemble) dans la direction , et resserrer la vis .
Réglage de la course de la griffe d'entraînement secondaire
- Checking items
Griffe d'entraînement principal Griffe d'entraînement secondaire 3 Plaque à l'aiguille Régler le bouton de l'entraînement principal sur [4] et le bouton de l'entraînement secondaire sur [0,7]. La course (B) de la griffe d'entraînement secondaire doit être de 2,3 à 2,7 mm [Note: Entraînement principal P = 4 → 4 ± 0,6 mm]
Entrainement secondaire 1:0,7→ 1:0,5 à 0,7]

- Den Exzenterbolzen 2 des Hilfstransporteurs zur Durchführung der Einstellung drehen.
- Comment effectuer le réglage
- Desserrer la vis de fixation ① de la goupille excentrique de la biellette du réglage de la griffe d'entrainmente secondaire.
- Retirer la goupille excentrique de la griffe d'entraînement secondaire pour effectuer le réglage.
- Resserrez la vis de fixation 1 de la goupille excentrique.

MO-634DEV
SERVICE MANUAL EINSTELL-ANLEITUNG MANUEL D'INSTRUCTIONS POUR LES RÉGLAGES

- Caractéristiques techniques 1
- Jauge de réglage 2 3. Ordre de pose des couvercles 3
- Montage de la plaque à aiguilles 4
- Hauteur de la barre à aiguilles 5
- Positionnement de la griffe d'entrainment 6,7,8
- Hauteur de la griffe d'entraînement 9
- Réglage du mouvement de la griffe d'entraînement 10
- Positionnement de la pièce d'équilibrage et de l'excentrique 11
- Réglement de la course du boucleur supérieur 12
- Rayon de gyration du boucleur inférieur 13
- Réglement du boucleur inférieur en fonction de l'aiguille 14, 15
- Ajustement entre le boucleur supérieur et inférieur 16
- Montage des protections d'aiguille 17
- Position du couteau inférieur (1) 18
- Position du couteau inférieur (2) 19
- Position relative du couteau supérieur et du couteau inférieur 20
- Hauteur et position latérale du pied-de-biche.. 21
- Hauteur de la vis de réglage du pied-de-biche... 22
- Position du tendeur de boucleur (B) 23
- Position du tendeur de boucleur (A) 24
- Commutation du micro-rupteur 25
- Position du plateau amovible pour tissus 26
- Position du couvercle des boucleuses 27,28
- Tension de la courroie 29
- Réglement de la tension du fil 30
- Réglement du guide-fil d'aiguille 31

- Specifications
- Technique Daten Fuer
- Caractéristiques techniques
| ItemsBezeichnungDescription | ● Description ● Beschreibung ● Caracteristique | |
| MO-634DEV | ||
| 1 | Nr. of needle & threadsAnzahl Nadel und FadenNombre d'aiguilles et de fils | 2-needle and 4-thread2-Nadel und 4-Faden2 aiguilles et 4 fils |
| 2 | NeddleNadelAiguilles | 130/705H (HA x 1), #75/11, [Left-hand needle (JLx2)#11]130/705H (HA x 1), Nr. 75/11, [Linke Nadel (JLx2)#11]130/705H (HA x 1), #75/11, [Aiguille gauche (JLx2)#11] |
| 3 | Overedge width (mm)Stichbreite (mm)Largeur de point overlock (mm) | 4 (Overedge stitch), 2 (Roll hemming stitch)6 (Left-hand needle)4 (Overlock-Stitch), 2 (Rollsaum-Stitch)6 (Linke Nadel)4 (point overlock), 2 (point surfilage)6 (Aiguille gauche) |
| 4 | Stitch length (mm)Stichlange (mm)Longueur de point (mm) | 1.0 - 4.0 : 2.5 (Standard), 1.0 - 1.5 (Roll hemming)1.0 - 4.0 : 2.5 (Standard), 1.0 - 1.5 (Rollsaum)1.0 - 4.0 : 2.5 (Standard), 1.0 - 1.5 (Surfilage) |
| 5 | Differential feed ratioDifferential-SteuerungRapport différentiel d'entraînement | Stretching: 1:0.7 Shirring: 1:1~1:2Dehnung: 1:0.7 Kräuselung:1:1~1:2Allongement: 1:07 Frongaage:1:1~1:2 |
| Neddle bar stroke (mm)Nadelstangenhub (mm)Course de la barra à aiguille (mm) | 27 | |
| 7 | I-fed dog height (mm)Transporteurhöhe (mm)Hauteur de la griffe d'entrainment (mm) | Standard 1.3Standard 1.3Standard 1.3 |
| 8 | Presser foot height (mm)Nahfusshöhe (mm)Hauteur du pied-de-biche (mm) | 5 (Normal), 7 (2nd step)5 (normal), 7 (2. Stufe)5 (Normal), 7 (2e niveau) |
| 9 | Light (Watt)Nählicht (Watt)Ampoule (Watt) | (Built-in)(eingebaut)(incorporee) |
| 10 | Power switchNetzschalterInterrupteur d'alimentation | 3-step rocker switch3-Stufen Kipp-SchalterInterrupteur basculant à 3 positions |
| 11 | MotorMotorMoteur | Built-in, 220V, 240V, 120V Input 90 WattEingebaut, 220V, 240V, 120V, Leistungsaufnahme 90 Wattincorpore, 220V, 240V, 120V, 90 Watt consommés |
| 12 | Sewing speed (s.p.m.)Nahgeschwindigkeit(Stiche pro Minute)Vitesse de couture (pts/mn) | Up to 1,350 ± 150Bis 1 350 ± 150Points par minute 1 350 ± 150 |
| 13 | Driving systemAntriebs-ArtSystème de commande | Timing belt. Machine rotates in the forward (normal) direction.Antriebsriemen. Maschine dreht in Vorwärts-Richtung (normal),Courroie de transmission. La machine doit tourner en sens avant (normal). |
| 14 | Machine size (mm)Maschinenmasse (mm)Dimensions de la machine (mm) | 270(W) x 340(D) x 295(H)270(B) x 340(T) x 295(H)270(L) x 340(P) x 295(H) |
| 15 | Machine weight (kg)Gewicht (kg)Poids de la machine (kg) | 7.0 |
| 16 | Safety deviceSicherheits-VorrichtungDispositif de sécurité | Release switch type (Built-in micro switch)Auslöseschalter (eingebauter Mikro-Schalter)Interrupteur de type disjoncteur (microrupteur incorpore) |
| 17 | Foot controlFussenlasserCommande du pied | Electronic typeElektronischType à Electronique |
- Timing gauge
- Einstell-Lehre
- Jauge de réglage

| Sauge de réglage | MO-634DEV | |
| A | Hauteur de l'aiguille (de droite): (ORGAN aiguille 130/705H #75/11) | 9,8 mm |
| B | Hauteur de la griffe d'entrainment: | 1,3 mm |
| C | Rayon de giration du boucleur inférieur: | 2,5 mm |
| D | Distance entre la pointe de la lame du boucleur inférieur et la pointe de l'aiguille: | 6,1 mm |
| E | Hauteur du pied-de-biche: | 5 mm |
| F | Avancée du boucleur supérieur: | 3,6 mm |
| G | Hauteur du tendeur du boucleur (A): | 8,0 mm |
Order Number
Bestell nummer
Numé d'ordre
MO-634DEV
Timing gauge set A9199-634-0A0
- Timing gauge A9199-634-000
- Timing needle gauge A9198-634-0A0
Jauge de réglage. A9199-634-0AO
Jauge de réglage A9199-634-000 Jauge de I'aiguille A9198-634-OAO
Attention: Ne pas serrer les vis dans les pièces en plastique avec une force excessive. Si elles étaient trop serrées, le plastique risquerait de se fendiller.
- Montage de la Stichplatte
- Montage de la plaque à aiguilles
- Contrôler si l'aiguille est équidistante par rapport aux fentes de la plaque à aiguille (A).
- Contrôler si la distance du centre de l'aiguille par rapport à l'extrémité avant de la fente de la plaque à aiguille est bien de 1,4 mm (B).
- Plaque à aiguilles
- Vis de réglage
- Griffe d'entraînement
- Piqure de surfilage
- Centre de piqure de l'aiguille

- Comment effectuer le réglage?
1) Procéder au réglage de la piqûre de l'aiguille en déplaçant la plaque à aiguilles. 2) Desserrer les deux vis de réglage de la plaque à aiguilles et procéder aux réglages suivants:
a) Les dents de la griffe d'entraînement sont parallèles aux fentes de la plaque à aiguille. b) L'aiguille est équidistante par rapport aux fentes de la plaque à aiguille. c) La piqure de surfilage est parallèle par rapport aux fentes de la plaque à aiguille.
3) Resserrez les vis de réglage de la plaque à aiguille.
- Hauteur de la barre à aiguille
MO-634DEV
- Vérifier que la distance entre la pointe de l'aiguille et la surface de la plaque à aiguille soit de 9,8 mm (A'), lorsque la barre à aiguille est dans sa position la plus élevée et en utilisant une aiguille du système ORGAN 130/705H #75/11.

- Comment effectuer le réglage
1) Desserer légèrement la vis de réglage (B) sur la liaison (C) de la barre à aiguille. 2) Amener la barre à aiguille (D) au point le plus haut. Pour effectuer le réglage, il faut placer la barre à aiguille en haut ou en bas. 3) Resserrer la vis de réglage (B) sur la liaison de la barre à aiguille.

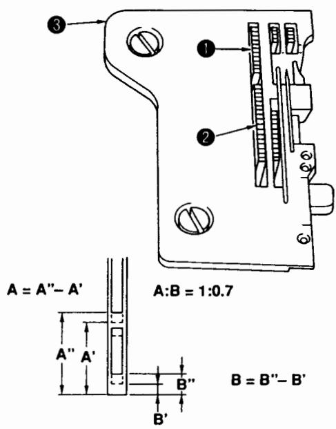
6.0 Positionnement de la griffe d'entraînement
- Griffe d'entraînement principal
- Griffe d'entraînement secondaire
- Plaque à aiguille
- Vérifier que la griffe d'entraînement de la fente dans la plaque à aiguilles soit parallèle entre elles.
- Vérifier qu'il n'y ait pas de jeu entre la partie gauche de la griffe d'entrainment et la plaque à aiguilles (A).
- Vérifier que la distance entre la plaque à aiguilles et la position la plus en avant de l'entraînement, avec une longueur du point de 4, soit de 1,0 mm (B)
- Vérifier dans la position la plus avancée pour un entraînement principal maximum et un entraînement secondaire minimum que l'écartement entre la griffe d'entraînement principale et la griffe d'entraînement secondaire soit de 1,0mm (C).

6.2 Comment effectuer le réglage
- Desserrer les vis de réglage (C) de la griffe d'entrainment. Griffe d'entrainment principale.
- Ajuster la griffe d'entrainment étant à la position la plus en arrière de telle manière que la distance jusqu'à l'extrémité de la fente de la plaque à aiguille soit de 1,0 mm.
- Resserrer les vis de réglage de la griffe d'entrainment.
- Desserrer deux vis de réglage de la griffe d'entraînement secondaire (D).
- Dans la position la plus avancée pour un entraînement principal maximum et un entraînement secondaire minimum, déplacer l'ensemble de la griffe d'entraînement secondaire en avant et en arrêté, et effectuer le réglage de façon à ce que l'écartement entre la griffe d'entraînement principale et la griffe d'entraînement secondaire soit de 1,0mm.
- Resserrer les deux vis de réglage de la griffe d'entraînement secondaire.



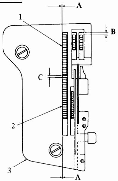
6.3 Réglage de la course de la griffe d'entraînement accessoire
- Placer le bouton de réglage de l'entraînement principal sur "4" et le bouton de réglage de la griffe d'entraînement auxiliaire sur "0,7".
- Tourner l'arbre principal à la main et vérifier la course (A) (différence entre la position avant et la position arrêtée) de la griffe d'entrainment auxiliaire.
- Desserrer les deux vis de la biellette de réglage de l'entraînement auxiliaire (A) et régler la course de la griffe d'entraînement auxiliaire à une valeur de 2,3 à 2,7 fois supérieure à la course (A) de la griffe d'entraînement principal en changeant le rapport à l'aide des biellettes de réglage (A-1) et (A-2).

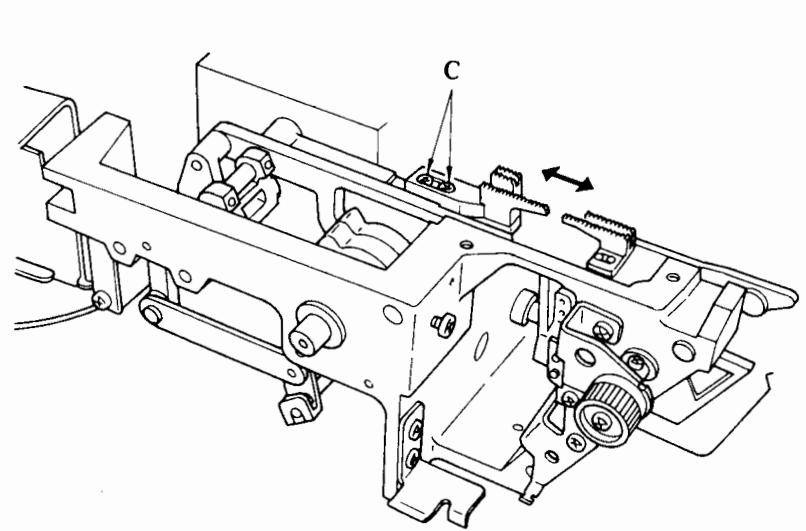
7.0 Hauteur de la griffe d'entrainment
- Partie avant des griffes d'entraînement
- Griffe d'entraînement principal
- Griffe d'entraînement secondaire
- Vérifier que la pointe des dents de la griffe d'entraine ement est au plus haut de sa course (A). Longueur de pointe 2,5 mm. (Le rapport différentiel est de 1:1)
7.2 Comment effectuer le réglage
- Placer la griffe d'entraînement (B) dans la position la plus élevée de sa course.
- Desserrer les deux vis de réglage (C) du goujon excentrique (D).
- Tourner le goujon excentrique pour effectuer le réglage (D).
- Resserrez les deux vis de réglage (C).


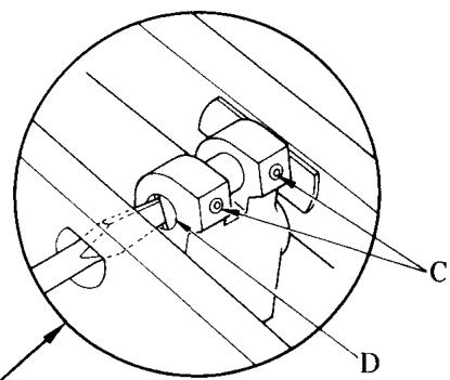
- Feed dog timing
- Réglage du mouvement de la griffe d'entrainement.
- Réglage du mouvement de la griffe d'entraînement.
- Vérifier que la pointe de l'aiguille (aiguille de croche) et la pointe des dents de la griffe d'entraînement soient simultanément au même niveau que la surface de la plaque à aiguille. Ceci dans le sens de la remontée avec une longueur de point de 2,5 mm.

- Comment effectuer le réglage
1) Desserrer les 4 vis de réglage (A). 2) Régler en faisant pivoter les excentriques (B). (Les deux excentriques sont couplés ensemble par une goupille (C).) 3) Resserer les 4 vis de réglage (A).

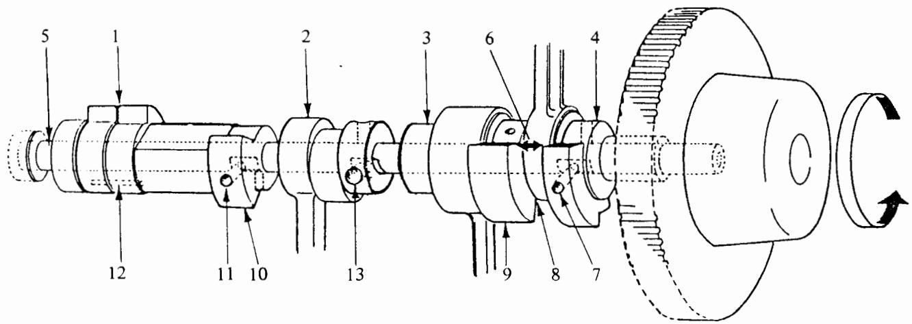
- Positionnement de la pièce d'équilibrage et de l'excentrique

- Feed cam
- Lower looper and upper knife excenter
- Upper looper cam
- Manette de commande de la barre d'aiguille
- Main shaft
- Same level
- Premier écrou à tête plate
- Space 0.3 - 0.5mm
- Looper balance weight
- Manche principal poids d'équilibrage
- Deuxième vis sur surface plane
- Pin
- First setscrew on flat spot
- Transporteur excentrer
- Unterer Greifer und Obermesserexcenter
- Oberer Greifer excenter
- Nadelstangen excenter
- Hauptwelle
- Première vis sur surface
- Abstand 0,3 - 0,5mm
- Greiferschwungstück
- Hauptwellenschwungstück
- Deuxième vis sur face
- Stift
- Excentrique d'entraînement
- Boucleur inférieur et excentrique du couteau supérieur
- Excentrique du boucleur supérieur
- Excentrique de la commande de barre à aiguille
- Axe principal
- Au même niveau
- Première vis sur plat
- Ecartement 0,3 - 0,5mm
- Pièce d'équilibrage de l'axe principal
- Pièce d'équilibrage de l'axe principal
- Deuxième vis sur plat
- Goupille
- Première vis de réglage sur plat
- Réglage de la course du boucleur supérieur
- Vérifier que la lame du boucleur supérieur dépasse à gauche de l'aiguille de 3,6 mm (A') lorsque le boucleur supérieur est au plus haut point de sa course (côté gauche).


Point à vérifier
Relation entre l'aiguille droite et le boucleur supérieur. Lorsque le boucleur supérieur monte, la pointe de l'aiguille droite doit se couvrir dans la plage (F).
- Comment effectuer le réglage
1) Positionner le boucleur supérieur au sommet de sa course (B). 2) Desserrer la vis de réglage du bras du boucleur supérieur (C). 3) Pour effectuer le réglage, abaisser resp. relever l'arbre coulissant du boucleur supérieur (D). 4) Resserrer la vis de réglage du bras du boucleur supérieur (C).

- Rayon pour le greifer inférieur
- Rayon de rotation du bouclier inférieur
- Vérifier que la distance du centre de l'arbre du boucleur inférieur à l'extrémité inférieure de la lame soit de 66 ± 0.15 mm (A).
- Poser la jauge sur la plaque à aiguilles et amener la lame du boucleur inférieur à la position à droite en dessous de la jauge pour effectuer le réglage à 2,5 mm (B).


- Comment effectuer le réglage
1) Desserrer la vis de réglage du boucleur inférieur. 2) Pour effectuer le réglage, déplacer le boucleur inférieur de haut en bas. 3) Resserrer la vis de réglage du boucleur inférieur.
- Reglage du boucleur inférieur en fonction de l'iguille
- Réglage du boucleur inférieur en fonction de l'aiguille
Vérifier les distances et les écartements suivants, lorsque l'aiguille monte et descend et que la pointe de la lame du boucleur inférieur touche à droite de l'aiguille, Aiguille droite :
- Distance entre la pointe de la lame du boucleur inférieur et la pointe de l'aiguille : Pointe de l'aiguille droite 6,1 ± 0,2 mm (A).
- Ecartement entre la pointe de la lame du boucleur inférieur et l'iguille (Aiguille droite) 0 0.05 mm (B).


Comment effectuer le réglage
1) Desserrer la vis de réglage (D) du levier du boucleur inférieur. 2) Déplacer en avant et en arrêté le levier du boucleur inférieur (D) pour effectuer le réglage. 3) Resserrer la vis de réglage (C) du levier du boucleur inférieur. 4) Réglage de la phase de la camé du boucleur inférieur :
(1) Venant de droite et de gauche, il faut que la distance jusqu'à l'aiguille soit de 6.1mm. Effectuer le réglage selon les indications ci-dessous. ② Oter le couvercle avant en desserrant 5 vis de réglage. ③ Desserrer 2 vis de réglage de la camé du boucleur inférieur (E, F). ④ Faire tourner la camé du boucleur inférieur pour effectuer le réglage (G). ⑤ Resserrer d'abord la première vis de réglage (E) de la camé du boucleur inférieur, puis resserrer la deuxième vis de réglage (F) à fond. ⑥ Remettre le couvercle avant à sa place exacte.
- Ajustement entre le boucleur supérieur et inférieur
- Verifier que l'écartement entre l'avancée du. boucleur inférieur et la pointe de la lame du boucleur supérieur soit de 0,5± 0,2mm (A) lorsque le boucleur supérieur monte et que la pointe de la lame du boucleur supérieur entre en contact avec le boucleur inférieur.
- Vérifier que l'écartement entre la pointe de la lame du boucleur supérieur et le dos du boucleur inférieur soit de 0,1 0,3 mm (B).


- Comment effectuer le réglage
1) Ôter le couvercle avant en dévissant les 5 vis de réglage. 2) Desserrer les 2 vis de réglage (C, D) de la came du boucleur supérieur. 3) Faire tourner la came du boucleur supérieur pour effectuer le réglage (E). 4) Resserer d'abord la première vis de réglage (C) de la came du boucleur supérieur, puis resserrer la deuxième vis de réglage à fond (D). 5) Remettre le couvercle avant à sa place exacte.

- Montage du Nadelschutz-Vorrichtung
- Montage des protections d'aiguille
- Vérifier que l'écartement entre l'aiguille et la protection antérieure de l'aiguille soit de 0 0.05 mm lorsque la barre à aiguilles se trouve à sa position la plus)basse.
- Vérifier que l'écartement entre l'aiguille et la protection mobile postérieure de l'aiguille soit de 0,1 ~mm 0,2 ~mm.

Comment effectuer le réglage
1) Amener la barre d'aiguilles à sa position la plus basse de sa course. 2) Desserrer les vis de réglage (A) de la protection postérieure de l'aiguille (côté droit). 3) Pour effectuer le réglage, déplacer la protection de l'aiguille, desserrer les vis de réglage (A). 4) Desserrer les vis de réglage (B) de la protection antérieure de l'aiguille. 5) Déplacer la protection antérieure de l'aiguille pour effectuer le réglage, desserrer les vis de réglage (B) de la protection antérieure de l'aiguille.
- Position du couteau inférieur (1)
- Position du couteau inférieur (1)
- Positionner le couvercle inférieur de telle façon qu’il n’entre point en contact avec la plaque à aiguille (un écartement de 0,1 mm devra être prévu entre les deux) quand le bouton de réglage du couvercle inférieur est en position de graduation "1".

- Comment effectuer le réglage
1) Dévisser la vis du bouton de réglage du couteau inférieur, puis retirer le bouton quand il y a un écartement de 0,1 mm entre le couteau inférieur et la plaque à aiguille. 2) Positionner la graduation apparaisant sur le bouton de réglage du couteau inférieur sur "1" quand un écartement de 0,1 mm est assuré entre le couteau inférieur et la plaque à aiguille. Puis remettre le bouton en place et le fixer en serrant la vis du bouton de réglage du couteau inférieur.

- Position du couteau inférieur (2)
- Position du couteau inférieur (2)
- Position du couteau inférieur (2)
- Vérifier que la position de la face supérieure de la plaque à aiguilles par rapport à l'arête supérieure du couvercle inférieur soit de 0 0.3 mm (A).

- Comment effectuer le réglage
1) Desserrer les vis de réglage de la plaque de maintien et de la plaque-support du couteau inférieur. 2) Déplacer le couteau inférieur vers le haut ou vers le bas pour effectuer le réglage. 3) Déplacer la plaque-support du couteau inférieur vers l'arête inférieure du couteau inférieur, desserrer les vis de réglage.
- Position relative du couteau supérieur et du couteau inférieur
- Lorsque l'échelle de réglage du couteau est sur 1 et que le couteau supérieur touche le couteau inférieur, il faut que le jeu entre le blocage du bouton de rotation et le support du couteau supérieur soit de 0.5 1mm (C),
- Vérifier la position relative du couteau supérieur et du couteau inférieur lorsque le couteau supérieur est au plus bas de sa course.
Accouplement vertical: 1~1,5mm(A) - Accouplement longitudinal: 0,5~1,0mm(B)

Comment effectuer le réglage
1) Pour régler l'accoupling vertical (A):
① Placer le coudeau supérieur au plus bas de sa course. ② Desserrer la vis de réglage du coudeau supérieur (D) et fixer le support du coudeau supérieur à l'aide d'une clé 11 mm. ③ Déplacer le coudeau supérieur vers le haut ou vers le bas (E) pour effectuer le réglage. Resserrer ensuite la vis de réglage du coudeau supérieur (D).
2) Pour régler l'accoupling longitudinal (B):
Desserrer les vis de réglage du blocage de rotation du couteau supérieur (F). (2) Placer le couteau dans sa position correcte (G). Resserrer ensuite les vis de réglage du bouton de rotation du couteau supérieur (F).
Support du couteau supérieur

- Lever le pied-de-biche à l'aide du levier de releavage et vérifier que la distance entre la face supérieure de la plaque à aiguilles et la semelle du pied-de-biche soit de 5 mm (A).
- Vérifier que le pied-de-biche soit parallèle à la fente de la griffe d'entraînement dans la plaque à aiguilles.

- Comment effectuer le réglage
1) Relever le pied-de-biche à l'aide du levier de relevage. 2) Desserrer la vis de réglage du taquet et de la barre presse-étoffe (B). 3) Déplacer vers le haut ou vers le bas et tourner la barre presse-étoffe pour effectuer le réglage (C) 4) Resserrer la vis de réglage du taquet de la barre presse-étoffe (B).

- Hauteur de la vis de réglage du pied-de-biche
- Vérifier que l'extrémité inférieure de la vis de réglage du pied-de-biche soit au même niveau que la face supérieure du couvercle avant

Comment effectuer le réglage 1) Visser ou dévisser la vis de réglage du pied-de-biche pour effectuer le réglage.
- Vérifier si l'extrémité supérieure du guide-fil est alignée avec le bord gauche du levier du boucleur inférieure (A).

Comment effectuer le réglage
1) Amener le boucleur inférieur à l'extrême droite de sa course. 2) Desserrer la vis de réglage du tendeur de boucleur. 3) Faire tourner le tendeur de boucleur pour effectuer le réglage. 4) Resserrer la vis de réglage du tendeur de boucleur.
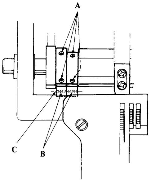
- Position du boucleur inférieur (A)
- Position du tendeur de boucleur (A)
- Vérifier que la distance entre la face supérieure de la charnière du couvercle de boucleur et la face inférieure du tendeur de boucleur soit de 8,0 ± 0,5 mm lorsque le boucleur supérieur est dans sa position la plus basse de sa course.

- Comment effectuer le réglage
1) Amener le boucleur supérieur dans la position la plus basse de sa course. 2) Desserrer la vis de réglage du tendeur du boucleur. 3) Faire tourner le tendeur du boucleur pour effectuer le réglage. 4) Resserrer la vis de réglage du tendeur du boucleur.
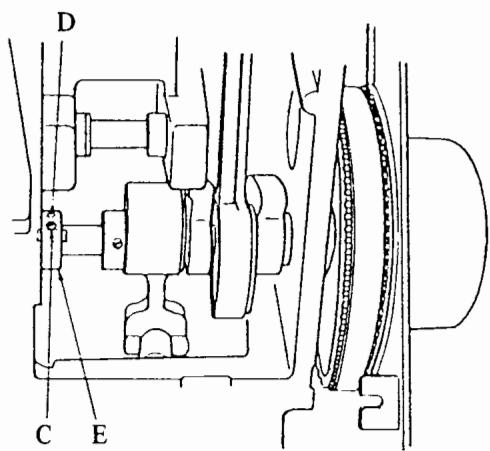
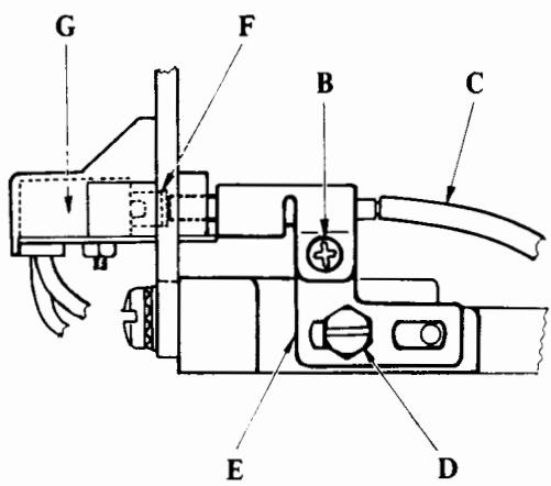
- EIN/AUS - Fonction du Microrupteur
- Commutation du micro-rupteur
- Vérifier la fonction enclenchement et déclenchement du microrupteur en poussant la cable extérieur sur le plateau amovible pour tissus de 2 3 ~mm (A). De même, contrôler que le cable extérieur coulisse sans à-coups bien dans sa gaine.
Cloth plate
Stoffauflagedeckel
Plateau amovible pour tissus


- Comment effectuer le réglage
1) Retirer tous les couvercles (page 3). 2) Desserrer la vis de réglage (B) du câble extérieur (C). Faire bouger le câble extérieur (C). Puis, desserrer la vis de réglage (B). 3) Si le mouvement du câble extérieur est saccadé, il faut desserrer la vis de réglage (D) de la bride du câble (E), faire bouger verticalement la bride du câble (E) pour le réglage. Puis resserrer la vis de réglage (D). 4) Contrôler que la position du câble extérieur (C) corresponde par rapport au levier (F) du microrupteur (G). 5) Remettre tous les couvercles.

- Position du plateau amovible pour tissus
- Vérifier que l'écartement entre le plateau amovible pour tissus et la plaque à aiguilles soit de 0 0.3 mm (A).
- Vérifier que l'écartement entre le plateau amovible pour tissus et le couvercle arrière soit de 0,3 0,8mm (B).

- Comment effectuer le réglage
1) Desserrer les vis de charnière du plateau amovible pour tissus (C). 2) Déplacer le plateau amovible pour tissus avec la charnière à sa position correcte. 3) Resserrer les vis de la charnière (C) du plateau amovible pour tissus.

- Position du couvercle des boucleurs
Position latérale :
- Vérifier que le couvercle inférieur et le logement des accessoires soient accollés lorsque le couvercle inférieur est positionné à l'extrême gauche. Position verticale:
- Vérifier que l'écartement entre le couvercle frontal et le couvercle des boucleurs soit de 0,3 0,7mm (A). Position longitudinale
- Vérifier la différence de niveau entre le couvercle frontal et le couvercle des boucleurs. Guide du couvercle des boucleurs :
- Vérifier qu'il n'y a pas de jeu entre le couvercle frontal et le couvercle des boucleurs.

Chip guard cover
Logement des accessoires

Looper cover
Greiferdeckel
Couvre-boucleurs
Side cover
Seitendeckel
Couvercle latéral
Support du couveau inférieur
Support du couvercle inférieur

Comment effectuer le réglage
Réglage longitudinal et l'extériorisation :
1) Desserrer les vis de réglage de la charnière (B) du couvercle des boucleurs. 2) Déplacer le couvercle des boucleurs longitudinalement et latéralement pour effectuer le réglage. 3) Resserrer les vis de réglage de la charnière (B) du couvercle des boucleurs.
Réglage vertical :
1) Desserrer les vis de réglage de la charnière (C) du couvercle des boucleurs. 2) Déplacer le couvercle des boucleurs vers le haut ou vers le bas pour effectuer le réglage. 3) Resserrer les vis de réglage de la charnière (C) du couvercle des boucleurs.
Suppression du jeu entre le couvercle frontal et le couvercle des boucleurs :
1) Desserrer les vis de réglage du guide du couvercle de boucleurs (D). 2) Déplacer légèrement le guide du couvercle des boucleurs (E) pour supprimer tout jeu entre le couvercle frontal et le couvercle de boucleur. 3) Resserrer les vis de réglage du guide du couvercle de boucleur (D).


Vitesse de couture : jusqu'à 1350 ± 150 points par minute.
La courroie devrait se relacher de 3 à 4 mm environ sous une charge de 200g.



- Comment effectuer le réglage
1) Desserrer les vis du moteur, sur machines à 220/240V. Desserrer les écrous, sur machines à 120 V. 2) Déplacer le moteur pour effectuer le réglage. 3) Resserrer les vis et les écrous.
- Réglage de la tension du fil
- Réglage de la tension du fil
En utilisant un fil polyester No. 120, vérifier que de bonnes conditions de couture soient maintenues par la tension du fil réglée entre les positions 3 5 (A) environ.

Comment effectuer le réglage
1) Démontage de la tension du fil :
- Ouvrir le capot avec graduation (1).
- Desserrer la vis à tête fraisée (2) et retirer la rondelle de pression (3), la rondelle ondulée (4) et le sélecteur de tension (5).
- Oter la rondelle (6), desserrer l'écrou (7), le ressort tendeur (8) et les disques de tension (9).
2) Comment régler la tension du fil :
- Tourner l'écrou (7) jusqu'à ce que le fil polyester No. 120 à brins bénéfice de bonnes conditions de couture.
- Une tension de réglage du fil adéquate est de
- Mettre le cadran (11) du bouton de tension (5) sur la position 4, de sorte que le chiffre 4 de l'échelle (1) de l'obturation coincide une fois monté le bouton de réglage de tension.


| Fil du boucleur supérieur | 10 ± 2 g |
| Fil du boucleur inférieur | 15 ± 5 g |
| Fil d'iguille | - |
| Fil d'iguille gauche | 80 ± 10 g |
| Fil d'iguille croite | 30 ± 5 g |
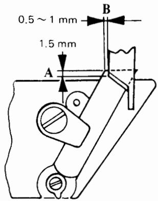
- Réglement du guide-fil d'aiguille
- Vérifier que la dimension de la boucle du fil d'aiguille soit bien conforme de 1 1,5 ~mm (A) lorsque la pointe de la lame du boucleur inférieur touche le centre de l'aiguille, lors de la couture de pièces de coton fin avec du fil polyester No. 120.

- Comment effectuer le réglage
1) Desserrer la vis de réglage (B) du guide-fil d'aiguille (C). 2) Déplacer le guide-fil d'aiguille (C) vers le haut ou le bas pour effectuer le réglage. 3) Resserrer la vis de réglage (B) du guide-fil d'aiguille (C). (Lorsque le guide-fil d'aiguille est déplacé vers le haut, la boucle du fil d'aiguille s'élargit.)


(Position du guide de relevateur de fil d'aiguille) Lorsque l'aiguille se trouve au point mort bas, l'espace (E) doit être de 1,0 à 1,5 mm.
Notice Facile