GATE 1ERE GENERATION - Chauffage ASTON THERMICA - Notice d'utilisation et mode d'emploi gratuit
Retrouvez gratuitement la notice de l'appareil GATE 1ERE GENERATION ASTON THERMICA au format PDF.
| Type d'appareil | Chaudière de chauffage en fonte |
| Brûleur | Inclus |
| Connecteur | 7 pôles |
| Circulateur chauffage | Présent |
| Interrupteur principal | Oui |
| Lampe témoin d'arrêt | Oui |
| Lampe témoin de fonctionnement | Oui |
| Thermostat environnement | Oui |
| Thermostat de réglage | Oui |
| Thermostat de sécurité | Oui |
| Nombre de bornes | 12 |
| Alimentation électrique | 230 V (valeur générale) |
| Type de contrôle | Électromécanique |
| Fonction principale | Chauffage central |
| Matériau principal | Fonte |
| Installation | Fixe murale ou sol |
| Maintenance | Requise périodiquement |
FOIRE AUX QUESTIONS - GATE 1ERE GENERATION ASTON THERMICA
Questions des utilisateurs sur GATE 1ERE GENERATION ASTON THERMICA
0 question sur cet appareil. Repondez a celles que vous connaissez ou posez la votre.
Poser une nouvelle question sur cet appareil
Téléchargez la notice de votre Chauffage au format PDF gratuitement ! Retrouvez votre notice GATE 1ERE GENERATION - ASTON THERMICA et reprennez votre appareil électronique en main. Sur cette page sont publiés tous les documents nécessaires à l'utilisation de votre appareil GATE 1ERE GENERATION de la marque ASTON THERMICA.
MODE D'EMPLOI GATE 1ERE GENERATION ASTON THERMICA
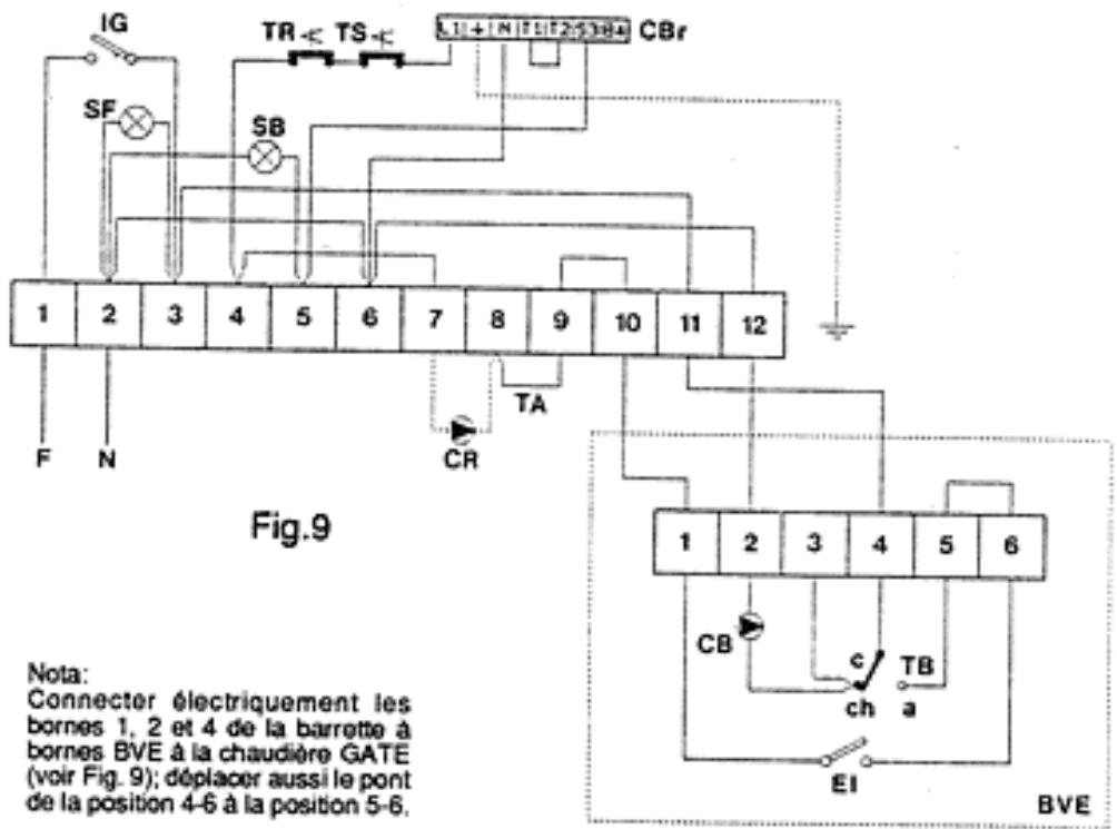
CBR Connecteur 7 pôles
BRULEUR
CR Circulateur chauffage
IG Interrupteur principal
SB Lampe-temoin d'arrêt
SF Lampe-témoin de fonctionnement
TA Thermostat environment
TR Thermostat de réglage
TS Thermostat de sécurité
ACCOUPLEMENT CHAUDIERE - BOUILLEUR
SCHEMA DES CONNEXIONS GATE+BVE


SCHEMA DE PRINCIPLE GATE+BVE
Legende
B Bruleur
CB Circulateur bouilleur
CBr Connecteur 7 pôles BRULEUR
CR Circulateur chauffage
EI Interrupteur ETE/HIVER
IG Interrupteur principal
SB Lampe-témoin d'arrêt
SF Lampe-témoin de fonct.
TA Thermostat environment
TB Thermostat bouilleur
TR Thermostat de réglage
TS Thermostat de sécurité
Notice Facile