EURO 32 - Chaudière à gaz ASTON THERMICA - Notice d'utilisation et mode d'emploi gratuit
Retrouvez gratuitement la notice de l'appareil EURO 32 ASTON THERMICA au format PDF.
| Intitulé | Description |
|---|---|
| Type de produit | Chaudière à condensation |
| Caractéristiques techniques principales | Chaudière murale avec échangeur de chaleur en inox |
| Alimentation électrique | 230 V |
| Dimensions approximatives | 700 x 400 x 300 mm |
| Poids | 40 kg |
| Compatibilités | Compatible avec les systèmes de chauffage central |
| Type de batterie | Non applicable |
| Tension | Non applicable |
| Puissance | 32 kW |
| Fonctions principales | Chauffage et production d'eau chaude sanitaire |
| Entretien et nettoyage | Entretien annuel recommandé par un professionnel |
| Pièces détachées et réparabilité | Disponibilité des pièces détachées assurée |
| Sécurité | Équipée de dispositifs de sécurité intégrés |
| Informations générales utiles | Installation par un professionnel recommandée pour garantir la sécurité et l'efficacité |
FOIRE AUX QUESTIONS - EURO 32 ASTON THERMICA
Téléchargez la notice de votre Chaudière à gaz au format PDF gratuitement ! Retrouvez votre notice EURO 32 - ASTON THERMICA et reprennez votre appareil électronique en main. Sur cette page sont publiés tous les documents nécessaires à l'utilisation de votre appareil EURO 32 de la marque ASTON THERMICA.
MODE D'EMPLOI EURO 32 ASTON THERMICA
Veuillez lire attentivement les instructions et les recommandations de la presente notice, fournissant des indications importantes pour la sécurité de l'installation, l'utilisation et l'entretien.
Conserver soigneusement cette notice, pour toute reference ulterieure.
Seul le personnel qualifié et responsable du respect des normes de sécurité en vigueur peut effectuer l'installation de l'appareil.
GROUPES THERMIQUES EN FONTE INSTALLATION A HAUT RENDEMENT UTILISATION ENTRETIEN
SOMMAIRE PAGE
GENERALITES 13
DIMENSIONS mm. 13
CHARACTERISTIQUES TECHNIQUES 14
COMPOSANTS PRINCIPAUX 15
INSTALLATION 16
RACCORDEMENTS ELECTRIQUES 16
CONTROLS ET VERIFICATIONS 18
Nous vous felicitons...
...pour vous choix I
ASTON THERMICA garantit la qualite de ses produits ainsi qu'un resau d'assistance technique tres performant.
POUR TOUT BESOIN, N'HESITEZ PAS A VOUS ADRESSER A L'AGENCE ASTON THERMICA LA PLUS PROCHE.
GENERALITE
La chaudière EURO est un générateur de chaleur à haut rendement pour le chauffage domestique et la production d'eau chaude sanitaire, adoptée pour fonctionner avec des brûleurs à gaz ou à fioul. Le corps de la chaudière est constitué d' éléments en fonte, assemblés avec des tirants et bicones. La répartition des ailettes du profilé permet une prestation thermique élevée et donc une economie d'énergie.
L'esthétique ainsi que l'isoation totale sont assureres grâce un tableau de bord élégant, une jaquette vermie et assemblée sous pression, un revêtement en laine de verre d'épaisseur évée qui réduit les déperditions de chaleur ou minimum.
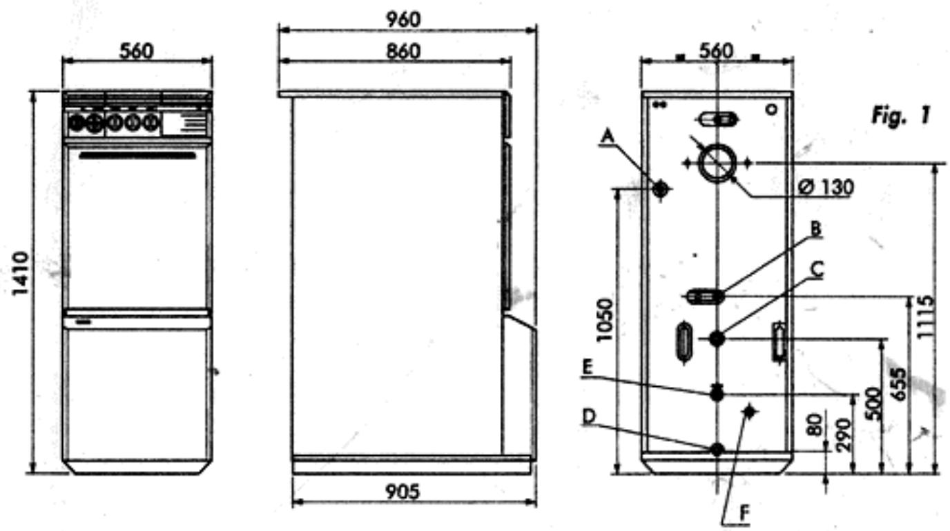
DIMENSIONS mm.

A Départ chauffage 1"
B Retour chauffage 1*
C Sortie eau chaude 1*
D Enrrree eou froide 1
E Circulation 03/4
F Valve de sécurité ballon (sur commande) 1/2"
CHARACTERISTIQUES TECHNIQUES
| EURO | 32 |
| Pouissance thermique utile | 34,8 |
| 30.000 | |
| Pouissance thermique du foyer | 38,7 |
| 33.300 | |
| Rendement utile | 90 |
| ΔP circuit d'eau ΔT 10 °C | 2,4 |
| Production d'eau chaude sanitaire ΔT25°C | 1200 |
| Prélevement de pointe au cours des 10 premières min. | 145 |
| Temps de rétablissement | 8,5 |
| Éléments | 3 |
| Capacité de la chaudière | 14 |
| Capacité ballon | 120 |
| Pression d'utilisation circuit de chauffage | 3 |
| Pression d'utilisation circuit sanitaire | 6 |
| Départ chauffage | 1" |
| Retour chauffage | 1" |
| Départ ballon | 1" |
| Retour ballon | 1" |
| Circulation | 3/4" |
| Vase d'expansion | 10 |
| Poids | 260 |
| Emballage | 670x1095x1560 |

CHARACTERISTIQUES DU CIRCULATEUR
Débit/hauteur manometrique disponible sur l'installation
Fig. 2
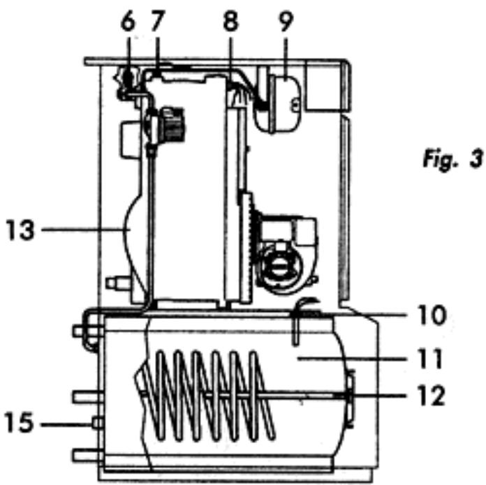
COMPOSANTS PRINCIPAUX


1 Soupape de sécurité
2 Thermostat réamorce manuel
3 Circulateur sanitaire
4 Brüleur
5 Circulateur chauffage
6 Soupape automatique purgege air
7 Branchement pour hydrometre
8 Logement sondes: thermometre thermostat de reglage thermostat de minimum
thermostat de sécurité totale
9 Vase d'expansion
10 Logement sondes: thermostat balloon thermometre ballon
11 Ballon
12 Anode de magnésium
13 Corps chaudiere
14 Clapet de non retard
15 Branchement évientuel pour soupape de sécurité ballon

TABLEAU DE BORD
Fig. 4
INSTALLATION
Seul le personnel qualifié peut effectuer l'installation de la chaudière, en se conformant aux indications du constructeur et dans le respect des lois et réglementations en vigueur. Nous recommendons de veiller tout particulièrement au respect des règles concernant la sécurité, la construction et l'emploiment des conduits de fumées.
BRANCHEMENT HYDRAULIQUE
Effectuer le branchement hydraulique de l'appareil en respectant les indications places à proximite de chaque fixation, ainsi que celles mentionnées sur la figure 1 de la presente notice. Le branchement doit être réalisé de sorte que les tueaux ne doivent pas de tensions. L'appareil est équipéd'un vase d'expansion. Nous rappelons que la pression de replissage de l'installation doit être comprise entre 1,2 et 1,5 bars.
Nous recommendons de raccorder la chaudiere a un bon conduit de fumées, réalisé dans le respect des normes en vigueur. Le matériel du tayau place entre la chaudiere et le conduit de fumée doit être adopté à l'usage, c'est-à-dire qu'il doit résister à la température et à la corrosion. Veiller particulièrement à l'étanchéité des points de junction, et à bien isoler thermiquement tout le conduit entre la chaudière et la cheminée, pour éviter la formation de condensation.
RACCORDEMENTS ELECTRIQUES
Nos repondons de placer un interrupteur bipolaire entre le reseau et l'appareil, avec une ouverture de contacts d'au moins 3 mm, muni de fusibles 5A maxi.
Nos recommandons 6galement d'effectuer une belle mise a la terre de I'appareil.
ASTON THERMICA décline toute responsabilité pour des préjudices physiques ou matériels résultant d'une mauvaise mise à la terre de l'appareil.

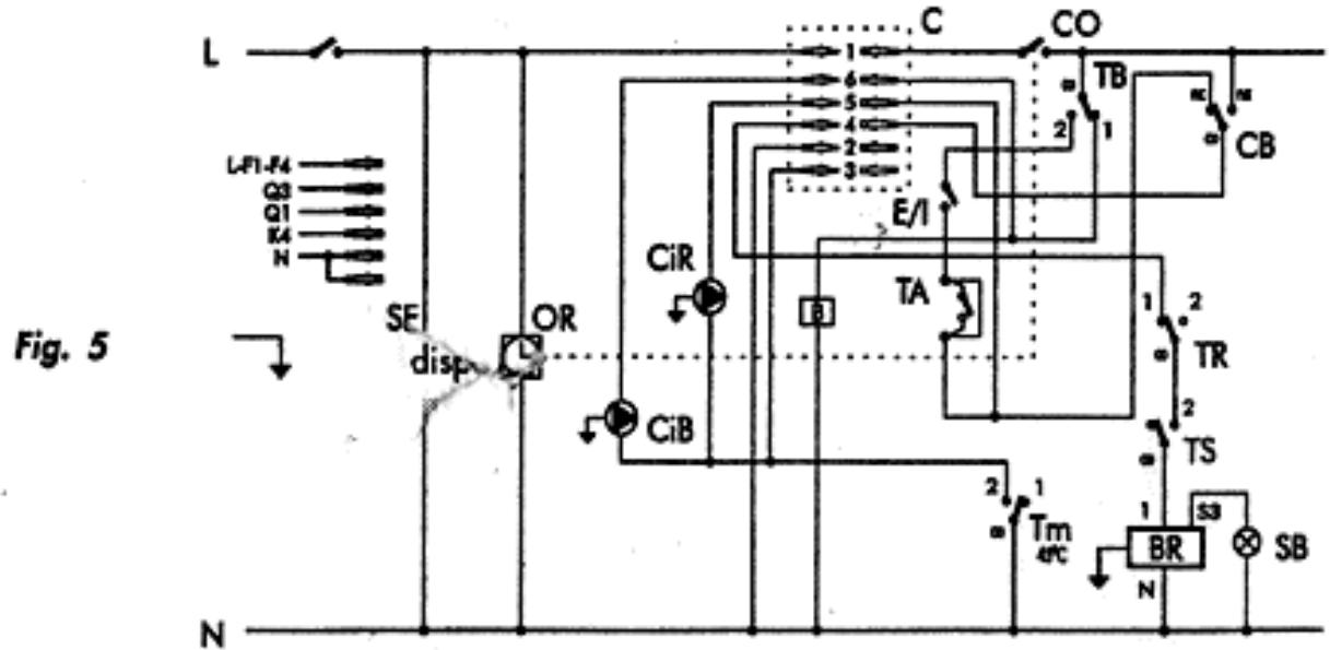
SCHEMA DE PRINCIPLE
IG Interrupteur principal
E/I Selecteur ETE/HIVER
OR Horloge de programmation
CO Contact d'horloge
TA Thermostat d'ambiance (eventuel)
TB Thermostat balloon 0-65°C
TR Thermostat de regloge 0-80°C
Tm Thermostat minimum anti-condensation 45^
TS Thermostat de sécurité 100°C
CIB Circulateur balloon
Cir Circulateur chauffage
SB Temoin de blocage bruleur
SF Temoin de fonctionnement
BR Bobine relais 220 Vca a 1 contact
CB Contact relais
B BrOleur
C Connect. pour thermoregulation LANDIS

SCHEMA DE MONTAGE
CONTROLES ET VERIFICATIONS
AVANT LA PREMIÈRE MISE EN MARCHE
Avont la première mise en marche, il convient de controller:
- Si l'installation est remplie à la bonne pression et purgé.
- S'il n'y a pas de fuites d'eau ou de combustibles.
- Si l'alimentation electrique est correcte.
- La belle réalisation de tout le conduit de fumées, qui ne doit pas traverser ou se couver à proximite de zones inflammables.
- S'il n'y a pas de substances inflammables à proximé de l'appareil.
- Si le brûleur est bien adapté à la puissance de la chaudière.
- Si les valves d'arrêt d'eau sont bien ouvertes.
La position et le reglage des thermoslats.
Le débit de l'eaou sanitaire.
APRES LA PREMIÈRE MISE EN MARCHÉ
Après la première mise en marche, il convient de contrôler:
- Le bon fonctionnement du bruleur, à l'aide des instruments appropriés.
- Le bon fonctionnement des thermostats.
- Laonne circulation de I'eaou dans l'installation.
L'evacuation totale des fumées par la cheminée.
MISE EN MARCHE - ARRET
PREMIERE MISE EN MARCHE
Une fois les contrôles préliminaires terminés, effectuer les manoeuvres suivantes pourmettre la chaudière en marche:
- Ouvrir la valve d'arrêt de combustible (si elle est prevue).
- Régler le thermostat de la chaudière à la valeur souhaite.
- Endencher l'interrupteur situé en amont de la chaudière et l'interrupteur est/ hiver placé sur le panneau de commandes
ARRET
Pour des arrêts de brève durée, il suffit d'agir sur l'interrupteur marche/arrêt place sur le panneau de commandes. En cas de longs arrêts en hiver, il est nécessaire, pour éviter les dégats occasionnés par le gel, de mettre de l'antigel approprié dans l'installation ou de la vidanger complètement.
CIRCUIT HYDRAULIQUE

REGLAGE DU BRULEUR
En ce qui concerne le réglage du brûleur, consulter les brochures correspondantes se trouvant à l'intérieur de l'emballose du groupe thermique.
ENTRETIEN
Seul le personnel qualifie peut assurer l'entretien de la chaudière. Il y a lieu de faire controller votre chaudière au moins une fois par an, avant l'hiver. Ce contrôle aura pour object la propriété de la chaudière, le bon fonctionnement de tous ses dispositifs de contrôle et de sécurité, ainsi que le bon état du brûleur. L'état de tout le conduit d'évacuation des fumées sera également contrôle.
NETTOYAGE DE LA CHAUDIERE
- Couper le courant alimentant la chaudière.
- Devisser les vis 1 du panneau 2.
Enlever les panneaux 2,3,4,5,6 ainsi que le bruleur 7 (fig.9). - Nettoyer l'interieur de la chaudiere et controller le ballon.
- Contraler tout le conduit de fumées, et, si nécessaire, le nettoyer.

En ce qui concerne le nettoyage du bruleur, consulter le manuel d'instructions correspondant.
Le ilurion e i dai riorto sono indicati en non impnano, Lo ASTON THERMICA si risavo il dinito di aportore sono obbligo di preoviso tue la modifica che niree piu opporuno per l'evoluzione del prodotti.
Les ilustrations et les donnes sont a tine indicat et sons engagement. lo ASTON THERMICA se rresve la dait daporier ons obligation de pralis les modifications quella retient le plus nccessiores pour Ievolution du producti.
Los ilustraciones y los datos son indicatos y no comprometen.ASTON THERMICA se resavo el derecho de realizar sin preoviso todos los modificaciones que estime aportuno para la evoluacion del producto.
ASTON THERMICA
VIA STATALE, 342
44040 DOSSO - FERRARA ITALIA
TEL 0532/359811
(13 LINEERIC.AUT.)
TELEFAX ITALIA 0532/359952
TELEFAX EXPORT 0532/359947
Notice Facile